KR20130087483A - 용기용 폐쇄체 - Google Patents
용기용 폐쇄체 Download PDFInfo
- Publication number
- KR20130087483A KR20130087483A KR1020137000183A KR20137000183A KR20130087483A KR 20130087483 A KR20130087483 A KR 20130087483A KR 1020137000183 A KR1020137000183 A KR 1020137000183A KR 20137000183 A KR20137000183 A KR 20137000183A KR 20130087483 A KR20130087483 A KR 20130087483A
- Authority
- KR
- South Korea
- Prior art keywords
- container
- obturator
- closure
- ring
- cap
- Prior art date
- Legal status (The legal status is an assumption and is not a legal conclusion. Google has not performed a legal analysis and makes no representation as to the accuracy of the status listed.)
- Withdrawn
Links
- 238000007789 sealing Methods 0.000 claims abstract description 71
- 238000000034 method Methods 0.000 claims description 39
- 230000006835 compression Effects 0.000 claims description 17
- 238000007906 compression Methods 0.000 claims description 17
- 230000008878 coupling Effects 0.000 claims description 5
- 238000010168 coupling process Methods 0.000 claims description 5
- 238000005859 coupling reaction Methods 0.000 claims description 5
- 238000000465 moulding Methods 0.000 claims description 4
- 239000013013 elastic material Substances 0.000 claims description 3
- 210000004907 gland Anatomy 0.000 claims description 3
- 230000001419 dependent effect Effects 0.000 claims 1
- 230000035622 drinking Effects 0.000 abstract 1
- 230000008901 benefit Effects 0.000 description 11
- 230000006870 function Effects 0.000 description 11
- 239000000463 material Substances 0.000 description 11
- 229920001971 elastomer Polymers 0.000 description 8
- 239000002184 metal Substances 0.000 description 7
- 229910052751 metal Inorganic materials 0.000 description 7
- 235000013361 beverage Nutrition 0.000 description 6
- 239000000806 elastomer Substances 0.000 description 6
- 239000007789 gas Substances 0.000 description 4
- 235000012489 doughnuts Nutrition 0.000 description 3
- 239000004698 Polyethylene Substances 0.000 description 2
- 230000009471 action Effects 0.000 description 2
- 235000014171 carbonated beverage Nutrition 0.000 description 2
- 230000007423 decrease Effects 0.000 description 2
- 239000013536 elastomeric material Substances 0.000 description 2
- 239000011521 glass Substances 0.000 description 2
- 239000011261 inert gas Substances 0.000 description 2
- 230000004048 modification Effects 0.000 description 2
- 238000012986 modification Methods 0.000 description 2
- 230000035699 permeability Effects 0.000 description 2
- 239000004033 plastic Substances 0.000 description 2
- 229920003023 plastic Polymers 0.000 description 2
- -1 polyethylene Polymers 0.000 description 2
- 229920000573 polyethylene Polymers 0.000 description 2
- 230000008569 process Effects 0.000 description 2
- 230000009467 reduction Effects 0.000 description 2
- 230000004044 response Effects 0.000 description 2
- 238000004026 adhesive bonding Methods 0.000 description 1
- QVGXLLKOCUKJST-UHFFFAOYSA-N atomic oxygen Chemical compound [O] QVGXLLKOCUKJST-UHFFFAOYSA-N 0.000 description 1
- 238000005452 bending Methods 0.000 description 1
- 230000015572 biosynthetic process Effects 0.000 description 1
- 230000008859 change Effects 0.000 description 1
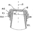
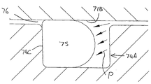
- 238000010586 diagram Methods 0.000 description 1
- 230000000694 effects Effects 0.000 description 1
- 239000004744 fabric Substances 0.000 description 1
- 235000013305 food Nutrition 0.000 description 1
- 239000002783 friction material Substances 0.000 description 1
- 238000004519 manufacturing process Methods 0.000 description 1
- 150000002739 metals Chemical class 0.000 description 1
- 229910052760 oxygen Inorganic materials 0.000 description 1
- 239000001301 oxygen Substances 0.000 description 1
- 239000006187 pill Substances 0.000 description 1
- 230000002035 prolonged effect Effects 0.000 description 1
- 238000004064 recycling Methods 0.000 description 1
- 238000003860 storage Methods 0.000 description 1
- 230000001629 suppression Effects 0.000 description 1
- 238000003466 welding Methods 0.000 description 1
Images
Classifications
-
- B—PERFORMING OPERATIONS; TRANSPORTING
- B65—CONVEYING; PACKING; STORING; HANDLING THIN OR FILAMENTARY MATERIAL
- B65D—CONTAINERS FOR STORAGE OR TRANSPORT OF ARTICLES OR MATERIALS, e.g. BAGS, BARRELS, BOTTLES, BOXES, CANS, CARTONS, CRATES, DRUMS, JARS, TANKS, HOPPERS, FORWARDING CONTAINERS; ACCESSORIES, CLOSURES, OR FITTINGS THEREFOR; PACKAGING ELEMENTS; PACKAGES
- B65D41/00—Caps, e.g. crown caps or crown seals, i.e. members having parts arranged for engagement with the external periphery of a neck or wall defining a pouring opening or discharge aperture; Protective cap-like covers for closure members, e.g. decorative covers of metal foil or paper
- B65D41/02—Caps or cap-like covers without lines of weakness, tearing strips, tags, or like opening or removal devices
- B65D41/04—Threaded or like caps or cap-like covers secured by rotation
-
- B—PERFORMING OPERATIONS; TRANSPORTING
- B65—CONVEYING; PACKING; STORING; HANDLING THIN OR FILAMENTARY MATERIAL
- B65D—CONTAINERS FOR STORAGE OR TRANSPORT OF ARTICLES OR MATERIALS, e.g. BAGS, BARRELS, BOTTLES, BOXES, CANS, CARTONS, CRATES, DRUMS, JARS, TANKS, HOPPERS, FORWARDING CONTAINERS; ACCESSORIES, CLOSURES, OR FITTINGS THEREFOR; PACKAGING ELEMENTS; PACKAGES
- B65D41/00—Caps, e.g. crown caps or crown seals, i.e. members having parts arranged for engagement with the external periphery of a neck or wall defining a pouring opening or discharge aperture; Protective cap-like covers for closure members, e.g. decorative covers of metal foil or paper
- B65D41/02—Caps or cap-like covers without lines of weakness, tearing strips, tags, or like opening or removal devices
- B65D41/04—Threaded or like caps or cap-like covers secured by rotation
- B65D41/0435—Threaded or like caps or cap-like covers secured by rotation with separate sealing elements
- B65D41/0442—Collars or rings
-
- B—PERFORMING OPERATIONS; TRANSPORTING
- B65—CONVEYING; PACKING; STORING; HANDLING THIN OR FILAMENTARY MATERIAL
- B65D—CONTAINERS FOR STORAGE OR TRANSPORT OF ARTICLES OR MATERIALS, e.g. BAGS, BARRELS, BOTTLES, BOXES, CANS, CARTONS, CRATES, DRUMS, JARS, TANKS, HOPPERS, FORWARDING CONTAINERS; ACCESSORIES, CLOSURES, OR FITTINGS THEREFOR; PACKAGING ELEMENTS; PACKAGES
- B65D41/00—Caps, e.g. crown caps or crown seals, i.e. members having parts arranged for engagement with the external periphery of a neck or wall defining a pouring opening or discharge aperture; Protective cap-like covers for closure members, e.g. decorative covers of metal foil or paper
-
- B—PERFORMING OPERATIONS; TRANSPORTING
- B65—CONVEYING; PACKING; STORING; HANDLING THIN OR FILAMENTARY MATERIAL
- B65D—CONTAINERS FOR STORAGE OR TRANSPORT OF ARTICLES OR MATERIALS, e.g. BAGS, BARRELS, BOTTLES, BOXES, CANS, CARTONS, CRATES, DRUMS, JARS, TANKS, HOPPERS, FORWARDING CONTAINERS; ACCESSORIES, CLOSURES, OR FITTINGS THEREFOR; PACKAGING ELEMENTS; PACKAGES
- B65D41/00—Caps, e.g. crown caps or crown seals, i.e. members having parts arranged for engagement with the external periphery of a neck or wall defining a pouring opening or discharge aperture; Protective cap-like covers for closure members, e.g. decorative covers of metal foil or paper
- B65D41/02—Caps or cap-like covers without lines of weakness, tearing strips, tags, or like opening or removal devices
- B65D41/04—Threaded or like caps or cap-like covers secured by rotation
- B65D41/08—Threaded or like caps or cap-like covers secured by rotation engaging a threaded ring clamped on the external periphery of the neck or wall
-
- B—PERFORMING OPERATIONS; TRANSPORTING
- B65—CONVEYING; PACKING; STORING; HANDLING THIN OR FILAMENTARY MATERIAL
- B65D—CONTAINERS FOR STORAGE OR TRANSPORT OF ARTICLES OR MATERIALS, e.g. BAGS, BARRELS, BOTTLES, BOXES, CANS, CARTONS, CRATES, DRUMS, JARS, TANKS, HOPPERS, FORWARDING CONTAINERS; ACCESSORIES, CLOSURES, OR FITTINGS THEREFOR; PACKAGING ELEMENTS; PACKAGES
- B65D41/00—Caps, e.g. crown caps or crown seals, i.e. members having parts arranged for engagement with the external periphery of a neck or wall defining a pouring opening or discharge aperture; Protective cap-like covers for closure members, e.g. decorative covers of metal foil or paper
- B65D41/02—Caps or cap-like covers without lines of weakness, tearing strips, tags, or like opening or removal devices
- B65D41/04—Threaded or like caps or cap-like covers secured by rotation
- B65D41/08—Threaded or like caps or cap-like covers secured by rotation engaging a threaded ring clamped on the external periphery of the neck or wall
- B65D41/086—Threaded or like caps or cap-like covers secured by rotation engaging a threaded ring clamped on the external periphery of the neck or wall with integral internal sealing means
-
- B—PERFORMING OPERATIONS; TRANSPORTING
- B65—CONVEYING; PACKING; STORING; HANDLING THIN OR FILAMENTARY MATERIAL
- B65D—CONTAINERS FOR STORAGE OR TRANSPORT OF ARTICLES OR MATERIALS, e.g. BAGS, BARRELS, BOTTLES, BOXES, CANS, CARTONS, CRATES, DRUMS, JARS, TANKS, HOPPERS, FORWARDING CONTAINERS; ACCESSORIES, CLOSURES, OR FITTINGS THEREFOR; PACKAGING ELEMENTS; PACKAGES
- B65D41/00—Caps, e.g. crown caps or crown seals, i.e. members having parts arranged for engagement with the external periphery of a neck or wall defining a pouring opening or discharge aperture; Protective cap-like covers for closure members, e.g. decorative covers of metal foil or paper
- B65D41/62—Secondary protective cap-like outer covers for closure members
-
- B—PERFORMING OPERATIONS; TRANSPORTING
- B65—CONVEYING; PACKING; STORING; HANDLING THIN OR FILAMENTARY MATERIAL
- B65D—CONTAINERS FOR STORAGE OR TRANSPORT OF ARTICLES OR MATERIALS, e.g. BAGS, BARRELS, BOTTLES, BOXES, CANS, CARTONS, CRATES, DRUMS, JARS, TANKS, HOPPERS, FORWARDING CONTAINERS; ACCESSORIES, CLOSURES, OR FITTINGS THEREFOR; PACKAGING ELEMENTS; PACKAGES
- B65D53/00—Sealing or packing elements; Sealings formed by liquid or plastics material
- B65D53/02—Collars or rings
-
- B—PERFORMING OPERATIONS; TRANSPORTING
- B65—CONVEYING; PACKING; STORING; HANDLING THIN OR FILAMENTARY MATERIAL
- B65D—CONTAINERS FOR STORAGE OR TRANSPORT OF ARTICLES OR MATERIALS, e.g. BAGS, BARRELS, BOTTLES, BOXES, CANS, CARTONS, CRATES, DRUMS, JARS, TANKS, HOPPERS, FORWARDING CONTAINERS; ACCESSORIES, CLOSURES, OR FITTINGS THEREFOR; PACKAGING ELEMENTS; PACKAGES
- B65D2543/00—Lids or covers essentially for box-like containers
- B65D2543/00009—Details of lids or covers for rigid or semi-rigid containers
- B65D2543/00444—Contact between the container and the lid
- B65D2543/00564—Contact between the container and the lid indirect by means of a gasket or similar intermediate ring
-
- B—PERFORMING OPERATIONS; TRANSPORTING
- B65—CONVEYING; PACKING; STORING; HANDLING THIN OR FILAMENTARY MATERIAL
- B65D—CONTAINERS FOR STORAGE OR TRANSPORT OF ARTICLES OR MATERIALS, e.g. BAGS, BARRELS, BOTTLES, BOXES, CANS, CARTONS, CRATES, DRUMS, JARS, TANKS, HOPPERS, FORWARDING CONTAINERS; ACCESSORIES, CLOSURES, OR FITTINGS THEREFOR; PACKAGING ELEMENTS; PACKAGES
- B65D2543/00—Lids or covers essentially for box-like containers
- B65D2543/00009—Details of lids or covers for rigid or semi-rigid containers
- B65D2543/00953—Sealing means
- B65D2543/00962—Sealing means inserted
- B65D2543/00972—Collars or rings
Landscapes
- Engineering & Computer Science (AREA)
- Mechanical Engineering (AREA)
- Closures For Containers (AREA)
Applications Claiming Priority (5)
| Application Number | Priority Date | Filing Date | Title |
|---|---|---|---|
| GB1009429.0 | 2010-06-04 | ||
| GBGB1009429.0A GB201009429D0 (en) | 2010-06-04 | 2010-06-04 | Closure for a container |
| GB1011800.8 | 2010-07-14 | ||
| GB1011800.8A GB2482000A (en) | 2010-07-14 | 2010-07-14 | Closure having Seal and Inner and Outer Components |
| PCT/GB2011/000846 WO2011151630A1 (en) | 2010-06-04 | 2011-06-03 | Closure for a container |
Publications (1)
| Publication Number | Publication Date |
|---|---|
| KR20130087483A true KR20130087483A (ko) | 2013-08-06 |
Family
ID=44533411
Family Applications (1)
| Application Number | Title | Priority Date | Filing Date |
|---|---|---|---|
| KR1020137000183A Withdrawn KR20130087483A (ko) | 2010-06-04 | 2011-06-03 | 용기용 폐쇄체 |
Country Status (14)
| Country | Link |
|---|---|
| US (2) | US20130068767A1 (enExample) |
| EP (1) | EP2576374B1 (enExample) |
| JP (1) | JP2013530891A (enExample) |
| KR (1) | KR20130087483A (enExample) |
| CN (1) | CN103025620B (enExample) |
| AR (1) | AR081580A1 (enExample) |
| AU (1) | AU2011260035B2 (enExample) |
| BR (1) | BR112012030934A2 (enExample) |
| CA (1) | CA2801367A1 (enExample) |
| MX (1) | MX2012014133A (enExample) |
| NZ (1) | NZ604987A (enExample) |
| PH (1) | PH12012502402A1 (enExample) |
| RU (1) | RU2012156698A (enExample) |
| WO (1) | WO2011151630A1 (enExample) |
Cited By (2)
| Publication number | Priority date | Publication date | Assignee | Title |
|---|---|---|---|---|
| KR20160071648A (ko) * | 2014-12-12 | 2016-06-22 | 임지현 | 용기용 밀폐 뚜껑 |
| KR20190001833A (ko) * | 2017-06-28 | 2019-01-07 | 박윤규 | 유동성 패킹을 이용한 기밀 구조를 갖는 기밀 용기 |
Families Citing this family (35)
| Publication number | Priority date | Publication date | Assignee | Title |
|---|---|---|---|---|
| GB2482000A (en) * | 2010-07-14 | 2012-01-18 | Threadless Closures Ltd | Closure having Seal and Inner and Outer Components |
| KR200468016Y1 (ko) * | 2011-03-09 | 2013-07-17 | 고려알파라인(주) | 식품용기 관찰덮개의 테두리부재 결합구조 |
| FI124681B (fi) * | 2011-10-28 | 2014-12-15 | Abloy Oy | Riippulukko |
| GB201212058D0 (en) * | 2012-07-06 | 2012-08-22 | Threadless Closures Ltd | Closure for a container |
| EP2897877B1 (en) * | 2012-09-21 | 2019-11-06 | The Decor Corporation Pty. Ltd. | A plurality of storage containers and lids with colour coding |
| GB201307767D0 (en) | 2013-04-30 | 2013-06-12 | Threadless Closures Ltd | A closure for a container |
| CA2917047C (en) | 2013-08-30 | 2019-06-11 | Hollister Incorporated | Device for trans-anal irrigation |
| CA2950743C (en) | 2014-05-30 | 2024-01-02 | Hollister Incorporated | Flip open catheter package |
| AU2015287989C1 (en) | 2014-07-08 | 2020-07-02 | Hollister Incorporated | Portable trans anal irrigation device |
| AU2015287992B2 (en) | 2014-07-08 | 2020-03-12 | Hollister Incorporated | Trans anal irrigation platform with bed module |
| CN106660670A (zh) * | 2014-07-25 | 2017-05-10 | 螺纹封有限公司 | 容器和封闭件及其制造 |
| GB2545672A (en) * | 2015-12-21 | 2017-06-28 | Threadless Closures Ltd | Method of forming a closure |
| KR20180034527A (ko) * | 2015-07-24 | 2018-04-04 | 스레들리스 클로져스 리미티드 | 용기 및 마개 |
| CA3021643A1 (en) | 2016-04-22 | 2017-10-26 | Hollister Incorporated | Medical device package with flip cap having a snap fit |
| EP3445435B1 (en) | 2016-04-22 | 2025-12-17 | Hollister Incorporated | Medical device package with a twist cap |
| US11383021B2 (en) | 2016-07-08 | 2022-07-12 | Hollister Incorporated | Wireless electronic pump design for a body cavity irrigation device |
| CA3046807C (en) | 2016-12-14 | 2023-11-07 | Hollister Incorporated | Transanal irrigation device and system |
| CA3054197A1 (en) | 2017-02-21 | 2018-08-30 | Hollister Incorporated | Medical device package with flip cap having a snap fit |
| JP6983562B2 (ja) * | 2017-07-20 | 2021-12-17 | テルモ株式会社 | 液体保持空間を具備する脆弱物保持デバイス |
| JP7039202B2 (ja) * | 2017-07-20 | 2022-03-22 | テルモ株式会社 | 液体受容空間を具備する脆弱物保持デバイス |
| JP6951893B2 (ja) * | 2017-07-20 | 2021-10-20 | テルモ株式会社 | ガイド機構を具備する脆弱物保持デバイス |
| ES2818232T3 (es) * | 2017-10-19 | 2021-04-09 | Biotage Ab | Disposición de sellado de cartucho de cromatografía |
| EP3700612B1 (en) | 2017-10-25 | 2024-06-19 | Hollister Incorporated | Caps for catheter packages |
| WO2019113203A1 (en) | 2017-12-08 | 2019-06-13 | Hollister Incorporated | Package for medical device for ergonomic device removal |
| JP7062431B2 (ja) * | 2017-12-18 | 2022-05-06 | テルモ株式会社 | 排出機構を具備する脆弱物保持デバイス |
| CN115783498A (zh) * | 2018-01-10 | 2023-03-14 | 碧威公司 | 具有内置盐水盘的容器盖和容器 |
| US20210177196A1 (en) * | 2018-06-29 | 2021-06-17 | Breville Pty Limited | A lid for a food processor |
| RU2711759C2 (ru) * | 2018-07-19 | 2020-01-22 | Акционерное общество "Костромская верфь" | Люк с быстросъемной крышкой |
| WO2022051346A1 (en) | 2020-09-04 | 2022-03-10 | Hollister Incorporated | Medical device package with first use indicator label |
| CA3227723A1 (en) | 2021-08-10 | 2023-02-16 | Anthony Henry Joseph Fraser | A closure for a container and a container and closure |
| FR3130769A1 (fr) * | 2021-12-17 | 2023-06-23 | Cm Finances | Couvercle destiné à fermer un récipient |
| CN114643150A (zh) * | 2022-03-18 | 2022-06-21 | 市下控股有限公司 | 一种背负式喷雾器药箱口密封结构及瓶口定型工艺 |
| GB202307339D0 (en) | 2023-05-17 | 2023-06-28 | Threadless Closures Ltd | A closure for a container, a container and closure and a method of forming a closure |
| SE547847C2 (en) * | 2023-12-11 | 2025-12-09 | Petro Pack Ab | Package and method for producing the package |
| CN118850532B (zh) * | 2024-09-24 | 2025-04-11 | 宁波世家洁具有限公司 | 一种储物盒 |
Family Cites Families (33)
| Publication number | Priority date | Publication date | Assignee | Title |
|---|---|---|---|---|
| BE509694A (enExample) * | 1952-03-04 | 1952-03-31 | ||
| US3342366A (en) * | 1964-06-22 | 1967-09-19 | Rheem Mfg Co | Method for securing a metal collar or grummet in the orifice of a metal barrel and elements used for this purpose |
| DE1263584B (de) * | 1966-12-13 | 1968-03-14 | Mauser Kg | Schraubkappe |
| BE758265A (fr) * | 1970-02-21 | 1971-04-01 | Mauser Kg | Tonneau ou fut a couvercle |
| GB1497255A (en) * | 1974-12-03 | 1978-01-05 | Polythene Drums Ltd | Cap for a container |
| BR7606608A (pt) * | 1975-10-04 | 1977-06-07 | Mauser Kg | Barrica de material sintetico,que pode ser fechada com uma tampa de material sintetico |
| JPS5325849U (enExample) * | 1976-08-11 | 1978-03-04 | ||
| DE2813940A1 (de) * | 1977-04-23 | 1978-10-26 | Zensho Honma | Flaschenverschluss |
| US4177905A (en) * | 1978-06-05 | 1979-12-11 | Baxter Travenol Laboratories, Inc. | Closure system for containers |
| JPS6140672Y2 (enExample) * | 1981-06-10 | 1986-11-20 | ||
| JPS60129353U (ja) * | 1984-02-09 | 1985-08-30 | 吉田工業株式会社 | ワンタツチ式キヤツプ |
| DE3752355T2 (de) * | 1987-01-30 | 2002-12-05 | American Cyanamid Co., Wayne | Dihydroderivate der Antibiotika vom Typ LL-E33288 |
| JPS63190058U (enExample) * | 1987-05-28 | 1988-12-07 | ||
| DE8710651U1 (de) * | 1987-08-04 | 1987-10-01 | Dannat, Heinz, 8036 Herrsching | Behälter aus Kunststoff mit Schraubverschluß |
| DE3727494A1 (de) * | 1987-08-18 | 1989-03-02 | Klaus Rehahn Gmbh & Co Kg | Speisenbehaelter |
| FR2646831B1 (fr) * | 1989-05-10 | 1991-08-23 | Soreau Marcel | Anneau filete amovible associe a une capsule de fermeture pour recipient |
| JPH0512844U (ja) * | 1991-07-30 | 1993-02-19 | 日東工器株式会社 | シ−ルリング |
| JPH08156954A (ja) * | 1994-12-05 | 1996-06-18 | Yamamura Glass Co Ltd | ピルファープルーフキャップ |
| US5660290A (en) * | 1996-03-27 | 1997-08-26 | Carnaudmetalbox (Holdings) Usa Inc. | Closure fitting for unthreaded containers |
| FR2787092B1 (fr) * | 1998-12-15 | 2001-02-16 | Lorraine Capsules Metall | Bouchon a capsule verrouillable sur le goulot d'un recipient |
| IT1311579B1 (it) * | 1999-10-29 | 2002-03-13 | Pelliconi Abruzzo Srl | Dispositivo di chiusura per bottiglie contenenti liquidi in pressione,in particolare champagne o simili. |
| US6761275B1 (en) * | 2000-07-14 | 2004-07-13 | Alcoa Closure Systems International | Domed liner disc for closure |
| CN2499358Y (zh) * | 2001-08-15 | 2002-07-10 | 邹书媛 | 改进的食品易拉罐容器 |
| US6695160B1 (en) * | 2001-08-30 | 2004-02-24 | Rexam Medical Packaging Inc. | Top load seal protection feature |
| US6889857B2 (en) * | 2002-02-01 | 2005-05-10 | Rexam Medical Packaging Inc. | Sealing arrangement for a closure for a fitment |
| EP1786693B1 (en) * | 2004-06-23 | 2011-11-23 | Threadless Closures Limited | Beverage container |
| US20060091099A1 (en) * | 2004-11-03 | 2006-05-04 | Klepac Gary W | Leak resistant container and method of using same |
| DK1890944T3 (da) * | 2005-06-10 | 2011-07-04 | Nis Buchwaldt-Nissen | Tætning mellem yder- og inderlåg |
| PL1943158T3 (pl) * | 2005-10-06 | 2011-05-31 | Capartis Ag | Zamknięcie pojemnika |
| GB2432357B (en) | 2005-11-16 | 2010-12-29 | Dubois Ltd | Packaging article |
| GB0602382D0 (en) * | 2006-02-07 | 2006-03-15 | Dubois Ltd | Packaging article |
| JP4756480B2 (ja) * | 2008-02-29 | 2011-08-24 | サーモス株式会社 | 蓋付き容器 |
| BRPI0801964B1 (pt) * | 2008-05-07 | 2018-05-08 | Brasilata S A Embalagens Metalicas | arranjo de fechamento para um recipiente |
-
2011
- 2011-06-03 CN CN201180036139.6A patent/CN103025620B/zh not_active Expired - Fee Related
- 2011-06-03 WO PCT/GB2011/000846 patent/WO2011151630A1/en not_active Ceased
- 2011-06-03 JP JP2013512987A patent/JP2013530891A/ja active Pending
- 2011-06-03 CA CA2801367A patent/CA2801367A1/en not_active Abandoned
- 2011-06-03 PH PH1/2012/502402A patent/PH12012502402A1/en unknown
- 2011-06-03 AU AU2011260035A patent/AU2011260035B2/en not_active Ceased
- 2011-06-03 KR KR1020137000183A patent/KR20130087483A/ko not_active Withdrawn
- 2011-06-03 EP EP11727733.5A patent/EP2576374B1/en not_active Not-in-force
- 2011-06-03 BR BR112012030934A patent/BR112012030934A2/pt not_active IP Right Cessation
- 2011-06-03 US US13/701,271 patent/US20130068767A1/en not_active Abandoned
- 2011-06-03 NZ NZ60498711A patent/NZ604987A/en not_active IP Right Cessation
- 2011-06-03 AR ARP110101923A patent/AR081580A1/es unknown
- 2011-06-03 MX MX2012014133A patent/MX2012014133A/es not_active Application Discontinuation
- 2011-06-03 RU RU2012156698/12A patent/RU2012156698A/ru not_active Application Discontinuation
-
2015
- 2015-11-06 US US14/934,858 patent/US20160059999A1/en not_active Abandoned
Cited By (2)
| Publication number | Priority date | Publication date | Assignee | Title |
|---|---|---|---|---|
| KR20160071648A (ko) * | 2014-12-12 | 2016-06-22 | 임지현 | 용기용 밀폐 뚜껑 |
| KR20190001833A (ko) * | 2017-06-28 | 2019-01-07 | 박윤규 | 유동성 패킹을 이용한 기밀 구조를 갖는 기밀 용기 |
Also Published As
| Publication number | Publication date |
|---|---|
| AU2011260035B2 (en) | 2016-03-03 |
| EP2576374A1 (en) | 2013-04-10 |
| WO2011151630A1 (en) | 2011-12-08 |
| PH12012502402A1 (en) | 2018-03-21 |
| BR112012030934A2 (pt) | 2018-03-13 |
| CA2801367A1 (en) | 2011-12-08 |
| NZ604987A (en) | 2015-04-24 |
| CN103025620A (zh) | 2013-04-03 |
| JP2013530891A (ja) | 2013-08-01 |
| AR081580A1 (es) | 2012-10-03 |
| CN103025620B (zh) | 2016-01-20 |
| EP2576374B1 (en) | 2016-09-28 |
| US20160059999A1 (en) | 2016-03-03 |
| MX2012014133A (es) | 2013-04-03 |
| AU2011260035A1 (en) | 2013-01-17 |
| US20130068767A1 (en) | 2013-03-21 |
| RU2012156698A (ru) | 2014-07-20 |
Similar Documents
| Publication | Publication Date | Title |
|---|---|---|
| KR20130087483A (ko) | 용기용 폐쇄체 | |
| CN105263815B (zh) | 盖组装体及其封盖方法 | |
| CN100436275C (zh) | 广口容器的密合盖组件 | |
| RU2585568C2 (ru) | Винтовой укупорочный колпачок | |
| US7004341B2 (en) | Tamper evident composite closure with threadless securement | |
| JP4698118B2 (ja) | 圧力シール保持機能を備えるライナーレスクロージャー | |
| US9676531B2 (en) | Membrane, and a neck including such membrane | |
| CN103298704B (zh) | 用于关闭件的密封组件 | |
| RU2011135981A (ru) | Узел укупорочного средства емкости с герметичным уплотнением | |
| KR20160138051A (ko) | 스크류 캡 타입 밀봉 요소를 수용할 수 있는 목 형상부를 포함하는 금속 용기 | |
| CN108473239B (zh) | 形成金属封闭件和用于容器的封闭件的方法 | |
| CN120327943A (zh) | 容器盖及与其结合的容器 | |
| US7207453B2 (en) | Closure and a container for packing products | |
| CN105283389A (zh) | 盖组装体及其组装方法 | |
| CN108025846A (zh) | 容器和封闭件 | |
| CN104039658A (zh) | 具有带有盖体和轴环的能够重复密封的封闭件的饮料瓶 | |
| US3586197A (en) | Disposable container cap | |
| JP6450643B2 (ja) | 飲料用広口プラスチックキャップ付き広口樹脂製容器 | |
| CN222833332U (zh) | 易开包装盖和包装容器 | |
| CN2649502Y (zh) | 容器盖 | |
| CN110127190B (zh) | 带有容料槽的扭开盖 | |
| GB2542641A (en) | Container and closure | |
| JPH0547085Y2 (enExample) | ||
| JP2023175555A (ja) | キャップ体 | |
| JP2024545906A (ja) | パッケージ密封用キャップ |
Legal Events
| Date | Code | Title | Description |
|---|---|---|---|
| PA0105 | International application |
Patent event date: 20130103 Patent event code: PA01051R01D Comment text: International Patent Application |
|
| PG1501 | Laying open of application | ||
| PC1203 | Withdrawal of no request for examination | ||
| WITN | Application deemed withdrawn, e.g. because no request for examination was filed or no examination fee was paid |