KR20120032002A - 특히 자동차용 슬라이딩 루프 장치 - Google Patents

특히 자동차용 슬라이딩 루프 장치 Download PDF

Info

Publication number
KR20120032002A
KR20120032002A KR1020127000672A KR20127000672A KR20120032002A KR 20120032002 A KR20120032002 A KR 20120032002A KR 1020127000672 A KR1020127000672 A KR 1020127000672A KR 20127000672 A KR20127000672 A KR 20127000672A KR 20120032002 A KR20120032002 A KR 20120032002A
Authority
KR
South Korea
Prior art keywords
movable panel
sliding
sliding member
vehicle
guide
Prior art date
Legal status (The legal status is an assumption and is not a legal conclusion. Google has not performed a legal analysis and makes no representation as to the accuracy of the status listed.)
Granted
Application number
KR1020127000672A
Other languages
English (en)
Other versions
KR101381321B1 (ko
Inventor
파브리스 레노딘
Original Assignee
베바스토 아게
Priority date (The priority date is an assumption and is not a legal conclusion. Google has not performed a legal analysis and makes no representation as to the accuracy of the date listed.)
Filing date
Publication date
Family has litigation
First worldwide family litigation filed litigation Critical https://patents.darts-ip.com/?family=41719281&utm_source=google_patent&utm_medium=platform_link&utm_campaign=public_patent_search&patent=KR20120032002(A) "Global patent litigation dataset” by Darts-ip is licensed under a Creative Commons Attribution 4.0 International License.
Application filed by 베바스토 아게 filed Critical 베바스토 아게
Publication of KR20120032002A publication Critical patent/KR20120032002A/ko
Application granted granted Critical
Publication of KR101381321B1 publication Critical patent/KR101381321B1/ko
Expired - Fee Related legal-status Critical Current
Anticipated expiration legal-status Critical

Links

Images

Classifications

    • BPERFORMING OPERATIONS; TRANSPORTING
    • B60VEHICLES IN GENERAL
    • B60JWINDOWS, WINDSCREENS, NON-FIXED ROOFS, DOORS, OR SIMILAR DEVICES FOR VEHICLES; REMOVABLE EXTERNAL PROTECTIVE COVERINGS SPECIALLY ADAPTED FOR VEHICLES
    • B60J7/00Non-fixed roofs; Roofs with movable panels, e.g. rotary sunroofs
    • B60J7/02Non-fixed roofs; Roofs with movable panels, e.g. rotary sunroofs of sliding type, e.g. comprising guide shoes
    • B60J7/04Non-fixed roofs; Roofs with movable panels, e.g. rotary sunroofs of sliding type, e.g. comprising guide shoes with rigid plate-like element or elements, e.g. open roofs with harmonica-type folding rigid panels
    • B60J7/043Sunroofs e.g. sliding above the roof
    • BPERFORMING OPERATIONS; TRANSPORTING
    • B60VEHICLES IN GENERAL
    • B60JWINDOWS, WINDSCREENS, NON-FIXED ROOFS, DOORS, OR SIMILAR DEVICES FOR VEHICLES; REMOVABLE EXTERNAL PROTECTIVE COVERINGS SPECIALLY ADAPTED FOR VEHICLES
    • B60J7/00Non-fixed roofs; Roofs with movable panels, e.g. rotary sunroofs
    • B60J7/02Non-fixed roofs; Roofs with movable panels, e.g. rotary sunroofs of sliding type, e.g. comprising guide shoes
    • B60J7/04Non-fixed roofs; Roofs with movable panels, e.g. rotary sunroofs of sliding type, e.g. comprising guide shoes with rigid plate-like element or elements, e.g. open roofs with harmonica-type folding rigid panels
    • B60J7/043Sunroofs e.g. sliding above the roof
    • B60J7/0435Sunroofs e.g. sliding above the roof pivoting upwardly to vent mode and moving at the outside of the roof to fully open mode
    • BPERFORMING OPERATIONS; TRANSPORTING
    • B60VEHICLES IN GENERAL
    • B60JWINDOWS, WINDSCREENS, NON-FIXED ROOFS, DOORS, OR SIMILAR DEVICES FOR VEHICLES; REMOVABLE EXTERNAL PROTECTIVE COVERINGS SPECIALLY ADAPTED FOR VEHICLES
    • B60J7/00Non-fixed roofs; Roofs with movable panels, e.g. rotary sunroofs
    • B60J7/02Non-fixed roofs; Roofs with movable panels, e.g. rotary sunroofs of sliding type, e.g. comprising guide shoes
    • B60J7/024Non-fixed roofs; Roofs with movable panels, e.g. rotary sunroofs of sliding type, e.g. comprising guide shoes characterised by the height regulating mechanism of the sliding panel
    • BPERFORMING OPERATIONS; TRANSPORTING
    • B60VEHICLES IN GENERAL
    • B60JWINDOWS, WINDSCREENS, NON-FIXED ROOFS, DOORS, OR SIMILAR DEVICES FOR VEHICLES; REMOVABLE EXTERNAL PROTECTIVE COVERINGS SPECIALLY ADAPTED FOR VEHICLES
    • B60J7/00Non-fixed roofs; Roofs with movable panels, e.g. rotary sunroofs
    • B60J7/02Non-fixed roofs; Roofs with movable panels, e.g. rotary sunroofs of sliding type, e.g. comprising guide shoes
    • B60J7/04Non-fixed roofs; Roofs with movable panels, e.g. rotary sunroofs of sliding type, e.g. comprising guide shoes with rigid plate-like element or elements, e.g. open roofs with harmonica-type folding rigid panels
    • B60J7/047Non-fixed roofs; Roofs with movable panels, e.g. rotary sunroofs of sliding type, e.g. comprising guide shoes with rigid plate-like element or elements, e.g. open roofs with harmonica-type folding rigid panels movable to overlapping or nested relationship
    • BPERFORMING OPERATIONS; TRANSPORTING
    • B60VEHICLES IN GENERAL
    • B60JWINDOWS, WINDSCREENS, NON-FIXED ROOFS, DOORS, OR SIMILAR DEVICES FOR VEHICLES; REMOVABLE EXTERNAL PROTECTIVE COVERINGS SPECIALLY ADAPTED FOR VEHICLES
    • B60J7/00Non-fixed roofs; Roofs with movable panels, e.g. rotary sunroofs
    • B60J7/02Non-fixed roofs; Roofs with movable panels, e.g. rotary sunroofs of sliding type, e.g. comprising guide shoes
    • B60J7/04Non-fixed roofs; Roofs with movable panels, e.g. rotary sunroofs of sliding type, e.g. comprising guide shoes with rigid plate-like element or elements, e.g. open roofs with harmonica-type folding rigid panels
    • B60J7/053Non-fixed roofs; Roofs with movable panels, e.g. rotary sunroofs of sliding type, e.g. comprising guide shoes with rigid plate-like element or elements, e.g. open roofs with harmonica-type folding rigid panels sliding with final closing motion having vertical component to attain closed and sealed condition, e.g. sliding under the roof

Landscapes

  • Engineering & Computer Science (AREA)
  • Mechanical Engineering (AREA)
  • Power-Operated Mechanisms For Wings (AREA)
  • Body Structure For Vehicles (AREA)

Abstract

본 발명은 차량, 특히 자동차용 슬라이딩 루프 장치(1)에 관한 것으로, 이 슬라이딩 루프 장치(1)는, 가동 패널(10)을 포함하며, 이 가동 패널(10)의 전방 영역(11)이 차량의 종방향으로 슬라이딩 가능하게 장착되어 있는 한편, 가동 패널(10)의 후방 영역(12)은 적어도 하나의 승강 레버(21, 22)에 관절식으로 연결되며, 이 승강 레버(21, 22)는 마찬가지로 차량의 종방향으로 슬라이딩 가능하도록 장착된다. 본 발명은 차량의 종방향으로의 변위 방향으로 승강 레버(21, 22)를 직접 구동함으로써 가동 패널(10)을 변위시킬 수 있는 구동 장치(30)를 포함한다는 점을 특징으로 한다.

Description

특히 자동차용 슬라이딩 루프 장치{SLIDING ROOF DEVICE, IN PARTICULAR FOR A MOTOR VEHICLE}
본 발명은 청구항 1의 전제부에 기재된 바와 같은 슬라이딩 루프 장치에 관한 것이다.
본 발명은 자동차 산업에서 특히 유리하게 이용되지만 그에 한정되진 않는다.
종래 기술로부터 공지된 슬라이딩 루프 장치에서는 슬라이딩 가능하게 장착된 패널이 흔히 이용되고 있다. DE 41 08 197 A1에서는 가동 패널의 전방 영역이 슬라이딩 부재에 관절식으로 연결되어 있는 슬라이딩 루프를 개시하고 있다. 슬라이딩 부재는 패널에 의해 덮이거나 노출될 수 있는 루프 개구의 양측부에 배치된 측방향 가이드 레일을 따라 슬라이딩 가능하게 장착된다. 패널의 후방 영역은 차량의 루프의 양측부에 배치된 2개의 가이드 레일을 따라 슬라이딩 가능하게 장착된 측방향 승강 레버(raising lever)의 단부에 관절식으로 연결된다. 그러한 슬라이딩 루프 장치가 모터에 의해 작동될 수 있는 경우, 슬라이딩 패널의 개방 및 폐쇄는 일반적으로 전기 모터에 연결된 케이블에 의해 전방 슬라이딩 부재를 슬라이딩식으로 구동함으로써 이루어진다.
그러나, 이러한 형식의 슬라이딩 루프는 그 메커니즘이 비교적 큰 구조적 공간을 요구한다는 단점이 있다. 그러나, 그러한 슬라이딩 루프는 또한 특히 후방 승강 레버의 레버 아암 작용과 관련된 추가적인 단점을 갖는다. 특히, 폐쇄 단계의 종료시에 필요한 추가적인 힘과 가동 패널을 변위시킬 때의 덜거덕거림을 그 예로서 들 수 있다.
따라서, 본 발명의 주제에 의해 해결될 목적은, 현저하게 개선된 작동 특성을 허용하는 동시에 차량의 루프에 보다 용이하게 통합할 수 있는, 차량용, 특히 자동차용 슬라이딩 루프 장치를 제공하는 데에 있다.
본 발명에 따른 기술적 목적의 해법은, 슬라이딩 루프 장치가 또한 후방 상승 장치를 종방향 병진 운동으로 직접 구동함으로써 가동 패널을 변위시킬 수 있는 구동 장치를 더 포함한다는 점이다.
전체 명세서에 있어서 공간적 위치 설정에 대한 모든 용어들은 차량의 종방향 축선 및 차량의 통상 이동 방향과 관련된다는 점을 유념해야 한다. 이는 특히 "횡방향", "종방향", "전방" 및 "후방"과 같은 용어에 적용된다.
또한, "병진 운동(translation)"이란 용어는 광의로 해석되어야 하는데, 다시 말해 그 용어가 직선형 병진 운동, 곡선형 병진 운동, 또는 이들 두 형태의 운동의 임의의 조합도 마찬가지로 의미한다는 점을 이해하는 것이 중요하다.
어느 경우든, 본 발명은 가동 패널의 후방 영역의 신속한 상승을 가능하게 하는 기구의 이점을 제공한다. 가동 패널의 주위에서 측부 및 종방향으로 그 기구에 의해 요구되는 구조적 공간이 현저히 감소될 수 있다. 따라서, 본 발명에 따른 슬라이딩 루프 장치는 차량 루프의 제한된 가용 수직 공간 내에 훨씬 더 용이하게 설치할 수 있어, 순수 기술적 관점은 물론 미적 관점 모두에서 이점이 얻어질 수 있다.
본 발명은 또한 종속 청구항들의 특징은 물론 후술하는 상세한 설명으로부터 드러나는 특징들에 관한 것이며, 이들 특징은 개별적으로 고려되거나 모든 가능한 기술적 조합으로 고려되어야 한다.
비한정적인 예로서 기능하는 상세한 설명은 본 발명이 무엇으로 이루어지고 어떻게 구현될 수 있는지를 보다 쉽게 이해할 수 있게 하고자 한 것이다. 게다가, 상세한 설명은 첨부 도면을 참조하여 설명한다.
도 1은 본 발명에 따른 슬라이딩 루프 장치를 포함하는 삽입식 루프 모듈을 갖는 자동차 루프를 나타내는 것으로, 슬라이딩 루프 장치에 속하는 가동 패널이 폐쇄 위치에 있는 상태로 도시하는 도면이며;
도 2는 가동 패널이 상승 위치에 있는 상태로 도시하는 도 1에 따른 모듈을 나타내는 도면이고;
도 3은 가동 패널이 개방 위치에 있는 상태로 도시하는 도 2에 따른 모듈에 속하는 슬라이딩 루프 장치를 나타내는 도면이며;
도 4는 도 3과 동일하지만 아래에서 본 사시도로 나타낸 도면이고;
도 5는 가동 패널이 폐쇄 위치와 개방 위치 사이에서 변위하고 있는 동안을 나타내고 있는, 도 3과 유사한 위에서 본 사시도이며;
도 6은 가동 패널의 전방 영역의 유지 및 슬라이딩 안내를 보장하는 기계적 연결부 중 하나를 나타내는 것으로, 가동 패널이 개방 위치에 있는 상태로 도시하는 도면이고;
도 7은 가동 패널의 후방 영역의 유지 및 슬라이딩 안내를 보장하는 기계적 연결부 중 하나를 내측에서 본 것을 나타내는 것으로, 가동 패널이 개방 단계의 시작 시에 있는 상태로 도시하는 도면이며;
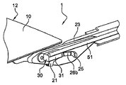
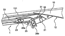
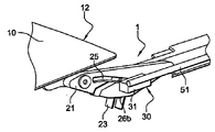
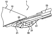
도 8은 도 7과 같은 도면에서 가동 패널의 후방 영역의 기계적 연결부를 외측에서 본 것을 나타내는 도면이고;
도 9는 도 7 및 도 8에 따른 기계적 연결부를 통한 단면도이며;
도 10 및 도 11은 가동 패널이 폐쇄 위치에 있는 상태로 나타내는 도 7 및/또는 도 8과 유사한 도면이고;
도 12 및 도 13은 가동 패널이 개방 단계 시작 시에 있는 상태로 나타내는 도 7 및/또는 도 8과 유사한 도면이며;
도 14는 가동 패널이 상승 위치에 있는 상태로 도시하는 도 8과 유사한 도면이고;
도 15는 가동 패널이 슬라이딩 단계 중에 있는 상태로 도시하는 도 8과 유사한 도면이며;
도 16 내지 도 22는 슬라이딩 루프 장치에 속하는 가동 패널의 기구학적 시스템을 나타내는 종단면도들로서,
도 16은 폐쇄 위치에서의 가동 패널을 도시하고;
도 17 내지 도 19는 폐쇄 위치에서 상승 위치로 변위하는 중의 가동 패널을 도시하며;
도 20은 상승 위치에서의 가동 패널을 도시하고;
도 21 및 도 22는 상승 위치에서 개방 위치로 변위하는 중의 가동 패널을 도시한다.
명료성을 위해, 동일한 구성 요소들에는 동일한 도면 부호가 부여되어 있다. 게다가, 본 발명을 이해하는 데에 있어 중요한 구성 요소들만이 축척을 고려하지 않고 개략적으로 도시되어 있다.
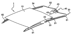
도 1에서는 유리로 이루어진 가동 패널(10)을 사용하는 슬라이딩 루프 장치(1)가 마련된 자동차(200)의 루프(210)를 도시하고 있다. 단지 일례로서 선택된 그러한 특정 실시예에서, 슬라이딩 루프 장치(1)는 2개의 유리 패널, 즉 가동 전방 패널(10)과 고정 후방 패널(110)을 조합한 모듈(100)에 통합된다. 모듈(100)은, 횡방향으로는 2개의 상측 사이드 부재(220)들 사이에 위치한 전체 공간을 덮는 한편, 종방향으로는 실질적으로 윈드쉴드(230)에서부터 리어 윈도우까지 연장한다는 점에서 차량 루프의 실질적으로 전체 표면을 차지하여, 차량 루프의 시트 금속 영역을 후방 횡방향 부재 위의 단일 스트립(240)으로 감소시킨다.
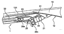
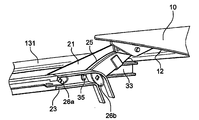
도 2에서 알 수 있는 바와 같이, 모듈(100)은 슬라이딩 루프 장치(1) 및 고정 후방 패널(110)을 위한 지지체로서 기능하는 프레임(120)을 이용하여, 전체 모듈에 균일화 및 모듈형 특성이 부여된다. 프레임(120)은 또한 자동차(200)의 박스 바디에 직접 부착될 수 있도록 설계되기 때문에 자동차(200)의 바디에 대한 연결 기능을 보장한다. 2개의 장식 스트립(131, 132)이 프레임(120)의 사이드 프로파일을 덮는다.
도 3에서는 패널(10)이 마련된 슬라이딩 루프 장치(1)를 도시하고 있는데, 그 패널(10)의 전방 영역(11)은 자동차의 종방향으로 변위하도록 이동 가능하게 장착되어 있는 한편, 후방 영역(12)은 적어도 하나의 승강 레버(21, 22)에 관절식으로 연결되며, 승강 레버는 또한 자동차의 종방향으로 변위하도록 이동 가능하게 장착된다. 그 유닛은 패널(10)이 자동차(200)의 루프(210)의 개구를 폐쇄할 수 있는 폐쇄 위치(도 1 참조)와, 주로 그 개구로부터 멀어지게 연장하여 그 개구를 실질적으로 노출시킬 수 있는 개방 위치(도 3 및 도 4 참조) 사이에서 슬라이딩식으로 이동할 수 있도록 배치된다.
본 발명의 주제에 있어서, 도 4 및 도 5에서는 슬라이딩 루프 장치(1)가 자동차의 종방향으로 변위하도록 각각의 승강 레버(21, 22)를 직접 구동함으로써 가동 패널(10)을 변위시킬 수 있는 구동 장치(30)를 더 구비하고 있는 것을 도시하고 있다.
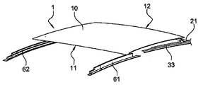
이러한 예시적인 실시예에서, 가동 패널(10)의 전방 영역(11)은 개구의 양측부에 배치된 2개의 전방 가이드 레일(61, 62) 상에 슬라이딩 가능하게 장착된다. 실제로, 도 4 및 도 6에서 확인할 수 있는 바와 같이, 2개의 각진 이음쇠(angled fitting)(63, 64)가 가동 패널(10)의 전방 영역(11)의 각각의 코너 아래에 장착되어, 보강용 가로 부재(67)를 통해 연결된다. 각각의 각진 이음쇠(63, 64)는 또한 지지 플레이트(65, 66)를 위한 고정점으로서 기능을 하고, 지지 플레이트의 단부에는 해당 가이드 레일(61, 62)을 따라 슬라이딩할 수 있는 슬라이딩 피스(68)가 회전 가능하게 장착된다.
한편, 가동 패널(10)의 후방 영역(12)은 2개의 측방향 승강 레버(21, 22) 상에 관절식으로 장착되며, 이들 승강 레버는 자동차(200)의 루프(210)의 각 측부에서 가이드 레일(61, 62)과 실질적으로 동축상에 배치되어 그와 정렬된 2개의 후방 가이드 레일(23, 24) 상에 슬라이딩 가능하게 장착된다.
도 7 내지 도 15에서는 각각의 후방 가이드 레일(23, 24)이 자동차(200)의 내측을 향해 아래쪽으로 경사져 심지어는 개구의 레벨 아래로 연장하는 전방부를 구비하고 있는 것을 도시하고 있다. 그 유닛은, 가동 패널(10)이 폐쇄 위치에 도달할 때, 가이드 레일(23, 24)의 각각의 경사진 레일 부분에 의해 대응하는 승강 레버(21, 22)가 실질적으로 개구의 평면 내로 경사질 수 있고 이에 따라 가동 패널(10)의 후방 영역(12)이 고정 후방 패널(110)에 대해 동일면으로 위치 설정될 수 하도록 배치된다.
도 7 내지 도 15에서는 또한 각각의 승강 레버(21, 22)가 해당 후방 가이드 레일(23, 24)에서 2개의 독립된 슬라이딩 피스(26a, 26b)에 의해 슬라이딩하는 것을 도시하고 있다.
본 발명의 특징에 따르면, 먼저, 구동 장치(30)에는 적어도 하나의 슬라이딩 부재(31)가 마련되며, 이 슬라이딩 부재는 구동 기술적 관점에서 승강 레버(21, 22)에 결합되어, 가동 패널(10)의 변위 방향에 대해 실질적으로 평행한 방향으로 병진 운동 방식으로 이동 가능하게 장착된다. 게다가, 구동 장치(30)에는 또한 구동 기구(40)가 연결되며, 이 구동 기구는 예를 들면 압력에 대해 강성을 갖는 방식으로 안내되는 구동 케이블 형태의 가요성 연결 부재(51, 52)를 통해 각각의 슬라이딩 부재(31)에 연결되어, 각각의 슬라이딩 부재(31)를 동시에 종방향으로 병진 구동함으로써 각각의 승강 레버(21, 22)를 동시에 변위시킬 수 있다.
슬라이딩 부재(31)가 승강 레버(21, 22)에 구동의 관점에서 결합된다는 것은 이들 두 요소가 그 문맥의 광의의 의미에서 서로 고정적으로 연결된다는 것을 의미하는데, 즉 관련 연결이 반드시 강성적일 것을 필요로 하지 않고 그 두 요소가 서로 연결된다는 점을 유념하는 것이 중요하다.
또한, 본 예시적인 실시예에서는 슬라이딩 루프 장치(1)에 모터가 설치되어 있고, 구동 기구(40)가 통상의 방식으로 전기 모터(42)와 기어 기구(43)를 조합하는 액추에이터(41)를 포함하고 있다는 점 또한 유념해야 할 것이다. 그러나, 슬라이딩 루프 장치(1)가 수동으로 제어되어, 예를 들면 크랭크에 의해 수동으로 조작될 수 있는 기구 형태로 존재하는 구동 기구(40)를 구비하도록 마련하는 것 또한 가능하다.
마지막으로, 각각의 가요성 연결 부재(51, 52)가 이유를 따지기 전에 임의의 형태 및/또는 임의의 구조로 이루어질 수 있다는 점은 이해해야 할 것이다. 그러나, 특히 유리하게는 본 예시적인 실시예의 각각의 가요성 연결 부재(51, 52)가 구동 케이블로 이루어지는 것이 유리하다.
본 발명의 바람직한 실시예에 따르면, 구동 장치(30)는 가동 패널(10)에 관절식으로 연결된 각각의 승강 레버(21, 22)를 위해 슬라이딩 부재(31)를 포함한다. 각각의 슬라이딩 부재(31)는 전용 가요성 연결 부재(51, 52)를 통해 구동 기구(40)에 연결된다. 그 유닛은, 구동 기구(40)가 모든 가요성 연결 부재(51, 52)를 동시에 밀거나 당김으로써 두 슬라이딩 부재(31, 32) 모두를 동시에 변위시킬 수 있도록 배치된다.
특히 유리하게는, 각각의 슬라이딩 부재(31)는 가동 패널(10)의 변위 방향에 대해 실질적으로 평행하게 연장하는 후방 가이드 레일(33, 34)을 따라 슬라이딩 가능하게 장착된다.
본 발명의 다른 유리한 특징에 따르면, 가동 패널(10)에 관절식으로 연결된 각각의 승강 레버(21, 22)는 종방향으로 배치된 다른 후방 가이드 레일(23, 24)을 따라 슬라이딩 가능하게 장착된다. 각각의 슬라이딩 부재(31)의 후방 가이드 레일(33, 34)은 해당 승강 레버(21, 22)에 할당된 다른 후방 가이드 레일(23, 24)과 동일한 높이로 설치된다. 슬라이딩 부재(31)의 가이드 레일(33, 34)이 해당 승강 레버(21, 22)의 가이드 레일(23, 24)과 동일한 높이로 설치되기 때문에, 두 요소들은 유리하게는 단일 구성 요소의 일부일 수 있다.
특히 도 7 내지 도 15에서 확인할 수 있는 본 발명의 다른 특징에 따르면, 각각의 슬라이딩 부재(31)가 커플링 요소(35)에 의해 해당 승강 레버(21, 22)에 구동의 관점에서 결합되며, 그 커플링 요소는 핑거 형태로 이루어져, 슬라이딩에 의해 가이드(25)와 협동하며, 핑거(35)는 슬라이딩 부재(31)에 고정되게 연결되고, 가이드(25)는 각각의 승강 레버(21, 22) 상에 배치된다.
이러한 특징은 폐쇄 과정 중에 힘을 최소화할 수 있다. 다시 말해, 가이드(25) 내에서 커플링 요소(35)의 슬라이딩은 아래와 같이 설계된 가이드(25)에 의해 가동 패널(10)의 폐쇄 단계를 분할할 가능성을 제공한다.
이와 관련하여, 도 16 내지 도 23에서는 각각의 가이드(25)가 3개의 부분으로 분할될 수 있는 대체로 만곡된 형상을 갖는 것이 도시되어 있다.
먼저, 가이드(25)에는 가동 패널(10)이 폐쇄 위치에 인접한 경우(도 16 참조)에 슬라이딩 부재(31)의 변위 방향에 대해 실질적으로 평행하게 연장하는 제1의 실질적으로 직선 부분(27)이 마련되어 있는 것을 확인할 수 있다. 이러한 배치는 가동 패널(10)이 폐쇄 위치에 인접한 경우에 해당 커플링 요소(35)가 제1 부분(27)을 따라 슬라이딩할 수 있도록 구성되어 있다.
그러한 특징은 가동 패널(10)의 개방 단계의 바로 시작시와 폐쇄 단계의 각 종료시에 아이들 상태를 이용할 수 있게 한다.
또한, 가이드(25)에는 가동 패널(10)이 개방 단계의 시작시나 폐쇄 단계의 종료시에 있는 경우(도 17 내지 도 19 참조)에 슬라이딩 부재(31)의 변위 방향에 대해 경사지게 연장하는 제2의 실질적으로 직선 부분(28)이 마련된다. 이러한 배치는 가동 패널(10)이 실제로 개방 단계의 시작시나 폐쇄 단계의 종료시에 위치하는 경우에 해당 커플링 요소(35)가 제2 부분(28)을 따라 슬라이딩할 수 있도록 구성되어 있다.
그러한 특징은 슬라이딩 부재(31)에 의해 승강 레버(21, 22)를 점진적으로 구동하게 할 수 있다.
또한, 가이드(25)에는 가동 패널(10)이 개방 단계의 중간이나 폐쇄 단계의 중간에 있는 경우(도 20 내지 도 22 참조)에 슬라이딩 부재(31)의 변위 방향에 대해 실질적으로 직교하게 연장하는 제3의 실질적으로 직선 부분(29)이 마련된다. 이러한 배치는 해당 커플링 요소가, 도 20에 따른 가동 패널(10)의 후방 에지의 완전히 상승된 위치에서부터 시작하여 추가적인 변위에 의한 개방 단계의 후미 부분에 이르기까지 또는 반대 방향으로의 이동에 의해 폐쇄 단계의 전방 부분에 이르기까지 제3 부분(29) 내에 정지해 있도록 구성된다.
이러한 특징은 가동 패널(10)이 상승된 위치와 완전 개방 위치 사이에서 변위하는 동안에 승강 레버(21, 22)와 슬라이딩 부재(31)를 실질적으로 견고하게 연결할 수 있게 한다. 승강 레버(21, 22)는 슬라이딩 부재(31)에 의해 직접 구동되며, 구동 기구(40)에 의해 슬라이딩 부재(31)에 가해지는 장력 또는 추력은 승강 레버(21, 22)로 완전히 전달된다.
전술한 3가지 경우에 슬라이딩 부재(31)의 변위 방향에 대해 고려할 때에 가이드(25)의 부분(27, 28, 29)들의 정렬이 승강 레버(21, 22) 상에서의 개개의 배치는 물론 슬라이딩 부재(31)의 변위 방향에 대한 승강 레버(21, 22)의 위치에 좌우된다는 점을 유념해야 할 것이다.
도 16 내지 도 23의 종단면도들은 전술한 슬라이딩 루프 장치(1)를 작동시키는 기구학적 시스템을 용이하게 이해할 수 있게 한다.
도 16은 특히 폐쇄 위치에서의 패널(10)이 고정 후방 패널(110)에 동일면으로 맞춰지는 형태로 인접하는 것으로 보여주고 있다. 립 시일(140)이 개구를 획정하는 프레임부(120)의 전체 윤곽선에 걸쳐 연장하여, 가동 패널(10)이 도시한 경우와 같이 폐쇄 위치에 있을 때에 가동 패널(10)에 대한 밀봉을 보장한다. 승강 레버(21)는 가이드 레일(23)의 전방 경사 단부와 동일한 높이로 배치되기 때문에 개구 내에서 실질적으로 수평으로 연장한다. 커플링 요소(35)는 가이드(25)의 제1 부분(27) 내에 배치되어 있다. 이는 슬라이딩 부재(31)와 승강 레버(21) 간의 연결이 가동 패널(10)에 가능한 한 근접하게 위치한 지점에서 이루어져, 폐쇄 위치에서 승강 레버(21)의 로킹을 최적화할 수 있음을 의미한다.
가동 패널(10)의 개방 단계는, 액추에이터(41)를 조작하여 이 액추에이터가 케이블(51)(도 16 내지 22에서는 도시 생략)을 통해 슬라이딩 부재(31)에 장력을 가하고, 이에 의해 슬라이딩 부재(31)가 가이드 레일(33)(이 가이드 레일도 역시 명료성을 위해 도시 생략)을 따라 슬라이딩하게 함으로써(도 17 참조) 시작된다. 개방 단계의 바로 시작시에, 커플링 요소(35)는 가이드(25)의 제1 부분(27)에서 슬라이딩하며, 이 경우 제1 부분(27)이 슬라이딩 부재(31)의 변위 방향에 대해 실질적으로 동일 선상에 위치한다는 점에서 가동 패널(10)의 현저한 변위가 야기되지 않는다.
도 18에서 확인할 수 있는 바와 같이, 가동 패널(10)의 개방은 사실상 커플링 요소(35)가 가이드(25)의 제2 부분(28)에 도달할 때에 이루어진다. 슬라이딩 부재(31)가 후방부까지 계속해서 병진 이동하는 한, 승강 레버(21)는 가이드(25)의 제2 부분(28)이 슬라이딩 부재(31)의 슬라이딩 방향에 대해 경사져 있기 때문에 변위 방향으로 점진적으로 구동된다. 그 결과, 마찬가지로 승강 레버(21)의 점진적인 상승이 동시에 발생한다.
커플링 요소(35)가 도 19에 도시한 바와 같이 가이드(25)의 제2 부분의 후단에 도달한 경우, 가동 패널(10)은 상승 위치에 인접하게 위치한다. 이 경우, 그 전방 영역에서는 후방으로 단지 매우 약간만 이동하는 한편, 그 후방 영역(12)은 현저하게 상승한다.
최종적으로, 도 20에 따라 커플링 요소(35)가 가이드(25)의 제3 부분(29) 내로 삽입되자마자 상승 위치에 도달된다. 이제 승강 레버(21)가 슬라이딩 부재(31)에 실질적으로 견고하게 연결된다는 점으로 인해 그 위치를 영구적으로 유지할 수 있는 한편, 구동 기구(40)는 일시적으로 정지하고 그 자가 로킹(self-locking)으로 인해 슬라이딩 부재(31)를 그 위치에 유지한다. 정확히 이 순간에, 가동 패널(10)의 전방 영역(11)은 여전히 그 아래쪽이 전방 시일에 기대지게 비교적 상당한 정도로 아래로 내려가 있으며, 슬라이딩 피스(68)가 가이드 레일(61)의 실질적으로 수평 방향 중간부에 위치하고 있다는 점에서 상당히 안정된 상태로 된다.
도 21에서 확인할 수 있는 바와 같이, 슬라이딩 부재(31)가 후방으로 더 구동되는 경우, 이러한 추가적인 개방 이동 중에 패널(10)이 단지 순수 직선 병진 방향으로 이동하기 때문에, 가동 패널(10)의 후방 영역(12)과 동일한 높이로 맞춰지게 약간의 형태적 변화가 발생한다. 이는 이러한 전방 영역(11)의 높이에서는 전방 영역이 가이드 레일(61)의 경사부의 리프팅을 따르도록 강제되기 때문에 다르다.
이러한 과정이 종료된 경우, 가동 패널(10)의 전방 영역(11)도 역시 도 21 및 도 22에서와 같이 상승한다. 따라서, 가동 패널(10)의 후방으로의 변위는 완전 개방 위치에 도달할 때까지 가이드 레일(61, 62)의 실질적으로 직선부들이 전방 영역(11)에 대해 동일한 높이로 되고 가이드 레일(23, 24)의 실질적으로 직선부들이 후방 영역(12)에 대해 동일한 높이로 되게 단순히 슬라이딩시킴으로써 계속된다. 이 경우, 슬라이딩 부재(31)와 승강 레버(21) 간의 연결이 2개의 슬라이딩 피스(26a, 26b) 사이에 위치한 지점에서 발생하여, 유리하게는 승강 레버(21)가 덜거덕거릴 위험성을 감소시킬 수 있다는 점을 확인할 수 있다.
가동 패널(10)의 폐쇄는 실질적으로 반대 방향의 기구학적 시스템 또는 이동에 따라 발생하기 때문에, 본 명세서에서는 더 설명하진 않는다.
물론, 본 발명은 보다 일반적으로는 전술한 슬라이딩 루프 장치(1)를 적어도 하나 구비하는 임의의 차량에 관한 것이다.

Claims (10)

  1. 차량(200), 특히 자동차용 슬라이딩 루프 장치(1)로서,
    가동 패널(10)을 포함하며, 이 가동 패널(10)의 전방 영역(11)이 차량의 종방향으로 변위 가능하게 장착되어 있는 한편, 가동 패널(10)의 후방 영역(12)은 적어도 하나의 승강 레버(21, 22)에 관절식으로 연결되며, 이 승강 레버(21, 22)는 차량의 종방향으로 변위 및 선회 가능하도록 장착되어 있는, 슬라이딩 루프 장치(1)에 있어서,
    상기 차량의 종방향으로의 변위 방향으로 상기 승강 레버(21, 22)를 직접 구동함으로써 상기 가동 패널(10)을 변위시킬 수 있는 구동 장치(30)를 더 포함하는 것을 특징으로 하는 슬라이딩 루프 장치.
  2. 제1항에 있어서, 상기 구동 장치(30)는,
    구동의 관점에서 승강 레버(21, 22)에 결합되고 상기 가동 패널(10)의 변위 방향에 대해 실질적으로 평행한 방향으로 변위 가능하게 장착된 적어도 하나의 슬라이딩 부재(31); 및
    각각의 슬라이딩 부재(31)에 가요성 연결 부재(51)를 통해 연결되고, 차량의 종방향으로의 변위 방향으로 각각의 슬라이딩 부재(31)를 동시에 구동함으로써 각각의 승강 레버(21, 22)를 동시에 변위시킬 수 있는 구동 기구(40)
    를 포함하는 것을 특징으로 하는 슬라이딩 루프 장치.
  3. 제2항에 있어서, 상기 구동 장치(30)는 가동 패널(10)에 관절식으로 연결된 각각의 승강 레버(21, 22)를 위한 슬라이딩 부재(31)를 포함하며, 각각의 슬라이딩 부재(31)는 전용 가요성 연결 부재(51, 52)를 통해 구동 기구(40)에 연결되는 것을 특징으로 하는 슬라이딩 루프 장치.
  4. 제2항 또는 제3항에 있어서, 각각의 슬라이딩 부재(31)는 가동 패널(10)의 변위 방향에 대해 실질적으로 평행하게 연장하는 가이드 레일(33, 34) 상에 변위 가능하게 장착되는 것을 특징으로 하는 슬라이딩 루프 장치.
  5. 제2항 내지 제4항 중 어느 한 항에 있어서, 각각의 승강 레버(21, 22)는 가이드 레일(23, 24)을 따라 변위 가능하게 장착되며, 상기 가이드 레일(23, 24)은 종방향으로 배치되는 한편, 해당 승강 레버(21, 22)에 할당된 슬라이딩 부재(31)의 가이드 레일(33, 34)과 동일한 높이로 설치되는 것을 특징으로 하는 슬라이딩 루프 장치.
  6. 제2항 내지 제5항 중 어느 한 항에 있어서, 각각의 슬라이딩 부재(31)는 커플링 요소(35)를 통해 해당 승강 레버(21, 22)에 구동의 관점에서 결합되며, 상기 커플링 요소(35)는 슬라이딩 부재(31)에 연결되는 한편, 승강 레버(21, 22)에 배치된 가이드(25)와 협동하는 것을 특징으로 하는 슬라이딩 루프 장치.
  7. 제6항에 있어서, 각각의 가이드(25)는 가동 패널(10)이 폐쇄될 때에 슬라이딩 부재(31)의 변위 방향에 대해 실질적으로 평행하게 연장하는 제1의 실질적으로 직선 부분(27)을 포함하며, 상기 가동 패널(10)이 폐쇄 위치에 인접한 경우에 상기 커플링 요소(35)가 제1 부분(27)을 따라 슬라이딩할 수 있는 것을 특징으로 하는 슬라이딩 루프 장치.
  8. 제6항 또는 제7항에 있어서, 각각의 가이드(25)는 가동 패널(10)이 개방 단계의 시작시나 폐쇄 단계의 종료시에 있는 경우에 슬라이딩 부재(31)의 변위 방향에 대해 경사지게 연장하는 제2의 실질적으로 직선 부분(28)을 포함하며, 상기 가동 패널(10)이 개방 단계의 시작시나 폐쇄 단계의 종료시에 위치하는 경우에 해당 커플링 요소(35)가 제2 부분(28)을 따라 슬라이딩할 수 있는 것을 특징으로 하는 슬라이딩 루프 장치.
  9. 제6항 내지 제8항 중 어느 한 항에 있어서, 각각의 가이드(25)는 가동 패널(10)이 개방 단계의 마지막 부분이나 폐쇄 단계의 시작 부분에 있는 경우에 슬라이딩 부재(31)의 변위 방향에 대해 실질적으로 직교하게 연장하는 제3의 실질적으로 직선 부분(29)을 포함하며, 상기 가동 패널(10)이 해당 개방 단계 또는 폐쇄 단계에 있는 경우에 해당 커플링 요소(35)가 제3 부분(29)에 고정될 수 있는 것을 특징으로 하는 슬라이딩 루프 장치.
  10. 제1항 내지 제9항 중 어느 한 항에 따른 슬라이딩 루프 장치(1)를 적어도 하나 포함하는 것을 특징으로 하는 자동차(200).
KR1020127000672A 2009-07-10 2010-07-07 특히 자동차용 슬라이딩 루프 장치 Expired - Fee Related KR101381321B1 (ko)

Applications Claiming Priority (3)

Application Number Priority Date Filing Date Title
FR09/03404 2009-07-10
FR0903404A FR2947765B1 (fr) 2009-07-10 2009-07-10 Dispositif de toit ouvrant notamment pour vehicule automobile
PCT/EP2010/004182 WO2011003617A1 (de) 2009-07-10 2010-07-07 Schiebedachvorrichtung insbesondere für ein kraftfahrzeug

Publications (2)

Publication Number Publication Date
KR20120032002A true KR20120032002A (ko) 2012-04-04
KR101381321B1 KR101381321B1 (ko) 2014-04-04

Family

ID=41719281

Family Applications (1)

Application Number Title Priority Date Filing Date
KR1020127000672A Expired - Fee Related KR101381321B1 (ko) 2009-07-10 2010-07-07 특히 자동차용 슬라이딩 루프 장치

Country Status (9)

Country Link
US (1) US8523278B2 (ko)
EP (1) EP2451665B2 (ko)
JP (1) JP5588510B2 (ko)
KR (1) KR101381321B1 (ko)
CN (1) CN102470737B (ko)
BR (1) BR112012000376A2 (ko)
FR (1) FR2947765B1 (ko)
RU (1) RU2497694C2 (ko)
WO (1) WO2011003617A1 (ko)

Cited By (1)

* Cited by examiner, † Cited by third party
Publication number Priority date Publication date Assignee Title
WO2014133237A1 (ko) * 2013-02-26 2014-09-04 주식회사 심원 선루프용 개폐장치

Families Citing this family (15)

* Cited by examiner, † Cited by third party
Publication number Priority date Publication date Assignee Title
DE102012023098A1 (de) 2012-11-27 2014-05-28 Webasto SE Schiebedach eines Fahrzeugs
EP2774794B1 (de) * 2013-03-04 2016-05-18 Webasto SE Fahrzeug-Schiebedachvorrichtung
DE102013008898A1 (de) * 2013-05-27 2014-11-27 Webasto SE Fahrzeugdach
CN104553698A (zh) * 2013-10-14 2015-04-29 信昌机械厂股份有限公司 车用天窗
DE102015101747B4 (de) * 2015-02-06 2019-01-03 Webasto SE Anordnung mit einem Deckel für ein Fahrzeugdach
US9399386B1 (en) * 2015-02-12 2016-07-26 Webasto-Edscha Cabrio GmbH Tailgate having a rear window
DE102015011639A1 (de) * 2015-09-11 2017-03-16 Webasto SE Fahrzeugdach mit einem verstellbaren Deckel und einer Dichtungsanordnung
US10272753B1 (en) * 2016-01-20 2019-04-30 Apple Inc. Sliding panel assembly
CN107310356A (zh) * 2017-06-21 2017-11-03 安徽省地坤汽车天窗科技有限公司 一种外开式汽车全景天窗的玻璃机构
DE102017129040A1 (de) * 2017-12-06 2019-06-06 Webasto SE Vorrichtung für ein Fahrzeugdach und Verfahren zum Betreiben einer Vorrichtung für ein Fahrzeugdach
CN109552016B (zh) * 2018-11-30 2021-07-09 宁海建新天窗系统有限公司 全景天窗总成及其工作方法
US10857862B2 (en) * 2019-02-15 2020-12-08 AISIN Technical Center of America, Inc. Dual panel sunroof systems and apparatus for use with vehicles
DE102019118998A1 (de) * 2019-03-15 2020-09-17 Webasto SE Vorrichtung und Verfahren zum Einstellen einer Bildschirmanordnung für ein Fahrzeugdach und Fahrzeugdach für ein Kraftfahrzeug
DE102019117512A1 (de) * 2019-06-28 2020-12-31 Webasto SE Schiebedeckelanordnung für ein Fahrzeug, insbesondere für ein wassergebundenes Fahrzeug
EP3831627B1 (en) * 2019-12-03 2023-04-26 Inalfa Roof Systems Group B.V. Open roof construction for a vehicle

Family Cites Families (11)

* Cited by examiner, † Cited by third party
Publication number Priority date Publication date Assignee Title
GB8506558D0 (en) * 1985-03-13 1985-04-17 Britax Weathershields Opening roof for motor vehicle
JPH03266719A (ja) * 1990-03-15 1991-11-27 Daikyo Webasto Co Ltd 車輌のサンルーフ装置
NL9100972A (nl) * 1991-06-06 1993-01-04 Vermeulen Hollandia Octrooien Hef-schuifdak voor een voertuig.
DE4330426A1 (de) * 1993-09-08 1995-03-09 Hs Tech & Design Vorrichtung zur Führung eines Fahrzeugschiebedachdeckels
FR2797225B1 (fr) 1999-08-02 2002-06-07 Webasto Systemes Carrosserie Dispositif pour ouvrir ou fermer un panneau exterieur mobile de toit ouvrant entrebaillant et coulissant
DE10046068B4 (de) * 2000-09-15 2013-03-28 Webasto Ag Öffnungsfähiges Fahrzeugdach
FR2845037B1 (fr) * 2002-09-27 2004-12-03 Webasto Systemes Carrosserie Toit ouvrant pour vehicule automobile
DE10309145C5 (de) * 2003-02-28 2012-08-09 Webasto Ag Fahrzeugdach
JP4367109B2 (ja) * 2003-11-27 2009-11-18 アイシン精機株式会社 サンルーフ装置
FR2872097B1 (fr) * 2004-06-25 2009-01-30 Renault Sas Ouvrant de vehicule automobile, et vehicule pourvu d'un tel ouvrant
DE102007061091A1 (de) * 2007-12-19 2009-06-25 Arvinmeritor Gmbh Schiebedachsystem für ein Kraftfahrzeug

Cited By (1)

* Cited by examiner, † Cited by third party
Publication number Priority date Publication date Assignee Title
WO2014133237A1 (ko) * 2013-02-26 2014-09-04 주식회사 심원 선루프용 개폐장치

Also Published As

Publication number Publication date
RU2497694C2 (ru) 2013-11-10
US20120169091A1 (en) 2012-07-05
RU2012104677A (ru) 2013-08-20
FR2947765A1 (fr) 2011-01-14
JP5588510B2 (ja) 2014-09-10
EP2451665A1 (de) 2012-05-16
JP2012532064A (ja) 2012-12-13
EP2451665B2 (de) 2018-03-14
WO2011003617A1 (de) 2011-01-13
EP2451665B1 (de) 2013-10-30
US8523278B2 (en) 2013-09-03
BR112012000376A2 (pt) 2016-03-22
KR101381321B1 (ko) 2014-04-04
FR2947765B1 (fr) 2011-08-26
CN102470737A (zh) 2012-05-23
CN102470737B (zh) 2014-07-09

Similar Documents

Publication Publication Date Title
KR101381321B1 (ko) 특히 자동차용 슬라이딩 루프 장치
US7878581B2 (en) Vehicle roof comprising a cover that can be displaced above a fixed roof section
JP2889526B2 (ja) 2つのカバー要素を有する車両ルーフ
US20070228779A1 (en) Sliding roof system
CN108367658B (zh) 可打开的车辆顶篷,包括具有耦合杆的移位运动机构
US9493059B2 (en) Drive system for a movable roof part of a motor vehicle roof module
US7025414B2 (en) Opening vehicle roof
CN101253061A (zh) 具有能在顶篷上方移动的一个顶篷件的车辆顶篷
US8371644B2 (en) Cover element carrier having control slide
EP2305500A1 (en) Open roof construction for a vehicle
CN115635833A (zh) 车顶系统
JPH06191282A (ja) 車輛のチルトスライドルーフ
TW200400889A (en) Sunroof device
GB2455483A (en) Openable vehicle roof with an actuating device for a roof element
US8500193B2 (en) Vehicle roof having drive carriage for cover element
EP2501575B1 (en) Tiltable sun roof for vehicles
US6631945B2 (en) Openable motor vehicle roof
CN103492207B (zh) 具有滑动和倾斜的移动面板的玻璃车顶
EP2105333B1 (en) Roof assembly for a vehicle and method of operating same
WO2013160183A1 (en) Sunroof apparatus
US20240375498A1 (en) Arrangement for moving a cover for a vehicle roof, and vehicle roof
US7758110B2 (en) Displaceable roof part of an openable vehicle roof
US20040169402A1 (en) Vehicle roof
CN117881559A (zh) 用于车辆车顶的装置和车辆车顶
US12351246B2 (en) Vehicle roof comprising a roof opening system having two kinematic units

Legal Events

Date Code Title Description
PA0105 International application

St.27 status event code: A-0-1-A10-A15-nap-PA0105

PG1501 Laying open of application

St.27 status event code: A-1-1-Q10-Q12-nap-PG1501

A201 Request for examination
P11-X000 Amendment of application requested

St.27 status event code: A-2-2-P10-P11-nap-X000

P13-X000 Application amended

St.27 status event code: A-2-2-P10-P13-nap-X000

PA0201 Request for examination

St.27 status event code: A-1-2-D10-D11-exm-PA0201

R18-X000 Changes to party contact information recorded

St.27 status event code: A-3-3-R10-R18-oth-X000

E902 Notification of reason for refusal
PE0902 Notice of grounds for rejection

St.27 status event code: A-1-2-D10-D21-exm-PE0902

P11-X000 Amendment of application requested

St.27 status event code: A-2-2-P10-P11-nap-X000

P13-X000 Application amended

St.27 status event code: A-2-2-P10-P13-nap-X000

E701 Decision to grant or registration of patent right
PE0701 Decision of registration

St.27 status event code: A-1-2-D10-D22-exm-PE0701

PR0701 Registration of establishment

St.27 status event code: A-2-4-F10-F11-exm-PR0701

PR1002 Payment of registration fee

St.27 status event code: A-2-2-U10-U12-oth-PR1002

Fee payment year number: 1

PG1601 Publication of registration

St.27 status event code: A-4-4-Q10-Q13-nap-PG1601

PR1001 Payment of annual fee

St.27 status event code: A-4-4-U10-U11-oth-PR1001

Fee payment year number: 4

FPAY Annual fee payment

Payment date: 20180320

Year of fee payment: 5

PR1001 Payment of annual fee

St.27 status event code: A-4-4-U10-U11-oth-PR1001

Fee payment year number: 5

FPAY Annual fee payment

Payment date: 20190325

Year of fee payment: 6

PR1001 Payment of annual fee

St.27 status event code: A-4-4-U10-U11-oth-PR1001

Fee payment year number: 6

PR1001 Payment of annual fee

St.27 status event code: A-4-4-U10-U11-oth-PR1001

Fee payment year number: 7

PR1001 Payment of annual fee

St.27 status event code: A-4-4-U10-U11-oth-PR1001

Fee payment year number: 8

PR1001 Payment of annual fee

St.27 status event code: A-4-4-U10-U11-oth-PR1001

Fee payment year number: 9

PR1001 Payment of annual fee

St.27 status event code: A-4-4-U10-U11-oth-PR1001

Fee payment year number: 10

PC1903 Unpaid annual fee

St.27 status event code: A-4-4-U10-U13-oth-PC1903

Not in force date: 20240329

Payment event data comment text: Termination Category : DEFAULT_OF_REGISTRATION_FEE

PC1903 Unpaid annual fee

St.27 status event code: N-4-6-H10-H13-oth-PC1903

Ip right cessation event data comment text: Termination Category : DEFAULT_OF_REGISTRATION_FEE

Not in force date: 20240329