JP7635159B2 - 術中の外科用スコープ洗浄のシステムと方法 - Google Patents

術中の外科用スコープ洗浄のシステムと方法 Download PDF

Info

Publication number
JP7635159B2
JP7635159B2 JP2021570525A JP2021570525A JP7635159B2 JP 7635159 B2 JP7635159 B2 JP 7635159B2 JP 2021570525 A JP2021570525 A JP 2021570525A JP 2021570525 A JP2021570525 A JP 2021570525A JP 7635159 B2 JP7635159 B2 JP 7635159B2
Authority
JP
Japan
Prior art keywords
surgical
scope
liquid
lens
gas
Prior art date
Legal status (The legal status is an assumption and is not a legal conclusion. Google has not performed a legal analysis and makes no representation as to the accuracy of the status listed.)
Active
Application number
JP2021570525A
Other languages
English (en)
Other versions
JP2022534590A5 (ja
JPWO2020243270A5 (ja
JP2022534590A (ja
Inventor
セオドア ルクレール,
エリック ハイン,
ジャレッド コフィーン,
Current Assignee (The listed assignees may be inaccurate. Google has not performed a legal analysis and makes no representation or warranty as to the accuracy of the list.)
Stryker Corp
Original Assignee
Stryker Corp
Priority date (The priority date is an assumption and is not a legal conclusion. Google has not performed a legal analysis and makes no representation as to the accuracy of the date listed.)
Filing date
Publication date
Family has litigation
First worldwide family litigation filed litigation Critical https://patents.darts-ip.com/?family=71094884&utm_source=google_patent&utm_medium=platform_link&utm_campaign=public_patent_search&patent=JP7635159(B2) "Global patent litigation dataset” by Darts-ip is licensed under a Creative Commons Attribution 4.0 International License.
Application filed by Stryker Corp filed Critical Stryker Corp
Publication of JP2022534590A publication Critical patent/JP2022534590A/ja
Publication of JP2022534590A5 publication Critical patent/JP2022534590A5/ja
Publication of JPWO2020243270A5 publication Critical patent/JPWO2020243270A5/ja
Application granted granted Critical
Publication of JP7635159B2 publication Critical patent/JP7635159B2/ja
Active legal-status Critical Current
Anticipated expiration legal-status Critical

Links

Images

Classifications

    • AHUMAN NECESSITIES
    • A61MEDICAL OR VETERINARY SCIENCE; HYGIENE
    • A61BDIAGNOSIS; SURGERY; IDENTIFICATION
    • A61B1/00Instruments for performing medical examinations of the interior of cavities or tubes of the body by visual or photographical inspection, e.g. endoscopes; Illuminating arrangements therefor
    • A61B1/012Instruments for performing medical examinations of the interior of cavities or tubes of the body by visual or photographical inspection, e.g. endoscopes; Illuminating arrangements therefor characterised by internal passages or accessories therefor
    • A61B1/015Control of fluid supply or evacuation
    • AHUMAN NECESSITIES
    • A61MEDICAL OR VETERINARY SCIENCE; HYGIENE
    • A61BDIAGNOSIS; SURGERY; IDENTIFICATION
    • A61B1/00Instruments for performing medical examinations of the interior of cavities or tubes of the body by visual or photographical inspection, e.g. endoscopes; Illuminating arrangements therefor
    • A61B1/00002Operational features of endoscopes
    • A61B1/00004Operational features of endoscopes characterised by electronic signal processing
    • A61B1/00006Operational features of endoscopes characterised by electronic signal processing of control signals
    • AHUMAN NECESSITIES
    • A61MEDICAL OR VETERINARY SCIENCE; HYGIENE
    • A61BDIAGNOSIS; SURGERY; IDENTIFICATION
    • A61B1/00Instruments for performing medical examinations of the interior of cavities or tubes of the body by visual or photographical inspection, e.g. endoscopes; Illuminating arrangements therefor
    • A61B1/00002Operational features of endoscopes
    • A61B1/00004Operational features of endoscopes characterised by electronic signal processing
    • A61B1/00009Operational features of endoscopes characterised by electronic signal processing of image signals during a use of endoscope
    • AHUMAN NECESSITIES
    • A61MEDICAL OR VETERINARY SCIENCE; HYGIENE
    • A61BDIAGNOSIS; SURGERY; IDENTIFICATION
    • A61B1/00Instruments for performing medical examinations of the interior of cavities or tubes of the body by visual or photographical inspection, e.g. endoscopes; Illuminating arrangements therefor
    • A61B1/00002Operational features of endoscopes
    • A61B1/00043Operational features of endoscopes provided with output arrangements
    • A61B1/00055Operational features of endoscopes provided with output arrangements for alerting the user
    • AHUMAN NECESSITIES
    • A61MEDICAL OR VETERINARY SCIENCE; HYGIENE
    • A61BDIAGNOSIS; SURGERY; IDENTIFICATION
    • A61B1/00Instruments for performing medical examinations of the interior of cavities or tubes of the body by visual or photographical inspection, e.g. endoscopes; Illuminating arrangements therefor
    • A61B1/00064Constructional details of the endoscope body
    • A61B1/00066Proximal part of endoscope body, e.g. handles
    • A61B1/00068Valve switch arrangements
    • AHUMAN NECESSITIES
    • A61MEDICAL OR VETERINARY SCIENCE; HYGIENE
    • A61BDIAGNOSIS; SURGERY; IDENTIFICATION
    • A61B1/00Instruments for performing medical examinations of the interior of cavities or tubes of the body by visual or photographical inspection, e.g. endoscopes; Illuminating arrangements therefor
    • A61B1/00064Constructional details of the endoscope body
    • A61B1/00071Insertion part of the endoscope body
    • A61B1/0008Insertion part of the endoscope body characterised by distal tip features
    • A61B1/00091Nozzles
    • AHUMAN NECESSITIES
    • A61MEDICAL OR VETERINARY SCIENCE; HYGIENE
    • A61BDIAGNOSIS; SURGERY; IDENTIFICATION
    • A61B1/00Instruments for performing medical examinations of the interior of cavities or tubes of the body by visual or photographical inspection, e.g. endoscopes; Illuminating arrangements therefor
    • A61B1/00112Connection or coupling means
    • A61B1/00119Tubes or pipes in or with an endoscope
    • AHUMAN NECESSITIES
    • A61MEDICAL OR VETERINARY SCIENCE; HYGIENE
    • A61BDIAGNOSIS; SURGERY; IDENTIFICATION
    • A61B1/00Instruments for performing medical examinations of the interior of cavities or tubes of the body by visual or photographical inspection, e.g. endoscopes; Illuminating arrangements therefor
    • A61B1/00112Connection or coupling means
    • A61B1/00121Connectors, fasteners and adapters, e.g. on the endoscope handle
    • A61B1/00128Connectors, fasteners and adapters, e.g. on the endoscope handle mechanical, e.g. for tubes or pipes
    • AHUMAN NECESSITIES
    • A61MEDICAL OR VETERINARY SCIENCE; HYGIENE
    • A61BDIAGNOSIS; SURGERY; IDENTIFICATION
    • A61B1/00Instruments for performing medical examinations of the interior of cavities or tubes of the body by visual or photographical inspection, e.g. endoscopes; Illuminating arrangements therefor
    • A61B1/00131Accessories for endoscopes
    • A61B1/00135Oversleeves mounted on the endoscope prior to insertion
    • AHUMAN NECESSITIES
    • A61MEDICAL OR VETERINARY SCIENCE; HYGIENE
    • A61BDIAGNOSIS; SURGERY; IDENTIFICATION
    • A61B1/00Instruments for performing medical examinations of the interior of cavities or tubes of the body by visual or photographical inspection, e.g. endoscopes; Illuminating arrangements therefor
    • A61B1/00131Accessories for endoscopes
    • A61B1/0014Fastening element for attaching accessories to the outside of an endoscope, e.g. clips, clamps or bands
    • AHUMAN NECESSITIES
    • A61MEDICAL OR VETERINARY SCIENCE; HYGIENE
    • A61BDIAGNOSIS; SURGERY; IDENTIFICATION
    • A61B1/00Instruments for performing medical examinations of the interior of cavities or tubes of the body by visual or photographical inspection, e.g. endoscopes; Illuminating arrangements therefor
    • A61B1/12Instruments for performing medical examinations of the interior of cavities or tubes of the body by visual or photographical inspection, e.g. endoscopes; Illuminating arrangements therefor with cooling or rinsing arrangements
    • A61B1/126Instruments for performing medical examinations of the interior of cavities or tubes of the body by visual or photographical inspection, e.g. endoscopes; Illuminating arrangements therefor with cooling or rinsing arrangements provided with means for cleaning in-use
    • AHUMAN NECESSITIES
    • A61MEDICAL OR VETERINARY SCIENCE; HYGIENE
    • A61MDEVICES FOR INTRODUCING MEDIA INTO, OR ONTO, THE BODY; DEVICES FOR TRANSDUCING BODY MEDIA OR FOR TAKING MEDIA FROM THE BODY; DEVICES FOR PRODUCING OR ENDING SLEEP OR STUPOR
    • A61M13/00Insufflators for therapeutic or disinfectant purposes, i.e. devices for blowing a gas, powder or vapour into the body
    • A61M13/003Blowing gases other than for carrying powders, e.g. for inflating, dilating or rinsing

Landscapes

  • Health & Medical Sciences (AREA)
  • Life Sciences & Earth Sciences (AREA)
  • Surgery (AREA)
  • Engineering & Computer Science (AREA)
  • Biomedical Technology (AREA)
  • Molecular Biology (AREA)
  • Pathology (AREA)
  • Radiology & Medical Imaging (AREA)
  • Nuclear Medicine, Radiotherapy & Molecular Imaging (AREA)
  • Biophysics (AREA)
  • Physics & Mathematics (AREA)
  • Heart & Thoracic Surgery (AREA)
  • Medical Informatics (AREA)
  • Optics & Photonics (AREA)
  • Animal Behavior & Ethology (AREA)
  • General Health & Medical Sciences (AREA)
  • Public Health (AREA)
  • Veterinary Medicine (AREA)
  • Signal Processing (AREA)
  • Mechanical Engineering (AREA)
  • Endoscopes (AREA)
  • Instruments For Viewing The Inside Of Hollow Bodies (AREA)

Description

本開示は一般に、内視鏡手術に関し、より詳細には、外科的処置中の外科用スコープの洗浄に関する。
(関連出願へのクロスリファレンス)
本出願は2019年5月29日に出願された米国仮出願第62/854165号の利点を主張し、その内容全体は、参照により本明細書に組み込まれる。
腹腔鏡手術は1901年から行われていたが、1980年代半ばに、ロッドレンズ光学系列及びガラスファイバ光学照明を備えた硬質腹腔鏡の導入により、より広く普及した。以来、腹腔鏡手術は多くの種類の腹部手術の標準的な治療に発展してきた。
外科医は腹腔鏡によって提供される画像に依存するため、手術腔内にある間、腹腔鏡の遠位端のレンズが清潔に保たれない場合、外科医のパフォーマンスが損なわれる。例えば、「スコープ曇り」と呼ばれる、レンズの表面温度が手術腔の温度よりも低く、レンズ上に結露が形成される場合、「スコープ汚れ」と呼ばれる、手術中にレンズが手術腔内の組織に接触し、脂肪、血液、組織片、胆汁等で汚れる場合、「スコープ汚れ」と呼ばれる、穿孔された動脈からの血液、手術部位を加圧生理食塩水で洗浄する際の灌流液等、手術中に腹腔鏡に流体が飛散または噴出し、レンズ上に蓄積する場合、及び、「スコープ汚れ」とも呼ばれる、手術腔に入るために腹腔鏡がトロカールを通過し、レンズがトロカールのシールから血液、脂肪、組織片、または潤滑剤に接触する場合に、外科医は術野を見ることが困難になり得る。
レンズの曇り及びスコープの汚れの問題に対処するために、多くの試みがなされてきた。しかし、これらの試みはほとんど成功せず、外科医は、洗浄のために腹腔鏡を手術腔から取り出し、その後、手術を継続するために腹腔鏡を手術腔内に再挿入することを繰り返している。トロカールを通して手術腔に再挿入すると、スコープが再び汚れ、外科医は手術腔の鮮明な画像が得られるまで、洗浄プロセスを繰り返さなければならないことがある。
スコープの汚れ及び曇りを解決する試みは、幾つかの理由でしばしば効果がなかった。スコープ自体に組み込まれたレンズ洗浄構成を有する設計は、外科医が手術中に手術腔からスコープを取り外す必要がないという利点を有するが、スコープの設計を実質的に複雑にし、スコープの洗浄及び滅菌を困難にし、スコープの信頼性及び耐用年数に影響を及ぼし得る。ワイパーまたはスポンジのような、スコープを機械的に洗浄するための機構を有する設計は、手術の過程にわたってレンズを洗浄するのに有効であるように、機構を十分に清潔かつ乾燥した状態に保つことが困難である。また、このような設計は、外科医が洗浄機構を越えてスコープを前後に動かすことを必要とし得、外科医の外科的処置への注意をそらし得る。
レンズが流体及び破片と接触することを防ぐためのシースを有する設計は、レンズへのアクセスがより困難になり、しばしばレンズを適切に洗浄するためにシースを取り外す必要があるため、レンズが汚れた場合にレンズを洗浄するプロセスを実質的に複雑にする。スコープの外面と共に、レンズを洗浄するために流体または気体が通過する管腔を形成するシースを含む設計は、スコープとシースとの間の嵌合が重要であるため、一般に、特定のメーカ及びモデルの腹腔鏡と協働するようにのみ構成することができる。スコープ及びシースの製造公差や、病院スタッフによる再処理に起因して一方または他方の嵌合面が時間とともに損傷を受けるという事実は、このような設計を非実用的にし得る。
外科的処置中にレンズが流体及び組織と接触することを防ぐフィルムを有する設計は、多くの欠点を被り得る。スコープのレンズの前に配置された物により、ある程度の画像劣化が生じる。フィルムは、完全に密閉し、レンズの汚れと流体がシースに浸透して残ることを防ぐことができない場合があり、この場合、レンズの前に進む新たなフィルムも汚れてしまうことがある。さらに、フィルムは、曇りを防止することに役立たない場合もあり、シースを取り付けて手術腔に挿入する直前に、スコープは適切に温めなければならない。スコープが何らかの理由で手術中に取り外される場合、スコープは手術腔内に再挿入される前に再び温められなければならず、さもなければ、スコープは再び曇ることになる。
腹腔鏡手術では、ガラスと流体の滴との間の表面張力により、レンズを横切って流体の滴を常に吸引して除去するよう吸引流に頼ることがしばしば難しいため、洗浄剤をレンズに噴霧し、廃棄物を吸引除去する設計は成功していない。
いくつかの実施形態によれば、外科用スコープクリーナは、外科用スコープ上を摺動するように構成されたシースと、レンズを洗浄すべく、洗浄液及び気体を外科用スコープの端部でレンズ上に噴霧するためにシースの端部に配置された少なくとも1つのノズルとを含む。シースは、スコープのチューブの上に、トロカールの管腔を通して適合するように構成されているため、シースは外科的処置の間、スコープ上の適所に留まる。レンズが汚れた及び/または曇った場合、液体をレンズ上に噴霧することができ、次いで、気体をレンズに吹き付けて、残っている液体を除去することができる。シースは、標準サイズのスコープに取り付けられている状態でシースが標準サイズのトロカールを通して適合できるように、小さい直径を維持するためにシースの壁の一方の側に形成され得る、液体及び気体のための導管を含む。
外科用スコープクリーナは、スコープクリーナからレンズへの流体及び気体の送達を制御することができる液体管理装置に接続され得る。流体管理装置は、例えば、手術腔に送気するための送気気体を供給するための送気器として機能することを含む、術野への他の流体の供給を管理することもできる。一体型チューブセットは、術野と装置及び/または他の機器との間で流体を輸送するために使用することができ、術野における乱雑さを低減し得る。チューブセットは、効率的な術前セットアップのために、チューブセットのチューブの少なくとも一部を装置に接続するためのコネクタを含むことができる。
いくつかの実施形態によれば、外科用スコープを洗浄するための装置は、前記外科用スコープのチューブを着脱可能に受け入れるシースであって、前記チューブを受け入れるためのチャネルを規定する壁であって、当該壁の遠位部分が、前記チューブの外周周りに部分的にのみ延びるように構成されている壁と、液体流路を規定する第1の導管と、気体流路を規定する第2の導管と、を含むシースと、前記壁の前記遠位部分の遠位端に位置し、前記第1の導管からの液体の流れを前記外科用スコープのレンズを横切るように向け、前記レンズから前記液体を除去するために、前記第2の導管からの気体の流れを前記外科用スコープの前記レンズを横切るように向けるために構成された少なくとも1つのノズルと、を含む。
これら実施形態のいずれかにおいて、少なくとも前記壁の前記遠位部分が、使用中にトロカール内に配置されるために構成され得る。
これら実施形態のいずれかにおいて、前記装置は、液体供給線を前記第1の導管に接続するための第1のポートと、気体供給線を前記第2の導管に接続するための第2のポートと、をさらに含み得る。
これら実施形態のいずれかにおいて、前記第1のポートから前記第1のノズルへの液体流路と、前記第2のポートから前記第2のノズルへの気体流路が、バルブフリーであり得る。
これら実施形態のいずれかにおいて、前記装置は、前記外科用スコープのハウジングを受け入れるために、前記シースの近位端に配置されたレシーバをさらに含み得る。
これら実施形態のいずれかにおいて、前記壁の近位部分が、前記外科用スコープの前記チューブの外周に完全に延びるように構成され得る。
これら実施形態のいずれかにおいて、前記壁の前記遠位部分のみが、使用中に前記トロカール内に配置され得る。
これら実施形態のいずれかにおいて、前記壁の遠位端は、前記外科用スコープが前記シース内に受け入れられたときに、前記壁の近位端よりも前記外科用スコープの前記チューブの長手軸からさらに離れ得る。
これら実施形態のいずれかにおいて、前記壁は、トロカールへの挿入中に、前記壁の前記遠位部分が前記外科用スコープの前記チューブの前記長手軸に向けて曲がることができ、前記遠位部分が前記トロカールを通るときに、前記外科用スコープの前記チューブの前記長手軸からさらに離れた位置に戻ることができるように構成され得る。
これら実施形態のいずれかにおいて、前記第1の導管が、前記第2の導管に隣接し得る。
これら実施形態のいずれかにおいて、前記少なくとも1つのノズルが、第2のノズルに隣接する第1のノズルであり得る。
これら実施形態のいずれかにおいて、前記第1及び第2の導管が、前記壁の厚さに形成され得る。
これら実施形態のいずれかにおいて、前記壁の前記厚さが、前記壁の少なくとも一部の外周周りで不均一であり得る。
これら実施形態のいずれかにおいて、前記少なくとも1つのノズルが、前記外科用スコープが術野を見ている間に、前記外科用スコープを洗浄するために配置され得る。
これら実施形態のいずれかにおいて、前記少なくとも1つのノズルが、前記外科用スコープの視野が妨げられないように配置され得る。
これら実施形態のいずれかにおいて、前記少なくとも1つのノズルが、前記シースの遠位端に配置され得る。
これら実施形態のいずれかにおいて、少なくとも前記シースがプラスチック製であり得る。
これら実施形態のいずれかにおいて、前記装置が使い捨てであり得る。
いくつかの実施形態によれば、外科用スコープが手術腔に挿入されている間に前記外科用スコープを洗浄するための方法は、前記外科用スコープを外科用スコープクリーナのシースであって、遠位部分が前記外科用スコープのチューブの周りに部分的にのみ延びるシースを挿入することと、前記外科用スコープと前記シースを前記手術腔に挿入することと、前記外科用スコープクリーナの前記シースに挿入された前記外科用スコープを用いて前記手術腔を観察することと、前記外科用スコープのレンズから堆積物を洗浄することであって、前記レンズから前記堆積物を除去するために、前記外科用スコープクリーナの少なくとも1つのノズルから液体を前記レンズに噴霧し、前記レンズから前記液体を除去するために、前記外科用スコープクリーナの前記少なくとも1つのノズルから気体を前記外科用スコープの前記レンズに吹き付けることにより洗浄することと、を含む。
これら実施形態のいずれかにおいて、前記シースが、液体流路を規定する第1の導管と、気体流路を規定する第2の導管と、を含み得る。
これら実施形態のいずれかにおいて、前記外科用スコープ及び前記シースを前記手術腔に挿入することは、前記外科用スコープ及び前記シースをトロカールを通して挿入することを含み得る。
これら実施形態のいずれかにおいて、前記外科用スコープに接続された内視鏡撮像装置へのユーザ入力に応答して、前記堆積物が前記レンズから洗浄され得る。
これら実施形態のいずれかにおいて、前記外科用スコープに接続された内視鏡撮像装置により生成された1以上の画像を介した、画像処理システムによる前記堆積物の検出に基づいて、前記堆積物が前記レンズから洗浄され得る。
これら実施形態のいずれかにおいて、前記堆積物が結露を含み得る。
これら実施形態のいずれかにおいて、前記堆積物が、体液、組織、及び手術腔に導入された1以上の流体のうちの1以上を含み得る。
これら実施形態のいずれかにおいて、前記レンズは、第1の所定期間、前記液体が噴霧され、前記レンズは、第2の所定期間、前記気体が吹き付けられ得る。
いくつかの実施形態によれば、流体を術野に供給するための装置は、前記装置に気体を供給するための供給線を接続するための気体入口ポートと、外科的処置中に手術腔に送気するための前記気体の第1の流れを供給するための第1の出口ポートと、前記外科的処置中に外科用スコープを洗浄するための液体流を制御するためのアクチュエータと、前記外科的処置中に前記外科用スコープから液体を除去するための前記気体の第2の流れを供給するための第2の出口ポートと、を含む。
これら実施形態のいずれかにおいて、前記アクチュエータがソレノイドを含み得る。
これら実施形態のいずれかにおいて、前記アクチュエータが、前記装置内の流路を閉じるように構成され得る。
これら実施形態のいずれかにおいて、前記アクチュエータが、前記装置に接続された装置内の流路を閉じるように構成され得る。
これら実施形態のいずれかにおいて、前記アクチュエータが、前記装置内のバルブを作動させ得る。
これら実施形態のいずれかにおいて、前記装置は、前記液体流のためのリザーバを加圧するための第3の出口ポートをさらに含み得る。
これら実施形態のいずれかにおいて、前記第1、第2、及び第3の出口が、前記術野に流体を供給するためのチューブセットに前記装置を接続するコネクタを受け入れるために構成されたレシーバ内に配置され得る。
これら実施形態のいずれかにおいて、前記アクチュエータが、前記コネクタ内の前記液体流の流路を閉鎖するように構成され得る。
これら実施形態のいずれかにおいて、前記アクチュエータは、前記液体流を制御するために、前記コネクタ内のバルブを作動させ得る。
これら実施形態のいずれかにおいて、前記装置は、前記コネクタ内のポンプを駆動するためのモータを含み得る。
これら実施形態のいずれかにおいて、前記アクチュエータが、前記液体流を制御するための液体流チューブを挟むように構成され得る。
これら実施形態のいずれかにおいて、前記装置は、前記気体の前記第2の流れを制御するための気体流チューブを挟むように構成された第2のアクチュエータをさらに含み得る。
これら実施形態のいずれかにおいて、前記装置は、前記気体の前記第1の流れを第1の圧力で供給するための第1のレギュレータと、前記液体流のためのリザーバを、前記第1の圧力と異なる第2の圧力で加圧するための第2のレギュレータと、をさらに含み得る。
これら実施形態のいずれかにおいて、前記装置は、リザーバから前記液体を受け取るための液体入口ポートをさらに含み得る。
これら実施形態のいずれかにおいて、前記装置は、前記外科的処置中に前記手術腔から気体流を受け取るための気体入口ポートをさらに含み得る。
これら実施形態のいずれかにおいて、前記装置は、前記アクチュエータを作動させるための制御コマンドを受信するための通信ポートをさらに含み得る。
これら実施形態のいずれかにおいて、前記装置は、前記外科用スコープを洗浄するための前記液体流及び前記気体の前記第2の流れを制御するように構成されたコントローラをさらに含み得る。
これら実施形態のいずれかにおいて、前記コントローラは、前記液体流を第1の期間にわたって提供することと、前記気体の前記第2の流れを前記第1の期間に少なくとも部分的に後続する第2の期間にわたって提供することと、を含む洗浄シーケンスを制御するように構成され得る。
これら実施形態のいずれかにおいて、前記装置は、外部システムからスコープ洗浄コマンドを受信するために構成され得る。
これら実施形態のいずれかにおいて、前記外部システムは、画像処理システムを含み得る。
これら実施形態のいずれかにおいて、前記外部システムは、前記外科用スコープを備える内視鏡撮像装置を含み得る。
これら実施形態のいずれかにおいて、前記装置は、ユーザからスコープ洗浄コマンドを受け付けるためのユーザインタフェースをさらに含み得る。
いくつかの実施形態によれば、術野に流体を供給するためのチューブセットは、前記チューブセットを流体供給システムに接続するためのコネクタと、外科的処置中に手術腔に送気するための第1の気体流を供給するための第1の供給チューブであって、前記コネクタの第1のポートに接続された第1の供給チューブと、前記外科的処置中に外科用スコープを洗浄するための液体を供給するための第2の供給チューブであって、前記コネクタの第2のポートに接続された第2の供給チューブと、前記外科的処置中に前記外科用スコープから前記液体を除去するための第2の気体流を供給するための第3の供給チューブであって、前記コネクタの第3のポートに接続された第3の供給チューブと、を含む。
これら実施形態のいずれかにおいて、前記チューブセットは、前記第1、第2、及び第3の供給チューブを収容するための外チューブをさらに含む。
これら実施形態のいずれかにおいて、前記チューブセットが単回使用のチューブセットであり得る。
これら実施形態のいずれかにおいて、前記第1、第2、及び第3の供給チューブがプラスチック製であり得る。
これら実施形態のいずれかにおいて、前記チューブセットの長さは、前記チューブセットの一端が前記術野内に延び、反対端が前記術野に流体を供給するための少なくとも1つの機器に接続することを可能にし得る。
これら実施形態のいずれかにおいて、前記チューブセットは、前記外科的処置中に前記手術腔から煙を排気するための排気チューブをさらに含み得る。
これら実施形態のいずれかにおいて、前記コネクタは、前記手術腔から排気された煙を濾過するための少なくとも1つのフィルタを含み得る。
これら実施形態のいずれかにおいて、前記コネクタは、前記第1の供給チューブ及び前記第3の供給チューブを前記流体供給システムに接続するためのポートを備えるハウジングを含み得る。
これら実施形態のいずれかにおいて、前記ハウジングは、前記流体供給システムのレシーバにラッチするために構成され得る。
これら実施形態のいずれかにおいて、前記チューブセットは、前記外科用スコープを洗浄するための前記液体のリザーバに接続するためのリザーバ接続チューブをさらに含み得る。
これら実施形態のいずれかにおいて、前記チューブセットは、前記リザーバを加圧するための加圧気体を供給するための加圧チューブをさらに含み得る。
これら実施形態のいずれかにおいて、前記加圧チューブは、前記リザーバを備えるバッグを加圧するための加圧スリーブに接続可能であり得る。
これら実施形態のいずれかにおいて、前記コネクタは、前記リザーバ接続チューブから前記第2の供給チューブへの流れを制御するためのバルブを含み得る。
これら実施形態のいずれかにおいて、前記コネクタが、前記外科用スコープを洗浄するための前記液体のリザーバを含み得る。
これら実施形態のいずれかにおいて、前記チューブセットは、前記手術腔を灌流するための液体を供給するための灌流供給チューブをさらに含み得、前記灌流供給チューブが前記コネクタに接続される。
これら実施形態のいずれかにおいて、前記外科的処置中に前記外科用スコープを洗浄するために、前記第2及び第3の供給チューブに接続される外科用スコープ洗浄装置をさらに含み得る。
いくつかの実施形態によれば、術野に流体を供給するための方法は、コネクタの第1のポートに接続された第1の供給チューブと、前記コネクタの第2のポートに接続された第2の供給チューブと、前記コネクタの第3のポートに接続された第3の供給チューブと、を有するチューブセットの前記コネクタを流体供給システムに接続し、外科的処置中に手術腔に送気するための第1の気体流を、前記第1の供給チューブを介して供給し、前記外科的処置中に外科用スコープを洗浄するための液体を、前記第2の供給チューブを介して供給し、前記外科的処置に前記外科用スコープから前記液体を除去するための第2の気体流を、前記第3の供給チューブを介して供給することを含む。
これら実施形態のいずれかにおいて、前記第1の気体流及び前記第2の気体流は、同一の気体を含み得る。
これら実施形態のいずれかにおいて、前記チューブセットが、滅菌包装されたチューブセットであり得る。
これら実施形態のいずれかにおいて、前記チューブセットが、単回使用のチューブセットであり得る。
これら実施形態のいずれかにおいて、前記方法は、前記コネクタの第4のポートに接続された排気チューブを介して、前記手術腔を排気することをさらに含み得る。
いくつかの実施形態によれば、内視鏡撮像装置の外科用スコープを洗浄するためのシステムは、外科用スコープクリーナに流体を供給するための装置に通信可能に接続された制御システムを含み、前記制御システムは、前記内視鏡撮像装置により生成された術野の1以上の画像を受信し、前記1以上の画像を解析することにより、前記外科用スコープのレンズ上の堆積物を検出し、前記外科用スコープを洗浄するために、1以上の流体を前記術野に提供するためのコマンドを、前記装置に送信するよう構成される。
これら実施形態のいずれかにおいて、前記システムは、前記装置を含み、前記装置は、外科的処置中に前記外科用スコープのレンズの洗浄用に、術野に液体流及び気体流を供給するために構成され得る。
これら実施形態のいずれかにおいて、前記装置は、前記制御システムからの前記コマンドの受信に応答して洗浄シーケンスを実行するよう構成され得、前記洗浄シーケンスは、第1の期間にわたって前記液体流を供給することと、前記第1の期間に少なくとも部分的に後続する第2の期間にわたって、前記気体流を供給することと、を含み得る。
これら実施形態のいずれかにおいて、前記制御システムは、前記1以上の画像のうちの少なくとも1つを、少なくとも1つの以前に生成された画像と少なくとも部分的に比較することにより、前記1以上の画像を解析するために構成され得る。
これら実施形態のいずれかにおいて、前記制御システムはさらに、前記レンズ上の堆積物が検出されたことの通知をユーザに提供し、ユーザからの前記外科用スコープを洗浄するための確認を受信し、前記ユーザからの前記確認を受信したことに応答して、前記外科用スコープを洗浄するために前記1以上の流体を前記術野に提供するよう、前記装置に前記コマンドを送信するよう構成され得る。
これら実施形態のいずれかにおいて、前記ユーザからの前記確認は、前記制御システムに通信可能に接続された内視鏡撮像装置から受信され得る。
これら実施形態のいずれかにおいて、前記装置は、前記術野に送気気体流を供給するために構成され得る。
いくつかの実施形態によれば、外科用スコープクリーナに流体を供給するための装置に通信可能に接続された制御システムを介して、内視鏡撮像装置の外科用スコープを洗浄するための方法は、前記制御システムにおいて、前記内視鏡撮像装置から術野の1以上の画像を受信し、前記1以上の画像を解析することで、前記外科用スコープのレンズ上の堆積物を前記制御システムにより検出し、前記外科用スコープを洗浄するために前記術野に1以上の流体を提供するよう、前記制御システムから前記装置にコマンドを送信することを含む。
これら実施形態のいずれかにおいて、前記方法は、前記制御システムからの前記コマンドの受信に応答して、外科的処置中に前記外科用スコープのレンズを洗浄するために、前記装置から液体流及び気体流を供給することをさらに含み得る。
これら実施形態のいずれかにおいて、前記液体流及び前記気体流を供給することは、第1の期間にわたって前記液体流を供給することと、前記第1の期間に少なくとも部分的に後続する第2の期間にわたって前記気体流を供給することと、を含み得る。
これら実施形態のいずれかにおいて、前記方法は、前記レンズ上の堆積物が検出されたことの通知をユーザに提供し、ユーザからの前記外科用スコープを洗浄することの確認を受信し、前記ユーザからの前記確認の受信に応答して、前記外科用スコープの前記レンズを洗浄するために、前記液体流及び前記気体流を前記術野に提供するよう、前記装置に前記コマンドを送信することをさらに含み得る。
これら実施形態のいずれかにおいて、前記ユーザからの前記確認は、前記制御システムに通信可能に接続された内視鏡撮像装置から受信され得る。
これら実施形態のいずれかにおいて、前記装置から前記術野に送気気体流を供給することをさらに含み得る。
いくつかの実施形態によれば、内視鏡は、光ポート及び少なくとも1つの流体ポートを備える本体と、前記本体から遠位して延びるシャフトであって、前記光ポートを通して導入された光を導くための光ファイバを収容する第1の壁部分と、前記第1の壁部分の周囲に部分的に延びる第2の壁部分と、前記シャフトの遠位端に配置された光学コンポーネントと、前記第1の壁部分と前記第2の壁部分との間に配置され、前記シャフトに沿って流体を運搬するように構成された、少なくとも1つの流体チャネルと、前記シャフトの前記遠位端に配置され、前記少なくとも1つの流体チャネルからの流体を前記光学コンポーネント上に導くために構成された、少なくとも1つの流体出口と、を含むシャフトと、を含む。
これら実施形態のいずれかにおいて、前記シャフトが、前記第1の壁部分の外面及び前記第2の壁部分の外面によって規定される非円筒形の外面を含み得る。
これら実施形態のいずれかにおいて、前記シャフトの第1の方向の幅が、前記第1の壁部分の外径と等しくあってよい。
これら実施形態のいずれかにおいて、前記第1の壁部分が、前記本体内に延び得る。
これら実施形態のいずれかにおいて、前記第1の壁部分に対して密封するために、シールが前記本体内に配置され得る。
これら実施形態のいずれかにおいて、前記第2の壁部分が、前記本体から遠位して延び得る。
これら実施形態のいずれかにおいて、前記少なくとも1つの流体出口が、前記第2の壁部分の遠位端により形成され得る。
これら実施形態のいずれかにおいて、前記シャフトが、単一の流体チャネル及び単一の流体出口を含み得る。
これら実施形態のいずれかにおいて、前記内視鏡がサイナスコープであり得る。
特徴は、添付の図面を参照して例示的な実施形態を詳細に説明することにより、当業者に明らかになろう。
図1A及び1Bは、いくつかの実施形態に係る、外科用スコープに取り付けられた外科用スコープクリーナを示す。 図1Cは、いくつかの実施形態に係る、外科用スコープに取り付けられたスコープクリーナの遠位端を示す。 図1Dは、いくつかの実施形態に係る、液体及び気体導管を示すスコープクリーナのシースの断面図である。 図1Eは、いくつかの実施形態に係る、スコープクリーナ及び外科用スコープ150の遠位部分の断面図である。 図1F及び図1Gは、いくつかの実施形態に係る、外科用スコープの視野の外側にノズルヘッドを配置するための代替的な実施形態を示す。 図1Hは、シースがチューブから角度をなして離れるように構成されていないスコープクリーナの実施形態を示す。 図1I及び1Jは、いくつかの実施形態に係る外科用スコープクリーナの動作を示す。 図2は、いくつかの実施形態に係る、加温し、外科用スコープに気体の安定した流れを提供するように構成されたスコープクリーナの一部の断面図である。 図3は、いくつかの実施形態に係る、術野に出入りする流体流を管理するための装置のブロック図である。 図4A~4Dは、いくつかの実施形態に係る、複数の流体線を装置に接続するための流体供給装置及びコネクタを示す図である。 図5A及び5Bは、いくつかの実施形態に係る、スコープクリーナに液体を供給するための液体供給リザーバがコネクタに組み込まれた流体供給装置及びチューブセットコネクタを示す。 図6A及び6Bは、いくつかの実施形態に係る、外部の液体供給リザーバからスコープクリーナに液体を圧送するためのポンプがコネクタに組み込まれた、液体供給装置及びチューブセットコネクタを示す図である。 図7は、いくつかの実施形態に係る、術野におけるチューブセットの使用を示す。 図8A及び8Bは、いくつかの実施形態に係る、流体供給管理装置へのチューブセットの接続を示す。 図9は、いくつかの実施形態に係る、流体を術野に供給するための方法を示す。 図10は、いくつかの実施形態に係る、外科用スコープが手術腔に挿入されている間に、外科用スコープを洗浄するための方法を示す。 図11Aは、いくつかの実施形態に係る、洗浄一体型のスコープを示す。 図11Bは、いくつかの実施形態に係る、洗浄一体型のスコープのシャフトの一部の断面の斜視図を示す。 図11C及び11Dは、いくつかの実施形態に係る、洗浄一体型のスコープの遠位部分の斜視図及び断面図である。 図11Eは、いくつかの実施形態に係る、洗浄一体型のスコープのシャフトの近位部分と本体の一部分の断面図である。 図12は、様々な実施形態に係る、外科用スコープのレンズ上の堆積物を自動的に検出し、外科用スコープに係る洗浄シーケンスを開始させるべく、接続された装置にコマンドを送信するための方法を示す。
ここで、本明細書に記載されるシステム及び方法の様々な態様及び変形例の実装及び実施形態について、詳細に説明する。本明細書では、システム及び方法のいくつかの例示的なバリエーションが説明されるが、システム及び方法の他のバリエーションは、説明された全てまたはいくつかの態様の組み合わせを有する、任意の適切な方式で組み合わせられた、本明細書に記載のシステム及び方法の態様を含み得る。
様々な実施形態に係る、外科的処置の中断を最小限に抑えながら外科的処置中に外科用スコープを洗浄するためのシステム及び方法を以下に説明する。いくつかの実施形態によれば、外科用スコープクリーナは外科用スコープ上を摺動するシースを含み、生理食塩水等の液体のスプレーでレンズの表面を洗い流し、次いで二酸化炭素等の気体のバーストでレンズを吹き付けるための少なくとも1つのノズルを含む。シースに沿って延びる導管は、チューブセットを介して、加圧された液体及び気体源に接続できるクリーナの端部にある入力ポートから通じている。シースは、標準サイズのスコープ上を摺動し、標準サイズのトロカールの管腔を通って適合するように構成され得る。スコープクリーナが取り付けられた外科用スコープは、トロカールを通して手術腔内に挿入することができ、クリーナは、処置の中断を最小限に抑えながら、外科的処置中にスコープを洗浄するために使用することができる。
シースの端部に組み込まれた少なくとも1つのノズルは、レンズに直接高速に洗浄液を噴霧して気体を吹き付けるために、スコープのレンズに向けることができる。少なくとも1つのノズルは、高速液体噴霧がレンズの表面全体を排除するように、即ち、レンズを加圧洗浄するように構成することができる。気体のバーストは、液体噴霧の完了後に、レンズの表面を乾燥させるために提供することができ、また、液体噴霧の速度及びその洗浄力を高めて強化するために、液体噴霧と同時に提供することもできる。いくつかの実施形態によれば、液体噴霧及び気体バーストのシーケンス、並びにそれらが作動する時間の長さは、スコープクリーナが接続される流体管理システム内の電気機械バルブによって制御することができる。
いくつかの実施形態では、スコープクリーナに使用される液体及び気体は、多くの腹腔鏡手術で使用される生理食塩水及び二酸化炭素であり、生理食塩水は、手術中に必要なときに洗浄または灌流にしばしば使用され、二酸化炭素は、腹部に送気(または膨張)するためにしばしば使用される。生理食塩水は、手術に使用されるスコープのレンズから血液、脂肪、及び組織の破片を十分に洗浄することができることが示されている。従って、いくつかの実施形態によれば、外科用スコープ洗浄は、既存の外科用システムに組み込むことができる。
いくつかの実施形態によれば、スコープクリーナが接続される流体管理システムは、外科的処置において使用される他の流体を管理するために使用することもできる。例えば、スコープクリーナに二酸化炭素を提供する流体管理システムは、手術腔に送気するために二酸化炭素を提供する送気器としても機能することができる。いくつかの実施形態では、送気のためにシステムによって受け取られ、調整される加圧二酸化炭素気体は、レンズ洗浄のために生理食塩水を加圧し、洗浄サイクル後にレンズを乾燥させるために使用することもできる。従って、手術室に追加の機器を追加する必要なく、スコープ洗浄を提供することができる。
いくつかの実施形態によれば、スコープ洗浄は、送気チューブセットに一体化させることができ、外科医が手術している減菌野における乱雑さ低減するのに役立つことができる。滅菌野内の器具、及び滅菌野の外部からの制御ユニットおよび供給線、に取り付けられる多くのホース及びワイヤによって生じる乱雑さは、ホース及びワイヤを誤って引っ張ったり躓いたりすることを避けようとして、手術中の外科チームの動きを制限し、また重要な器具が床に引っ張られて損傷及び外科的処置の中断を引き起こす可能性を増大させ得る。従って、いくつかの実施形態によれば、外科用スコープクリーナ用のものを含む、チューブ、ホース、ワイヤ等は単一のチューブセットにまとめられ、滅菌野内及びその周辺の乱雑さを低減する。スコープクリーナを含むチューブセットは、使い捨ての単回使用であってもよいし、ユーザの長期的なコストを削減するために再使用可能であってもよい。
いくつかの実施形態によれば、スコープクリーナのための液体及び気体の流れの制御は、流体管理システムによって提供され得るため、外科用スコープ洗浄は、装置制御を介して手術室内の他の機器によって制御され得る。流体管理システムは、外科スタッフからいくつかの異なる方法でコマンドを受信し、それらのコマンドを流体管理システムに送信することができる制御ユニットに接続され得る。これらのコマンドは、例えば、音声コマンド、施術外科医のディスプレイ(OSD:operating surgeon's display)を介してメニューをスクロールしてオプションを選択するための、内視鏡カメラヘッド上のボタン押下、制御ユニットのタッチスクリーン上の、減菌野の外側のサポートスタッフによるボタン押下、または、制御ユニットと共に使用できるリモートタブレットのタッチスクリーン上のボタン押下として発生する。いくつかの実施形態によれば、スコープ洗浄用の液体及び気体は、流体管理システム自体のタッチスクリーン上のボタン押下によっても制御することができる。
いくつかの実施形態では、制御ユニットまたは他の装置は、スコープの汚れ及び/またはスコープの曇りによって画像がぼけるときを検出するために、スコープクリーナを備えた外科用スコープに接続された内視鏡カメラからのビデオを解析することができる。スコープの汚れ及び/または曇りを検出すると、制御ユニットは、洗浄シーケンスを開始するように流体管理システムにコマンドを送ることができる。
様々な実施形態の以下の説明では、例示として、実施可能な特定の実施形態が示される、添付の図面が参照される。他の実施形態及び例が実施可能であり、本開示の範囲から逸脱することなく変更が可能であることは理解されるべきである。
さらに、以下の説明で使用される単数形の「a」、「an」、及び「the」は、文脈上明らかに別の意味を持つ場合を除き、複数形も含むことが意図されていることも理解されるべきである。また、本明細書で使用される「及び/または」との文言は、関連する列挙された項目の1以上及び全ての組み合わせを意味し、包含していることも理解されるべきである。さらに、「含む(includes)」、「含むこと(including)」、「有する(comprises)」、及び/または「有すること(comprising)」との文言は、本明細書で使用される場合、言及される特徴、整数、工程、動作、要素、構成要素、及び/またはユニットの存在を特定するが、1以上の他の特徴、整数、工程、動作、要素、構成要素、ユニット、及び/またはそれらのグループの存在または追加を排除するものではないことも理解されるべきである。
本開示の特定の態様は、本明細書に記載される処理工程及び命令をアルゴリズムの形で含む。本開示の処理工程及び命令は、ソフトウェア、ファームウェア、またはハードウェアで実施することができ、ソフトウェアで実施される場合、様々なオペレーティングシステムにより使用される異なるプラットフォーム上に存在し、当該異なるプラットフォームから動作されるようにダウンロードすることができることに留意されるべきである。以下の説明から明らかなように、特に明記しない限り、本明細書の全体を通して、「処理(processing)」、「演算(computing)」、「計算(calculating)」、「判断(determining)」、「表示(displaying)」、「生成(generating)」等の文言を使用する説明は、コンピュータシステムメモリまたはレジスタ、あるいは、他のそのような情報記録装置、送信装置または表示装置内の、物理的(電子的)量として表されるデータを操作及び変換する、コンピュータシステムまたは同様の電子演算装置の動作及び処理を指すことが理解される。
いくつかの実施形態における本開示は、本明細書で述べる動作を実行するための装置にも関する。当該装置は、必要な目的のために特別に構成されたものであってもよいし、コンピュータに格納されたコンピュータプログラムによって選択的に起動または再構成される汎用コンピュータを含むものであってもよい。このようなコンピュータプログラムは、フロッピー(登録商標)ディスク、USBフラッシュドライブ、外付けハードドライブ、光ディスク、CD-ROM、光磁気ディスク、リードオンリーメモリ(ROM)、ランダムアクセスメモリ(RAM)、EPROM、EEPROM、磁気または光カード、特定用途向け集積回路(ASIC)を含む任意のタイプのディスク、または電子命令の格納に適した任意のタイプの媒体等(これらに限定されない)の、非一時的なコンピュータ可読記録媒体に格納され、それぞれがコンピュータシステムバスに接続されていてもよい。さらに、本明細書で言及されるコンピュータは、単一のプロセッサを含むものであってもよいし、演算能力を向上させるべく、複数のプロセッサを採用したアーキテクチャであってもよい。
本明細書に記載される方法、装置及びシステムは、特定のコンピュータまたは他の装置に本質的に関連するものではない。また、種々の汎用システムが、本明細書の教示に従ったプログラムに使用されるものであってもよいし、必要な方法工程を実行するために、より特殊な装置を構築することが便利であることが証明され得る。これらの様々なシステムに必要な構造は、以下の説明から明らかになる。さらに、本発明は、任意の特定のプログラミング言語を参照して説明されるものではない。本明細書に記載される本発明の教示を実施するために、種々のプログラミング言語が使用され得ることは理解されよう。
図1A及び図1Bは、いくつかの実施形態に係る、外科用スコープ150に取り付けられた外科用スコープクリーナ100を示す。外科用スコープクリーナ100は、標準サイズの外科用スコープに装着し、標準サイズのトロカールのカニューレを通して手術腔内に挿入するように構成され得る。外科用スコープクリーナ100が装着された状態で、外科用スコープ150は、外科的処置中に(取り付けられた内視鏡と共に)手術腔内の撮像に使用することができる。外科用スコープクリーナ100は、外科的処置中に外科用スコープが手術腔内の適所に留まっている間に、外科用スコープの端部でレンズから汚れ及び/または結露を除去するために使用することができる。
図示された実施形態では、外科用スコープ150は、トロカールの管腔等を通して等、体腔内に挿入される遠位端153を有する、細長く概ね中空のチューブ152を含む。チューブ152は、接眼レンズ155が装着されるハウジング154から延び、外科医が術野を観察する(例えば、直接、または、ビューイングポート、内視鏡カメラ、及びディスプレイスクリーンの間の接続を介して)ビューイングポートを提供する。光ポート157は、スコープ150を介してターゲットに光を伝送するよう、光ケーブルを介してスコープ150を照明器に接続するために、ハウジング154から延びる。外科用スコープ150は、例えば、腹腔鏡とすることができる。外科用スコープは、例えば、一体型のカメラを有する外科用スコープを含む、任意のタイプの外科用スコープであり得る。
外科用スコープクリーナ100は、外科用スコープ150のチューブ152上を摺動するシース102を含む。シース102は、標準サイズのスコープのチューブに適合するように構成され得る、概ね円筒形のボア126を規定してもよい。ボア126は、チューブ152及びボア126が実質的に同一の長手軸124を共有するように、シース102に対して半径方向に位置を固定したまま、チューブ152がシース102の内外に摺動できるようなサイズであってよい。
ノズルヘッド110は、シース102の遠位端103に配置され、外科用スコープ150のチューブ152の遠位端153を越えて延びる。以下にさらに説明するように、液体及び気体をノズルヘッド110から噴霧/吹き付けて、チューブ152の端部でレンズを洗浄することができる。スコープクリーナ100は、外科用スコープが外科的処置の間中、外科用スコープ上に取り付けられたままであるように構成される。レンズは、必要に応じて、外科用スコープを手術腔から取り外す必要なしに洗浄することができる。
シース102は、外科用スコープ150のハウジング154を受け入れるように構成されたレシーバ104から延びている。レシーバ104は、外科用スコープ150のハウジング154を保持するための1以上の保持構成(不図示)を含み得る。いくつかの実施形態では、保持構成は、シース102に対してスコープを配向してもよく、これは、ノズルが角度付きレンズに正しく向けられることを確実にするために、角度付きスコープ(角度付き遠位端と、スコープの中心軸からある角度、例えば、軸から30度または45度を指すレンズと、を有するスコープ)にとって重要であり得る。いくつかの実施形態では、レシーバ104は、ノズルヘッド110が角度付きスコープに対して適切に配向されることを確実にするために、ハウジング154を正しい角度配向で受け入れるように形成されてもよい。
液体ポート106及び気体ポート108は、レシーバ104に設けられ、液体及び気体供給源に接続される、液体供給線130及び気体供給線132にそれぞれ接続されてもよい。いくつかの実施形態では、液体ポート106及び気体ポート108は、シース102から延びる。以下にさらに説明されるように、それぞれのポートを通して供給される液体及び気体は、レンズの汚れ及び/または結露を洗浄するために、外科用スコープ150のチューブ152の遠位端153でレンズ上に液体を噴霧して気体を吹き付けるためのシース102の遠位端103の少なくとも1つのノズルにシース内の少なくとも1つの導管を通して流れる。
図1Cは、外科用スコープ150のチューブ152の遠位端153を受け入れる、シース102の遠位端103を示している。遠位端103は、外科用スコープ150の遠位端153を越えて延びるノズルヘッド110を有する。図示された実施形態では、ノズルヘッド110は、並んで配置された2つのノズル-液体ノズル112及び気体ノズル114を含む。他の実施形態では、ノズルは、外周方向ではなく、長手方向に間隔をあけて配置される。ノズルは、外科用スコープ150のチューブ152の遠位端でレンズ156上にそれぞれの流れを向けるように構成される。いくつかの実施形態では、単一のノズルが提供され、液体導管及び気体導管の両方が、単一のノズルに提供される。
図1Dは、いくつかの実施形態に係る、クリーナ100のシース102を通って長手方向に延び、液体及び気体ポート106、108からシース102の遠位端103の液体及び気体ノズル112、114への流路を提供する液体導管118及び気体導管120を示したシース102の断面図である。シース102は、壁116を含み、導管118、120は、導管がそれらの長手方向周囲を完全に囲まれるように、壁116内に形成される。図示の実施形態では、導管118、120は、断面が非円形であり、壁の外周の一部を通って縦軸124を中心とする外周方向に湾曲している。湾曲した導管は、導管を通る十分な流量を提供しながらも、壁の外径を最小にできる。他の実施形態では、導管は、壁の厚さ及び導管を通る所望の流量及び圧力降下に依存して、円形または他の任意の適切な形状であってもよい。導管118、120は、液体及び気体ポート106、108からノズルヘッド110まで壁を通って長手方向に延び得る。いくつかの実施形態では、液体及び気体導管は、2つの導管の合流部からノズルヘッド110に単一の導管が延びるように、ノズルヘッドに到達する前に合流する。いくつかの実施形態では、液体及び気体流路は、単一の導管が実質的にシース102の長手方向の範囲全体に延びるように、液体及び気体ポート106、108で、またはその近傍で合流する。
シース102のボア126は、円筒形であってもよく、外科用スコープの標準的なチューブに適合するように構成されてもよい。シース102の外面122は、円筒形であってもよい。いくつかの実施形態では、シース102の外面122は、シース102のボア126の長手方向軸124とは異なる長手方向軸125の周りに延び得る(図1E参照)。この中心からずれた配置は、壁116の一方の側が壁116の他方のサイズよりも厚くなり、壁の厚い部分が導管118、120を収容する結果となる。これは、図1Dに示される。従って、壁は、シース102が標準サイズの外科用スコープに装着されている間に標準サイズのトロカール内に適合することができるように、シース102の外径を最小限に保ちながら、導管を収容することができる。
図1Eは、スコープクリーナ100及び外科用スコープ150の遠位部分の断面図である。外科用スコープ150のチューブ152の遠位端153は、レンズ156を含む。各ノズル112、114は、ノズルヘッド110内のチャネル136を含んでもよい。チャネル136の遠位壁138は、導管118、120から長手方向に移動する流体が壁138によってスコープのレンズに向けられるように、角度が付けられてもよい。
いくつかの実施形態によれば、ノズルヘッド110は、スコープ150の視野がスコープクリーナ100によって妨害されないように構成される。スコープ150の視野は、図1Eにおいて破線158によって表されている。ノズルヘッド110は、チューブ152の外径160の半径方向内方に延びていてもよいが、ノズルヘッド110の半径方向最内部分128は、最内部分128が視野内に侵入するように、チューブ152の長手軸124に対して位置決めされてもよい。
いくつかの実施形態では、ノズルヘッド110は、レンズ156上に反射され得る光の量を低減するように構成され得る。例えば、レンズ156に面するノズルヘッド110の少なくとも一部は、光吸収材料から製造されてもよく、及び/または、光を吸収するように着色されてもよい(例えば、黒色に着色される)。
図1F及び1Gは、外科用スコープの視野の外側にノズルヘッド110を配置するための代替実施形態を示す。図示された実施形態では、シース102の遠位部分134は、クリーナ100がスコープ150に取り付けられたときに、シース102の遠位端103がチューブ152の遠位端153から半径方向に離間されるように、シース102のボア126の長手軸124から離れるように角度が付けられている。その結果、ノズルヘッド110は、スコープ150の視野の十分外側にある。シース102は、図1Gに示すように、クリーナ100を手術腔に挿入するときに遠位部分134がトロカール内に適合できるよう、遠位部分134がチューブ152に対して曲げ戻すことができるように構成される。遠位部分134がトロカールを通って術野に入ると、遠位部分は外側に跳ね返る。いくつかの実施形態では、シース102を形成する材料のコンプライアンスは、シースがチューブ152に向かって内向きに弾性変形し、その後、リピート可能な位置まで外向きに跳ね返ることを可能にする。
図1Aに示されるように、シース102の遠位部分134は、シース102の遠位部分がチューブ152に対して内向き及び外向きに移動できるように、チューブ152の周りに部分的にのみ延びる。いくつかの実施形態では、シース102の近位部分は、チューブ152の周りに完全に延びることができる一方、遠位部分は、チューブ152の周りに部分的にしか延びない。これは、シース102の遠位部分がチューブ152から離れるように角度付けされることを可能にする一方で、シース102がチューブ152上にしっかりと装着されるようにすることもできる。いくつかの実施形態では、シース102は、チューブ152の全長に沿って、チューブ152の外周の周りに部分的にのみ延びる。様々な実施形態によれば、チューブ152の周りに部分的にのみ延びるシース102の遠位部分の長さは、シースの遠位部分-チューブ152の周りに部分的にのみ延びる部分-のみが使用中にトロカール内に配置されるように選択される。使用中にトロカール内に配置されるシースの部分がチューブ152の周りに部分的にのみ延びることによって、チューブ152の周りに完全に延びるシースと比較して、より小さいトロカールを使用することができるように、挿入されたチューブ152を有するシースの全体サイズを小さくすることができる。
シース102がチューブ152から離れるように角度付けるよう構成される実施形態では、ノズルヘッド110は、シース102がその全長に沿ってチューブ152に隣接したままである実施形態と比較して大きく製造され得、これにより、ノズルヘッド110の製造性を高め、及び/またはノズル性能を高めることができる。
図1Hは、シースがチューブ152から離れるように角度付けられて構成されていない実施形態を示す。この実施形態では、シース102は、シース102の全長にわたってチューブ152の周りに完全に延びることができる。シース102がシースの全長に沿ってチューブ152に隣接したままである実施形態は、シースの長さの少なくとも一部について、チューブ152の周りに完全には延在しないシースを含むこともできる。
いくつかの実施形態では、スコープクリーナ100は、使い捨てに製造され、外科的処置で使用された後に廃棄することができる。他の実施形態では、スコープクリーナは、再使用のために構成されてもよく、従って、滅菌可能であってもよい。スコープクリーナ100は、任意の適切なプラスチックまたは金属を含む、任意の適切な材料で製造することができる。好適なプラスチックの例としては、ポリカーボネート、アクリル、ポリエチレンテレフタレート、環状オレフィンコポリマー、及びフッ化エチレンプロピレンが挙げられる。いくつかの実施形態では、スコープクリーナは、これらのプラスチックのうちの1以上、または別の適切なプラスチックの押出成形によって製造される。いくつかの実施形態では、シース102は、第1のプラスチックから押し出され得、ノズルヘッド110は、異なるプラスチックから成形され得、2つのピースが互いに接合され得る。これは、シース102(いくつかの実施形態ではレシーバ104に加えて)が第1の色を有し、ノズルヘッド110が第2の色を有する実施形態では望ましい場合があり、押出成形のためのより多くの材料の選択肢、コストの低減、及びより容易な製造を可能にする。スコープクリーナは、成形、機械加工、3Dプリント、またはこれらの任意の組合せが可能である。スコープクリーナは、共に組み立てられる複数の構成要素で製造することができる。例えば、ノズルヘッド110は、レシーバ104に取り付けられ得る別個のシース102の遠位端103に貼付され得る。
いくつかの実施形態によれば、外科用スコープクリーナ100は、使用中に外科用スコープクリーナへの液体及び気体の送達を制御する、液体及び気体供給システムに接続することができる。従って、外科用スコープクリーナ100は、いかなるバルブがなくてもよく、これは、より単純性及びより安価な製造を提供することができ、使い捨てスコープクリーナの実施形態にとって特に有利であり得る。他の実施形態では、外科用スコープクリーナは、液体及び/または気体の流れを制御し得る1以上のバルブを含むことができる。例えば、スコープクリーナは、液体の噴霧及び/または気体のバーストを提供するために、ユーザが作動させることができる1以上の押下ボタン作動バルブを含んでもよい。1以上のバルブは、例えば、ポート106、108の下流のレシーバ内に配置される、または、クリーナを液体及び気体供給源に接続するチューブセット内等、ポートの上流に配置されてもよい。
図1I及び1Jは、いくつかの実施形態に係る外科用スコープクリーナ100の動作を示す。まず、図1Hに示すように、生理食塩水等の液体をノズルヘッド110からレンズ156上に噴霧して、レンズ上の堆積物を除去する。堆積物は、例えば、手術腔からの血液、脂肪、組織片、または胆汁、外科的スコープが挿入されたトロカールのシールからの潤滑剤、フラッシング用の生理食塩水または治療剤のような外科的処置の間に手術腔に噴霧された流体、または、レンズ上に堆積し得る任意の他の物質であり得る。液体は、堆積物を機械的に除去するのに十分な速度で液体がレンズに衝突するように、加圧源からスコープクリーナ100に供給されてもよい。液体は、堆積物の少なくとも一部を溶解して除去を助ける役割を果たすこともできる。いくつかの実施形態では、加圧源における液体圧力は、少なくとも1psi、少なくとも3psi、少なくとも5psi、または少なくとも10psiである。いくつかの実施形態では、加圧源における液体圧力は、50psi以下、30psi以下、20psi以下、または10psi以下である。
次に、図1Jに示すように、ノズルヘッド110からレンズ上に気体のジェットを送出し、レンズ上に残っている液体及び緩んだ堆積物を除去する。気体は、例えば、手術腔を送気用等、外科的分野で一般に利用可能な二酸化炭素であってもよい。液体と同様に、気体は、気体のバーストが比較的高速でノズル上に吹き付けられるように、加圧気体源から供給されてもよい。いくつかの実施形態では、加圧気体源における気体圧力は、少なくとも5psi、少なくとも10psi、少なくとも50psi、または少なくとも100psiである。いくつかの実施形態では、加圧気体源における気体圧力は、500psi以下、250psi以下、150psi以下、または100psi以下である。気体のバーストは、噴霧された液体及び残存する任意の堆積物をレンズから吹き飛ばし、レンズを清潔でクリアなままにする。堆積物が残っている場合において、必要に応じて洗浄シーケンスを繰り返すことができる。
いくつかの実施形態では、気体が送達される期間の少なくとも一部は、液体噴霧の期間の少なくとも一部と重複することができる。これは、液体噴霧の速度を増加させ、その洗浄力を増加させることができる。
いくつかの実施形態では、スコープクリーナは、外科用スコープを温めること、及び/または外科用スコープに気体の安定した流れを提供することによって、スコープのレンズの曇りを防止するように構成されてもよい。図2は、いくつかの実施形態に係る、外科用スコープを温め、外科用スコープに気体の安定した流れを提供するために構成された、スコープクリーナ200の一部の断面図である。1以上の抵抗加熱ワイヤ234は、曇りを防止するための加温のために、シース202内に組み込まれてもよい。1以上のワイヤ234は、シース202の壁216に成形され、その中に受容された外科用スコープのチューブを温めことができる。代替的にまたは追加的に、1以上のワイヤ236は、気体導管220内に延在して、気体が流れるときに気体を温めることができる。1以上のワイヤ234及び/または236は、例えば、スコープクリーナ100のための液体及び気体を運ぶチューブを含んだチューブセットに組み込まれる配線を介して、電源に接続することができる。
いくつかの実施形態では、スコープクリーナ200は、曇りを防止するための気体の安定した流れを提供する一方で、クリーニングシーケンスのための気体のバーストも提供するように構成される。クリーナ200は、2つの別個気体チューブに接続するための2つの別個の気体入口240及び242を有するシャトルバルブ238を含んでもよい。第1の気体注入口240は、流れるときに気体導管220を下ってスコープのレンズ上に出る気体の定常流を提供する、低圧気体を提供するために使用することができる。低圧気体は、例えば、2psi以下に調整されてよい。第2の気体注入口242を通る高圧気体のバーストは、低圧線を閉鎖する位置までシャトルバルブ244を強制し、高圧バーストのための流路を開き、気体導管220をスコープのレンズまで流れることになる。高圧バーストが終了すると、低圧気体からの圧力が、低圧気体を流れさせる位置にシャトルバルブを戻す。
いくつかの実施形態では、低圧気体流は、手術腔に送気するための送気気体流とすることができ、これにより、手術腔への別個の送気線及び送気入口の必要性を排除することができる。いくつかの実施形態では、スコープクリーナは、スコープ加熱、気体加熱、及び/または定常気体流のために構成される。
いくつかの実施形態によれば、外科用スコープクリーナのための液体及び気体供給は、術野への及び術野からの、他の流体の流れを管理する装置に組み込まれ得る。外科用スコープクリーナのための液体及び気体供給に加えて、様々な実施形態によれば、提供され得る他の流体管理の例は、患者の手術腔を加圧するための送気気体の提供、焼灼を介して手術腔内に生じ得る煙の排気、手術腔内の灌流液の供給、手術腔からの液体の除去、及び手術腔への治療薬の供給を含む。
図3は、いくつかの実施形態に係る、術野への及び術野からの、流体流を管理するための装置300のブロック図である。装置300は、スコープクリーナ100のような外科用スコープクリーナへの液体及び気体の流れ、ならびに手術腔を加圧するための送気気体の流れを制御する。装置300は、術野に必要な任意の他の流体の流れを管理するために構成され得る。外科用スコープクリーナと、手術腔内に送気気体を導くためのトロカール等の装置とは、例えば、装置300から術野内に延びるフレキシブルチューブを介して、装置300に接続され得る。
装置300は、外科用スコープクリーナに気体供給を提供するための第1の気体供給ポート302と、患者の手術腔に送気気体流を供給するための第2の気体供給ポート304とを含む。装置300は、装置300に気体を供給するための気体入口ポート306を含む。気体入口ポート306は、二酸化炭素壁またはサービスヘッド出口または二酸化炭素キャニスタ等の加圧気体供給に接続することができる。
第1及び第2の気体供給ポート302、304への気体供給は、それぞれ第1及び第2の気体流量制御サブシステム308及び310を介して制御することができる。各気体流量制御サブシステムは、例えば、装置300に供給される気体の圧力を降圧するための圧力調整器312と、それぞれのポート302、304への気体の流れをオン及びオフするためのバルブ314とを含むことができる。いくつかの実施態様において、単一の圧力調整器315が、第1及び第2の気体供給ポート302、304の両方について使用されてもよい。
装置300はまた、外科用スコープクリーナへの液体の流れを制御するためのアクチュエータ316を含む。アクチュエータ316は、液体供給リザーバ320を液体供給ポート322に接続する流入装置318に動作可能に接続されてもよい。外科用スコープクリーナは、アクチュエータ316及び流入装置318によって制御されるように、液体供給リザーバ320から液体を受け取るためのチューブを介して液体供給ポート322に接続され得る。
アクチュエータ316及び流入装置318は、様々な実施形態に係り異なる方法で実装することができる。いくつかの実施形態では、流入装置318は、アクチュエータ316によって開位置と閉位置との間で移動されるバルブである。他の実施形態では、流入装置318は、流入装置318を通る流路を閉鎖するためにアクチュエータ316によって圧縮されるフレキシブルチューブである。アクチュエータ316は、バルブを操作する、またはフレキシブルチューブを圧縮する、ソレノイドのようなリニアアクチュエータであり得る。他の実施形態では、アクチュエータ316は、バルブを開位置と閉位置との間で回転させるステッピングモータまたはサーボモータのような回転式アクチュエータである。いくつかの実施形態では、流入装置318は、アクチュエータ316によって作動されるポンプである。アクチュエータ316は、例えば、ポンプが取り付けられるシャフトを回転させるモータであってもよい。
図示された実施形態では、流入装置318は、装置300とは別個かつ装置300の外部にあり、結果、液体流路は完全に装置300の外部にある。当該配置は、滅菌を必要とする装置構成要素がないという点で有利であり得る。他の実施形態では、流入装置318は、装置300内あるいは装置300の一部として含まれてもよい。
液体供給リザーバ320は、スコープ洗浄に必要な液体を供給するための任意の適切なリザーバとすることができる。例えば、液体供給リザーバ320は、チューブを介して流入装置318に接続される生理食塩水バッグとしてもよいし、流入装置318と組み合わされて単一のユニットに組み合わされてもよい。いくつかの実施形態では、液体供給リザーバ320は、装置300に組み込まれる。
装置300は、他の流体供給または排出構成要素を含むことができる。例えば、装置300は、バキュームポート326を介して術野にバキュームを提供するためのバキュームコントローラ324を含むことができる。バキュームは、例えば、術野から煙を排気するため、及び/または術野から血液等の液体を吸引するために使用することができる。
いくつかの実施形態では、装置300は、スコープ洗浄に使用されるのと同じ気体または異なる気体を使用して液体供給リザーバ320を加圧するための、液体リザーバ加圧サブシステム336を含む。加圧サブシステム336は、気体入口ポート306から気体等の加圧気体を液体供給リザーバ320に供給することができる。いくつかの実施態様では、加圧気体は、リザーバ320にヘッド圧力を生じさせることができる。他の実施形態では、加圧気体は、リザーバ自体を圧縮することができる。例えばリザーバは、液体リザーバ加圧サブシステム336から加圧気体を受け取る加圧スリーブ338内に適合された生理食塩水バッグであってもよい。
液体リザーバ加圧サブシステム336は、気体入口ポート306を介して提供されるものと同じ気体とすることができる、加圧気体の流れを制御するための1以上のバルブ340を含むことができる。いくつかの実施形態では、液体リザーバ加圧サブシステム336は、入口ポート306を介して、またはレギュレータ315等の1以上の上流レギュレータを介して、受け取った圧力を降圧するための圧力レギュレータ342を含むことができる。いくつかの実施形態では、装置は、送気が停止されたときのような外科的処置の終了時に、加圧スリーブ338を自動的に減圧するように液体リザーバ加圧サブシステム336を制御するように構成され得る。
気体流制御サブシステム308、310、アクチュエータ316、及び装置300の任意の他の電子コンポーネントは、コントローラ328を介して制御することができる。コントローラ328は、1以上のプロセッサと、装置300による流体管理を制御するための、1以上のプロセッサによる実行のための命令を格納するメモリとを含んでもよい。コントローラ328は、制御サブシステム308、310の1以上のバルブ及び/または圧力調整器、ならびにアクチュエータ316を作動させるアクチュエータ316に、電気信号を提供してもよい。コントローラは、真空コントローラ324及び液体リザーバ加圧サブシステム336を含む任意の他の流体管理サブシステムを制御するために使用することもできる。
コントローラ328は、外部システム334から液体及び気体供給制御コマンドを受け取るために、通信ポート330を介して外部制御システム334に通信可能に接続されてもよい。例えば、コントローラ328は、外科用スコープクリーナ用の洗浄シーケンスを実行するためのコマンドを受信してもよく、これに応答して、コントローラは、上述したように、外科用スコープのレンズ上に噴霧するための所定の期間、外科用スコープクリーナに液体を供給するためにアクチュエータ316を制御し、外科用スコープのレンズから液体を吹き飛ばすための第2の所定の期間、外科用スコープクリーナに気体流を供給するために第1の気体流制御サブシステム308を制御することができる。
装置300は、ユーザが装置からの液体及び気体供給の1以上の態様を制御するためのユーザインタフェース332を含んでもよい。ユーザインタフェース332は、様々な実施形態によれば、例えば、送気気体流の開始及び停止、及び/または送気気体圧力の変更のためのコマンドを受信するため、または装置300の任意の他の機能を制御するために使用されてもよい。
いくつかの実施形態では、装置300等の流体供給装置によって管理される流体を術野に導くための線が、装置のポートに直接接続される。他の実施形態では、供給線は、装置のレセプタクルに接続されるコネクタに接続される。図4Aは、複数の流体線を装置400に接続するためにコネクタ410が使用される流体供給装置400を示す。
コネクタ410は、気体供給線414を介して外科用スコープクリーナに気体を供給するための気体供給ポート412と、液体供給線418を介して外科用スコープクリーナに液体を供給するための液体供給ポート416と、液体入口線421を介して外科用スコープクリーナのための外部液体リザーバから液体を受け取るための液体入口ポート420とを含む。液体リザーバ加圧ポート424は、液体リザーバ加圧線422を介して、図3のリザーバ320等の液体供給リザーバに加圧気体を供給するために含まれ得る。
コネクタ410は、送気気体線428を介して送気気体流を手術腔に供給するための送気気体供給ポート426と、煙排気線432を介して手術腔から煙を排気するための煙排気ポート430とも含む。コネクタ410は、排気ポート430を介して受け取った煙を濾過するための1以上のフィルタを収容する流入フィルタハウジング434を含むことができる。コネクタ410は、術野に提供され、術野から受け取られる流体を濾過するための他のフィルタを含むことができる。
コネクタ410は、装置300のレセプタクル450に取り外し可能に受容され得る。1以上のラッチ452は、レセプタクル450内にコネクタ410を保持するために使用され得る。1以上の排出機構454は、レセプタクル450からコネクタ410を取り外すための1以上のラッチ452を解放するために使用され得る。
図4Bは、いくつかの実施形態に係るレセプタクル450を示す。レセプタクル450は、気体流を外科用スコープクリーナに供給するための第1の気体供給ポート402と、送気気体流を手術腔に供給するための第2の気体供給ポート404と、手術腔から煙を排気するための煙排気ポート430とを含む。レセプタクル450は、図3の液体供給リザーバ320のような液体供給リザーバに加圧気体を提供するための液体リザーバ加圧ポート456も含む。
レセプタクル450は、コネクタ410がレセプタクル450内に受け入れられたときに押下されるか、あるいは作動されるスイッチ458を含んでもよい。スイッチ458は、図3のコントローラ328等のコントローラに接続されてもよく、このコントローラは、コネクタ410がレセプタクル450に受け入れられていないときに、レセプタクル450のポートのうちの1以上を通る流れがないように、スイッチの状態に基づいて1以上の流体の流れを制御し得る。レセプタクル450は、さらに後述されるように、コネクタ410内の流量制御装置を作動させるためのアクチュエータの端部が延びる開口460も含む。レセプタクル450は、コネクタ410に接続された1以上の加熱チューブに電気を供給するための電気接続462も含み得る。
コネクタ410の背面側(不図示)は、上述のレセプタクル450のポートに適合するポートを含む。レセプタクル450のポートのいずれか、及び/またはコネクタ410の背面側のポートのいずれかに、1以上のシールが提供され得る。また背面側には、アクチュエータの端部を受け入れるための開口部が含まれる。
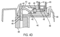
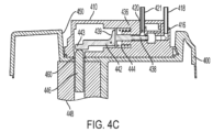
図4C及び4Dは、レセプタクル450内に位置するコネクタ410の断面であり、コネクタ410内に組み込まれた流入装置436を示す。流入装置436は、流入装置436を通る液体流路440を開閉するために横方向に移動されるバルブ438を含む。図4Cは閉位置を示し、図4Dはバルブ438の開位置を示す。バルブ438は、レバー442の一端439によって閉位置から開位置に移動され、バネ444の力を介して開位置に戻される。レバー442は、枢動軸445を中心として枢動する。バルブ438を作動させるために、装置400内のそれの緯度アクチュエータ448のプランジャ446はレバー442の他端443を押し、レバーを枢動軸445を中心に枢動させ、レバー442の端439をバルブ438に押し、バネ444の力に抗して開位置まで横方向にバルブを強制的に移動する。図4Dに示すように、バルブ438が開位置にある状態で、液体供給リザーバからの液体は、液体入口ポート420を介して流入装置436を流れ、液体供給ポート416を介して外科用スコープクリーナに流出することができる。
図5A~5Bは、いくつかの実施形態に係る、スコープクリーナ用の液体を供給するための液体供給リザーバがコネクタ510に組み込まれた、流体供給装置500及びチューブセットコネクタ510を示す。コネクタ410と同様に、コネクタ510は図5Aに示されるように、気体供給線514を介して外科用スコープクリーナに気体を供給するための気体供給ポート512と、液体供給線518を介して外科用スコープクリーナに液体を供給するための液体供給ポート516と、送気気体線528を介して手術腔に送気気体流を供給するための送気気体供給ポート526と、煙排気線532を介して手術腔から煙を排気するための煙排気ポート530とを含む。しかしながら、コネクタ410とは異なり、コネクタ510は、外部の液体リザーバから液体を受け取るための液体供給ポートを有していない。代わりに、コネクタ510は、内蔵された液体リザーバ590を含む。
コネクタ510は、生理食塩水等の液体で液体リザーバ590を充填するためのリザーバ充填ポート592を含むことができる。充填ポート592は、以下にさらに議論されるように、リザーバ590が加圧されるときにポートをシールするための一方向バルブを有し得る。ブリーダバルブ594が、リザーバ590を充填するときに空気を抜くために設けられてもよい。
図5Bは、いくつかの実施形態に係る、コネクタ510を受容する装置500のレセプタクル550を示す。レセプタクル550は、外科用スコープクリーナに気体流を供給するための第1の気体供給ポート502と、手術腔に注入気体流を供給するための第2の気体供給ポート504と、手術腔から煙を排気するための煙排気ポート530とを含む。レセプタクル550は、スコープクリーナに提供される液体を加圧するために、加圧気体を液体リザーバ590に提供するための液体リザーバ加圧ポート556を含む。
いくつかの実施形態によれば、リザーバ590からの液体の流れを制御するために、バルブの形態の流入装置が、装置500内に提供される。従って、レセプタクル550は、リザーバ590から(不図示のコネクタ510の背面の出口との接続を介して)液体を受け取る液体入口552と、コネクタ510を介してスコープクリーナに液体を提供するための液体出口554とを含む。流入装置は、液体注入口552と出口554との間に延びる流れ線に設けられる。流入装置は、ソレノイドのようなアクチュエータによって作動され、液体の流れをオン及びオフにすることができる。リザーバ590が加圧されると、流入装置のバルブを開くことにより、液体がスコープクリーナに流れるようになる。
図6A及び6Bは、いくつかの実施形態に係る、外部の液体供給リザーバからスコープクリーナに液体を圧送するためにポンプがコネクタ610に組み込まれた、流体供給装置600及びチューブセットコネクタ610を示す。コネクタ610は、気体供給線614を介して外科用スコープクリーナに気体を供給するための気体供給ポート612と、液体供給線618を介して外科用スコープクリーナに液体を供給するための液体供給ポート616とを含む。図3のリザーバ320等の外部の液体リザーバから液体入口チューブ622を介して液体を受け取るための液体入口ポート620は、ポンプハウジング670内に収容されたポンプインペラに導くことができる。コネクタ610は、送気気体線628を介して送気気体流を手術腔に供給するための送気気体供給ポート626と、煙排気線632を介して手術腔から煙を排気するための煙排気ポート630とを含む。
図6Bは、レセプタクル650、及びレセプタクル650とインタフェースをとる、コネクタ610の背面側611を示す。コネクタ610の背面側611を通って延びるのは、コネクタ610内に収容されたポンプインペラのためのシャフト640である。シャフト640に装着されているのは、レセプタクル650内の第2のカプラ644に結合し、それによって駆動される第1のカプラ642である。第2のカプラ644は、装置600内に配置されたモータのシャフトに装着される。モータがポンプインペラを駆動し、外部の液体供給リザーバからスコープクリーナに液体をポンプで送る。
ポンプは、スコープクリーナへの液体の流れを制御するために、起動及び停止することができる。加えて、または代替的に、アクチュエータを使用して、コネクタ610内の液体流路を開閉することができる。図6Bに示される実施形態では、ソレノイドの形態であり得る、アクチュエータのプランジャ646は、レセプタクル650から延び、コネクタ610の背面側611の開口648内に受け入れられる。プランジャ646は、ポンプから液体供給ポート616に至る、コネクタ610内の液体流線652まで延びる。プランジャ646は、ソレノイドの作用を通して延長され、液体流線652を挟み取る(pinch off)ことができる。従って、本実施形態では、流入装置は、液体の流れを遮断するために、アクチュエータのプランジャ646によって挟みとられる(pinched down)液体流線652である。ポンプは連続運転可能であり、スコープクリーナへの液体の流れは、液体流線652のピンチングによって制御され得る。いくつかの実施形態では、ポンプからの流れは、図4C~4Dのバルブ438等のバルブを介して制御することもできる。いくつかの実施形態では、ポンプは、液体を連続的に加圧してもよく、流れは、例えば、ピンチングアクチュエータまたはバルブによって制御され得る。
いくつかの実施形態によれば、ピンチングアクチュエータは、例えばスコープクリーナのための気体供給を含む、1以上の他の流体の流れを制御するためにも使用され得る。図6Bは、コネクタ610内の第2の流れ線656を挟むための、レセプタクル650から延びる第2のプランジャ654を示す。第2の流れ線は、例えば、コネクタ610を通るスコープクリーナ気体流路の一部であってよい。この構成により、スコープクリーナへの気体流を制御するための装置内に配置されたバルブの必要性を排除することができる。いくつかの実施形態では、第2の流れ線656を通る流れを制御するためのバルブが提供される。
いくつかの実施形態によれば、コネクタ610内にポンプを含むことは、装置が、手術腔内の灌流等の追加の目的のために、術野への液体の供給を管理する能力を提供する。1以上の追加の液体流路線は、コネクタ610から延びる1以上の追加のチューブに、ポンプから至ることができる。図6Aに戻り、灌流流出ポート672は、ポンプから灌流チューブ674を介して、手術腔を灌流するために使用される灌流供給装置への灌流流出を提供するために含まれ得る。いくつかの実施形態では、第2のプランジャ654または追加のプランジャは、灌流液の流れを制御するために、コネクタ610内の灌流液のための流れ線を挟むために使用できる。
いくつかの実施形態によれば、コネクタ610等のコネクタは、電気及び/またはデータ通信を提供するためのワイヤ、ケーブル、または他の線を含むことができる。図6A~6Bに示される実施形態では、コネクタ610は、術野の電気メス器具に電気を提供するための単極RFコネクタ680及びケーブル682を含む。コネクタ680は、図6Bに示されるように、レセプタクル650内の電力ポート684とインタフェースをとることができる。コネクタ610は、液体及び/または気体の送達、ポンプの動作、または任意の他の機能等、装置600の1以上の機能を制御するために使用することができる制御信号ワイヤ688を接続するための制御信号コネクタ686を含むこともできる。ワイヤ688は例えば、ユーザによって操作され得る、術野に配置されたスイッチまたは他の遠隔制御装置に導くことができる。
いくつかの実施形態によれば、一体化されたチューブセットは、装置300、400、500、または600等の流体供給管理装置によって管理される流体を術野に提供するために使用することができる。一体化されたチューブセットは、流体供給線を共に集めることによって、術野における乱雑さを低減させることができる。一体化されたチューブセットは、コネクタ410、コネクタ510、またはコネクタ610のいずれかのように、線の一部または全てが接続されるコネクタを含むことができ、これにより、線を1以上の機器に接続するためのセットアッププロセスを単純化することができる。一体化されたチューブセットは、外科用スコープクリーナ及び吸引/灌流装置のような、術野に、または術野から流体を送達するために使用できる、1以上の一体化された装置も含み得る。一体化されたチューブセットは、使い捨ての単回使用のチューブセットであってもよく、あるいは各使用の合間に滅菌される再使用可能なチューブセットであってもよい。
図7は、いくつかの実施形態に係る、術野におけるチューブセット700の使用を示す。チューブセット700は、上述した原理に従って構成された、スコープ洗浄気体供給チューブ704及びスコープ洗浄液供給チューブ706に接続される外科用スコープクリーナ702を含む。本実施形態では、外科用スコープクリーナ702は、スコープクリーナ及び接続された供給チューブが予め接続されたチューブセットの一体化された構成要素であるが、他の実施形態では、スコープクリーナはチューブセットの一部として提供されず、チューブセットの供給チューブ704及び706は、手術室内等の外科的処置に備えてスコープクリーナに接続される。外科用スコープクリーナ702は、内視鏡カメラ746に適合された外科用スコープ762に装着することができる。外科用スコープクリーナ702及び外科用スコープ762は、手術腔を視覚化するために、第1のトロカール730を通して手術腔750内に挿入され得る。外科用スコープ762の端部にあるレンズ764が汚れたり曇ったりした場合、スコープクリーナ702は、上述した原理に従ってレンズ764を洗浄するために使用することができる。
チューブセット700は、灌流供給チューブ710及び吸引チューブ712に接続された吸引及び灌流装置708を含むことができる。吸引及び灌流装置708は、手術腔750内に吸引及び灌流を提供するために、第2のトロカール734内に挿入され得る。吸引及び灌流装置708は、チューブセットの一体化された構成要素であってもよいし、または手術に備えてチューブセットに接続されてもよい。
チューブセット700は、手術腔750に加圧気体を提供するために、第3のトロカール735のポート732に接続され得る、送気気体供給チューブ714も含み得る。チューブセットは、手術腔750から煙等の気体を抜き取るために、第2のトロカール734のポート736に接続することができる患者流出チューブ716も含む。
チューブセット700のチューブは、外側チューブ718によって共に保持することができ、これは手術室の片づけを助けることができる。いくつかの実施形態では、チューブは、チューブの周りに巻かれた1以上のストラップによって共に保持される。チューブセットは、焼灼ツール742に電流を供給するための単極線740等、術野内に延びる他の線を含むことができる。チューブセットは、外科用スコープ762に装着された内視鏡カメラ746にカメラ制御ユニット及び/または照明器を接続するための、1以上のデータ線744及び/または光ケーブルも含み得る。様々な実施形態によれば、チューブセットは、止血剤等の治療剤を手術腔内に噴霧するために、流体管理装置から加圧気体を運ぶことができる腹腔鏡噴霧器を組み込むことができる。
図8A及び8Bは、いくつかの実施形態に係る、上述の装置300、400、500、及び600のいずれか等の流体供給管理装置800へのチューブセット700の接続を示す。チューブセット700の非患者側端部760は、チューブセットのチューブの一部または全部が予め取り付けられている、コネクタ410、510、及び610のいずれかのようなコネクタ770を含む。コネクタ770は、流体供給管理装置800のレセプタクル850に接続される。図示された実施形態では、チューブセット700は、スコープクリーナ及び/または灌流供給装置等のために、術野に液体を供給するための、例えば生理食塩水バッグであり得る液体供給リザーバ780に接続された液体供給チューブ720を含む。図8Bは、チューブセット700の吸引線722の吸引装置724への接続を示す。
図示されないが、チューブセットの1本以上の線は、手術室内の他の機器に接続することができる。例えば、内視鏡カメラ用の1以上の通信線は、カメラ制御ユニット810に接続することができ、光ケーブルは、照明装置820に接続することができる。
いくつかの実施形態では、チューブセットは、スコープクリーナに接続された気体線がスコープクリーナから切り離され、例えば、手術腔内の創傷部位に止血硬化剤を噴霧するための噴霧ワンドや、手術腔の領域に療法的治癒効果を提供するための薬剤等の、外科的処置中に使用される別の装置に取り付けられるように構成することができる。加圧された気体は、気体駆動の器具や電動工具用の電力を提供するために使用され得る。いくつかの実施形態では、スコープクリーナに接続された液体線は、術野で使用される別の装置に電力を供給するために、スコープクリーナから切り離すことができる。いくつかの実施形態では、気体線及び液体線の両方は、スコープクリーナから切り離され、術野で使用される別の装置に電力を供給及び/または制御するために使用することができる。いくつかの実施形態では、流体送達システムからの信号線は、スコープクリーナ、または液体及び/または気体線とインタフェースをとる任意の他の装置のいずれかに、液体及び/または気体線が接続される装置に接続するために提供され得る。流体送達システムが、接続された装置に適した液体及び/または気体の流れを提供することができるように、線(群)が流体送達システムに接続された装置のタイプに関連する情報を、当該信号線を介して伝達することができる。例えば、線がスコープクリーナに接続されている場合、流体送達システムは、スコープクリーナが接続されていることを(信号線上の信号を介して)登録し、洗浄シーケンスごとに液体及び気体の流れを提供してもよく、液体及び/または気体線が、液体及び/または気体によって給電される装置に接続されている場合、流体送達システムは、信号線を介して接続されたこのことを認識してもよく、液体及び/または気体の流れを連続的に提供してもよい。
図9は、いくつかの実施形態に係る、術野に液体を供給するための方法900を示す。ステップ902において、チューブセットのコネクタが液体供給システムに接続される。コネクタは、例えば、コネクタ410、510、または610のいずれかであってよく、液体供給システムは、装置400、500、または600のいずれかであってよい。チューブセットは、例えば、図7のチューブセット700とすることができる。チューブセットは、コネクタの第1のポートに接続された第1の供給チューブと、コネクタの第2のポートに接続された第2の供給チューブと、コネクタの第3のポートに接続された第3の供給チューブと、を含む。例えば、図4を参照すると、チューブセットは、送気気体供給ポート426に接続された送気気体線428と、液体供給ポート416に接続された液体供給線418と、気体供給ポート412に接続された気体供給線414とを含むことができる。
ステップ904において、手術腔に送気するための第1の気体流が、第1の供給チューブを介して外科的処置中に供給される。例えば、二酸化炭素は、手術腔を気腹するために、図4の送気気体線428を介して供給され得る。ステップ906において、外科用スコープを洗浄するための液体が、第2の供給チューブを介して外科的処置中に供給される。例えば、生理食塩水または生理食塩水ソリューションは、図4の液体供給線418を介して、スコープクリーナ100等の外科用スコープクリーナに供給されてよい。ステップ908において、外科用スコープから液体を除去するための第2の気体流が、外科的処置中に第3の供給チューブを介して供給される。例えば、二酸化炭素が、気体供給線414を介して外科用スコープクリーナに供給されてよい。
いくつかの実施形態では、方法900は、コネクタを液体供給システムに接続する前に、予め滅菌され包装されているチューブセットを開梱することをさらに含む。いくつかの実施形態では、包装されたチューブセットはスコープクリーナを含む。他の実施形態では、方法900は、チューブセットコネクタが液体供給システムに接続される前または後に、外科用スコープに接続される第2及び第3の供給チューブを取り付けることをさらに含む。いくつかの実施形態では、方法900は、1回の外科的処置に使用した後に、チューブセットを廃棄することを含む。他の実施形態では、方法900は、使用後にチューブセットを再滅菌することを含む。
いくつかの実施形態では、方法900は、コネクタの第4のポートに接続された排気チューブを介して手術腔を排気することをさらに含む。例えば、手術腔からの煙は、装置400に接続されたコネクタ410の煙排気ポート430に接続される煙排気線432を介して排気することができる。
図10は、いくつかの実施形態に係る、外科用スコープが手術腔に挿入されている間に外科用スコープを洗浄するための方法1000を示す。ステップ1002において、図1Aのスコープ150のような外科用スコープが、スコープクリーナ100のシース102のような外科用スコープクリーナのシースに挿入される。ステップ1004において、外科用スコープ及びシースが手術腔内に挿入される。例えば、図1A及び図7を参照すると、クリーナ100のシース102が装着された外科用スコープ150のチューブ152は、トロカール730の管腔を通って手術腔750内に挿入される。ステップ1006において、外科用スコープクリーナのシースに挿入された外科用スコープを使用して、手術腔が観察される。例えば、図7の内視鏡カメラ746によって生成された画像は、手術室内のディスプレイを介して表示され、外科医によって観察され得る。
ステップ1008において、外科用スコープのレンズからの堆積物は、レンズから堆積物を除去するために手術スコープクリーナの少なくとも1つのノズルから液体をレンズに噴霧し、レンズから液体を除去するために手術スコープクリーナの少なくとも1つのノズルから気体を手術スコープのレンズに吹き付けることによって洗浄されてもよい。例えば、図1Cを参照すると、外科用スコープ150のレンズ156からの堆積物は、レンズ156から堆積物を除去するために外科用スコープクリーナ100のノズル112から食塩水をレンズ156に噴霧し、その後、レンズ156から生理食塩水を除去するために、外科用スコープクリーナ100のノズル114から二酸化炭素のバーストを外科用スコープ150のレンズ156に吹き付けることによって洗浄され得る。液体噴霧及び気体のバーストの各々は、同じ長さまたは異なる長さであってもよい、予め定められた期間にわたって提供されてよい。液体噴霧及び気体のバーストのそれぞれの期間は、液体及び気体が少なくとも一部の時間にわたって同時に提供されるように、重なり合うことができる。
いくつかの実施形態では、上述の洗浄シーケンスは、ユーザコマンドに応答して実行することができる。例えば、ユーザは、手術室のディスプレイ上に表示された1以上の内視鏡画像またはビデオ上において、スコープのレンズの汚れ及び/または曇りを示すぼけを見ることができ、スコープ洗浄シーケンスを開始するためのコマンドを発行することができる。コマンドは、例えば、図7の内視鏡カメラ746のような内視鏡カメラ上のボタン押下を介して提供されてもよい。ボタン押下は、通信線744を介して、図8Bのカメラコントローラ810のようなカメラコントローラに通信され得る。カメラコントローラは、液体管理装置に通信可能に接続することができる。例えば、図3を参照すると、カメラコントローラは、外部システム334の構成要素であってもよいし、液体管理装置300に通信可能に接続された外部システム334に通信可能に接続されてもよい。ユーザのコマンドに基づいて、外部システム334は、清掃シーケンスを実行するために、装置300にコマンドを送信することができる。ユーザは、彼/彼女がスコープ、カメラヘッドに一時的に取り付けるボタン、またはコネクタを介して送気器に延びる電気ワイヤを用いてスコープ洗浄シースの近位端に一体化されるボタンを押してもよく、前述のボタン/スイッチは、チューブセットに一体化される。
いくつかの実施形態では、外部システム334の様々な実施形態のような画像解析及び制御システムは、内視鏡撮像装置によって生成された1以上の画像または1以上のビデオフレームを解析して、スコープの汚れ及び/または曇りを検出する画像処理を含む。スコープの汚れ及び/または曇りが検出されると、制御システムは、洗浄シーケンスを実行するように液体管理装置300に制御コマンドを送信することができる。従って、いくつかの実施形態では、制御システムは、外科用スコープのレンズ上の堆積物を自動的に検出し、外科用スコープのための洗浄シーケンスを開始するために接続された装置にコマンドを送信する方法を実行するための1以上のプロセッサ及び1以上のプログラムを記憶するメモリを含む。様々な実施形態に係る、制御システムによって実行される例示的な方法は、図12の方法1200である。方法1200のステップ1202において、制御システムは、制御システムに通信可能に接続された内視鏡撮像装置から術野の1以上の画像を受信する。内視鏡撮像装置は、外科用スコープ150等の、手術腔内に挿入されるスコープに接続された内視鏡カメラを含む。スコープは、外科用スコープクリーナ100のようなスコープクリーナに受容されてもよく、または図11A~Eのスコープ1100のような一体化されたクリーナ機能を有してもよい。ステップ1204において、制御システムは、1以上の画像を解析することによって、外科用スコープのレンズ上の堆積物を自動的に検出する。堆積物を検出するために、任意の適切な画像処理アルゴリズムまたはアルゴリズムの組合せを使用されてもよい。ステップ1206において、制御システムは、通信可能に接続された液体管理装置に、手術スコープを洗浄するために1以上の液体を術野に提供するコマンドを送信する。いくつかの実施形態では、コマンドは、堆積物の検出に応答して自動的に送信されてもよい。様々な実施形態によれば、制御システムからのコマンドの受信に応答して、液体管理装置は、外科的処置中に外科用スコープのレンズを洗浄するために、装置から液体流及び/または気体流を、外科用スコープクリーナまたは洗浄一体型の外科用スコープに供給する。いくつかの実施形態では、液体流は、第1の期間にわたって最初に供給され、気体流は、第1の期間に少なくとも部分的に後続する第2の期間にわたって供給される。
いくつかの実施形態では、画像解析及び制御システムは、手術室内のディスプレイ上等において、汚れ及び/または曇りが検出されたことの通知をユーザに提供してもよい。画像解析及び制御システムは、洗浄シーケンスを開始するために、ユーザからの確認を待ってもよい。ユーザは、音声コマンド、カメラヘッド上のボタン押下、または画像解析及び制御システムのユーザインタフェース上のボタン押下等の任意の適切なユーザ入力を介して、洗浄シーケンスが実行され得ることを確認してもよい。ユーザコマンドの受信に応答して、画像解析及び制御システムは、洗浄シーケンス開始コマンドを液体管理装置に送信してもよく、液体管理装置は、洗浄シーケンスを制御することによって応答してもよい。
液体洗浄装置は、スコープクリーナに液体の流れを提供するためにアクチュエータを作動させることによって、洗浄シーケンスを制御してもよい。例えば、装置300のコントローラ328は、リザーバ318から受け取った液体の流れを流入装置318に許可させるために、アクチュエータ316にコマンドを送信してもよい。図4C及び4Dを参照すると、これは、プランジャ446がレバー442を動かしてバルブ438を開位置に移動させるように、ソレノイド448を制御することを含んでもよい。いくつかの実施形態では、洗浄シーケンスは、第1の所定の期間、レンズに液体を噴霧することを含む。この期間が経過すると、アクチュエータは、液体の流れを停止するように制御されてもよい。例えば、プランジャ446は後退され、バルブ438はバネ444の力により閉位置に戻ってもよい。
液体洗浄装置は、加圧気体が外科用スコープクリーナに流れるようにバルブを開くことによって洗浄シーケンスを継続してもよい。例えば、図3を参照すると、コントローラ328は、バルブ314を開くように制御して、気体供給入口306からの加圧気体が(例えば、レギュレータ312またはレギュレータ315によって調節されるように)スコープクリーナに流れるようにしてもよい。気体は、第2の所定の期間にわたって供給されてもよい。気体のバーストは、液体が提供されている間に提供されてもよいし、液体が提供された後に完全に提供されてもよい。
いくつかの実施形態によれば、外科用スコープ洗浄は、スコープシャフト内に少なくとも1つの液体チャネル及び少なくとも1つの液体出口を構築することによって、外科用スコープ自体に組み込まれる。これは、副鼻腔内等の狭い通路内に挿入するために別個の洗浄シースが法外に大きくなり得る、サイナスコープ等の小さい外科用スコープにとって特に有利であり得る。従って、様々な実施形態によれば、スコープ及び洗浄シース機能は、単一のソリューション-一体化された洗浄能力を有するスコープ-に組み合わされる。これらの2つの従来の別個の機能を組み合わせることによって、洗浄能力を有するスコープの全体的なサイズを最小化することができ、別個のスコープ及びシースソリューションよりもはるかに小さい断面積を達成することができる。様々な実施形態によれば、洗浄ソリューションをスコープに組み込むことは、別個のシースによって導入される反射及び他の視覚障害(視界の妨害等)の量を低減し、シースによって短縮されるスコープの作業長を維持することを含む、他の利点を有する。
様々な実施形態に係る、洗浄一体型のスコープは、手術空間のサイズが限られているため、挿入された装置の断面サイズが、主要な設計上の制限となる機能的内視鏡副鼻腔手術(FESS)及び経鼻的頭蓋底手術に特に好適となり得る。様々な実施形態によれば、洗浄チャネルをスコープ内に一体化することにより、組み合わせたソリューションのサイズは、手術室で従来使用されているポンプ及びチューブに使用するために十分に大きい洗浄チャネル断面積を維持しながら、(従来のサイナスコープのサイズである)高さ4.6mm及び幅4.0mmの楕円形断面と同じくらい小さくすることができる。
図11A~Eは、いくつかの実施形態に係る、一体化された洗浄機能を有するスコープを示す。最初に図11Aを見ると、スコープ1100は、本体から遠位に延び、使用中に手術腔内に挿入されるように構成されたシャフト1102を含む。シャフト1102は、シャフト1102の遠位端1116にある少なくとも1つの液体出口1114に液体を導く、少なくとも1つの液体チャネル(以下でさらに説明する)を含む。少なくとも1つの液体出口1114は、シャフトの遠位端1116に位置する光学部品1112(窓またはレンズ等)上に液体を導くように構成される。
本体1104は、スコープ1100の近位端1118に配置された接眼レンズ1106を含む。接眼レンズ1106は、スコープ1100を撮像装置に接続するように構成することができる。本体は、スコープ1100に照明を提供する光ケーブルに接続するための光ケーブルコネクタとして構成することができる光ポート1108を含む。本体1104は、スコープ1100に液体及び/または排気を供給する用の、少なくとも1つの液体供給及び/または排気供給システムに接続するための少なくとも1つの液体ポート1110も含む。少なくとも1つの液体ポート1110は、生理食塩水等の液体用、または二酸化炭素等の気体用に構成することができる(本明細書では、「流体」という用語が液体及び気体を包含する)。いくつかの実施形態では、本体1104は、単一の流体ポート1110を含む。いくつかの実施形態では、本体1104は、液体ポート及び気体ポート等の複数の流体ポート1110を含む。いくつかの実施形態では、流体ポート1110は、液体と気体の両方を、順次(上流バルブ経由等)または同時に(供給される液体の圧力を増加させる等)供給するために使用できる。いくつかの実施形態では、流体供給システムの蠕動動作による等、流体は、ポート1110の内外の両方に流れる。少なくとも1つの流体ポート1110は、術野に流体を供給するために使用される従来のチューブに接続するように構成され得る。
図11Bは、スコープ1100のシャフト1102の一部の(図11Aの線A-A上にとられた)断面の斜視図を示す。シャフト1102は、本体1104内の少なくとも1つの流体ポート1110とシャフト1102の遠位端1116の少なくとも1つの流体出口1114との間で流体が流れるための、少なくとも1つの流体チャネル1120を含む。少なくとも1つの流体チャネル1120は、従来のスコープシャフトの外側チューブ状壁に対応する第1の壁部分1122(従来のスコープ構成の外側チューブ状壁の例のための図1A~1Bのスコープ150のチューブ152参照)と、第1の壁部分1122の周囲に少なくとも部分的に延びる第2の壁部分1130との間に配置される。
様々な実施形態によれば、第2の壁部分1130は、シャフト1102の外面が第2の壁部分1130と、第2の壁部分1130によって囲まれていない第1の壁部分1122の部分とによって形成されるように、第1の壁部分1122の周囲に部分的にのみ延びる。第2壁部分1130が第1壁部分122の周囲に部分的にのみ延びる状態で、シャフト1102の外面は非円筒状である。少なくとも1つの流体チャネル1120を収容するために必要とされるサイズの増加は、長軸方向におけるシャフト1102の幅1134に集中し、短軸方向における幅1132の増加は、同じサイズの従来の内視鏡のシャフトに比較して、ほとんどまたは全くない。いくつかの実施態様において、第1の壁部分1122は円筒状であり、短軸方向におけるシャフト1102の幅1132は、第1の壁部分1122の直径に等しく、結果、同じサイズの従来のスコープシャフトに比較して短軸に沿ってシャフト1102の幅の増加はない。例えば、従来の4mmスコープに対応する大きさの内視鏡1100の短軸に沿った幅1132は、4mmであってもよい。
様々な実施形態によれば、第1の壁部分1122及び第2の壁部分1130は、第1の壁部分1122に対する第2の壁部分1130の溶接、押し出し、及び/または機械加工を介して等、任意の適切な方式で形成され得る、一体のピースに一体化される。いくつかの実施形態では、図1Dに示される2つの導管118及び120のように構成される等、複数の流体チャネルが第1の壁部分1122と第2の壁部分1130との間に提供される。
シャフト1102は、第1の壁部分1122の半径方向内側に配置され、第1の壁部分1122と共に、光ポート1108に接続された光ケーブルからの光を運ぶ光ファイバを配置するためのチャネル1126を規定する内側チューブ1124を含む。内側チューブ1124は、シーンからの光を導くための光学チャネル1128を規定し、1以上の光学コンポーネント(不図示)を収容することができる。
図11C及び11Dは、様々な実施形態に係る、シャフト1102の遠位部分の斜視図及び断面図である。少なくとも1つの流体出口1114は、シャフト1102の遠位端1116に設けられ、少なくとも1つの流体チャネル1120からシャフト1102の1116の遠位端に配置される光学部品1112上に流体を導くように構成される。少なくとも1つの流体出口1114は、光学部品1112から堆積物を洗浄及び/または吹き付けるために、光学部品1112に衝突するように流体流を回すよう構成される。いくつかの実施形態では、少なくとも1つの流体出口1114は、第2の壁部分1130の遠位端を内側に転がすことによって形成される。いくつかの実施形態では、別個の流体出口1114は、第2の壁部分1130の遠位端に接合される。いくつかの実施形態では、少なくとも1つの流体出口は、少なくとも1つの流体出口が内視鏡1100の視野を不明瞭にしないことを確保するために、シャフト1102上に強固に配置される。少なくとも1つの流体出口は、非反射性コーティングを備えるか、または非反射性材料で形成される等することで、反射を最小限に抑えるように構成され得る。
いくつかの実施形態では、流体出口は、複数の流体導管の各々に対して提供され得る。例えば、複数の流体出口は、2つのノズル112、114を含む、図1Cのノズルヘッド110のように構成することができる。いくつかの実施形態では、単一の流体出口が、複数の流体導管に対して提供され得る。単一の流体出口は、複数の導管からの流体-例えば、液体噴霧、それに続く気体吹き付け-を順次提供するために、及び/または複数の導管からの流体の混合物を提供するために構成され得る。
図11Eは、いくつかの実施形態に係る、シャフト1102の近位部分及び本体1104の一部の断面図である。少なくとも1つの液体ポート1110は、本体1104内の流体通路1136を介して、シャフト1102の少なくとも1つの流体チャネル1120と連通する。いくつかの実施形態では、流体通路1136は、第1の壁部分1122と、第1の壁部分112を受け入れるために形成された本体1104の開口部との間の間隙により規定される。
第2の壁部分1130は、第2の壁部分1130を本体1104に溶接すること等により、流体漏出を防ぐために本体1104にシールすることができる。いくつかの実施形態では、第2の壁部分1130は、本体1104で終端する。
いくつかの実施形態によれば、第1の壁部分1122は、本体1104内に延び、本体1104内で終端する。光ポート1108からの光ファイバ1138は、チャネル1126内に延びる。内側チューブ1124は、本体1104の近位端に向かって延び、接眼レンズ1106で終端してもよい。
様々な実施形態によれば、本体1104の光学部分への流体の漏出を防止するために、シール1140が、液体ポート1110と光ポート1108との間にある位置で、本体1104と第1の壁部分1122の外面との間をシールするために、本体1104内に配置される。シール1140は、流体が本体1104の光ポート部分に近位方向に流れることを防止することができる。
内視鏡1100は、流体流及びノズルがシースの一部としてではなく、内視鏡1100上に直接設けられることを除いて、図9の方法900及び図10の方法1000を含む上述の方法のいずれかに従って使用することができる。例えば、様々な実施形態によれば、図3の術野に出入りする流体流を管理する装置300、図4A及び4Bの流体供給装置400、図5A~5Bの流体供給装置500、または図6の流体供給装置600のような1以上の流体供給システムの1以上のチューブは、内視鏡1100の1以上の流体ポート1110に接続される。これは、例えば、図7のチューブセット700を用いて行うことができる。その後、内視鏡1100は患者の体内に挿入される。同一の相対的サイズのスコープ用の洗浄シースと比較して、内視鏡1100のシャフト1102のサイズが小さいため、より小さな空間及び/または(より小さいトロカール用の)より小さい切開が達成され得る。内視鏡1100は、従来の方法で使用することができ、堆積物が光学部品1112上に形成されると、1以上の流体が、堆積物を除去するために光学部品1112に導かれ得る。流体流のトリガは、シースベースの洗浄のための本明細書に記載された方法のいずれかに従うことを含む、任意の適切な様式で達成され得る。
いくつかの実施形態によれば、内視鏡1100は、サイナスコープとして構成され、単一の流体ポート1110、単一の流体チャネル1120、及び単一の流体出口1114を有する。内視鏡1100は、流体ポート1110に接続されたチューブを介して、市販のサイナスコープ洗浄ポンプ(群)に取り付けられる。ポンプが作動すると、流体(生理食塩水等)が流体ポート1110に流入し、流体チャネル1120を通って流れ、内視鏡1100の光学部品1112上に流れて、光学部品1112から堆積物(汚れまたは曇り等)を洗浄する。ポンプ(群)の逆サイクル中、流体は、流体出口1114(その後、流体入口として機能する)を介して流体チャネル1120に引き戻され、内視鏡1100の光学部品1112から流体を除去し得る。様々な実施形態によれば、流体チャネル1120の断面積は、内視鏡1100の遠位端1116における流体の適切な速度及び方向を可能にしつつ、チューブ内の背圧の発生を防止するように最適化される。
前述の開示は、説明の目的で、特定の実施形態を参照して開示された。しかしながら、上記の例示的な議論は、網羅的であることや、本発明を開示された正確な形態に限定することを意図するものではない。上記の教示に鑑みて、多くの修正及び変形が可能である。実施形態は、技術の原理とそれらの実用的な応用を最もよく説明するために選択され、開示されたものである。これにより、当業者であれば、考えられる特定の用途に適した様々な変更を加えて、本技術及び種々の実施形態を最良に利用することができる。
本開示及び例示は、添付の図面を参照して十分に説明されたが、種々の変更及び修正が当業者には明らかになることに留意されたい。そのような変更及び修正は、特許請求の範囲によって定義される開示及び例示の範囲内に含まれるものとして理解されるべきである。最後に、本出願において参照された特許及び刊行物の開示全体は、参照により本明細書に組み込まれる。

Claims (23)

  1. 外科用スコープを洗浄するための装置であって、
    前記外科用スコープのチューブを着脱可能に受け入れるシースであって、
    前記チューブを受け入れるためのチャネルを規定する壁であって、当該壁の遠位部分が、前記チューブの外周周りに部分的にのみ延びるように構成されている壁と、
    液体流路を規定する第1の導管と、
    気体流路を規定する第2の導管と、
    を有するシースと、
    前記壁の前記遠位部分の遠位端に位置し、前記第1の導管からの液体の流れを前記外科用スコープのレンズを横切るように向け、前記レンズから前記液体を除去するために、前記第2の導管からの気体の流れを前記外科用スコープの前記レンズを横切るように向けるために構成された少なくとも1つのノズルと、
    前記外科用スコープのハウジングを受け入れるために、前記シースの近位端に配置されたレシーバと、
    を有し、
    前記レシーバは、前記シースの長手方向軸周りの所定の角度配向で前記ハウジングを受け入れるように形成されることを特徴とする装置。
  2. 前記壁の前記遠位部分が、使用中にトロカール内に配置されるために構成されることを特徴とする請求項1に記載の装置。
  3. 液体供給線を前記第1の導管に接続するための第1のポートと、気体供給線を前記第2の導管に接続するための第2のポートと、をさらに備えることを特徴とする請求項1または2に記載の装置。
  4. 前記第1のポートから第1のノズルへの液体流路と、前記第2のポートから第2のノズルへの気体流路が、バルブフリーであることを特徴とする請求項3に記載の装置。
  5. 前記壁の近位部分が、前記外科用スコープの前記チューブの外周の全周囲に延びるように構成されることを特徴とする請求項1乃至4のいずれか1項に記載の装置。
  6. 前記壁の前記遠位部分のみが、使用中にトロカール内に配置されることを特徴とする請求項1乃至5のいずれか1項に記載の装置。
  7. 前記壁の遠位端は、前記外科用スコープが前記シース内に受け入れられたときに、前記壁の近位端よりも前記外科用スコープの前記チューブの長手軸からさらに離れることを特徴とする請求項1乃至6のいずれか1項に記載の装置。
  8. 前記壁は、トロカールへの挿入中に、前記壁の前記遠位部分が前記外科用スコープの前記チューブの前記長手軸に向けて曲がることができ、前記遠位部分が前記トロカールを通るときに、前記外科用スコープの前記チューブの前記長手軸からさらに離れた位置に戻ることができるように構成されることを特徴とする請求項7に記載の装置。
  9. 前記第1の導管が、前記第2の導管に隣接していることを特徴とする請求項1乃至8のいずれか1項に記載の装置。
  10. 前記少なくとも1つのノズルが、第2のノズルに隣接する第1のノズルであることを特徴とする請求項9に記載の装置。
  11. 前記第1及び第2の導管が、前記壁の厚さに形成されることを特徴とする請求項1乃至10のいずれか1項に記載の装置。
  12. 前記壁の前記厚さが、前記壁の少なくとも一部の外周周りで不均一であることを特徴とする請求項11に記載の装置。
  13. 前記少なくとも1つのノズルが、前記外科用スコープが術野を見ている間に、前記外科用スコープを洗浄するために配置されることを特徴とする請求項1乃至12のいずれか1項に記載の装置。
  14. 前記少なくとも1つのノズルが、前記外科用スコープの視野が妨げられないように配置されることを特徴とする請求項13に記載の装置。
  15. 前記少なくとも1つのノズルが、前記シースの遠位端に配置されることを特徴とする請求項1乃至14のいずれか1項に記載の装置。
  16. 少なくとも前記シースがプラスチック製であることを特徴とする請求項1乃至15のいずれか1項に記載の装置。
  17. 前記装置が使い捨てであることを特徴とする請求項1乃至16のいずれか1項に記載の装置。
  18. 内視鏡撮像装置の外科用スコープが手術腔に挿入されている間に前記外科用スコープを洗浄するためのシステムであって、
    請求項1乃至17のいずれか1項に記載の外科用スコープを洗浄するための装置と、
    前記洗浄するための装置に流体を供給するための装置に通信可能に接続された制御システムと、
    を有し、
    前記洗浄するための装置は、前記シースに前記外科用スコープが挿入された状態で前記手術腔に挿入され、
    前記制御システムは、
    前記内視鏡撮像装置により生成された術野の1以上の画像を受信し、
    前記1以上の画像を解析することにより、前記外科用スコープのレンズ上の堆積物を検出し、
    前記レンズ上の堆積物の検出に基づいて、前記外科用スコープを洗浄するために、1以上の流体を前記術野に提供するためのコマンドを前記洗浄するための装置に送信する
    よう構成され、
    前記洗浄するための装置は、前記制御システムからの前記コマンドの受信に応答して、
    前記レンズから前記堆積物を除去するために、前記少なくとも1つのノズルから液体を前記レンズに噴霧し、
    前記レンズから前記液体を除去するために、前記少なくとも1つのノズルから気体を前記レンズに吹き付ける
    ことを特徴とするシステム。
  19. 前記外科用スコープ及び前記シースは、トロカールを通して前記手術腔に挿入されることを特徴とする請求項18に記載のシステム。
  20. 前記制御システムはさらに、
    前記レンズ上の堆積物の検出に基づいて、前記レンズ上の堆積物が検出されたことの通知をユーザに提供し、
    前記通知を受けて前記ユーザによりなされた前記外科用スコープに接続された前記内視鏡撮像装置へのユーザ入力に応答して、前記洗浄するための装置に前記コマンドを送信することを特徴とする請求項18または19に記載のシステム。
  21. 前記堆積物が、結露を含むことを特徴とする請求項18乃至20のいずれか1項に記載のシステム。
  22. 前記堆積物が、体液、組織、及び前記手術腔に導入された1以上の流体のうちの1以上を含むことを特徴とする請求項18乃至21のいずれか1項に記載のシステム。
  23. 前記洗浄するための装置は、第1の所定期間、前記液体を前記レンズに噴霧し、第2の所定期間、前記気体を前記レンズに吹き付けることを特徴とする請求項18乃至22のいずれか1項に記載のシステム。
JP2021570525A 2019-05-29 2020-05-28 術中の外科用スコープ洗浄のシステムと方法 Active JP7635159B2 (ja)

Applications Claiming Priority (3)

Application Number Priority Date Filing Date Title
US201962854165P 2019-05-29 2019-05-29
US62/854,165 2019-05-29
PCT/US2020/034878 WO2020243270A1 (en) 2019-05-29 2020-05-28 Systems and methods for intraoperative surgical scope cleaning

Publications (4)

Publication Number Publication Date
JP2022534590A JP2022534590A (ja) 2022-08-02
JP2022534590A5 JP2022534590A5 (ja) 2023-06-06
JPWO2020243270A5 JPWO2020243270A5 (ja) 2023-06-06
JP7635159B2 true JP7635159B2 (ja) 2025-02-25

Family

ID=71094884

Family Applications (1)

Application Number Title Priority Date Filing Date
JP2021570525A Active JP7635159B2 (ja) 2019-05-29 2020-05-28 術中の外科用スコープ洗浄のシステムと方法

Country Status (5)

Country Link
US (2) US11937783B2 (ja)
EP (1) EP3975817A1 (ja)
JP (1) JP7635159B2 (ja)
CN (1) CN114727743A (ja)
WO (1) WO2020243270A1 (ja)

Families Citing this family (13)

* Cited by examiner, † Cited by third party
Publication number Priority date Publication date Assignee Title
JP6978431B2 (ja) 2016-04-21 2021-12-08 ベイラー カレッジ オブ メディスンBaylor College Of Medicine トロカール
JP6916236B2 (ja) * 2019-03-27 2021-08-11 Hoya株式会社 内視鏡
BR112022008561A2 (pt) * 2019-11-04 2022-08-09 Gulf Medical Tech Dispositivo de limpeza para ferramenta cirúrgica
US11805968B2 (en) 2019-11-05 2023-11-07 Bayou Surgical, Inc. Intraoperative endoscope cleaning system
US20220125288A1 (en) * 2020-10-28 2022-04-28 Medtronic Xomed, Inc. Lavage and Cleansing System and Method
WO2022235262A1 (en) * 2021-05-04 2022-11-10 Bayou Surgical, Inc. Intraoperative endoscope cleaning system
US12004724B2 (en) * 2021-05-06 2024-06-11 Medtronic Xomed, Inc. Endoscope cleaning system
US11986164B2 (en) * 2021-12-15 2024-05-21 Karl Storz Endovision, Inc. Endoscope, endoscopic system and method of operating the endoscopic system
DE102021134563A1 (de) 2021-12-23 2023-06-29 Karl Storz Se & Co. Kg Vorrichtung, System und Verfahren zur Reinigung und/oder Trocknung für ein Endoskop
CN115634881B (zh) * 2022-10-18 2025-08-15 佗道医疗科技有限公司 内窥镜的头端装置、内窥镜及手术系统
FR3145470B1 (fr) * 2023-02-06 2025-01-31 Axess Vision Tech Procédé pour déterminer si le canal opérateur d’un endoscope médical a été utilisé
US12201274B1 (en) * 2023-07-09 2025-01-21 Scopix Ltd. Surgical port add-on and adaptor for a surgical port
CN119679354B (zh) * 2025-02-26 2025-05-06 杭州英术生命科技有限公司 一种防起雾抗干扰内窥镜

Citations (5)

* Cited by examiner, † Cited by third party
Publication number Priority date Publication date Assignee Title
US20130217970A1 (en) 2012-02-17 2013-08-22 Ethicon Endo-Surgery, Inc. Apparatus and methods for cleaning the lens of an endoscope
JP2016508796A (ja) 2013-02-25 2016-03-24 イーオン サージカル リミテッド 外科用ツール導入器
JP2017529132A (ja) 2014-08-14 2017-10-05 インテュイティブ サージカル オペレーションズ, インコーポレイテッド 内視鏡器具を洗浄するシステム及び方法
WO2018173145A1 (ja) 2017-03-22 2018-09-27 オリンパス株式会社 内視鏡シースおよび内視鏡システム
WO2019026206A1 (ja) 2017-08-02 2019-02-07 国立大学法人 長崎大学 硬性内視鏡のカバーおよび内視鏡ユニット

Family Cites Families (58)

* Cited by examiner, † Cited by third party
Publication number Priority date Publication date Assignee Title
JPS5826641Y2 (ja) 1978-06-19 1983-06-09 株式会社町田製作所 内視鏡における観察窓の露結防止装置
US5386817A (en) 1991-06-10 1995-02-07 Endomedical Technologies, Inc. Endoscope sheath and valve system
US5575756A (en) * 1993-08-16 1996-11-19 Olympus Optical Co., Ltd. Endoscope apparatus
US5464008A (en) 1994-04-14 1995-11-07 Kim; John H. Laparoscope defogging
US5518502A (en) 1994-06-08 1996-05-21 The United States Surgical Corporation Compositions, methods and apparatus for inhibiting fogging of endoscope lenses
US5605532A (en) 1995-10-20 1997-02-25 Vista Medical Technologies, Inc. Fog-free endoscope
US6712479B1 (en) 1998-07-30 2004-03-30 Innovative Surgical Technology, Inc. Method for preventing laparoscope fogging
US6062429A (en) 1998-09-03 2000-05-16 Valley West, Inc. Apparatus for supporting and discharging flexible fluid containers
US6447446B1 (en) 1999-11-02 2002-09-10 Medtronic Xomed, Inc. Method and apparatus for cleaning an endoscope lens
US6354992B1 (en) 1999-11-08 2002-03-12 Daniel T. Kato Automated laparoscopic lens cleaner
JP3945133B2 (ja) 2000-08-02 2007-07-18 フジノン株式会社 内視鏡の観察窓洗浄装置
JP3785908B2 (ja) 2000-08-17 2006-06-14 フジノン株式会社 内視鏡の観察窓洗浄装置
JP3845296B2 (ja) 2000-11-29 2006-11-15 オリンパス株式会社 内視鏡用汚れ除去具
US20050222499A1 (en) * 2003-04-01 2005-10-06 Banik Michael S Interface for video endoscope system
US7811228B2 (en) 2004-07-26 2010-10-12 Medtronic Xomed, Inc. Disposable endoscope sheath having adjustable length
US8083671B2 (en) * 2004-09-30 2011-12-27 Boston Scientific Scimed, Inc. Fluid delivery system for use with an endoscope
US7479106B2 (en) * 2004-09-30 2009-01-20 Boston Scientific Scimed, Inc. Automated control of irrigation and aspiration in a single-use endoscope
JP2007296002A (ja) * 2006-04-28 2007-11-15 Fujinon Corp 内視鏡システム
US8047215B1 (en) 2006-06-06 2011-11-01 Larry Sasaki Laparoscopic lens cleaner
WO2008041227A2 (en) 2006-10-03 2008-04-10 Virtual Ports Ltd Interchangeable tips and tool box for assisting surgical procedures
US20080081948A1 (en) 2006-10-03 2008-04-03 Ethicon Endo-Surgery, Inc. Apparatus for cleaning a distal scope end of a medical viewing scope
JP4981403B2 (ja) 2006-10-11 2012-07-18 オリンパスメディカルシステムズ株式会社 内視鏡洗浄シース及びそれを備える内視鏡装置
US20080188714A1 (en) * 2007-02-07 2008-08-07 Boston Scientific Scimed, Inc. Electromechanical in-situ cleaning of optical elements
EP2160214B1 (en) 2007-06-08 2018-10-31 Medeon Biodesign, Inc. Devices for removal of debris from the objective lens of an endoscope
US9241610B2 (en) 2009-12-08 2016-01-26 Medeon Biodesign, Inc. Devices and methods for removal of debris from the objective lens of an endoscope
US9050036B2 (en) 2007-06-19 2015-06-09 Minimally Invasive Devices, Inc. Device for maintaining visualization with surgical scopes
US20090105543A1 (en) 2007-10-19 2009-04-23 Miller Eric C Endoscope Lens Cleaner
US8096944B2 (en) 2007-10-26 2012-01-17 Harrel Stephen K Air shield for videoscope imagers
US20090118586A1 (en) 2007-11-01 2009-05-07 Griffin Glenn A Surgery accessory and method of use
US8185997B2 (en) 2007-11-05 2012-05-29 New Wave Surgical Corporation Method and apparatus for cleaning the interior cannula of laparoscopic and endoscopic access devices
JP5108595B2 (ja) * 2008-04-04 2012-12-26 オリンパスメディカルシステムズ株式会社 内視鏡、先端キャップ付き内視鏡および内視鏡用洗浄シース
US8550988B2 (en) 2008-04-21 2013-10-08 Covidien Lp Endoscopic cleaner
CN102307511B (zh) 2008-12-10 2015-06-03 微创设备股份有限公司 使用手术窥镜期间优化和维持手术区可视化的系统
EP2405797B1 (en) * 2009-03-04 2015-11-04 Smith & Nephew, Inc. A system for use in surgical procedures
GB2474309B (en) * 2009-10-12 2011-09-07 Endoguard Ltd Flow guide for an endoscope
EP2600759A4 (en) * 2010-08-04 2013-08-28 Minimally Invasive Devices Llc SYSTEMS AND METHOD FOR OPTIMIZING AND SAVING THE VIEW OF A SURGICAL FIELD DURING THE USE OF SURGICAL ENDOSCOPES
JP5685406B2 (ja) * 2010-09-06 2015-03-18 富士フイルム株式会社 画像撮像装置およびその作動方法
US20120178995A1 (en) 2011-01-05 2012-07-12 Parametric Mechanisms, LLC Method and Apparatus for Cleaning the Field of View of an Endoscopic Lens
US20130053639A1 (en) 2011-08-24 2013-02-28 II Glenn M. Ihde Surgical Device for Wiping Camera Lenses
US10039440B2 (en) * 2012-06-11 2018-08-07 Intuitive Surgical Operations, Inc. Systems and methods for cleaning a minimally invasive instrument
US20140249370A1 (en) 2013-03-04 2014-09-04 Ronald Hurst System and Method for Cleaning a Cannula during a Surgical Procedure
US10595719B2 (en) 2012-08-01 2020-03-24 Ronald Hurst System and method for cleaning a cannula during a surgical procedure using a hinged tip
CN105534471B (zh) * 2012-09-14 2017-07-11 奥林巴斯株式会社 内窥镜清洗护套及内窥镜装置
US10537236B2 (en) 2013-01-17 2020-01-21 Stryker Corporation Anti-fogging device for endoscope
US20140246051A1 (en) 2013-03-04 2014-09-04 Ronald Hurst System and method for cleaning a scope during a surgical procedure
US20140261579A1 (en) * 2013-03-14 2014-09-18 Acclarent, Inc. Apparatus for flushing angled window of endoscope
WO2014205140A2 (en) * 2013-06-18 2014-12-24 Minimally Invasive Devices, Inc. Sheath for hand-held and robotic laparoscopes
JP6010571B2 (ja) * 2014-02-27 2016-10-19 富士フイルム株式会社 内視鏡システム、内視鏡システム用プロセッサ装置、内視鏡システムの作動方法、内視鏡システム用プロセッサ装置の作動方法
WO2016168764A1 (en) * 2015-04-16 2016-10-20 Minimally Invasive Devices, Inc. Endoscope having integrated visual field enhancement system
WO2016181735A1 (ja) * 2015-05-14 2016-11-17 オリンパス株式会社 立体視内視鏡装置
WO2017040484A1 (en) * 2015-08-31 2017-03-09 Gentuity, Llc Imaging system includes imaging probe and delivery devices
US10987129B2 (en) * 2015-09-04 2021-04-27 Medos International Sarl Multi-shield spinal access system
JP6978431B2 (ja) * 2016-04-21 2021-12-08 ベイラー カレッジ オブ メディスンBaylor College Of Medicine トロカール
US10709321B2 (en) 2016-07-13 2020-07-14 Washington University Self-cleaning endoscope
WO2018071821A1 (en) 2016-10-14 2018-04-19 Intuitive Surgical Operations, Inc. Image capture device with reduced fogging
EP3641844B1 (en) * 2017-06-19 2025-12-17 Boston Scientific Scimed, Inc. Automated fluid management system
JP7055624B2 (ja) * 2017-12-01 2022-04-18 ソニー・オリンパスメディカルソリューションズ株式会社 医療用撮像装置
US11229492B2 (en) * 2018-10-04 2022-01-25 Biosense Webster (Israel) Ltd. Automatic probe reinsertion

Patent Citations (5)

* Cited by examiner, † Cited by third party
Publication number Priority date Publication date Assignee Title
US20130217970A1 (en) 2012-02-17 2013-08-22 Ethicon Endo-Surgery, Inc. Apparatus and methods for cleaning the lens of an endoscope
JP2016508796A (ja) 2013-02-25 2016-03-24 イーオン サージカル リミテッド 外科用ツール導入器
JP2017529132A (ja) 2014-08-14 2017-10-05 インテュイティブ サージカル オペレーションズ, インコーポレイテッド 内視鏡器具を洗浄するシステム及び方法
WO2018173145A1 (ja) 2017-03-22 2018-09-27 オリンパス株式会社 内視鏡シースおよび内視鏡システム
WO2019026206A1 (ja) 2017-08-02 2019-02-07 国立大学法人 長崎大学 硬性内視鏡のカバーおよび内視鏡ユニット

Also Published As

Publication number Publication date
US20200375444A1 (en) 2020-12-03
WO2020243270A1 (en) 2020-12-03
US11937783B2 (en) 2024-03-26
CN114727743A (zh) 2022-07-08
EP3975817A1 (en) 2022-04-06
US20240358242A1 (en) 2024-10-31
JP2022534590A (ja) 2022-08-02

Similar Documents

Publication Publication Date Title
JP7635159B2 (ja) 術中の外科用スコープ洗浄のシステムと方法
US9339172B2 (en) Methods for biofilm removal
JP5860410B2 (ja) 結腸洗浄装置
US5207213A (en) Laparoscope having means for removing image impeding material from a distal lens
US8333690B2 (en) Endoscopic fluid feed system
US6712757B2 (en) Endoscope sleeve and irrigation device
US9050037B2 (en) View optimizer and stabilizer for use with surgical scopes
KR101437197B1 (ko) 생물막 제거 내시경을 포함하는 생물막 제거용 시스템 및 방법
EP2443986A1 (en) Endoscopic cleaner
JP2013138790A (ja) 内視鏡用洗浄シース
US20230041111A1 (en) Systems and methods for intraoperative surgical scope cleaning
CN109475275B (zh) 用于内窥镜的多喷嘴控制器
CN119606293A (zh) 一种腔镜镜头自动清洁成套装置

Legal Events

Date Code Title Description
A521 Request for written amendment filed

Free format text: JAPANESE INTERMEDIATE CODE: A523

Effective date: 20230529

A621 Written request for application examination

Free format text: JAPANESE INTERMEDIATE CODE: A621

Effective date: 20230529

A977 Report on retrieval

Free format text: JAPANESE INTERMEDIATE CODE: A971007

Effective date: 20240326

A131 Notification of reasons for refusal

Free format text: JAPANESE INTERMEDIATE CODE: A131

Effective date: 20240401

A521 Request for written amendment filed

Free format text: JAPANESE INTERMEDIATE CODE: A523

Effective date: 20240625

A131 Notification of reasons for refusal

Free format text: JAPANESE INTERMEDIATE CODE: A131

Effective date: 20240816

A521 Request for written amendment filed

Free format text: JAPANESE INTERMEDIATE CODE: A523

Effective date: 20241115

TRDD Decision of grant or rejection written
A01 Written decision to grant a patent or to grant a registration (utility model)

Free format text: JAPANESE INTERMEDIATE CODE: A01

Effective date: 20241216

A601 Written request for extension of time

Free format text: JAPANESE INTERMEDIATE CODE: A601

Effective date: 20250114

A61 First payment of annual fees (during grant procedure)

Free format text: JAPANESE INTERMEDIATE CODE: A61

Effective date: 20250212

R150 Certificate of patent or registration of utility model

Ref document number: 7635159

Country of ref document: JP

Free format text: JAPANESE INTERMEDIATE CODE: R150