JP7634412B2 - 柱状構造物 - Google Patents

柱状構造物 Download PDF

Info

Publication number
JP7634412B2
JP7634412B2 JP2021066545A JP2021066545A JP7634412B2 JP 7634412 B2 JP7634412 B2 JP 7634412B2 JP 2021066545 A JP2021066545 A JP 2021066545A JP 2021066545 A JP2021066545 A JP 2021066545A JP 7634412 B2 JP7634412 B2 JP 7634412B2
Authority
JP
Japan
Prior art keywords
reinforcing bar
bar member
column
pillar
members
Prior art date
Legal status (The legal status is an assumption and is not a legal conclusion. Google has not performed a legal analysis and makes no representation as to the accuracy of the status listed.)
Active
Application number
JP2021066545A
Other languages
English (en)
Other versions
JP2022161605A (ja
Inventor
泰邦 吉岡
和樹 有薗
啓介 塩田
Current Assignee (The listed assignees may be inaccurate. Google has not performed a legal analysis and makes no representation or warranty as to the accuracy of the list.)
JFE Civil Engineering and Construction Corp
Original Assignee
JFE Civil Engineering and Construction Corp
Priority date (The priority date is an assumption and is not a legal conclusion. Google has not performed a legal analysis and makes no representation as to the accuracy of the date listed.)
Filing date
Publication date
Application filed by JFE Civil Engineering and Construction Corp filed Critical JFE Civil Engineering and Construction Corp
Priority to JP2021066545A priority Critical patent/JP7634412B2/ja
Publication of JP2022161605A publication Critical patent/JP2022161605A/ja
Application granted granted Critical
Publication of JP7634412B2 publication Critical patent/JP7634412B2/ja
Active legal-status Critical Current
Anticipated expiration legal-status Critical

Links

Images

Landscapes

  • Bridges Or Land Bridges (AREA)
  • Reinforcement Elements For Buildings (AREA)
  • Working Measures On Existing Buildindgs (AREA)

Description

本発明は、格子鉄筋を用いた柱状構造物に関する。
従来、橋脚などの土木構造物又は建築構造物には鉄筋コンクリートで構成された柱が用いられている。これらの柱には、柱の中心軸方向に働く軸力、柱の中心軸直角方向に働くせん断力、及び曲げモーメントが作用する。コンクリートは、圧縮応力には比較的強度が高いものの、引張応力に対しては比較的強度が低い。そのため、コンクリートの内部に鉄筋を埋め込み、柱が圧縮応力及び引張応力の双方に対して十分な強度を発揮できるように構成されている。
例えば、特許文献1に開示されている橋脚補強方法によれば、橋脚の表面から所定の位置に上下に延びる柱状鉄筋を配置し、その外側に水平方向に延びる帯鉄筋を配置し補強材とし、周囲にコンクリートなどの硬化材を充填して既存の柱を補強している。補強材及び硬化剤をく体の周囲及びフーチング上の一部に設置することにより、簡単に構造物の補強を行うことができる。
また、従来、構造物を構築、補修、補強するときには、工場において加工された格子形状を有する平板状の鉄筋部材を現場に搬入し、現場で構造物の所定の位置に設置する技術が利用されている。
このような従来の鉄筋部材の施工は、格子状の鉄筋部材を構造物の梁、床、又は柱等の構造物の表面に沿って所定の距離を持って配置し、その上からモルタル等の充填部材を充填する。充填部材は、鉄筋部材と構造物との間の空間に充填され、さらに鉄筋部材からの充填部材の厚さが所定の寸法になる様に鉄筋部材を覆う。このような構造により、棒鋼などの鉄筋を現場で技能者により組み立てる工程や、工場で鉄筋の溶接作業を行う工程が不要となり、鉄筋組み立て時の手間やコストを抑えるとともに技能者の確保が不要となる。また、格子状の鉄筋部材により鉄筋コンクリート構造の耐荷重性能を向上させている。
例えば、特許文献2に開示されている鉄筋コンクリート構造によれば、互いに平行に配置された複数の主筋と隣接する複数の主筋の間を連結する複数の配力筋とにより格子を有する板状に形成された鉄筋部材により補強されている。特許文献2の鉄筋コンクリート構造は、格子を有する板状の鉄筋部材が用いられていることにより、従来の異形棒鋼により構成された鉄筋構造と比較して、厚さ方向の寸法が抑えられ、かつ耐荷重性能が向上している。
特開2014-205989号公報 特開2018-91126号公報
特許文献1に開示されている鉄筋コンクリート構造物によれば、柱中心軸方向に延びる柱状鉄筋及び帯鉄筋を重ねて補強材として配置している。補強材は、コンクリート等の硬化材を所定の被り厚さで覆う必要がある。従って、柱中心軸に垂直な断面において、補強材の占有面積が大きくなり、柱状構造物は、補強するための補強材及びそれを覆うために必要な硬化材の占める領域が大きくなるという課題があった。
また、特許文献2に開示されている鉄筋コンクリート構造物は、床版を格子状の鉄筋部材及び鉄筋部材を覆うコンクリートなどの充填部材により補強している。そのため、床版は、鉄筋部材の厚さ方向寸法を大きくすることなく、強度を確保することができる。しかし、床版と柱状構造物とでは作用する荷重が異なるため、特許文献2に開示されている鉄筋部材を柱状構造物の表面に沿って配置させた場合、適切に補強できず必要な強度が確保できないという課題があった。
本発明は上記の問題を解決するためになされたものであり、補強に必要な鉄筋部材及び充填材の占める領域を抑制しつつ、必要な強度を確保できる柱状構造物を提供することを目的とする。
本発明の柱状構造物は、下部構造体に接続された柱体と、前記柱体の表面に沿って配置された鉄筋部材と、前記柱体の表面を形成し、前記鉄筋部材を覆う充填部材と、下部構造又は上部構造に固定されたアンカー格子筋と、を備え、前記鉄筋部材は、第1方向に延びる複数の第1主筋と、前記第1方向に交差する方向に延び、前記複数の第1主筋の側面同士を接続する第1配力筋と、を備え、前記鉄筋部材は、鋼板を加工して形成されており、前記第1主筋と前記第1配力筋とは、同一面上に配置されており、前記アンカー格子筋は、前記第1方向に延びる複数の第2主筋と、前記第1方向に交差する方向に延び、前記複数の第2主筋の側面同士を接続する第2配力筋と、を備え、前記アンカー格子筋は、鋼板を加工して形成されており、前記第2主筋と前記第2配力筋とは、同一面上に配置されており、前記鉄筋部材は、前記柱体の表面に垂直方向において、前記アンカー格子筋の前記第2主筋及び前記第2配力筋と重ねて配置される
本発明に係る柱状構造物によれば、柱体の表面に沿って配置された鉄筋部材の厚さが抑えられ、従来の棒鋼を交差させて組み合わせた鉄筋構造と比較して、補強に必要な鉄筋部材及び充填材の占める領域を抑制しつつ、必要な強度を確保することができる。
実施の形態1に係る柱状構造物100の側面図である。 図1の柱状構造物100の断面構造の一例を示す説明図である。 図1の柱状構造物100の断面構造の一例を示す説明図である。 実施の形態1に係る鉄筋部材20Aの平面図である。 実施の形態1に係る鉄筋部材20Bの平面図である。 図2の鉄筋部材20の接手部25の構造を説明する斜視図である。 実施の形態1に係る鉄筋部材20の接手部25の変形例である接手部25Aの平面図である。 実施の形態1に係る鉄筋部材20の接手部25の変形例である接手部25Bの平面図である。 図2の鉄筋部材20の接手部25の変形例である継手部25Cの構造を説明する斜視図である。 継手部25Cを適用した柱状構造物100の断面構造の一例を示す説明図である。 実施の形態1に係る柱体10における鉄筋部材20の配置の一例を示す側面図である。 実施の形態1に係る柱体10における鉄筋部材20の配置の一例を示す側面図である。 実施の形態1に係る柱状構造物100の柱体10の比較例である柱体1010の断面構造の説明図である。 実施の形態1に係る鉄筋部材20と比較例に係る鉄筋構造1020との構造の比較図である。 実施の形態1に係る柱状構造物100の変形例の斜視図である。 実施の形態1に係る柱状構造物100の変形例の斜視図である。 実施の形態2に係る柱状構造物100Aの下部構造体50周辺の斜視図である。 実施の形態2に係る柱状構造物100Bの下部構造体50周辺の斜視図である。 実施の形態2に係る柱状構造物100Cの下部構造体50周辺の斜視図である。 実施の形態3に係る柱状構造物100の側面図である。
以下、図面に基づいて本発明の実施の形態について説明する。各図において、同一の符号を付した部位については、同一の又はこれに相当する部位を表すものであって、これは明細書の全文において共通している。また、明細書全文に表れている構成要素の形態は、あくまで例示であって、本発明は明細書内の記載のみに限定されるものではない。特に構成要素の組み合わせは、各実施の形態における組み合わせのみに限定するものではなく、他の実施の形態に記載した構成要素を別の実施の形態に適用することができる。さらに、添字で区別等している複数の同種の部位について、特に区別したり、特定したりする必要がない場合には、添字を省略して記載する場合がある。また、図面では各構成部材の大きさの関係が実際のものとは異なる場合がある。
実施の形態1.
図1は、実施の形態1に係る柱状構造物100の側面図である。実施の形態1において柱状構造物100は、下部構造体50及び上部構造体51の間に設置された柱体10を備える。図1は、柱体10を側面視した図であり、柱体10の内部構造を便宜的に透視して示している。また、下部構造体50及び上部構造体51は、模式的に表されている。
柱状構造物100は、例えば橋脚などの柱体10を備える土木構造物やビルなどの柱体10を含む建築構造物の少なくとも一部である。柱状構造物100の下部構造体50は、例えば橋脚のフーチング又は建築物の基礎梁などであり、独立して設置されたものあるいは連結されたものを問わない。上部構造体51は、例えば橋梁又は建築構造物の架構の梁に相当する。
柱体10は、上部構造体51と下部構造体50とを接続するものであり、構造物全体が受ける振動などにより力が作用する。つまり、柱体10は、軸方向に軸力F、柱の軸方向直角方向にせん断力S、及び柱体10の接続部11又は12の周りに曲げモーメントMが作用する。軸力Fは、上部構造体51を始めとする構造物の自重や、橋梁の上に設置された道路などを通行する車両の重量である。せん断力Sは、例えば地震や強風により掛かる水平方向の力である。曲げモーメントMは、例えば地震や強風により上部構造体51が傾くように変位したときに柱体10の端部に作用する回転力である。
実施の形態1に係る柱体10は、既存柱110を鉄筋部材20及びコンクリートなどの充填部材60を用いて補強したものである。実施の形態1においては、一例として既存柱110を補強して形成された柱状構造物100について説明する。なお、鉄筋部材20及び充填部材60による補強構造は、既存柱110を補強する場合のみに限定されず、新設の柱体10にも適用される。
図2及び図3は、図1の柱状構造物100の断面構造の一例を示す説明図である。図2及び図3は、図1のA-A部の断面を示している。柱体10は、図2に示す断面形状が矩形のものであっても、図3に示す断面形状が円形のものであっても良い。柱体10の断面形状は、矩形及び円形に限定されるものではなく、例えば多角形状や楕円形状であっても良い。
柱体10の内部には、既存柱110があり、その周囲を鉄筋部材20が包囲している。鉄筋部材20は、既存柱110の周方向に沿って複数(図2及び図3においては2つ)配置されている。2つの鉄筋部材20は、それぞれ周方向の端部に接手部25が設けられている。図2及び図3においては、接手部25は、重ね接手で構成されている。一方の鉄筋部材20の端部20bは、折り曲げられて面方向に段差が形成されている。他方の鉄筋部材20の端部20aは、端部20bに重ねられている。
既存柱110の周囲に配置される鉄筋部材20は、周方向に2つ配置する形態に限定されるものではなく、例えば1つの鉄筋部材20を折り曲げて、既存柱110の全周を包囲しても良い。また、2つよりも多い枚数の鉄筋部材20が既存柱110の周囲を包囲するように構成しても良い。これは、既存柱110のサイズや、必要な強度に応じて適宜変更することができる。
図2及び図3において、既存柱110は、鉄筋コンクリート柱であり、充填部材160の内部に補強軸筋1021と補強帯筋1022とを直交して組み合わせて形成された鉄筋構造が設けられている。補強軸筋1021は、軸方向に延び、異形棒鋼で構成されている。補強帯筋1022は、既存柱110の周方向に延びる異形棒鋼である。ただし、既存柱110は、鉄筋コンクリート柱だけに限定されず、例えば、鋼管柱、鉄骨柱、鉄骨鉄筋コンクリート柱、プレストレスコンクリート柱、コンクリート充填鋼管柱であっても良い。
(鉄筋部材20)
図4は、実施の形態1に係る鉄筋部材20Aの平面図である。図5は、実施の形態1に係る鉄筋部材20Bの平面図である。鉄筋部材20は、第1方向に延びる主筋21と第1方向に交差する方向に延びる配力筋22とを備え、格子状に形成されている。配力筋22は、複数平行に並んでいる主筋21の側面同士を接続するように配置され、主筋21と一体に接続されている。つまり、配力筋22は、主筋21と同一面上に配置されている。
主筋21は、側面に突起21aが形成されており、配力筋22には突起22aが形成されている。突起21a及び22aは、鉄筋部材20の周囲にコンクリートなどの充填部材60が充填された際に充填部材60と噛み合い、鉄筋部材20と充填部材60との結合力を向上させる働きがある。なお、鉄筋部材20が縞鋼板などの面に凹凸が形成された鋼板を加工して形成された場合は、図4及び5に示される平面にも凹凸が形成され、さらに充填部材60との結合力が向上する。なお、鉄筋部材20は、鋼材に限定されず、例えば炭素繊維FRP、アラミド繊維FRP又はガラス繊維FRPなどの金属以外の高強度材を用いても良い。
図4に示す鉄筋部材20Aは、鉄筋部材20の一例であり、格子目が縦横同じ長さの矩形状に形成されている。鉄筋部材20Aは、鋼板を例えばレーザーで切断し、格子状に形成されたものである。鉄筋部材20Aは、主筋21と配力筋22とが平面視において同じ幅に形成されているため、図4の縦方向及び横方向に対し同じ補強効果がある。なお、鉄筋部材20Aは、主筋21を配力筋22よりも太く形成しても良い。
図5に示す鉄筋部材20Bは、鉄筋部材20の一例であり、鋼板にスリットを加工し、鋼板の面に平行方向に引っ張って展張する加工を行って形成したものである。つまり、鉄筋部材20は、図5の横方向、即ち主筋21が延びる第1方向に直交する方向に、スリットが形成された鋼板を展張させて形成されたものである。主筋21に交差する方向に延びる配力筋22は、主筋21の中心軸に対し対称的に配置されており、主筋21が延びる第1方向に直交する方向に対し傾斜している。配力筋22の傾斜角度は、展張加工における引張量に応じて変化する。
図5において、鉄筋部材20Bは、主筋21が配力筋22よりも太く形成されているが、スリット加工を調整することにより、主筋21と配力筋22とを同程度の太さにすることもできる。ただし、配力筋22は、通常は主筋21と斜めに接続されており、主筋21に沿った第1方向と第1方向に直交する方向とでは、強度に差がある。つまり、鉄筋部材20Bは、第1方向に引っ張り荷重を受けたときの強度が第1方向に直交する方向に引っ張り荷重を受けたときよりも強い。鉄筋部材20Bのような展張型の鉄筋部材20は、鋼板にスリットを形成するだけで、鉄筋部材20Aのように切断して除去する量が少ないため、材料の損失が少なく、安価に製造できる。
(接手部25)
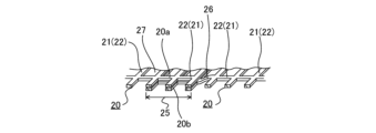
図6は、図2の鉄筋部材20の接手部25の構造を説明する斜視図である。図6において、鉄筋部材20は、模式的に表されており、主筋21及び配力筋22の突起21a及び22aは省略されている。図6の接手部25は、重ね接手であり、段差26が形成された一方の鉄筋部材20の端部20bと他方の鉄筋部材20の端部20aとを柱体10の側面に垂直方向に重ねて構成される。端部20aと端部20bとを重ねる量は、格子27の1列から3列分程度あればよい。接手部25は、重ね接手で構成されることにより、充填部材60を介して2つの鉄筋部材20が結合するため、複数の鉄筋部材20を一体の鉄筋部材20と同程度の強度を発揮できる。
図7は、実施の形態1に係る鉄筋部材20の接手部25の変形例である接手部25Aの平面図である。図7は、一例として展張型の鉄筋部材20Bで構成された接手部25Aを示している。鉄筋部材20Bは、主筋21のみを鉄筋部材20Bの端部から延設させた接合部材121を備える。つまり、鉄筋部材20Bは、端部から第1方向に突出した接合部材121を備えている。接合部材121は、図5に示された鉄筋部材20Bの主筋21が延びる第1方向の端部において、配力筋22の一部を除去することにより形成される。これにより、接合部材121は、第1方向と交差する方向に延びる枝部材125を備える。
図7に示されている2つの鉄筋部材20Bは、同じ接合部材121を備えており、互いの接合部材121を主筋21が延びる第1方向に直交する方向に並列させて配置される。このとき接合部材121から側方に延びる枝部材125も互いに並列させて配置される。接手部25Aは、接合部材121及び枝部材125を同一面上に並列させて配置され、一方の鉄筋部材20Bの枝部材125と他方の鉄筋部材20Bの枝部材125とを第1方向において交互に配置して構成される。そのため、充填部材60が充填された接手部25に充填されると、充填部材60を介して接合部材121の間で荷重が伝達されるため、2つの鉄筋部材20Bが一体に連結される。このような接手部25を平面重ね接手とも称する。なお、平面重ね接手は、図4に示す鉄筋部材20Aのようにレーザーで除去加工して形成された鉄筋部材20であっても、加工により鉄筋部材20Aに接合部材121を形成することにより実現できる。
図8は、実施の形態1に係る鉄筋部材20の接手部25の変形例である接手部25Bの平面図である。図8は、一例として図4に示された略正方形の格子目を備える鉄筋部材20Aの端部に接合部材121又は122を設けて、互いに嵌合させたものである。図8の鉄筋部材20は、図8の横方向を主筋21の延びる第1方向としている。接合部材121は、主筋21が延びる第1方向に鉄筋部材20を接続し、接合部材122は配力筋22が延びる方向に鉄筋部材20を接続する。
鉄筋部材20は、鉄筋部材20の端部から突出する接合部材121を備える。接合部材121は、側面に突出する突出部121aが形成されている。一方の鉄筋部材20の接合部材121と他方の鉄筋部材20の接合部材121とは、互いに突出部121aを対向させて嵌合させることができる。また、図8に示される鉄筋部材20は、配力筋22が延びる方向にも接合部材122が設けられている。接合部材122は、突出する方向が異なるだけで接合部材121と同様な構造を備える。接合部材122は、鉄筋部材20を第1方向に直交する方向にも接続することができる。従って、図8に示されるように鉄筋部材20は、主筋21が延びる第1方向及び第1方向に直交する方向にも並べて連結されている。
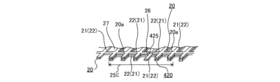
図8Aは、図2の鉄筋部材20の接手部25の変形例である継手部25Cの構造を説明する斜視図である。図8Bは、継手部25Cを適用した柱状構造物100の断面構造の一例を示す説明図である。図8Aにおいて、鉄筋部材20は、模式的に表されており、主筋21及び配力筋22の突起21a及び22aは省略されている。図8Aの接手部25は、重ね接手であるが、2つの鉄筋部材20のそれぞれの端部20aに跨がって重なる添接鉄筋部材420を備える。添接鉄筋部材420は、2つの鉄筋部材20に跨がって配置されることにより、充填部材60を介して2つの鉄筋部材20のそれぞれの端部20aと接続される。つまり、2つの鉄筋部材20は、添接鉄筋部材420を介して接続される。図8Aに示される様に、鉄筋部材20と添接鉄筋部材420とは、格子27を1列から3列程度重ねると良い。
図8Aにおいては、鉄筋部材20と添接鉄筋部材420とは、主筋21及び配力筋22が重なる様にして配置されている。ただし、2つの鉄筋部材20の隙間425は、鉄筋部材20の主筋21が配置されておらず、添接鉄筋部材420の主筋21のみが配置されている。図8A及び図8Bに示す方式の重ね継手によれば、各鉄筋部材20に段差形状を形成しなくとも重ね継手を構成することができる。なお、図8Bにおいては、断面において矩形の柱体10の断面を表示しているが、柱体10の形状は矩形のみに限定されない。例えば、柱体10が円柱形状である場合は、隣合う鉄筋部材20の端部20aは、同一面(柱体10が円柱形状であれば円筒面)上に配置される。そして、添接鉄筋部材420は、隣合う鉄筋部材20の端部20aが配置されている面に平行な面上に配置される。
図9は、実施の形態1に係る柱体10における鉄筋部材20の配置の一例を示す側面図である。実施の形態1の鉄筋部材20のうち図5に示す鉄筋部材20Bは、主筋21と配力筋22とが異なる太さで形成され、構造上、主筋21が延びる第1方向に引っ張り荷重を受けるときに強度が高くなるように形成されている。従って、第1方向をどのように向けるかによって、柱体10の補強の用途が異なる。
図9においては、鉄筋部材20は、第1方向を柱体10の軸方向に平行に配置している。この場合、鉄筋部材20の主筋21は、柱体10を軸方向に引っ張る方向の荷重を分担することができる。鉄筋部材20に引っ張り荷重が作用する場合とは、例えばラーメン構造を構成している柱状構造物100において、柱体10に引張荷重が作用する場合である。また、柱体10の接続部11及び12に曲げモーメントMが作用したときに、柱体10の一方の面は圧縮荷重を受け、他方の面は引張荷重を受ける。従って、例えば上部構造体51が倒れるように変位する場合に、既存柱110の強度が不足するときは、図9に示すように鉄筋部材20の第1方向を柱体10の軸方向に向けて主筋21が柱体10の軸方向に延びる補強軸筋として作用するように設置すると良い。
図10は、実施の形態1に係る柱体10における鉄筋部材20の配置の一例を示す側面図である。図10においては、鉄筋部材20は、柱体10の軸方向の中央部に第1方向を柱体10の周方向に向けて配置されている。この場合、鉄筋部材20の主筋21は、柱体10が外周方向に膨らんで破壊することに対して補強することができる。柱体10は、軸方向に軸力Fが過大にかかると、外周側に膨らむようにして破壊される。よって、主筋21が柱体10の補強帯筋として作用することにより、柱体10は、軸力Fによる破壊に対し補強される。また、図10の柱体10の鉄筋部材20は、柱体10に入力されるせん断力Sによる破壊に対しても対抗することができる。
図11は、実施の形態1に係る柱状構造物100の柱体10の比較例である柱体1010の断面構造の説明図である。比較例に係る柱体1010は、既存柱110を補強する構造として異形棒鋼を組み合わせて構成された鉄筋構造1020により補強されている。鉄筋構造1020は、例えば異形棒鋼を柱体1010の軸方向に沿って配置した補強軸筋1021と、柱体1010の周方向に延びる異形棒鋼である補強帯筋1022とを組み合わせて構成されている。鉄筋構造1020の厚さ寸法H2は、柱体1010の側面の垂直方向に異形棒鋼を2つ重ねて配置して構成されるため、実施の形態1に係る鉄筋部材20の厚さ寸法H1(図12参照)よりも大きい。従って、この鉄筋構造1020を所定の被り厚さの充填部材60で覆った場合、鉄筋構造1020の厚さ寸法H2が大きい分だけ補強構造の厚さ寸法Hも大きくなる。よって、比較例の柱体1010は、実施の形態1に係る柱状構造物100の柱体10よりも太くなる。
図12は、実施の形態1に係る鉄筋部材20と比較例に係る鉄筋構造1020との構造の比較図である。図12(a)は実施の形態1に係る鉄筋部材20の主筋21に垂直な断面を示しており、図12(b)は比較例に係る鉄筋構造1020の補強軸筋1021に垂直な断面を示している。実施の形態1に係る鉄筋部材20は、格子目が形成されたパネル状であり、主筋21及び配力筋22が同一面上に配置されている。従って、鉄筋部材20は、柱体10の全体にわたって厚さ寸法H1となっている。一方、鉄筋構造1020は、補強軸筋1021と補強帯筋1022とが上下に重なって配置されているため、厚さ寸法H2は補強軸筋1021の直径D1と補強帯筋1022の直径D2とを合わせた寸法となる。従って、主筋21及び補強軸筋1021並びに配力筋22及び補強帯筋1022が同等の強度を確保すべく断面積を合わせた場合、実施の形態1に係る鉄筋部材20の厚さ寸法H1は、比較例の鉄筋構造1020の厚さ寸法H2よりも薄くなる。
実施の形態1に係る鉄筋部材20は、比較例に係る鉄筋構造1020よりも薄く構成されるため、強度を確保しつつ柱体10の内部において占める領域を小さくできる。また、鉄筋部材20の厚さH1を抑えることにより、柱状構造物100は、大きさを抑えることができ、充填部材60の使用量も抑えることができる。なお、実施の形態1において、充填部材60は、コンクリート、流動化コンクリート、高強度コンクリート、繊維補強コンクリート、モルタル、無収縮モルタル、繊維補強モルタル又はポリマーセメントモルタルなどにより構成される。
(変形例)
図13及び図14は、実施の形態1に係る柱状構造物100の変形例の斜視図である。鉄筋部材20は、図2及び図3に示す柱状構造物100の柱体10の全周に設置される構造に限定されるものではなく、柱体10に部分的に設置されても効果がある。図13及び図14においては柱体10の背面に壁80が設置されている。このような場合には、柱体10の全周に鉄筋部材20が配置できないため、図13に示す柱状構造物100においては、柱体10の前側の表面15のみに鉄筋部材20が設置されている。
図13に示す柱体10の鉄筋部材20は、表面15に生じる引張応力に対し対抗することができる。つまり、柱体10が表面15に対し垂直方向、即ち図13において手前側からに奥に向かって曲げられた場合に、鉄筋部材20は、補強軸筋となる主筋21が表面15に生じる引張応力に対抗できる。これにより、柱体10は、曲げモーメントに対する強度が向上する。
また、柱体10は、補強帯筋となる配力筋22によりせん断応力に対し対抗するとともに、表面15に充填されたコンクリートなどの充填部材60により断面積が増加する。そのため、柱体10は、せん断力に対する強度が向上する。
図14に示す柱体10は、壁80が設置されている背面側以外の三面に鉄筋部材20が配置されている。図14に示す柱体10は、壁80が延びる方向を向いた側面である表面16及び17にも鉄筋部材20が設置されているため、表面16及び17に生じる引張応力に強度が向上し、せん断力に対しても強度が向上する。
実施の形態2.
実施の形態2に係る柱状構造物100Aは、実施の形態1に係る柱状構造物100に対し鉄筋部材20の端部を下部構造体50に定着させる構造を追加したものである。実施の形態2においては、実施の形態1に対する変更点を中心に説明する。
図15は、実施の形態2に係る柱状構造物100Aの下部構造体50周辺の斜視図である。図15の柱体10は、少なくとも表面の一部に鉄筋部材20が配置されている。柱状構造物100は、鉄筋部材20と平行に延びるアンカー筋40を備える。アンカー筋40は、鉄筋部材20が設置されている下方の下部構造体50に端部40aが固定され、鉄筋部材20と面方向に重なり、充填部材60が充填されることにより、充填部材60を介して鉄筋部材20と接続される。なお、アンカー筋40と鉄筋部材20とは、接着剤又は溶接等により接続されても良い。
アンカー筋40は、下部構造体50に削孔された定着孔53に端部40aが挿入され、定着孔53に定着用充填部材61を充填して固定される。定着用充填部材61は、例えば、エポキシ系樹脂、モルタル、又は無収縮モルタル等によって固定される。
アンカー筋40は、例えば異形棒鋼、ボルト、ねじ、又は加工鉄筋により構成することができる。アンカー筋40は、下部構造体50に一方の端部40aが定着し、他方の端部40bが柱体10に定着することにより、柱体10の接続部11に加わる曲げモーメントにより生じる応力に対抗し、柱体10の強度を向上させることができる。
図15において、アンカー筋40は、既存柱110の表面115に沿った下方に位置する下部構造体50に設けられた定着孔53に固定される。アンカー筋40は、既存柱110の一面のみに設置されているが、側面の全周にわたって設置されていても良い。
図16は、実施の形態2に係る柱状構造物100Bの下部構造体50周辺の斜視図である。図16に示される柱状構造物100Bは、図15の柱状構造物100Aに対しアンカー筋40の形態を変更したものである。柱状構造物100Bは、格子状に形成され、定着孔53に挿入されるアンカー格子筋40Aを備える。アンカー格子筋40Aは、鉄筋部材20と同様に柱体10の軸方向に沿って延びる主筋43と柱体10の周方向に沿って延びる配力筋42とにより格子状に形成されている。
アンカー格子筋40Aは、主筋43の端部41が定着孔53に挿入され、下部構造体50に固定される。主筋43と配力筋42とにより格子状に形成された格子状部45は、鉄筋部材20と面方向に重ねられており、鉄筋部材20と充填部材60を介して接続されている。アンカー格子筋40Aは、配力筋42により格子状に形成されている格子状部45を備えるため、複数の定着孔53に固定された複数の主筋43の端部41に荷重を分散できるため、柱体10の補強効果が高い。
図17は、実施の形態2に係る柱状構造物100Cの下部構造体50周辺の斜視図である。図17に示される柱状構造物100Cは、鉄筋部材220の端部に突出する端部軸筋221を備える。端部軸筋221は、下部構造体50に設置された定着孔53に挿入され、定着用充填部材61により固定される。
端部軸筋221は、例えば図4又は図5に示される鉄筋部材20A及び20Bの端部の配力筋22を一部除去して形成されても良い。
図17に示される鉄筋部材220は、一体に形成された端部軸筋221が直接下部構造体50に定着するため、下部構造体50と鉄筋部材220とが強固に接続され、かつ厚さ方向の寸法も抑えることができる。
実施の形態2においては下部構造体50と柱体10との接続部11における補強構造について説明したが、柱状構造物100A、100B及び100Cは、上部構造体51と柱体10との接続部12においても同様な補強構造を備えていても良い。
実施の形態3.
実施の形態3に係る柱状構造物100は、実施の形態1に係る柱状構造物100に対し鉄筋部材20を柱体10の軸方向に複数並べて設置する場合の一例である。実施の形態3においては、実施の形態1に対する変更点を中心に説明する。
図18は、実施の形態3に係る柱状構造物100の側面図である。実施の形態3に係る柱状構造物100は、柱体10の軸方向に複数の鉄筋部材320A、320B及び320Cが並べられている。複数の鉄筋部材320A、320B及び320Cは、一例として図5に示す展張型の鉄筋部材20Bを用いている。展張型の鉄筋部材20Bは、主筋21に沿った第1方向に荷重が掛かった場合と第1方向に直交する方向に荷重が掛かった場合とでは強度が異なり、第1方向に荷重が掛かった場合の強度が高い。従って、柱体10の部位によって、複数の鉄筋部材320A、320B及び320Cの第1方向を変更して設置することにより、効率よく柱体10を補強できる。
図18においては、下部構造体50に接続されている柱体10の下端部に配置されている鉄筋部材320Aは、主筋21が延びる第1方向を柱体10の軸方向に向けられている。また、鉄筋部材320Aに隣り合って配置されている鉄筋部材320Bは、主筋21が延びる第1方向を柱体10の周方向に向けている。つまり、鉄筋部材320Aは、鉄筋部材320Bに対し第1方向を交差させて(図18においては直交させて)設置されている。
また、図18においては、鉄筋部材320Bに隣り合って配置されている鉄筋部材320Cは、第1方向を柱体10の軸方向に向けて配置されている。つまり、鉄筋部材320Cは、鉄筋部材320Bに対し第1方向を交差させて(図18においては直交させて)設置されている。なお、鉄筋部材320Aを第1鉄筋部材、鉄筋部材320Bを第2鉄筋部材、鉄筋部材320Cを第3鉄筋部材と称する場合がある。
実施の形態3においては、柱状構造物100は、曲げモーメントにより大きな引張応力が掛かりやすい柱体10の下部構造体50及び上部構造体51との接続部11及び12の近傍に鉄筋部材320A及び320Cが配置されている。鉄筋部材320A及び320Cは、強度の高い主筋21を柱体10の軸方向に向けられており、実施の形態3に係る柱体10は、端部において引張応力に対する補強効果が高い。
また、柱状構造物100は、軸力Fを受けて膨らむように変形して破損する柱体10の中央部において鉄筋部材320Bが配置されている。鉄筋部材320Bは、強度の高い主筋21を柱体10の周方向に向けて配置されているため、柱体10の膨らむ変形を抑えることができる。
複数の鉄筋部材320A、320B及び320Cは、互いに端部を重ねて配置して接手部25を形成している。これにより、複数の鉄筋部材320A、320B及び320Cが充填部材60を介して接続されるため、柱体10は、軸方向の全域にわたって補強される。
柱体10の端部に配置される鉄筋部材320A及び320Cは、実施の形態2において説明したように、下部構造体50又は上部構造体51に定着させても良い。例えば、鉄筋部材320Aに下部構造体50に向かって突出する端部軸筋221を設け、端部軸筋221を下部構造体50に定着させてもよい。
実施の形態3においては、柱体10の軸方向に3つの鉄筋部材320を並べているが、柱体10は、さらに多くの鉄筋部材320により補強されていても良いし、例えば鉄筋部材320A及び320Bの2枚により補強されていても良い。また、柱体10は、鉄筋部材320A及び320Cの2枚により端部だけ補強する形態をとることも可能である。
以上に本発明を実施の形態に基づいて説明したが、本発明は上述した実施の形態の構成のみに限定されるものではない。特に構成要素の組み合わせは、実施の形態における組み合わせのみに限定するものではなく、適宜変更することができる。また、いわゆる当業者が必要に応じてなす種々なる変更、応用、利用の範囲をも本発明の要旨(技術的範囲)に含むことを念のため申し添える。
10 柱体、11 接続部、12 接続部、15 表面、16 表面、20 鉄筋部材、20A 鉄筋部材、20B 鉄筋部材、20a 端部、20b 端部、21 主筋、21a 突起、22 配力筋、22a 突起、25 接手部、25A 接手部、25B 接手部、26 段差、27 格子、40 アンカー筋、40A アンカー格子筋、41 端部、42 配力筋、43 主筋、44 他方の端部、45 格子状部、50 下部構造体、51 上部構造体、53 定着孔、60 充填部材、61 定着用充填部材、80 壁、100 柱状構造物、100A 柱状構造物、100B 柱状構造物、100C 柱状構造物、110 既存柱、115 表面、120 軸筋、121 接合部材、121a 突出部、122 接合部材、125 枝部材、160 充填部材、220 鉄筋部材、221 端部軸筋、320 鉄筋部材、320A 鉄筋部材、320B 鉄筋部材、320C 鉄筋部材、420 添接鉄筋部材、1010 柱体、1020 鉄筋構造、1021 補強軸筋、1022 補強帯筋。

Claims (11)

  1. 下部構造体に接続された柱体と、
    前記柱体の表面に沿って配置された鉄筋部材と、
    前記柱体の表面を形成し、前記鉄筋部材を覆う充填部材と、
    下部構造又は上部構造に固定されたアンカー格子筋と、を備え、
    前記鉄筋部材は、
    第1方向に延びる複数の第1主筋と、
    前記第1方向に交差する方向に延び、前記複数の第1主筋の側面同士を接続する第1配力筋と、を備え
    前記鉄筋部材は、鋼板を加工して形成されており、
    前記第1主筋と前記第1配力筋とは、同一面上に配置されており、
    前記アンカー格子筋は、
    前記第1方向に延びる複数の第2主筋と、
    前記第1方向に交差する方向に延び、前記複数の第2主筋の側面同士を接続する第2配力筋と、を備え、
    前記アンカー格子筋は、鋼板を加工して形成されており、
    前記第2主筋と前記第2配力筋とは、同一面上に配置されており、
    前記鉄筋部材は、前記柱体の表面に垂直方向において、前記アンカー格子筋の前記第2主筋及び前記第2配力筋と重ねて配置される、柱状構造物。
  2. 前記鉄筋部材は、
    前記柱体の表面を構成する複数の側面のうち1つの側面に沿って配置される、請求項1に記載の柱状構造物。
  3. 前記鉄筋部材は、
    前記柱体の表面を構成する複数の側面のうち2以上の側面に沿うように折り曲げて配置される、請求項1又は2に記載の柱状構造物。
  4. 前記鉄筋部材は、
    複数の鉄筋部材を含み、
    前記複数の鉄筋部材は、
    前記柱体の軸方向又は周方向に並べて配置される、請求項1~3の何れか1項に記載の柱状構造物。
  5. 前記複数の鉄筋部材は、
    端部から接合部材が突出し、前記接合部材を互いに前記柱体の表面に沿った同一面上に並列させて配置される、請求項4に記載の柱状構造物。
  6. 前記複数の鉄筋部材は、
    前記柱体の表面に垂直方向において端部同士を重ねて配置される、請求項4に記載の柱状構造物。
  7. 前記鉄筋部材は、
    隣合って配置される前記複数の鉄筋部材と、添接鉄筋部材と、を含み、
    前記添接鉄筋部材は、
    前記複数の鉄筋部材のそれぞれの端部に重なり、それぞれの端部に跨がって配置される、請求項4に記載の柱状構造物
  8. 前記鉄筋部材は、
    前記複数の鉄筋部材を含み、前記柱体の表面に沿った方向に突出する接合部材を有し、
    前記複数の鉄筋部材は、
    互いの前記接合部材を嵌合させて配置される、請求項4に記載の柱状構造物。
  9. 前記鉄筋部材の前記第1方向は、
    前記柱体の側面視において前記柱体の軸方向に平行に配置される請求項1~8の何れか1項に記載の柱状構造物。
  10. 前記鉄筋部材の前記第1方向は、
    前記柱体の側面視において、前記柱体の軸方向に直交して配置される、請求項1~8の何れか1項に記載の柱状構造物。
  11. 下部構造又は上部構造に固定され、前記鉄筋部材と平行に延びる棒状のアンカー筋を更に備え、
    前記鉄筋部材は、
    前記アンカー筋と前記柱体の表面に垂直方向に重ねて配置される、請求項1~10の何れか1項に記載の柱状構造物。
JP2021066545A 2021-04-09 2021-04-09 柱状構造物 Active JP7634412B2 (ja)

Priority Applications (1)

Application Number Priority Date Filing Date Title
JP2021066545A JP7634412B2 (ja) 2021-04-09 2021-04-09 柱状構造物

Applications Claiming Priority (1)

Application Number Priority Date Filing Date Title
JP2021066545A JP7634412B2 (ja) 2021-04-09 2021-04-09 柱状構造物

Publications (2)

Publication Number Publication Date
JP2022161605A JP2022161605A (ja) 2022-10-21
JP7634412B2 true JP7634412B2 (ja) 2025-02-21

Family

ID=83658859

Family Applications (1)

Application Number Title Priority Date Filing Date
JP2021066545A Active JP7634412B2 (ja) 2021-04-09 2021-04-09 柱状構造物

Country Status (1)

Country Link
JP (1) JP7634412B2 (ja)

Citations (4)

* Cited by examiner, † Cited by third party
Publication number Priority date Publication date Assignee Title
JP2007009482A (ja) 2005-06-29 2007-01-18 Nittetsu Corrosion Prevention Co Ltd コンクリート構造物の補強構造および補強方法
JP2016102404A (ja) 2013-12-16 2016-06-02 Jfeシビル株式会社 鉄筋コンクリート構造物の補修・補強構造
JP2016117987A (ja) 2014-12-18 2016-06-30 宇部興産株式会社 既存橋脚の補強方法、補強橋脚の製造方法、ポリマーセメントモルタル、及び補強橋脚
JP2018091126A (ja) 2016-12-05 2018-06-14 Jfeシビル株式会社 鉄筋部材、及び、その鉄筋部材を使用した鉄筋コンクリート構造

Family Cites Families (1)

* Cited by examiner, † Cited by third party
Publication number Priority date Publication date Assignee Title
JPH0689582B2 (ja) * 1987-06-05 1994-11-09 大成建設株式会社 網状鉄筋の継手工法

Patent Citations (4)

* Cited by examiner, † Cited by third party
Publication number Priority date Publication date Assignee Title
JP2007009482A (ja) 2005-06-29 2007-01-18 Nittetsu Corrosion Prevention Co Ltd コンクリート構造物の補強構造および補強方法
JP2016102404A (ja) 2013-12-16 2016-06-02 Jfeシビル株式会社 鉄筋コンクリート構造物の補修・補強構造
JP2016117987A (ja) 2014-12-18 2016-06-30 宇部興産株式会社 既存橋脚の補強方法、補強橋脚の製造方法、ポリマーセメントモルタル、及び補強橋脚
JP2018091126A (ja) 2016-12-05 2018-06-14 Jfeシビル株式会社 鉄筋部材、及び、その鉄筋部材を使用した鉄筋コンクリート構造

Also Published As

Publication number Publication date
JP2022161605A (ja) 2022-10-21

Similar Documents

Publication Publication Date Title
KR100797194B1 (ko) 콘크리트 복합 기둥 및 이를 이용한 건축물 시공방법
KR101464866B1 (ko) 반채움 pc 타이앵커 합성보
KR20060024850A (ko) 철골-콘크리트 샌드위치 합성보 및 이를 이용한 고강성합성 구조 시스템
JP7158231B2 (ja) 合成柱及びそれを用いた橋脚、施工方法
KR20130000105A (ko) 내진보강용 슬랩 휨/보 전단 겸용 보강구조
JP2010236217A (ja) 鉄筋コンクリート造の柱梁仕口部の補強構造及びその工法
JP2001262774A (ja) 鋼コンクリート複合構造部材
KR102311223B1 (ko) 다가구 필로티 기둥의 diy 보강용 내진보강 공법
KR100949828B1 (ko) 층고절감형 철골보 및 이를 이용한 철골-콘크리트 합성보
JP7010709B2 (ja) プレハブ構造およびコンクリート構造物の構築方法
KR102496473B1 (ko) 앵커관통홀형 외부 pc 벽패널을 이용한 내진 구조 및 그 시공방법
JP7634412B2 (ja) 柱状構造物
KR102200400B1 (ko) 프리캐스트 세그먼트, 이를 포함하는 기둥 구조물, 이를 이용한 기둥 구조물의 시공 방법
JP4045502B2 (ja) 構造物
JPH0776953A (ja) 制振構造
JP6304914B1 (ja) 既設又は新設の鉄骨構造物の耐震補強構造
JP4285427B2 (ja) 建築物の耐震補強構造
JP2004092248A (ja) アンカー筋の接合金物、接合構造及び接合方法
JP7784910B2 (ja) 柱の補強構造及び柱の補強方法
JP7529813B2 (ja) 構造体とその施工方法
KR102558353B1 (ko) 보-기둥 구조물에 적용되는 합성기둥구조
JP7815737B2 (ja) 接続構造、接続方法及び鉄骨柱
JP6083001B1 (ja) 建造物の補強構造
JP3516927B2 (ja) 耐震補強フレーム
JP6162479B2 (ja) コンクリート梁

Legal Events

Date Code Title Description
A621 Written request for application examination

Free format text: JAPANESE INTERMEDIATE CODE: A621

Effective date: 20240304

A977 Report on retrieval

Free format text: JAPANESE INTERMEDIATE CODE: A971007

Effective date: 20241021

A131 Notification of reasons for refusal

Free format text: JAPANESE INTERMEDIATE CODE: A131

Effective date: 20241022

A521 Request for written amendment filed

Free format text: JAPANESE INTERMEDIATE CODE: A523

Effective date: 20241127

TRDD Decision of grant or rejection written
A01 Written decision to grant a patent or to grant a registration (utility model)

Free format text: JAPANESE INTERMEDIATE CODE: A01

Effective date: 20250204

A61 First payment of annual fees (during grant procedure)

Free format text: JAPANESE INTERMEDIATE CODE: A61

Effective date: 20250210

R150 Certificate of patent or registration of utility model

Ref document number: 7634412

Country of ref document: JP

Free format text: JAPANESE INTERMEDIATE CODE: R150