JP7401351B2 - 部材、光学機器、塗工液、部材の製造方法、多孔質膜 - Google Patents
部材、光学機器、塗工液、部材の製造方法、多孔質膜 Download PDFInfo
- Publication number
- JP7401351B2 JP7401351B2 JP2020038643A JP2020038643A JP7401351B2 JP 7401351 B2 JP7401351 B2 JP 7401351B2 JP 2020038643 A JP2020038643 A JP 2020038643A JP 2020038643 A JP2020038643 A JP 2020038643A JP 7401351 B2 JP7401351 B2 JP 7401351B2
- Authority
- JP
- Japan
- Prior art keywords
- silicon oxide
- fluorine
- oxide particles
- organic acid
- containing organic
- Prior art date
- Legal status (The legal status is an assumption and is not a legal conclusion. Google has not performed a legal analysis and makes no representation as to the accuracy of the status listed.)
- Active
Links
Images
Landscapes
- Surface Treatment Of Optical Elements (AREA)
- Laminated Bodies (AREA)
- Studio Devices (AREA)
- Camera Bodies And Camera Details Or Accessories (AREA)
Description
また、本発明に係る塗工液は、多孔質層を形成するための塗工液であって、酸化ケイ素粒子と無機バインダーと有機溶媒とを含み、前記酸化ケイ素粒子は、表面に含フッ素有機酸を有することを特徴とする。
(多孔質層)
図1は、本発明の光学部材の一実施形態を示す模式図である。同図において、本発明に係る光学部材1は、基材2上に反射防止膜として多孔質層3が形成された光学部材1である。多孔質層3は、酸化ケイ素粒子4と無機バインダー5とを有する。酸化ケイ素粒子4は、表面に含フッ素有機酸7を有する。また、酸化ケイ素粒子4は、基材2表面に対して複数段積み重なって形成された層を構成していることが好ましい。
フッ素数が5未満であると、塗工液中の酸化ケイ素粒子4の分散性は向上させることができても、Si-OH同士の反応促進が不十分であるため、塗膜形成時の酸化ケイ素粒子4を整列して堆積させた状態で塗膜化させることが困難であり、散乱が悪化する傾向にある。フッ素数が11を超えると、塗工液の塗布性や経時安定性が悪化することにより、得られた多孔質層3の外観品位が低下してしまう場合がある。また、フッ素数が11を超えると、CF基の反撥力が大きくなりすぎて、塗膜形成時の酸化ケイ素粒子4が均一に配列せず、散乱や膜強度が悪化する傾向にある。
本発明に係る塗工液は、多孔質層3を形成する塗工液であって、表面に含フッ素有機酸7を有する酸化ケイ素粒子4、無機バインダー5および有機溶媒を含んでいる。
本発明の光学部材1の製造方法は、基材2の上に、多孔質層3を形成する塗工液を塗布して塗膜を形成する工程と、塗膜が形成された基材1を、乾燥および/または焼成して多孔質層を形成する工程と、を有している。
本発明の光学部材は、各種光学レンズ、マイクロレンズ、液晶パネル用ガラスとして使用でき、本発明の光学部材を備える光学機器は、撮像機器や液晶プロジェクター、撮像センサー、液晶パネルなどに応用可能である。
本発明の光学機器とは、筐体と、筐体内に複数のレンズからなる光学系とを備える光学機器であり、例えば、双眼鏡、顕微鏡、半導体露光装置、交換レンズ等、本発明の光学部材を含む光学系を備える機器のことをいう。あるいは、本発明の光学部材を通過した光によって像を生成する機器、いわゆるカメラの交換レンズのことをいう。
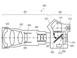
被写体からの光は、レンズ鏡筒401の筐体420内の撮影光学系の光軸上に配置された複数のレンズ403、405などからなる光学系を通過し、撮像素子に受光される。本発明の光学部材は、例えばレンズ403など、光学系を構成するレンズとして配置される。
多孔質層を形成するための塗工液の塗布性の評価は以下のように行った。ガラス基板(φ30mm、厚み1mmの片面が研磨された合成石英)上の研磨面側に多孔質層が約120nmの厚みになるように塗工液を滴下しスピンコーターにて成膜した際、多孔質層上に不良が発生していないか外観評価を行った。
A:塗工性が非常に良好
B:塗工性が良好
C:塗工性が普通
D:塗工性が悪い
本発明において、塗工性の評価がA、B、Cの場合は塗工性に問題の無いものとした。
多孔質層の散乱の評価は以下のように行った。まず、多孔質層が形成されたガラス基板(φ30mm、厚み1mmの両面が研磨された合成石英)が常に同じ位置になるように基材ホルダーを設置した。次に基材ホルダーに照度計(T-10M コニカミノルタセンシング社製)を設置し、照度を計測しながら、基材面側に垂直方向からの照度が4000luxとなるように白色光を照射した。次に白色光照射側が多孔質層の成膜面となるように多孔質層が形成されたガラス基板を設置した。設置したガラス基板を45°に傾け、照射面の反対面の法線方向からカメラ(レンズ:EF50mm F2.5 コンパクトマクロ キヤノン株式会社製、カメラ:EOS-70D キヤノン株式会社製)で撮影を行った。カメラの撮影条件は、ISO400、ホワイトバランス晴れ、絞り10、シャッタースピード10秒で行った。撮影を行った画像におけるガラス基材面の700pix×700pixの任意4箇所について平均輝度値を算出したものを散乱値として、散乱の評価を行った。
本発明において、上述した方法にて算出した散乱の値が25以下の塗膜については、低散乱を実現した多孔質層とした。
多孔質層の膜強度の評価は以下のように行った。まず、ガラス基板(φ30mm、厚み1mmの片面が研磨された合成石英)上の研磨面側に多孔質層を成膜し、エタノールを浸み込ませたポリエステルワイパー(テックスワイプ社製 アルファワイパーTX1009)で1000g/cm2の荷重をかけ、多孔質層上を10回往復させた後、多孔質層上に不良が発生していないか外観評価を行った。
A:膜強度が非常に良好な膜
B:膜強度が良好な膜
C:膜強度が普通な膜
D:膜強度が悪い膜
本発明において、膜強度の評価がA、B、Cの場合は膜強度に問題の無い膜とした。
屈折率の評価は以下のように行った。まず、ガラス基板(φ30mm、厚み1mmの片面が研磨された合成石英)上の研磨面側に多孔質層を成膜し、分光エリプソメータ(VASE、ジェー・エー・ウーラム・ジャパン製)を用い、波長380nmから800nmまで測定した。屈折率は波長550nmにおける屈折率とした。屈折率は以下の基準で評価した。
A:1.24以下のもの
B:1.24超1.30以下のもの
C:1.30超のもの
本発明において、屈折率の評価がA、Bの場合は低屈折率な多孔質層として問題の無い膜とした。
実施例1から実施例9における多孔質層を形成する塗工液の作製、多孔質層の形成は下記の方法で行った。
[実施例1]
中空酸化ケイ素粒子のイソプロピルアルコール分散液(日揮触媒化成株式会社製 スルーリア1110、平均粒子径約50nm、シェル厚約10nm、固形分濃度20.5質量%)580gに、1-エトキシ-2-プロパノール(以下、1E2Pと略す)を加えながらイソプロピルアルコールを加熱留去した。固形分濃度19.5質量%となるまでイソプロピルアルコールを留去して、中空酸化ケイ素粒子の1E2P溶媒置換液(以下、溶媒置換液1と称する)610gを調製した。得られた溶媒置換液1に中空酸化ケイ素粒子:含フッ素有機酸(東京化成工業株式会社製 ペンタフルオロプロピオン酸 フッ素数5)成分の比が100/1となるように、含フッ素有機酸を添加し、分散液1を得た。
固形分濃度が4.5質量%になるように、分散液1を乳酸エチルで希釈した後、中空酸化ケイ素粒子:シリカゾル成分の比が100/12となるように、シリカゾル1を添加した。さらに、室温で2時間混合攪拌することで中空酸化ケイ素粒子を含む塗工液1を得た。
溶媒置換液1に中空酸化ケイ素粒子:含フッ素有機酸(東京化成工業株式会社製 ヘプタフルオロ酪酸 フッ素数7)成分の比が100/1となるように、含フッ素有機酸を添加し、分散液2を得た。
溶媒置換液1に中空酸化ケイ素粒子:含フッ素有機酸(東京化成工業株式会社製 ノナフルオロ吉草酸 フッ素数9)成分の比が100/1となるように、含フッ素有機酸を添加し、分散液3を得た。
溶媒置換液1に中空酸化ケイ素粒子:含フッ素有機酸(東京化成工業株式会社製 ウンデカフルオロヘキサン酸 フッ素数11)成分の比が100/2となるように、含フッ素有機酸を添加し、分散液4を得た。
親水性酸化ケイ素粒子の水分散液(扶桑化学工業株式会社製 PL-1、平均粒子径約15nm、長径/短径=2.6、固形分濃度12質量%)500gに、1-メトキシ-2-プロパノール(以下、PGMEと略す)を加えながら水を加熱留去した。固形分濃度17質量%となるまで水を留去して、親水性酸化ケイ素粒子のPGME溶媒置換液(以下、溶媒置換液2と称する)350gを調製した。得られた溶媒置換液2に親水性酸化ケイ素粒子:含フッ素有機酸(東京化成工業株式会社製 ウンデカフルオロヘキサン酸 フッ素数11)成分の比が100/3となるように、含フッ素有機酸を添加し、分散液5を得た。
固形分濃度が4.5質量%になるように、分散液5を1-プロポキシ-2-プロパノールで希釈した後、親水性酸化ケイ素粒子:シリカゾル成分の比が100/12となるように、シリカゾル2を添加した。さらに、室温で2時間混合攪拌することで親水性酸化ケイ素粒子連結体を含む塗工液5を得た。
溶媒置換液2に親水性酸化ケイ素粒子:含フッ素有機酸(東京化成工業株式会社製 ウンデカフルオロヘキサン酸 フッ素数11)成分の比が100/8となるように、含フッ素有機酸を添加し、分散液6を得た。
溶媒置換液1に中空酸化ケイ素粒子:含フッ素有機酸(東京化成工業株式会社製 ヘプタフルオロ酪酸 フッ素数7)成分の比が100/0.2となるように、含フッ素有機酸を添加し、分散液7を得た。
溶媒置換液1に中空酸化ケイ素粒子:含フッ素有機酸(東京化成工業株式会社製 ヘプタフルオロ酪酸 フッ素数7)成分の比が100/0.1となるように、含フッ素有機酸を添加し、分散液8を得た。
溶媒置換液1に中空酸化ケイ素粒子:含フッ素有機酸(東京化成工業株式会社製 ヘプタフルオロ酪酸 フッ素数7)成分の比が100/0.05となるように、含フッ素有機酸を添加し、分散液9を得た。
溶媒置換液1に中空酸化ケイ素粒子:無機酸(東京化成工業株式会社製 塩酸フッ素数0)成分の比が100/1となるように、無機酸を添加し、分散液10を得た。
固形分濃度が4.5質量%になるように、溶媒置換液1を乳酸エチルで希釈し、分散液11を得た後、中空酸化ケイ素粒子:シリカゾル成分の比が100/12となるように、シリカゾル1を添加した。さらに、室温で2時間混合攪拌することで中空酸化ケイ素粒子を含む塗工液11を得た。
溶媒置換液2に親水性酸化ケイ素粒子:含フッ素有機酸(東京化成工業株式会社製 ジフルオロ酢酸 フッ素数2)成分の比が100/0.05となるように、含フッ素有機酸を添加し、分散液12を得た。
固形分濃度が4.5質量%になるように、溶媒置換液2を1-プロポキシ-2-プロパノールで希釈した後、親水性酸化ケイ素粒子:シリカゾル成分の比が100/12となるように、シリカゾル2を添加した。さらに、室温で2時間混合攪拌することで親水性酸化ケイ素粒子の連結体を含む塗工液12を得た。
溶媒置換液1に中空酸化ケイ素粒子:含フッ素有機酸(東京化成工業株式会社製 2,2,3,3-テトラフルオロプロピオン酸 フッ素数4)成分の比が100/0.1となるように、含フッ素有機酸を添加し、分散液13を得た。
溶媒置換液1に中空酸化ケイ素粒子:含フッ素有機酸(東京化成工業株式会社製 ドデカフルオロスベリン酸 フッ素数12)成分の比が100/1となるように、含フッ素有機酸を添加し、分散液14を得た。
溶媒置換液1に中空酸化ケイ素粒子:含フッ素有機酸(東京化成工業株式会社製 トリデカフルオロヘプタン酸 フッ素数13)成分の比が100/9となるように、含フッ素有機酸を添加し、分散液15を得た。
比較例2の塗工液11は塗工時にリング状の不良や滴下痕が目立ち、スジ状の不良も放射状に多く発生したことから塗工性に問題があることが分かった。無機酸は塗工液中の酸化ケイ素粒子を分散させることはできても、塗膜形成時に酸化ケイ素粒子の分散状態を維持させることが難しく、成膜工程において粒子凝集が多く発生していることが推定される。また、比較例3、4の塗工液12、13も析出物や異物の混入が原因と想定されるスジ状の不良が多く発生しており、塗膜を拭き上げた際にその不良を起点として線状のキズが入り易いことがわかった。
2…基材
3…多孔質層
4…酸化ケイ素粒子
5…無機バインダー
6…空隙
7…含フッ素有機酸
400…撮像装置
401…レンズ鏡筒
402…カメラ本体
403,405…レンズ
404…内筒
406…絞り
407…主ミラー
408…サブミラー
409…シャッタ
410…撮像素子
411…プリズム
412…ファインダレンズ
413…AFユニット
420…筐体
421…カメラ本体の筐体
440…主ミラーホルダ
Claims (26)
- 基材上に、表面に1分子中のフッ素原子数が5以上11以下である含フッ素有機酸が付加された酸化ケイ素粒子の複数が無機バインダーで結合された多孔質層を有する部材。
- 前記含フッ素有機酸は、前記酸化ケイ素粒子に対して0.1phr以上8phr以下で含有されることを特徴とする請求項1に記載の部材。
- 前記含フッ素有機酸は、酸解離定数が0pKa以上0.5pKa以下であることを特徴とする請求項1または2に記載の部材。
- 前記含フッ素有機酸は、分子量が100以上360以下であることを特徴とする請求項1から3のいずれか一項に記載の部材。
- 前記無機バインダーは、酸化ケイ素バインダーであることを特徴とする請求項1から4のいずれか一項に記載の部材。
- 前記基材はガラス又は樹脂である請求項1から5のいずれか一項に記載の部材。
- 筐体と、該筐体内に複数のレンズからなる光学系と、を備える光学機器であって、
前記レンズが請求項1から6のいずれか一項に記載の部材であることを特徴とする光学機器。 - 前記光学機器は、前記光学系を通過した光を受光する撮像素子をさらに備える撮像装置であることを特徴とする請求項7に記載の光学機器。
- 前記撮像装置がカメラであることを特徴とする請求項8に記載の光学機器。
- 多孔質層を形成するための塗工液であって、表面に1分子中のフッ素原子数が5以上11以下である含フッ素有機酸が付加された酸化ケイ素粒子と無機バインダーと有機溶媒とを含む塗工液。
- 前記含フッ素有機酸の1分子中のフッ素原子数は、5以上11以下の範囲であることを特徴とする請求項10に記載の塗工液。
- 前記含フッ素有機酸は、前記酸化ケイ素粒子に対して0.1phr以上8phr以下で含有されることを特徴とする請求項10または11に記載の塗工液。
- 前記含フッ素有機酸は、酸解離定数が0pKa以上0.5pKa以下であることを特徴とする請求項10から12のいずれか一項に記載の塗工液。
- 前記含フッ素有機酸は、分子量が100以上360以下であることを特徴とする請求項10から13のいずれか一項に記載の塗工液。
- 酸化ケイ素粒子は、中空粒子または鎖状粒子であることを特徴とする請求項10から14のいずれか一項に記載の塗工液。
- 前記無機バインダーは、酸化ケイ素オリゴマーであることを特徴とする請求項10から15のいずれか一項に記載の塗工液。
- 前記無機バインダーは、前記酸化ケイ素粒子に対して、1.0phr以上20phr以下で含有されることを特徴とする請求項10から16のいずれか一項に記載の塗工液。
- 複数の酸化ケイ素粒子が無機バインダーで結合された多孔質層を有する部材の製造方法であって、
基材の上に、表面に1分子中のフッ素原子数が5以上11以下である含フッ素有機酸が付加された酸化ケイ素粒子と無機バインダーと有機溶媒とを含む塗工液を塗布して塗膜を形成する工程と、
前記塗膜を乾燥および/または焼成して多孔質層を形成する工程と、
を有することを特徴とする部材の製造方法。 - 前記含フッ素有機酸の1分子中のフッ素原子数は、5以上11以下の範囲であることを特徴とする請求項18に記載の部材の製造方法。
- 前記含フッ素有機酸は、前記酸化ケイ素粒子に対して0.1phr以上8phr以下で含有されることを特徴とする請求項19に記載の部材の製造方法。
- 前記含フッ素有機酸は、分子量が100以上360以下であることを特徴とする請求項19に記載の部材の製造方法。
- 表面に1分子中のフッ素原子数が5以上11以下である含フッ素有機酸が付加された酸化ケイ素粒子の複数が無機バインダーで結合された多孔質膜。
- 前記含フッ素有機酸は、前記酸化ケイ素粒子に対して0.1phr以上8phr以下で含有されることを特徴とする請求項22に記載の多孔質膜。
- 前記含フッ素有機酸は、酸解離定数が0pKa以上0.5pKa以下であることを特徴とする請求項22または23に記載の多孔質膜。
- 前記含フッ素有機酸は、分子量が100以上360以下であることを特徴とする請求項22から24のいずれか一項に記載の多孔質膜。
- 前記無機バインダーは、酸化ケイ素バインダーであることを特徴とする請求項22から25のいずれか一項に記載の多孔質膜。
Priority Applications (1)
| Application Number | Priority Date | Filing Date | Title |
|---|---|---|---|
| US16/823,824 US12006439B2 (en) | 2019-03-27 | 2020-03-19 | Optical member, optical device and coating liquid |
Applications Claiming Priority (2)
| Application Number | Priority Date | Filing Date | Title |
|---|---|---|---|
| JP2019061171 | 2019-03-27 | ||
| JP2019061171 | 2019-03-27 |
Publications (3)
| Publication Number | Publication Date |
|---|---|
| JP2020166245A JP2020166245A (ja) | 2020-10-08 |
| JP2020166245A5 JP2020166245A5 (ja) | 2023-03-14 |
| JP7401351B2 true JP7401351B2 (ja) | 2023-12-19 |
Family
ID=72716079
Family Applications (1)
| Application Number | Title | Priority Date | Filing Date |
|---|---|---|---|
| JP2020038643A Active JP7401351B2 (ja) | 2019-03-27 | 2020-03-06 | 部材、光学機器、塗工液、部材の製造方法、多孔質膜 |
Country Status (1)
| Country | Link |
|---|---|
| JP (1) | JP7401351B2 (ja) |
Families Citing this family (1)
| Publication number | Priority date | Publication date | Assignee | Title |
|---|---|---|---|---|
| JP7604208B2 (ja) * | 2020-12-11 | 2024-12-23 | キヤノン株式会社 | 光学素子及びそれを備える光学装置 |
Citations (3)
| Publication number | Priority date | Publication date | Assignee | Title |
|---|---|---|---|---|
| JP2016109999A (ja) | 2014-12-10 | 2016-06-20 | キヤノン株式会社 | 光学部材及び光学部材の製造方法 |
| JP2018151484A (ja) | 2017-03-10 | 2018-09-27 | キヤノン株式会社 | 光学部材及び光学部材の製造方法 |
| JP2019035847A (ja) | 2017-08-15 | 2019-03-07 | キヤノン株式会社 | 光学素子、光学系、撮像装置、および、光学素子の製造方法 |
-
2020
- 2020-03-06 JP JP2020038643A patent/JP7401351B2/ja active Active
Patent Citations (3)
| Publication number | Priority date | Publication date | Assignee | Title |
|---|---|---|---|---|
| JP2016109999A (ja) | 2014-12-10 | 2016-06-20 | キヤノン株式会社 | 光学部材及び光学部材の製造方法 |
| JP2018151484A (ja) | 2017-03-10 | 2018-09-27 | キヤノン株式会社 | 光学部材及び光学部材の製造方法 |
| JP2019035847A (ja) | 2017-08-15 | 2019-03-07 | キヤノン株式会社 | 光学素子、光学系、撮像装置、および、光学素子の製造方法 |
Also Published As
| Publication number | Publication date |
|---|---|
| JP2020166245A (ja) | 2020-10-08 |
Similar Documents
| Publication | Publication Date | Title |
|---|---|---|
| JP7118615B2 (ja) | 光学素子、光学系および撮像装置 | |
| US12006439B2 (en) | Optical member, optical device and coating liquid | |
| JP7187631B2 (ja) | 光学部材及び光学部材の製造方法 | |
| US20240417317A1 (en) | Member with porous layer and coating liquid for forming porous layer | |
| JP6903994B2 (ja) | 光学素子及びその製造方法 | |
| JP7471892B2 (ja) | 光学部材及び光学部材の製造方法 | |
| JP2013033124A (ja) | 光学素子、それを用いた光学系および光学機器 | |
| US20230339817A1 (en) | Article including porous layer containing inorganic particles,and coating liquid for forming porous layer containinginorganic particles | |
| JP4760237B2 (ja) | 光学部品及びそれを用いた投射型画像表示装置 | |
| US10234600B2 (en) | Optical member, method for manufacturing optical member, and optical device | |
| US10459123B2 (en) | Optical member, image pickup apparatus, and method for manufacturing optical member | |
| US7616380B2 (en) | Optical part and projection type display apparatus using same | |
| JP7401351B2 (ja) | 部材、光学機器、塗工液、部材の製造方法、多孔質膜 | |
| JP2020007382A (ja) | コーティング組成物とその製造方法、および光学部材、ならびに撮像装置 | |
| JP7322107B2 (ja) | 多孔質層を有する部材および多孔質層を形成するための塗工液 | |
| JP4811081B2 (ja) | 光学部品及びそれを用いた投射型画像表示装置 | |
| JP7638672B2 (ja) | 光学部材、光学機器、撮像装置、および光学部材の製造方法 | |
| JP2024066464A (ja) | 光干渉層を有する部材およびその製造方法 | |
| JP7458734B2 (ja) | 光学部材および光学部材の製造方法 | |
| WO2024095908A1 (ja) | 光干渉層を有する部材および光学機器 | |
| JP2024065684A (ja) | 光干渉層を有する部材およびその製造方法 | |
| JP2025182654A (ja) | 多孔質膜形成用塗工液及び多孔質膜 | |
| WO2025254027A1 (ja) | 多孔質膜形成用塗工液及び多孔質膜 | |
| JP2015011163A (ja) | 光学部材及び撮像装置 |
Legal Events
| Date | Code | Title | Description |
|---|---|---|---|
| RD01 | Notification of change of attorney |
Free format text: JAPANESE INTERMEDIATE CODE: A7421 Effective date: 20220630 |
|
| A521 | Request for written amendment filed |
Free format text: JAPANESE INTERMEDIATE CODE: A523 Effective date: 20230303 |
|
| A621 | Written request for application examination |
Free format text: JAPANESE INTERMEDIATE CODE: A621 Effective date: 20230303 |
|
| A977 | Report on retrieval |
Free format text: JAPANESE INTERMEDIATE CODE: A971007 Effective date: 20230929 |
|
| A131 | Notification of reasons for refusal |
Free format text: JAPANESE INTERMEDIATE CODE: A131 Effective date: 20231003 |
|
| A521 | Request for written amendment filed |
Free format text: JAPANESE INTERMEDIATE CODE: A523 Effective date: 20231025 |
|
| TRDD | Decision of grant or rejection written | ||
| A01 | Written decision to grant a patent or to grant a registration (utility model) |
Free format text: JAPANESE INTERMEDIATE CODE: A01 Effective date: 20231107 |
|
| A61 | First payment of annual fees (during grant procedure) |
Free format text: JAPANESE INTERMEDIATE CODE: A61 Effective date: 20231207 |
|
| R151 | Written notification of patent or utility model registration |
Ref document number: 7401351 Country of ref document: JP Free format text: JAPANESE INTERMEDIATE CODE: R151 |
