JP7378708B2 - 硬貨捕集部材を備えた洗濯機用排水配管 - Google Patents

硬貨捕集部材を備えた洗濯機用排水配管 Download PDF

Info

Publication number
JP7378708B2
JP7378708B2 JP2019238971A JP2019238971A JP7378708B2 JP 7378708 B2 JP7378708 B2 JP 7378708B2 JP 2019238971 A JP2019238971 A JP 2019238971A JP 2019238971 A JP2019238971 A JP 2019238971A JP 7378708 B2 JP7378708 B2 JP 7378708B2
Authority
JP
Japan
Prior art keywords
washing machine
drainage
collecting member
coin collecting
coin
Prior art date
Legal status (The legal status is an assumption and is not a legal conclusion. Google has not performed a legal analysis and makes no representation as to the accuracy of the status listed.)
Active
Application number
JP2019238971A
Other languages
English (en)
Other versions
JP2021107641A (ja
Inventor
大輔 服部
Original Assignee
丸一株式会社
Priority date (The priority date is an assumption and is not a legal conclusion. Google has not performed a legal analysis and makes no representation as to the accuracy of the date listed.)
Filing date
Publication date
Application filed by 丸一株式会社 filed Critical 丸一株式会社
Priority to JP2019238971A priority Critical patent/JP7378708B2/ja
Publication of JP2021107641A publication Critical patent/JP2021107641A/ja
Application granted granted Critical
Publication of JP7378708B2 publication Critical patent/JP7378708B2/ja
Active legal-status Critical Current
Anticipated expiration legal-status Critical

Links

Images

Landscapes

  • Sink And Installation For Waste Water (AREA)
  • Detail Structures Of Washing Machines And Dryers (AREA)

Description

本発明は、洗濯機から排水される排水中に混入した硬貨を捕集する硬貨捕集部材を備えた洗濯機用排水配管に関する。
従来から洗濯機から排水される排水は、洗濯機から延びる排水ホースや排水エルボ部材などを介して排水トラップである排水装置へと排水されるが、洗濯機からの排水は洗剤の泡が混ざっており、泡が排水装置から逆流することを防止するため、排水ガイド管を備えた排水管を排水装置内の封水に配置することで、泡の逆流を防止している技術があった。(特許文献1)
また、このほかに、従来から洗濯機から延びる排水ホースと排水装置を脱着自在に接続する為に、排水ホースと排水装置に接続されたエルボ部材とをアタッチメント部材により脱着可能に接続し、当該アタッチメント部材を使用者が脱着することで排水ホースとエルボ部材を簡単に分離・接続させることが出来るようにした技術がある。この技術は、排水ホース内部やエルボ部材内部を清掃したり、排水管内部がゴミなどで詰まったりした場合にはアタッチメント部材を脱着させて排水ホースとエルボ部材を分離し、専門業者ではない使用者でも簡単に清掃やメンテナンスを可能とする技術があった。(特許文献2)
実開昭62-44980 特開2019-187630
使用者が衣服を洗濯する場合に、衣服のポケットに硬貨等の異物が入ったままの状態で洗濯が行われることは比較的頻繁にあるが、これら硬貨が洗濯機による洗濯時に排水に混入して排水口へ流出すると、排水管内部に硬貨が詰まることがある。
これは洗濯機排水流路の内部に縮径する部分があるため、当該縮径部の内径よりも大径な硬貨が縮径部に引っ掛かることで発生する。
なお、縮径部は、排水管の一方の管体を他方の管体に挿入して接続する手法で接続することで、内嵌めされた方の端部が他方の管体の内径よりも小径になる部分や、排水管内径が同径同士の管体を接続する場合にアダプタやソケットを介して接続する場合に当該アダプタやソケットの内径が排水管内径よりも小径になる部分など、必要として備えられるものではなく、結果的に生じるものである。
特に、図5(b)の破線で示したように、排水管内部で硬貨の図柄面が排水管の管軸方向に直交し、かつ硬貨の側面の円周部分が縮径部に当接するように硬貨が引っ掛かると、排水管内部が隙間なく完全に閉塞することとなる(以下、当該詰まり現象のことを「管軸方向に対し平面で詰まる」と記載)。このような事態が発生すると排水を通常に行うことができず、最悪の場合には室内側に排水が逆流するようなことがあった。
また、特許文献1における技術では、排水中の泡が防水パン上に逆流することを防ぐため洗濯機用排水流路の途中に排水エルボであったり排水ガイド管が構成されているために、洗濯機用排水流路中に縮径部が複数形成されてしまう。このように縮径部が複数構成されると当然ながら硬貨が排水中に混入すると当該縮径部に引っ掛かってしまう可能性が高まる。しかしながら、排水エルボであったり排水ガイド管は、排水中に泡が混入することが多い洗濯機排水には採用すべき構成であり、当該構成を省くようなことはできない。
また、特許文献2における技術では、エルボ部材と排水ホースをアタッチメント部材によって容易に脱着できるようし、使用者が簡単に清掃できるように構成されれているものの、排水管内部に硬貨が詰まった場合には、どの部分に硬貨が詰まっているかがわからない為、一般使用者が排水管内部の硬貨を取り除くことは非常に難しく、排水管内部が詰まった場合には専門業者を呼ぶ必要があった。
以上から、本願は洗濯排水経路のいずれかに硬貨が詰まって排水を妨げ、室内への逆流が発生することを防止し、かつ、仮に効果が排水中に混入していたとしても捕集することができる上に一般使用者でも簡単に硬貨を洗濯排水経路から取り出すことが可能な硬貨捕集部材を備えた洗濯機用排水配管を提供する。
請求項1に記載の本発明は、洗濯機5からの排水を下水へと排水する排水装置1と、
前記洗濯機5からの排水を前記排水装置1へと排水する洗濯機排水流路2と、
前記洗濯機排水流路2内部に、排水中に混入した硬貨7を捕集する硬貨捕集部材4を構成し
前記洗濯機排水流路2はホース体から成る洗濯機管体21と、前記洗濯機管体21の下流側において前記洗濯機用管体21よりも小径となる縮径部3とを有し、
前記硬貨捕集部材4を前記縮径部3内又は前記縮径部3の上流側に脱着自在に配置したことを特徴とする硬貨捕集部材を備えた洗濯機用排水配管である。
請求項2に記載の本発明は、前記硬貨捕集部材4は、前記硬貨7の図柄面71が流路に対して垂直以外の角度で捕集されることを特徴とする前記請求項に記載の硬貨捕集部材を備えた洗濯機用排水配管である。
請求項3に記載の本発明は、洗濯機5からの排水を下水へと排水する排水装置1と、
前記洗濯機5からの排水を前記排水装置1へと排水する洗濯機排水流路2と、
前記洗濯機排水流路2又は前記排水装置1中に、排水中に混入した硬貨7を捕集する硬貨捕集部材4を構成し、
前記硬貨捕集部材4を円筒状に形成し、且つ前記硬貨捕集部材4の内周面から中心軸方向に突出する凸部41を構成したことを特徴とする硬貨捕集部材を備えた洗濯機用排水配管である。
請求項4に記載の本発明は、前記硬貨捕集部材4の前記凸部41を軸方向に複数構成するとともに、前記硬貨捕集部材4の上流側端部42から前記各凸部41の上流となる側の端部までの距離を、それぞれ前記凸部41毎に異なるように構成したことを特徴とする前記請求項に記載の硬貨捕集部材を備えた洗濯機用排水配管である。
請求項5に記載の本発明は、前記硬貨捕集部材4の前記凸部41に傾斜面44を構成したことを特徴とする前記請求項3又は請求項に記載の硬貨捕集部材を備えた洗濯機用排水配管である。
請求項1の発明は、洗濯機排水流路2又は排水装置1中に排水中に混入した硬貨7を捕集する硬貨捕集部材4を構成したことから、洗濯排水に硬貨7が混入した場合には、排水経路中に硬貨7が詰まってしまうことがない。また、硬貨捕集部材4を備えることから、排水経路中の任意の箇所に捕集部材を配置できるので、予め捕集部材が配置されている部分を表示することによって使用者がどこに硬貨7が捕集されているかが理解しやすくなった。
洗濯機管体21の下流側において前記洗濯機用管体21よりも小径となる縮径部3が備えられる場合に、硬貨捕集部材4を縮径部3内又は縮径部3よりも上流側に脱着自在に配置したことにより、縮径部3で効果が詰まる部分より上流で硬貨7を捕集でき、簡単にメンテナンスや清掃が可能となる。
請求項の発明は、硬貨捕集部材4に硬貨7の図柄面71が流路に対して垂直以外の角度で捕集されることにより、硬貨7を捕集しても管軸方向に対し平面で硬貨7がつまるようなことがなく、排水の通水隙間を排水管内部に備えることが出来るので、排水を下流へ流すことができる。
請求項の発明は、硬貨捕集部材4を円筒状に形成し、且つ硬貨捕集部材4の内周面から中心軸方向に突出する凸部41を構成したことにより、硬貨7を捕集しても管軸方向に対し平面で硬貨7がつまるようなことがなく、排水の通水隙間を排水管内部に備えることが出来るので、排水を下流へ流すことができる。
請求項の発明は、硬貨捕集部材4の凸部41bを軸方向に複数構成するとともに、硬貨捕集部材4の上流側端部42から各凸部41bの上流となる側の端部までの距離を、それぞれ凸部41b毎に異なるように構成したことにより、硬貨7を捕集しても管軸方向に対し平面で硬貨7がつまるようなことがなく、排水の通水隙間を排水管内部に備えることが出来るので、排水を下流へ流すことができる。
請求項の発明は、硬貨捕集部材4の凸部41に傾斜面44を構成したことにより、硬貨7を捕集しても管軸方向に対し平面で硬貨7がつまるようなことがなく、排水の通水隙間を排水管内部に備えることが出来るので、排水を下流へ流すことができる。
本発明の硬貨捕集部材を備えた洗濯機用排水配管を示す分解図である。 第一実施例における排水装置及び洗濯機排水流路の断面図である。 第一実施例における洗濯機排水流路の断面図である。 図3の分解図である。 (a)第一実施例における硬貨捕集部材の平面図である。(b)(a)におけるA-A´断面図である。(c)(a)におけるA-B´断面の斜視図である。 (a)第一実施例における硬貨捕集部材に硬貨が捕集された状態を示す平面図である。(b)(a)の斜視図である。 (a)その他の実施例における硬貨捕集部材の平面図である。(b)(a)におけるA-A´断面図である。(c)(a)の斜視図である。 (a)図7に示す実施例における硬貨捕集部材に硬貨が捕集された状態を示す平面図である。(b)(a)の斜視図である。
以下、本発明の実施の形態について図面を用いながら説明する。
本発明の実施形態の硬貨捕集部材4を備えた洗濯機用排水配管は、図1に示すように、電気式の洗濯機5と、洗濯機5から発生する排水に対応する為に設置される排水関連部材に取り付けられる。
洗濯機5は、衣服を機械的に洗濯する為の電気製品である。
本実施例では、洗濯機5は仮に漏水が発生したとしても漏水が階下へ浸水しないように受け止める為の洗濯機用防水パン6の上に載置している。
また、洗濯機5には、洗濯機5中の排水を排水する為の可撓性を有したホース状管体から成る洗濯機管体21が接続されており、当該洗濯機管体21は後述の排水装置1へ接続される。なお、洗濯機5内の排水は下水管へと排水される。
洗濯機用防水パン6は、洗濯機5や洗濯機排水流路2上から漏水があった場合には受水して下水管に排水するための水受けであって、本実施例では洗濯機5の足置き台62と、底面には後述する排水装置1が接続されるための開口61を備える。
排水装置1は、前記洗濯機防水パンの開口61に接続される部材であって、洗濯機用防水パン6からの排水と洗濯機5からの排水を下水へと排水する為の部材である。また、図2のように、下水からの臭気や害虫を室内側へ逆流させないために内部に排水の一部を貯水して封水を備えて排水トラップ機能を排水装置1に備える。また、排水装置1は、排水ガイド管11、防臭筒13、防臭オワン14を内部に備える。
排水装置1は、図2に示すように、上端に排水の入り口である排水口1a、下端に排水口1aの出口である流出口1bを構成して成り、排水口1aは防水パン上の排水と洗濯機5からの排水が排水ガイド管11並びに後述のエルボ部材23を介して排水装置1内へ流入される。流出口1bには下水管が接続される。
防臭オワン14は、排水装置1内部に着脱自在に備えられる椀状部材であって、内部に排水が貯水される。また、防臭オワン14には防臭筒13下端が配置される。
防臭筒13は、下端が防臭オワン14内部に位置される筒状部材であって、上端は排水装置1の入り口に水密的かつ着脱自在に取り付けられる。また、防臭筒13と防臭オワン14は協同して封水を形成しており、当該封水によって下水からの臭気や害虫を室内側へ逆流させない排水トラップ機能を備える。
排水ガイド管11は、後述のエルボ部材23の下流側端部に接続される管体であり、下端側は防臭オワン14内部であって、かつ防臭筒13内周に配置されている。排水ガイド管11の下端は水平方向に向けて突出口を構成しており、この突出口は防臭筒13の外周より外側に配置されることで、排水ガイド管11内の排水は防臭筒13よりも下流側に強制的に排水される。このような排水ガイド管11の構成により、洗濯機排水は排水ガイド管11のみを経て排水されるので、排水中に混入する洗剤の泡は排水装置1の入り口から逆流することなく適切に下流へと排水される。
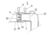
洗濯機排水流路2は、図3及び図4に示すように、洗濯機管体21、ソケット22、エルボ部材23から構成され、内部は洗濯機5からの発生する排水が通過する経路である。
洗濯機管体21は、洗濯機5に接続された可撓性を有した管体から成るホース体であり、下流側端部には後述のソケット22を介してエルボ部材23が接続される。
ソケット22は、円筒状の管体であって、一方の端部を洗濯機管体21に内嵌し、他端が後述のエルボ部材23に内嵌される部材である。両端部はそれぞれ結束帯8などで緊締して水密的に接続されており、使用者によって緊締帯を緊締させて着脱可能に接続している。本実施例では当該ソケット22が縮径部3に相当する。
なお、縮径部3とは洗濯機排水流路2又は排水装置1の不特定領域に有される部分であって、例えば管体の接続箇所となって結果的に内径の一部分が上流側より縮径する部分であったり、エルボ部材23の屈曲部分や排水ガイド管11の経路が上流側より一部縮径されてしまう部分である。また、本実施例では当該縮径部3は硬貨7の外径と同径または硬貨7よりも小径となる部分をいう。また、縮径部3はソケット22を含むソケット22より下流側に存在し、従って、硬貨捕集部部材は縮径部3内もしくは縮径部3よりも上流に配置される。なお、この縮径部3は、排水管の一方の管体を他方の管体に挿入して接続する手法で接続することで、内嵌めされた方の端部が他方の管体の内径よりも小径になる部分や、排水管内径が同径同士の管体を接続する場合にアダプタやソケット22を介して接続する場合に当該アダプタやソケット22の内径が排水管内径よりも小径になる部分など、必要として備えられるものではなく、結果的に生じるものである。
エルボ部材23は、略L字状の管体であって、上流側端部にソケット22を介して洗濯機管体21、下流側端部に排水ガイド管11を接続する。
エルボ部材23内部に洗濯機管体21は内挿されて接続されており、エルボ部材23内側に洗濯機管体21を嵌挿してからエルボ部材23外周を結束帯8によって緊締し水密的かつ着脱自在に接続する。
硬貨7は、金属で鋳造した円形状の貨幣であって、図柄が刻印されている面を図柄面71という。日本国内では複数種類の硬貨7が流通している。また、本実施例では硬貨7と記載しているが、正確には硬貨7と同様な円盤形状をしているもの、例えば衣服のボタンやメダル、海外の硬貨・コイン等も当然に含まれる。
硬貨捕集部材4は、図5及び図6に示すように、硬貨7を捕集する部材であって、上流側端部42に鍔部43を備える円筒体から成り、内周面に凸部41を複数構成する。当該硬貨捕集部材4はソケット22内部に嵌合し脱着自在に取り付けられる。本実施例における硬貨捕集部材4は、ソケット22の内部に嵌合されるが硬貨捕集部材4の鍔部43がソケット22端部に係合するように配置される。
凸部41は、硬貨捕集部材4の下端から内周面に構成され、軸方向に突出する凸部41bと、円周上に沿って突出する凸部41aから成る。
軸方向に内周方向に向かって突出する凸部41bは、硬貨捕集部材4の内周に軸方向に複数構成されている。また、硬貨捕集部材4の上流側端部42から各凸部41bの上流となる側の端部までの距離を、それぞれ凸部41b毎に異なるように構成している為、硬貨7は、硬貨7の図柄面71が流路に対して垂直以外の角度で硬貨捕集部材4に捕集される。また、3つ以上の凸部41bの上流側端部が、硬貨捕集部材4の上流側端部42に対して同じ位置にあると、硬貨7は凸部41bの上流側端部に支えられるようにして硬貨7の図柄面71が管軸方向に対し平面となって詰まる場合があるが、本実施例では、図6に示すように凸部41bの上流側端部が硬貨捕集部材4の上流側端部42に対して同じ位置となる凸部41bは2つまでなので硬貨7は凸部41bの端部に支えられることは無く、硬貨7の図柄面71が管軸方向に対し平面となって詰まるようなことはない。従って、排水管内部において硬貨7は管軸方向に対して傾斜して捕集される為、排水管内部に通水隙間を備えることができ、排水中に硬貨7が混入していても排水を行うことが可能となる。
また、硬貨捕集部材4の円周状に内周方向に向かって突出する凸部41aは、硬貨7の多様な外径でも捕集できることを目的とし、1円や5円などの比較的小径の硬貨7であっても硬貨7の外径が円周状の凸部41aに当接して捕集するために構成されている。
洗濯機5から排水が発生した場合には、洗濯機排水流路2である洗濯機管体21から洗濯機管体21端部に接続されたソケット22内部を通過する。このときに硬貨捕集部材4を排水が通過し、ソケット22端部が接続されているエルボ部材23内へと排水が流入する。エルボ部材23からの排水は、排水ガイド管11を通過しエルボ部材23を通過して排水装置1内に流入する。
洗濯機防水パン上に排水が発生した場合には、排水装置1の排水口1aから排水装置1内に排水が流入し、排水ガイド管11外周と防臭筒13内周の間を通過して、防臭筒13下端と防臭オワン14底面の間を通り、防臭筒13外周と防臭オワン14内側面との間を通って、防臭オワン14上端から排水があふれて排水装置1外へと排水されることとなる。
また、防臭オワン14内に貯水されている排水は、防臭オワン14と防臭筒13によって封水を形成する。
このとき、洗濯機5からの排水に泡が多量に混入していたとしても、泡が混入した排水は排水ガイド管11から直接的に封水に流入されるため、排水中の泡が排水装置1の排水口1aから逆流したり、洗濯機5内へと逆流するようなことがない。
排水中に硬貨7が流入した場合には、図6に示すように洗濯機排水流路2のソケット22に配置された硬貨捕集部材4で捕集される。このとき、硬貨捕集部材4には硬貨捕集部材4の内周に軸方向に構成された凸部41bに硬貨7の外周が当接し、硬貨7の図柄面71が管軸方向と略平行となる向きに傾き、硬貨7が軸方向の凸部41b同士の隙間に嵌る。このとき、硬貨捕集部材4の軸方向の凸部41bは、硬貨捕集部材4の上流側端部42から各凸部41の上流となる側の端部までの距離を、それぞれ凸部41毎に異なるように構成されているので、硬貨捕集部材4の上流側端部42から凸部41bまでの距離が、他の凸部41bの同距離と比較してより大きい側の凸部41b側に傾斜するように捕集される。このように硬貨7の図柄面71が管軸方向に対し平面とならず傾斜して捕集される為、排水管内部が硬貨7でふさがるようなことが無く、排水は円滑に下流へと排水される。
また、硬貨捕集部材4は掃除やメンテナンスが容易に可能である。掃除やメンテナンスを行いたい場合には、図4に示すように洗濯機排水流路2の洗濯機管体21からソケット22を引き抜き、ソケット22内部に取り付けられている硬貨捕集部材4を取り外し、硬貨捕集部材4に捕集された硬貨7を取り出したり、硬貨捕集部材4の清掃を行う。これら硬貨捕集部材4のメンテナンスや清掃が終了すれば、硬貨捕集部材4をソケット22内部に取付け、ソケット22に洗濯機管体21を接続することで洗濯機排水流路2が形成される。このようにすることで、硬貨捕集部材4は一般の使用者であっても簡単に洗濯機排水流路2から脱着できるため、簡単に捕集した硬貨7を取り出したり、硬貨捕集部材4を清掃したりすることが可能となる。
本発明は、上記実施形態に限定されず、種々の変形例を取り得る。以下、本発明の変形例を説明する。なお、各変形例において、同一の付番で示される構成要素は、説明がない限り、同一又は類似の特徴を有し、その説明を一部省略する。
本実施形態の硬貨捕集部材4の凸部41形状は、上記実施形態に限定されない。例えば、図7及び図8のように凸部41自体に傾斜面44を構成することで、硬貨7の図柄面71が凸部41の傾斜面に沿って傾くため、硬貨7の図柄面71が軸方向に対し平面で詰まるようなことがなく、硬貨7が傾斜して硬貨捕集部材4の凸部41と凸部41の間に捕集することができる。また、この傾斜面44は、凸部41の飛び出し側面方向(円周方向)に構成しても良いし、凸部41の飛び出し方向(中心軸方向)に構成しても良い。
本実施形態の洗濯機排水流路2の縮径部3は、上記実施形態に限定されない。例えば、洗濯機管体21の内部に構成されていても良いし、エルボ部材23内部や排水装置1内のうち、配管経路中に縮径する部分があれば良い。例えば、管体同士の差し込み接続の場合、内嵌めされる方の管体の部分で縮径部3が形成される。また、洗濯機排水流路2中に、何らかの理由により縮径部3が形成されているが、当該縮径部3かつ硬貨7外径と同径又は硬貨7外径よりも小径となっていれば本発明の縮径部3として機能する。
本実施形態の洗濯機排水流路2の配管構造は、上記実施形態に限定されない。例えば、ソケット22を用いずに洗濯機管体21とガイド管体を接続したり、またはアダプターを介して接続を行っても良い。
本実施形態の縮径部3は上記実施形態に限定されない。縮径部3を備える洗濯機排水流路2であったり、排水装置1であってもよいし、縮径部3を備えない洗濯機排水流路2や排水装置1でもよい。
本実施形態の硬貨捕集部材4が取り付けられる個所は、上記実施形態に限定されない。例えば、縮径部3内もしくは縮径部3よりも上流であればよく、洗濯機排水流路2中又は排水装置1内のいずれかの箇所であればよい。なお、縮径部3は、排水管の一方の管体を他方の管体に挿入して接続する手法で接続するような場合に発生する内嵌めによって小径になる部分や、排水管同士を接続する為のアダプタやソケット22を介して接続する場合に当該アダプタやソケット22の内径が排水管内径よりも小径になる部分を言い、必要として備えられるものではなく、結果的に備えられるものであればよい。
本実施形態の硬貨捕集部材4が取り付けられる部分の接続・取付構造は、上記実施形態に限定されない。例えば、上記実施例における排水ガイド管11とソケット22は結束帯8で緊締されているが、これを特許文献2で示すようなエルボ部材23と洗濯機管体21をアタッチメント部材によって容易に脱着できるようにしてもよい。このようにすることで、硬貨捕集部材4の設置個所が一般使用者が認知でき、硬貨7を洗濯機排水流路2から簡単に取り出すことが可能となる。
本発明の排水装置1は、上記実施形態の水封トラップの構成に限定されない。例えば、排水ガイド管11を備えない場合であったり、防臭オワン14を備えない水封トラップであってもよい。
本発明の排水装置1は、上記実施形態の洗濯機用防水パン6に取り付けられることに限定されない。例えば、洗濯機用防水パン6が無く床に排水装置1が埋設されているものでも良い。
本発明の硬貨捕集部材4の軸方向に構成された凸部41bにおける上流側端部の形状を、円弧形状としたり、先端が先細となるよう傾斜面を備えたり、尖端形状としても良い。このような形状とすることで、硬貨7が流入した際には硬貨7が一番最初に凸部41b先端に当接したとき、当該先端形状に沿うように硬貨7が一方に傾き、硬貨7の図柄面71が流路に対して垂直以外の角度(傾斜)で硬貨捕集部材4内部に捕集され、硬貨7が平面に詰まるようなことがない。
1 排水装置
1a 排水口
1b 流出口
11 排水ガイド管
12 突出口
13 防臭筒
14 防臭オワン
2 洗濯機排水流路
21 洗濯機管体
22 ソケット
23 エルボ部材
3 縮径部
4 硬貨捕集部材
41 凸部
41a 凸部(円周)
41b 凸部(軸方向)
42 上流側端部
43 鍔部
44 傾斜面
5 洗濯機
6 洗濯機用防水パン
61 開口
62 足置き台
7 硬貨
71 図柄面
8 結束帯

Claims (5)

  1. 洗濯機5からの排水を下水へと排水する排水装置1と、
    前記洗濯機5からの排水を前記排水装置1へと排水する洗濯機排水流路2と、
    前記洗濯機排水流路2内部に、排水中に混入した硬貨7を捕集する硬貨捕集部材4を構成し
    前記洗濯機排水流路2はホース体から成る洗濯機管体21と、前記洗濯機管体21の下流側において前記洗濯機用管体21よりも小径となる縮径部3とを有し、
    前記硬貨捕集部材4を前記縮径部3内又は前記縮径部3の上流側に脱着自在に配置したことを特徴とする硬貨捕集部材を備えた洗濯機用排水配管。
  2. 前記硬貨捕集部材4は、前記硬貨7の図柄面71が流路に対して垂直以外の角度で捕集されることを特徴とする前記請求項に記載の硬貨捕集部材を備えた洗濯機用排水配管。
  3. 洗濯機5からの排水を下水へと排水する排水装置1と、
    前記洗濯機5からの排水を前記排水装置1へと排水する洗濯機排水流路2と、
    前記洗濯機排水流路2又は前記排水装置1中に、排水中に混入した硬貨7を捕集する硬貨捕集部材4を構成し、
    前記硬貨捕集部材4を円筒状に形成し、且つ前記硬貨捕集部材4の内周面から中心軸方向に突出する凸部41を構成したことを特徴とする硬貨捕集部材を備えた洗濯機用排水配管。
  4. 前記硬貨捕集部材4の前記凸部41を軸方向に複数構成するとともに、前記硬貨捕集部材4の上流側端部42から前記各凸部41の上流となる側の端部までの距離を、それぞれ前記凸部41毎に異なるように構成したことを特徴とする前記請求項に記載の硬貨捕集部材を備えた洗濯機用排水配管。
  5. 前記硬貨捕集部材4の前記凸部41に傾斜面44を構成したことを特徴とする前記請求項3又は請求項に記載の硬貨捕集部材を備えた洗濯機用排水配管。
JP2019238971A 2019-12-27 2019-12-27 硬貨捕集部材を備えた洗濯機用排水配管 Active JP7378708B2 (ja)

Priority Applications (1)

Application Number Priority Date Filing Date Title
JP2019238971A JP7378708B2 (ja) 2019-12-27 2019-12-27 硬貨捕集部材を備えた洗濯機用排水配管

Applications Claiming Priority (1)

Application Number Priority Date Filing Date Title
JP2019238971A JP7378708B2 (ja) 2019-12-27 2019-12-27 硬貨捕集部材を備えた洗濯機用排水配管

Publications (2)

Publication Number Publication Date
JP2021107641A JP2021107641A (ja) 2021-07-29
JP7378708B2 true JP7378708B2 (ja) 2023-11-14

Family

ID=76967779

Family Applications (1)

Application Number Title Priority Date Filing Date
JP2019238971A Active JP7378708B2 (ja) 2019-12-27 2019-12-27 硬貨捕集部材を備えた洗濯機用排水配管

Country Status (1)

Country Link
JP (1) JP7378708B2 (ja)

Citations (5)

* Cited by examiner, † Cited by third party
Publication number Priority date Publication date Assignee Title
JP2004305404A (ja) 2003-04-07 2004-11-04 Toshiba Corp 洗濯機
JP2009068192A (ja) 2007-09-11 2009-04-02 Techno Tec:Kk アダプター
JP2013085851A (ja) 2011-10-21 2013-05-13 Hitachi Appliances Inc リント捕集器及びこれを備える洗濯機
JP2018138153A (ja) 2017-02-24 2018-09-06 パナソニックIpマネジメント株式会社 洗濯機
JP2019070267A (ja) 2017-10-10 2019-05-09 株式会社ブリヂストン 排水口メッシュ部材

Family Cites Families (4)

* Cited by examiner, † Cited by third party
Publication number Priority date Publication date Assignee Title
JPS551444U (ja) * 1978-06-19 1980-01-08
JPS55106280U (ja) * 1979-01-16 1980-07-24
JPS5625773U (ja) * 1979-07-31 1981-03-09
JPH0580491U (ja) * 1992-04-08 1993-11-02 三洋電機株式会社 洗濯機等の排水ホース

Patent Citations (5)

* Cited by examiner, † Cited by third party
Publication number Priority date Publication date Assignee Title
JP2004305404A (ja) 2003-04-07 2004-11-04 Toshiba Corp 洗濯機
JP2009068192A (ja) 2007-09-11 2009-04-02 Techno Tec:Kk アダプター
JP2013085851A (ja) 2011-10-21 2013-05-13 Hitachi Appliances Inc リント捕集器及びこれを備える洗濯機
JP2018138153A (ja) 2017-02-24 2018-09-06 パナソニックIpマネジメント株式会社 洗濯機
JP2019070267A (ja) 2017-10-10 2019-05-09 株式会社ブリヂストン 排水口メッシュ部材

Also Published As

Publication number Publication date
JP2021107641A (ja) 2021-07-29

Similar Documents

Publication Publication Date Title
JP2018025073A (ja) 継手、及び排水システム
GB2478146A (en) Filter device
JP7378708B2 (ja) 硬貨捕集部材を備えた洗濯機用排水配管
JP2005146542A (ja) ヘアキャッチャー
JP2003328418A (ja) 排水配管
JP6019281B2 (ja) 排水配管
JP5446123B2 (ja) 排水トラップ
KR20030012778A (ko) 배수트랩
JP2004360263A (ja) 排水トラップ配管
KR20160001344U (ko) 스크린을 구비하는 오수받이 및 상기 오수받이에 착탈 가능하게 장착되는 스크린
JP2015145584A (ja) 排水ますおよびそれを備えた排水システム
KR101384662B1 (ko) 조립식 오수받이
JP6072426B2 (ja) 小便器
KR101100907B1 (ko) 바닥체용 배수 장치
KR101130211B1 (ko) 바닥 배수 트랩
JP6984810B2 (ja) 排水口メッシュ部材
KR102688665B1 (ko) 거름장치가 구비된 세면대
JP6455800B2 (ja) 小便器
JP2023182417A (ja) 排水経路の異物捕集装置
JP6669981B2 (ja) 小便器
JP6607342B2 (ja) 小便器
KR102026124B1 (ko) 측방형 착탈식 트랩 장착 집수정
JP7231149B2 (ja) 手洗器
JP2009256974A (ja) 排水トラップ
JP6019286B2 (ja) 浴室の排水配管

Legal Events

Date Code Title Description
A621 Written request for application examination

Free format text: JAPANESE INTERMEDIATE CODE: A621

Effective date: 20221101

A977 Report on retrieval

Free format text: JAPANESE INTERMEDIATE CODE: A971007

Effective date: 20230719

A131 Notification of reasons for refusal

Free format text: JAPANESE INTERMEDIATE CODE: A131

Effective date: 20230725

A521 Request for written amendment filed

Free format text: JAPANESE INTERMEDIATE CODE: A523

Effective date: 20230921

TRDD Decision of grant or rejection written
A01 Written decision to grant a patent or to grant a registration (utility model)

Free format text: JAPANESE INTERMEDIATE CODE: A01

Effective date: 20231017

A61 First payment of annual fees (during grant procedure)

Free format text: JAPANESE INTERMEDIATE CODE: A61

Effective date: 20231020

R150 Certificate of patent or registration of utility model

Ref document number: 7378708

Country of ref document: JP

Free format text: JAPANESE INTERMEDIATE CODE: R150