JP7136102B2 - 金属端子用接着性フィルム、金属端子用接着性フィルム付き金属端子、当該金属端子用接着性フィルムを用いた電池、及び電池の製造方法 - Google Patents
金属端子用接着性フィルム、金属端子用接着性フィルム付き金属端子、当該金属端子用接着性フィルムを用いた電池、及び電池の製造方法 Download PDFInfo
- Publication number
- JP7136102B2 JP7136102B2 JP2019532591A JP2019532591A JP7136102B2 JP 7136102 B2 JP7136102 B2 JP 7136102B2 JP 2019532591 A JP2019532591 A JP 2019532591A JP 2019532591 A JP2019532591 A JP 2019532591A JP 7136102 B2 JP7136102 B2 JP 7136102B2
- Authority
- JP
- Japan
- Prior art keywords
- adhesive film
- layer
- metal
- packaging material
- metal terminal
- Prior art date
- Legal status (The legal status is an assumption and is not a legal conclusion. Google has not performed a legal analysis and makes no representation as to the accuracy of the status listed.)
- Active
Links
Images
Classifications
-
- H—ELECTRICITY
- H01—ELECTRIC ELEMENTS
- H01M—PROCESSES OR MEANS, e.g. BATTERIES, FOR THE DIRECT CONVERSION OF CHEMICAL ENERGY INTO ELECTRICAL ENERGY
- H01M50/00—Constructional details or processes of manufacture of the non-active parts of electrochemical cells other than fuel cells, e.g. hybrid cells
- H01M50/10—Primary casings; Jackets or wrappings
- H01M50/183—Sealing members
- H01M50/19—Sealing members characterised by the material
- H01M50/193—Organic material
-
- H—ELECTRICITY
- H01—ELECTRIC ELEMENTS
- H01M—PROCESSES OR MEANS, e.g. BATTERIES, FOR THE DIRECT CONVERSION OF CHEMICAL ENERGY INTO ELECTRICAL ENERGY
- H01M50/00—Constructional details or processes of manufacture of the non-active parts of electrochemical cells other than fuel cells, e.g. hybrid cells
- H01M50/10—Primary casings; Jackets or wrappings
- H01M50/172—Arrangements of electric connectors penetrating the casing
- H01M50/174—Arrangements of electric connectors penetrating the casing adapted for the shape of the cells
- H01M50/178—Arrangements of electric connectors penetrating the casing adapted for the shape of the cells for pouch or flexible bag cells
-
- B—PERFORMING OPERATIONS; TRANSPORTING
- B32—LAYERED PRODUCTS
- B32B—LAYERED PRODUCTS, i.e. PRODUCTS BUILT-UP OF STRATA OF FLAT OR NON-FLAT, e.g. CELLULAR OR HONEYCOMB, FORM
- B32B27/00—Layered products comprising a layer of synthetic resin
- B32B27/06—Layered products comprising a layer of synthetic resin as the main or only constituent of a layer, which is next to another layer of the same or of a different material
- B32B27/08—Layered products comprising a layer of synthetic resin as the main or only constituent of a layer, which is next to another layer of the same or of a different material of synthetic resin
-
- B—PERFORMING OPERATIONS; TRANSPORTING
- B32—LAYERED PRODUCTS
- B32B—LAYERED PRODUCTS, i.e. PRODUCTS BUILT-UP OF STRATA OF FLAT OR NON-FLAT, e.g. CELLULAR OR HONEYCOMB, FORM
- B32B27/00—Layered products comprising a layer of synthetic resin
- B32B27/18—Layered products comprising a layer of synthetic resin characterised by the use of special additives
- B32B27/20—Layered products comprising a layer of synthetic resin characterised by the use of special additives using fillers, pigments, thixotroping agents
-
- B—PERFORMING OPERATIONS; TRANSPORTING
- B32—LAYERED PRODUCTS
- B32B—LAYERED PRODUCTS, i.e. PRODUCTS BUILT-UP OF STRATA OF FLAT OR NON-FLAT, e.g. CELLULAR OR HONEYCOMB, FORM
- B32B27/00—Layered products comprising a layer of synthetic resin
- B32B27/28—Layered products comprising a layer of synthetic resin comprising synthetic resins not wholly covered by any one of the sub-groups B32B27/30 - B32B27/42
- B32B27/281—Layered products comprising a layer of synthetic resin comprising synthetic resins not wholly covered by any one of the sub-groups B32B27/30 - B32B27/42 comprising polyimides
-
- B—PERFORMING OPERATIONS; TRANSPORTING
- B32—LAYERED PRODUCTS
- B32B—LAYERED PRODUCTS, i.e. PRODUCTS BUILT-UP OF STRATA OF FLAT OR NON-FLAT, e.g. CELLULAR OR HONEYCOMB, FORM
- B32B27/00—Layered products comprising a layer of synthetic resin
- B32B27/28—Layered products comprising a layer of synthetic resin comprising synthetic resins not wholly covered by any one of the sub-groups B32B27/30 - B32B27/42
- B32B27/283—Layered products comprising a layer of synthetic resin comprising synthetic resins not wholly covered by any one of the sub-groups B32B27/30 - B32B27/42 comprising polysiloxanes
-
- B—PERFORMING OPERATIONS; TRANSPORTING
- B32—LAYERED PRODUCTS
- B32B—LAYERED PRODUCTS, i.e. PRODUCTS BUILT-UP OF STRATA OF FLAT OR NON-FLAT, e.g. CELLULAR OR HONEYCOMB, FORM
- B32B27/00—Layered products comprising a layer of synthetic resin
- B32B27/28—Layered products comprising a layer of synthetic resin comprising synthetic resins not wholly covered by any one of the sub-groups B32B27/30 - B32B27/42
- B32B27/285—Layered products comprising a layer of synthetic resin comprising synthetic resins not wholly covered by any one of the sub-groups B32B27/30 - B32B27/42 comprising polyethers
-
- B—PERFORMING OPERATIONS; TRANSPORTING
- B32—LAYERED PRODUCTS
- B32B—LAYERED PRODUCTS, i.e. PRODUCTS BUILT-UP OF STRATA OF FLAT OR NON-FLAT, e.g. CELLULAR OR HONEYCOMB, FORM
- B32B27/00—Layered products comprising a layer of synthetic resin
- B32B27/30—Layered products comprising a layer of synthetic resin comprising vinyl (co)polymers; comprising acrylic (co)polymers
- B32B27/308—Layered products comprising a layer of synthetic resin comprising vinyl (co)polymers; comprising acrylic (co)polymers comprising acrylic (co)polymers
-
- B—PERFORMING OPERATIONS; TRANSPORTING
- B32—LAYERED PRODUCTS
- B32B—LAYERED PRODUCTS, i.e. PRODUCTS BUILT-UP OF STRATA OF FLAT OR NON-FLAT, e.g. CELLULAR OR HONEYCOMB, FORM
- B32B27/00—Layered products comprising a layer of synthetic resin
- B32B27/32—Layered products comprising a layer of synthetic resin comprising polyolefins
-
- B—PERFORMING OPERATIONS; TRANSPORTING
- B32—LAYERED PRODUCTS
- B32B—LAYERED PRODUCTS, i.e. PRODUCTS BUILT-UP OF STRATA OF FLAT OR NON-FLAT, e.g. CELLULAR OR HONEYCOMB, FORM
- B32B27/00—Layered products comprising a layer of synthetic resin
- B32B27/32—Layered products comprising a layer of synthetic resin comprising polyolefins
- B32B27/325—Layered products comprising a layer of synthetic resin comprising polyolefins comprising polycycloolefins
-
- B—PERFORMING OPERATIONS; TRANSPORTING
- B32—LAYERED PRODUCTS
- B32B—LAYERED PRODUCTS, i.e. PRODUCTS BUILT-UP OF STRATA OF FLAT OR NON-FLAT, e.g. CELLULAR OR HONEYCOMB, FORM
- B32B27/00—Layered products comprising a layer of synthetic resin
- B32B27/36—Layered products comprising a layer of synthetic resin comprising polyesters
-
- B—PERFORMING OPERATIONS; TRANSPORTING
- B32—LAYERED PRODUCTS
- B32B—LAYERED PRODUCTS, i.e. PRODUCTS BUILT-UP OF STRATA OF FLAT OR NON-FLAT, e.g. CELLULAR OR HONEYCOMB, FORM
- B32B27/00—Layered products comprising a layer of synthetic resin
- B32B27/36—Layered products comprising a layer of synthetic resin comprising polyesters
- B32B27/365—Layered products comprising a layer of synthetic resin comprising polyesters comprising polycarbonates
-
- B—PERFORMING OPERATIONS; TRANSPORTING
- B32—LAYERED PRODUCTS
- B32B—LAYERED PRODUCTS, i.e. PRODUCTS BUILT-UP OF STRATA OF FLAT OR NON-FLAT, e.g. CELLULAR OR HONEYCOMB, FORM
- B32B27/00—Layered products comprising a layer of synthetic resin
- B32B27/38—Layered products comprising a layer of synthetic resin comprising epoxy resins
-
- B—PERFORMING OPERATIONS; TRANSPORTING
- B32—LAYERED PRODUCTS
- B32B—LAYERED PRODUCTS, i.e. PRODUCTS BUILT-UP OF STRATA OF FLAT OR NON-FLAT, e.g. CELLULAR OR HONEYCOMB, FORM
- B32B7/00—Layered products characterised by the relation between layers; Layered products characterised by the relative orientation of features between layers, or by the relative values of a measurable parameter between layers, i.e. products comprising layers having different physical, chemical or physicochemical properties; Layered products characterised by the interconnection of layers
- B32B7/04—Interconnection of layers
- B32B7/12—Interconnection of layers using interposed adhesives or interposed materials with bonding properties
-
- C—CHEMISTRY; METALLURGY
- C09—DYES; PAINTS; POLISHES; NATURAL RESINS; ADHESIVES; COMPOSITIONS NOT OTHERWISE PROVIDED FOR; APPLICATIONS OF MATERIALS NOT OTHERWISE PROVIDED FOR
- C09J—ADHESIVES; NON-MECHANICAL ASPECTS OF ADHESIVE PROCESSES IN GENERAL; ADHESIVE PROCESSES NOT PROVIDED FOR ELSEWHERE; USE OF MATERIALS AS ADHESIVES
- C09J151/00—Adhesives based on graft polymers in which the grafted component is obtained by reactions only involving carbon-to-carbon unsaturated bonds; Adhesives based on derivatives of such polymers
- C09J151/06—Adhesives based on graft polymers in which the grafted component is obtained by reactions only involving carbon-to-carbon unsaturated bonds; Adhesives based on derivatives of such polymers grafted on to homopolymers or copolymers of aliphatic hydrocarbons containing only one carbon-to-carbon double bond
-
- C—CHEMISTRY; METALLURGY
- C09—DYES; PAINTS; POLISHES; NATURAL RESINS; ADHESIVES; COMPOSITIONS NOT OTHERWISE PROVIDED FOR; APPLICATIONS OF MATERIALS NOT OTHERWISE PROVIDED FOR
- C09J—ADHESIVES; NON-MECHANICAL ASPECTS OF ADHESIVE PROCESSES IN GENERAL; ADHESIVE PROCESSES NOT PROVIDED FOR ELSEWHERE; USE OF MATERIALS AS ADHESIVES
- C09J7/00—Adhesives in the form of films or foils
- C09J7/30—Adhesives in the form of films or foils characterised by the adhesive composition
-
- H—ELECTRICITY
- H01—ELECTRIC ELEMENTS
- H01M—PROCESSES OR MEANS, e.g. BATTERIES, FOR THE DIRECT CONVERSION OF CHEMICAL ENERGY INTO ELECTRICAL ENERGY
- H01M10/00—Secondary cells; Manufacture thereof
- H01M10/05—Accumulators with non-aqueous electrolyte
- H01M10/052—Li-accumulators
- H01M10/0525—Rocking-chair batteries, i.e. batteries with lithium insertion or intercalation in both electrodes; Lithium-ion batteries
-
- H—ELECTRICITY
- H01—ELECTRIC ELEMENTS
- H01M—PROCESSES OR MEANS, e.g. BATTERIES, FOR THE DIRECT CONVERSION OF CHEMICAL ENERGY INTO ELECTRICAL ENERGY
- H01M50/00—Constructional details or processes of manufacture of the non-active parts of electrochemical cells other than fuel cells, e.g. hybrid cells
- H01M50/10—Primary casings; Jackets or wrappings
- H01M50/183—Sealing members
- H01M50/19—Sealing members characterised by the material
- H01M50/197—Sealing members characterised by the material having a layered structure
-
- H—ELECTRICITY
- H01—ELECTRIC ELEMENTS
- H01M—PROCESSES OR MEANS, e.g. BATTERIES, FOR THE DIRECT CONVERSION OF CHEMICAL ENERGY INTO ELECTRICAL ENERGY
- H01M50/00—Constructional details or processes of manufacture of the non-active parts of electrochemical cells other than fuel cells, e.g. hybrid cells
- H01M50/10—Primary casings; Jackets or wrappings
- H01M50/183—Sealing members
- H01M50/19—Sealing members characterised by the material
- H01M50/198—Sealing members characterised by the material characterised by physical properties, e.g. adhesiveness or hardness
-
- B—PERFORMING OPERATIONS; TRANSPORTING
- B32—LAYERED PRODUCTS
- B32B—LAYERED PRODUCTS, i.e. PRODUCTS BUILT-UP OF STRATA OF FLAT OR NON-FLAT, e.g. CELLULAR OR HONEYCOMB, FORM
- B32B2250/00—Layers arrangement
- B32B2250/03—3 layers
-
- B—PERFORMING OPERATIONS; TRANSPORTING
- B32—LAYERED PRODUCTS
- B32B—LAYERED PRODUCTS, i.e. PRODUCTS BUILT-UP OF STRATA OF FLAT OR NON-FLAT, e.g. CELLULAR OR HONEYCOMB, FORM
- B32B2250/00—Layers arrangement
- B32B2250/24—All layers being polymeric
-
- B—PERFORMING OPERATIONS; TRANSPORTING
- B32—LAYERED PRODUCTS
- B32B—LAYERED PRODUCTS, i.e. PRODUCTS BUILT-UP OF STRATA OF FLAT OR NON-FLAT, e.g. CELLULAR OR HONEYCOMB, FORM
- B32B2264/00—Composition or properties of particles which form a particulate layer or are present as additives
- B32B2264/02—Synthetic macromolecular particles
- B32B2264/0214—Particles made of materials belonging to B32B27/00
- B32B2264/025—Acrylic resin particles, e.g. polymethyl methacrylate or ethylene-acrylate copolymers
-
- B—PERFORMING OPERATIONS; TRANSPORTING
- B32—LAYERED PRODUCTS
- B32B—LAYERED PRODUCTS, i.e. PRODUCTS BUILT-UP OF STRATA OF FLAT OR NON-FLAT, e.g. CELLULAR OR HONEYCOMB, FORM
- B32B2264/00—Composition or properties of particles which form a particulate layer or are present as additives
- B32B2264/02—Synthetic macromolecular particles
- B32B2264/0214—Particles made of materials belonging to B32B27/00
- B32B2264/0257—Polyolefin particles, e.g. polyethylene or polypropylene homopolymers or ethylene-propylene copolymers
-
- B—PERFORMING OPERATIONS; TRANSPORTING
- B32—LAYERED PRODUCTS
- B32B—LAYERED PRODUCTS, i.e. PRODUCTS BUILT-UP OF STRATA OF FLAT OR NON-FLAT, e.g. CELLULAR OR HONEYCOMB, FORM
- B32B2264/00—Composition or properties of particles which form a particulate layer or are present as additives
- B32B2264/10—Inorganic particles
- B32B2264/102—Oxide or hydroxide
-
- B—PERFORMING OPERATIONS; TRANSPORTING
- B32—LAYERED PRODUCTS
- B32B—LAYERED PRODUCTS, i.e. PRODUCTS BUILT-UP OF STRATA OF FLAT OR NON-FLAT, e.g. CELLULAR OR HONEYCOMB, FORM
- B32B2264/00—Composition or properties of particles which form a particulate layer or are present as additives
- B32B2264/10—Inorganic particles
- B32B2264/104—Oxysalt, e.g. carbonate, sulfate, phosphate or nitrate particles
-
- B—PERFORMING OPERATIONS; TRANSPORTING
- B32—LAYERED PRODUCTS
- B32B—LAYERED PRODUCTS, i.e. PRODUCTS BUILT-UP OF STRATA OF FLAT OR NON-FLAT, e.g. CELLULAR OR HONEYCOMB, FORM
- B32B2307/00—Properties of the layers or laminate
- B32B2307/30—Properties of the layers or laminate having particular thermal properties
- B32B2307/306—Resistant to heat
-
- B—PERFORMING OPERATIONS; TRANSPORTING
- B32—LAYERED PRODUCTS
- B32B—LAYERED PRODUCTS, i.e. PRODUCTS BUILT-UP OF STRATA OF FLAT OR NON-FLAT, e.g. CELLULAR OR HONEYCOMB, FORM
- B32B2307/00—Properties of the layers or laminate
- B32B2307/50—Properties of the layers or laminate having particular mechanical properties
- B32B2307/514—Oriented
- B32B2307/518—Oriented bi-axially
-
- B—PERFORMING OPERATIONS; TRANSPORTING
- B32—LAYERED PRODUCTS
- B32B—LAYERED PRODUCTS, i.e. PRODUCTS BUILT-UP OF STRATA OF FLAT OR NON-FLAT, e.g. CELLULAR OR HONEYCOMB, FORM
- B32B2307/00—Properties of the layers or laminate
- B32B2307/70—Other properties
- B32B2307/732—Dimensional properties
-
- B—PERFORMING OPERATIONS; TRANSPORTING
- B32—LAYERED PRODUCTS
- B32B—LAYERED PRODUCTS, i.e. PRODUCTS BUILT-UP OF STRATA OF FLAT OR NON-FLAT, e.g. CELLULAR OR HONEYCOMB, FORM
- B32B2457/00—Electrical equipment
- B32B2457/10—Batteries
-
- C—CHEMISTRY; METALLURGY
- C09—DYES; PAINTS; POLISHES; NATURAL RESINS; ADHESIVES; COMPOSITIONS NOT OTHERWISE PROVIDED FOR; APPLICATIONS OF MATERIALS NOT OTHERWISE PROVIDED FOR
- C09J—ADHESIVES; NON-MECHANICAL ASPECTS OF ADHESIVE PROCESSES IN GENERAL; ADHESIVE PROCESSES NOT PROVIDED FOR ELSEWHERE; USE OF MATERIALS AS ADHESIVES
- C09J2203/00—Applications of adhesives in processes or use of adhesives in the form of films or foils
- C09J2203/33—Applications of adhesives in processes or use of adhesives in the form of films or foils for batteries or fuel cells
-
- C—CHEMISTRY; METALLURGY
- C09—DYES; PAINTS; POLISHES; NATURAL RESINS; ADHESIVES; COMPOSITIONS NOT OTHERWISE PROVIDED FOR; APPLICATIONS OF MATERIALS NOT OTHERWISE PROVIDED FOR
- C09J—ADHESIVES; NON-MECHANICAL ASPECTS OF ADHESIVE PROCESSES IN GENERAL; ADHESIVE PROCESSES NOT PROVIDED FOR ELSEWHERE; USE OF MATERIALS AS ADHESIVES
- C09J2301/00—Additional features of adhesives in the form of films or foils
- C09J2301/10—Additional features of adhesives in the form of films or foils characterized by the structural features of the adhesive tape or sheet
- C09J2301/12—Additional features of adhesives in the form of films or foils characterized by the structural features of the adhesive tape or sheet by the arrangement of layers
- C09J2301/124—Additional features of adhesives in the form of films or foils characterized by the structural features of the adhesive tape or sheet by the arrangement of layers the adhesive layer being present on both sides of the carrier, e.g. double-sided adhesive tape
-
- C—CHEMISTRY; METALLURGY
- C09—DYES; PAINTS; POLISHES; NATURAL RESINS; ADHESIVES; COMPOSITIONS NOT OTHERWISE PROVIDED FOR; APPLICATIONS OF MATERIALS NOT OTHERWISE PROVIDED FOR
- C09J—ADHESIVES; NON-MECHANICAL ASPECTS OF ADHESIVE PROCESSES IN GENERAL; ADHESIVE PROCESSES NOT PROVIDED FOR ELSEWHERE; USE OF MATERIALS AS ADHESIVES
- C09J2423/00—Presence of polyolefin
-
- C—CHEMISTRY; METALLURGY
- C09—DYES; PAINTS; POLISHES; NATURAL RESINS; ADHESIVES; COMPOSITIONS NOT OTHERWISE PROVIDED FOR; APPLICATIONS OF MATERIALS NOT OTHERWISE PROVIDED FOR
- C09J—ADHESIVES; NON-MECHANICAL ASPECTS OF ADHESIVE PROCESSES IN GENERAL; ADHESIVE PROCESSES NOT PROVIDED FOR ELSEWHERE; USE OF MATERIALS AS ADHESIVES
- C09J2467/00—Presence of polyester
- C09J2467/006—Presence of polyester in the substrate
-
- Y—GENERAL TAGGING OF NEW TECHNOLOGICAL DEVELOPMENTS; GENERAL TAGGING OF CROSS-SECTIONAL TECHNOLOGIES SPANNING OVER SEVERAL SECTIONS OF THE IPC; TECHNICAL SUBJECTS COVERED BY FORMER USPC CROSS-REFERENCE ART COLLECTIONS [XRACs] AND DIGESTS
- Y02—TECHNOLOGIES OR APPLICATIONS FOR MITIGATION OR ADAPTATION AGAINST CLIMATE CHANGE
- Y02E—REDUCTION OF GREENHOUSE GAS [GHG] EMISSIONS, RELATED TO ENERGY GENERATION, TRANSMISSION OR DISTRIBUTION
- Y02E60/00—Enabling technologies; Technologies with a potential or indirect contribution to GHG emissions mitigation
- Y02E60/10—Energy storage using batteries
Landscapes
- Chemical & Material Sciences (AREA)
- Chemical Kinetics & Catalysis (AREA)
- Electrochemistry (AREA)
- General Chemical & Material Sciences (AREA)
- Organic Chemistry (AREA)
- Engineering & Computer Science (AREA)
- Materials Engineering (AREA)
- Manufacturing & Machinery (AREA)
- Sealing Battery Cases Or Jackets (AREA)
- Laminated Bodies (AREA)
- Adhesive Tapes (AREA)
- Adhesives Or Adhesive Processes (AREA)
Description
項1. 電池素子の電極に電気的に接続された金属端子と、前記電池素子を封止する包装材料との間に介在される、金属端子用接着性フィルムであって、
前記金属端子用接着性フィルムは、第1ポリオレフィン層、ポリエチレンナフタレートを含む基材フィルム、及び第2ポリオレフィン層をこの順に備えており、
前記基材フィルムは延伸フィルムであり、
前記第1ポリオレフィン層及び前記第2ポリオレフィン層のうち少なくとも一方が、酸変性ポリオレフィンを含んでおり、
フーリエ変換赤外分光法の1回反射ATR法の偏光測定により、前記基材フィルムの表面について、厚さ方向とは垂直方向に、0°から170°まで10°刻みで18方向の赤外吸収スペクトルを取得した場合に、前記18方向それぞれにおいて、当該赤外吸収スペクトルの765cm-1における吸収ピーク強度Y765を、1181cm-1における吸収ピーク強度Y1181で除して値Yを算出し、各値Yのうちの最大値Ymaxを最小値Yminで除して得られる値が、1.0以上1.3以下である、金属端子用接着性フィルム。
項2. 前記基材フィルムの厚さが、10μm以上50μm以下である、項1に記載の金属端子用接着性フィルム。
項3. 前記第1ポリオレフィン層及び前記第2ポリオレフィン層が、酸変性ポリオレフィンを含んでいる、項1または2に記載の金属端子用接着性フィルム。
項4. 前記第1ポリオレフィン層及び前記第2ポリオレフィン層の厚さが、それぞれ、5μm以上80μm以下である、項1~3のいずれかに記載の金属端子用接着性フィルム。
項5. 前記金属端子用接着性フィルムの厚さが20μm以上200μm以下である、項1~4のいずれかに記載の金属端子用接着性フィルム。
項6. 前記包装材料が、少なくとも、基材層、バリア層、及び熱融着性樹脂層をこの順に備える積層体から構成されており、前記熱融着性樹脂層と前記金属端子との間に前記金属端子用接着性フィルムが介在される、項1~5のいずれかに記載の金属端子用接着性フィルム。
項7. 金属端子に、項1~6のいずれかに記載の金属端子用接着性フィルムが取り付けられてなる、金属端子用接着性フィルム付き金属端子。
項8. 少なくとも、正極、負極、及び電解質を備えた前記電池素子と、前記電池素子を封止する前記包装材料と、前記正極及び前記負極のそれぞれに電気的に接続され、前記包装材料の外側に突出した前記金属端子とを備える電池であって、
前記金属端子と前記包装材料との間に、項1~6のいずれかに記載の金属端子用接着性フィルムが介在されてなる、電池。
項9. 少なくとも、正極、負極、及び電解質を備えた前記電池素子と、前記電池素子を封止する前記包装材料と、前記正極及び前記負極のそれぞれに電気的に接続され、前記包装材料の外側に突出した前記金属端子とを備える電池の製造方法であって、
前記金属端子と前記包装材料との間に、項1~6のいずれかに記載の金属端子用接着性フィルムを介在させて、前記電池素子を前記包装材料で封止する工程を備える、電池の製造方法。
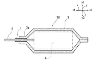
本発明の金属端子用接着性フィルムは、電池素子の電極に電気的に接続された金属端子と、電池素子を封止する包装材料との間に介在されるものである。具体的には、例えば図1から図3に示されるように、本発明の金属端子用接着性フィルム1は、電池素子4の電極に電気的に接続されている金属端子2と、電池素子4を封止する包装材料3との間に介在されている。また、金属端子2は、包装材料3の外側に突出しており、ヒートシールされた包装材料3の周縁部3aにおいて、金属端子用接着性フィルム1を介して、包装材料3に挟持されている。なお、本発明において、包装材料をヒートシールする際の加熱温度としては、通常160~190℃程度の範囲、圧力としては、通常1.0~2.0MPa程度の範囲である。
金属端子用接着性フィルム1において、基材フィルム11は、金属端子用接着性フィルム1の支持体として機能する層である。基材フィルム11は、延伸フィルムである。
フーリエ変換赤外分光法(FT-IR)の1回反射ATR法の偏光測定により、基材フィルムの表面について、厚さ方向とは垂直方向に、0°(前記厚さ方向とは垂直方向の任意の基準方向)から170°まで10°刻みで18方向の赤外吸収スペクトルを取得する。ここで、基材フィルムの当該表面は、第1ポリオレフィン層または第2ポリオレフィン層のいずれかを積層する面である。次に、この18方向それぞれにおいて、当該赤外吸収スペクトルの765cm-1における吸収ピーク強度Y765を、1181cm-1における吸収ピーク強度Y1181で除して値Yを算出する。次に、得られた各値Y(18個の値)のうちの最大値Ymaxを最小値Yminで除して得られる値(表面配向度:Ymax/Ymin)を算出する。赤外吸収スペクトルの具体的な測定条件は、例えば以下の通りである。電池から取得した金属端子用接着性フィルムについて、基材フィルムの表面の表面配向度を測定する場合には、まず、金属端子を介在した周縁熱融着部を切除して、電池用包装材料を除去して、金属端子用接着性フィルムを電池から分離する。次に、第1ポリオレフィン層または第2ポリオレフィン層を剥離除去して、基材フィルムが表出した状態として測定することができる。また、金属端子に金属端子用接着性フィルムが熱シールされたものから取得した金属端子用接着性フィルムについて、基材フィルムの表面の表面配向度を測定する場合には、金属端子から金属端子用接着性フィルムを物理的に分離し、第1ポリオレフィン層または第2ポリオレフィン層を剥離除去して、基材フィルムが表出した状態として測定することができる。金属端子用接着性フィルムの状態から基材フィルムを第1ポリオレフィン層または第2ポリオレフィン層を剥離除去する際には、例えば、加熱したキシレン等の溶剤を使用し第1ポリオレフィンまたは第2ポリオレフィンを溶解させ基材フィルムが表出した状態とすることができる。なお、基材フィルムの表面配向度は、基材フィルムの延伸状態を示す指標であるため、基材フィルムを入手し測定した場合と、電池から取得した金属端子用接着性フィルムから第1ポリオレフィン層または第2ポリオレフィン層を剥離除去して基材フィルムが表出した状態で測定した場合とでは測定値は変わらない。基材フィルムの表面配向度は、基材フィルムを入手して測定しても良い。
分光器:Thermo社製のIS10
付属装置:1回反射ATR付属装置(Seagull)
検出器:MCT(Hg Cd Te)
分解能:8cm-1
IRE:Ge
入射角:30°
偏光子:ワイヤーグリッド、S偏光
ベースライン:1800cm-1から2000cm-1における強度の平均値
吸収ピーク強度Y765:760cm-1から770cm-1の範囲におけるピーク強度の最大値からベースラインの値を引いた値
吸収ピーク強度Y1181:1176cm-1から1186cm-1の範囲におけるピーク強度の最大値からベースラインの値を引いた値
本発明の金属端子用接着性フィルムにおいて、第1及び第2ポリオレフィン層12a,12bのうち少なくとも一方は、酸変性ポリオレフィンにより形成されている。すなわち、本発明においては、第1及び第2ポリオレフィン層12a,12bのうち、一方が酸変性ポリオレフィンにより形成されており、他方がポリオレフィンにより形成されている場合と、第1及び第2ポリオレフィン層12a,12bの両方が酸変性ポリオレフィンにより形成されている場合とがある。酸変性ポリオレフィンは、金属及びポリオレフィンなどの熱融着性樹脂との親和性が高い。また、ポリオレフィンは、ポリオレフィンなどの熱融着性樹脂との親和性が高い。従って、本発明の金属端子用接着性フィルム1においては、酸変性ポリオレフィンにより形成された層を金属端子2側に配置することにより、金属端子用接着性フィルム1と金属端子2及び熱融着性樹脂層35との界面において優れた密着性を発揮することができる。
接着促進剤層(図示を省略する)は、基材フィルム11と第1及び第2ポリオレフィン層12a,12bとを強固に接着することを目的として、必要に応じて設けられる層である。接着促進剤層は、基材フィルム11と第1及び第2ポリオレフィン層12a,12bとの間の一方側のみに設けられていてもよいし、両側に設けられていてもよい。
本発明の金属端子用接着性フィルム1は、金属端子2と包装材料3との間に介在させて使用される。金属端子2(タブ)は、電池素子4の電極(正極または負極)に電気的に接続される導電部材であり、金属材料により構成されている。金属端子2を構成する金属材料としては、特に制限されず、例えば、アルミニウム、ニッケル、銅などが挙げられる。例えば、リチウムイオン電池の正極に接続される金属端子2は、通常、アルミニウムなどにより構成されている。また、リチウムイオン電池の負極に接続される金属端子は、通常、銅、ニッケルなどにより構成されている。
包装材料3としては、少なくとも、基材層31、バリア層33、及び熱融着性樹脂層35をこの順に有する積層体からなる積層構造を有するものが挙げられる。図5に、包装材料3の断面構造の一例として、基材層31、必要に応じて設けられる接着剤層32、バリア層33、必要に応じて設けられる接着層34、及び熱融着性樹脂層35がこの順に積層されている態様について示す。包装材料3においては、基材層31が最外層になり、熱融着性樹脂層35が最内層になる。電池の組み立て時に、電池素子4の周縁に位置する熱融着性樹脂層35同士を接面させて熱融着することにより電池素子4が密封され、電池素子4が封止される。なお、図1から図3には、エンボス成形などによって成形されたエンボスタイプの包装材料3を用いた場合の電池10を図示しているが、包装材料3は成形されていないパウチタイプであってもよい。なお、パウチタイプには、三方シール、四方シール、ピロータイプなどが存在するが、何れのタイプであってもよい。
包装材料3において、基材層31は、包装材料の基材として機能する層であり、最外層側を形成する層である。
包装材料3において、接着剤層32は、基材層31に密着性を付与させるために、必要に応じて、基材層31上に配置される層である。即ち、接着剤層32は、基材層31とバリア層33の間に設けられる。
包装材料において、バリア層33は、包装材料の強度向上の他、電池内部に水蒸気、酸素、光などが侵入することを防止する機能を有する層である。バリア層33は、金属層、すなわち、金属で形成されている層であることが好ましい。バリア層33を構成する金属としては、具体的には、アルミニウム、ステンレス、チタンなどが挙げられ、好ましくはアルミニウムが挙げられる。バリア層33は、例えば、金属箔や金属蒸着膜、無機酸化物蒸着膜、炭素含有無機酸化物蒸着膜、これらの蒸着膜を設けたフィルムなどにより形成することができ、金属箔により形成することが好ましく、アルミニウム箔により形成することがさらに好ましい。包装材料の製造時に、バリア層33にしわやピンホールが発生することを防止する観点からは、バリア層は、例えば、焼きなまし処理済みのアルミニウム(JIS H4160:1994 A8021H-O、JIS H4160:1994 A8079H-O、JIS H4000:2014 A8021P-O、JIS H4000:2014 A8079P-O)など軟質アルミニウム箔により形成することがより好ましい。
包装材料3において、接着層34は、熱融着性樹脂層35を強固に接着させるために、バリア層33と熱融着性樹脂層35の間に、必要に応じて設けられる層である。
包装材料3において、熱融着性樹脂層35は、最内層に該当し、電池の組み立て時に熱融着性樹脂層同士が熱融着して電池素子を密封する層である。
本発明の電池10は、少なくとも、正極、負極、及び電解質を備えた電池素子4と、当該電池素子4を封止する包装材料3と、正極及び負極のそれぞれに電気的に接続され、包装材料3の外側に突出した金属端子2とを備えている。本発明の電池10においては、金属端子2と包装材料3との間に、本発明の金属端子用接着性フィルム1が介在されてなることを特徴とする。すなわち、本発明の電池10は、金属端子2と包装材料3との間に、本発明の金属端子用接着性フィルム1が介在する工程を備える方法により製造することができる。
以下の実施例及び比較例で用いた各基材フィルム(PENフィルム)の表面配向度は、以下の方法により測定した。
まず、フーリエ変換赤外分光法(FT-IR)の1回反射ATR法の偏光測定により、基材フィルムの表面について、厚さ方向とは垂直方向に、0°から170°まで10°刻みで18方向の赤外吸収スペクトルを取得した。ここで、基材フィルムの当該表面は、酸変性ポリオレフィン層を積層する面である。次に、この18方向それぞれにおいて、当該赤外吸収スペクトルの765cm-1における吸収ピーク強度Y765を、1181cm-1における吸収ピーク強度Y1181で除して値Yを算出した。次に、得られた各値Y(18個の値)のうちの最大値Ymaxを最小値Yminで除して得られる値(表面配向度:Ymax/Ymin)を算出した。結果を表2に示す。赤外吸収スペクトルの具体的な測定条件は、以下の通りである。
分光器:Thermo社製のIS10
付属装置:1回反射ATR付属装置(Seagull)
検出器:MCT(Hg Cd Te)
分解能:8cm-1
IRE:Ge
入射角:30°
偏光子:ワイヤーグリッド、S偏光
ベースライン:1800cm-1から2000cm-1における強度の平均値
吸収ピーク強度Y765:760cm-1から770cm-1の範囲におけるピーク強度の最大値からベースラインの値を引いた値
吸収ピーク強度Y1181:1176cm-1から1186cm-1の範囲におけるピーク強度の最大値からベースラインの値を引いた値
<金属端子用接着性フィルムの製造>
表2に記載の表面配向度(Ymax/Ymin)を有する各PEN(ポリエチレンナフタレート)フィルム(厚さ12μm)を、基材フィルムとして用いた。なお、表1には、基材フィルムの表面について0°から170°まで10°刻みで18方向のIRを測定して得られた各値Y(18方向それぞれにおいて、赤外吸収スペクトルの765cm-1における吸収ピーク強度Y765を、1181cm-1における吸収ピーク強度Y1181で除した値)を示す。基材フィルムの一方の面に、マレイン酸変性ポリプロピレン(以下、PPaと呼称する)をTダイ押出機で押出し塗布した(厚さ45μm)。次に、基材フィルムの他方の面にPPaをTダイ押出機で押出し塗布した(厚さ45μm)。その後、エージング処理をして、酸変性ポリオレフィン層/基材フィルム(PEN)/酸変性ポリオレフィン層が積層された金属端子用接着性フィルムを得た。なお、基材フィルムの両面には、コロナ放電処理を施してある。基材フィルムの表面配向度は、基材フィルムの2軸延伸倍率を変化させること等により調整した。
まず、次の手順により、包装材料を作製した。ナイロンフィルムからなる基材層(厚さ25μm)の上に、アルミニウム合金箔(厚さ35μm)をドライラミネート法により積層させた。具体的には、アルミニウム合金箔からなるバリア層の一方面に、2液型ウレタン接着剤(ポリオール化合物と芳香族イソシアネート系化合物)を塗布し、アルミニウム合金箔上に接着剤層(厚さ3μm)を形成した。次いで、アルミニウム合金箔上の接着剤層と基材層を積層した後、エージング処理を実施することにより、基材層/接着剤層/バリア層の積層体を作製した。次に、積層体のバリア層の上に、無水マレイン酸変性ポリプロピレン樹脂からなる接着層(厚さ20μm、金属層側に配置)と、ランダムポリプロピレン樹脂からなる熱融着性樹脂層(厚さ15μm、最内層)を共押し出しすることにより、バリア層上に接着層/熱融着性樹脂層を積層させた。次に、得られた積層体を190℃で2分間加熱することにより、基材層、接着剤層、バリア層、接着層、熱融着性樹脂層がこの順に積層された包装材料を得た。
2 金属端子
3 包装材料
3a 包装材料の周縁部
4 電池素子
10 電池
11 基材フィルム
12a 第1ポリオレフィン層
12b 第2ポリオレフィン層
31 基材層
32 接着剤層
33 バリア層
34 接着層
35 熱融着性樹脂層
Claims (9)
- 電池素子の電極に電気的に接続された金属端子と、前記電池素子を封止する包装材料との間に介在される、金属端子用接着性フィルムであって、
前記金属端子用接着性フィルムは、第1ポリオレフィン層、ポリエチレンナフタレートを含む基材フィルム、及び第2ポリオレフィン層をこの順に備えており、
前記基材フィルムは延伸フィルムであり、
前記第1ポリオレフィン層及び前記第2ポリオレフィン層のうち少なくとも一方が、酸変性ポリオレフィンを含んでおり、
前記第1ポリオレフィン層及び前記第2ポリオレフィン層の厚さが、それぞれ、5μm以上80μm以下であり、
フーリエ変換赤外分光法の1回反射ATR法の偏光測定により、前記基材フィルムの表面について、厚さ方向とは垂直方向に、0°から170°まで10°刻みで18方向の赤外吸収スペクトルを取得した場合に、前記18方向それぞれにおいて、当該赤外吸収スペクトルの765cm-1における吸収ピーク強度Y765 (ここで、吸収ピーク強度Y 765 は、基CHの面外振動に起因する)を、1181cm-1における吸収ピーク強度Y1181 (ここで、吸収ピーク強度Y 1181 は、ナフタレン環の振動に起因する)で除して値Yを算出し、各値Yのうちの最大値Ymaxを最小値Yminで除して得られる値が、1.0以上1.3以下である、金属端子用接着性フィルム。 - 前記基材フィルムの厚さが、10μm以上50μm以下である、請求項1に記載の金属端子用接着性フィルム。
- 前記第1ポリオレフィン層及び前記第2ポリオレフィン層が、酸変性ポリオレフィンを含んでいる、請求項1または2に記載の金属端子用接着性フィルム。
- 前記第1ポリオレフィン層及び前記第2ポリオレフィン層の厚さが、それぞれ、20μm以上80μm以下である、請求項1~3のいずれかに記載の金属端子用接着性フィルム。
- 前記金属端子用接着性フィルムの厚さが20μm以上200μm以下である、請求項1~4のいずれかに記載の金属端子用接着性フィルム。
- 前記包装材料が、少なくとも、基材層、バリア層、及び熱融着性樹脂層をこの順に備える積層体から構成されており、前記熱融着性樹脂層と前記金属端子との間に前記金属端子用接着性フィルムが介在される、請求項1~5のいずれかに記載の金属端子用接着性フィルム。
- 金属端子に、請求項1~6のいずれかに記載の金属端子用接着性フィルムが取り付けられてなる、金属端子用接着性フィルム付き金属端子。
- 少なくとも、正極、負極、及び電解質を備えた前記電池素子と、前記電池素子を封止する前記包装材料と、前記正極及び前記負極のそれぞれに電気的に接続され、前記包装材料の外側に突出した前記金属端子とを備える電池であって、
前記金属端子と前記包装材料との間に、請求項1~6のいずれかに記載の金属端子用接着性フィルムが介在されてなる、電池。 - 少なくとも、正極、負極、及び電解質を備えた前記電池素子と、前記電池素子を封止する前記包装材料と、前記正極及び前記負極のそれぞれに電気的に接続され、前記包装材料の外側に突出した前記金属端子とを備える電池の製造方法であって、
前記金属端子と前記包装材料との間に、請求項1~6のいずれかに記載の金属端子用接着性フィルムを介在させて、前記電池素子を前記包装材料で封止する工程を備える、電池の製造方法。
Applications Claiming Priority (3)
| Application Number | Priority Date | Filing Date | Title |
|---|---|---|---|
| JP2017142710 | 2017-07-24 | ||
| JP2017142710 | 2017-07-24 | ||
| PCT/JP2018/027468 WO2019021997A1 (ja) | 2017-07-24 | 2018-07-23 | 金属端子用接着性フィルム、金属端子用接着性フィルム付き金属端子、当該金属端子用接着性フィルムを用いた電池、及び電池の製造方法 |
Publications (2)
| Publication Number | Publication Date |
|---|---|
| JPWO2019021997A1 JPWO2019021997A1 (ja) | 2020-07-30 |
| JP7136102B2 true JP7136102B2 (ja) | 2022-09-13 |
Family
ID=65040569
Family Applications (1)
| Application Number | Title | Priority Date | Filing Date |
|---|---|---|---|
| JP2019532591A Active JP7136102B2 (ja) | 2017-07-24 | 2018-07-23 | 金属端子用接着性フィルム、金属端子用接着性フィルム付き金属端子、当該金属端子用接着性フィルムを用いた電池、及び電池の製造方法 |
Country Status (3)
| Country | Link |
|---|---|
| EP (1) | EP3660941B1 (ja) |
| JP (1) | JP7136102B2 (ja) |
| WO (1) | WO2019021997A1 (ja) |
Families Citing this family (7)
| Publication number | Priority date | Publication date | Assignee | Title |
|---|---|---|---|---|
| US20230163388A1 (en) * | 2020-04-02 | 2023-05-25 | Dai Nippon Printing Co., Ltd. | Adhesive film for metal terminal, method for producing adhesive film for metal terminal, metal terminal with adhesive film for metal terminal attached thereto, power storage device, and method for producing power storage device |
| CN111678863B (zh) * | 2020-06-10 | 2021-03-09 | 吉林大学 | 一种对接、剪切粘结接头失效强度预测函数优化方法 |
| JP2022021183A (ja) * | 2020-07-21 | 2022-02-02 | 株式会社デンソー | 電気部品ユニット |
| PL4106090T3 (pl) | 2021-01-11 | 2025-07-21 | Lg Energy Solution, Ltd. | Ogniwo akumulatorowe i moduł akumulatorowy zawierający takie ogniwo |
| CN115461916B (zh) * | 2021-02-04 | 2025-07-11 | 株式会社Lg新能源 | 电池电芯和包括该电池电芯的电池模块 |
| CN113097617A (zh) | 2021-03-30 | 2021-07-09 | 宁德新能源科技有限公司 | 电化学装置和电子装置 |
| WO2024060145A1 (zh) * | 2022-09-22 | 2024-03-28 | 宁德新能源科技有限公司 | 二次电池及包含其的电子装置 |
Citations (7)
| Publication number | Priority date | Publication date | Assignee | Title |
|---|---|---|---|---|
| JP2002321319A (ja) | 2001-04-26 | 2002-11-05 | Toyobo Co Ltd | 酸素ガスバリア性を有する多層樹脂フィルム及びその製造方法 |
| JP2004095543A (ja) | 2002-08-06 | 2004-03-25 | Dainippon Printing Co Ltd | リチウム電池金属端子部密封用接着性フィルム |
| JP2011252129A (ja) | 2010-06-04 | 2011-12-15 | Toyobo Co Ltd | 硬化性樹脂積層用二軸延伸ポリエステルフィルム |
| JP2016159428A (ja) | 2015-02-26 | 2016-09-05 | 大和製罐株式会社 | イージーピール性を有するシーラントフィルム及びこれを用いたイージーピール包装袋 |
| JP2016184591A (ja) | 2014-03-20 | 2016-10-20 | 大日本印刷株式会社 | 電池用包装材料、電池、及びこれらの製造方法 |
| JP2017120790A (ja) | 2015-12-29 | 2017-07-06 | 大日本印刷株式会社 | 蓄電デバイス金属端子部密封用接着性フィルム |
| JP2017139120A (ja) | 2016-02-03 | 2017-08-10 | 大日本印刷株式会社 | 金属端子用接着性フィルム |
Family Cites Families (3)
| Publication number | Priority date | Publication date | Assignee | Title |
|---|---|---|---|---|
| JP4620202B2 (ja) | 2000-01-20 | 2011-01-26 | 大日本印刷株式会社 | ポリマー電池用包装材料の製造方法 |
| JP5912214B2 (ja) * | 2008-09-30 | 2016-04-27 | 大日本印刷株式会社 | 電気化学セル用包装材料 |
| JP5975084B2 (ja) * | 2014-10-08 | 2016-08-23 | 大日本印刷株式会社 | 電気化学セル用包装材料 |
-
2018
- 2018-07-23 EP EP18839237.7A patent/EP3660941B1/en active Active
- 2018-07-23 WO PCT/JP2018/027468 patent/WO2019021997A1/ja not_active Ceased
- 2018-07-23 JP JP2019532591A patent/JP7136102B2/ja active Active
Patent Citations (7)
| Publication number | Priority date | Publication date | Assignee | Title |
|---|---|---|---|---|
| JP2002321319A (ja) | 2001-04-26 | 2002-11-05 | Toyobo Co Ltd | 酸素ガスバリア性を有する多層樹脂フィルム及びその製造方法 |
| JP2004095543A (ja) | 2002-08-06 | 2004-03-25 | Dainippon Printing Co Ltd | リチウム電池金属端子部密封用接着性フィルム |
| JP2011252129A (ja) | 2010-06-04 | 2011-12-15 | Toyobo Co Ltd | 硬化性樹脂積層用二軸延伸ポリエステルフィルム |
| JP2016184591A (ja) | 2014-03-20 | 2016-10-20 | 大日本印刷株式会社 | 電池用包装材料、電池、及びこれらの製造方法 |
| JP2016159428A (ja) | 2015-02-26 | 2016-09-05 | 大和製罐株式会社 | イージーピール性を有するシーラントフィルム及びこれを用いたイージーピール包装袋 |
| JP2017120790A (ja) | 2015-12-29 | 2017-07-06 | 大日本印刷株式会社 | 蓄電デバイス金属端子部密封用接着性フィルム |
| JP2017139120A (ja) | 2016-02-03 | 2017-08-10 | 大日本印刷株式会社 | 金属端子用接着性フィルム |
Also Published As
| Publication number | Publication date |
|---|---|
| EP3660941A4 (en) | 2021-03-10 |
| WO2019021997A1 (ja) | 2019-01-31 |
| EP3660941A1 (en) | 2020-06-03 |
| EP3660941B1 (en) | 2022-01-26 |
| JPWO2019021997A1 (ja) | 2020-07-30 |
Similar Documents
| Publication | Publication Date | Title |
|---|---|---|
| JP7136102B2 (ja) | 金属端子用接着性フィルム、金属端子用接着性フィルム付き金属端子、当該金属端子用接着性フィルムを用いた電池、及び電池の製造方法 | |
| JP7600941B2 (ja) | 金属端子用接着性フィルム、金属端子用接着性フィルム付き金属端子、当該金属端子用接着性フィルムを用いた蓄電デバイス、及び蓄電デバイスの製造方法 | |
| JP7782525B2 (ja) | 電池、その製造方法、及び金属端子用接着性フィルム付き金属端子、当該金属端子用接着性フィルムの巻取体 | |
| JP6954437B2 (ja) | 金属端子用接着性フィルム、金属端子用接着性フィルムの製造方法、金属端子用接着性フィルム付き金属端子、当該金属端子用接着性フィルムを用いた蓄電デバイス、及び蓄電デバイスの製造方法 | |
| JP6596869B2 (ja) | 金属端子用接着性フィルム | |
| JP2025105929A (ja) | 金属端子用接着性フィルム、金属端子用接着性フィルム付き金属端子、当該金属端子用接着性フィルムを用いた蓄電デバイス、及び蓄電デバイスの製造方法 | |
| JP6882617B1 (ja) | 金属端子用接着性フィルム、金属端子用接着性フィルムの製造方法、金属端子用接着性フィルム付き金属端子、当該金属端子用接着性フィルムを用いた蓄電デバイス、及び蓄電デバイスの製造方法 | |
| JP2025118861A (ja) | 金属端子用接着性フィルム、金属端子用接着性フィルムの製造方法、金属端子用接着性フィルム付き金属端子、当該金属端子用接着性フィルムを用いた蓄電デバイス、及び蓄電デバイスの製造方法 | |
| JP2017069107A (ja) | 接着性保護フィルム | |
| WO2017188445A1 (ja) | 電池用包装材料及び電池 | |
| WO2021090952A1 (ja) | 金属端子用接着性フィルム、金属端子用接着性フィルムの製造方法、金属端子用接着性フィルム付き金属端子、当該金属端子用接着性フィルムを用いた蓄電デバイス、及び蓄電デバイスの製造方法 | |
| JP5704199B2 (ja) | 電池用包装材料 | |
| JP2022175134A (ja) | 金属端子用接着性フィルム、金属端子用接着性フィルムの製造方法、金属端子用接着性フィルム付き金属端子、金属端子用接着性フィルムを用いた蓄電デバイス、及び蓄電デバイスの製造方法 | |
| JP7355286B1 (ja) | 金属端子用接着性フィルム及びその製造方法、金属端子用接着性フィルム付き金属端子、当該金属端子用接着性フィルムを用いた蓄電デバイス、金属端子用接着性フィルムと蓄電デバイス用外装材を含むキット、並びに蓄電デバイスの製造方法 | |
| JP7031805B1 (ja) | 金属端子用接着性フィルム、金属端子用接着性フィルム付き金属端子、当該金属端子用接着性フィルムを用いた蓄電デバイス、及び蓄電デバイスの製造方法 | |
| JP7708346B1 (ja) | 金属端子用接着性フィルム及びその製造方法、金属端子用接着性フィルム付き金属端子、蓄電デバイス用外装材、蓄電デバイス用外装材と金属端子用接着性フィルムを備えるキット、並びに、蓄電デバイス及びその製造方法 | |
| JP2022175137A (ja) | 金属端子用接着性フィルム、金属端子用接着性フィルムの製造方法、金属端子用接着性フィルム付き金属端子、蓄電デバイス、及び蓄電デバイスの製造方法 | |
| JP7715299B2 (ja) | 金属端子用接着性フィルム及びその製造方法、金属端子用接着性フィルム付き金属端子、蓄電デバイス用外装材、蓄電デバイス用外装材と金属端子用接着性フィルムを備えるキット、並びに、蓄電デバイス及びその製造方法 | |
| WO2024210218A1 (ja) | 金属端子用接着性フィルム及びその製造方法、金属端子用接着性フィルム付き金属端子、蓄電デバイス用外装材、蓄電デバイス用外装材と金属端子用接着性フィルムを備えるキット、並びに、蓄電デバイス及びその製造方法 | |
| WO2023140338A1 (ja) | 金属端子用接着性フィルム及びその製造方法、金属端子用接着性フィルム付き金属端子、当該金属端子用接着性フィルムを用いた蓄電デバイス、金属端子用接着性フィルムと蓄電デバイス用外装材を含むキット、並びに蓄電デバイスの製造方法 | |
| WO2024214636A1 (ja) | 半固体電池用内袋フィルム及び半固体電池 |
Legal Events
| Date | Code | Title | Description |
|---|---|---|---|
| A621 | Written request for application examination |
Free format text: JAPANESE INTERMEDIATE CODE: A621 Effective date: 20210518 |
|
| A131 | Notification of reasons for refusal |
Free format text: JAPANESE INTERMEDIATE CODE: A131 Effective date: 20220419 |
|
| A521 | Request for written amendment filed |
Free format text: JAPANESE INTERMEDIATE CODE: A523 Effective date: 20220520 |
|
| TRDD | Decision of grant or rejection written | ||
| A01 | Written decision to grant a patent or to grant a registration (utility model) |
Free format text: JAPANESE INTERMEDIATE CODE: A01 Effective date: 20220802 |
|
| A61 | First payment of annual fees (during grant procedure) |
Free format text: JAPANESE INTERMEDIATE CODE: A61 Effective date: 20220815 |
|
| R150 | Certificate of patent or registration of utility model |
Ref document number: 7136102 Country of ref document: JP Free format text: JAPANESE INTERMEDIATE CODE: R150 |


