JP7127078B2 - Pcb処理施設のalc版を解体撤去する方法 - Google Patents

Pcb処理施設のalc版を解体撤去する方法 Download PDF

Info

Publication number
JP7127078B2
JP7127078B2 JP2020040201A JP2020040201A JP7127078B2 JP 7127078 B2 JP7127078 B2 JP 7127078B2 JP 2020040201 A JP2020040201 A JP 2020040201A JP 2020040201 A JP2020040201 A JP 2020040201A JP 7127078 B2 JP7127078 B2 JP 7127078B2
Authority
JP
Japan
Prior art keywords
contaminated
alc plate
alc
pcb
processing facility
Prior art date
Legal status (The legal status is an assumption and is not a legal conclusion. Google has not performed a legal analysis and makes no representation as to the accuracy of the status listed.)
Active
Application number
JP2020040201A
Other languages
English (en)
Other versions
JP2021139244A (ja
Inventor
敏彦 前村
馨 福井
隆宏 梅本
一彦 大井
Original Assignee
Jfe環境テクノロジー株式会社
Priority date (The priority date is an assumption and is not a legal conclusion. Google has not performed a legal analysis and makes no representation as to the accuracy of the date listed.)
Filing date
Publication date
Application filed by Jfe環境テクノロジー株式会社 filed Critical Jfe環境テクノロジー株式会社
Priority to JP2020040201A priority Critical patent/JP7127078B2/ja
Publication of JP2021139244A publication Critical patent/JP2021139244A/ja
Application granted granted Critical
Publication of JP7127078B2 publication Critical patent/JP7127078B2/ja
Active legal-status Critical Current
Anticipated expiration legal-status Critical

Links

Images

Classifications

    • YGENERAL TAGGING OF NEW TECHNOLOGICAL DEVELOPMENTS; GENERAL TAGGING OF CROSS-SECTIONAL TECHNOLOGIES SPANNING OVER SEVERAL SECTIONS OF THE IPC; TECHNICAL SUBJECTS COVERED BY FORMER USPC CROSS-REFERENCE ART COLLECTIONS [XRACs] AND DIGESTS
    • Y02TECHNOLOGIES OR APPLICATIONS FOR MITIGATION OR ADAPTATION AGAINST CLIMATE CHANGE
    • Y02WCLIMATE CHANGE MITIGATION TECHNOLOGIES RELATED TO WASTEWATER TREATMENT OR WASTE MANAGEMENT
    • Y02W30/00Technologies for solid waste management
    • Y02W30/50Reuse, recycling or recovery technologies
    • Y02W30/82Recycling of waste of electrical or electronic equipment [WEEE]

Landscapes

  • Working Measures On Existing Buildindgs (AREA)
  • Processing Of Solid Wastes (AREA)

Description

本発明は、PCB処理施設のALC版を解体撤去する方法に関し、詳しくはALC版を数万枚用いているような大規模なPCB処理施設の解体工事に適し、足場設置の仮設工事の省略でき、コンタミの防止ためのシート養生を省略できるPCB処理施設のALC版を解体撤去する方法に関する。
全国に設置されたPCB処理施設は、処分期間後に運転を終了し、解体撤去が予定されている。したがって、現在のところ、PCB処理施設の解体工事は、その実績も少ない。
PCB処理施設では、PCB処理機器及び床壁等の建築材へのPCBの付着が考えられる。PCB処理施設を解体する場合には、PCBを含む汚染塵芥及び汚染ガスが大気中に放出されるおそれがある。このような汚染塵芥や汚染ガスが大気中に放出されると、環境汚染の一因になり、このような環境汚染を防止する方法が望まれる。
本発明者らは、特許文献1において、施工されているALC版の汚染面をその場で剥離除去し、剥離された汚染物をPCB処理施設外に搬出し、適切な処理を行うPCBに汚染された建物の解体方法を提案している。
特許第5623713号公報
特許文献1に記載された建物の解体方法は、ALC版の一枚一枚を手動で表面剥離する手法を採用しているため、ALC版の使用枚数が数万枚というような大規模なPCB処理施設の解体工事に適用することができない欠点がある。
この特許文献1の解体方法では、ALC版の内壁面の全面に亘って剥離作業を行うため、大規模なPCB処理施設の場合には足場設置の仮設工事が必要になり、その足場設置の仮設工事の手間が煩雑である欠点があり、また足場設置の仮設工事ためにALC版の解体工事期間が長期間になる欠点がある。
また、特許文献1の場合には、剥離作業が終了したALC版は、他のALC版から剥離された汚染物によって再度汚染され、コンタミが生じないように、シート養生が必要である。また剥離作業が終了したALC版をPCB処理施設外へ搬送するときにも、PCBの汚染拡大を防止するために、シート養生が必要となる。かかるシート養生は、大規模なPCB処理施設では、大きな手間となる欠点がある。
そこで、本発明は、ALC版を数万枚用いているような大規模なPCB処理施設の解体工事に適し、足場設置の仮設工事の省略でき、コンタミの防止のためのシート養生を省略できるPCB処理施設のALC版を解体撤去する方法を提供することを課題とする。
本発明の他の課題は、以下の記載により明らかとなる。
前記課題は、以下の各発明によって解決される。
1.PCBに汚染されたPCB処理施設の建築構造物のうち、汚染部を有する汚染面を含む複数のALC版を解体撤去する方法であって、
前記ALC版の汚染部を有する汚染面を自動剥離する剥離設備を設置し、
前記複数のALC版を前記建築構造物から外して前記剥離設備に移送し、
前記剥離設備により前記ALC版の汚染部を有する汚染面を剥離し、剥離により発生した汚染物と、剥離後のALC版を含む非汚染物に分離し、
前記汚染物と前記非汚染物とをそれぞれ前記PCB処理施設外に搬出することを特徴とするPCB処理施設のALC版を解体撤去する方法。
2.前記ALC版に汚染部を有する汚染面が表裏面のそれぞれにある場合、前記剥離設備は、前記ALC版の表面側の汚染部を有する汚染面を剥離し、前記ALC版を反転させ、前記ALC版の裏面側の汚染部を有する汚染面を剥離することを特徴とする前記1記載のPCB処理施設のALC版を解体撤去する方法。
3.前記ALC版に汚染部を有する汚染面が表裏面のそれぞれにある場合、前記剥離設備は、前記ALC版の両面側の汚染部を同時に剥離することを特徴とする前記1記載のPCB処理施設のALC版を解体撤去する方法。
4.前記剥離設備は、前記ALC版の剥離深さが調節可能であることを特徴とする前記1、2又は3記載のPCB処理施設のALC版を解体撤去する方法。
5.前記剥離設備は、前記ALC版の汚染部に対し、複数回数の剥離を行うことによって、所定の剥離深さに達することを特徴とする前記1~4の何れかに記載のPCB処理施設のALC版を解体撤去する方法。
6.前記PCB処理施設内を負圧に保ちながらALC版の解体撤去を行うことを特徴とする前記1~5の何れかに記載のPCB処理施設のALC版を解体撤去する方法。
本発明によれば、ALC版を数万枚用いているような大規模なPCB処理施設の解体工事に適し、足場設置の仮設工事の省略でき、コンタミの防止のためのシート養生を省略できるPCB処理施設のALC版を解体撤去する方法を提供できる。
本発明に係るPCB処理施設のALC版を解体撤去する方法を示す概略構成図 ALC版の汚染部を有する汚染面を自動剥離する剥離設備を示す概略斜視図 剥離設備の切削刃を示す側面図 剥離設備におけるALC版の移動を示す平面図 ALC版の斜視図 ALC版の剥離深さを示す断面図
以下、本発明を実施するための形態につき図面を用いて説明する。
PCBに汚染されたPCB処理施設の建築構造物には、数万枚というような大量のALC版が用いられている。これらの大量のALC版は、PCBに汚染されている。本発明は、これらの大量の汚染されたALC版を解体撤去する新規な方法に関する。
〔PCB処理施設の構造〕
図1は、本発明に係るPCB処理施設のALC版を解体撤去する方法を示す概略構成図である。
PCB処理施設には、ALC版が数万枚使用されている。一般社団法人ALC協会の規格による、厚形ACLパネル(版)には、平パネルの種類だけでも、外壁用、間仕切り壁用、屋根版用、床版用がある。
PCB処理施設は、外壁用、間仕切り壁用、屋根版用、床版用のACL版複数組み合わせて、構造物として形成されている。
外壁用、間仕切り壁用、屋根版用、床版用のACL版を形成されたPCB処理施設は、その概略が図1に示されている。
壁面1、床面4、及び天井5は、施設に構築した鋼鉄製の骨組(図示せず)に長方形のALC版(ALCパネル)3を組み付けることによって構成されている。
このため、構成されたALC版3の内側面である表面6にPCBによる汚染部を有する汚染面がある。また、PCB処理施設内で仕切壁のように、両面側が露出しているALC版3には、表面6、裏面7の表裏面のそれぞれにPCBによる汚染部を有する汚染面がある。
本発明では、規格化されたALC版の中から、例えば、長さが3~5m、幅が60cm、板厚が100~120mmのものを選択しようしている。例えば、板厚が100mmのALC版3の場合は、補強筋を格子状に組み付けて形成した鉄筋マットが表面側及び裏面側の二層に埋設されているようにしてもよい。
本実施形態においては、PCB処理施設内の気密性は、内部の汚染可能性のある空気が外部に自然に排出されないようにするために要求される性能である。この機密性は、外壁などの建物自体の構造(これを外壁ともいう)によって実現できる。
施設内部の汚染空気があった場合であっても、送風機72によって、活性炭吸着部71を介して、汚染空気から汚染物が除去されて放出される。
PCB処理施設の建物内部は、汚染空気を処理して外部に排出するようにしやすくすするために負圧に維持することが好ましい。
本実施形態において、図1に示すように、PCB処理施設のALC版を解体業者が実施する場合には、剥離設備をPCB処理施設内に設置することができる。これに限定されず、PCB処理施設外に、剥離設備の設置場所を用意して設置してもよい。施設外に設置する場合には、ALC版の汚染部を有する汚染面が外部に露出しないような措置を講じることが好ましい。例えば、ラッピング等でALC版を封止して、PCB処理施設内から場外搬出することが挙げられる。
また、産業廃棄物業者が自動剥離を実施する場合には、産業廃棄物業者の敷地内に設置することもできる。この場合も、上記施設外に設置する場合と同様に、ALC版の汚染部を有する汚染面が外部に露出しないような措置を講じることが好ましい。
以下、PCB処理施設のALC版を解体撤去する方法をPCB処理施設内で実施する場合を例示して説明する。
〔剥離設備の設置〕
図2は、ALC版の汚染部を有する汚染面を自動剥離する剥離設備を示す概略斜視図である。
PCB処理施設のALC版を解体撤去する方法をPCB処理施設内で実施するには、PCB処理施設内を気密に保ち、図1に示すように、PCB処理施設内に、ALC版3の汚染部を有する汚染面を自動剥離する剥離設備40を設置する。剥離設備40は、仮設設置してもよいし、固定具を用いて床に固定させてもよい。
ALC版の使用枚数が数万枚というような大規模なPCB処理施設においては、剥離設備40は、複数台(数台~数十台)を並行して稼働させることもできる。
剥離設備40は、図1に示すように、ALC版3から汚染部を有する汚染面を自動剥離する切削刃41を備えており、切削刃41は、密閉筐体42内に設置され、密閉筐体42内で、切削刃41によりALC版3の剥離が行われる。
図3は、剥離設備の切削刃41を示す側面図である。
図3には回転式の切削刃41が例示され、切削刃41は、回転軸41a回りに配置された例えば円筒形状又は円盤型の刃物であり、回転軸41aを介して図示しないモータによって回転される。
刃部41bは、切削刃41に交換可能に接続されている。刃部41bは、図示の例では、多角形状であり、各角部をALC版3に接触させて切削でき、刃部41bの一つの角部が磨耗したら、次の角部に変更できるようにしてもよい。これによって、全ての角部が磨耗したら、刃部41bを切削刃41から取外し、交換するようにすることもできる。
切削刃41は、刃部41bをALC版3の汚染面に接触させながら回転されることで、汚染面の汚染部まで切削剥離する。
また、図3中矢印Aで示すように、ALC版3が回転軸41aに直交する方向に相対移動させることにより、汚染面の全面に亘る剥離を行うことができる。切削刃41は、1本でもよいし、複数本を並列させてもよい。
密閉筐体42内は、ALC版3から剥離された汚染物が密閉筐体42外へ漏洩することを防止するように構成されている。詳細は後述する。
図4は、剥離設備におけるALC版の移動を示す平面図である。
剥離設備40は、図4に示すように、密閉筐体42内において、ALC版3の表面6の汚染部を有する汚染面を切削刃41により剥離し、次に、ALC版3を切削刃41から離して反転(裏返し)させ、ALC版3を切削刃41の位置に移動させて裏面7の汚染部を有する汚染面を剥離するようにしてもよい。
このようなALC版3の移動は、ベルトコンベアによって行うことができる。ALC版3の反転(裏返し)は、クレーンにより吊り下げることで行うことができる。
また、剥離設備40は、ALC版3の両面側を同時に剥離できるようにしてもよい。この場合には、一対の切削刃41、41を表面6側及び裏面7側に設置することで、両面側にある汚染部を有する汚染面を同時に剥離することができる。
さらに、剥離設備40は、剥離深さが調節可能であることが好ましい。剥離深さは、任意に設定可能か、または、ALC版3内部の鉄筋マット31までの深さを自動的に設定できることが好ましい。
剥離深さは、表面6側にある鉄筋マット31まで、及び、裏面7側にある鉄筋マット31までが目安で、表面6側、裏面7側の汚染面から20~30mm程度である。
〔ALC版の取り外し及び搬送〕
次に、図1及び図2に示すように、ALC版3を壁面1及び天井5等から外し、外された複数のALC版3を、剥離設備40による剥離が行われる密閉筐体42内へ搬入設置する。
壁面1及び天井5などからALC版3を外しても、PCB処理施設内は気密に保たれている。
壁面1及び天井5などからのALC版3の取り外しは、剥離設備40による剥離の進行とは関係なく、順次まとめて取り外してよい。取り外された複数のALC版3は、剥離設備40の近傍の所定位置に積み重ねておけばよい。
本実施形態では、壁面1及び天井5などから取り外されて積み重ねられる複数のALC版3は、未だ汚染部を有する汚染面が剥離されていないので、コンタミが発生しない。したがって、取り外される前の複数のALC版3及び取り外された複数のALC版3には、シート養生は不要である。
剥離設備40は、ALC版3を密閉筐体42へ搬入する搬入装置43を備えている。この搬入装置43は、ロボットアームであってもよい。このロボットアームは、一対の把持爪によってALC版3の両側部を把持するようになっている。また、搬入装置43を設けずに人力によって搬入してもよい。
〔剥離及び汚染物の分離〕
ALC版3が密閉筐体42へ搬入されると、図3に示すように、剥離設備40の切削刃41による汚染部を有する汚染面の剥離が行われる。前述のように、剥離は、表面6側の汚染面及び裏面7側の汚染面を順次に、または、同時に行ってもよい。
剥離設備40による剥離によって、表面側の鉄筋マットが露出するまで、ALC版3の汚染部が剥ぎ取られる。この剥離により、汚染部が剥離されたことにより生じた削り屑8a及び粉塵8bからなる汚染物8と、汚染部以外の非汚染物(汚染部が剥離されたALC版3を含む)とが分離される。
剥離設備40による剥離後、ALC版3は、鉄筋マットを含む大部分が非汚染物として残る。したがって、汚染部が剥離されたことで生じた汚染物8は、非汚染物に比較して少量であるため、非汚染物と汚染物を両方含むALC版をPCB処理するよりも、汚染物8のPCB処理作業及びPCB処理コストが削減される。例えば、ALC版3を100mmとし、汚染部の厚さを20mm、非汚染物の厚さを80mmと仮定すると、ALC版3の全体をPCB処理する場合に対して、処理量は1/5に減容となる。非汚染物の処理費用は、汚染部の汚染物8の処理費用の数十分の一である。
〔汚染物容器内への密封収容〕
剥離設備40は、図2に示すように、密閉筐体42から汚染面以外の非汚染物を搬出する搬出装置44を備えている。この搬出装置44は、ロボットアームであってもよい。このロボットアームは、一対の把持爪によってALC版3の両側面部を把持するようになっている。搬出装置44を設けずに人力によって搬出してもよい。
また、剥離設備40は、図1及び図2に示すように、密閉筐体42の下方に設けられたホッパに削り屑8aが排出され、ホッパから排出された削り屑8aは、削り屑容器60aに封入される。
また、密閉筐体42内に生じた粉塵8bは、送風機58を経て外部へ放出される換気空気と共に、密閉筐体42内に連通された吸引管21とフレキシブルホース22を介して、フレキシブルホース22に接続されたサイクロン集塵装置50に導入される。
サイクロン集塵装置50は、粉塵回収用の粉塵回収容器60bに脱着可能に立設されており、サイクロン集塵装置50において、粉塵8bは、換気空気から分離されて、粉塵回収容器60bに封入される。粉塵回収容器60bとサイクロン集塵装置50との間には、逆止弁(図示せず)を設け、封入された粉塵回収容器60bから粉塵8bが逆流するのを防止することが好ましい。この結果、汚染物8が除かれた換気空気は、汚染物濃度が排出基準値以下となるようにすることができる。
換気空気は、バグフィルターなどの二次集塵器59及び活性炭吸着部62を経て、排気ダクト54に至る。排気ダクト54には、プレフィルターやHEPAフィルタを介在させてもよい。これら二次集塵器59及び活性炭吸着部62等は、万が一、サイクロン集塵装置50から排出された換気空気に汚染物8が含まれていた場合であっても、換気空気から汚染物8をより確実に取り除くことができる。この結果、汚染物8が除かれた換気空気は、汚染物濃度が排出基準値以下となる。
活性炭吸着部62の下流には送風機58が設けられており、この送風機58により、剥離した汚染物8が吸引される。換気空気は、送風機58を経て、外壁2外に放出される。送風機58は建屋の外部に設けてもよい。
本実施形態においては、削り屑容器60aと粉塵回収容器60bとをそれぞれ封入するように説明しているが、これに限定されず、粉塵回収容器60bを汚染物回収容器60として、汚染物8を回収するようにしてもよい。この場合、削り屑8aは、上述したように、ホッパに排出され、ホッパと逆止弁(図示せず)を介して接続された図示しないスクリューコンベアで削り屑8aを搬送し、汚染物回収容器60に封入することが好ましい。
以上の説明において、図1の一点鎖線で囲まれた領域は、負圧管理領域20である。
〔汚染物容器の搬出及び汚染物の処分〕
削り屑容器60aと粉塵回収容器60bは、一基ずつ図示されているが、所定枚数のALC版の剥離が終わったら、削り屑容器60a及び粉塵回収容器60bを別の容器(図示せず)に切り替えるようにしてもよい。所定枚数のALC版と、剥離汚染物の対応関係ができるので、管理面で好ましい。
別の汚染物容器に切り替える際に、剥離設備40の剥離により生じる汚染物8が、切り替えの最中に、外部に放出されないように、該汚染物8を発生させる密閉筐体42内が負圧に管理されていることが好ましい。
削り屑容器60aと粉塵回収容器60bは、PCB処理施設外に搬出され適切に管理される。
また、汚染物8を剥離されたALC版3である非汚染物も、PCB処理施設外に搬出される。この非汚染物は、PCB処理施設外において、適切に処分される。非汚染物は、PCBに汚染されていないので、処分は容易である。
以上説明した本発明に係るPCB処理施設のALC版を解体撤去する方法は、特に、ALC版3の使用枚数が数万枚というような大規模なPCB処理施設の解体工事に適しており、解体工事期間を短縮でき、足場架けなどの仮設工事を簡略化でき、また、PCB汚染物の物量を削減でき、コンタミの防止が容易である。
〔剥離設備の他の実施形態〕
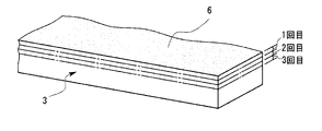
図5は、ALC版の斜視図であり、図6は、ALC版の剥離深さを示す断面図である。
例えば、ALC版3の表面6側の汚染部を有する汚染面に対して、剥離設備40によって複数回数の剥離を行うことによって、所定の剥離深さに達するようにしてもよい。汚染面は、ALC版3の表面とは限らない。所定の深さまでPCBが浸透していることが多い。本発明では、所定の深さまでPCBが浸透していることを考慮して、「汚染部を有する汚染面」と規定している。
すなわち、図5及び図6に示すように、1回目の剥離では、所定の剥離深さ(例えば20mm)の1/3(7mm)を剥離し、2回目の剥離では、次の1/3(7mm)を剥離し、3回目の剥離で、残る1/3(6mm)を剥離して、合計で所定の剥離深さ(20mm)に達するようにする。
このように所定の剥離深さを複数回に分けて剥離することにより、切削刃41からのコンタミ発生を防止できる。これは、ALC版3の汚染は、ALC版3の表面6側の汚染面が最も汚染部のPCB濃度が高く、厚さ方向に深くなるにつれ汚染部のPCB濃度が低くなっていることによる。
切削刃41は、直接汚染面に接触するので、汚染物8の一部が切削刃41に付着し、剥離により汚染物8が除かれた面を二次汚染させる懸念がある。
このため、一度で所定の剥離深さまで剥離するのではなく、複数回に分けて剥離することにより、2回目、3回目以降の剥離では切削刃41に付着する汚染物8のPCB濃度が低くなり、所定の剥離深さに達した際に切削刃41に触れる面のPCB濃度は低くなっているため、結果として、複数回に分けて剥離することにより、剥離後のクリーンなALC版3が得られる。
なお、1回目の剥離の終了後、2回目以降の剥離では切削刃41の刃部41bを交換するようにしてもよい。
〔外壁の囲いについて〕
外壁2によってPCB処理施設内の気密が保たれない場合には、外壁2を利用して仮囲いを設置し、または、PCB処理施設の全体を覆う建築物用グリーンハウスを設置する。これらは、外部環境への影響防止の冗長化の判断により選択することができる。
仮囲いは、外壁2を利用して足場を組み、この足場を用いて外壁2の外周を保護シート等により囲んだものである。この仮囲いにより、周辺環境への影響が無いようにして解体ができる。
グリーンハウスは、骨格部と、骨格部の外側を覆う養生シート(例えば、屋根部ブルーシート)と、骨格部の内側を覆う内部養生シート(例えば、ポリシート)から構成される。骨格部は、外壁2の周囲を取り囲むように組み付けた多数の作業足場によって角筒形状に形成され、その上端部は、架橋するように設けた複数の梁部材に固定されている。グリーンハウス内は、負圧に維持されることが好ましい。
1 壁面
2 外壁
3 ALC版
31 鉄筋マット
4 床面
5 天井
6 表面
7 裏面
8 汚染物
8a 削り屑
8b 粉塵
20 負圧管理領域
21 吸引管
22 フレキシブルホース
40 剥離設備
41 切削刃
41a 回転軸
41b 刃部
42 密閉筐体
43 搬入装置
44 搬出装置
50 サイクロン集塵装置
54 排気ダクト
58 送風機
59 二次集塵器
60a 削り屑容器
60b 粉塵回収容器
62 活性炭吸着部
71 活性炭吸着部
72 送風機

Claims (6)

  1. PCBに汚染されたPCB処理施設の建築構造物のうち、汚染部を有する汚染面を含む複数のALC版を解体撤去する方法であって、
    前記ALC版の汚染部を有する汚染面を自動剥離する剥離設備を設置し、
    前記複数のALC版を前記建築構造物から外して前記剥離設備に移送し、
    前記剥離設備により前記ALC版の汚染部を有する汚染面を剥離し、剥離により発生した汚染物と、剥離後のALC版を含む非汚染物に分離し、
    前記汚染物と前記非汚染物とをそれぞれ前記PCB処理施設外に搬出することを特徴とするPCB処理施設のALC版を解体撤去する方法。
  2. 前記ALC版に汚染部を有する汚染面が表裏面のそれぞれにある場合、前記剥離設備は、前記ALC版の表面側の汚染部を有する汚染面を剥離し、前記ALC版を反転させ、前記ALC版の裏面側の汚染部を有する汚染面を剥離することを特徴とする請求項1記載のPCB処理施設のALC版を解体撤去する方法。
  3. 前記ALC版に汚染部を有する汚染面が表裏面のそれぞれにある場合、前記剥離設備は、前記ALC版の両面側の汚染部を同時に剥離することを特徴とする請求項1記載のPCB処理施設のALC版を解体撤去する方法。
  4. 前記剥離設備は、前記ALC版の剥離深さが調節可能であることを特徴とする請求項1、2又は3記載のPCB処理施設のALC版を解体撤去する方法。
  5. 前記剥離設備は、前記ALC版の汚染部に対し、複数回数の剥離を行うことによって、所定の剥離深さに達することを特徴とする請求項1~4の何れかに記載のPCB処理施設のALC版を解体撤去する方法。
  6. 前記PCB処理施設内を負圧に保ちながらALC版の解体撤去を行うことを特徴とする請求項1~5の何れかに記載のPCB処理施設のALC版を解体撤去する方法。
JP2020040201A 2020-03-09 2020-03-09 Pcb処理施設のalc版を解体撤去する方法 Active JP7127078B2 (ja)

Priority Applications (1)

Application Number Priority Date Filing Date Title
JP2020040201A JP7127078B2 (ja) 2020-03-09 2020-03-09 Pcb処理施設のalc版を解体撤去する方法

Applications Claiming Priority (1)

Application Number Priority Date Filing Date Title
JP2020040201A JP7127078B2 (ja) 2020-03-09 2020-03-09 Pcb処理施設のalc版を解体撤去する方法

Publications (2)

Publication Number Publication Date
JP2021139244A JP2021139244A (ja) 2021-09-16
JP7127078B2 true JP7127078B2 (ja) 2022-08-29

Family

ID=77668064

Family Applications (1)

Application Number Title Priority Date Filing Date
JP2020040201A Active JP7127078B2 (ja) 2020-03-09 2020-03-09 Pcb処理施設のalc版を解体撤去する方法

Country Status (1)

Country Link
JP (1) JP7127078B2 (ja)

Citations (5)

* Cited by examiner, † Cited by third party
Publication number Priority date Publication date Assignee Title
JP2010209574A (ja) 2009-03-10 2010-09-24 Takenaka Komuten Co Ltd クローズ型除去処理システムの除去装置
JP2014218848A (ja) 2013-05-09 2014-11-20 新日鉄住金エンジニアリング株式会社 Pcb廃棄物処理施設の解体撤去方法
JP2018145629A (ja) 2017-03-02 2018-09-20 株式会社神鋼環境ソリューション Pcb汚染物が取り扱われた作業場の解体方法及び除染方法
JP2018143929A (ja) 2017-03-02 2018-09-20 株式会社神鋼環境ソリューション Pcb汚染物が取り扱われた作業場の除染方法
JP2018204283A (ja) 2017-06-02 2018-12-27 株式会社神鋼環境ソリューション Pcb処理施設の解体方法

Family Cites Families (3)

* Cited by examiner, † Cited by third party
Publication number Priority date Publication date Assignee Title
JPH07111480B2 (ja) * 1987-11-05 1995-11-29 鹿島建設株式会社 コンクリート構造物表面の剥離方法
JP5623713B2 (ja) * 2009-07-16 2014-11-12 三井造船株式会社 Pcbに汚染された建物の解体方法
JP6906376B2 (ja) * 2017-06-14 2021-07-21 株式会社神鋼環境ソリューション Pcb処理施設の浄化方法

Patent Citations (5)

* Cited by examiner, † Cited by third party
Publication number Priority date Publication date Assignee Title
JP2010209574A (ja) 2009-03-10 2010-09-24 Takenaka Komuten Co Ltd クローズ型除去処理システムの除去装置
JP2014218848A (ja) 2013-05-09 2014-11-20 新日鉄住金エンジニアリング株式会社 Pcb廃棄物処理施設の解体撤去方法
JP2018145629A (ja) 2017-03-02 2018-09-20 株式会社神鋼環境ソリューション Pcb汚染物が取り扱われた作業場の解体方法及び除染方法
JP2018143929A (ja) 2017-03-02 2018-09-20 株式会社神鋼環境ソリューション Pcb汚染物が取り扱われた作業場の除染方法
JP2018204283A (ja) 2017-06-02 2018-12-27 株式会社神鋼環境ソリューション Pcb処理施設の解体方法

Also Published As

Publication number Publication date
JP2021139244A (ja) 2021-09-16

Similar Documents

Publication Publication Date Title
CN103170484B (zh) 一种清除烟囱内部污染物的装置及方法
JP7127078B2 (ja) Pcb処理施設のalc版を解体撤去する方法
JP5623713B2 (ja) Pcbに汚染された建物の解体方法
JP2008303540A (ja) 煙突解体方法及び集塵ハット並びに煙突ブロック片処理ヤード
KR102169733B1 (ko) 원전 해체용 이동식 작업장의 바닥 모듈
CN203124364U (zh) 一种清除烟囱内部污染物的装置
JP5479791B2 (ja) 汚染機器の解体方法
KR100807789B1 (ko) 석면 제거 시스템 및 석면 제거 방법
JP5104177B2 (ja) 付着物処理装置及び付着物処理方法
JPH10253112A (ja) エアナイフを利用した移動式粉塵飛散抑制装置及び方法
JP3853284B2 (ja) 煙突解体工法
EP1737576A2 (en) Fluorescent lamp disposal system
JP2003130316A (ja) 廃棄物処理設備の解体システム
DE3337549C2 (ja)
CN102831944A (zh) 屏蔽的防护性帐篷组件
JP7155084B2 (ja) 有害な危険物の漏れ防止構造及び有害な危険物が収納された金属製の地下貯蔵タンクを撤去する方法
JP2013171016A (ja) 放射性ダストの除染装置とその方法
JP2025120027A (ja) 排気ダクトの解体方法
JP7701583B1 (ja) 廃フレキシブルコンテナバッグの処理設備及び処理方法
JP7155365B1 (ja) Pcb処理施設の解体撤去方法
JP2009091086A (ja) 付着物処理装置及び付着物処理方法
CN221230193U (zh) 一种新型的空气过滤式负压层流罩
JPH11316298A (ja) 放射性物質内包機器の処理方法および処理装置
JP3618737B2 (ja) 焼却炉の解体処理設備
JP2003343103A (ja) 防塵膜の撤去方法

Legal Events

Date Code Title Description
A621 Written request for application examination

Free format text: JAPANESE INTERMEDIATE CODE: A621

Effective date: 20211001

A977 Report on retrieval

Free format text: JAPANESE INTERMEDIATE CODE: A971007

Effective date: 20220727

TRDD Decision of grant or rejection written
A01 Written decision to grant a patent or to grant a registration (utility model)

Free format text: JAPANESE INTERMEDIATE CODE: A01

Effective date: 20220802

A61 First payment of annual fees (during grant procedure)

Free format text: JAPANESE INTERMEDIATE CODE: A61

Effective date: 20220817

R150 Certificate of patent or registration of utility model

Ref document number: 7127078

Country of ref document: JP

Free format text: JAPANESE INTERMEDIATE CODE: R150

R250 Receipt of annual fees

Free format text: JAPANESE INTERMEDIATE CODE: R250