JP6900534B1 - 光学フィルムの打ち抜き装置、及び、フィルム製品の製造方法 - Google Patents

光学フィルムの打ち抜き装置、及び、フィルム製品の製造方法 Download PDF

Info

Publication number
JP6900534B1
JP6900534B1 JP2020046651A JP2020046651A JP6900534B1 JP 6900534 B1 JP6900534 B1 JP 6900534B1 JP 2020046651 A JP2020046651 A JP 2020046651A JP 2020046651 A JP2020046651 A JP 2020046651A JP 6900534 B1 JP6900534 B1 JP 6900534B1
Authority
JP
Japan
Prior art keywords
optical film
film
receiving sheet
blade receiving
blade
Prior art date
Legal status (The legal status is an assumption and is not a legal conclusion. Google has not performed a legal analysis and makes no representation as to the accuracy of the status listed.)
Active
Application number
JP2020046651A
Other languages
English (en)
Other versions
JP2021146426A (ja
Inventor
順二 宗本
順二 宗本
Current Assignee (The listed assignees may be inaccurate. Google has not performed a legal analysis and makes no representation or warranty as to the accuracy of the list.)
Nitto Denko Corp
Original Assignee
Nitto Denko Corp
Priority date (The priority date is an assumption and is not a legal conclusion. Google has not performed a legal analysis and makes no representation as to the accuracy of the date listed.)
Filing date
Publication date
Application filed by Nitto Denko Corp filed Critical Nitto Denko Corp
Priority to JP2020046651A priority Critical patent/JP6900534B1/ja
Priority to CN202080017046.8A priority patent/CN113490580B/zh
Priority to PCT/JP2020/044580 priority patent/WO2021157168A1/ja
Priority to KR1020217018517A priority patent/KR102341629B1/ko
Priority to TW109143196A priority patent/TWI753691B/zh
Application granted granted Critical
Publication of JP6900534B1 publication Critical patent/JP6900534B1/ja
Publication of JP2021146426A publication Critical patent/JP2021146426A/ja
Active legal-status Critical Current
Anticipated expiration legal-status Critical

Links

Images

Classifications

    • BPERFORMING OPERATIONS; TRANSPORTING
    • B65CONVEYING; PACKING; STORING; HANDLING THIN OR FILAMENTARY MATERIAL
    • B65HHANDLING THIN OR FILAMENTARY MATERIAL, e.g. SHEETS, WEBS, CABLES
    • B65H35/00Delivering articles from cutting or line-perforating machines; Article or web delivery apparatus incorporating cutting or line-perforating devices, e.g. adhesive tape dispensers
    • B65H35/0006Article or web delivery apparatus incorporating cutting or line-perforating devices
    • BPERFORMING OPERATIONS; TRANSPORTING
    • B26HAND CUTTING TOOLS; CUTTING; SEVERING
    • B26FPERFORATING; PUNCHING; CUTTING-OUT; STAMPING-OUT; SEVERING BY MEANS OTHER THAN CUTTING
    • B26F1/00Perforating; Punching; Cutting-out; Stamping-out; Apparatus therefor
    • B26F1/38Cutting-out; Stamping-out
    • B26F1/40Cutting-out; Stamping-out using a press, e.g. of the ram type
    • BPERFORMING OPERATIONS; TRANSPORTING
    • B26HAND CUTTING TOOLS; CUTTING; SEVERING
    • B26DCUTTING; DETAILS COMMON TO MACHINES FOR PERFORATING, PUNCHING, CUTTING-OUT, STAMPING-OUT OR SEVERING
    • B26D7/00Details of apparatus for cutting, cutting-out, stamping-out, punching, perforating, or severing by means other than cutting
    • B26D7/20Cutting beds
    • BPERFORMING OPERATIONS; TRANSPORTING
    • B26HAND CUTTING TOOLS; CUTTING; SEVERING
    • B26FPERFORATING; PUNCHING; CUTTING-OUT; STAMPING-OUT; SEVERING BY MEANS OTHER THAN CUTTING
    • B26F1/00Perforating; Punching; Cutting-out; Stamping-out; Apparatus therefor
    • BPERFORMING OPERATIONS; TRANSPORTING
    • B26HAND CUTTING TOOLS; CUTTING; SEVERING
    • B26FPERFORATING; PUNCHING; CUTTING-OUT; STAMPING-OUT; SEVERING BY MEANS OTHER THAN CUTTING
    • B26F1/00Perforating; Punching; Cutting-out; Stamping-out; Apparatus therefor
    • B26F1/38Cutting-out; Stamping-out
    • B26F1/44Cutters therefor; Dies therefor
    • GPHYSICS
    • G02OPTICS
    • G02BOPTICAL ELEMENTS, SYSTEMS OR APPARATUS
    • G02B5/00Optical elements other than lenses
    • G02B5/30Polarising elements
    • BPERFORMING OPERATIONS; TRANSPORTING
    • B65CONVEYING; PACKING; STORING; HANDLING THIN OR FILAMENTARY MATERIAL
    • B65HHANDLING THIN OR FILAMENTARY MATERIAL, e.g. SHEETS, WEBS, CABLES
    • B65H2301/00Handling processes for sheets or webs
    • B65H2301/50Auxiliary process performed during handling process
    • B65H2301/51Modifying a characteristic of handled material
    • B65H2301/515Cutting handled material
    • B65H2301/5152Cutting partially, e.g. perforating
    • BPERFORMING OPERATIONS; TRANSPORTING
    • B65CONVEYING; PACKING; STORING; HANDLING THIN OR FILAMENTARY MATERIAL
    • B65HHANDLING THIN OR FILAMENTARY MATERIAL, e.g. SHEETS, WEBS, CABLES
    • B65H2301/00Handling processes for sheets or webs
    • B65H2301/50Auxiliary process performed during handling process
    • B65H2301/51Modifying a characteristic of handled material
    • B65H2301/515Cutting handled material
    • B65H2301/5153Details of cutting means
    • B65H2301/51532Blade cutter, e.g. single blade cutter
    • BPERFORMING OPERATIONS; TRANSPORTING
    • B65CONVEYING; PACKING; STORING; HANDLING THIN OR FILAMENTARY MATERIAL
    • B65HHANDLING THIN OR FILAMENTARY MATERIAL, e.g. SHEETS, WEBS, CABLES
    • B65H2701/00Handled material; Storage means
    • B65H2701/10Handled articles or webs
    • B65H2701/17Nature of material
    • B65H2701/175Plastic
    • B65H2701/1752Polymer film

Landscapes

  • Life Sciences & Earth Sciences (AREA)
  • Forests & Forestry (AREA)
  • Engineering & Computer Science (AREA)
  • Mechanical Engineering (AREA)
  • Physics & Mathematics (AREA)
  • General Physics & Mathematics (AREA)
  • Optics & Photonics (AREA)
  • Polarising Elements (AREA)
  • Details Of Cutting Devices (AREA)
  • Perforating, Stamping-Out Or Severing By Means Other Than Cutting (AREA)

Abstract

【課題】切断不良が生じ難い光学フィルムの打ち抜き装置を提供する。【解決手段】光学フィルム原反1を切断刃61で打ち抜いて複数のフィルム製品を製造する打ち抜き装置であって、切断刃61の刃先を受ける刃受けシート2、及び、光学フィルム原反1を、それぞれ長手方向に搬送する搬送部と、切断刃61を、刃受けシート2とは反対側から光学フィルム原反1に押し当てる打ち抜き処理部と、を有し、刃受けシート2が、シートの第1端面と第2端面を突き合わせた継ぎ目5を有し、継ぎ目5が、切断刃61の延在方向に対して交差する方向に延びている。【選択図】図11

Description

本発明は、光学フィルム原反を打ち抜くことによってフィルム製品を製造する光学フィルムの打ち抜き装置及びフィルム製品の製造方法に関する。
従来、液晶表示装置や有機EL表示装置などの画像表示装置に、光学フィルムが用いられている。前記光学フィルムとしては、偏光子を含む偏光フィルム、位相差フィルム、光拡散フィルムなどが挙げられる。また、偏光フィルムなどは、偏光サングラス、調光窓などのような画像表示装置以外の用途にも用いられている。
このような光学フィルムは、前記画像表示装置の画面などに組み込むために、その画面などに合わせた所定の平面視形状に形成されている。本明細書において、所定形状に形成された光学フィルムを「フィルム製品」という。
フィルム製品は、例えば、光学フィルム原反(長尺帯状の光学フィルム或いは大判の光学フィルム)を切断刃で打ち抜くことによって得られる。
例えば、特許文献1には、台紙シートと前記台紙の上に配置された被切断シートを、受け台と切断刃の間に搬送し、前記被切断シートの上から切断刃を押し当ることによって、被切断シートを切断する加工方法が開示されている。
この打ち抜き加工においては、切断刃の刃先が台紙に至るまで、切断刃を被切断シートに進入させることにより、被切断シートから所定形状の複数の製品を連続的に得ることができる。
前記加工方法にあっては、上流側でロール状に巻かれた台紙を巻き出し、打ち抜き処理部にまで搬送して被切断シートに切断刃を押し当てた後には、その台紙は、下流側で再びロール状に巻き取られる。このため、連続的に製品を製造するために、上流側で残り少なくなった台紙に新たな台紙を継ぎ足す、台紙のスプライス処理が行なわれる。
特開2011−115890号公報
しかしながら、光学フィルム原反からフィルム製品を打ち抜く場合に、上記加工方法を適用すると、次のような問題点を生じる。
すなわち、スプライス処理された台紙(刃受けシート)は、シートの第1端面と第2端面を突き合わせて接合した継ぎ目を有する。この継ぎ目は、シート間の隙間であるため、その継ぎ目においては、切断刃の押圧力を受け止める台紙が存在しないことになる。切断刃が前記継ぎ目上に丁度合致すると、切断刃の押圧力を受け止める台紙が存在しないので、光学フィルム原反を確実に切断できないおそれがある。
本発明の目的は、切断不良が生じ難い光学フィルムの打ち抜き装置及びフィルム製品の製造方法を提供することである。
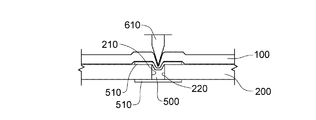
図16に示すように、シートの第1端面210と第2端面220を突き合わせてスプライス処理された刃受けシート200は、前記第1端面210と第2端面220との間に隙間(継ぎ目500)を有する。通常、この継ぎ目500に被さるようにしつつ第1端部と第2端部に跨がってスプライステープ510を貼り付けることにより、シートが接合されている。
切断刃610の延びる方向が継ぎ目500と平行である場合、その継ぎ目500と切断刃610が線状に重なったときには(継ぎ目500と切断刃610が平行であって、その平行な継ぎ目500に切断刃610の全体が重なったときには)、図16に示すように、切断刃610は全体的に継ぎ目500に進入するようになる。スプライステープ510は、通常、切断刃の押圧力を受け止めるほどの強度を有さない。このため、光学フィルム原反の下方部が、切断刃610の進入に追従して若干伸び、光学フィルム原反100を確実に切断することができない場合がある。
本発明者らは、切断刃の全体が継ぎ目に進入しないように、刃受けシートの継ぎ目の形状を工夫することにより、光学フィルム原反の切断不良を抑制できることを見出した。
本発明の打ち抜き装置は、光学フィルム原反を切断刃で打ち抜いて複数のフィルム製品を製造する装置であって、前記切断刃の刃先を受ける刃受けシート、及び、前記光学フィルム原反を、それぞれ長手方向に搬送する搬送部と、前記切断刃を、前記刃受けシートとは反対側から前記光学フィルム原反に押し当てる打ち抜き処理部と、を有し、前記刃受けシートが、シートの第1端面と第2端面を突き合わせた継ぎ目を有し、前記継ぎ目が、前記切断刃の延在方向に対して交差する方向に延びており、前記打ち抜き処理部において、前記光学フィルム原反を打ち抜く前記切断刃が、前記刃受けシートの継ぎ目と線状に重なることなく交点で交わる
本発明の好ましい打ち抜き装置は、前記刃受けシートの継ぎ目が、前記刃受けシートの長手方向と直交する短手方向に対して傾斜して延びる。
本発明の好ましい打ち抜き装置は、前記刃受けシートには、前記継ぎ目に被さり且つ前記シートの第1端部と第2端部に跨がってスプライステープが貼り付けられており、前記スプライステープの厚みが、50μm以下である。
本発明の別の局面によれば、フィルム製品の製造方法を提供する。
本発明のフィルム製品の製造方法は、光学フィルム原反を切断刃で打ち抜いて複数のフィルム製品を得る方法であって、前記切断刃の刃先を受ける刃受けシート、及び、前記光学フィルム原反を、それぞれ長手方向に搬送する工程、前記切断刃を、前記刃受けシートとは反対側から前記光学フィルム原反に押し当てることにより、前記光学フィルム原反から複数のフィルム製品を打ち抜く工程、を有し、前記刃受けシートが、シートの第1端面と第2端面を突き合わせた継ぎ目を有し、前記刃受けシートの継ぎ目が、前記打ち抜かれるフィルム製品のいずれの縁に対して交差する方向に延びており、前記打ち抜き工程において、前記光学フィルム原反を打ち抜く前記切断刃が、前記刃受けシートの継ぎ目と線状に重なることなく交点で交わる
本発明の好ましい製造方法は、前記刃受けシートの継ぎ目が、前記刃受けシートの長手方向と直交する短手方向に対して傾斜して延びる。
本発明の好ましい製造方法は、前記フィルム製品が、前記光学フィルム原反の長手方向と略平行な縦辺と前記光学フィルム原反の短手方向と略平行な横辺とを有する平面視略四角形状である。
本発明の好ましい製造方法は、前記刃受けシートには、前記継ぎ目に被さり且つ前記シートの第1端部と第2端部に跨がってスプライステープが貼り付けられており、前記スプライステープの厚みが、50μm以下である。
本発明の好ましい製造方法は、前記フィルム製品が、粘着剤層を介して積層された表面保護フィルムを含む。
本発明の好ましい製造方法は、前記フィルム製品が、偏光子を含む。
本発明の打ち抜き装置及び製造方法によれば、光学フィルム原反を打ち抜く際に切断不良が生じ難くなる。このため、光学フィルム原反から効率良くフィルム製品を製造することができる。
本発明の第1実施形態に係る光学フィルムの打ち抜き装置を示す概略側面図。 光学フィルム原反の平面図。 1つの例に係る光学フィルム原反の層構成を示す概略側面図。 他の例に係る光学フィルム原反の層構成を示す概略側面図。 継ぎ目を含む刃受けシートの平面図。 図5のVI−VI線で切断した拡大端面図。「端面図」は、切断面のみの形状を表し、切断面より奥側の形状を表していない図である。 スプライステープを貼り付ける前の刃受けシートの継ぎ目を示す平面図。 切断刃の平面図。 切断刃の拡大斜視図。 光学フィルム原反を打ち抜く際の各工程における刃受けシートなどの状態を示す平面図。 切断刃の一部が刃受けシートの継ぎ目に交差したときの状態を示す平面図。 図11のXII−XII線で切断した端面図。 図11のXIII−XIII線で切断した端面図。 第2実施形態に係る光学フィルムの打ち抜き装置を示す概略側面図。 第3実施形態に係る光学フィルムの打ち抜き装置を示す概略側面図。 従来の問題点を示す参考図。
本明細書において、「平面視」は、対象物の面に対して鉛直方向から見ることをいい、「平面視形状」及び「平面図」は、対象物の面に対して鉛直方向から見たときの対象物の形状及び図面をいう。
また、本明細書において、「略」という表現は、本発明の技術分野で許容される範囲を含むことを意味する。さらに、本明細書において、「下限値X〜上限値Y」で表される数値範囲は、下限値X以上上限値Y以下を意味する。前記数値範囲が別個に複数記載されている場合、任意の下限値と任意の上限値を選択し、「任意の下限値〜任意の上限値」を設定できるものとする。
[第1実施形態]
<光学フィルムの打ち抜き装置の概要>
図1は、光学フィルムの打ち抜き装置A1を示す。
図1を参照して、打ち抜き装置A1は、光学フィルム原反1及び刃受けシート2を搬送する搬送部Bと、打ち抜き処理部Cと、抜きカス除去部Dと、製品回収部Eと、を有する。
打ち抜き処理部Cは、切断刃を有する。
<搬送部>
打ち抜き装置A1の搬送部Bは、光学フィルム原反1や刃受けシート2などを送るガイドローラ31と、駆動装置(図示せず)と、を有する。
前記搬送部Bは、巻き出し部321から光学フィルム原反1を巻き出し、その光学フィルム原反1を長手方向に搬送する。
また、前記搬送部Bは、巻き出し部322から刃受けシート2を巻き出し、その刃受けシート2を長手方向に搬送する。なお、光学フィルム原反1の長手方向と刃受けシート2の長手方向は、同じ方向であり、光学フィルム原反1の短手方向と刃受けシート2の短手方向は、同じ方向である。
前記搬送部Bによって、それぞれ独立して搬送される光学フィルム原反1と刃受けシート2は、途中で重ね合わされ、その重ね合わせ状態で打ち抜き処理部Cに送られる。例えば、刃受けシート2の表面上に光学フィルム原反1が重ねられる。重ねられた光学フィルム原反1と刃受けシート2は、同期して打ち抜き処理部Cに搬送される。搬送部Bには、必要に応じて、重ね合わされた光学フィルム原反1と刃受けシート2を搬送するベルトコンベア34が具備されている。
前記打ち抜き処理部Cに搬送された光学フィルム原反1は、切断刃61によって打ち抜かれた後、抜きカスとフィルム製品に分割される。
前記打ち抜き処理部Cに搬送された刃受けシート2は、切断刃61の刃先を受入れた後、下流側に搬送されて巻き取り部332に巻き取られる。
<光学フィルム原反>
本発明の打ち抜き装置A1は、光学フィルム原反1を打ち抜いてフィルム製品を得るものである。
フィルム製品を得るための光学フィルム原反は、一般には、長尺帯状のフィルム、又は、大判のフィルムである。
図示例では、長尺帯状の光学フィルム原反1を用いてフィルム製品を打ち抜いていく場合を示している。ただし、図2では、長尺帯状の光学フィルム原反1の長手方向一方側を省略している。長尺帯状の光学フィルム原反1は、ロール状に巻かれた状態で、打ち抜き装置A1の巻き出し部321にセットされる。ここで、本明細書において、長尺帯状は、長手方向の長さが短手方向よりも十分に長い平面視略長方形状をいう。光学フィルム原反1の長手方向の長さは、例えば、5m以上であり、好ましくは、長手方向の長さが10m以上である。なお、短手方向は、長手方向と直交する方向である。
光学フィルム原反1は、光学フィルムを含んでいる。光学フィルム原反1は、光学フィルムのみから構成されていてもよく、光学フィルムと光学フィルム以外の構成要素を有していてもよい。
図3及び図4は、光学フィルム原反1の層構成を例示している。
光学フィルム原反1は、光学フィルム11と、セパレーターフィルム13と、光学フィルム11とセパレーターフィルム13の間に介在して両フィルム11,13を貼り合わせる粘着剤層12と、を有する。粘着剤層12は、光学フィルム11に強固に接着され、且つ、セパレーターフィルム13には剥離可能に接着されている。セパレーターフィルム13は、粘着剤層12との界面において剥離できる。
なお、前記粘着剤層12及びセパレーターフィルム13を有さない光学フィルム原反を用いてもよい(図示せず)。
光学フィルム11は、光学機能フィルムを含んでいる。前記光学機能フィルムとしては、偏光子、位相差フィルム、光拡散フィルム、輝度向上フィルム、防眩フィルム、光反射フィルムなどが挙げられる。偏光子は、特定の1つの方向に振動する光(偏光)を透過し、それ以外の方向に振動する光を遮断する性質を有するフィルムである。位相差フィルムは、光学異方性を示すフィルムであり、代表的には、例えば、アクリル系樹脂、シクロオレフィン系樹脂、セルロース系樹脂などの延伸フィルムなどが挙げられる。
また、光学フィルム11は、保護フィルムを含んでいてもよい。保護フィルムは、前記光学機能フィルムを保護する目的で積層される。保護フィルムは、典型的には、無色透明なフィルムが用いられる。
図3に例示する光学フィルム原反1では、光学フィルム11は、図面の下から順に、第1保護フィルム111と、偏光子112と、第2保護フィルム113と、を有する。前記各フィルム111乃至113が互いに接着されることにより、1つの積層フィルム(光学フィルム11)が構成されている。なお、図示例では、第1保護フィルム111と偏光子112、及び、偏光子112と第2保護フィルム113は、それぞれ直接的に接着されているが、必要に応じて、これらのフィルムの間に接着剤層(又は粘着剤層)が介在され且つ各フィルムが接着剤層(又は粘着剤層)を介して接着されていてもよい(図示せず)。また、前記光学フィルム11の表面(第2保護フィルム113の表面)に、粘着剤層15を介して表面保護フィルム14が積層されている。表面保護フィルム14は、例えば、粘着剤層15を伴って光学フィルム11の表面から剥離することができる。
なお、表面保護フィルム14及び粘着剤層15は、必要に応じて設けられるので、表面保護フィルム14及び粘着剤層15を有さない光学フィルム原反1を用いてもよい。
図4に例示する光学フィルム原反1では、光学フィルム11は、位相差フィルム115を有する。また、前記光学フィルム11の表面(位相差フィルム115の表面)に、粘着剤層17を介して表面保護フィルム16が積層されている。表面保護フィルム16は、例えば、粘着剤層17を伴って光学フィルム11(位相差フィルム115)の表面から剥離することができる。
なお、表面保護フィルム16及び粘着剤層17は、必要に応じて設けられるので、表面保護フィルム16及び粘着剤層17を有さない光学フィルム原反1を用いてもよい。
なお、光学フィルム11は、図3及び図4の層構成に限られず、様々に変更できる。例えば、光学フィルムは、2層以上の光学機能フィルムを含んでいてもよく、或いは、1層の光学機能フィルムのみから構成されていてもよい。
前記光学フィルム11に設けられる粘着剤層12,15,17は、常温で粘着性を有し且つ剥離後も粘着性が持続して再貼付可能なものである。粘着剤層12,15,17は、公知の粘着剤によって構成される。前記粘着剤としては、無色透明なアクリル系粘着剤、ゴム系粘着剤、シリコーン系粘着剤、ウレタン系粘着剤、ビニルアルキルエーテル系粘着剤、ポリビニルピロリドン系粘着剤、ポリアクリルアミド系粘着剤、セルロース系粘着剤などが挙げられる。
前記粘着剤層12,15,17の厚みは、特に限定されないが、例えば、0.1μm〜50μmであり、好ましくは1μm〜30μmである。
セパレーターフィルム13は、特に限定されないが、通常、光学機能フィルムを含まないフィルムが用いられる。
セパレーターフィルム13は、前記粘着剤層12に対して剥離性に優れた離型面を有する。
セパレーターフィルム13としては、例えば、ポリエチレン、ポリプロピレン、ポリエチレンテレフタレート、ポリエステルフィルムなどの樹脂フィルム;紙;織布、不織布、網布などの多孔質フィルム;発泡樹脂フィルム;などが挙げられる。表面平滑性に優れていることから、セパレーターフィルム13は、樹脂フィルムであることが好ましい。
前記樹脂フィルムとしては、例えば、ポリエチレンテレフタレートフィルム、ポリブチレンテレフタレートフィルム、ポリエチレンフィルム、ポリプロピレンフィルム、ポリブテンフィルム、ポリブタジエンフィルム、ポリメチルペンテンフイルム、ポリ塩化ビニルフィルム、塩化ビニル共重合体フィルム、ポリウレタンフィルム、エチレン−酢酸ビニル共重合体フィルムなどが挙げられる。
前記セパレーターフィルム13の厚みは、特に限定されず、例えば、5μm〜200μmであり、好ましくは10μm〜100μmである。
<刃受けシート>
刃受けシート2は、切断刃61の刃先を受けるシートである。
光学フィルム原反1を貫通し且つ光学フィルム原反1の裏面側に出た切断刃61の刃先が、刃受けシート2に食い込むことにより、前記光学フィルム原反が確実に切断され且つ前記切断刃61の刃先が劣化することを防止できる。
刃受けシート2としては、前記切断刃61の刃先を受け入れることができる柔軟性を有し、さらに、前記刃先が進入しても破断しない程度の強度及び厚みを有するシートが用いられる。
例えば、刃受けシート2としては、合成樹脂製シート、ゴム製シート、不織布などを用いることができ、特に、合成樹脂製シートが好ましい。前記合成樹脂シートとしては、ポリスチレンなどのスチレン系樹脂シート;ポリエチレンやポリプロピレンなどのポリオレフィン系樹脂シート;ポリエチレンテレフタレートなどのポリエステル系樹脂シート;66ナイロンなどのポリアミド系樹脂シート;ポリ塩化ビニルなどのポリ塩化ビニル系樹脂シート;などが挙げられる。また、2種以上の樹脂シートが積層された積層シートを用いてもよい。
刃受けシート2の厚みは、特に限定されない。刃受けシート2の厚みが余りに小さいと切断刃61によって容易に破断するおそれがあることから、刃受けシート2の厚みは、切断刃61の刃先の進入量を越えていることが好ましい。かかる観点から、刃受けシート2の厚みは、例えば、0.4mm以上であり、好ましくは0.5mm以上である。また、刃受けシート2の厚みが余りに大きいと取り扱い難くなる上、材料コストも上がる。かかる観点から、刃受けシート2の厚みは、例えば、2mm以下であり、好ましくは1mm以下であり、より好ましくは、0.8mm以下である。
本実施形態の刃受けシート2は、図5に示すように長尺帯状である。ただし、図5では、長尺帯状の刃受けシート2の長手方向両側を省略している(図7も同様)。刃受けシート2は、ロール状に巻かれた状態で、打ち抜き装置A1の巻き出し部322にセットされる。
刃受けシート2は、シートの第1端面21と第2端面22を突き合わせた継ぎ目5を有する。本発明においては、刃受けシート2の継ぎ目5が、切断刃61の延在方向に対して交差する方向に延びていることを特徴とする。
後述するように、光学フィルム原反1を切断刃61で打ち抜くと、切断刃61の平面視形状と同形状の縁を有するフィルム製品が形成される。このため、フィルム製品との関係では、前記刃受けシート2の継ぎ目5は、フィルム製品のいずれの縁に対して交差する方向に延びているとも言える。
刃受けシート2の継ぎ目5は、向かい合った第1端面21と第2端面22の間の隙間である。前記継ぎ目5は、刃受けシート2の短手方向一方側の縁から、切断刃61の延在方向に対して交差する方向に延びつつ刃受けシート2の短手方向反対側の縁へと延在している。
具体的には、本実施形態では、刃受けシート2は、少なくとも2つのシートの端面21,22同士を突き合せ且つスプライステープ51を用いてその2つのシートを接合したものである。このような接合方式は、バットスプライスと呼ばれる。
図7は、スプライステープ51を貼り付ける前の刃受けシート2を示す平面図である。
第1シートの第1端面21は、平面視で、短手方向(短手方向は長手方向と直交する方向)に対して傾斜した直線状に形成されている。従って、第1シートの第1端面21は、平面視で、短手方向に対して所定角度で傾斜しつつ短手方向に延在している。第2シートの第2端面22は、前記第1端面21と略平行となるように、平面視で、短手方向に対して傾斜した直線状に形成されている。
従って、第1端面21と第2端面22との間の継ぎ目5は、平面視で、短手方向に対して傾斜した直線状に延びている。
短手方向に対する継ぎ目5の角度αは、特に限定されない。例えば、継ぎ目5の角度αは、短手方向に対して、5度〜30度とされ、好ましくは、10度〜20度とされる。
継ぎ目5の幅5W(第1端面21と第2端面22との間隔)は、特に限定されず、例えば、0.5mm〜3mmであり、好ましくは、0.7mm〜2mmである。なお、継ぎ目5の幅は、短手方向において均等であってもよく、或いは、不均等であってもよい。継ぎ目5が不均等である場合の前記継ぎ目5の幅5Wは、その最大値を採用するものとする。
図7に示すように、シートの第1端面21と第2端面22を突き合わせた後、継ぎ目5に被さりつつそのシートの第1端部21aと第2端部22aに跨がってスプライステープ51を貼り付けることにより、図5及び図6に示すような長尺帯状の刃受けシート2が構成されている。
スプライステープ51は、基材と接着剤又は粘着剤とを有し、接着剤又は粘着剤を介して刃受けシート2に貼り付けられている。なお、接着剤又は粘着剤は図示しない。
スプライステープ51は、刃受けシート2の表面又は裏面の何れかのみにおいて第1端部21aと第2端部22aに跨がって貼り付けられていてもよい。継ぎ目5を確実に接合するために、図6に示すように刃受けシート2の表面及び裏面の双方において、スプライステープ51,51がそれぞれ継ぎ目5に被さり且つ第1端部21aと第2端部22aに跨がって貼り付けられていることが好ましい。
図5に示すように、スプライステープ51は、継ぎ目5の傾斜に合せて、平面視で、短手方向に対して所定角度を成して貼り付けられている。
スプライステープ51の基材は、特に限定されず、例えば、合成樹脂製シート、紙、合成紙、不織布及びこれらの積層シートなどが挙げられる。
スプライステープ51の幅51Wは、特に限定されず、例えば、10mm〜30mmである。
スプライステープ51の厚み51Tは、特に限定されない。厚みが余りに大きいと、打ち抜き時にフィルム製品が割れるなどの不都合が生じるおそれがあることから、スプライステープ51の厚みは可及的に小さいことが好ましい。かかる観点から、スプライステープ51の厚みは、例えば、50μm以下であり、好ましくは、40μm以下であり、より好ましくは、30μm以下である。他方、厚みが余りに小さいとスプライステープ51が容易に破断するおそれがある。かかる観点から、スプライステープ51の厚み51Tは、例えば、10μm以上であり、好ましくは15μm以上である。
ただし、前記スプライステープ51の厚み51Tは、接着剤又は粘着剤の厚みを含む。
<打ち抜き処理部>
図1を参照して、打ち抜き処理部Cは、カッター装置6を有する。カッター装置6は、切断刃61と、ベース板62と、を有する。
また、切断刃61に対向して、受け台63が設けられている。
受け台63は、例えば、強度に優れた鋼板などが用いられる。前記受け台63は、打ち抜き装置A1のフレームなどに固定されている。前記受け台63は、刃受けシート2の裏面側に配置される。図示例のように、光学フィルム原反1と刃受けシート2を搬送するベルトコンベア34が配置されている場合、受け台63は、ベルトコンベア34の内側に配置されている。この場合、図1の紙面下側から上側に向かって順に、受け台63、ベルトコンベア34のベルト、刃受けシート2、光学フィルム原反1、切断刃61が配置される。
なお、受け台63は、ベルトコンベア34の外側(表面側)に配置されていてもよい。
前記切断刃61は、ベース板62に設けられている。
ベース板62は、平坦状であり、そのベース板62に、切断刃61が固定的に設けられている。カッター装置6(切断刃61)は、図示しない駆動装置によって、光学フィルム原反1の表面に対して鉛直方向に進行し且つ退出される。本実施形態のカッター装置6は、光学フィルム原反1の表面に対して鉛直方向に出退することによって光学フィルム原反1を打ち抜く、プレス方式のカッターである。図1に、カッター装置6の移動を太い矢印で示している。
このようなカッター装置6としては、代表的には、トムソン刃を用いることができる。
図8は、切断刃61を含むカッター装置6の平面図である(図8は、図1のカッター装置6を紙面下側から見た図である)。図9は、その拡大斜視図である。図9では、一部分を省略している。また、図9には、切断刃61の立体的な形状を部分的に示した拡大図を併記している。
図8及び図9において、カッター装置6のベース板62の表面には、切断刃61が突設されている。一般的には、1度のプレスによって、同時に複数のフィルム製品を打ち抜くために、1つのベース板62に複数の切断刃61が設けられている。
前記切断刃61は、平面視で無端環状である。複数の切断刃61は、一定間隔を開けてベース板62に設けられている。
切断刃61は、図9の拡大図に示すように、通常、刃先61aが鋭利に尖っており、ベース板62側に向かうに従って肉厚となっている。刃先61aの角度βは、特に限定されず、例えば、20度〜40度である。
カッター装置6の切断刃61は、前記刃受けシート2の継ぎ目5に対して交差するように配置されている。また、切断刃61は、前記刃受けシート2の継ぎ目5の延在方向に対して平行とならないように(継ぎ目5の延在方向に対して非平行に)配置されている。
例えば、各切断刃61は、刃受けシート2の短手方向と略平行に延びる第1部分611と、刃受けシート2の長手方向と略平行に延びる第2部分612と、を有する。前記切断刃61の第1部分611と第2部分612は、いずれも継ぎ目5の延在方向に対して交差する方向に延びている。
各切断刃61の平面視形状は、例えば、図8に示すように、略四角形状(略長方形状又は略正方形状)とされている。
上述のように、打ち抜き処理部Cには、光学フィルム原反1の裏面に刃受けシート2が重なった状態で搬送されている。
打ち抜き処理部Cにおいて、カッター装置6の切断刃61を、光学フィルム原反1の表面側から光学フィルム原反1に押し当てる。なお、前記光学フィルム原反1の表面側は、光学フィルム原反1の両面のうち、重ねられた刃受けシート2とは反対側の面である。
光学フィルム原反1に切断刃61を押し当てることにより、光学フィルム原反1の面内に、切断刃61の平面視形状と同形状の切断線が生じる。この切断線で囲われた部分が、フィルム製品である。
<抜きカス除去部>
抜きカス除去部Dは、打ち抜き処理部Cにて光学フィルム原反1の面内に形成されたフィルム製品(切断線で囲われた部分)の周りに残存する抜きカスを除去する。
抜きカス除去部Dは、前記切断刃61で打ち抜かれた光学フィルム原反1を押さえる押さえローラ71と、前記押さえローラ71を支点にして反転させた抜きカスを回収する回収ローラ72と、を有する。
打ち抜かれた光学フィルム原反1は、ベルトコンベア35にて下流側に搬送され、押さえローラ71において、抜きカス91とフィルム製品9が分離される。抜きカス91は、回収ローラ72に回収される。フィルム製品9は、ベルトコンベア36によって下流側に搬送される。
<製品回収部>
製品回収部Eは、前記抜きカス除去部Dにおいて抜きカス91を除去することによって得られるフィルム製品9を回収する回収部37と、を有する。
[打ち抜き装置を使用したフィルム製品の製造方法]
図10のS1乃至S4で示す各平面図は、図1の白抜き矢印S1乃至S4の方向から見たときの平面図(ただし、長手方向両側を省略)である。
図1及び図10のS1を参照して、搬送部Bによって、光学フィルム原反1及び刃受けシート2を長手方向下流側に搬送する(搬送工程)。なお、図1の細い矢印は、光学フィルム原反1などの搬送方向を示す。
図1及び図10のS2を参照して、搬送途中で、刃受けシート2の表面上に光学フィルム原反1を重ね合わせ、その状態で、打ち抜き処理部Cへと搬送する。
打ち抜き処理部Cにおいて、カッター装置6の切断刃61を、刃受けシート2とは反対側(表面側)から前記光学フィルム原反1に押し当てる(打ち抜き工程)。
切断刃61の刃先61aが刃受けシート2に至るまで切断刃61が光学フィルム原反1の厚み方向に進入することにより、光学フィルム原反1を切断刃61の平面視形状と同形状に打ち抜くことができる。
打ち抜き処理部Cを通過した刃受けシート2は、巻き取り部332に巻き取られる。
図10のS3を参照して、符号Xは、切断刃61によって光学フィルム原反1の面内に形成された切断線を示し、また、無数のドットを付した部分は、抜きカス91を示す。
打ち抜かれた光学フィルム原反1は、ベルトコンベア35で下流側に搬送される。抜きカス除去部Dにおいて、打ち抜いた後の光学フィルム原反1のうち抜きカス91を、押さえローラ71において反転させ、それを回収ローラ72に回収する(除去工程)。
このようにして、図1及び図10のS4に示すようなフィルム製品9を連続的に製造できる。得られるフィルム製品9は、いずれの縁も刃受けシート2の継ぎ目5に対して交差する方向に延びている。換言すると、刃受けシート2の継ぎ目5は、打ち抜かれるフィルム製品9のいずれの縁に対して交差する方向に延びている。なお、フィルム製品9の縁は、前記切断線Xと同形状である。
例えば、フィルム製品9は、光学フィルム原反1(刃受けシート2)の長手方向と略平行に延びる縁と、光学フィルム原反1(刃受けシート2)の短手方向と略平行に延びる縁と、を有する。
図示例では、フィルム製品9は、前記光学フィルム原反1の長手方向と略平行な縦辺9aと前記光学フィルム原反1の短手方向と略平行な横辺9bとを有する平面視略四角形状である。
なお、図示例では、短手方向に5つ(5列)のフィルム製品9を製造する場合を表しているが、この数に限定されるわけではない。製造時の短手方向におけるフィルム製品9の数(短手方向における切断刃61の数)は、光学フィルム原反1の短手方向長さとフィルム製品9の長さとの関係で設定される。従って、短手方向におけるフィルム製品9の数は、1以上で、適宜に設定される。
得られたフィルム製品9は、製品回収部Eにおいて回収される。
このように長尺帯状の光学フィルム原反1から連続的にフィルム製品9を製造することができる。
なお、前記製造の途中で、巻き出し部322に巻き付けられた刃受けシート2の残量が少なくなったときには、新たな刃受けシート2をスプライス処理することにより、引き続いてフィルム製品9を連続的に製造できる。新たな刃受けシート2をスプライスする際にも、上記と同様に、切断刃61の延在方向に対して交差する方向に延びる継ぎ目5を形成する。
本発明の打ち抜き装置A1は、光学フィルム原反1の打ち抜き不良を抑制できる。
図11は、打ち抜き処理部Cに刃受けシート2の継ぎ目5付近が搬送されてきたときの状態を示す参考的な平面図である。図11において、切断刃61を二点鎖線で示し、光学フィルム原反1を小さい破線で示している。図12は、切断刃61が継ぎ目5に交差する箇所で切断した端面図であり、図13は、切断刃61が継ぎ目5に交差しない箇所で切断した端面図である。
図11を参照して、長尺帯状の光学フィルム原反1から連続的にフィルム製品9を打ち抜いていく途中で、刃受けシート2の継ぎ目5付近が打ち抜き処理部Cに到達する。
本発明の刃受けシート2の継ぎ目5は、前記切断刃61の延在方向に対して交差する方向に延びているので、継ぎ目5と切断刃61が線状に重なることがなく、継ぎ目5と1つの切断刃61は、交点で交わる。
図11の符号Yは、1つの切断刃61の第1部分611(刃受けシート2の短手方向と略平行に延びる第1部分611)が、継ぎ目5に交差した交点を示している。
この交点Yにおける切断刃61の第1部分611の刃先61aは、継ぎ目5に進入するが(図12参照)、前記交点を除いた第1部分611は、光学フィルム原反1の厚み方向全体に貫通し、その刃先61aを刃受けシート2が受け止める(図13参照)。このため、前記切断刃61の第1部分611の押圧力が光学フィルム原反1の厚み方向全体に作用し、光学フィルム原反1の切断不良が生じ難くなる。切断不良を生じることなく光学フィルム原反1に切断線Xを形成できるので、抜きカス除去部Dにおいて抜きカス91を容易に回収できる。なお、仮に、前記交点において若干の切断不良が生じたとしても、その不良箇所は点であるので、抜きカス91の回収に支障が生じることもない。
刃受けシート2に対する刃先61aの進入量は、適宜設定されるが、例えば、0μm〜200μmである。なお、前記進入量は、刃先61aの先端と刃受けシート2の表面との間の距離をいう。前記進入量が零の場合には、刃先61aの先端が刃受けシート2の表面に接する場合を意味する。
図12及び図13では、1つの切断刃61の第1部分611が継ぎ目5に交差したときを説明したが、他の切断刃61の第1部分611が継ぎ目5に交差したときも同様の理由から、切断不良を生じ難くなる。また、切断刃61の第2部分612が継ぎ目5に交差したときも同様である。
また、刃受けシート2の表面にスプライステープ51が貼り付けられている場合、図12及び図13に示すように、スプライステープ51上に光学フィルム原反1が重なる箇所が生じる。光学フィルム原反1のうちスプライステープ51に重なった箇所は、スプライステープ51の厚み相当分だけ浮き上がる。このため、その箇所に押し当てられる切断刃61は、それ以外の箇所よりも、光学フィルム原反1により深く進入することになる。切断刃61は、刃先61aからベース板62側に向かって徐々に肉厚となっているので、切断刃61が深く進入すると、それだけ切断線の幅が大きくなり、フィルム製品9に割れなどが生じるおそれがある。この点、上記のように、厚みが50μm以下のスプライステープ51を用いることにより、前記フィルム製品9の割れなどを防止できる。
特に、保護フィルムを有する光学フィルム原反1は、切断刃61で打ち抜いたときに、保護フィルムの剥離が生じるおそれがあるが、上記スプライステープ51を用いることにより、保護フィルムの剥離などを防止できる。
得られたフィルム製品9の層構成は、上述の光学フィルム原反1の層構成と同じである。
フィルム製品9が、例えば、光学フィルム11/粘着剤層12/セパレーターフィルム13からなる場合、セパレーターフィルム13を剥離することにより、フィルム製品9を任意の部材(例えば、画像表示装置の画面など)に貼り付けることができる。
ただし、フィルム製品9は、任意の部材に貼り付けて使用する用途に限定されるわけではない。
以下、本発明の第2実施形態などを説明するが、その説明に於いては、主として上述の実施形態と異なる構成及び効果について説明し、同様の構成などについては、用語又は符号をそのまま援用し、その構成の説明を省略する場合がある。
[第2実施形態]
上記第1実施形態では、刃受けシート2は、巻き出し部322から出され、打ち抜き処理部Cを通過した後に巻き取り部332へ巻き取られる方式であるが、これに限定されない。
例えば、図14に示すように、刃受けシート2が、ベルトコンベアのベルトのごとく、エンドレス状に形成されていてもよい。このエンドレス状の刃受けシート2は、図示の側面視で環状であり、打ち抜き処理部Cを循環する方式である。エンドレス状の刃受けシート2は、長尺帯状の刃受けシート2を環状にし、その第1端面と第2端面を突き合わせた継ぎ目5をスプライステープ51にて接合することによって得られる。エンドレス状の刃受けシート2についても、上記第1実施形態と同様に、切断刃61の延在方向に対して交差する方向に延びる継ぎ目5を形成する。
本実施形態の打ち抜き装置A2においても、上記第1実施形態と同様に、光学フィルム原反1の切断不良が生じ難い。さらに、本実施形態では、エンドレス状の刃受けシート2を打ち抜き処理部Cに循環させるので、刃受けシート2の使用量を少なくできる。なお、エンドレス状の刃受けシート2を循環使用していると、刃受けシート2の表面に切断刃61の刃先61a跡が多数生じるようになるので、適宜な時期に、刃受けシート2を交換することが好ましい。
[第3実施形態]
上記第1及び第2実施形態では、プレス方式のカッター装置6を例示したが、例えば、図15に示すように、ロータリーダイ65を用いてもよい。ロータリーダイ65は、その周面に切断刃61が突設されている。本実施形態の打ち抜き装置A3において、ロータリーダイ65の周面に設けられている切断刃61も、上記第1実施形態と同様に、刃受けシート2の継ぎ目5に対して交差するように配置される。
なお、ロータリーダイ65を用いる場合、上記受け台63に代えて、アンビルローラ66が対向配置される。
[第4実施形態]
上記第1乃至第3実施形態では、平面視略四角形状のフィルム製品9を製造する場合を例示したが、フィルム製品9の形状(つまり、切断刃61の平面視形状)は、これに限定されず、本発明の意図する範囲で適宜に変更してもよい。
A1,A2,A3 打ち抜き装置
B 搬送部
C 打ち抜き処理部
D 抜きカス除去部
1 光学フィルム原反
2 刃受けシート
5 継ぎ目
21 第1端面
21a 第1端部
22 第2端面
22a 第2端部
51 スプライステープ
61 切断刃
61a 切断刃の刃先

Claims (9)

  1. 光学フィルム原反を切断刃で打ち抜いて複数のフィルム製品を製造する装置であって、
    前記切断刃の刃先を受ける刃受けシート、及び、前記光学フィルム原反を、それぞれ長手方向に搬送する搬送部と、
    前記切断刃を、前記刃受けシートとは反対側から前記光学フィルム原反に押し当てる打ち抜き処理部と、を有し、
    前記刃受けシートが、シートの第1端面と第2端面を突き合わせた継ぎ目を有し、
    前記継ぎ目が、前記切断刃の延在方向に対して交差する方向に延びており、
    前記打ち抜き処理部において、前記光学フィルム原反を打ち抜く前記切断刃が、前記刃受けシートの継ぎ目と線状に重なることなく交点で交わる、光学フィルムの打ち抜き装置。
  2. 前記刃受けシートの継ぎ目が、前記刃受けシートの長手方向と直交する短手方向に対して傾斜して延びる、請求項1に記載の光学フィルムの打ち抜き装置。
  3. 前記刃受けシートには、前記継ぎ目に被さり且つ前記シートの第1端部と第2端部に跨がってスプライステープが貼り付けられており、
    前記スプライステープの厚みが、50μm以下である、請求項1または2に記載の光学フィルムの打ち抜き装置。
  4. 光学フィルム原反を切断刃で打ち抜いて複数のフィルム製品を得る方法であって、
    前記切断刃の刃先を受ける刃受けシート、及び、前記光学フィルム原反を、それぞれ長手方向に搬送する工程、
    前記切断刃を、前記刃受けシートとは反対側から前記光学フィルム原反に押し当てることにより、前記光学フィルム原反から複数のフィルム製品を打ち抜く工程、を有し、
    前記刃受けシートが、シートの第1端面と第2端面を突き合わせた継ぎ目を有し、
    前記刃受けシートの継ぎ目が、前記打ち抜かれるフィルム製品のいずれの縁に対して交差する方向に延びており、
    前記打ち抜き工程において、前記光学フィルム原反を打ち抜く前記切断刃が、前記刃受けシートの継ぎ目と線状に重なることなく交点で交わる、フィルム製品の製造方法。
  5. 前記刃受けシートの継ぎ目が、前記刃受けシートの長手方向と直交する短手方向に対して傾斜して延びる、請求項4に記載のフィルム製品の製造方法。
  6. 前記フィルム製品が、前記光学フィルム原反の長手方向と略平行な縦辺と前記光学フィルム原反の短手方向と略平行な横辺とを有する平面視略四角形状である、請求項4または5に記載のフィルム製品の製造方法。
  7. 前記刃受けシートには、前記継ぎ目に被さり且つ前記シートの第1端部と第2端部に跨がってスプライステープが貼り付けられており、
    前記スプライステープの厚みが、50μm以下である、請求項4乃至6のいずれか一項に記載のフィルム製品の製造方法。
  8. 前記フィルム製品が、粘着剤層を介して積層された表面保護フィルムを含む、請求項4乃至7のいずれか一項に記載のフィルム製品の製造方法。
  9. 前記フィルム製品が、偏光子を含む、請求項4乃至8のいずれか一項に記載のフィルム製品の製造方法。
JP2020046651A 2020-03-17 2020-03-17 光学フィルムの打ち抜き装置、及び、フィルム製品の製造方法 Active JP6900534B1 (ja)

Priority Applications (5)

Application Number Priority Date Filing Date Title
JP2020046651A JP6900534B1 (ja) 2020-03-17 2020-03-17 光学フィルムの打ち抜き装置、及び、フィルム製品の製造方法
CN202080017046.8A CN113490580B (zh) 2020-03-17 2020-12-01 光学膜的冲裁装置以及膜制品的制造方法
PCT/JP2020/044580 WO2021157168A1 (ja) 2020-03-17 2020-12-01 光学フィルムの打ち抜き装置、及び、フィルム製品の製造方法
KR1020217018517A KR102341629B1 (ko) 2020-03-17 2020-12-01 광학 필름의 펀칭 장치 및 필름 제품의 제조 방법
TW109143196A TWI753691B (zh) 2020-03-17 2020-12-08 光學膜之沖壓裝置、及薄膜製品之製造方法

Applications Claiming Priority (1)

Application Number Priority Date Filing Date Title
JP2020046651A JP6900534B1 (ja) 2020-03-17 2020-03-17 光学フィルムの打ち抜き装置、及び、フィルム製品の製造方法

Publications (2)

Publication Number Publication Date
JP6900534B1 true JP6900534B1 (ja) 2021-07-07
JP2021146426A JP2021146426A (ja) 2021-09-27

Family

ID=76649984

Family Applications (1)

Application Number Title Priority Date Filing Date
JP2020046651A Active JP6900534B1 (ja) 2020-03-17 2020-03-17 光学フィルムの打ち抜き装置、及び、フィルム製品の製造方法

Country Status (5)

Country Link
JP (1) JP6900534B1 (ja)
KR (1) KR102341629B1 (ja)
CN (1) CN113490580B (ja)
TW (1) TWI753691B (ja)
WO (1) WO2021157168A1 (ja)

Families Citing this family (3)

* Cited by examiner, † Cited by third party
Publication number Priority date Publication date Assignee Title
JP7340653B1 (ja) * 2022-05-16 2023-09-07 日東電工株式会社 枚葉フィルムの製造方法
JP2024077234A (ja) * 2022-11-28 2024-06-07 日東電工株式会社 積層体チップの製造方法および積層体チップの製造装置
CN120916897A (zh) * 2023-03-15 2025-11-07 应用材料公司 用于裸晶传送基板的中介板的层压方法

Family Cites Families (8)

* Cited by examiner, † Cited by third party
Publication number Priority date Publication date Assignee Title
JPS5896504U (ja) * 1981-12-21 1983-06-30 日東電工株式会社 偏光板の接続構造
JP2004090129A (ja) * 2002-08-30 2004-03-25 Sumitomo Heavy Ind Ltd トリミング装置
JP2007307683A (ja) * 2006-05-22 2007-11-29 Nitto Denko Corp 光学フィルムシートの打抜き装置および光学フィルムシートの打抜き方法
JP5070226B2 (ja) * 2009-01-07 2012-11-07 シャープ株式会社 打抜き装置および打抜き方法
JP4503691B1 (ja) * 2009-10-13 2010-07-14 日東電工株式会社 液層表示素子の連続製造方法及び装置
JP5537916B2 (ja) 2009-12-03 2014-07-02 花王株式会社 シートの加工方法
JP4657378B1 (ja) * 2010-08-05 2011-03-23 日東電工株式会社 ロール原反、並びに、光学表示装置の製造システム及び製造方法
JP6322591B2 (ja) * 2015-02-12 2018-05-09 富士フイルム株式会社 フィルム端部裁断方法、フィルム端部裁断装置、および、光学フィルムの製造方法

Also Published As

Publication number Publication date
CN113490580A (zh) 2021-10-08
KR20210117253A (ko) 2021-09-28
TW202136008A (zh) 2021-10-01
JP2021146426A (ja) 2021-09-27
TWI753691B (zh) 2022-01-21
CN113490580B (zh) 2022-02-18
WO2021157168A1 (ja) 2021-08-12
KR102341629B1 (ko) 2021-12-22

Similar Documents

Publication Publication Date Title
JP6900534B1 (ja) 光学フィルムの打ち抜き装置、及び、フィルム製品の製造方法
KR101070283B1 (ko) 광학표시장치의 제조시스템 및 당해 광학표시장치의 제조방법
JP7726638B2 (ja) フィルム製品の製造方法及びその製造装置
KR101552410B1 (ko) 광학 필름 롤 세트 및 광학 필름 롤 세트의 제조 방법
JP2005043384A (ja) 偏光板貼合方法及び装置
CN108326949B (zh) 一种无刀印薄膜加工工艺
JP4342851B2 (ja) 偏光板貼合方法及び装置
JP2023169175A (ja) 枚葉フィルムの製造方法
CN113490632B (zh) 膜产品的制造方法及其制造装置
JP2004262071A (ja) シート貼合せ方法
JP7374821B2 (ja) 光学積層フィルムの製造装置、及び光学積層フィルムの製造方法
JP2009163150A (ja) 光学シート積層体およびバックライトユニットの製造方法、該製造方法で得られる光学シート積層体およびバックライトユニット、および光学シート積層装置
KR101445582B1 (ko) 디스플레이장치용 접착시트 제조방법
JP2015171769A (ja) フィルム貼合装置、フィルム貼合方法および積層フィルム
JP3905605B2 (ja) フィルム張付方法及び装置
JP2001030385A (ja) タックラベルの製造方法及び製造装置
KR102376428B1 (ko) 표시장치용 라미네이션 장치

Legal Events

Date Code Title Description
A521 Request for written amendment filed

Free format text: JAPANESE INTERMEDIATE CODE: A523

Effective date: 20210519

A621 Written request for application examination

Free format text: JAPANESE INTERMEDIATE CODE: A621

Effective date: 20210519

A871 Explanation of circumstances concerning accelerated examination

Free format text: JAPANESE INTERMEDIATE CODE: A871

Effective date: 20210519

TRDD Decision of grant or rejection written
A01 Written decision to grant a patent or to grant a registration (utility model)

Free format text: JAPANESE INTERMEDIATE CODE: A01

Effective date: 20210615

A61 First payment of annual fees (during grant procedure)

Free format text: JAPANESE INTERMEDIATE CODE: A61

Effective date: 20210616

R150 Certificate of patent or registration of utility model

Ref document number: 6900534

Country of ref document: JP

Free format text: JAPANESE INTERMEDIATE CODE: R150

R250 Receipt of annual fees

Free format text: JAPANESE INTERMEDIATE CODE: R250

R250 Receipt of annual fees

Free format text: JAPANESE INTERMEDIATE CODE: R250