JP6849552B2 - コーヒー食品 - Google Patents
コーヒー食品 Download PDFInfo
- Publication number
- JP6849552B2 JP6849552B2 JP2017147209A JP2017147209A JP6849552B2 JP 6849552 B2 JP6849552 B2 JP 6849552B2 JP 2017147209 A JP2017147209 A JP 2017147209A JP 2017147209 A JP2017147209 A JP 2017147209A JP 6849552 B2 JP6849552 B2 JP 6849552B2
- Authority
- JP
- Japan
- Prior art keywords
- coffee
- oil
- food
- beans
- product
- Prior art date
- Legal status (The legal status is an assumption and is not a legal conclusion. Google has not performed a legal analysis and makes no representation as to the accuracy of the status listed.)
- Active
Links
Images
Landscapes
- Confectionery (AREA)
- Tea And Coffee (AREA)
Description
そこで、手軽に楽しむための製品として、缶入りのコーヒー等が販売されている。缶やペットボトルに入ったコーヒーであれば、手軽に持ち運ぶことができるという利点がある。しかしながら、缶入り等のコーヒー飲料は、一般に形状が大きく、鞄等に入れて持ち運ぶことはできるが、衣服のポケット等に入れて気軽に携帯できるといったものではない。
固体物の有効成分の持続性を高める方法として、脂質粉状体及び溶融油脂を用いたコーティング粉末の製造方法が知られている(特許文献1を参照)。これは、常温で固体状の芯物質に、融点40℃以上の脂質粉状体を付着させて、次いで融点40℃以上の溶融油脂を添加して被覆するものである。
しかしながら、上記特許文献1に開示されたコーティング粉末の製造方法は、あくまでも食品へのコーティングを施すための粉末に関する技術であり、コーヒーを用いた食品の味や香りの保存性を高めるものではない。また、上記特許文献1では、溶融油脂に香味物質を含有せしめる方法が開示されているが、コーヒー食品の製造においては、溶融油脂に香味物質を含有せしめることは、コーヒー本来の香気成分が阻害されてしまいかねず、適当ではない。
香気成分を含むコーヒー由来の微粉砕物と硬化油が混練されることにより、微粉砕物が硬化油でコーティングされ、コーヒーの香気成分を物質内に閉じ込めることが可能である。また、混練された後、固形化されることにより、より安定して、香気成分を物質内に閉じ込めることができ、香りの保存性が高められる。そして、コーヒー食品を食べると、口の中で溶けることにより、硬化油によるコーティングが剥がれ、物質中の香気成分が揮散し、味覚成分が放出されるのである。本発明のコーヒー食品は、固形化する際に、成型用の型を用いて、板状、ブロック状又は粒状等、あらゆる形に成型することができる。
1)コーヒー焙煎豆を粉砕する粉砕ステップ
2)粉砕された微粉砕物と硬化油とを混練する混練ステップ
3)混練し得られた液状物を成型して固形化する固形化ステップ
コーヒー焙煎豆を微粉砕することにより、コーヒー食品を口に入れた際の滑らかな口どけが実現される。
その後、十分に混練して液状物を生成する(S06)。生成された液状物を金型に流し込み、冷却して成型し固形化する(S07)。
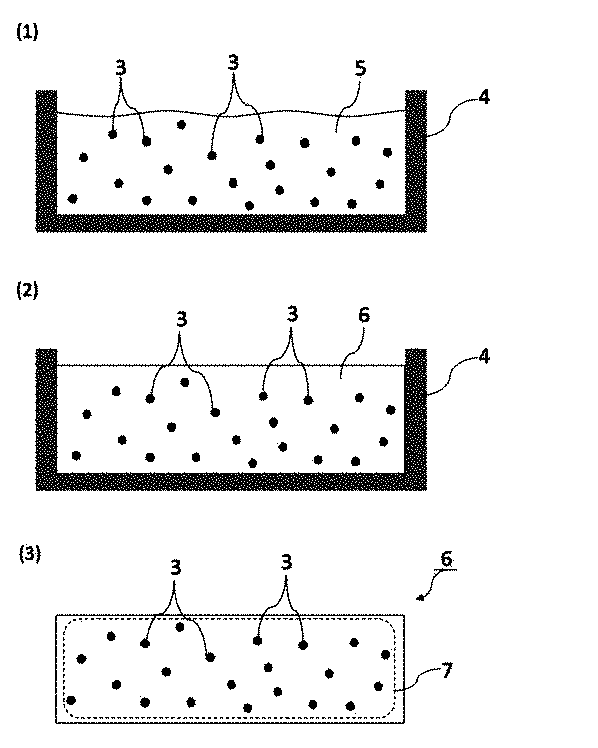
図4(1)に示すように、金型4には、ペースト状物5が流し込まれている。ペースト状物5は、微粉砕されたコーヒー豆粉砕物、植物油脂、コーヒーオイル、砂糖、粉乳及び乳化剤が混練されたものである。ペースト状物5を金型4に流し込み、冷凍機により、冷却を行う。なお、ペースト状物5には、多くの香気成分3が含有されている。
図4(2)に示すように、冷却後の状態においては、図4(1)に示したペースト状物5は、金型4により成型され、固形化されたコーヒー食品6となっている。図4(3)に示すコーヒー食品6は、金型から取り出した状態を示している。コーヒー食品6は、板状であるから、手で容易に割って食べることが可能であり、いつでもコーヒーの味や香りを楽しむことができる。また、本実施例では、砂糖が混練されているが、他の甘味料を用いたり、或は、甘味料を含まない無糖の食品としてもよい。
コーヒー食品6には、多くの香気成分3が含有された状態となっており、破線7で示すように、香気成分3がコーヒー食品6の内部に閉じ込められ、外部へ放出されにくい構造となっている。
コーヒー豆粉砕物2は、脱カフェイン処理が施されたコーヒー豆を用いて作製されたものでもよく、健康に配慮したコーヒー食品とすることができる。
コーヒー食品を食べると、口の中で溶けることにより、植物性油脂4によるコーティングが剥がれ、コーヒーオイル3及びコーヒー豆粉砕物2中の香気成分が揮散し、コーヒー豆粉砕物2中の味覚成分が放出される。これにより、コーヒーの味や香りを充分に楽しむことができる。
原料に対するコーヒーオイルの配合割合を変化させた際のコーヒー食品の品質について、官能評価試験により定量的に評価した。
官能評価試験用のサンプルは、図1に示す工程に基づき作製した。まず、深炒りに焙煎したコロンビア産アラビカ種コーヒー豆を粉砕し、このコーヒー豆粉砕物15gに植物油脂15g〜30gを加えて混練し、さらなる粉砕を実施した。そして、コーヒーオイルを、植物油脂の量とコーヒーオイルの量が合計で30gになるように調整し添加して、さらに砂糖40g、粉乳15g、乳化剤0.3gを加えて室温で十分に混練した。この混成物を成型型に流し込み、5℃で24時間冷却し固形化させてサンプルを作製した。官能評価試験用サンプルとして、コーヒーオイルの添加量が0g、1g、2g、5g、10g、11g、15gと異なる7種類、すなわち、コーヒーオイルの含有量が0%、1%、2%、5%、10%、11%、15%と異なる7種類を作製した。
官能評価試験はQDA(Quantitative Descriptive Analysis)法と呼ばれる手法を用いた。QDA法とは、まずパネルが感じる味覚特徴を具体的な言葉として表現し、パネル間で合意が得られた味覚特徴についてその強度を数値化していく官能評価の一手法である。
官能評価のパネルは、コーヒーの製造・開発業務に1年以上従事し、かつ、一般的な食品の官能評価の経験が豊富な者を集め、さらにそこから基本5味(甘味、酸味、塩味、苦味及びうま味の識別テスト、焙煎コーヒー抽出液の産地や焙煎度合の判別テストにより選定した。最終的に13名(男性7名、女性6名)がパネルに選定された。
以上を実施後、官能評価試験用サンプルを用いた官能評価を実施した。パネル全員の結果を集計後に平均値を算出し、最終的なスコアを決定した。
なお、コーヒーオイル含有量を11%以上にすると、常温で静置した際、官能評価に適した形状を保つことが不可能となったため、なめらかな口どけ、コーヒー風味及び後味の雑味についての評価を実施していない。
以上の結果から、コーヒーオイル含有量は10%以下の範囲が好ましく、コーヒーの風味やなめらかな口どけに優れていた。また、コーヒーオイル含有量1〜5%、特に2%付近の場合が、各品質の評価が高く、効果の高い優れた配合割合であると考えられた。
2 コーヒー豆粉砕物
2a 孔
3 コーヒーオイル
4 植物性油脂
5 ペースト状物
6 コーヒー食品
7 破線
Claims (8)
- コーヒー豆の焙煎後の香気成分を含むコーヒー由来の微粉砕物と、前記コーヒー豆から搾油されたコーヒーオイルと、硬化油とが、混練され固形化された食品であって、前記コーヒーオイルは食品全体中の含有量が1重量%以上5重量%以下であり、前記硬化油で前記微粉砕物及び前記コーヒーオイルがコーティングされることにより、コーヒーの香気成分を物質内に閉じ込めコーヒーの香りの保存性及び口どけが高められたことを特徴とするコーヒー食品。
- 前記コーヒー豆は脱カフェイン処理が施されたコーヒー豆であり、カフェイン含有量が低減された又はカフェインレスにされたことを特徴とする請求項1に記載のコーヒー食品。
- 前記硬化油は、無香料、かつ、融点が30℃以上の植物性油脂であることを特徴とする請求項1又は2に記載のコーヒー食品。
- 前記硬化油は、食品全体の20〜30重量%の範囲で含有されていることを特徴とする請求項1〜3の何れかに記載のコーヒー食品。
- 糖類と、粉乳と、乳化剤とが、更に含まれたことを特徴とする請求項1〜4の何れかに記載のコーヒー食品。
- 上記混練され固形化された食品形状の表面上に、糖類がコーティングされたことを特徴とする請求項1〜5の何れかに記載のコーヒー食品。
- コーヒー焙煎豆を粉砕する粉砕ステップと、
粉砕された微粉砕物と、前記コーヒー豆から搾油されたコーヒーオイルと、硬化油とを混練する混練ステップと、
混練し得られた液状物を成型して固形化し、前記硬化油で前記微粉砕物及び前記コーヒーオイルをコーティングする固形化ステップ、
を備え、
前記コーヒーオイルは食品全体中の含有量が1重量%以上5重量%以下であり、前記硬化油で前記微粉砕物及び前記コーヒーオイルがコーティングされることにより、コーヒーの香気成分を物質内に閉じ込めコーヒーの香りの保存性及び口どけが高められたことを特徴とするコーヒー食品の製造方法。 - 前記粉砕ステップでは、前記コーヒー焙煎豆を粒径100〜1000μmの範囲に粉砕し、
前記混練ステップでは、上記ステップにより得た粉砕物と硬化油と前記コーヒーオイルとを混練し、前記コーヒー焙煎豆を粒径10〜100μmの範囲に微粉砕する、
ことを特徴とする請求項7に記載のコーヒー食品の製造方法。
Priority Applications (1)
| Application Number | Priority Date | Filing Date | Title |
|---|---|---|---|
| JP2017147209A JP6849552B2 (ja) | 2017-07-28 | 2017-07-28 | コーヒー食品 |
Applications Claiming Priority (1)
| Application Number | Priority Date | Filing Date | Title |
|---|---|---|---|
| JP2017147209A JP6849552B2 (ja) | 2017-07-28 | 2017-07-28 | コーヒー食品 |
Publications (2)
| Publication Number | Publication Date |
|---|---|
| JP2019024400A JP2019024400A (ja) | 2019-02-21 |
| JP6849552B2 true JP6849552B2 (ja) | 2021-03-24 |
Family
ID=65476506
Family Applications (1)
| Application Number | Title | Priority Date | Filing Date |
|---|---|---|---|
| JP2017147209A Active JP6849552B2 (ja) | 2017-07-28 | 2017-07-28 | コーヒー食品 |
Country Status (1)
| Country | Link |
|---|---|
| JP (1) | JP6849552B2 (ja) |
Families Citing this family (2)
| Publication number | Priority date | Publication date | Assignee | Title |
|---|---|---|---|---|
| JP2025086112A (ja) * | 2023-11-27 | 2025-06-06 | サントリーホールディングス株式会社 | コーヒー風味のチョコレート組成物 |
| JP2025086118A (ja) * | 2023-11-27 | 2025-06-06 | サントリーホールディングス株式会社 | コーヒー風味のチョコレート組成物 |
Family Cites Families (6)
| Publication number | Priority date | Publication date | Assignee | Title |
|---|---|---|---|---|
| US2557294A (en) * | 1949-04-13 | 1951-06-19 | Kellogg Helen Louise | Coffee extract enriched with extra flavor |
| JPS55131349A (en) * | 1979-04-02 | 1980-10-13 | Yunikafue:Kk | Coffee paste and its preparation |
| JPS57166938A (en) * | 1981-04-08 | 1982-10-14 | Hiroo Morio | Pasty coffee composition |
| JPH04207150A (ja) * | 1990-11-30 | 1992-07-29 | Ajinomoto Co Inc | コーヒーホワイトナー |
| CA2090169A1 (en) * | 1992-03-12 | 1993-09-13 | Jerome F. Trumbetas | Colloidal roasted coffee as aromatizer |
| JP5814658B2 (ja) * | 2011-06-30 | 2015-11-17 | サントリー食品インターナショナル株式会社 | コーヒーオイルの製造方法 |
-
2017
- 2017-07-28 JP JP2017147209A patent/JP6849552B2/ja active Active
Also Published As
| Publication number | Publication date |
|---|---|
| JP2019024400A (ja) | 2019-02-21 |
Similar Documents
| Publication | Publication Date | Title |
|---|---|---|
| CN108244327B (zh) | 一种巧克力组合物、涂层及其制备方法与涂挂其的冷冻饮品 | |
| JP6849552B2 (ja) | コーヒー食品 | |
| JP7079284B2 (ja) | チョコレート、チョコレートの製造方法、及び抹茶を含有するチョコレートの風味を向上させる方法 | |
| JP6683662B2 (ja) | 微粉砕紅茶葉を添加したチョコレートの香味改善方法、および当該方法によって製造されたチョコレート | |
| JP6458203B1 (ja) | コーヒー風味付与剤 | |
| EP2750513A1 (en) | Cocoa composition, process and product | |
| JP6598429B2 (ja) | 氷入りコールド液体食品用氷粒群及びその製造方法、氷粒群入り容器、並びに、氷入りコールド液体食品 | |
| US20110059224A1 (en) | Coffee flavored chocolate bar | |
| KR102407321B1 (ko) | 가향 커피 제조방법과, 이를 이용하여 제조된 가향 커피 가루 및, 이를 이용하여 제조된 가향 커피 | |
| JP5506435B2 (ja) | 焙煎豆およびその製造方法、ならびに飲料 | |
| CN106605746A (zh) | 一种冷饮用的膨化蜂蜜太妃糖及其制备方法和含其的冷饮 | |
| JP6637106B2 (ja) | 粉末組成物 | |
| NL1013269C2 (nl) | Zoete lekkernij in vaste vorm en werkwijze voor de bereiding daarvan. | |
| DE202007018404U1 (de) | Einrichtung zum Extrahieren von Kaffee und Kaffee-Eiswürfel mit Verhinderung von Geschmacksverlust | |
| JP6418675B2 (ja) | カフェオレ用レギュラーコーヒバッグおよびカフェオレ作製方法 | |
| EP3993636A1 (de) | Element zur getränkezubereitung und verfahren zur zubereitung eines heissgetränkes | |
| EP2721931B1 (de) | Vorrichtung zur Zubereitung eines kakao- und/oder kaffeehaltigen Getränkes | |
| JP6482450B2 (ja) | 容器詰コーヒー飲料及びその製造方法 | |
| JP2824133B2 (ja) | アイスクリーム類の製法 | |
| JP2004329189A (ja) | コ−ヒ−・茶類チョコレ−ト | |
| JP2025073029A (ja) | コーヒー食品 | |
| JPH0436149A (ja) | 油脂性菓子の製法 | |
| JPH11113495A (ja) | ホワイトチョコレート | |
| WO2025115500A1 (ja) | コーヒー風味のチョコレート組成物 | |
| JP6415766B2 (ja) | 容器詰コーヒー飲料及びその製造方法 |
Legal Events
| Date | Code | Title | Description |
|---|---|---|---|
| A621 | Written request for application examination |
Free format text: JAPANESE INTERMEDIATE CODE: A621 Effective date: 20190621 |
|
| A977 | Report on retrieval |
Free format text: JAPANESE INTERMEDIATE CODE: A971007 Effective date: 20200630 |
|
| A131 | Notification of reasons for refusal |
Free format text: JAPANESE INTERMEDIATE CODE: A131 Effective date: 20200713 |
|
| A521 | Request for written amendment filed |
Free format text: JAPANESE INTERMEDIATE CODE: A523 Effective date: 20200910 |
|
| TRDD | Decision of grant or rejection written | ||
| A01 | Written decision to grant a patent or to grant a registration (utility model) |
Free format text: JAPANESE INTERMEDIATE CODE: A01 Effective date: 20210302 |
|
| A61 | First payment of annual fees (during grant procedure) |
Free format text: JAPANESE INTERMEDIATE CODE: A61 Effective date: 20210304 |
|
| R150 | Certificate of patent or registration of utility model |
Ref document number: 6849552 Country of ref document: JP Free format text: JAPANESE INTERMEDIATE CODE: R150 |
|
| R250 | Receipt of annual fees |
Free format text: JAPANESE INTERMEDIATE CODE: R250 |
