JP6835633B2 - ステアリングハンドル構造 - Google Patents

ステアリングハンドル構造 Download PDF

Info

Publication number
JP6835633B2
JP6835633B2 JP2017045625A JP2017045625A JP6835633B2 JP 6835633 B2 JP6835633 B2 JP 6835633B2 JP 2017045625 A JP2017045625 A JP 2017045625A JP 2017045625 A JP2017045625 A JP 2017045625A JP 6835633 B2 JP6835633 B2 JP 6835633B2
Authority
JP
Japan
Prior art keywords
guide member
lock spring
steering handle
hook portion
main body
Prior art date
Legal status (The legal status is an assumption and is not a legal conclusion. Google has not performed a legal analysis and makes no representation as to the accuracy of the status listed.)
Active
Application number
JP2017045625A
Other languages
English (en)
Other versions
JP2018149837A (ja
Inventor
雄太 南
雄太 南
秀矩 比護
秀矩 比護
健一 行松
健一 行松
秀治 ▲帰▼山
秀治 ▲帰▼山
Current Assignee (The listed assignees may be inaccurate. Google has not performed a legal analysis and makes no representation or warranty as to the accuracy of the list.)
Ashimori Industry Co Ltd
Mazda Motor Corp
Original Assignee
Ashimori Industry Co Ltd
Mazda Motor Corp
Priority date (The priority date is an assumption and is not a legal conclusion. Google has not performed a legal analysis and makes no representation as to the accuracy of the date listed.)
Filing date
Publication date
Application filed by Ashimori Industry Co Ltd, Mazda Motor Corp filed Critical Ashimori Industry Co Ltd
Priority to JP2017045625A priority Critical patent/JP6835633B2/ja
Priority to KR1020197028677A priority patent/KR102497093B1/ko
Priority to CN201880017256.XA priority patent/CN110431050B/zh
Priority to PCT/JP2018/004292 priority patent/WO2018163698A1/ja
Priority to US16/492,269 priority patent/US10875564B2/en
Priority to DE112018000782.0T priority patent/DE112018000782T5/de
Publication of JP2018149837A publication Critical patent/JP2018149837A/ja
Application granted granted Critical
Publication of JP6835633B2 publication Critical patent/JP6835633B2/ja
Active legal-status Critical Current
Anticipated expiration legal-status Critical

Links

Images

Classifications

    • BPERFORMING OPERATIONS; TRANSPORTING
    • B62LAND VEHICLES FOR TRAVELLING OTHERWISE THAN ON RAILS
    • B62DMOTOR VEHICLES; TRAILERS
    • B62D7/00Steering linkage; Stub axles or their mountings
    • B62D7/22Arrangements for reducing or eliminating reaction, e.g. vibration, from parts, e.g. wheels, of the steering system
    • B62D7/222Arrangements for reducing or eliminating reaction, e.g. vibration, from parts, e.g. wheels, of the steering system acting on the steering wheel
    • BPERFORMING OPERATIONS; TRANSPORTING
    • B60VEHICLES IN GENERAL
    • B60RVEHICLES, VEHICLE FITTINGS, OR VEHICLE PARTS, NOT OTHERWISE PROVIDED FOR
    • B60R21/00Arrangements or fittings on vehicles for protecting or preventing injuries to occupants or pedestrians in case of accidents or other traffic risks
    • B60R21/02Occupant safety arrangements or fittings, e.g. crash pads
    • B60R21/16Inflatable occupant restraints or confinements designed to inflate upon impact or impending impact, e.g. air bags
    • B60R21/20Arrangements for storing inflatable members in their non-use or deflated condition; Arrangement or mounting of air bag modules or components
    • B60R21/203Arrangements for storing inflatable members in their non-use or deflated condition; Arrangement or mounting of air bag modules or components in steering wheels or steering columns
    • BPERFORMING OPERATIONS; TRANSPORTING
    • B60VEHICLES IN GENERAL
    • B60RVEHICLES, VEHICLE FITTINGS, OR VEHICLE PARTS, NOT OTHERWISE PROVIDED FOR
    • B60R21/00Arrangements or fittings on vehicles for protecting or preventing injuries to occupants or pedestrians in case of accidents or other traffic risks
    • B60R21/02Occupant safety arrangements or fittings, e.g. crash pads
    • B60R21/16Inflatable occupant restraints or confinements designed to inflate upon impact or impending impact, e.g. air bags
    • B60R21/20Arrangements for storing inflatable members in their non-use or deflated condition; Arrangement or mounting of air bag modules or components
    • B60R21/203Arrangements for storing inflatable members in their non-use or deflated condition; Arrangement or mounting of air bag modules or components in steering wheels or steering columns
    • B60R21/2035Arrangements for storing inflatable members in their non-use or deflated condition; Arrangement or mounting of air bag modules or components in steering wheels or steering columns using modules containing inflator, bag and cover attachable to the steering wheel as a complete sub-unit
    • B60R21/2037Arrangements for storing inflatable members in their non-use or deflated condition; Arrangement or mounting of air bag modules or components in steering wheels or steering columns using modules containing inflator, bag and cover attachable to the steering wheel as a complete sub-unit the module or a major component thereof being yieldably mounted, e.g. for actuating the horn switch or for protecting the driver in a non-deployment situation
    • BPERFORMING OPERATIONS; TRANSPORTING
    • B62LAND VEHICLES FOR TRAVELLING OTHERWISE THAN ON RAILS
    • B62DMOTOR VEHICLES; TRAILERS
    • B62D1/00Steering controls, i.e. means for initiating a change of direction of the vehicle
    • B62D1/02Steering controls, i.e. means for initiating a change of direction of the vehicle vehicle-mounted
    • B62D1/04Hand wheels
    • BPERFORMING OPERATIONS; TRANSPORTING
    • B60VEHICLES IN GENERAL
    • B60YINDEXING SCHEME RELATING TO ASPECTS CROSS-CUTTING VEHICLE TECHNOLOGY
    • B60Y2410/00Constructional features of vehicle sub-units
    • B60Y2410/113Mount clips, snap-fit, e.g. quick fit with elastic members

Landscapes

  • Engineering & Computer Science (AREA)
  • Mechanical Engineering (AREA)
  • Chemical & Material Sciences (AREA)
  • Combustion & Propulsion (AREA)
  • Transportation (AREA)
  • Air Bags (AREA)
  • Steering Controls (AREA)
  • Vibration Prevention Devices (AREA)

Description

本発明は、ステアリングハンドル構造に関するものである。
運転席用エアバッグは、ステアリングハンドル(のボス部)に対してエアバッグモジュールを取付けた構造が一般的である。エアバッグモジュールをステアリングハンドルに取付けるに際しては、スナップイン方式で簡単に行えるようにすることが望まれる。また、質量体としてのエアバッグモジュールを、ステアリングハンドルに対して弾力的に取付けることにより、走行中のステアリングハンドルの振動を低減するダイナミックダンパ機能を得ることも行われている。
特許文献1、特許文献2には、ダイナミックダンパ機能を得つつ、スナップイン方式でエアバッグモジュールをステアリングハンドルに取付けるものが開示されている。
特開2016−28963号公報 特開2016−030552号公報
前述した各特許文献に記載のものでは、ダイナミックダンパ機能を得つつスナップイン方式でエアバッグモジュールをステアリングハンドルに取付けるための機構が相当に複雑で必要な部品点数も多くなり、この点において対策が望まれるものである。
本発明は以上のような事情を勘案してなされたもので、その目的は、ダイナミックダンパ機能を得つつスナップイン方式でエアバッグモジュールをステアリングハンドルに取付け可能とする場合に、部品点数が少なくて簡単な構造ですむようにしたステアリングハンドル構造を提供することにある。
前記目的を達成するため、本発明にあっては次のような第1の解決手法を採択してある。すなわち、請求項1に記載のように、
ステアリングハンドルに形成されたフック部を、エアバッグモジュールの取付板部に形成された取付孔に挿入することにより、該エアバッグモジュールの該ステアリングハンドルに対する取付けを行うようにしたステアリングハンドル構造であって、
前記フック部が挿入される筒状のガイド部材が、環状のダンパーゴム内に前記ステアリングハンドル側から挿通可能とされて前記取付孔に嵌合、保持された本体部と、前記本体部の一端部側において形成されて前記取付孔のうち前記ステアリングハンドル側の縁部に係止されるフランジ部と、を有し、
前記本体部に、前記ガイド部材に挿入された前記フック部を係止して、該フック部の抜けを規制するロックばねが保持され、
前記ロックばねによって前記フック部を係止している状態において、該ロックばねと前記取付板部との間に、該フック部の断面方向において隙間が形成されている、
ようにしてある。
上記第1の解決手法によれば、フック部をガイド部材に挿入することにより、フック部がロックばねにより係止されてその抜け止めが行われる。つまり、エアバッグモジュールを、スナップイン方式で簡単にステアリングハンドルに取付けることができる。また、走行中は、ダンパーゴムの弾性と質量体としてのエアバッグモジュールとによるダイナミックダンパ機能によって、ステアリングハンドルの振動を低減することができる。そして、ダイナミックダンパ機能を得つつスナップイン方式での取付けを行うために必要な部品点数も少なくてすみ、構造も極めて簡単なものとすることができる。また、ガイド部材をロックばねの保持部材として兼用させて、構造の簡単化等の上でさらに好ましいものとなる。
以上に加えて、前記ロックばねによって前記フック部を係止している状態において、該ロックばねと前記取付板部との間に、該フック部の断面方向において隙間が形成されていることから、ステアリングハンドルからの振動がフック部からロックばねを介してエアバッグモジュール側に伝達されてしまう事態を防止して、ダイナミックダンパ機能を確実に得る上で好ましいものとなる。
上記第1の解決手法を前提とした好ましい態様は、次のとおりである。すなわち、
前記ロックばねは、前記取付板部を挟んで前記フランジ部とは反対側の位置において前記本体部に保持されており、
前記ガイド部材は、前記フランジ部と前記ロックばねとによって、前記取付孔の軸線方向に移動して前記本体部が該取付孔から抜けることが規制されている、
ようにしてある(請求項2対応)。この場合、ロックばねを有効に利用して、つまり別途固定具等の別部材を用いることなく、ガイド部材を所定位置に取付けておくことができる。
前記ロックばねは、略U字状に形成されることにより対向して伸びる一対の棒状部と、該一対の棒状部の一端部同士を連結する連結部と、を有し、
前記ロックばねは、前記一対の棒状部のうち少なくとも一方の棒状部が前記ガイド部材内を横断するようにして該ガイド部材に保持され、
前記ガイド部材に挿入された前記フック部が、前記一対の棒状部の間隔を拡大方向に弾性変形させつつ該一対の棒状部を乗り越えて、該一対の棒状部を乗り越えた後に該一対の棒状部がその間隔が狭くなるように弾性復帰することにより、該フック部の該ロックばねからの抜けが規制されるように設定されている、
ようにしてある(請求項3対応)。この場合、弾性変形によって間隔が変化される一対の棒状部を利用して、フック部を容易に係止させつつ確実な係止状態を確保することができる。
また、前記本体部の両側面にはそれぞれ保持孔が形成され、
前記一対の棒状部の一方が前記保持孔の一方に嵌合されると共に、該一対の棒状部の他方が該保持孔の他方に嵌合されている、ようにすることができる(請求項4対応)。
前記フック部の側面のうち前記ロックばねに対面する少なくとも1つの面が、平坦面に形成されている、ようにしてある(請求項5対応)。この場合、ロックばねとフック部との間での回り止めを行いつつ、フック部を確実に係止しておく上で好ましいものとなる。
前記ガイド部材の端部によって、前記ロックばねによって係止されている状態における前記フック部の先端部が覆われている、ようにしてある(請求項6対応)。この場合、ガイド部材を有効に利用して、膨張、展開されるエアバッグがフック部の先端部に接触してしまう事態を防止することができる。
前記ダンパーゴムの外周に、該ダンパーゴムが拡径する方向への弾性変形を規制するスペーサが嵌合されている、ようにしてある(請求項7対応)。この場合、ダンパーゴムが過剰に震動することを制限して、ダンパーゴムが不必要に拡径変形したり変動することを防止して、ダイナミックダンパ機能を確実に得る上で好ましいものとなる。
前記エアバッグモジュールは、前記フック部が前記ロックばねによって係止されている状態で、該フック部の長手方向に所定範囲内で変位可能とされ、
リターンスプリングにより、前記エアバッグモジュールが前記ステアリングハンドルから離間する方向に付勢されている、
ようにしてある(請求項8対応)。この場合、エアバッグモジュールが押圧操作されたときにホーンを作動させる構成とする上で好ましいものとなる。
前記目的を達成するため、本発明にあっては次のような第2の解決手法を採択してある。すなわち、請求項9に記載のように、
ステアリングハンドルに形成されたフック部を、エアバッグモジュールの取付板部に形成された取付孔に挿入することにより、該エアバッグモジュールの該ステアリングハンドルに対する取付けを行うようにしたステアリングハンドル構造であって、
前記フック部が挿入される筒状のガイド部材が、環状のダンパーゴムを介して前記取付孔に嵌合、保持され、
前記ガイド部材に、前記ガイド部材に挿入された前記フック部を係止して、該フック部の抜けを規制するロックばねが保持され、
前記ガイド部材は、前記ダンパーゴム内に前記ステアリングハンドル側から挿通可能な本体部と、該本体部の一端部側に形成され、前記取付孔のうち前記ステアリングハンドル側の縁部に係止されるフランジ部と、を有し、
前記ロックばねは、前記取付板部を挟んで前記フランジ部とは反対側の位置において前記本体部に保持されており、
前記ガイド部材は、前記フランジ部と前記ロックばねとによって、前記取付孔の軸線方向に移動して前記本体部が該取付孔から抜けることが規制され、
前記本体部の外周面に前記ダンパーゴムの内周面に当接する凸部が形成されて、該ガイド部材と該ダンパーゴムとの間には該凸部の周囲において隙間が形成されている、
ようにしてある。
上記第2の解決手法によれば、フック部をガイド部材に挿入することにより、フック部がロックばねにより係止されてその抜け止めが行われる。つまり、エアバッグモジュールを、スナップイン方式で簡単にステアリングハンドルに取付けることができる。また、走行中は、ダンパーゴムの弾性と質量体としてのエアバッグモジュールとによるダイナミックダンパ機能によって、ステアリングハンドルの振動を低減することができる。そして、ダイナミックダンパ機能を得つつスナップイン方式での取付けを行うために必要な部品点数も少なくてすみ、構造も極めて簡単なものとすることができる。また、ガイド部材をロックばねの保持部材として兼用させて、構造の簡単化等の上でさらに好ましいものとなる。また、ロックばねを有効に利用して、つまり別途固定具等の別部材を用いることなく、ガイド部材を所定位置に取付けておくことができる。さらに、ガイド部材の位置決めをダンパーゴムを利用してより確実に行えるようにしつつ、ダンパーゴムの可動域を拡大してダイナミックダンパ性能を向上させる上で好ましいものとなる。
上記第1の解決手法または第2の解決手法を前提として、次のような態様を採択することができる。すなわち、
前記フランジ部と該フランジ部に対向する前記ダンパーゴムとの間に隙間が形成されている、ようにしてある(請求項10対応)。この場合、ダンパーゴムの可動域を拡大してダイナミックダンパ性能を向上させる上で好ましいものとなる。
本発明によれば、部品点数が少なくて簡単な構造でもって、ダイナミックダンパ機能を得つつスナップイン方式でエアバッグモジュールをステアリングハンドルに取付けることが可能となる。
ステアリングハンドルの芯金にエアバッグモジュールを取付けた状態を示す斜視図。 ステアリングハンドルの芯金にエアバッグモジュールを取付けた状態を運転席側から見た要部拡大図。 フック部が形成されたステアリングハンドルの芯金部分を示す斜視図。 エアバッグモジュール側に取付けられる部品の分解斜視図。 ステアリングハンドルとエアバッグモジュールとの取付け部位を拡大して示す斜視図。 ガイド部材に挿入されたフック部がロックばねによって係止されている状態を示すもので、エアバッグモジュールが後退位置にある状態での側面断面図。 図6に示す状態において、ホーンセンサ部分での側面断面図。 ガイド部材に挿入されたフック部がロックばねによって係止されている状態を示すもので、エアバッグモジュールが前進位置にある状態での側面断面図。 図8に示す状態において、ホーンセンサ部分での側面断面図。 ロックばねの一例を示す斜視図。 ガイド部材の斜視図。 ガイド部材を図11とは別方向から見た斜視図。 ガイド部材にロックばねを保持させた状態を示す斜視図。 エアバッグモジュールに対するガイド部材とロックばねとの組み立て状態を示す斜視図。 本発明の第2の実施形態を示すもので、図4に対応した分解斜視図。 本発明の第2の実施形態を示すもので、図6に対応した側面断面図。
図1において、1はステアリングハンドルの芯金であり、そのボス部1aに対して、エアバッグモジュール10が後述のようにして取付けられる。
図3に示すように、上記ボス部1aには、複数(実施形態では3個)のフック部2が、後方(ステアリングハンドルが車両に組み付けられた状態における後方)に向けて突出形成されている。フック部2は、実施形態では芯金1と一体成形されている(例えば鋳造)。各フック部2は、先細状の拡大先端部2aを有して、この拡大先端部aが係止爪として機能するように設定されている。また、各フック部2の側面のうち、周方向所定位置が、平坦面2bとして形成されている。
フック部2の外周には、コイルばねからなるリターンスプリング3が嵌合される。リターンスプリング3のフック部2からの抜けが、フック部2の拡大先端部2aによって規制される。また、ボス部1aの所定位置には、ホーンセンサ4が保持されている。
エアバッグモジュール10は、本体部11と、本体部11に一体化された取付板部12と、を有する。本体部11の内部には、インフレータと折りたたまれたエアバッグとが収納されている。取付板部12は、エアバッグモジュール10のステアリングハンドル(における芯金1)に対する取付け部となる。
図4に示すように、取付板部12には、フック部2に対応させて、複数の取付孔12aが形成されている。この取付孔12aには、図4、図6、図8に示すように、環状のダンパーゴム20が嵌合、保持されている。このダンパーゴム20の外周には、例えば金属あるいは硬質合成樹脂からなる環状のスペーサ21が嵌合されている。スペーサ21により、ダンパーゴム20が過剰に震動することを制限し、ダンパーゴム20の拡径方向への弾性変形や変動が規制される。
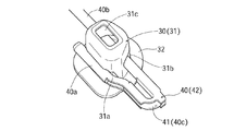
取付孔12aに対応させて、フック部2が挿入される筒状のガイド部材30が設けられている。ガイド部材30の詳細が、図4、図11、図12に示される。ガイド部材30は、ダンパーゴム20内をがたつきなく挿通可能な本体部31と、その一端部側に形成されたフランジ部32と、を有する。上記本体部31を、前方側(ステアリングハンドル側)からダンパーゴム20内に挿入したとき、フランジ32が取付孔12a(ダンパーゴム20)の縁部に当接することにより、それ以上の挿入が規制される。
ガイド部材30の本体部31の両側面には、後述するロックばねを保持するために、保持孔31aと31bとが形成されている。また、ガイド部材30の先端部(フランジ部32とは反対側の端部)は、挿入されたフック部2の先端部を覆うように略キャップ状に形成されている。
取付板部12には、ガイド部材30を利用して、ロックばね40が保持されている。ロックばね40は、取付板部12を挟んで、ガイド部材30のフランジ部32とは反対側の位置に配設される。ロックばね40は、実施形態では、ばね材をU字状に曲げ加工することにより形成された芯材41と、芯材41をほぼ全体的に被覆する被覆材42とにより構
成されている。被覆材42は、例えば軟質あるいは硬質の合成樹脂により形成されている。
ロックばね40(の芯材41)は、互いに対向して伸びる一対の棒状部40a、40bと、一対の棒状部40aと40bとの板部同士を連結する連結部40cとを有する。棒状部40aに比して、棒状部40bが長く形成されている。そして、ロックばね40(の被覆材42)には、その長手方向に間隔をあけて一対の係止爪部40dが形成されている。
一対の棒状部40a、40bは、ガイド部材30の本体部31の側面に保持されている。すなわち、一方の棒状部40aが、本体部31に形成された保持孔31aに嵌合されて、その係止爪部40dによって本体部31をその径方向から支持している。この嵌合状態で、係止爪部40dの係止作用によって、本体部31に対して、一対の棒状部40a、40bがその長手方向に相対変位することが規制される。
ロックばね40のうち他方の棒状部40bが、本体部31に形成された保持孔31bに嵌合されて、ガイド部材31内に大きく突出している(図6、図8参照)。すなわち、他方の棒状部40bは、ガイド部材31内を横断するように(フック部2の挿入軌跡と干渉するように)配設されている。外力を受けない状態において、一対の棒状部40aと40bとの間隔が、フック部2の拡大先端部2aの最大幅よりも小さく、かつフック部2のうち平坦面2b部分での幅よりも若干大きくなるように設定されている。なお、保持孔31a、31bに対する棒状部40a、40bの嵌合は、隙間を有する嵌合とされて、ガイド部材30に対してロックばね40がわずかに動き得るようにされている。
次に、エアバッグモジュール10をステアリングハンドル(の芯金1)に対して取付ける手順について説明する。取付けの前準備として、エアバッグモジュール10の取付板部12に対して、ダンパーゴム20、スペーサ21、ガイド部材30、ロックばね40があらかじめ組み付けられた状態とされる。また、ステアリングハンドル側では、フック部2にリターンスプリング3が嵌合された状態とされ、またホーンセンサ4が固定された状態とされる。
上述の前準備が完了した状態で、エアバッグモジュール10を、ステアリングハンドル(の芯金1)に対して接近させて、フック部2をガイド部材30内に挿入させていく。
ダンパーゴム20内に挿入されたフック部2は、やがてその拡大先端部2aが、ロックばね40における一対の棒状部40aと40bとの間隔が大きくなるように弾性変形させつつ、拡大先端部2aが一対の棒状部40a、40bを乗り越える。拡大先端部2aが一対の棒状部40a、40bを乗り越えた時点で、ロックばね40は、一対の棒状部40aと40bとの間隔が小さくなるように弾性復帰される。これにより、フック部2は、その拡大先端部2a部分でもってロックばね40に係止されて、ガイド部材30からの抜けが規制される。
ロックばね40によってフック部2の抜けが規制された状態で、エアバッグモジュール10のステアリングハンドル(に芯金1)に対する組付が完了される。すなわち、取付孔12a(ダンパーゴム20)に対してフック部2を挿入するというスナップイン方式で、エアバッグモジュール10が簡単にステアリングハンドルに取付けられることになる。このとき、フック部2の平坦面2bにロックばね40(の棒状部40a)が対向して、回り止めが行われる。
エアバッグモジュール10は、フック部2の長手方向に所定範囲だけ相対変位可能とされる。そして、リターンスプリング3によって、通常は、後方側のストローク端に位置さ
れる(図6、図7参照)。この状態で、運転者が、リターンスプリング3の付勢力に抗してエアバッグモジュール10を押圧操作(前方へ向けて押す操作)すると、エアバッグモジュール10が前方へ移動して、取付板部12に設けた押圧部12bが、ステアリングハンドル側に設けたホーンセンサ4に当接して、ホーンが作動される(警報音の発生)。
走行中、ステアリングハンドルが振動すると、ダンパーゴム20の弾性とエアバッグモジュール10を質量体とを利用したダイナミックダンパ機能が発揮されて、ステアリングハンドルの振動が低減される。取付板部12とロックばね40との間に隙間が設定されていることから、ステアリングハンドルからの振動が、フック部2(これを覆うガイド部材30)を介してロックばね40に伝達することを防止しつつ、ダンパーゴム20の弾性変形を利用したダイナミックダンパ機能が確保される。
スペーサ21によって、ダンパーゴム20が過剰に震動し不必要に拡径方向に弾性変形することが規制され、ダイナミックダンパ機能を効果的に得ることが可能となる。
車両の衝突に起因してエアバッグモジュール10が作動すると、運転者に向けてエアバッグが膨張展開される。膨張展開されたエアバッグは、ガイド部材30によって、フック部2(の先端部)に直接当接することが規制される。なお、実施形態では、本体部31の頂部に開口部31cを有するように設定してあるが、これは、空気抜きのためであり(フック部2の本体部31内へのスムーズな挿入確保)、この開口部31cを有しないものであってもよい。
ここで、スペーサ21を別途設けないようにすることもできるが、取付孔12aを筒状に長く形成して、その内部にダンパーゴム20が存在するようにすることによって、スペーサ21の機能を兼用させることができる。
前述の説明から既に明かなように、スナップイン方式での取付けとダイナミックダンパ機能とを得るために要求される必要部品としては、実施形態では、フック部2、ダンパーゴム20、スペーサ21、ガイド部材30、ロックばね40の合計5点であり、スペーサ21を別途設けない場合は4点ですむことになる。
図15、図16は、本発明の第2の実施形態を示すもので、前記実施形態と同一構成要素には同一符号を付して、その重複した説明は省略する。本実施形態では、ガイド部材30のうち本体部31の外周面に、その全周にわたって延びる環状の凸部31dを形成してある。この凸部31dがダンパーゴム20の内周面に当接して、ガイド部材30の位置決めがより十分に行われる。
本体部31の外周面とダンパーゴム20の内周面との間には、凸部31dの周囲において隙間S1が形成される。この隙間S1の形成によって、周方向のダンピング可動域が拡大されて、ダイナミックダンパ性能を向上できる。なお、凸部31dの形成位置は、ダンパーゴム20の軸線方向略中間位置に形成しておくのが好ましい(ダンパーゴム20の軸線方向において、凸部31dを境にして隙間S1を略等しい長さで存在させる)。なお、本実施形態では、取付板部12に対して、外周縁部に開口されるスリット12cを周方向に間隔をあけて複数形成してある。
本実施形態ではさらに、ガイド部材30におけるフランジ部32部分において、ダンパーゴム20との間に隙間S2を形成してある。すなわち、フランジ部32は、ダンパーゴム20に対向する面が、径方向外側に向かうにつれて徐々にダンパーゴム20から離間するように傾斜されていて、隙間S2がくさび形状として形成されている。この隙間S2の形成により、ダンパーゴム20の可動域を広げて、ダイナミックダンパ性能を向上できる
以上実施形態について説明したが、本発明は、実施形態に限定されるものではなく、特許請求の範囲の記載された範囲において適宜の変更が可能である。ダンパーゴム20を、ガイド部材30の外周に嵌合しておくこともできる(例えばガイド部材30の外周に環状の保持溝を形成して、この保持溝にダンパーゴム20を嵌合させておく)。フック部2は、芯金1と別部材で形成して、固定具によって芯金1に一体化することもできる。ガイド部材30は、フック部2の拡大先端部2aを覆うことのない形状に設定することもできる。勿論、本発明の目的は、明記されたものに限らず、実質的に好ましいあるいは利点として表現されたものを提供することをも暗黙的に含むものである。
本発明は、ダイナミックダンパ機能を得つつスナップイン方式での取付けを行う場合に、部品点数が少ない簡単な構造とすることができる。
1:芯金(ステアリングハンドル)
1a:ボス部
2:フック部
2a:拡大先端部
2b:平坦面
3:リターンスプリング
4:ホーンセンサ
10:エアバッグモジュール
11:本体部
12:取付板部
12a:取付孔
20:ダンパーゴム
21:スペーサ
30:ガイド部材
31:本体部
31a、31b:保持孔
31c:開口部
31d:凸部(図15、図16)
32:フランジ部
40:ロックばね
40a、40b:棒状部
40c:連結部
40d:係止爪部
S1、S2:隙間(図15、図16)

Claims (10)

  1. ステアリングハンドルに形成されたフック部を、エアバッグモジュールの取付板部に形成された取付孔に挿入することにより、該エアバッグモジュールの該ステアリングハンドルに対する取付けを行うようにしたステアリングハンドル構造であって、
    前記フック部が挿入される筒状のガイド部材が、環状のダンパーゴム内に前記ステアリングハンドル側から挿通可能とされて前記取付孔に嵌合、保持された本体部と、前記本体部の一端部側において形成されて前記取付孔のうち前記ステアリングハンドル側の縁部に係止されるフランジ部と、を有し、
    前記本体部に、前記ガイド部材に挿入された前記フック部を係止して、該フック部の抜けを規制するロックばねが保持され、
    前記ロックばねによって前記フック部を係止している状態において、該ロックばねと前記取付板部との間に、該フック部の断面方向において隙間が形成されている、
    ことを特徴とするステアリングハンドル構造。
  2. 請求項1において、
    前記ロックばねは、前記取付板部を挟んで前記フランジ部とは反対側の位置において前記本体部に保持されており、
    前記ガイド部材は、前記フランジ部と前記ロックばねとによって、前記取付孔の軸線方向に移動して前記本体部が該取付孔から抜けることが規制されている、
    ことを特徴とするステアリングハンドル構造。
  3. 請求項1または請求項2において、
    前記ロックばねは、略U字状に形成されることにより対向して伸びる一対の棒状部と、該一対の棒状部の一端部同士を連結する連結部と、を有し、
    前記ロックばねは、前記一対の棒状部のうち少なくとも一方の棒状部が前記ガイド部材内を横断するようにして該ガイド部材に保持され、
    前記ガイド部材に挿入された前記フック部が、前記一対の棒状部の間隔を拡大方向に弾性変形させつつ該一対の棒状部を乗り越えて、該一対の棒状部を乗り越えた後に該一対の棒状部がその間隔が狭くなるように弾性復帰することにより、該フック部の該ロックばねからの抜けが規制されるように設定されている、
    ことを特徴とするステアリングハンドル構造。
  4. 請求項3において、
    前記本体部の両側面にはそれぞれ保持孔が形成され、
    前記一対の棒状部の一方が前記保持孔の一方に嵌合されると共に、該一対の棒状部の他方が該保持孔の他方に嵌合されている、
    ことを特徴とするステアリングハンドル構造。
  5. 請求項1ないし請求項4のいずれか1項において、
    前記フック部の側面のうち前記ロックばねに対面する少なくとも1つの面が、平坦面に形成されている、ことを特徴とするステアリングハンドル構造。
  6. 請求項1ないし請求項5のいずれか1項において、
    前記ガイド部材の端部によって、前記ロックばねによって係止されている状態における前記フック部の先端部が覆われている、ことを特徴とするステアリングハンドル構造。
  7. 請求項1ないし請求項6のいずれか1項において、
    前記ダンパーゴムの外周に、該ダンパーゴムが拡径する方向への弾性変形を規制するスペーサが嵌合されている、ことを特徴とするステアリングハンドル構造。
  8. 請求項1ないし請求項7のいずれか1項において、
    前記エアバッグモジュールは、前記フック部が前記ロックばねによって係止されている状態で、該フック部の長手方向に所定範囲内で変位可能とされ、
    リターンスプリングにより、前記エアバッグモジュールが前記ステアリングハンドルから離間する方向に付勢されている、
    ことを特徴とするステアリングハンドル構造。
  9. ステアリングハンドルに形成されたフック部を、エアバッグモジュールの取付板部に形成された取付孔に挿入することにより、該エアバッグモジュールの該ステアリングハンドルに対する取付けを行うようにしたステアリングハンドル構造であって、
    前記フック部が挿入される筒状のガイド部材が、環状のダンパーゴムを介して前記取付孔に嵌合、保持され、
    前記ガイド部材に、前記ガイド部材に挿入された前記フック部を係止して、該フック部の抜けを規制するロックばねが保持され、
    前記ガイド部材は、前記ダンパーゴム内に前記ステアリングハンドル側から挿通可能な本体部と、該本体部の一端部側に形成され、前記取付孔のうち前記ステアリングハンドル側の縁部に係止されるフランジ部と、を有し、
    前記ロックばねは、前記取付板部を挟んで前記フランジ部とは反対側の位置において前記本体部に保持されており、
    前記ガイド部材は、前記フランジ部と前記ロックばねとによって、前記取付孔の軸線方向に移動して前記本体部が該取付孔から抜けることが規制され、
    前記本体部の外周面に前記ダンパーゴムの内周面に当接する凸部が形成されて、該ガイド部材と該ダンパーゴムとの間には該凸部の周囲において隙間が形成されている、ことを特徴とするステアリングハンドル構造。
  10. 請求項1または請求項9において、
    前記フランジ部と該フランジ部に対向する前記ダンパーゴムとの間に隙間が形成されている、ことを特徴とするステアリングハンドル構造。




JP2017045625A 2017-03-10 2017-03-10 ステアリングハンドル構造 Active JP6835633B2 (ja)

Priority Applications (6)

Application Number Priority Date Filing Date Title
JP2017045625A JP6835633B2 (ja) 2017-03-10 2017-03-10 ステアリングハンドル構造
KR1020197028677A KR102497093B1 (ko) 2017-03-10 2018-02-08 스티어링 핸들 구조
CN201880017256.XA CN110431050B (zh) 2017-03-10 2018-02-08 转向盘结构
PCT/JP2018/004292 WO2018163698A1 (ja) 2017-03-10 2018-02-08 ステアリングハンドル構造
US16/492,269 US10875564B2 (en) 2017-03-10 2018-02-08 Steering wheel structure
DE112018000782.0T DE112018000782T5 (de) 2017-03-10 2018-02-08 Lenkradaufbau

Applications Claiming Priority (1)

Application Number Priority Date Filing Date Title
JP2017045625A JP6835633B2 (ja) 2017-03-10 2017-03-10 ステアリングハンドル構造

Publications (2)

Publication Number Publication Date
JP2018149837A JP2018149837A (ja) 2018-09-27
JP6835633B2 true JP6835633B2 (ja) 2021-02-24

Family

ID=63448638

Family Applications (1)

Application Number Title Priority Date Filing Date
JP2017045625A Active JP6835633B2 (ja) 2017-03-10 2017-03-10 ステアリングハンドル構造

Country Status (6)

Country Link
US (1) US10875564B2 (ja)
JP (1) JP6835633B2 (ja)
KR (1) KR102497093B1 (ja)
CN (1) CN110431050B (ja)
DE (1) DE112018000782T5 (ja)
WO (1) WO2018163698A1 (ja)

Families Citing this family (16)

* Cited by examiner, † Cited by third party
Publication number Priority date Publication date Assignee Title
US11718257B2 (en) * 2016-12-15 2023-08-08 Zf Passive Safety Systems Us Inc Coupling device for mounting an airbag module to be oscillating on a vehicle steering wheel
DE102016124530A1 (de) * 2016-12-15 2018-06-21 Trw Automotive Safety Systems Gmbh Kopplungsvorrichtung zur schwingfähigen Befestigung eines Gassackmoduls an einem Fahrzeuglenkrad
DE102017102463A1 (de) * 2017-02-08 2018-08-09 Trw Automotive Safety Systems Gmbh Lagereinheit, lenkradbaugruppe sowie verfahren zur herstellung einer fahrzeugbaugruppe
JP7015194B2 (ja) * 2018-03-19 2022-02-02 芦森工業株式会社 ステアリングホイール
CN112351929B (zh) * 2018-06-25 2022-08-30 奥托立夫开发公司 方向盘中的阻尼器单元的安装固定结构以及方向盘
JP6953371B2 (ja) * 2018-08-21 2021-10-27 株式会社三共 遊技機
US10926698B2 (en) * 2018-12-17 2021-02-23 Key Safety Systems, Inc. Integrated steering wheel, vibration absorber, and driver airbag
KR102693552B1 (ko) * 2019-04-11 2024-08-08 현대모비스 주식회사 운전석 에어백장치
FR3099437B1 (fr) * 2019-07-29 2025-02-21 Autoliv Dev Dispositif de montage amovible d’un module de coussin gonflable sur un volant
WO2021145150A1 (ja) * 2020-01-16 2021-07-22 オートリブ ディベロップメント エービー 車両のステアリングホイール装置
JP7410821B2 (ja) 2020-08-19 2024-01-10 Joyson Safety Systems Japan合同会社 ステアリングホイール
CN112092895B (zh) * 2020-09-30 2025-05-23 浙江吉利控股集团有限公司 一种汽车方向盘减震单元及汽车方向盘
CN117157225A (zh) * 2021-04-15 2023-12-01 奥托立夫开发公司 方向盘
DE202021104137U1 (de) * 2021-08-03 2022-11-08 Dalphi Metal Espana, S.A. Gassackmodul, sowie Fahrzeuglenkeinheit mit einem solchen Gassackmodul
KR20240033489A (ko) * 2022-09-05 2024-03-12 현대자동차주식회사 스티어링휠과, 그 스티어링휠의 댐퍼유닛
USD1089002S1 (en) * 2023-12-04 2025-08-19 Stay Tuned Performance Steering wheel

Family Cites Families (15)

* Cited by examiner, † Cited by third party
Publication number Priority date Publication date Assignee Title
US5087069A (en) * 1990-12-20 1992-02-11 General Motors Corporation Restraint system mounting
DE29805210U1 (de) * 1998-03-23 1998-06-04 TRW Automotive Safety Systems GmbH, 63743 Aschaffenburg Aufprall-Schutzvorrichtung
DE29805207U1 (de) * 1998-03-23 1998-06-04 TRW Automotive Safety Systems GmbH, 63743 Aschaffenburg Lenkrad mit Airbag
JP2001233159A (ja) * 2000-02-18 2001-08-28 Tokai Rika Co Ltd エアバッグ装置組付構造
EP1418095B1 (en) * 2000-06-27 2006-04-26 Toyoda Gosei Co., Ltd. Steering wheel with an airbag device
US6874808B2 (en) * 2002-09-20 2005-04-05 Delphi Technologies, Inc. Apparatus and method for maintaining a uniform gap between an airbag module and its surrounding structure
US7510209B2 (en) * 2004-09-10 2009-03-31 Delphi Technologies, Inc. Airbag module with integral locking mechanism and method of making
JP5153526B2 (ja) * 2008-02-01 2013-02-27 本田技研工業株式会社 ステアリングホイールの振動低減構造
JP5872237B2 (ja) * 2011-10-07 2016-03-01 芦森工業株式会社 エアバッグ装置の取付部構造
JP5989449B2 (ja) * 2012-08-06 2016-09-07 タカタ株式会社 ステアリングホイール
JP6040884B2 (ja) 2012-11-12 2016-12-07 豊田合成株式会社 ステアリングホイールの制振構造
JP6454073B2 (ja) * 2014-02-03 2019-01-16 Joyson Safety Systems Japan株式会社 ステアリングホイール
JP6488627B2 (ja) 2014-02-28 2019-03-27 Joyson Safety Systems Japan株式会社 ステアリングホイール
JP6164175B2 (ja) 2014-07-30 2017-07-19 豊田合成株式会社 ステアリングホイール
KR102293578B1 (ko) * 2015-07-22 2021-08-25 현대모비스 주식회사 조향휠 에어백 장치

Also Published As

Publication number Publication date
JP2018149837A (ja) 2018-09-27
CN110431050B (zh) 2022-03-25
KR102497093B1 (ko) 2023-02-06
WO2018163698A1 (ja) 2018-09-13
KR20190125386A (ko) 2019-11-06
US20200331511A1 (en) 2020-10-22
US10875564B2 (en) 2020-12-29
DE112018000782T5 (de) 2019-11-07
CN110431050A (zh) 2019-11-08

Similar Documents

Publication Publication Date Title
JP6835633B2 (ja) ステアリングハンドル構造
JP5797770B2 (ja) ステアリングホイールの振動低減構造
WO2012032860A1 (ja) エアバッグモジュールを備えたステアリングホイール構造
JP7045967B2 (ja) 車両のステアリングホイールに備えるダンパ構造
WO2017154571A1 (ja) エアバッグモジュール用ダンパユニット及びステアリングホイール
JP6817872B2 (ja) エアバッグ装置の取付構造
JP5523996B2 (ja) エアバッグモジュールを備えたステアリングホイール構造
US12522275B2 (en) Steering wheel and method of manufacturing same
CN114750720B (zh) 气囊装置的支撑构造
CN212354123U (zh) 方向盘减振系统和方向盘
JP6871783B2 (ja) エアバッグ装置
JP4363485B2 (ja) ステアリングコラムカバー構造
JP6197201B2 (ja) エアバッグ取り付け構造
JP4274094B2 (ja) ステアリングホイール
JP2007309420A (ja) 自動車の内装部材と車体パネルとの連結構造
JP5139212B2 (ja) 車両用エアバッグ装置
JP6341817B2 (ja) 車両用インナーミラー構造
JP7269819B2 (ja) 装飾部材及びモジュールのカバー体
JP2019156346A (ja) ステアリングホイール
CN113815708A (zh) 方向盘减振系统和方向盘
KR101962211B1 (ko) 차량용 스피커 보호커버
JP5104521B2 (ja) ドア内装材
JPH0769154A (ja) エアバッグ装置の取付構造
JPH0728751U (ja) インフレータカバーを備えたエアバッグ装置
JP2008069825A (ja) Ea材及びその取付構造

Legal Events

Date Code Title Description
A621 Written request for application examination

Free format text: JAPANESE INTERMEDIATE CODE: A621

Effective date: 20200121

A131 Notification of reasons for refusal

Free format text: JAPANESE INTERMEDIATE CODE: A131

Effective date: 20200918

A601 Written request for extension of time

Free format text: JAPANESE INTERMEDIATE CODE: A601

Effective date: 20201112

A521 Request for written amendment filed

Free format text: JAPANESE INTERMEDIATE CODE: A523

Effective date: 20210114

TRDD Decision of grant or rejection written
A01 Written decision to grant a patent or to grant a registration (utility model)

Free format text: JAPANESE INTERMEDIATE CODE: A01

Effective date: 20210129

A61 First payment of annual fees (during grant procedure)

Free format text: JAPANESE INTERMEDIATE CODE: A61

Effective date: 20210204

R150 Certificate of patent or registration of utility model

Ref document number: 6835633

Country of ref document: JP

Free format text: JAPANESE INTERMEDIATE CODE: R150

R250 Receipt of annual fees

Free format text: JAPANESE INTERMEDIATE CODE: R250

R250 Receipt of annual fees

Free format text: JAPANESE INTERMEDIATE CODE: R250

R250 Receipt of annual fees

Free format text: JAPANESE INTERMEDIATE CODE: R250