JP6819552B2 - コイル巻線装置 - Google Patents

コイル巻線装置 Download PDF

Info

Publication number
JP6819552B2
JP6819552B2 JP2017222744A JP2017222744A JP6819552B2 JP 6819552 B2 JP6819552 B2 JP 6819552B2 JP 2017222744 A JP2017222744 A JP 2017222744A JP 2017222744 A JP2017222744 A JP 2017222744A JP 6819552 B2 JP6819552 B2 JP 6819552B2
Authority
JP
Japan
Prior art keywords
coil
guide
flat wire
plane
bending
Prior art date
Legal status (The legal status is an assumption and is not a legal conclusion. Google has not performed a legal analysis and makes no representation as to the accuracy of the status listed.)
Active
Application number
JP2017222744A
Other languages
English (en)
Other versions
JP2019097256A (ja
Inventor
烈 松尾
烈 松尾
嘉章 市川
嘉章 市川
Current Assignee (The listed assignees may be inaccurate. Google has not performed a legal analysis and makes no representation or warranty as to the accuracy of the list.)
Toyota Motor Corp
Original Assignee
Toyota Motor Corp
Priority date (The priority date is an assumption and is not a legal conclusion. Google has not performed a legal analysis and makes no representation as to the accuracy of the date listed.)
Filing date
Publication date
Application filed by Toyota Motor Corp filed Critical Toyota Motor Corp
Priority to JP2017222744A priority Critical patent/JP6819552B2/ja
Publication of JP2019097256A publication Critical patent/JP2019097256A/ja
Application granted granted Critical
Publication of JP6819552B2 publication Critical patent/JP6819552B2/ja
Active legal-status Critical Current
Anticipated expiration legal-status Critical

Links

Images

Landscapes

  • Coil Winding Methods And Apparatuses (AREA)
  • Manufacture Of Motors, Generators (AREA)

Description

本開示は、平角線の曲げ加工動作と送り動作とを繰り返してコイルを形成するコイル巻線装置に関する。
従来、平角線を複数段に巻回することにより矩形コイルを形成するコイル巻線装置として、平角線の曲げ加工動作や送り動作に合わせて回転しながら加工中のコイルの外側面を支持するガイドを含むものが知られている(例えば、特許文献1参照)。このコイル巻線装置のガイドは、当該ガイドの回転中心に関して対象に配置される円筒状の第1および第2ガイドと、第1ガイドと間隔をおいて対向する円筒状の第3ガイドと、第2ガイドと間隔をおいて対向する円筒状の第4ガイドとを含む。コイルの4つの角部を平角線に形成される順に第1角部、第2角部、第3角部および第4角部としたときに、第1ガイドは、第1および第2角部が形成される際に加工中のコイルの外側面を支持し、第2ガイド部は、第3および第4角部が形成される際に加工中のコイルの外側面を支持する。これにより、加工中コイルの回転方向側への倒れを抑制し、曲げ加工されたコイルが塑性変形しないようにすることができる。
特開2013−247709号公報
しかしながら、上述のような円筒状のガイドを用いた場合、加工中のコイルの位置によっては、上記外側面とガイドとの間隔が大きくなってしまう。このため、コイルの巻回工程のリードタイムを短縮化するために曲げ加工動作や送り動作を高速化すると、矩形状に巻かれた平角線が慣性により揺動して変形してしまうおそれがある。また、平角線の変形を抑制するために、加工中のコイルの外側面との間隔を小さくなるように複数のガイドを配置した場合、高速で送られる加工中のコイルがガイドに干渉してしまい、平角線の曲げ加工が実行し得なくなるおそれもある。
そこで、本開示は、平角線の曲げ加工動作と送り動作とを繰り返してコイルを形成する際に、曲げ加工動作および送り動作の高速化を図りつつ、加工中のコイルの変形を良好に抑制することを主目的とする。
本開示のコイル巻線装置は、平角線の曲げ加工動作と前記平角線の送り動作とを繰り返してコイルを形成するコイル巻線装置において、前記平角線が前記曲げ加工動作により曲げられる際に加工中のコイルの側面を受ける受け面および前記平角線が前記送り動作により送られる際に前記加工中のコイルを誘導する誘導面を含む内面をそれぞれ有すると共に、前記内面同士が間隔をおいて対向するように連結される第1および第2ガイド壁を含み、前記平角線の曲げ中心と平行に延在する回転中心の周りに回転自在に配置されるガイド部材と、前記ガイド部材を回転駆動する回転駆動装置と、前記平角線の前記曲げ加工動作と前記送り動作とに同期して前記ガイド部材が回転するように前記回転駆動装置を制御する制御装置とを含むものである。
このコイル巻線装置を用いてコイルを形成する際、ガイド部材は、回転駆動装置により回転駆動されて平角線の曲げ加工動作と送り動作とに同期して回転する。そして、平角線が曲げ加工動作により曲げられる際には、第1または第2ガイド壁の受け面により加工中のコイルの側面が受けられ(支持され)、平角線が送り動作により送られる際には、加工中のコイルが第1および第2ガイド壁の誘導面により誘導される。このように、ガイド部材の第1および第2ガイド壁の内面に受け面と誘導面とを設けることで、曲げ加工中のコイルの側面と第1ガイド壁や第2ガイド壁の受け面との間隔を狭めて当該コイルの揺動を抑制すると共に、送り動作に伴って揺動する加工中のコイルを誘導面により誘導しながら平角線を高速で送ることができる。この結果、平角線の曲げ加工動作と送り動作とを繰り返してコイルを形成する際に、曲げ加工動作および送り動作の高速化を図りつつ、加工中のコイルの変形を良好に抑制することが可能となる。
また、前記第1ガイド壁の内面と前記第2ガイド壁の内面とは、同一の断面形状を有してもよく、前記第1および第2ガイド壁は、前記内面同士が前記ガイド部材の前記回転中心に関して対称に配置されるように互いに連結されてもよい。これにより、平角線の曲げ加工動作と送り動作とに同期して回転中心の周りにガイド部材を回転させることで、当該ガイド部材により曲げ加工中のコイルの揺動を抑制すると共に、送り動作に伴って揺動する加工中のコイルを誘導することが可能となる。
更に、前記コイルは、矩形コイルであってもよく、前記送り動作は、前記コイルの長辺に応じた距離だけ前記平角線を送る長辺送り動作と、前記コイルの短辺に応じた距離だけ前記平角線を送る短辺送り動作とを含んでもよく、前記曲げ加工動作は、前記長辺送り動作により送られた平角線を曲げる長辺曲げ加工動作と、前記短辺送り動作により送られた平角線を曲げる短辺曲げ加工動作とを含んでもよく、前記第1および第2ガイド壁の前記受け面は、前記平角線が前記短辺曲げ加工動作により曲げられる際および前記平角線が前記長辺曲げ加工動作により曲げられる際に前記加工中のコイルの前記側面を受ける第1受け面と、前記回転中心側で前記第1受け面に隣り合うと共に該第1受け面に対して傾斜しており、前記平角線が前記長辺曲げ加工動作により曲げられる際に前記加工中のコイルの前記側面を受ける第2受け面とをそれぞれ含んでもよい。
かかるガイド部材を含むコイル巻線装置では、平角線が短辺曲げ加工動作により曲げられる際、加工中のコイルの側面が第1受け面により受けられる。また、平角線が長辺曲げ加工動作により曲げられる際には、加工中のコイルの側面が第1受け面により受けられた後、第2受け面により受けられる。これにより、平角線が大きく揺動しがちな長辺曲げ加工動作の実行に際して加工中のコイルの側面に当接可能となる第1および第2ガイド壁の内面の面積を充分に確保することが可能となり、長辺曲げ加工動作の実行時におけるコイルの変形を良好に抑制することができる。
また、前記コイルは、一端から延出されたリード線部を含んでもよく、前記第1および第2ガイド壁の内面は、前記曲げ加工動作および前記送り動作の実行に際して前記リード線部と干渉しないように形成されてもよい。これにより、コイルの形成中にリード線部の変形を良好に抑制することが可能となる。
更に、前記コイル巻線装置は、前記第1ガイド壁の前記内面に沿って延在する第1側縁部および前記第2ガイド壁の前記内面に沿って延在する第2側縁部を含むと共に、前記第1ガイド壁と前記第2ガイド壁との間に前記ガイド部材と一体に回転自在かつ前記平角線の積層方向に移動自在に配置される押さえ部材と、前記押さえ部材を前記積層方向に移動させる駆動装置とを更に含んでもよく、前記制御装置は、前記押さえ部材が前記加工中のコイルを押さえながら前記積層方向に移動するように前記駆動装置を制御してもよい。これにより、押さえ部材により加工中のコイルの積層方向への移動を規制することができるので、曲げ加工動作および送り動作のより一層の高速化を図ることが可能となる。
本開示のコイル巻線装置の概略構成図である。 本開示のコイル巻線装置により形成されるコイルを示す斜視図である。 本開示のコイル巻線装置に含まれる巻回機構を示す模式図である。 本開示のコイル巻線装置に含まれるガイド機構を示す概略構成図である。 本開示のコイル巻線装置に含まれるガイド機構の要部を示す平面図である。 本開示のコイル巻線装置に含まれるガイド機構の要部を示す模式図である。 本開示のコイル巻線装置におけるコイルの形成手順を示す模式図である。 本開示のコイル巻線装置におけるコイルの形成手順を示す模式図である。 本開示のコイル巻線装置におけるコイルの形成手順を示す模式図である。 本開示のコイル巻線装置におけるコイルの形成手順を示す模式図である。 本開示のコイル巻線装置におけるコイルの形成手順を示す模式図である。 本開示のコイル巻線装置におけるコイルの形成手順を示す模式図である。 本開示のコイル巻線装置におけるコイルの形成手順を示す模式図である。 本開示のコイル巻線装置におけるコイルの形成手順を示す模式図である。 本開示のコイル巻線装置におけるコイルの形成手順を示す模式図である。 本開示のコイル巻線装置におけるコイルの形成手順を示す模式図である。 本開示のコイル巻線装置におけるコイルの形成手順を示す模式図である。 本開示のコイル巻線装置におけるコイルの形成手順を示す模式図である。 本開示のコイル巻線装置におけるコイルの形成手順を示す模式図である。 本開示のコイル巻線装置に含まれるガイド部材の第1および第2ガイド壁の内面の設計手順を説明するための模式図である。 ガイド部材の第1および第2ガイド壁の内面の設計手順を説明するための模式図である。 ガイド部材の第1および第2ガイド壁の内面の設計手順を説明するための模式図である。 ガイド部材の第1および第2ガイド壁の内面の設計手順を説明するための模式図である。 ガイド部材の第1および第2ガイド壁の内面の設計手順を説明するための模式図である。 ガイド部材の第1および第2ガイド壁の内面の設計手順を説明するための模式図である。 ガイド部材の第1および第2ガイド壁の内面の設計手順を説明するための模式図である。 ガイド部材の第1および第2ガイド壁の内面の設計手順を説明するための模式図である。 ガイド部材の第1および第2ガイド壁の内面の設計手順を説明するための模式図である。 ガイド部材の第1および第2ガイド壁の内面の設計手順を説明するための模式図である。 ガイド部材の第1および第2ガイド壁の内面の設計手順を説明するための模式図である。
次に、図面を参照しながら、本開示の発明を実施するための形態について説明する。
図1は、本開示のコイル巻線装置1を示す概略構成図である。同図に示すコイル巻線装置1は、矩形断面を有する平角線Wの曲げ加工動作と送り動作とを繰り返し実行して、図2に示すようなコイルCを形成するものである。本実施形態において、コイルCは、図示するように、1本の平角線Wを2列かつ複数段(例えば6−10段程度)にエッジワイズ方向に曲げながら巻回した集中巻式の矩形コイル(カセットコイル)であり、略四角錐台状の外形を呈する。また、コイルCの一端からは、短尺のリード線部(端子部)Lが延出されており、その他端からは、長尺のバスバー部(渡り線)Bが延出されている。コイルCは、例えば電気自動車やハイブリッド車両等に搭載される三相交流電動機を構成するものであり、当該電動機のステータコアScのティースTに例えば樹脂製のインシュレータIと共に嵌め込まれる。そして、コイルCのバスバー部Bは、対応する他のコイルCのリード線部Lに電気的に接続(溶接)され、それによりU相、V相およびW相のステータコイルが構成される。
コイル巻線装置1は、図1に示すように、ボビン2と、送り機構3と、保持機構4と、巻回機構5と、ガイド機構10と、これらを制御する制御装置100とを含む。ボビン2には、平角線Wがフラットワイズ方向に巻回される。送り機構3は、平角線Wをクランプ可能な送りクランプ3aや、送りクランプ3aを移動させるためのモータやボールねじ等を含むクランプ移動機構3b等を含む。平角線Wをクランプした送りクランプ3aをクランプ移動機構3bにより移動させることでボビン2から平角線Wを引き出すと共に引き出された平角線Wを後段側に送り出すことができる。また、ボビン2と送り機構3との間には、ボビン2から引き出された平角線Wを真っ直ぐに矯正する複数の矯正ローラ3cが配設されている。
保持機構4は、平角線Wをクランプ可能な保持クランプ4aを含み、送り機構3の送りクランプ3aにより平角線Wがクランプされていない際に、保持クランプ4aにより当該平角線Wを移動しないようにクランプする。巻回機構5は、平角線Wにエッジワイズ曲げ加工を施すものであり、図3に示すように、曲げ加工の支点となる曲げシャフト5aと、図示しない駆動装置により駆動されて当該曲げシャフト5aの中心軸(曲げ中心)5acを中心とする円周に沿って移動可能な曲げ冶具5bとを含む。曲げシャフト5aは、円柱状のシャフト部および当該シャフト部の上端部から径方向外側に突出する環状のフランジ部(図示省略)を含み、図1における上下方向に延在するように配置される。曲げシャフト5aは、フランジ部により平角線Wの厚み方向(フラットワイズ方向)への移動を規制可能である。
かかる巻回機構5によれば、図3に示すように、曲げシャフト5aのフランジ部により平角線Wの厚み方向への移動が規制された状態で曲げ冶具5bを曲げシャフト5aの中心軸5acの周りで移動させることにより、曲げシャフト5aの中心軸5acを曲げ中心として平角線Wをエッジワイズ方向に曲げることが可能となる。このようにして平角線Wをエッジワイズ方向に曲げる際、加工中のコイルCp(曲げられる平角線Wおよび既に矩形状に巻かれている平角線W)は、図3に示す回動中心Wcを中心として回動する。回動中心Wcは、平角線Wの送り方向(曲げ加工される前の平角線Wの延在方向)に延在する曲げシャフト5aの軸部への第1の接線と、当該平角線Wの延在方向(送り方向)に直交する曲げシャフト5aの軸部への第2の接線との交点である。本実施形態では、平角線Wの送り方向と平行に延在すると共に回動中心WcからコイルCの幅(長手方向と直交する方向の長さ)に基づいて予め定められた距離だけ離間する直線がx軸として定められ、回動中心Wcを通る上記第2の接線がy軸として定められる。
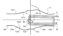
ガイド機構10は、図4に示すように、巻回機構5(曲げシャフト5aおよび曲げ治具5b)の図中上方に回転自在に配置されるガイド部材11と、当該ガイド部材11を回転駆動する回転駆動装置14と、押さえプレート(押さえ部材)15と、当該押さえプレート15をガイド部材11に対して昇降させる昇降駆動装置16とを含む。ガイド部材11は、第1ガイドプレート(第1ガイド壁)121と、第2ガイドプレート(第2ガイド壁)122と、両者を連結する連結部材13とを含み、上記x軸とy軸との交点Oを通ってx軸およびy軸に直交するz軸(回転中心)の周りに回転自在である。
第1および第2ガイドプレート121は、図5および図6に示すように、互いに同一の断面形状を有する内面121i,122iを含む板状部材である。内面121i,122iは、図6に示すように、第1および第2ガイドプレート121,122の長手方向における一端部から他端部に向けて順番に並ぶ第1受け面12a、第2受け面12b、第1逃げ面12c、第2逃げ面12d、誘導面12e、および第3逃げ面12fを有する。第1受け面12aは、第1および第2ガイドプレート121,122の長手方向における一端部に形成された平坦面である。第2受け面12bは、ガイド部材11の回転中心(z軸)側で曲面を介して第1受け面12aに隣り合うと共に当該第1受け面12aから離間するにつれて外側(図6における上側または下側)に向かう平坦な斜面である。第1逃げ面12cは、曲面を介して第2受け面12bに隣り合う外側に窪んだ凹面である。第2逃げ面12dは、曲面を介して第1逃げ面12cに隣り合うと共に当該第1逃げ面12cから離間するにつれて外側に向かう平坦な斜面である。誘導面12eは、曲面を介して第2逃げ面12dに隣り合うと共に当該第2逃げ面12dから離間するにつれて内側(図6における下側または上側)に向かう平坦な斜面である。第3逃げ面12fは、第1および第2ガイドプレート121,122の長手方向における他端部に形成され、曲面を介して誘導面12eに隣り合う平坦面と、曲面を介して当該平坦面に隣り合うと共に誘導面12eから離間するにつれて外側に向かう平坦な斜面とを含む。
また、第1および第2ガイドプレート121の一方の第1受け面12aは、第1および第2ガイドプレート121の他方の第3逃げ面12fの平坦面と対向し、両者は互い平行に延在する。更に、第1および第2ガイドプレート121の一方の第2受け面12bは、第1および第2ガイドプレート121の他方の誘導面12eと対向する。また、内面121i,122iは、第2逃げ面12dと誘導面12eとの間の曲面の底部で最も外側に窪んでおり、当該底部から誘導面12eと第3逃げ面12fとの間の曲面までの長さは、当該底部から第1受け面12aと第2受け面12bとの間の曲面までの長さよりも短い。更に、ガイド部材11の長手方向に延在する幅方向の中心線(図6におけるx軸)に対する誘導面12eの傾斜角度(絶対値)は、当該中心に対する第2受け面12b傾斜角度(絶対値)に比べて大きくなっている。これにより、第1受け面12bと誘導面12eとが対向する範囲では、当該中心線よりも誘導面12e側が広くなっている。
第1および第2ガイドプレート121,122は、内面121i,122i同士が間隔をおいて対向すると共にガイド部材11の回転中心であるz軸に関して対称に配置されるように連結部材13に固定され、それにより互いに連結される。ガイド部材11における内面121iと内面122iとの間隔は、コイルCの幅(最大幅)よりも若干大きくなるように定められる。また、ガイド部材11を回転駆動する回転駆動装置14は、図示しないモータ等を含み、ガイド部材11の図4における上方に配置(固定)される。回転駆動装置14は、上記z軸と同時に延在する連結シャフト14aを介してガイド部材11に連結される。これにより、回転駆動装置14のモータを作動させることにより、ガイド部材11をz軸の周りに正逆方向に回転させることが可能となる。
押さえプレート15は、図5に示すように、第1ガイドプレート121の内面121iに沿って延在する第1側縁部151および第2ガイドプレート122の内面122iに沿って延在する第2側縁部152を含む。押さえプレート15は、ガイド部材11とz軸(回転中心)の周りに一体に回転可能となると共にz軸方向に移動自在となるように連結部材13により支持される。更に、押さえプレート15には、ガイド部材11と回転駆動装置14とのz軸方向における間に位置するように連結リング15aが固定される。押さえプレート15を昇降させる昇降駆動装置16は、押さえプレート15の連結リング15aをz軸の周りに回転自在に保持するローラ対16aを複数有する移動体16bや、当該移動体16bをz軸方向に移動させるためのモータやリニアガイド等を含む。これにより、昇降駆動装置16のモータを作動させることにより、ガイド部材11がz軸の周りに回転していても、押さえプレート15をz軸に沿って上下に移動させることが可能となる。
制御装置100は、CPU,ROM,RAM等を有するコンピュータを含む。制御装置100には、CPU等のハードウエアと予めインストールされた各種プログラムとの協働により、送り機構3の制御部や、保持機構4の制御部、巻回機構5の制御部、ガイド機構10の制御部等が機能ブロックとして構築される。送り機構3の制御部は、形成されるべきコイルCの長辺部の長さに応じた距離だけ平角線Wを送る長辺送り動作と、形成されるべきコイルCの短辺部の長さに応じた距離だけ平角線Wを送る短辺送り動作とを予め定められたタイミングで実行するようにクランプ3aの駆動装置およびクランプ移動機構3bを制御する。また、保持機構4の制御部は、予め定められたタイミングで平角線Wをクランプするように保持クランプ4aの駆動装置を制御する。
更に、巻回機構5の制御部は、曲げ冶具5bが、長辺送り動作により送られた平角線Wを曲げる長辺曲げ加工動作と、短辺送り動作により送られた平角線Wを曲げる短辺曲げ加工動作とを予め定められたタイミングで実行するように、当該曲げ冶具5bの図示しない駆動装置を制御する。更に、ガイド機構10の制御部は、送り機構3による長辺および短辺送り動作と、巻回機構5による長辺および短辺曲げ加工動作とに同期してガイド部材11が回転するように回転駆動装置14を制御すると共に、押さえプレート15が加工中のコイルCpを押さえながらz軸方向(平角線Wの積層方向)に移動するように昇降駆動装置16を制御する。
次に、図7から図19を参照しながら、コイル巻線装置1におけるコイルCの形成手順について説明する。ここでは、図7に示すように平角線Wがある程度巻回された状態から更に当該平角線Wを巻回してコイルCを形成していく手順について説明する。
図7は、1段目(電動機における最内周側に位置する段)の外周側に位置する平角線Wが巻かれた後であって、送り機構3の長辺送り動作により送られた平角線Wに対する巻回機構5による第1の長辺曲げ加工動作が開始される前の状態を示すものである。図示するように、コイルCの形成中、ガイド部材11の第1および第2ガイドプレート121,122の内面121i,122iは、加工中のコイルCp(既に矩形状に巻かれている平角線W)の対応する長辺部の側面と対向する。また、第1の長辺曲げ加工動作の開始前、加工中のコイルCpの長辺部がx軸方向に延在し、巻回機構5の曲げ治具5bは、図7に示す初期位置で加工中のコイルCpの長辺部を形成することになる平角線Wの側面に当接する。
平角線Wの巻回工程において図7に示す状態が形成されると、コイル巻線装置1の制御装置100は、送り機構3による平角線Wの送り動作を停止させると共に、保持クランプ4aにより平角線Wがクランプされるように保持機構4を制御する。次いで、制御装置100は、巻回機構5の曲げ治具5bが曲げシャフト5aの中心軸5ac(曲げ中心)を中心とする円周に沿って移動するように巻回機構5を制御すると共に、ガイド部材11が加工中のコイルCpと共にz軸(回転中心)の周りに図中時計方向に回転するようにガイド機構10の回転駆動装置14を制御する。本実施形態において、曲げ治具5bは、図8に示すように、平角線Wのスプリングバックを考慮して90°よりも若干大きい所定角度分だけ曲げシャフト5aの中心軸5acを中心とする円周に沿って移動させられ、ガイド部材11もそれに合わせてz軸の周りに回転させられる。曲げ治具5bおよびガイド部材11の移動または回転が停止すると、長辺送り動作により送られた平角線Wを曲げる第1の長辺曲げ加工動作が完了する。
かかる第1の長辺曲げ加工動作の実行に際し、曲げ治具5bを高速に移動させると、加工中のコイルCp(既に矩形状に巻かれている平角線W)は慣性により揺動しようとする。これに対して、本実施形態のコイル巻線装置1では、曲げ加工中のコイルCpと共に回転するガイド部材11により当該コイルCpの揺動を抑制することができる。すなわち、図7および図8からわかるように、第1の長辺曲げ加工動作の主に前半には、第1ガイドプレート121の内面121iに含まれる第1受け面12aと加工中のコイルCp(長辺部)の側面との間隔が狭まり、第1の長辺曲げ加工動作の完了が近づくにつれて第1ガイドプレート121の内面121iに含まれる第2受け面12bと加工中のコイルCpの側面との間隔が狭まっていく。これにより、第1の長辺曲げ加工動作の実行に際して、第1ガイドプレート121の第1および第2受け面12a,12bにより加工中のコイルCpの側面を受け止めて(支持して)、当該加工中のコイルCpの揺動を良好に抑制することが可能となる。
また、ガイド部材11の第2ガイドプレート122の内面122iは、第3逃げ面12fを含む。従って、図8からわかるように、第1の長辺曲げ加工動作の実行に際して、加工中のコイルCpの回動中心Wc(図3参照)から離間した(ずれた)z軸の周りにガイド部材11が回転しても、第2ガイドプレート122の内面122iが加工中のコイルCpのリード線部Lに接触するのを抑制することができる。これにより、コイルCの形成中にリード線部Lの変形を良好に抑制することが可能となる。
第1の長辺曲げ加工動作の完了後、制御装置100は、曲げ治具5bを初期位置に戻すように巻回機構5を制御する。これにより、加工中のコイルCpは、図9に示すように、図7に示す状態から回動中心Wcを中心として90°だけ回動した状態、すなわち長辺部がy軸と平行に延在する状態に矯正される。この際、制御装置100は、ガイド部材11が加工中のコイルCpに追従してz軸の周りに図中反時計方向に僅かに回転するようにガイド機構10の回転駆動装置14を制御する。
図9に示す状態が形成されると、制御装置100は、平角線Wのクランプを解除するように保持機構4を制御すると共に、形成されるべきコイルCの短辺部の長さに応じた距離だけ平角線Wを送るように送り機構3を制御する。これにより、加工中のコイルCpは、送り機構3による平角線Wの短辺送り動作に応じてx軸に沿って移動する。また、制御装置100は、ガイド部材11が送り機構3の短辺送り動作に応じて移動する加工中のコイルCpに追従してz軸の周りに図中反時計方向に回転するようにガイド機構10の回転駆動装置14を制御する。
かかる短辺送り動作の実行に際しても、平角線Wを高速で送ると加工中のコイルCpは慣性により揺動しようとするが、コイル巻線装置1では、短辺送り動作が実行される際に当該加工中のコイルCpの揺動を良好に抑制することができる。すなわち、加工中のコイルCpに追従するようにガイド部材11をz軸の周りに回転させることで、図10からわかるように、第1および第2ガイドプレート121,122の内面121i,122iと曲げ加工中のコイルCp(長辺部)の側面との間隔を狭めることが可能となる。これにより、加工中のコイルCpの揺動を良好に抑制することができる。
また、ガイド部材11の第2ガイドプレート122の内面122iは、第1逃げ面12cおよび第3逃げ面12fを含む。従って、図10からわかるように、短辺送り動作の実行に際して、加工中のコイルCpの回動中心Wc(図3参照)から離間した(ずれた)z軸の周りにガイド部材11が回転しても、第2ガイドプレート122の内面122iが当該加工中のコイルCpのリード線部Lや角部(図中左下の角部)に接触するのを抑制することができる。これにより、加工中のコイルCpの変形を良好に抑制することが可能となる。短辺送り動作が完了すると、加工中のコイルCp(長辺部)のリード線部L側の側面は、図10に示すように、第2ガイドプレート122の誘導面12eと第3逃げ面12fとの間の曲面により受けられる。更に、巻回機構5の曲げ治具5bは、上記初期位置で加工中のコイルCpの短辺部を形成することになる平角線Wの側面に当接する。
続いて、制御装置100は、保持クランプ4aにより平角線Wがクランプされるように保持機構4を制御する。更に、制御装置100は、巻回機構5の曲げ治具5bが曲げシャフト5aの中心軸5acを中心とする円周に沿って移動するように巻回機構5を制御すると共に、ガイド部材11が加工中のコイルCpと共にz軸の周りに図中時計方向に回転するようにガイド機構10の回転駆動装置14を制御する。これにより、短辺送り動作により送られた平角線Wを曲げる第1の短辺曲げ加工動作が完了する。この場合も、曲げ治具5bは、図11に示すように、平角線Wのスプリングバックを考慮して90°よりも若干大きい角度分だけ曲げシャフト5aの中心軸5acを中心とする円周に沿って移動させられ、ガイド部材11もそれに合わせてz軸の周りに回転させられる。
かかる第1の短辺曲げ加工動作の実行に際しても、曲げ治具5bが高速で移動すると加工中のコイルCpは慣性により揺動しようとするが、この場合も、曲げ加工中のコイルCpと共に回転するガイド部材11により当該コイルCpの揺動を良好に抑制することができる。すなわち、図10および図11からわかるように、第1の短辺曲げ加工動作の実行中、第1ガイドプレート121の内面121iに含まれる第1受け面12aと加工中のコイルCp(長辺部)の側面との間隔が狭まっていく。これにより、短辺曲げ加工動作の実行に際しては、第1ガイドプレート121の第1受け面12aにより加工中のコイルCpの側面を受け止めて(支持して)、当該加工中のコイルCpの揺動を良好に抑制することが可能となる。
第1の短辺曲げ加工動作の完了後、制御装置100は、曲げ治具5bを初期位置に戻すように巻回機構5を制御する。これにより、加工中のコイルCpは、図12に示すように、図10に示す状態から回動中心Wcを中心として90°だけ回動した状態、すなわち長辺部がx軸と平行に延在する状態に矯正される。この場合も、制御装置100は、ガイド部材11が加工中のコイルCpに追従してガイド部材11がz軸の周りに図中反時計方向に僅かに回転するようにガイド機構10の回転駆動装置14を制御する。
図12に示す状態が形成されると、制御装置100は、平角線Wのクランプを解除するように保持機構4を制御すると共に、形成されるべきコイルCの長辺部の長さに応じた距離だけ平角線Wを送るように送り機構3を制御する。これにより、加工中のコイルCpは、送り機構3による平角線Wの長辺送り動作に応じてx軸に沿って移動する。ここで、ガイド部材11では、図12および図13に示すように、第1ガイドプレート121の第2受け面12bと第2ガイドプレート122の誘導面12eとが対向しており、両者の間隔は、x軸方向においてガイド部材11の回転中心すなわちz軸から離間するにつれて徐々に狭まっていく。
これにより、長辺送り動作の実行に際して、平角線Wが高速で送られることにより加工中のコイルCpが慣性により揺動しても、誘導面としても機能する第1ガイドプレート121の第2受け面12bと第2ガイドプレート122の誘導面12eとによって、揺動する加工中のコイルCpを間隔が狭まった第1ガイドプレート121の第1受け面12aと第2ガイドプレート122の第3逃げ面12fとの間にスムースに誘導することが可能となる。更に、第1ガイドプレート121の誘導面12eと第2ガイドプレート122の第2受け面12bとが対向する範囲では、ガイド部材11の幅方向の中心線(図中x軸)よりも当該誘導面12e側が広くなっている。従って、長辺送り動作により送られる加工中のコイルCpが揺動しても、リード線部Lと第1ガイドプレート121の誘導面12eとの干渉を良好に抑制することができる。この結果、コイル巻線装置1では、加工中のコイルCp(リード線部L)の変形を抑制しつつ、長辺送り動作をより高速化することが可能となる。
図13に示す位置まで平角線Wや加工中のコイルCpが移動すると、制御装置100は、送り機構3を停止させると共に、保持クランプ4aにより平角線Wがクランプされるように保持機構4を制御する。また、巻回機構5の曲げ治具5bは、上記初期位置で加工中のコイルCpの長辺部を形成することになる平角線Wの側面に当接する。更に、制御装置100は、巻回機構5の曲げ治具5bが曲げシャフト5aの中心軸5acを中心とする円周に沿って90°よりも若干大きい角度分だけ移動するように巻回機構5を制御すると共に、ガイド部材11が加工中のコイルCpと共にz軸の周りに図中時計方向に回転するようにガイド機構10の回転駆動装置14を制御する。これにより、図14に示すように、長辺送り動作により送られた平角線Wを曲げる第2の長辺曲げ加工動作が完了する。かかる第2の長辺曲げ加工動作の実行に際しても、第1ガイドプレート121の第1および第2受け面12a,12bにより加工中のコイルCp(長辺部)の側面を受け止めて(支持して)、当該加工中のコイルCpの揺動を良好に抑制することが可能となる。
また、ガイド部材11の第1ガイドプレート121の内面121iは、それぞれ第2逃げ面12dを含む。従って、図14からわかるように、第2の長辺曲げ加工動作の実行に際して、加工中のコイルCpの回動中心Wc(図3参照)から離間した(ずれた)z軸の周りにガイド部材11が回転しても、第2ガイドプレート122の内面122iが加工中のコイルCpのリード線部Lに接触するのを抑制することができる。これにより、コイルCの形成中にリード線部Lの変形を良好に抑制することが可能となる。
次いで、制御装置100は、曲げ治具5bを初期位置に戻すように巻回機構5を制御する。これにより、加工中のコイルCpは、図15に示すように、図13に示す状態から回動中心Wcを中心として90°だけ回動した状態、すなわち長辺部がy軸と平行に延在する状態に矯正される。この場合も、制御装置100は、ガイド部材11が加工中のコイルCpに追従してz軸の周りに図中反時計方向に僅かに回転するようにガイド機構10の回転駆動装置14を制御する。図15に示す状態が形成されると、制御装置100は、平角線Wのクランプを解除するように保持機構4を制御すると共に、形成されるべきコイルCの短辺部の長さに応じた距離だけ平角線Wを送る短辺送り動作を実行するように送り機構3を制御する。
この場合も、制御装置100は、ガイド部材11が送り機構3の短辺送り動作に応じて移動する加工中のコイルCpに追従してz軸の周りに図中反時計方向に回転するようにガイド機構10の回転駆動装置14を制御する。これにより、図16からわかるように、第1および第2ガイドプレート121,122の内面121i,122iと曲げ加工中のコイルCp(長辺部)の側面の間隔を狭めて、加工中のコイルCpの揺動を良好に抑制することが可能となる。また、この場合も、ガイド部材11の第2ガイドプレート122の内面122iに第1逃げ面12cが含まれることから、第2ガイドプレート122の内面122iが加工中のコイルCpの角部に接触するのを抑制することができる。
図16に示すように、短辺送り動作が完了すると、巻回機構5の曲げ治具5bは、上記初期位置で加工中のコイルCpの短辺部を形成することになる平角線Wの側面に当接し、制御装置100は、保持クランプ4aにより平角線Wがクランプされるように保持機構4を制御する。更に、制御装置100は、巻回機構5の曲げ治具5bが曲げシャフト5aの中心軸5acを中心とする円周に沿って90°よりも若干大きい角度分だけ移動するように巻回機構5を制御すると共に、ガイド部材11が加工中のコイルCpと共にz軸の周りに図中時計方向に回転するようにガイド機構10の回転駆動装置14を制御する。これにより、図17に示すように、短辺送り動作により送られた平角線Wを曲げる第2の短辺曲げ加工動作が完了する。この場合も、第1ガイドプレート121の第1受け面12aにより加工中のコイルCp(長辺部)の側面を受け止めて(支持して)、当該加工中のコイルCpの揺動を良好に抑制することが可能となる。
そして、第2の短辺曲げ加工動作の完了後、制御装置100は、図18に示すように、加工中のコイルCpを長辺部がx軸と平行に延在する状態にした後、図19に示すように、送り機構3に長辺送り動作を実行させる。この場合も、長辺送り動作の実行に際して、平角線Wが高速で送られることにより加工中のコイルCpが慣性により揺動しても、図18および図19からわかるように、誘導面としても機能する第1ガイドプレート121の第2受け面12bと第2ガイドプレート122の誘導面12eとによって、揺動する加工中のコイルCpを間隔が狭まった第1ガイドプレート121の第1受け面12aと第2ガイドプレート122の第3逃げ面12fとの間にスムースに誘導することが可能となる。更に、第1ガイドプレート121の第2受け面12bと第2ガイドプレート122の誘導面12eとが対向する範囲では、ガイド部材11の幅方向の中心線(図中x軸)よりも当該誘導面12e側が広くなっている。従って、長辺送り動作により送られる加工中のコイルCpが揺動しても、リード線部Lと第2ガイドプレート122の誘導面12eとの干渉を良好に抑制することができる。これにより、コイル巻線装置1では、加工中のコイルCp(リード線部L)の変形を抑制しつつ、長辺送り動作をより高速化することが可能となる。
以後、上述した第1の長辺曲げ加工動作、短辺送り動作、第1の短辺曲げ加工動作、長辺送り動作、第2の長辺曲げ加工動作、短辺送り動作、第2の短辺曲げ加工動作、並びに長辺送り動作が繰り返し実行される。また、本実施形態のコイル巻線装置1において、制御装置100は、コイルCの巻回の進行状態に応じて、押さえプレート15が加工中のコイルCpを上から押さえながらz軸方向(積層方向)に上昇するように昇降駆動装置16を制御する。これにより、押さえプレート15により加工中のコイルCpの積層方向への移動を規制することができるので、曲げ加工動作および送り動作のより一層の高速化を図ることが可能となる。コイルCの巻回が完了すると、巻回されたコイルCは、バスバー部Bとなる部分の長さが確保されるように図示しない切断機構により平角線Wから切り離され、バスバー部Bの成形ラインへと搬送される。
引き続き、図20から図30を参照しながら、ガイド部材11の第1および第2ガイドプレート121,122の内面121i,122iの設計手順について説明する。
第1および第2ガイドプレート121,122の内面121i,122iの設計に際しては、まず、図20に示すように、平角線Wの長辺曲げ加工動作によりコイルCの角部を形成する際に、長辺部がy軸方向に延在するように回動中心Wcを中心として回動した加工中のコイルCpの長辺部の側面(最外周側の側面、以下同様)を受ける平面P1を規定する。更に、図21に示すように、平角線Wの短辺曲げ動作によりコイルCの角部を形成する際に、長辺部がx軸方向に延在するように回動中心Wcを中心として回動した加工中のコイルCpの長辺部の側面を受ける平面P2を規定する。
図21に示すように、平面P2は、平面P1に直交する平面であり、平面P1,P2の双方を第1および第2ガイドプレート121,122に形成することは不可能である。このため、図22に示すように、平面P1と平面P2とのなす角度が90°よりも小さくなるように、ガイド部材11の回転中心となるz軸の周りに平面P2を回転させる。平面P2のz軸の周りにける回転角度は、長辺曲げ動作および短辺曲げ動作の実行に際して、加工中のコイルCp(長辺部)の側面の6割から7割程度の範囲に平面P1またはP2が接触可能となるように定められる。
平面P2をz軸の周りに所定角度だけ回転させた後、図23に示すように、平面P1の平面P2との交線よりもz軸から遠い側の部分を除去すると共に、平面P2の平面P1との交線よりもz軸に近い側の部分を除去する。更に、平面P1の残された部分(以下、単に「平面P1」という)とz軸に関して対称に位置する平面P1′を規定すると共に、平面P2の残された部分(以下、単に「平面P2」という)とz軸に関して対称に位置する平面P2′を規定する。これにより、長辺曲げ動作および短辺曲げ動作の実行に際して加工中のコイルCp(長辺部)の側面を受ける受け面が定められる。
次いで、図24に示すように、平面P1,P2,P1′およびP2′を一体としてz軸の周りに図中反時計方向に回転させる。この際、平面P1,P2,P1′およびP2′の回転角度は、コイルCが形成される際の短辺送り動作による平角線Wの最大送り量を考慮して定められる。平面P1,P2,P1′およびP2′を一体に回転させた後、図25に示すように、短辺送り動作により移動させられた加工中のコイルCpの長辺部の側面を受ける平面P3a′を平面P1′と交差するように規定する。図25において、平面P3a′は、y軸と平行に延在する平面である。更に、短辺送り動作により移動させられた加工中のコイルCpの短辺部(図中下側の短辺部)の側面を受ける平面P3b′を平面P1′および平面P3aと交差するように規定する。図25において、平面P3b′は、x軸と平行に延在する平面である。
平面P3a′およびP3b′を規定した後、平面P1の平面P3b′と交差しない部分、平面P3a′の平面P3b′との交線よりも平面P2′側の部分、および平面P3b′の平面P3a′との交線よりも平面P1′から遠い側の部分を除去する。更に、平面P3a′の残された部分(以下、単に「平面P3a′」という)とz軸に関して対称に位置する平面P3aを規定すると共に、平面P3b′の残された部分(以下、単に「平面P3b′」という)とz軸に関して対称に位置する平面P3bを規定する。これにより、短辺送り動作の実行に際して加工中のコイルCp(角部)との干渉を避けるための逃げ面が定められる。
続いて、長辺送り動作を想定して、平面P2およびP2′がx軸と平行に延在するように、平面P1,P2,P3a,P3b,P1′P2′,P3a′およびP3b′を一体としてz軸の周りに回転させる。そして、図26に示すように、長辺送り動作によりx軸に沿って移動させられる加工中のコイルCpの長辺部の側面に沿って延在する平面P4を平面P3aと交差するように規定する。平面P4は、平面P2と同一平面内に含まれ、図示するように、平面P2′と対向する。更に、平面P4とz軸に関して対称に位置する平面P4′を規定する。平面P4′は、平面P2′と同一平面内に含まれ、図示するように、平面P2と対向する。これにより、長辺送り動作の実行に際して加工中のコイルCp(リード線L)との干渉を避けるための逃げ面の一つが定められる。また、図26に示すように、コイルCの最大幅や長辺送り動作の実行時における加工中のコイルCpの揺動範囲等を考慮して、必要に応じて平面P2と平面P4′との間隔および平面P2′と平面P4との間隔を調整する。
平面P4,P4′を規定した後、図27に示すように、平面P1が長辺曲げ動作(本実施形態では、図13および図14に示す第2の長辺曲げ動作)の完了後であって短辺送り動作の開始前の状態(図15参照)における加工中のコイルCp(長辺部)のリード線L側の側面に沿って延在するように、平面P1,P2,P3a,P3b,P4,P1′P2′,P3a′,P3b′およびP4′を一体としてz軸の周りに回転させる。次に、加工中のコイルCpのリード線部Lの側面に沿って延在する平面P5aと、加工中のコイルCpのリード線部Lの端面に沿って延在する平面P5bとをそれぞれ平面P3aと交差するように規定する。図27において、平面P5aは、y軸と平行に延在し、平面P5bは、x軸と平行に延在する。また、平面P5aとz軸に関して対称に位置する平面P5a′を規定すると共に、平面P5bとz軸に関して対称に位置する平面P5b′を規定する。これにより、長辺曲げ動作(第2の長辺曲げ加工動作)の実行に際して加工中のコイルCpのリード線Lとの干渉を避けるための逃げ面の一部が定められる。
更に、図28に示すように、長辺曲げ加工動作(本実施形態では、図7および図8に示す第1の長辺曲げ加工動作)の完了後に、加工中のコイルCpのリード線部Lが平面P4′付近に位置する場合を考慮し、加工中のコイルCpのリード線部Lの側面に沿って延在する平面P6′を平面P4′と交差するように規定する。また、平面P6′とz軸に関して対称に位置する平面P5を平面P4と交差するようにを規定する。これにより、長辺曲げ動作(第1の長辺曲げ加工動作)の実行に際して加工中のコイルCpのリード線Lとの干渉を避けるための逃げ面が更に定められる。
また、図29に示すように、再度長辺送り動作を想定し、平面P3aと平面P4との交線から平面P5aと平面P5bとの交線まで延在して平面P1′と対向する平面P7と、平面P3a′と平面P4′との交線から平面P5a′と平面P5b′との交線まで延在して平面P1と対向する平面P7′とを規定する。図示するように、平面P7と平面P1′との間隔は、図中x軸方向においてガイド部材11の回転中心すなわちz軸から離間するにつれて徐々に狭まり、平面P7′と平面P1との間隔は、図中x軸方向においてガイド部材11の回転中心すなわちz軸から離間するにつれて徐々に狭まる。更に、平面P7と平面P1′とが対向する範囲では、図29におけるx軸よりも平面P7側が広くなり、平面P7′と平面P1とが対向する範囲では、図29におけるx軸よりも平面P7′側が広くなる。
上述のような手順を経て平面P1,P1′−P7,P7′を規定した後、隣り合う平面同士を両者に接する曲面(R面)で繋ぐことにより、図6に示した第1および第2ガイドプレート121,122の内面121i,122iを得ることができる。すなわち、図30に示すように、内面121iの第1受け面12aは、平面P2により形成され、内面122iの第1受け面12a′は、平面P2′により形成される。また、内面121iの第2受け面12bは、平面P1により形成され、内面122iの第1受け面12b′は、平面P1′により形成される。更に、内面121iの第1逃げ面12cは、平面P3aおよびP3b(並びに両者間の曲面)により形成され、内面122iの第1逃げ面12cは、平面P3a′およびP3b′(並びに両者間の曲面)により形成される。また、内面121iの第2逃げ面12dは、平面P5aにより形成され、内面122iの第2逃げ面12dは、平面P5a′により形成される。更に、内面121iの誘導面12eは、平面P7により形成され、内面122iの誘導面12eは、平面P7′により形成される。そして、内面121iの第3逃げ面12fは、平面P4およびP6(並びに両者間の曲面)により形成され、内面122iの第3逃げ面12fは、平面P4′およびP6′(並びに両者間の曲面により形成される。
以上説明したように、本開示のコイル巻線装置1を用いてコイルCを形成する際、ガイド部材11は、回転駆動装置14により回転駆動されて平角線Wの曲げ加工動作と送り動作とに同期して回転する。そして、平角線Wが曲げ加工動作により曲げられる際には、第1および第2ガイドプレート121,122の第1および第2受け面12a,12bの少なくとも何れかにより加工中のコイルCp(長辺部)の側面が受けられる(支持される)。また、平角線Wが送り動作により送られる際には、加工中のコイルCpが第1および第2ガイドプレート121,122の第2受け面12bおよび誘導面12eにより誘導される。このように、ガイド部材11の第1および第2ガイドプレート121,122の内面121i,122iに第1および第2受け面12a,12bと誘導面12eとを設けることで、曲げ加工中のコイルCpの側面と第1ガイドプレート121や第2ガイドプレート122の第1、第2受け面12a,12bとの間隔を狭めて当該コイルCpの揺動を抑制すると共に、送り動作に伴って揺動する加工中のコイルCpを第2受け面12bおよび誘導面12eにより誘導しながら平角線Wを高速で送ることができる。この結果、平角線Wの曲げ加工動作と送り動作とを繰り返してコイルを形成する際に、曲げ加工動作および送り動作の高速化を図りつつ、加工中のコイルCpの変形を良好に抑制することが可能となる。
また、第1ガイドプレート121の内面121iと第2ガイドプレート122の内面122iとは、同一の断面形状を有し、第1および第2ガイドプレート121,122は、内面121i,122i同士がガイド部材11の回転中心(z軸)に関して対称に配置されるように互いに連結される。これにより、平角線Wの曲げ加工動作と送り動作とに同期してガイド部材11を回転させることで、当該ガイド部材11により曲げ加工中のコイルCpの揺動を抑制すると共に、送り動作に伴って揺動する加工中のコイルCpを誘導することが可能となる。
更に、コイル巻線装置1の送り機構3の送り動作には、形成されるべきコイルCの長辺に応じた距離だけ平角線Wを送る長辺送り動作と、形成されるべきコイルCの短辺に応じた距離だけ平角線Wを送る短辺送り動作とが含まれる。また、コイル巻線装置1の巻回機構5の曲げ加工動作には、長辺送り動作により送られた平角線Wを曲げる長辺曲げ加工動作と、短辺送り動作により送られた平角線Wを曲げる短辺曲げ加工動作とが含まれる。そして、平角線Wが短辺曲げ加工動作により曲げられる際には、加工中のコイルCpの側面が第1ガイドプレート121の第1受け面12a(のみ)により受けられる。また、平角線Wが長辺曲げ加工動作により曲げられる際には、加工中のコイルCpの側面が第1ガイドプレート121の第1受け面12aにより受けられた後、第2受け面により受けられる。これにより、平角線Wが大きく揺動しがちな長辺曲げ加工動作の実行に際して加工中のコイルCpの側面に当接可能となる第1および第2ガイドプレート121,22の内面121i,122iの面積を充分に確保することが可能となり、長辺曲げ加工動作の実行時におけるコイルCpの変形を良好に抑制することが可能となる。
また、上記実施形態のコイルCは、一端から延出されたリード線部Lを含んでおり、第1および第2ガイドプレート121,122の内面121i,122iは、曲げ加工動作および送り動作の実行に際してリード線部Lと干渉しないように形成されている。すなわち、内面121i,122iの第1、第2および第3逃げ面12c,12d,12f並びに誘導面12eは、加工中のコイルCpのリード線部に接触しないように形成されている。これにより、コイルCの形成中にリード線部Lの変形を良好に抑制することが可能となる。
更に、コイル巻線装置1は、第1ガイドプレート121および第2ガイドプレート122との間にガイド部材11と一体に回転自在かつ平角線Wの積層方向(z軸方向)に移動自在に配置される押さえプレート15と、押さえプレート15を当該積層方向に移動させる昇降駆動装置16とを含む。そして、制御装置100は、押さえプレート15が加工中のコイルCpを上から押さえながら平角線Wの積層方向に移動するように昇降駆動装置16を制御する。これにより、押さえプレート15により加工中のコイルCpの積層方向への移動を規制することができるので、曲げ加工動作および送り動作のより一層の高速化を図ることが可能となる。加えて、押さえプレート15は、第1ガイドプレート121の内面121iに沿って延在する第1側縁部151および第2ガイドプレート122の内面122iに沿って延在する第2側縁部152を含む。これにより、平角線Wが第1ガイドプレート121,122と押さえプレート15との隙間に入り込むのを抑制し、コイル巻線装置1によるコイルCの形成を円滑に進行させることが可能となる。
なお、本開示の発明は上記実施形態に何ら限定されるものではなく、本開示の外延の範囲内において様々な変更をなし得ることはいうまでもない。更に、上記実施形態は、あくまで発明の概要の欄に記載された発明の具体的な一形態に過ぎず、発明の概要の欄に記載された発明の要素を限定するものではない。
本開示の発明は、コイルの製造分野において利用可能である。
1 コイル巻線装置、2 ボビン、3 送り機構、3a クランプ、3b クランプ移動機構、3c 矯正ローラ、4 保持機構、4a 保持クランプ、5 巻回機構、5a 曲げシャフト、5ac 中心軸、5b 曲げ冶具、10 ガイド機構、11 ガイド部材、121 第1ガイドプレート、122 第2ガイドプレート、121i,122i 内面、12a 第1受け面、12b 第2受け面、12c 第1逃げ面、12d 第2逃げ面、12e 誘導面、12f 第3逃げ面、13 連結部材、14 回転駆動装置、14a 連結シャフト、15 押さえプレート、15a 連結リング、151 第1側縁部、152 第2側縁部、16 昇降駆動装置、16b 移動体、100 制御装置、P1,P1′,P2,P2′,P3a,P3a′,P3b,P3b′,P4,P4′,P5a,P5a′,P5b,P5b′,P6,P6,P7,P7 平面。

Claims (1)

  1. 平角線の曲げ加工動作と前記平角線の送り動作とを繰り返してコイルを形成するコイル巻線装置において、
    前記平角線が前記曲げ加工動作により曲げられる際に加工中のコイルの側面を受ける受け面および前記平角線が前記送り動作により送られる際に前記加工中のコイルを誘導する誘導面を含む内面をそれぞれ有すると共に、前記内面同士が間隔をおいて対向するように連結される第1および第2ガイド壁を含み、前記平角線の曲げ中心と平行に延在する回転中心の周りに回転自在に配置されるガイド部材と、
    前記ガイド部材を回転駆動する回転駆動装置と、
    前記平角線の前記曲げ加工動作と前記送り動作とに同期して前記ガイド部材が回転するように前記回転駆動装置を制御する制御装置と、
    を備えるコイル巻線装置。
JP2017222744A 2017-11-20 2017-11-20 コイル巻線装置 Active JP6819552B2 (ja)

Priority Applications (1)

Application Number Priority Date Filing Date Title
JP2017222744A JP6819552B2 (ja) 2017-11-20 2017-11-20 コイル巻線装置

Applications Claiming Priority (1)

Application Number Priority Date Filing Date Title
JP2017222744A JP6819552B2 (ja) 2017-11-20 2017-11-20 コイル巻線装置

Publications (2)

Publication Number Publication Date
JP2019097256A JP2019097256A (ja) 2019-06-20
JP6819552B2 true JP6819552B2 (ja) 2021-01-27

Family

ID=66973229

Family Applications (1)

Application Number Title Priority Date Filing Date
JP2017222744A Active JP6819552B2 (ja) 2017-11-20 2017-11-20 コイル巻線装置

Country Status (1)

Country Link
JP (1) JP6819552B2 (ja)

Families Citing this family (2)

* Cited by examiner, † Cited by third party
Publication number Priority date Publication date Assignee Title
CN111725957B (zh) * 2020-07-28 2021-03-12 济南鑫箭电机有限公司 一种伺服电机定子冲片自动化叠片机
CN112259370B (zh) * 2020-09-21 2022-08-30 吴伶俐 一种双坐标绕线装置

Family Cites Families (5)

* Cited by examiner, † Cited by third party
Publication number Priority date Publication date Assignee Title
JPS5437292B2 (ja) * 1971-12-29 1979-11-14
JP4760825B2 (ja) * 2007-12-26 2011-08-31 トヨタ自動車株式会社 エッジワイズ巻線方法、及びエッジワイズ巻線装置
JP5293371B2 (ja) * 2009-04-20 2013-09-18 住友電気工業株式会社 コイル部材の組立装置
JP5989401B2 (ja) * 2012-05-23 2016-09-07 トヨタ自動車株式会社 エッジワイズコイル巻線方法及び巻線装置
JP6476465B2 (ja) * 2014-09-29 2019-03-06 株式会社アンド 巻線装置

Also Published As

Publication number Publication date
JP2019097256A (ja) 2019-06-20

Similar Documents

Publication Publication Date Title
CN104285362B (zh) 扁立线圈绕线方法以及绕线装置
JP6112713B2 (ja) パレット搬送装置及びパレット搬送方法
US9712024B2 (en) Coil end shaping apparatus and method
KR101155796B1 (ko) 권선 방법, 권선 장치 및 고정자
JP4760825B2 (ja) エッジワイズ巻線方法、及びエッジワイズ巻線装置
EP3048709B1 (en) Coil-end-molding device and method
US10622872B2 (en) Conductor shaping apparatus and method
US9056349B2 (en) Coil-spring manufacturing apparatus
JP6819552B2 (ja) コイル巻線装置
US20180091029A1 (en) Stator assembly method and stator assembly apparatus
JP5262289B2 (ja) 巻線方法、及び巻線装置
JP2009283592A (ja) 巻線方法、及び巻線装置
US20190312494A1 (en) Method and apparatus for producing rotating electric machine stator
JP5670957B2 (ja) 角線曲げ加工装置
CN109888993B (zh) 导线成型装置以及方法
JP2015179733A (ja) 巻線装置、および巻線方法
US10819199B2 (en) Winding apparatus
JP2008187807A (ja) コイル巻線装置及び方法及びステータ
KR20250033585A (ko) 축방향 자속형 모터의 평각형 코일 권선 장치
JP6911740B2 (ja) コイル搬送装置
CN110022038B (zh) 导线成型装置
JP6946998B2 (ja) コイル搬送装置
JP6958346B2 (ja) コイル装着装置
JP6922732B2 (ja) 導線成形装置
JP2005040829A (ja) 曲げ加工機

Legal Events

Date Code Title Description
A621 Written request for application examination

Free format text: JAPANESE INTERMEDIATE CODE: A621

Effective date: 20200226

A977 Report on retrieval

Free format text: JAPANESE INTERMEDIATE CODE: A971007

Effective date: 20201125

TRDD Decision of grant or rejection written
A01 Written decision to grant a patent or to grant a registration (utility model)

Free format text: JAPANESE INTERMEDIATE CODE: A01

Effective date: 20201201

A61 First payment of annual fees (during grant procedure)

Free format text: JAPANESE INTERMEDIATE CODE: A61

Effective date: 20201214

R151 Written notification of patent or utility model registration

Ref document number: 6819552

Country of ref document: JP

Free format text: JAPANESE INTERMEDIATE CODE: R151