JP6786384B2 - 統合された画像能力を伴うポータブル電子装置 - Google Patents
統合された画像能力を伴うポータブル電子装置 Download PDFInfo
- Publication number
- JP6786384B2 JP6786384B2 JP2016506609A JP2016506609A JP6786384B2 JP 6786384 B2 JP6786384 B2 JP 6786384B2 JP 2016506609 A JP2016506609 A JP 2016506609A JP 2016506609 A JP2016506609 A JP 2016506609A JP 6786384 B2 JP6786384 B2 JP 6786384B2
- Authority
- JP
- Japan
- Prior art keywords
- portable electronic
- electronic device
- image
- real
- processor
- Prior art date
- Legal status (The legal status is an assumption and is not a legal conclusion. Google has not performed a legal analysis and makes no representation as to the accuracy of the status listed.)
- Expired - Fee Related
Links
Images
Classifications
-
- A—HUMAN NECESSITIES
- A61—MEDICAL OR VETERINARY SCIENCE; HYGIENE
- A61B—DIAGNOSIS; SURGERY; IDENTIFICATION
- A61B8/00—Diagnosis using ultrasonic, sonic or infrasonic waves
- A61B8/44—Constructional features of the ultrasonic, sonic or infrasonic diagnostic device
- A61B8/4483—Constructional features of the ultrasonic, sonic or infrasonic diagnostic device characterised by features of the ultrasound transducer
- A61B8/4494—Constructional features of the ultrasonic, sonic or infrasonic diagnostic device characterised by features of the ultrasound transducer characterised by the arrangement of the transducer elements
-
- G—PHYSICS
- G06—COMPUTING OR CALCULATING; COUNTING
- G06T—IMAGE DATA PROCESSING OR GENERATION, IN GENERAL
- G06T7/00—Image analysis
- G06T7/0002—Inspection of images, e.g. flaw detection
- G06T7/0012—Biomedical image inspection
-
- A—HUMAN NECESSITIES
- A61—MEDICAL OR VETERINARY SCIENCE; HYGIENE
- A61B—DIAGNOSIS; SURGERY; IDENTIFICATION
- A61B8/00—Diagnosis using ultrasonic, sonic or infrasonic waves
- A61B8/44—Constructional features of the ultrasonic, sonic or infrasonic diagnostic device
- A61B8/4411—Device being modular
-
- A—HUMAN NECESSITIES
- A61—MEDICAL OR VETERINARY SCIENCE; HYGIENE
- A61B—DIAGNOSIS; SURGERY; IDENTIFICATION
- A61B8/00—Diagnosis using ultrasonic, sonic or infrasonic waves
- A61B8/44—Constructional features of the ultrasonic, sonic or infrasonic diagnostic device
- A61B8/4427—Device being portable or laptop-like
-
- A—HUMAN NECESSITIES
- A61—MEDICAL OR VETERINARY SCIENCE; HYGIENE
- A61B—DIAGNOSIS; SURGERY; IDENTIFICATION
- A61B8/00—Diagnosis using ultrasonic, sonic or infrasonic waves
- A61B8/44—Constructional features of the ultrasonic, sonic or infrasonic diagnostic device
- A61B8/4444—Constructional features of the ultrasonic, sonic or infrasonic diagnostic device related to the probe
- A61B8/4455—Features of the external shape of the probe, e.g. ergonomic aspects
-
- A—HUMAN NECESSITIES
- A61—MEDICAL OR VETERINARY SCIENCE; HYGIENE
- A61B—DIAGNOSIS; SURGERY; IDENTIFICATION
- A61B8/00—Diagnosis using ultrasonic, sonic or infrasonic waves
- A61B8/44—Constructional features of the ultrasonic, sonic or infrasonic diagnostic device
- A61B8/4477—Constructional features of the ultrasonic, sonic or infrasonic diagnostic device using several separate ultrasound transducers or probes
-
- A—HUMAN NECESSITIES
- A61—MEDICAL OR VETERINARY SCIENCE; HYGIENE
- A61B—DIAGNOSIS; SURGERY; IDENTIFICATION
- A61B8/00—Diagnosis using ultrasonic, sonic or infrasonic waves
- A61B8/48—Diagnostic techniques
- A61B8/483—Diagnostic techniques involving the acquisition of a 3D volume of data
-
- G—PHYSICS
- G01—MEASURING; TESTING
- G01S—RADIO DIRECTION-FINDING; RADIO NAVIGATION; DETERMINING DISTANCE OR VELOCITY BY USE OF RADIO WAVES; LOCATING OR PRESENCE-DETECTING BY USE OF THE REFLECTION OR RERADIATION OF RADIO WAVES; ANALOGOUS ARRANGEMENTS USING OTHER WAVES
- G01S15/00—Systems using the reflection or reradiation of acoustic waves, e.g. sonar systems
- G01S15/88—Sonar systems specially adapted for specific applications
- G01S15/89—Sonar systems specially adapted for specific applications for mapping or imaging
- G01S15/8906—Short-range imaging systems; Acoustic microscope systems using pulse-echo techniques
- G01S15/899—Combination of imaging systems with ancillary equipment
-
- G—PHYSICS
- G06—COMPUTING OR CALCULATING; COUNTING
- G06T—IMAGE DATA PROCESSING OR GENERATION, IN GENERAL
- G06T19/00—Manipulating 3D models or images for computer graphics
- G06T19/006—Mixed reality
-
- G—PHYSICS
- G06—COMPUTING OR CALCULATING; COUNTING
- G06T—IMAGE DATA PROCESSING OR GENERATION, IN GENERAL
- G06T7/00—Image analysis
- G06T7/40—Analysis of texture
-
- G—PHYSICS
- G06—COMPUTING OR CALCULATING; COUNTING
- G06T—IMAGE DATA PROCESSING OR GENERATION, IN GENERAL
- G06T7/00—Image analysis
- G06T7/60—Analysis of geometric attributes
-
- G—PHYSICS
- G06—COMPUTING OR CALCULATING; COUNTING
- G06T—IMAGE DATA PROCESSING OR GENERATION, IN GENERAL
- G06T7/00—Image analysis
- G06T7/90—Determination of colour characteristics
-
- H—ELECTRICITY
- H04—ELECTRIC COMMUNICATION TECHNIQUE
- H04N—PICTORIAL COMMUNICATION, e.g. TELEVISION
- H04N5/00—Details of television systems
- H04N5/30—Transforming light or analogous information into electric information
-
- G—PHYSICS
- G06—COMPUTING OR CALCULATING; COUNTING
- G06T—IMAGE DATA PROCESSING OR GENERATION, IN GENERAL
- G06T2207/00—Indexing scheme for image analysis or image enhancement
- G06T2207/10—Image acquisition modality
- G06T2207/10132—Ultrasound image
- G06T2207/10136—3D ultrasound image
-
- G—PHYSICS
- G06—COMPUTING OR CALCULATING; COUNTING
- G06T—IMAGE DATA PROCESSING OR GENERATION, IN GENERAL
- G06T2207/00—Indexing scheme for image analysis or image enhancement
- G06T2207/30—Subject of image; Context of image processing
- G06T2207/30004—Biomedical image processing
- G06T2207/30008—Bone
-
- G—PHYSICS
- G06—COMPUTING OR CALCULATING; COUNTING
- G06T—IMAGE DATA PROCESSING OR GENERATION, IN GENERAL
- G06T2207/00—Indexing scheme for image analysis or image enhancement
- G06T2207/30—Subject of image; Context of image processing
- G06T2207/30004—Biomedical image processing
- G06T2207/30101—Blood vessel; Artery; Vein; Vascular
-
- G—PHYSICS
- G06—COMPUTING OR CALCULATING; COUNTING
- G06T—IMAGE DATA PROCESSING OR GENERATION, IN GENERAL
- G06T2219/00—Indexing scheme for manipulating 3D models or images for computer graphics
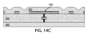
- G06T2219/016—Exploded view
Landscapes
- Health & Medical Sciences (AREA)
- Life Sciences & Earth Sciences (AREA)
- Engineering & Computer Science (AREA)
- Physics & Mathematics (AREA)
- Nuclear Medicine, Radiotherapy & Molecular Imaging (AREA)
- General Health & Medical Sciences (AREA)
- Medical Informatics (AREA)
- Radiology & Medical Imaging (AREA)
- Public Health (AREA)
- Veterinary Medicine (AREA)
- Biophysics (AREA)
- Biomedical Technology (AREA)
- Heart & Thoracic Surgery (AREA)
- Molecular Biology (AREA)
- Surgery (AREA)
- Animal Behavior & Ethology (AREA)
- Pathology (AREA)
- General Physics & Mathematics (AREA)
- Radar, Positioning & Navigation (AREA)
- Remote Sensing (AREA)
- Theoretical Computer Science (AREA)
- Computer Vision & Pattern Recognition (AREA)
- Gynecology & Obstetrics (AREA)
- Acoustics & Sound (AREA)
- Multimedia (AREA)
- Signal Processing (AREA)
- Computer Networks & Wireless Communication (AREA)
- General Engineering & Computer Science (AREA)
- Software Systems (AREA)
- Computer Hardware Design (AREA)
- Computer Graphics (AREA)
- Geometry (AREA)
- Quality & Reliability (AREA)
- Ultra Sonic Daignosis Equipment (AREA)
- Telephone Set Structure (AREA)
- Measurement Of The Respiration, Hearing Ability, Form, And Blood Characteristics Of Living Organisms (AREA)
Applications Claiming Priority (3)
| Application Number | Priority Date | Filing Date | Title |
|---|---|---|---|
| US13/856,252 | 2013-04-03 | ||
| US13/856,252 US9667889B2 (en) | 2013-04-03 | 2013-04-03 | Portable electronic devices with integrated imaging capabilities |
| PCT/US2014/032803 WO2014165662A2 (en) | 2013-04-03 | 2014-04-03 | Portable electronic devices with integrated imaging capabilities |
Related Child Applications (1)
| Application Number | Title | Priority Date | Filing Date |
|---|---|---|---|
| JP2018207508A Division JP2019030736A (ja) | 2013-04-03 | 2018-11-02 | 統合された画像能力を伴うポータブル電子装置 |
Publications (3)
| Publication Number | Publication Date |
|---|---|
| JP2016515903A JP2016515903A (ja) | 2016-06-02 |
| JP2016515903A5 JP2016515903A5 (enExample) | 2017-04-27 |
| JP6786384B2 true JP6786384B2 (ja) | 2020-11-18 |
Family
ID=50736175
Family Applications (2)
| Application Number | Title | Priority Date | Filing Date |
|---|---|---|---|
| JP2016506609A Expired - Fee Related JP6786384B2 (ja) | 2013-04-03 | 2014-04-03 | 統合された画像能力を伴うポータブル電子装置 |
| JP2018207508A Pending JP2019030736A (ja) | 2013-04-03 | 2018-11-02 | 統合された画像能力を伴うポータブル電子装置 |
Family Applications After (1)
| Application Number | Title | Priority Date | Filing Date |
|---|---|---|---|
| JP2018207508A Pending JP2019030736A (ja) | 2013-04-03 | 2018-11-02 | 統合された画像能力を伴うポータブル電子装置 |
Country Status (7)
| Country | Link |
|---|---|
| US (3) | US9667889B2 (enExample) |
| EP (1) | EP2981215A2 (enExample) |
| JP (2) | JP6786384B2 (enExample) |
| KR (1) | KR20150145236A (enExample) |
| CN (1) | CN105263419A (enExample) |
| CA (1) | CA2908631C (enExample) |
| WO (1) | WO2014165662A2 (enExample) |
Families Citing this family (24)
| Publication number | Priority date | Publication date | Assignee | Title |
|---|---|---|---|---|
| US8804457B2 (en) * | 2011-03-31 | 2014-08-12 | Maxim Integrated Products, Inc. | Transmit/receive systems for imaging devices |
| US10667790B2 (en) | 2012-03-26 | 2020-06-02 | Teratech Corporation | Tablet ultrasound system |
| US9877699B2 (en) | 2012-03-26 | 2018-01-30 | Teratech Corporation | Tablet ultrasound system |
| CA2903479C (en) | 2013-03-15 | 2023-10-10 | Butterfly Network, Inc. | Monolithic ultrasonic imaging devices, systems and methods |
| EP3024594A2 (en) | 2013-07-23 | 2016-06-01 | Butterfly Network Inc. | Interconnectable ultrasound transducer probes and related methods and apparatus |
| US20150038844A1 (en) * | 2013-08-01 | 2015-02-05 | Travis Blalock | Portable Ultrasound System Comprising Ultrasound Front-End Directly Connected to a Mobile Device |
| US10042078B2 (en) * | 2015-02-27 | 2018-08-07 | The United States of America, as Represented by the Secretary of Homeland Security | System and method for viewing images on a portable image viewing device related to image screening |
| CN104800974A (zh) * | 2015-04-16 | 2015-07-29 | 修清 | 心衰治疗装置 |
| US9933470B2 (en) * | 2015-08-31 | 2018-04-03 | The Boeing Company | Energy spectrum visualization system |
| US20190336101A1 (en) * | 2016-11-16 | 2019-11-07 | Teratech Corporation | Portable ultrasound system |
| US10856843B2 (en) | 2017-03-23 | 2020-12-08 | Vave Health, Inc. | Flag table based beamforming in a handheld ultrasound device |
| US11446003B2 (en) | 2017-03-27 | 2022-09-20 | Vave Health, Inc. | High performance handheld ultrasound |
| US11531096B2 (en) | 2017-03-23 | 2022-12-20 | Vave Health, Inc. | High performance handheld ultrasound |
| US10469846B2 (en) | 2017-03-27 | 2019-11-05 | Vave Health, Inc. | Dynamic range compression of ultrasound images |
| US11793488B2 (en) * | 2018-02-16 | 2023-10-24 | Koninklijke Philips N.V. | Ergonomic display and activation in handheld medical ultrasound imaging device |
| US11250050B2 (en) * | 2018-03-01 | 2022-02-15 | The Software Mackiev Company | System for multi-tagging images |
| CN111970976B (zh) * | 2018-04-13 | 2023-09-29 | 富士胶片株式会社 | 超声波系统及超声波系统的控制方法 |
| EP3801705A1 (en) | 2018-05-31 | 2021-04-14 | Matt McGrath Design & Co, LLC | Biocompatible material with pain management capability and method of use thereof |
| CN115209813A (zh) * | 2020-03-05 | 2022-10-18 | 皇家飞利浦有限公司 | 具有显示器保持部的手持式超声扫描器及相关装置、系统和方法 |
| AU2021315855A1 (en) * | 2020-07-26 | 2023-03-02 | Touchpad Pro Foundation Inc | Tactile drawing and writing apparatus for the visually impaired |
| WO2022147262A1 (en) * | 2021-01-04 | 2022-07-07 | Bfly Operations, Inc. | Methods and apparatuses for displaying ultrasound displays on a foldable processing device |
| US12156762B2 (en) | 2021-04-01 | 2024-12-03 | Bfly Operations, Inc. | Apparatuses and methods for configuring ultrasound devices |
| WO2022229937A1 (en) * | 2021-04-30 | 2022-11-03 | Universidade Do Minho | Method and device for registration and tracking during a percutaneous procedure |
| US12369886B2 (en) | 2023-02-16 | 2025-07-29 | Bfly Operations, Inc. | Ultrasound probe having three configurable buttons |
Family Cites Families (443)
| Publication number | Priority date | Publication date | Assignee | Title |
|---|---|---|---|---|
| CA1050654A (en) | 1974-04-25 | 1979-03-13 | Varian Associates | Reconstruction system and method for ultrasonic imaging |
| US4149247A (en) | 1975-12-23 | 1979-04-10 | Varian Associates, Inc. | Tomographic apparatus and method for reconstructing planar slices from non-absorbed and non-scattered radiation |
| US4100916A (en) | 1976-04-27 | 1978-07-18 | King Donald L | Three-dimensional ultrasonic imaging of animal soft tissue |
| US4075883A (en) | 1976-08-20 | 1978-02-28 | General Electric Company | Ultrasonic fan beam scanner for computerized time-of-flight tomography |
| US4317369A (en) | 1978-09-15 | 1982-03-02 | University Of Utah | Ultrasound imaging apparatus and method |
| US4281550A (en) | 1979-12-17 | 1981-08-04 | North American Philips Corporation | Curved array of sequenced ultrasound transducers |
| DE3069525D1 (en) | 1979-12-17 | 1984-11-29 | Philips Corp | Curved array of sequenced ultrasound transducers |
| US5488952A (en) | 1982-02-24 | 1996-02-06 | Schoolman Scientific Corp. | Stereoscopically display three dimensional ultrasound imaging |
| JPS595947A (ja) | 1982-07-02 | 1984-01-12 | Toshiba Corp | 超音波走査装置 |
| US4594662A (en) | 1982-11-12 | 1986-06-10 | Schlumberger Technology Corporation | Diffraction tomography systems and methods with fixed detector arrays |
| US4662222A (en) | 1984-12-21 | 1987-05-05 | Johnson Steven A | Apparatus and method for acoustic imaging using inverse scattering techniques |
| DE3601983A1 (de) | 1986-01-23 | 1987-07-30 | Siemens Ag | Verfahren und vorrichtung zur beruehrungslosen bestimmung der temperaturverteilung in einem untersuchungsobjekt |
| US5065761A (en) | 1989-07-12 | 1991-11-19 | Diasonics, Inc. | Lithotripsy system |
| US5206637A (en) | 1991-01-31 | 1993-04-27 | Meridian Incorporated | Removable file programming unit |
| GB9109881D0 (en) | 1991-05-08 | 1991-07-03 | Advanced Tech Lab | Transesophageal echocardiography scanner with rotating image plane |
| US5206165A (en) | 1991-07-09 | 1993-04-27 | Michigan Cancer Foundation | Immortal human mammary epithelial cell sublines |
| US5269307A (en) | 1992-01-31 | 1993-12-14 | Tetrad Corporation | Medical ultrasonic imaging system with dynamic focusing |
| US5409010A (en) | 1992-05-19 | 1995-04-25 | Board Of Regents Of The University Of Washington | Vector doppler medical devices for blood velocity studies |
| US5382521A (en) | 1992-07-14 | 1995-01-17 | Michigan Cancer Foundation | Method of determining metastatic potential of bladder tumor cells |
| DE4229817C2 (de) | 1992-09-07 | 1996-09-12 | Siemens Ag | Verfahren zur zerstörungsfreien und/oder nichtinvasiven Messung einer Temperaturänderung im Inneren eines insbesondere lebenden Objektes |
| US5291893A (en) | 1992-10-09 | 1994-03-08 | Acoustic Imaging Technologies Corporation | Endo-luminal ultrasonic instrument and method for its use |
| US6587540B1 (en) | 1992-10-14 | 2003-07-01 | Techniscan, Inc. | Apparatus and method for imaging objects with wavefields |
| US6005916A (en) | 1992-10-14 | 1999-12-21 | Techniscan, Inc. | Apparatus and method for imaging with wavefields using inverse scattering techniques |
| US5335663A (en) | 1992-12-11 | 1994-08-09 | Tetrad Corporation | Laparoscopic probes and probe sheaths useful in ultrasonic imaging applications |
| CN2170735Y (zh) * | 1993-05-29 | 1994-07-06 | 清华大学 | 高分辨率、低剂量、便携式b超显象仪 |
| US5471988A (en) | 1993-12-24 | 1995-12-05 | Olympus Optical Co., Ltd. | Ultrasonic diagnosis and therapy system in which focusing point of therapeutic ultrasonic wave is locked at predetermined position within observation ultrasonic scanning range |
| US6456326B2 (en) | 1994-01-28 | 2002-09-24 | California Institute Of Technology | Single chip camera device having double sampling operation |
| US5471515A (en) | 1994-01-28 | 1995-11-28 | California Institute Of Technology | Active pixel sensor with intra-pixel charge transfer |
| US5834442A (en) | 1994-07-07 | 1998-11-10 | Barbara Ann Karmanos Cancer Institute | Method for inhibiting cancer metastasis by oral administration of soluble modified citrus pectin |
| US5677491A (en) | 1994-08-08 | 1997-10-14 | Diasonics Ultrasound, Inc. | Sparse two-dimensional transducer array |
| US5894452A (en) | 1994-10-21 | 1999-04-13 | The Board Of Trustees Of The Leland Stanford Junior University | Microfabricated ultrasonic immersion transducer |
| US5619476A (en) | 1994-10-21 | 1997-04-08 | The Board Of Trustees Of The Leland Stanford Jr. Univ. | Electrostatic ultrasonic transducer |
| US5520188A (en) | 1994-11-02 | 1996-05-28 | Focus Surgery Inc. | Annular array transducer |
| US5611025A (en) | 1994-11-23 | 1997-03-11 | General Electric Company | Virtual internal cavity inspection system |
| US6517487B1 (en) | 1995-03-01 | 2003-02-11 | Lunar Corporation | Ultrasonic densitometer with opposed single transducer and transducer array |
| US5873902A (en) | 1995-03-31 | 1999-02-23 | Focus Surgery, Inc. | Ultrasound intensity determining method and apparatus |
| US7841982B2 (en) | 1995-06-22 | 2010-11-30 | Techniscan, Inc. | Apparatus and method for imaging objects with wavefields |
| US5990506A (en) | 1996-03-20 | 1999-11-23 | California Institute Of Technology | Active pixel sensors with substantially planarized color filtering elements |
| US7819807B2 (en) | 1996-06-28 | 2010-10-26 | Sonosite, Inc. | Balance body ultrasound system |
| US6962566B2 (en) | 2001-04-19 | 2005-11-08 | Sonosite, Inc. | Medical diagnostic ultrasound instrument with ECG module, authorization mechanism and methods of use |
| US6416475B1 (en) | 1996-06-28 | 2002-07-09 | Sonosite, Inc. | Ultrasonic signal processor for a hand held ultrasonic diagnostic instrument |
| US6383139B1 (en) | 1996-06-28 | 2002-05-07 | Sonosite, Inc. | Ultrasonic signal processor for power doppler imaging in a hand held ultrasonic diagnostic instrument |
| US6135961A (en) | 1996-06-28 | 2000-10-24 | Sonosite, Inc. | Ultrasonic signal processor for a hand held ultrasonic diagnostic instrument |
| US5722412A (en) * | 1996-06-28 | 1998-03-03 | Advanced Technology Laboratories, Inc. | Hand held ultrasonic diagnostic instrument |
| US6569101B2 (en) | 2001-04-19 | 2003-05-27 | Sonosite, Inc. | Medical diagnostic ultrasound instrument with ECG module, authorization mechanism and methods of use |
| US6203498B1 (en) | 1996-06-28 | 2001-03-20 | Sonosite, Inc. | Ultrasonic imaging device with integral display |
| US5893363A (en) | 1996-06-28 | 1999-04-13 | Sonosight, Inc. | Ultrasonic array transducer transceiver for a hand held ultrasonic diagnostic instrument |
| US6575908B2 (en) | 1996-06-28 | 2003-06-10 | Sonosite, Inc. | Balance body ultrasound system |
| US5817024A (en) | 1996-06-28 | 1998-10-06 | Sonosight, Inc. | Hand held ultrasonic diagnostic instrument with digital beamformer |
| US5782769A (en) | 1996-06-28 | 1998-07-21 | Advanced Technology Laboratories, Inc. | Ultrasonic diagnostic image flash suppression technique |
| WO1998012667A2 (en) | 1996-08-29 | 1998-03-26 | Johnson Steven A | Wavefield imaging using inverse scattering techniques |
| DE19635593C1 (de) | 1996-09-02 | 1998-04-23 | Siemens Ag | Ultraschallwandler für den diagnostischen und therapeutischen Einsatz |
| US5769790A (en) | 1996-10-25 | 1998-06-23 | General Electric Company | Focused ultrasound surgery system guided by ultrasound imaging |
| US5740805A (en) | 1996-11-19 | 1998-04-21 | Analogic Corporation | Ultrasound beam softening compensation system |
| US5820564A (en) | 1996-12-16 | 1998-10-13 | Albatross Technologies, Inc. | Method and apparatus for surface ultrasound imaging |
| US6197218B1 (en) | 1997-02-24 | 2001-03-06 | Superior Micropowders Llc | Photoluminescent phosphor powders, methods for making phosphor powders and devices incorporating same |
| JP2001513828A (ja) | 1997-02-24 | 2001-09-04 | スーペリア マイクロパウダーズ リミテッド ライアビリティ カンパニー | 酸素含有蛍光粉体、該蛍光粉体の製造方法、該蛍光粉体を利用してなる装置 |
| US6193908B1 (en) | 1997-02-24 | 2001-02-27 | Superior Micropowders Llc | Electroluminescent phosphor powders, methods for making phosphor powders and devices incorporating same |
| US7476411B1 (en) | 1997-02-24 | 2009-01-13 | Cabot Corporation | Direct-write deposition of phosphor powders |
| CA2287386A1 (en) * | 1997-04-24 | 1998-10-29 | Wilk Patent Development Corporation | Medical imaging device and associated method |
| US6093883A (en) | 1997-07-15 | 2000-07-25 | Focus Surgery, Inc. | Ultrasound intensity determining method and apparatus |
| US6049159A (en) | 1997-10-06 | 2000-04-11 | Albatros Technologies, Inc. | Wideband acoustic transducer |
| DE19745400C1 (de) | 1997-10-14 | 1999-04-15 | Siemens Ag | Vorrichtung zur Ultraschalltherapie einer weiblichen Brust |
| DE19840405B4 (de) | 1997-10-14 | 2005-06-02 | Siemens Ag | Vorrichtung zur Fixierung der weiblichen Brust bei medizintechnischen Anwendungen |
| US6050943A (en) | 1997-10-14 | 2000-04-18 | Guided Therapy Systems, Inc. | Imaging, therapy, and temperature monitoring ultrasonic system |
| WO1999023586A2 (de) | 1997-10-30 | 1999-05-14 | Dr. Baldeweg Gmbh | Verfahren und vorrichtung zur bearbeitung von bildobjekten |
| US6007499A (en) | 1997-10-31 | 1999-12-28 | University Of Washington | Method and apparatus for medical procedures using high-intensity focused ultrasound |
| US9198635B2 (en) | 1997-10-31 | 2015-12-01 | University Of Washington | Method and apparatus for preparing organs and tissues for laparoscopic surgery |
| EP2138191A1 (en) | 1998-01-05 | 2009-12-30 | University Of Washington | Enhanced transport using membrane disruptive agents |
| CN1058905C (zh) | 1998-01-25 | 2000-11-29 | 重庆海扶(Hifu)技术有限公司 | 高强度聚焦超声肿瘤扫描治疗系统 |
| DE19807242C2 (de) | 1998-02-20 | 2002-07-11 | Siemens Ag | Medizinisch-technischer Systemarbeitsplatz |
| US6385474B1 (en) | 1999-03-19 | 2002-05-07 | Barbara Ann Karmanos Cancer Institute | Method and apparatus for high-resolution detection and characterization of medical pathologies |
| JP4435416B2 (ja) | 1998-03-20 | 2010-03-17 | バーバラ・アン・カーマノス・キャンサー・インスティテュート | 病理組織の多次元検出および特徴付け |
| US6685640B1 (en) | 1998-03-30 | 2004-02-03 | Focus Surgery, Inc. | Ablation system |
| US5982709A (en) | 1998-03-31 | 1999-11-09 | The Board Of Trustees Of The Leland Stanford Junior University | Acoustic transducers and method of microfabrication |
| US6036646A (en) | 1998-07-10 | 2000-03-14 | Guided Therapy Systems, Inc. | Method and apparatus for three dimensional ultrasound imaging |
| CA2345300C (en) | 1998-08-27 | 2012-01-24 | Superior Micropowders Llc | Phosphor powders, methods for making phosphor powders and devices incorporating same |
| US6014897A (en) | 1998-09-02 | 2000-01-18 | Mo; Larry Y. L. | Method and apparatus for improving sidelobe performance of sparse array using harmonic imaging |
| US6042556A (en) | 1998-09-04 | 2000-03-28 | University Of Washington | Method for determining phase advancement of transducer elements in high intensity focused ultrasound |
| US7686763B2 (en) | 1998-09-18 | 2010-03-30 | University Of Washington | Use of contrast agents to increase the effectiveness of high intensity focused ultrasound therapy |
| US7722539B2 (en) | 1998-09-18 | 2010-05-25 | University Of Washington | Treatment of unwanted tissue by the selective destruction of vasculature providing nutrients to the tissue |
| US6425867B1 (en) | 1998-09-18 | 2002-07-30 | University Of Washington | Noise-free real time ultrasonic imaging of a treatment site undergoing high intensity focused ultrasound therapy |
| US6645145B1 (en) | 1998-11-19 | 2003-11-11 | Siemens Medical Solutions Usa, Inc. | Diagnostic medical ultrasound systems and transducers utilizing micro-mechanical components |
| US6605043B1 (en) | 1998-11-19 | 2003-08-12 | Acuson Corp. | Diagnostic medical ultrasound systems and transducers utilizing micro-mechanical components |
| US6224556B1 (en) | 1998-11-25 | 2001-05-01 | Acuson Corporation | Diagnostic medical ultrasound system and method for using a sparse array |
| US6831294B1 (en) | 1999-01-22 | 2004-12-14 | Renesas Technology Corp. | Semiconductor integrated circuit device having bump electrodes for signal or power only, and testing pads that are not coupled to bump electrodes |
| US6364839B1 (en) | 1999-05-04 | 2002-04-02 | Sonosite, Inc. | Ultrasound diagnostic instrument having software in detachable scanhead |
| US6447451B1 (en) | 1999-05-04 | 2002-09-10 | Sonosite, Inc. | Mobile ultrasound diagnostic instrument and docking stand |
| US6471651B1 (en) | 1999-05-05 | 2002-10-29 | Sonosite, Inc. | Low power portable ultrasonic diagnostic instrument |
| US6371918B1 (en) | 1999-05-05 | 2002-04-16 | Sonosite Inc. | Transducer connector |
| US6666835B2 (en) | 1999-05-14 | 2003-12-23 | University Of Washington | Self-cooled ultrasonic applicator for medical applications |
| US6217530B1 (en) | 1999-05-14 | 2001-04-17 | University Of Washington | Ultrasonic applicator for medical applications |
| US20040015079A1 (en) | 1999-06-22 | 2004-01-22 | Teratech Corporation | Ultrasound probe with integrated electronics |
| US6238346B1 (en) | 1999-06-25 | 2001-05-29 | Agilent Technologies, Inc. | System and method employing two dimensional ultrasound array for wide field of view imaging |
| US7510536B2 (en) | 1999-09-17 | 2009-03-31 | University Of Washington | Ultrasound guided high intensity focused ultrasound treatment of nerves |
| US7520856B2 (en) | 1999-09-17 | 2009-04-21 | University Of Washington | Image guided high intensity focused ultrasound device for therapy in obstetrics and gynecology |
| US6262946B1 (en) | 1999-09-29 | 2001-07-17 | The Board Of Trustees Of The Leland Stanford Junior University | Capacitive micromachined ultrasonic transducer arrays with reduced cross-coupling |
| US6430109B1 (en) | 1999-09-30 | 2002-08-06 | The Board Of Trustees Of The Leland Stanford Junior University | Array of capacitive micromachined ultrasonic transducer elements with through wafer via connections |
| US6440071B1 (en) | 1999-10-18 | 2002-08-27 | Guided Therapy Systems, Inc. | Peripheral ultrasound imaging system |
| US6552841B1 (en) | 2000-01-07 | 2003-04-22 | Imperium Advanced Ultrasonic Imaging | Ultrasonic imager |
| US6432053B1 (en) | 2000-02-18 | 2002-08-13 | Advanced Diagnostics, Inc. | Process for non-invasively determining the dimensions of a lesion |
| US7499745B2 (en) | 2000-02-28 | 2009-03-03 | Barbara Ann Karmanos Cancer Institute | Multidimensional bioelectrical tissue analyzer |
| US6543272B1 (en) | 2000-04-21 | 2003-04-08 | Insightec-Txsonics Ltd. | Systems and methods for testing and calibrating a focused ultrasound transducer array |
| US6419648B1 (en) | 2000-04-21 | 2002-07-16 | Insightec-Txsonics Ltd. | Systems and methods for reducing secondary hot spots in a phased array focused ultrasound system |
| US6613004B1 (en) | 2000-04-21 | 2003-09-02 | Insightec-Txsonics, Ltd. | Systems and methods for creating longer necrosed volumes using a phased array focused ultrasound system |
| US6443901B1 (en) | 2000-06-15 | 2002-09-03 | Koninklijke Philips Electronics N.V. | Capacitive micromachined ultrasonic transducers |
| US6506171B1 (en) | 2000-07-27 | 2003-01-14 | Insightec-Txsonics, Ltd | System and methods for controlling distribution of acoustic energy around a focal point using a focused ultrasound system |
| JP2002052018A (ja) | 2000-08-11 | 2002-02-19 | Canon Inc | 画像表示装置、画像表示方法および記憶媒体 |
| US7037264B2 (en) | 2000-08-17 | 2006-05-02 | Koninklijke Philips Electronics N.V. | Ultrasonic diagnostic imaging with steered image plane |
| US6669641B2 (en) | 2000-08-17 | 2003-12-30 | Koninklijke Philips Electronics N.V. | Method of and system for ultrasound imaging |
| US6709394B2 (en) | 2000-08-17 | 2004-03-23 | Koninklijke Philips Electronics N.V. | Biplane ultrasonic imaging |
| US6443896B1 (en) | 2000-08-17 | 2002-09-03 | Koninklijke Philips Electronics N.V. | Method for creating multiplanar ultrasonic images of a three dimensional object |
| US6755788B2 (en) | 2000-08-17 | 2004-06-29 | Koninklijke Philips Electronics N. V. | Image orientation display for a three dimensional ultrasonic imaging system |
| US6761689B2 (en) | 2000-08-17 | 2004-07-13 | Koninklijke Philips Electronics N.V. | Biplane ultrasonic imaging |
| US6612988B2 (en) | 2000-08-29 | 2003-09-02 | Brigham And Women's Hospital, Inc. | Ultrasound therapy |
| US6450960B1 (en) | 2000-08-29 | 2002-09-17 | Barbara Ann Karmanos Cancer Institute | Real-time three-dimensional acoustoelectronic imaging and characterization of objects |
| US6419633B1 (en) | 2000-09-15 | 2002-07-16 | Koninklijke Philips Electronics N.V. | 2D ultrasonic transducer array for two dimensional and three dimensional imaging |
| US6613005B1 (en) | 2000-11-28 | 2003-09-02 | Insightec-Txsonics, Ltd. | Systems and methods for steering a focused ultrasound array |
| US20100087728A1 (en) | 2000-11-28 | 2010-04-08 | Physiosonics, Inc. | Acoustic palpation using non-invasive ultrasound techniques to identify and localize tissue eliciting biological responses |
| US6875176B2 (en) | 2000-11-28 | 2005-04-05 | Aller Physionix Limited | Systems and methods for making noninvasive physiological assessments |
| US6506154B1 (en) | 2000-11-28 | 2003-01-14 | Insightec-Txsonics, Ltd. | Systems and methods for controlling a phased array focused ultrasound system |
| US6666833B1 (en) | 2000-11-28 | 2003-12-23 | Insightec-Txsonics Ltd | Systems and methods for focussing an acoustic energy beam transmitted through non-uniform tissue medium |
| US7022077B2 (en) | 2000-11-28 | 2006-04-04 | Allez Physionix Ltd. | Systems and methods for making noninvasive assessments of cardiac tissue and parameters |
| US6626854B2 (en) | 2000-12-27 | 2003-09-30 | Insightec - Txsonics Ltd. | Systems and methods for ultrasound assisted lipolysis |
| US6645162B2 (en) | 2000-12-27 | 2003-11-11 | Insightec - Txsonics Ltd. | Systems and methods for ultrasound assisted lipolysis |
| US6540679B2 (en) | 2000-12-28 | 2003-04-01 | Guided Therapy Systems, Inc. | Visual imaging system for ultrasonic probe |
| US6600325B2 (en) | 2001-02-06 | 2003-07-29 | Sun Microsystems, Inc. | Method and apparatus for probing an integrated circuit through capacitive coupling |
| USD456509S1 (en) | 2001-04-19 | 2002-04-30 | Sonosite, Inc. | Combined module and cable for ultrasound system |
| USD461895S1 (en) | 2001-04-19 | 2002-08-20 | Sonosite, Inc. | Handheld medical diagnostic ultrasound instrument |
| US6559644B2 (en) | 2001-05-30 | 2003-05-06 | Insightec - Txsonics Ltd. | MRI-based temperature mapping with error compensation |
| US6735461B2 (en) | 2001-06-19 | 2004-05-11 | Insightec-Txsonics Ltd | Focused ultrasound system with MRI synchronization |
| DE10134014A1 (de) | 2001-07-12 | 2003-01-30 | Driescher Eltech Werk | Stromwandler |
| US6880137B1 (en) | 2001-08-03 | 2005-04-12 | Inovys | Dynamically reconfigurable precision signal delay test system for automatic test equipment |
| US6694817B2 (en) | 2001-08-21 | 2004-02-24 | Georgia Tech Research Corporation | Method and apparatus for the ultrasonic actuation of the cantilever of a probe-based instrument |
| US6795374B2 (en) | 2001-09-07 | 2004-09-21 | Siemens Medical Solutions Usa, Inc. | Bias control of electrostatic transducers |
| CA2406684A1 (en) | 2001-10-05 | 2003-04-05 | Queen's University At Kingston | Ultrasound transducer array |
| US20040238732A1 (en) | 2001-10-19 | 2004-12-02 | Andrei State | Methods and systems for dynamic virtual convergence and head mountable display |
| US7175596B2 (en) | 2001-10-29 | 2007-02-13 | Insightec-Txsonics Ltd | System and method for sensing and locating disturbances in an energy path of a focused ultrasound system |
| US7115093B2 (en) | 2001-11-21 | 2006-10-03 | Ge Medical Systems Global Technology Company, Llc | Method and system for PDA-based ultrasound system |
| US6790180B2 (en) | 2001-12-03 | 2004-09-14 | Insightec-Txsonics Ltd. | Apparatus, systems, and methods for measuring power output of an ultrasound transducer |
| US6522142B1 (en) | 2001-12-14 | 2003-02-18 | Insightec-Txsonics Ltd. | MRI-guided temperature mapping of tissue undergoing thermal treatment |
| US6659954B2 (en) | 2001-12-19 | 2003-12-09 | Koninklijke Philips Electronics Nv | Micromachined ultrasound transducer and method for fabricating same |
| US7371218B2 (en) | 2002-01-17 | 2008-05-13 | Siemens Medical Solutions Usa, Inc. | Immersive portable ultrasound system and method |
| US6604630B1 (en) | 2002-01-30 | 2003-08-12 | Sonosite, Inc. | Carrying case for lightweight ultrasound device |
| US6648826B2 (en) | 2002-02-01 | 2003-11-18 | Sonosite, Inc. | CW beam former in an ASIC |
| US7128711B2 (en) | 2002-03-25 | 2006-10-31 | Insightec, Ltd. | Positioning systems and methods for guided ultrasound therapy systems |
| US20030187371A1 (en) | 2002-03-27 | 2003-10-02 | Insightec-Txsonics Ltd. | Systems and methods for enhanced focused ultrasound ablation using microbubbles |
| US7534211B2 (en) | 2002-03-29 | 2009-05-19 | Sonosite, Inc. | Modular apparatus for diagnostic ultrasound |
| US6716168B2 (en) | 2002-04-30 | 2004-04-06 | Siemens Medical Solutions Usa, Inc. | Ultrasound drug delivery enhancement and imaging systems and methods |
| US8376946B2 (en) | 2002-05-16 | 2013-02-19 | Barbara Ann Karamanos Cancer Institute | Method and apparatus for combined diagnostic and therapeutic ultrasound system incorporating noninvasive thermometry, ablation control and automation |
| US7285092B2 (en) | 2002-12-18 | 2007-10-23 | Barbara Ann Karmanos Cancer Institute | Computerized ultrasound risk evaluation system |
| US6783497B2 (en) | 2002-05-23 | 2004-08-31 | Volumetrics Medical Imaging, Inc. | Two-dimensional ultrasonic array with asymmetric apertures |
| EP1519683A4 (en) | 2002-05-30 | 2008-03-19 | Univ Washington | SOLID HYDROGEL COUPLING FOR IMAGING AND ULTRASONIC THERAPY |
| US20030230488A1 (en) | 2002-06-13 | 2003-12-18 | Lawrence Lee | Microfluidic device preparation system |
| US6705994B2 (en) | 2002-07-08 | 2004-03-16 | Insightec - Image Guided Treatment Ltd | Tissue inhomogeneity correction in ultrasound imaging |
| US6958255B2 (en) | 2002-08-08 | 2005-10-25 | The Board Of Trustees Of The Leland Stanford Junior University | Micromachined ultrasonic transducers and method of fabrication |
| US6835177B2 (en) | 2002-11-06 | 2004-12-28 | Sonosite, Inc. | Ultrasonic blood vessel measurement apparatus and method |
| US6831394B2 (en) | 2002-12-11 | 2004-12-14 | General Electric Company | Backing material for micromachined ultrasonic transducer devices |
| US6837854B2 (en) | 2002-12-18 | 2005-01-04 | Barbara Ann Karmanos Cancer Institute | Methods and systems for using reference images in acoustic image processing |
| US6926672B2 (en) | 2002-12-18 | 2005-08-09 | Barbara Ann Karmanos Cancer Institute | Electret acoustic transducer array for computerized ultrasound risk evaluation system |
| US8088067B2 (en) | 2002-12-23 | 2012-01-03 | Insightec Ltd. | Tissue aberration corrections in ultrasound therapy |
| US6836020B2 (en) | 2003-01-22 | 2004-12-28 | The Board Of Trustees Of The Leland Stanford Junior University | Electrical through wafer interconnects |
| US7257051B2 (en) | 2003-03-06 | 2007-08-14 | General Electric Company | Integrated interface electronics for reconfigurable sensor array |
| US7313053B2 (en) | 2003-03-06 | 2007-12-25 | General Electric Company | Method and apparatus for controlling scanning of mosaic sensor array |
| US7353056B2 (en) | 2003-03-06 | 2008-04-01 | General Electric Company | Optimized switching configurations for reconfigurable arrays of sensor elements |
| US7443765B2 (en) | 2003-03-06 | 2008-10-28 | General Electric Company | Reconfigurable linear sensor arrays for reduced channel count |
| US6865140B2 (en) | 2003-03-06 | 2005-03-08 | General Electric Company | Mosaic arrays using micromachined ultrasound transducers |
| US7280435B2 (en) | 2003-03-06 | 2007-10-09 | General Electric Company | Switching circuitry for reconfigurable arrays of sensor elements |
| US20120035473A1 (en) | 2003-03-10 | 2012-02-09 | Focus Surgery, Inc. | Laparoscopic hifu probe |
| US6980419B2 (en) | 2003-03-12 | 2005-12-27 | Zonare Medical Systems, Inc. | Portable ultrasound unit and docking station |
| US7771360B2 (en) | 2003-04-09 | 2010-08-10 | Techniscan, Inc. | Breast scanning system |
| US7303530B2 (en) | 2003-05-22 | 2007-12-04 | Siemens Medical Solutions Usa, Inc. | Transducer arrays with an integrated sensor and methods of use |
| US7611462B2 (en) | 2003-05-22 | 2009-11-03 | Insightec-Image Guided Treatment Ltd. | Acoustic beam forming in phased arrays including large numbers of transducer elements |
| JP4332372B2 (ja) * | 2003-05-27 | 2009-09-16 | アロカ株式会社 | 超音波診断装置 |
| US7377900B2 (en) | 2003-06-02 | 2008-05-27 | Insightec - Image Guided Treatment Ltd. | Endo-cavity focused ultrasound transducer |
| EP1636609A1 (en) * | 2003-06-10 | 2006-03-22 | Koninklijke Philips Electronics N.V. | User interface for a three-dimensional colour ultrasound imaging system |
| US7549961B1 (en) | 2003-07-31 | 2009-06-23 | Sonosite, Inc. | System and method supporting imaging and monitoring applications |
| US20050049495A1 (en) * | 2003-09-03 | 2005-03-03 | Siemens Medical Solutions Usa, Inc. | Remote assistance for medical diagnostic ultrasound |
| US7803116B2 (en) | 2003-10-03 | 2010-09-28 | University of Washington through its Center for Commericalization | Transcutaneous localization of arterial bleeding by two-dimensional ultrasonic imaging of tissue vibrations |
| US7972271B2 (en) | 2003-10-28 | 2011-07-05 | The Board Of Trustees Of The Leland Stanford Junior University | Apparatus and method for phased subarray imaging |
| WO2005044129A2 (en) | 2003-11-04 | 2005-05-19 | University Of Washington | Toothbrush employing an acoustic waveguide |
| US7741756B2 (en) | 2003-12-04 | 2010-06-22 | Koninklijke Philips Electronics N.V. | Ultrasound transducer and method for implementing flip-chip two dimensional array technology to curved arrays |
| US8206299B2 (en) | 2003-12-16 | 2012-06-26 | University Of Washington | Image guided high intensity focused ultrasound treatment of nerves |
| US7030536B2 (en) | 2003-12-29 | 2006-04-18 | General Electric Company | Micromachined ultrasonic transducer cells having compliant support structure |
| US7125383B2 (en) | 2003-12-30 | 2006-10-24 | General Electric Company | Method and apparatus for ultrasonic continuous, non-invasive blood pressure monitoring |
| US7425199B2 (en) | 2003-12-30 | 2008-09-16 | General Electric Company | Method and apparatus for ultrasonic continuous, non-invasive blood pressure monitoring |
| US7285897B2 (en) | 2003-12-31 | 2007-10-23 | General Electric Company | Curved micromachined ultrasonic transducer arrays and related methods of manufacture |
| US7052464B2 (en) | 2004-01-01 | 2006-05-30 | General Electric Company | Alignment method for fabrication of integrated ultrasonic transducer array |
| US7588539B2 (en) | 2004-01-21 | 2009-09-15 | Siemens Medical Solutions Usa, Inc. | Integrated low-power pw/cw transmitter |
| WO2005077012A2 (en) | 2004-02-06 | 2005-08-25 | Georgia Tech Research Corporation | Cmut devices and fabrication methods |
| US7691063B2 (en) | 2004-02-26 | 2010-04-06 | Siemens Medical Solutions Usa, Inc. | Receive circuit for minimizing channels in ultrasound imaging |
| US8008835B2 (en) | 2004-02-27 | 2011-08-30 | Georgia Tech Research Corporation | Multiple element electrode cMUT devices and fabrication methods |
| US7646133B2 (en) | 2004-02-27 | 2010-01-12 | Georgia Tech Research Corporation | Asymmetric membrane cMUT devices and fabrication methods |
| US7612483B2 (en) | 2004-02-27 | 2009-11-03 | Georgia Tech Research Corporation | Harmonic cMUT devices and fabrication methods |
| US7662114B2 (en) | 2004-03-02 | 2010-02-16 | Focus Surgery, Inc. | Ultrasound phased arrays |
| US7530952B2 (en) | 2004-04-01 | 2009-05-12 | The Board Of Trustees Of The Leland Stanford Junior University | Capacitive ultrasonic transducers with isolation posts |
| KR20070047736A (ko) | 2004-04-05 | 2007-05-07 | 마이클 에이 베슬리 | 수평 원근법 디스플레이 |
| US7274623B2 (en) | 2004-04-06 | 2007-09-25 | Board Of Trustees Of The Deland Stanford Junior University | Method and system for operating capacitive membrane ultrasonic transducers |
| US7321181B2 (en) | 2004-04-07 | 2008-01-22 | The Board Of Trustees Of The Leland Stanford Junior University | Capacitive membrane ultrasonic transducers with reduced bulk wave generation and method |
| US8213467B2 (en) | 2004-04-08 | 2012-07-03 | Sonosite, Inc. | Systems and methods providing ASICs for use in multiple applications |
| US7699783B2 (en) | 2004-04-08 | 2010-04-20 | Techniscan, Inc. | Method for imaging and treating a breast |
| US7470232B2 (en) | 2004-05-04 | 2008-12-30 | General Electric Company | Method and apparatus for non-invasive ultrasonic fetal heart rate monitoring |
| WO2005107601A2 (en) | 2004-05-06 | 2005-11-17 | Focus Surgery, Inc. | Method and apparatus for the selective treatment of tissue |
| US20060058667A1 (en) | 2004-05-06 | 2006-03-16 | Lemmerhirt David F | Integrated circuit for an ultrasound system |
| US8235909B2 (en) | 2004-05-12 | 2012-08-07 | Guided Therapy Systems, L.L.C. | Method and system for controlled scanning, imaging and/or therapy |
| US8199685B2 (en) | 2004-05-17 | 2012-06-12 | Sonosite, Inc. | Processing of medical signals |
| JP2008507006A (ja) | 2004-06-01 | 2008-03-06 | マイケル エー. ベセリー | 水平透視シミュレータ |
| US7545075B2 (en) | 2004-06-04 | 2009-06-09 | The Board Of Trustees Of The Leland Stanford Junior University | Capacitive micromachined ultrasonic transducer array with through-substrate electrical connection and method of fabricating same |
| WO2006003650A2 (en) * | 2004-06-30 | 2006-01-12 | Given Imaging Ltd. | In-vivo sensing system device and method for real time viewing |
| US7955264B2 (en) | 2004-07-07 | 2011-06-07 | General Electric Company | System and method for providing communication between ultrasound scanners |
| JP4746291B2 (ja) | 2004-08-05 | 2011-08-10 | オリンパス株式会社 | 静電容量型超音波振動子、及びその製造方法 |
| US7699780B2 (en) | 2004-08-11 | 2010-04-20 | Insightec—Image-Guided Treatment Ltd. | Focused ultrasound system with adaptive anatomical aperture shaping |
| US7867168B2 (en) | 2004-08-24 | 2011-01-11 | Sonosite, Inc. | Ultrasonic transducer having distributed weight properties |
| US7996688B2 (en) | 2004-08-24 | 2011-08-09 | Sonosite, Inc. | Ultrasound system power management |
| US8409099B2 (en) | 2004-08-26 | 2013-04-02 | Insightec Ltd. | Focused ultrasound system for surrounding a body tissue mass and treatment method |
| US8309428B2 (en) | 2004-09-15 | 2012-11-13 | Sonetics Ultrasound, Inc. | Capacitive micromachined ultrasonic transducer |
| US7888709B2 (en) | 2004-09-15 | 2011-02-15 | Sonetics Ultrasound, Inc. | Capacitive micromachined ultrasonic transducer and manufacturing method |
| US8658453B2 (en) | 2004-09-15 | 2014-02-25 | Sonetics Ultrasound, Inc. | Capacitive micromachined ultrasonic transducer |
| US7824348B2 (en) | 2004-09-16 | 2010-11-02 | Guided Therapy Systems, L.L.C. | System and method for variable depth ultrasound treatment |
| US7393325B2 (en) | 2004-09-16 | 2008-07-01 | Guided Therapy Systems, L.L.C. | Method and system for ultrasound treatment with a multi-directional transducer |
| ATE493103T1 (de) | 2004-09-16 | 2011-01-15 | Univ Washington | Interferenzlose ultraschallbildgebung während einer hifu-therapie unter verwendung von software-tools |
| US7530958B2 (en) | 2004-09-24 | 2009-05-12 | Guided Therapy Systems, Inc. | Method and system for combined ultrasound treatment |
| JP2008514264A (ja) | 2004-09-29 | 2008-05-08 | コーニンクレッカ フィリップス エレクトロニクス エヌ ヴィ | 乳房の超音波画像診断を高精度で行う方法および装置 |
| KR20200021102A (ko) | 2004-10-06 | 2020-02-27 | 가이디드 테라피 시스템스, 엘.엘.씨. | 초음파 치료 시스템 |
| US7758524B2 (en) | 2004-10-06 | 2010-07-20 | Guided Therapy Systems, L.L.C. | Method and system for ultra-high frequency ultrasound treatment |
| US8133180B2 (en) | 2004-10-06 | 2012-03-13 | Guided Therapy Systems, L.L.C. | Method and system for treating cellulite |
| US7530356B2 (en) | 2004-10-06 | 2009-05-12 | Guided Therapy Systems, Inc. | Method and system for noninvasive mastopexy |
| US20060111744A1 (en) | 2004-10-13 | 2006-05-25 | Guided Therapy Systems, L.L.C. | Method and system for treatment of sweat glands |
| US20060079868A1 (en) | 2004-10-07 | 2006-04-13 | Guided Therapy Systems, L.L.C. | Method and system for treatment of blood vessel disorders |
| US7375420B2 (en) | 2004-12-03 | 2008-05-20 | General Electric Company | Large area transducer array |
| US7037746B1 (en) | 2004-12-27 | 2006-05-02 | General Electric Company | Capacitive micromachined ultrasound transducer fabricated with epitaxial silicon membrane |
| US7293462B2 (en) | 2005-01-04 | 2007-11-13 | General Electric Company | Isolation of short-circuited sensor cells for high-reliability operation of sensor array |
| CN100542635C (zh) | 2005-01-10 | 2009-09-23 | 重庆海扶(Hifu)技术有限公司 | 高强度聚焦超声治疗装置和方法 |
| CN100506323C (zh) | 2005-01-10 | 2009-07-01 | 重庆海扶(Hifu)技术有限公司 | 一体化超声治疗换能器装置 |
| CN100574810C (zh) | 2005-01-10 | 2009-12-30 | 重庆海扶(Hifu)技术有限公司 | 一种高强度聚焦超声治疗用质粒类助剂及其应用 |
| CN100574809C (zh) | 2005-01-10 | 2009-12-30 | 重庆海扶(Hifu)技术有限公司 | 一种高强度聚焦超声治疗用氟碳乳剂类助剂及其应用 |
| CN100574811C (zh) | 2005-01-10 | 2009-12-30 | 重庆海扶(Hifu)技术有限公司 | 一种高强度聚焦超声治疗用微粒类助剂及其应用 |
| US7563228B2 (en) * | 2005-01-24 | 2009-07-21 | Siemens Medical Solutions Usa, Inc. | Stereoscopic three or four dimensional ultrasound imaging |
| CN100563752C (zh) | 2005-01-31 | 2009-12-02 | 重庆融海超声医学工程研究中心有限公司 | Mri引导的超声波治疗装置 |
| CN1814323B (zh) | 2005-01-31 | 2010-05-12 | 重庆海扶(Hifu)技术有限公司 | 一种聚焦超声波治疗系统 |
| CN100450563C (zh) | 2005-01-31 | 2009-01-14 | 重庆海扶(Hifu)技术有限公司 | 向体内管腔输入介质、管腔导入以及超声波阻挡装置 |
| US8388544B2 (en) | 2005-03-17 | 2013-03-05 | General Electric Company | System and method for measuring blood viscosity |
| EP2533130A1 (en) | 2005-04-25 | 2012-12-12 | Ardent Sound, Inc. | Method and system for enhancing computer peripheral saftey |
| US8066642B1 (en) | 2005-05-03 | 2011-11-29 | Sonosite, Inc. | Systems and methods for ultrasound beam forming data control |
| WO2006121851A2 (en) | 2005-05-05 | 2006-11-16 | Volcano Corporation | Capacitive microfabricated ultrasound transducer-based intravascular ultrasound probes |
| US7907167B2 (en) | 2005-05-09 | 2011-03-15 | Infinite Z, Inc. | Three dimensional horizontal perspective workstation |
| CA2607918A1 (en) | 2005-05-18 | 2006-11-23 | Kolo Technologies, Inc. | Micro-electro-mechanical transducers |
| EP1883956A4 (en) | 2005-05-18 | 2011-03-23 | Kolo Technologies Inc | BY-THE-WAFER CONNECTION |
| US8038631B1 (en) | 2005-06-01 | 2011-10-18 | Sanghvi Narendra T | Laparoscopic HIFU probe |
| CA2509590A1 (en) * | 2005-06-06 | 2006-12-06 | Solar International Products Inc. | Portable imaging apparatus |
| US7589456B2 (en) | 2005-06-14 | 2009-09-15 | Siemens Medical Solutions Usa, Inc. | Digital capacitive membrane transducer |
| CN101558552B (zh) | 2005-06-17 | 2017-05-31 | 科隆科技公司 | 具有绝缘延伸部的微机电换能器 |
| US20070016039A1 (en) | 2005-06-21 | 2007-01-18 | Insightec-Image Guided Treatment Ltd. | Controlled, non-linear focused ultrasound treatment |
| US7775979B2 (en) | 2005-06-29 | 2010-08-17 | General Electric Company | Transmit and receive interface array for highly integrated ultrasound scanner |
| US20070010805A1 (en) | 2005-07-08 | 2007-01-11 | Fedewa Russell J | Method and apparatus for the treatment of tissue |
| US7612635B2 (en) | 2005-08-03 | 2009-11-03 | Kolo Technologies, Inc. | MEMS acoustic filter and fabrication of the same |
| US7880565B2 (en) | 2005-08-03 | 2011-02-01 | Kolo Technologies, Inc. | Micro-electro-mechanical transducer having a surface plate |
| US7591996B2 (en) | 2005-08-17 | 2009-09-22 | University Of Washington | Ultrasound target vessel occlusion using microbubbles |
| US7621873B2 (en) | 2005-08-17 | 2009-11-24 | University Of Washington | Method and system to synchronize acoustic therapy with ultrasound imaging |
| US8264683B2 (en) | 2005-09-14 | 2012-09-11 | University Of Washington | Dynamic characterization of particles with flow cytometry |
| US7804595B2 (en) | 2005-09-14 | 2010-09-28 | University Of Washington | Using optical scattering to measure properties of ultrasound contrast agent shells |
| US8016757B2 (en) | 2005-09-30 | 2011-09-13 | University Of Washington | Non-invasive temperature estimation technique for HIFU therapy monitoring using backscattered ultrasound |
| US7878977B2 (en) | 2005-09-30 | 2011-02-01 | Siemens Medical Solutions Usa, Inc. | Flexible ultrasound transducer array |
| JP4880275B2 (ja) | 2005-10-03 | 2012-02-22 | オリンパスメディカルシステムズ株式会社 | 静電容量型超音波振動子装置 |
| US7441447B2 (en) | 2005-10-07 | 2008-10-28 | Georgia Tech Research Corporation | Methods of imaging in probe microscopy |
| US7449640B2 (en) | 2005-10-14 | 2008-11-11 | Sonosite, Inc. | Alignment features for dicing multi element acoustic arrays |
| EP1949857B1 (en) * | 2005-11-15 | 2012-06-13 | Hitachi Medical Corporation | Ultrasonographic device |
| WO2007085892A2 (en) | 2005-11-23 | 2007-08-02 | Insightec, Ltd | Hierarchical switching in ultra-high density ultrasound array |
| US7546769B2 (en) | 2005-12-01 | 2009-06-16 | General Electric Compnay | Ultrasonic inspection system and method |
| US8465431B2 (en) | 2005-12-07 | 2013-06-18 | Siemens Medical Solutions Usa, Inc. | Multi-dimensional CMUT array with integrated beamformation |
| US8038620B2 (en) | 2005-12-20 | 2011-10-18 | General Electric Company | Fresnel zone imaging system and method |
| US7622848B2 (en) | 2006-01-06 | 2009-11-24 | General Electric Company | Transducer assembly with z-axis interconnect |
| US20070239011A1 (en) | 2006-01-13 | 2007-10-11 | Mirabilis Medica, Inc. | Apparatus for delivering high intensity focused ultrasound energy to a treatment site internal to a patient's body |
| US20070239020A1 (en) | 2006-01-19 | 2007-10-11 | Kazuhiro Iinuma | Ultrasonography apparatus |
| US20070180916A1 (en) | 2006-02-09 | 2007-08-09 | General Electric Company | Capacitive micromachined ultrasound transducer and methods of making the same |
| US20070239019A1 (en) | 2006-02-13 | 2007-10-11 | Richard William D | Portable ultrasonic imaging probe than connects directly to a host computer |
| GB2443756B (en) | 2006-02-24 | 2010-03-17 | Wolfson Microelectronics Plc | MEMS device |
| US7615834B2 (en) | 2006-02-28 | 2009-11-10 | The Board Of Trustees Of The Leland Stanford Junior University | Capacitive micromachined ultrasonic transducer(CMUT) with varying thickness membrane |
| US7699793B2 (en) | 2006-03-07 | 2010-04-20 | Brainlab Ag | Method and device for detecting and localising an impingement of joint components |
| WO2007115283A2 (en) | 2006-04-04 | 2007-10-11 | Kolo Technologies, Inc. | Modulation in micromachined ultrasonic transducers |
| EP2004062A4 (en) | 2006-04-13 | 2010-03-31 | Mirabilis Medica Inc | METHODS AND APPARATUSES FOR THE TREATMENT OF MENOMETRHORRHAGIA, ENDOMETRIAL PATHOLOGY AND CERVICAL NEOPLASIA WITH HIGH-INTENSITY FOCUSED ULTRASONIC ENERGY |
| US20110263997A1 (en) * | 2006-04-20 | 2011-10-27 | Engineered Vigilance, Llc | System and method for remotely diagnosing and managing treatment of restrictive and obstructive lung disease and cardiopulmonary disorders |
| US7745973B2 (en) | 2006-05-03 | 2010-06-29 | The Board Of Trustees Of The Leland Stanford Junior University | Acoustic crosstalk reduction for capacitive micromachined ultrasonic transducers in immersion |
| US8221324B2 (en) | 2006-05-05 | 2012-07-17 | Worcester Polytechnic Institute | Reconfigurable wireless ultrasound diagnostic system |
| US7767484B2 (en) | 2006-05-31 | 2010-08-03 | Georgia Tech Research Corporation | Method for sealing and backside releasing of microelectromechanical systems |
| EP2034878A2 (en) | 2006-06-23 | 2009-03-18 | Koninklijke Philips Electronics N.V. | Timing controller for combined photoacoustic and ultrasound imager |
| US7874991B2 (en) * | 2006-06-23 | 2011-01-25 | Teratech Corporation | Ultrasound 3D imaging system |
| US8360986B2 (en) * | 2006-06-30 | 2013-01-29 | University Of Louisville Research Foundation, Inc. | Non-contact and passive measurement of arterial pulse through thermal IR imaging, and analysis of thermal IR imagery |
| CN100486521C (zh) | 2006-07-19 | 2009-05-13 | 西门子(中国)有限公司 | 一种在mri引导的医疗设备中传送磁共振信号的装置 |
| US7741686B2 (en) | 2006-07-20 | 2010-06-22 | The Board Of Trustees Of The Leland Stanford Junior University | Trench isolated capacitive micromachined ultrasonic transducer arrays with a supporting frame |
| US20080033278A1 (en) | 2006-08-01 | 2008-02-07 | Insightec Ltd. | System and method for tracking medical device using magnetic resonance detection |
| US7535794B2 (en) | 2006-08-01 | 2009-05-19 | Insightec, Ltd. | Transducer surface mapping |
| CN101511641B (zh) | 2006-08-01 | 2015-09-23 | 3M创新有限公司 | 照明装置 |
| US7652410B2 (en) | 2006-08-01 | 2010-01-26 | Insightec Ltd | Ultrasound transducer with non-uniform elements |
| US20080033292A1 (en) | 2006-08-02 | 2008-02-07 | Insightec Ltd | Ultrasound patient interface device |
| US7903830B2 (en) | 2006-08-10 | 2011-03-08 | Siemens Medical Solutions Usa, Inc. | Push-pull capacitive micro-machined ultrasound transducer array |
| CN101126800B (zh) | 2006-08-16 | 2010-05-12 | 西门子(中国)有限公司 | 与hifu兼容的mri射频信号的接收线圈及其接收方法 |
| CN100574829C (zh) | 2006-08-24 | 2009-12-30 | 重庆融海超声医学工程研究中心有限公司 | 一种影像设备引导的高强度聚焦超声治疗系统 |
| CN100574828C (zh) | 2006-08-24 | 2009-12-30 | 重庆融海超声医学工程研究中心有限公司 | 一种超声治疗装置及含有该超声治疗装置的超声治疗系统 |
| DE102006040420A1 (de) | 2006-08-29 | 2008-03-13 | Siemens Ag | Vorrichtung zur Durchführung und Überwachung von thermischer Ablation und zugehöriges Verfahren |
| CN101140354B (zh) | 2006-09-04 | 2012-01-25 | 重庆融海超声医学工程研究中心有限公司 | 谐振式超声换能器 |
| US20080097207A1 (en) | 2006-09-12 | 2008-04-24 | Siemens Medical Solutions Usa, Inc. | Ultrasound therapy monitoring with diagnostic ultrasound |
| US9566454B2 (en) | 2006-09-18 | 2017-02-14 | Guided Therapy Systems, Llc | Method and sysem for non-ablative acne treatment and prevention |
| ES2579765T3 (es) | 2006-09-19 | 2016-08-16 | Guided Therapy Systems, L.L.C. | Sistema para el tratamiento de tejido muscular, tendinoso, ligamentoso y cartilaginoso |
| US7559905B2 (en) | 2006-09-21 | 2009-07-14 | Focus Surgery, Inc. | HIFU probe for treating tissue with in-line degassing of fluid |
| US7825383B2 (en) | 2006-09-21 | 2010-11-02 | Siemens Medical Solutions Usa, Inc. | Mobile camera for organ targeted imaging |
| DE602007004242D1 (de) | 2006-09-25 | 2010-02-25 | Koninkl Philips Electronics Nv | Flip-chip-verbindung über chip-durchgangswege |
| EP2069068A2 (en) | 2006-09-28 | 2009-06-17 | The University of Washington | 3d micro-scale engineered tissue model systems |
| CN101164637B (zh) | 2006-10-16 | 2011-05-18 | 重庆融海超声医学工程研究中心有限公司 | 一种可减少对成像设备电磁干扰的超声治疗系统 |
| US20080183077A1 (en) | 2006-10-19 | 2008-07-31 | Siemens Corporate Research, Inc. | High intensity focused ultrasound path determination |
| USD558351S1 (en) | 2006-10-31 | 2007-12-25 | Sonosite, Inc. | Ultrasound display apparatus |
| US20100056925A1 (en) | 2006-11-28 | 2010-03-04 | Chongqing Ronghai Medical Ultrasound Industry Ltd. | Ultrasonic Therapeutic Device Capable of Multipoint Transmitting |
| DE102006056885B4 (de) | 2006-12-01 | 2016-06-30 | Siemens Healthcare Gmbh | Verfahren und Vorrichtung zum Positionieren einer Lagervorrichtung einer Magnetresonanzapparatur |
| US7451651B2 (en) | 2006-12-11 | 2008-11-18 | General Electric Company | Modular sensor assembly and methods of fabricating the same |
| CN101204700B (zh) | 2006-12-19 | 2012-08-08 | 重庆融海超声医学工程研究中心有限公司 | 电磁式超声换能器及其阵列 |
| US8672850B1 (en) | 2007-01-11 | 2014-03-18 | General Electric Company | Focusing of a two-dimensional array to perform four-dimensional imaging |
| JP5211487B2 (ja) | 2007-01-25 | 2013-06-12 | 株式会社ニコン | 露光方法及び露光装置並びにマイクロデバイスの製造方法 |
| WO2008115312A2 (en) | 2007-01-29 | 2008-09-25 | Worcester Polytechnic Institute | Wireless ultrasound transducer using ultrawideband |
| CN101234234B (zh) | 2007-01-30 | 2011-11-16 | 西门子公司 | 一种对覆盖加热区域的感兴趣区域的自动选择方法 |
| US7687976B2 (en) | 2007-01-31 | 2010-03-30 | General Electric Company | Ultrasound imaging system |
| US7920731B2 (en) | 2007-03-27 | 2011-04-05 | Siemens Medical Solutions Usa, Inc. | Bleeding detection using a blanket ultrasound device |
| CN101273891B (zh) | 2007-03-29 | 2010-09-29 | 西门子(中国)有限公司 | 加速磁共振温度成像的方法和装置 |
| CN101273890B (zh) | 2007-03-29 | 2010-10-06 | 西门子(中国)有限公司 | Mr监控的hifu治疗成像中减少折叠伪影的方法和装置 |
| JP4885779B2 (ja) | 2007-03-29 | 2012-02-29 | オリンパスメディカルシステムズ株式会社 | 静電容量型トランスデューサ装置及び体腔内超音波診断システム |
| US7824335B2 (en) | 2007-04-26 | 2010-11-02 | General Electric Company | Reconfigurable array with multi-level transmitters |
| US7892176B2 (en) | 2007-05-02 | 2011-02-22 | General Electric Company | Monitoring or imaging system with interconnect structure for large area sensor array |
| US8870771B2 (en) | 2007-05-04 | 2014-10-28 | Barbara Ann Karmanos Cancer Institute | Method and apparatus for categorizing breast density and assessing cancer risk utilizing acoustic parameters |
| WO2008137942A1 (en) | 2007-05-07 | 2008-11-13 | Guided Therapy Systems, Llc. | Methods and systems for modulating medicants using acoustic energy |
| EP2152167B1 (en) | 2007-05-07 | 2018-09-05 | Guided Therapy Systems, L.L.C. | Methods and systems for coupling and focusing acoustic energy using a coupler member |
| US20080296708A1 (en) | 2007-05-31 | 2008-12-04 | General Electric Company | Integrated sensor arrays and method for making and using such arrays |
| WO2008146206A2 (en) | 2007-06-01 | 2008-12-04 | Koninklijke Philips Electronics, N.V. | Wireless ultrasound probe asset tracking |
| US20090018446A1 (en) | 2007-07-10 | 2009-01-15 | Insightec, Ltd. | Transrectal ultrasound ablation probe |
| US8052604B2 (en) | 2007-07-31 | 2011-11-08 | Mirabilis Medica Inc. | Methods and apparatus for engagement and coupling of an intracavitory imaging and high intensity focused ultrasound probe |
| US8203912B2 (en) | 2007-07-31 | 2012-06-19 | Koninklijke Philips Electronics N.V. | CMUTs with a high-k dielectric |
| US7978461B2 (en) | 2007-09-07 | 2011-07-12 | Sonosite, Inc. | Enhanced ultrasound system |
| USD591423S1 (en) | 2007-09-07 | 2009-04-28 | Sonosite, Inc. | Ultrasound platform |
| US8277380B2 (en) | 2007-09-11 | 2012-10-02 | Siemens Medical Solutions Usa, Inc. | Piezoelectric and CMUT layered ultrasound transducer array |
| US8235902B2 (en) | 2007-09-11 | 2012-08-07 | Focus Surgery, Inc. | System and method for tissue change monitoring during HIFU treatment |
| US8137278B2 (en) | 2007-09-12 | 2012-03-20 | Sonosite, Inc. | System and method for spatial compounding using phased arrays |
| WO2009037655A2 (en) | 2007-09-17 | 2009-03-26 | Koninklijke Philips Electronics, N.V. | Production of pre-collapsed capacitive micro-machined ultrasonic transducers and applications thereof |
| WO2010097729A1 (en) | 2009-02-27 | 2010-09-02 | Koninklijke Philips Electronics, N.V. | Pre-collapsed cmut with mechanical collapse retention |
| CN101396280A (zh) | 2007-09-27 | 2009-04-01 | 重庆融海超声医学工程研究中心有限公司 | 一种超声治疗肠道推挤装置 |
| WO2009042867A1 (en) | 2007-09-27 | 2009-04-02 | University Of Southern California | High frequency ultrasonic convex array transducers and tissue imaging |
| US8251908B2 (en) | 2007-10-01 | 2012-08-28 | Insightec Ltd. | Motion compensated image-guided focused ultrasound therapy system |
| US7745248B2 (en) | 2007-10-18 | 2010-06-29 | The Board Of Trustees Of The Leland Stanford Junior University | Fabrication of capacitive micromachined ultrasonic transducers by local oxidation |
| US7843022B2 (en) | 2007-10-18 | 2010-11-30 | The Board Of Trustees Of The Leland Stanford Junior University | High-temperature electrostatic transducers and fabrication method |
| US8187270B2 (en) | 2007-11-07 | 2012-05-29 | Mirabilis Medica Inc. | Hemostatic spark erosion tissue tunnel generator with integral treatment providing variable volumetric necrotization of tissue |
| US8439907B2 (en) | 2007-11-07 | 2013-05-14 | Mirabilis Medica Inc. | Hemostatic tissue tunnel generator for inserting treatment apparatus into tissue of a patient |
| CN100560157C (zh) | 2007-11-13 | 2009-11-18 | 重庆市生力医疗设备有限公司 | 超声波药贴 |
| US7786584B2 (en) | 2007-11-26 | 2010-08-31 | Infineon Technologies Ag | Through substrate via semiconductor components |
| US8815653B2 (en) | 2007-12-03 | 2014-08-26 | Kolo Technologies, Inc. | Packaging and connecting electrostatic transducer arrays |
| CN101874287B (zh) | 2007-12-03 | 2012-08-29 | 科隆科技公司 | 静电换能器及阵列中的贯穿晶片互连 |
| JP5337813B2 (ja) | 2007-12-03 | 2013-11-06 | コロ テクノロジーズ インコーポレイテッド | デュアルモード動作マイクロマシン超音波トランスデューサ |
| CN101868982B (zh) | 2007-12-03 | 2013-10-16 | 科隆科技公司 | 带有电压反馈的电容式微机械超声换能器 |
| EP2215854A1 (en) | 2007-12-03 | 2010-08-11 | Kolo Technologies, Inc. | Stacked transducing devices |
| US8767514B2 (en) | 2007-12-03 | 2014-07-01 | Kolo Technologies, Inc. | Telemetric sensing using micromachined ultrasonic transducer |
| US8483014B2 (en) | 2007-12-03 | 2013-07-09 | Kolo Technologies, Inc. | Micromachined ultrasonic transducers |
| EP2227835A1 (en) | 2007-12-03 | 2010-09-15 | Kolo Technologies, Inc. | Variable operating voltage in micromachined ultrasonic transducer |
| EP2214560A1 (en) | 2007-12-03 | 2010-08-11 | Kolo Technologies, Inc. | Cmut packaging for ultrasound system |
| EP2222417B1 (en) | 2007-12-14 | 2019-10-23 | Koninklijke Philips N.V. | Collapsed mode operable cmut including contoured substrate |
| WO2009083973A1 (en) * | 2007-12-31 | 2009-07-09 | Real Imaging Ltd. | System and method for registration of imaging data |
| CN101513554B (zh) | 2008-02-21 | 2011-09-07 | 重庆海扶(Hifu)技术有限公司 | 一种智能型仿组织超声体模及其制作方法 |
| GB2459862B (en) | 2008-05-07 | 2010-06-30 | Wolfson Microelectronics Plc | Capacitive transducer circuit and method |
| AU2009243918A1 (en) | 2008-05-07 | 2009-11-12 | Signostics Limited | Docking system for medical diagnostic scanning using a handheld device |
| JP2009291514A (ja) | 2008-06-09 | 2009-12-17 | Canon Inc | 静電容量型トランスデューサの製造方法、及び静電容量型トランスデューサ |
| JP5063515B2 (ja) * | 2008-07-25 | 2012-10-31 | 日立アロカメディカル株式会社 | 超音波診断装置 |
| US7898905B2 (en) | 2008-07-28 | 2011-03-01 | General Electric Company | Reconfigurable array with locally determined switch configuration |
| US8216161B2 (en) | 2008-08-06 | 2012-07-10 | Mirabilis Medica Inc. | Optimization and feedback control of HIFU power deposition through the frequency analysis of backscattered HIFU signals |
| US9248318B2 (en) | 2008-08-06 | 2016-02-02 | Mirabilis Medica Inc. | Optimization and feedback control of HIFU power deposition through the analysis of detected signal characteristics |
| US8133182B2 (en) | 2008-09-09 | 2012-03-13 | Siemens Medical Solutions Usa, Inc. | Multi-dimensional transducer array and beamforming for ultrasound imaging |
| WO2010033875A1 (en) | 2008-09-19 | 2010-03-25 | Physiosonics, Inc. | Acoustic palpation using non-invasive ultrasound techniques to identify and localize tissue eliciting biological responses |
| EP2331207B1 (en) | 2008-10-03 | 2013-12-11 | Mirabilis Medica Inc. | Apparatus for treating tissues with hifu |
| US9050449B2 (en) | 2008-10-03 | 2015-06-09 | Mirabilis Medica, Inc. | System for treating a volume of tissue with high intensity focused ultrasound |
| US8237601B2 (en) | 2008-10-14 | 2012-08-07 | Sonosite, Inc. | Remote control device |
| US20100173437A1 (en) | 2008-10-21 | 2010-07-08 | Wygant Ira O | Method of fabricating CMUTs that generate low-frequency and high-intensity ultrasound |
| JP2012506736A (ja) | 2008-10-24 | 2012-03-22 | ミラビリス・メディカ・インコーポレイテッド | Hifu治療のフィードバック制御のための方法および装置 |
| FR2939003B1 (fr) | 2008-11-21 | 2011-02-25 | Commissariat Energie Atomique | Cellule cmut formee d'une membrane de nano-tubes ou de nano-fils ou de nano-poutres et dispositif d'imagerie acoustique ultra haute frequence comprenant une pluralite de telles cellules |
| US20100160781A1 (en) | 2008-12-09 | 2010-06-24 | University Of Washington | Doppler and image guided device for negative feedback phased array hifu treatment of vascularized lesions |
| US8176787B2 (en) | 2008-12-17 | 2012-05-15 | General Electric Company | Systems and methods for operating a two-dimensional transducer array |
| WO2010082519A1 (ja) | 2009-01-16 | 2010-07-22 | 株式会社日立メディコ | 超音波探触子の製造方法および超音波探触子 |
| US8108647B2 (en) | 2009-01-29 | 2012-01-31 | International Business Machines Corporation | Digital data architecture employing redundant links in a daisy chain of component modules |
| US8398408B1 (en) | 2009-02-25 | 2013-03-19 | Sonosite, Inc. | Charging station for cordless ultrasound cart |
| US8402831B2 (en) | 2009-03-05 | 2013-03-26 | The Board Of Trustees Of The Leland Standford Junior University | Monolithic integrated CMUTs fabricated by low-temperature wafer bonding |
| EP2403602A2 (en) | 2009-03-06 | 2012-01-11 | Mirabilis Medica Inc. | Ultrasound treatment and imaging applicator |
| US8315125B2 (en) | 2009-03-18 | 2012-11-20 | Sonetics Ultrasound, Inc. | System and method for biasing CMUT elements |
| US8408065B2 (en) | 2009-03-18 | 2013-04-02 | Bp Corporation North America Inc. | Dry-coupled permanently installed ultrasonic sensor linear array |
| BRPI1006205B8 (pt) | 2009-03-23 | 2021-07-27 | Koninklijke Philips Electronics Nv | câmara de ar de medição com um chip sensor e método para a medição da concentração de pelo menos um componente de um gás |
| WO2010109205A2 (en) | 2009-03-26 | 2010-09-30 | Ntnu Technology Transfer As | Cmut array |
| JP5758375B2 (ja) | 2009-04-01 | 2015-08-05 | アナロジック コーポレイション | 超音波プローブ |
| US8355554B2 (en) | 2009-04-14 | 2013-01-15 | Sonosite, Inc. | Systems and methods for adaptive volume imaging |
| US8992426B2 (en) | 2009-05-04 | 2015-03-31 | Siemens Medical Solutions Usa, Inc. | Feedback in medical ultrasound imaging for high intensity focused ultrasound |
| US8276433B2 (en) | 2009-05-18 | 2012-10-02 | The Board Of Trustees Of The Leland Stanford Junior University | Sensor for measuring properties of liquids and gases |
| US8207652B2 (en) | 2009-06-16 | 2012-06-26 | General Electric Company | Ultrasound transducer with improved acoustic performance |
| US8451693B2 (en) | 2009-08-25 | 2013-05-28 | The Board Of Trustees Of The Leland Stanford Junior University | Micromachined ultrasonic transducer having compliant post structure |
| US8409095B1 (en) | 2009-09-03 | 2013-04-02 | Sonosite, Inc. | Systems and methods for hands free control of medical devices |
| US20110060221A1 (en) | 2009-09-04 | 2011-03-10 | Siemens Medical Solutions Usa, Inc. | Temperature prediction using medical diagnostic ultrasound |
| US8345508B2 (en) | 2009-09-20 | 2013-01-01 | General Electric Company | Large area modular sensor array assembly and method for making the same |
| US8563345B2 (en) | 2009-10-02 | 2013-10-22 | National Semiconductor Corporated | Integration of structurally-stable isolated capacitive micromachined ultrasonic transducer (CMUT) array cells and array elements |
| US8222065B1 (en) | 2009-10-02 | 2012-07-17 | National Semiconductor Corporation | Method and system for forming a capacitive micromachined ultrasonic transducer |
| US8324006B1 (en) | 2009-10-28 | 2012-12-04 | National Semiconductor Corporation | Method of forming a capacitive micromachined ultrasonic transducer (CMUT) |
| US8081301B2 (en) | 2009-10-08 | 2011-12-20 | The United States Of America As Represented By The Secretary Of The Army | LADAR transmitting and receiving system and method |
| US8819591B2 (en) | 2009-10-30 | 2014-08-26 | Accuray Incorporated | Treatment planning in a virtual environment |
| US8368401B2 (en) | 2009-11-10 | 2013-02-05 | Insightec Ltd. | Techniques for correcting measurement artifacts in magnetic resonance thermometry |
| US8715186B2 (en) | 2009-11-24 | 2014-05-06 | Guided Therapy Systems, Llc | Methods and systems for generating thermal bubbles for improved ultrasound imaging and therapy |
| DE102009060317B4 (de) | 2009-12-23 | 2013-04-04 | Siemens Aktiengesellschaft | Kontrastmittel zur Verwendung in einem bildgebenden Verfahren zur Diagnose einer metastasierenden Tumorerkrankung und Verfahren zur Abbildung eines metastasierenden Tumorgewebes |
| US20110178407A1 (en) | 2010-01-20 | 2011-07-21 | Siemens Medical Solutions Usa, Inc. | Hard and Soft Backing for Medical Ultrasound Transducer Array |
| EP2528509B1 (en) | 2010-01-29 | 2021-10-13 | University Of Virginia Patent Foundation | Ultrasound for locating anatomy or probe guidance |
| US8717360B2 (en) | 2010-01-29 | 2014-05-06 | Zspace, Inc. | Presenting a view within a three dimensional scene |
| CN102843959B (zh) | 2010-02-12 | 2014-11-12 | 戴尔菲纳斯医疗科技公司 | 表征组织对治疗方案的病理反应的方法 |
| WO2011100697A1 (en) | 2010-02-12 | 2011-08-18 | Delphinus Medical Technologies, Inc. | Method of characterizing tissue of a patient |
| US20130278631A1 (en) | 2010-02-28 | 2013-10-24 | Osterhout Group, Inc. | 3d positioning of augmented reality information |
| US20110218436A1 (en) | 2010-03-06 | 2011-09-08 | Dewey Russell H | Mobile ultrasound system with computer-aided detection |
| JP5394299B2 (ja) | 2010-03-30 | 2014-01-22 | 富士フイルム株式会社 | 超音波診断装置 |
| US8876740B2 (en) | 2010-04-12 | 2014-11-04 | University Of Washington | Methods and systems for non-invasive treatment of tissue using high intensity focused ultrasound therapy |
| US8439840B1 (en) | 2010-05-04 | 2013-05-14 | Sonosite, Inc. | Ultrasound imaging system and method with automatic adjustment and/or multiple sample volumes |
| EP3406299B1 (en) | 2010-06-09 | 2021-08-04 | Regents of the University of Minnesota | Dual mode ultrasound transducer (dmut) system for controlling delivery of ultrasound therapy |
| US9465090B2 (en) | 2010-06-09 | 2016-10-11 | Siemens Aktiengesellschaft | Method of magnetic resonance-based temperature mapping |
| US8647279B2 (en) | 2010-06-10 | 2014-02-11 | Siemens Medical Solutions Usa, Inc. | Volume mechanical transducer for medical diagnostic ultrasound |
| US8562529B2 (en) * | 2010-06-25 | 2013-10-22 | John C. Hill | Method and system for non-invasive determination of glycogen stores |
| US8527033B1 (en) | 2010-07-01 | 2013-09-03 | Sonosite, Inc. | Systems and methods for assisting with internal positioning of instruments |
| US20120005624A1 (en) | 2010-07-02 | 2012-01-05 | Vesely Michael A | User Interface Elements for Use within a Three Dimensional Scene |
| JP5702966B2 (ja) | 2010-08-02 | 2015-04-15 | キヤノン株式会社 | 電気機械変換装置及びその作製方法 |
| WO2012018385A2 (en) | 2010-08-02 | 2012-02-09 | Guided Therapy Systems, Llc | System and method for treating cartilage |
| CN103153399B (zh) | 2010-08-18 | 2016-08-10 | 米瑞碧利斯医疗公司 | Hifu涂布器 |
| US7954387B1 (en) | 2010-08-18 | 2011-06-07 | General Electric Company | Ultrasonic transducer device |
| US8425425B2 (en) | 2010-09-20 | 2013-04-23 | M. Dexter Hagy | Virtual image formation method for an ultrasound device |
| CA2814123A1 (en) | 2010-10-12 | 2012-04-19 | Micralyne Inc. | Soi-based cmut device with buried electrodes |
| US9354718B2 (en) | 2010-12-22 | 2016-05-31 | Zspace, Inc. | Tightly coupled interactive stereo display |
| KR20120073887A (ko) * | 2010-12-27 | 2012-07-05 | 삼성전자주식회사 | 이미지 처리 장치 및 그 이미지 처리 방법 |
| US8128050B1 (en) | 2011-02-08 | 2012-03-06 | Sonosite, Inc. | Ultrasound scanner support devices |
| DE102011011530B4 (de) | 2011-02-17 | 2013-05-08 | Karlsruher Institut für Technologie | Verfahren zur Reduktion von Ultraschalldaten |
| US8891334B2 (en) | 2011-03-04 | 2014-11-18 | Georgia Tech Research Corporation | Compact, energy-efficient ultrasound imaging probes using CMUT arrays with integrated electronics |
| USD657361S1 (en) | 2011-03-25 | 2012-04-10 | Sonosite, Inc. | Housing for an electronic device |
| US8804457B2 (en) | 2011-03-31 | 2014-08-12 | Maxim Integrated Products, Inc. | Transmit/receive systems for imaging devices |
| US20120250454A1 (en) | 2011-04-04 | 2012-10-04 | Robert Nicholas Rohling | Method and system for shaping a cmut membrane |
| US9736466B2 (en) | 2011-05-27 | 2017-08-15 | Zspace, Inc. | Optimizing stereo video display |
| US9161025B2 (en) | 2011-08-29 | 2015-10-13 | Zspace, Inc. | Extended overdrive tables and use |
| CN102981156A (zh) | 2011-09-06 | 2013-03-20 | 中国科学院声学研究所 | 一种超声成像后处理方法及装置 |
| US8852103B2 (en) | 2011-10-17 | 2014-10-07 | Butterfly Network, Inc. | Transmissive imaging and related apparatus and methods |
| US9499392B2 (en) | 2013-02-05 | 2016-11-22 | Butterfly Network, Inc. | CMOS ultrasonic transducers and related apparatus and methods |
| CA2903479C (en) | 2013-03-15 | 2023-10-10 | Butterfly Network, Inc. | Monolithic ultrasonic imaging devices, systems and methods |
| TWI623081B (zh) | 2013-03-15 | 2018-05-01 | 蝴蝶網路公司 | 互補式金屬氧化物半導體(cmos)超音波換能器以及用於形成其之方法 |
| EP3024594A2 (en) | 2013-07-23 | 2016-06-01 | Butterfly Network Inc. | Interconnectable ultrasound transducer probes and related methods and apparatus |
-
2013
- 2013-04-03 US US13/856,252 patent/US9667889B2/en active Active
-
2014
- 2014-04-03 JP JP2016506609A patent/JP6786384B2/ja not_active Expired - Fee Related
- 2014-04-03 EP EP14725300.9A patent/EP2981215A2/en not_active Withdrawn
- 2014-04-03 KR KR1020157031515A patent/KR20150145236A/ko not_active Ceased
- 2014-04-03 WO PCT/US2014/032803 patent/WO2014165662A2/en not_active Ceased
- 2014-04-03 CN CN201480031564.XA patent/CN105263419A/zh active Pending
- 2014-04-03 CA CA2908631A patent/CA2908631C/en active Active
-
2017
- 2017-04-28 US US15/581,429 patent/US20170228862A1/en not_active Abandoned
- 2017-07-07 US US15/644,456 patent/US20170309023A1/en not_active Abandoned
-
2018
- 2018-11-02 JP JP2018207508A patent/JP2019030736A/ja active Pending
Also Published As
| Publication number | Publication date |
|---|---|
| US20170228862A1 (en) | 2017-08-10 |
| CN105263419A (zh) | 2016-01-20 |
| US9667889B2 (en) | 2017-05-30 |
| JP2016515903A (ja) | 2016-06-02 |
| CA2908631C (en) | 2021-08-24 |
| US20170309023A1 (en) | 2017-10-26 |
| WO2014165662A3 (en) | 2014-12-31 |
| US20140300720A1 (en) | 2014-10-09 |
| WO2014165662A2 (en) | 2014-10-09 |
| JP2019030736A (ja) | 2019-02-28 |
| CA2908631A1 (en) | 2014-10-09 |
| EP2981215A2 (en) | 2016-02-10 |
| KR20150145236A (ko) | 2015-12-29 |
Similar Documents
| Publication | Publication Date | Title |
|---|---|---|
| JP6786384B2 (ja) | 統合された画像能力を伴うポータブル電子装置 | |
| US11833542B2 (en) | CMOS ultrasonic transducers and related apparatus and methods | |
| EP3471622B1 (en) | Universal ultrasound device | |
| ES2965922T3 (es) | Dispositivo y sistema para el control de los órganos internos de un humano o animal | |
| CN106999149B (zh) | 多传感器超声探头及相关方法 | |
| CN106539596B (zh) | 超声探头、包括该超声探头的超声成像设备及其控制方法 | |
| KR20220143156A (ko) | 프로그래밍 가능한 해부 및 흐름 이미징을 가지는 초음파 이미징 장치 | |
| KR20100105482A (ko) | 초음파 프로브용 음향 적층체 및 초음파 프로브용 음향 적층체의 정합층 구조체 형성 방법 | |
| CN102228383A (zh) | 一种显示型超声探头及其显示方法 | |
| CN108025331B (zh) | 超声系统和超声脉冲发射方法 | |
| US20140221840A1 (en) | Ultrasound transducer, ultrasound probe including the same, and ultrasound diagnostic equipment including the ultrasound probe | |
| EP3050514A1 (en) | Ultrasonic diagnostic apparatus and method for controlling the same | |
| JP2017029209A (ja) | 超音波プローブ、及び超音波装置 | |
| US20240115240A1 (en) | System and method for graphical user interface with filter for ultrasound image presets | |
| KR102803133B1 (ko) | 초음파 프로브 | |
| CN111508386A (zh) | 一种超声显示面板及显示装置 | |
| US20250082306A1 (en) | Apparatus, method and computer readable media to control an ultrasound imaging system based on context parameters of an ultrasound imaging session | |
| US20180055484A1 (en) | Ultrasonic probe and ultrasonic imaging apparatus | |
| US20250114071A1 (en) | ULTRASOUND PROBE, METHOD OF MANUFACTURING the same, AND STRUCTURE COMBINABLE WITH MAIN BACKING LAYER OF THE SAME | |
| US20250073750A1 (en) | Higher bandwidth micromachined transducers mixed with biasing scheme | |
| JP2004008642A (ja) | 波面符号法による3次元表示医療診断装置 | |
| US20220313213A1 (en) | Display device, display method, and ultrasonic diagnostic system | |
| JP2025529019A (ja) | 超音波撮像デバイスにおけるセンサ入力に基づいてディスプレイ上の超音波画像を制御する装置、方法、及び、コンピュータプログラム | |
| CN119702409A (zh) | 用于在电容式显微机械加工超声换能器中提供可靠绝缘叠层的方法和系统 | |
| WO2015070550A1 (zh) | 一种乳腺超声机及超声诊断系统 |
Legal Events
| Date | Code | Title | Description |
|---|---|---|---|
| A521 | Request for written amendment filed |
Free format text: JAPANESE INTERMEDIATE CODE: A523 Effective date: 20170327 |
|
| A621 | Written request for application examination |
Free format text: JAPANESE INTERMEDIATE CODE: A621 Effective date: 20170327 |
|
| A977 | Report on retrieval |
Free format text: JAPANESE INTERMEDIATE CODE: A971007 Effective date: 20180124 |
|
| A131 | Notification of reasons for refusal |
Free format text: JAPANESE INTERMEDIATE CODE: A131 Effective date: 20180206 |
|
| A521 | Request for written amendment filed |
Free format text: JAPANESE INTERMEDIATE CODE: A523 Effective date: 20180507 |
|
| A02 | Decision of refusal |
Free format text: JAPANESE INTERMEDIATE CODE: A02 Effective date: 20180703 |
|
| C60 | Trial request (containing other claim documents, opposition documents) |
Free format text: JAPANESE INTERMEDIATE CODE: C60 Effective date: 20181102 |
|
| A521 | Request for written amendment filed |
Free format text: JAPANESE INTERMEDIATE CODE: A821 Effective date: 20181102 |
|
| C116 | Written invitation by the chief administrative judge to file amendments |
Free format text: JAPANESE INTERMEDIATE CODE: C116 Effective date: 20181127 |
|
| C22 | Notice of designation (change) of administrative judge |
Free format text: JAPANESE INTERMEDIATE CODE: C22 Effective date: 20181127 |
|
| C22 | Notice of designation (change) of administrative judge |
Free format text: JAPANESE INTERMEDIATE CODE: C22 Effective date: 20190416 |
|
| C13 | Notice of reasons for refusal |
Free format text: JAPANESE INTERMEDIATE CODE: C13 Effective date: 20191001 |
|
| A601 | Written request for extension of time |
Free format text: JAPANESE INTERMEDIATE CODE: A601 Effective date: 20191225 |
|
| A521 | Request for written amendment filed |
Free format text: JAPANESE INTERMEDIATE CODE: A523 Effective date: 20200401 |
|
| C22 | Notice of designation (change) of administrative judge |
Free format text: JAPANESE INTERMEDIATE CODE: C22 Effective date: 20200414 |
|
| RD13 | Notification of appointment of power of sub attorney |
Free format text: JAPANESE INTERMEDIATE CODE: A7433 Effective date: 20200617 |
|
| C30 | Protocol of an oral hearing |
Free format text: JAPANESE INTERMEDIATE CODE: C30 Effective date: 20200624 |
|
| A521 | Request for written amendment filed |
Free format text: JAPANESE INTERMEDIATE CODE: A821 Effective date: 20200617 |
|
| C13 | Notice of reasons for refusal |
Free format text: JAPANESE INTERMEDIATE CODE: C13 Effective date: 20200721 |
|
| C302 | Record of communication |
Free format text: JAPANESE INTERMEDIATE CODE: C302 Effective date: 20200722 |
|
| A521 | Request for written amendment filed |
Free format text: JAPANESE INTERMEDIATE CODE: A523 Effective date: 20200727 |
|
| C302 | Record of communication |
Free format text: JAPANESE INTERMEDIATE CODE: C302 Effective date: 20200812 |
|
| C23 | Notice of termination of proceedings |
Free format text: JAPANESE INTERMEDIATE CODE: C23 Effective date: 20200908 |
|
| C03 | Trial/appeal decision taken |
Free format text: JAPANESE INTERMEDIATE CODE: C03 Effective date: 20201013 |
|
| C30A | Notification sent |
Free format text: JAPANESE INTERMEDIATE CODE: C3012 Effective date: 20201013 |
|
| A61 | First payment of annual fees (during grant procedure) |
Free format text: JAPANESE INTERMEDIATE CODE: A61 Effective date: 20201028 |
|
| R150 | Certificate of patent or registration of utility model |
Ref document number: 6786384 Country of ref document: JP Free format text: JAPANESE INTERMEDIATE CODE: R150 |
|
| LAPS | Cancellation because of no payment of annual fees |