JP6759727B2 - 印刷装置、プログラム - Google Patents

印刷装置、プログラム Download PDF

Info

Publication number
JP6759727B2
JP6759727B2 JP2016113330A JP2016113330A JP6759727B2 JP 6759727 B2 JP6759727 B2 JP 6759727B2 JP 2016113330 A JP2016113330 A JP 2016113330A JP 2016113330 A JP2016113330 A JP 2016113330A JP 6759727 B2 JP6759727 B2 JP 6759727B2
Authority
JP
Japan
Prior art keywords
medium
transport
pattern
discharge head
liquid
Prior art date
Legal status (The legal status is an assumption and is not a legal conclusion. Google has not performed a legal analysis and makes no representation as to the accuracy of the status listed.)
Expired - Fee Related
Application number
JP2016113330A
Other languages
English (en)
Other versions
JP2017217808A (ja
Inventor
公人 安部
公人 安部
Current Assignee (The listed assignees may be inaccurate. Google has not performed a legal analysis and makes no representation or warranty as to the accuracy of the list.)
Ricoh Co Ltd
Original Assignee
Ricoh Co Ltd
Priority date (The priority date is an assumption and is not a legal conclusion. Google has not performed a legal analysis and makes no representation as to the accuracy of the date listed.)
Filing date
Publication date
Application filed by Ricoh Co Ltd filed Critical Ricoh Co Ltd
Priority to JP2016113330A priority Critical patent/JP6759727B2/ja
Publication of JP2017217808A publication Critical patent/JP2017217808A/ja
Application granted granted Critical
Publication of JP6759727B2 publication Critical patent/JP6759727B2/ja
Expired - Fee Related legal-status Critical Current
Anticipated expiration legal-status Critical

Links

Images

Landscapes

  • Ink Jet (AREA)
  • Handling Of Sheets (AREA)
  • Controlling Rewinding, Feeding, Winding, Or Abnormalities Of Webs (AREA)

Description

本発明は印刷装置、プログラムに関する。
印刷媒体を間欠的に搬送して印刷を行う印刷装置にあっては、目標搬送量に対して実際の搬送量がずれ、特に連続体を使用する場合には、ずれが累積されて印刷品質が低下することになる。
従来、印刷開始前に、媒体にマークを形成し、キャリッジに搭載された検知手段でマークを検知して、目標搬送量に対する実際の搬送量のずれ量から搬送量の補正量を算出し、算出した補正量で補正した搬送駆動量で搬送手段を駆動することが知られている(特許文献1)。
また、印刷媒体としてロール状に巻き回したロール体を使用する場合に、ロール体の残量によって搬送負荷が変動することなどから、ロール体残量に応じて搬送量を補正するようにしたものが知られている(特許文献2)。
特許第5245943公報 特開2004−74708号公報
しかしながら、印刷開始前に目標搬送量に対する実際の搬送量のずれ量から補正量を算出しても、連続体に印刷する場合には、印刷動作中に、目標搬送量に対する実際の搬送量のずれ量が累積されて印刷品質が低下するという課題がある。
本発明は上記の課題に鑑みてなされたものであり、印刷品質を向上することを防止することを目的とする。
上記の課題を解決するため、本発明に係る印刷装置は、
液体を吐出する複数のノズルを有する液体吐出ヘッドと、
前記液体吐出ヘッドを搭載して往復移動するキャリッジと、
前記液体吐出ヘッドのノズル配列方向に媒体を搬送する搬送手段と、
前記搬送手段による前記媒体の搬送を制御する搬送制御手段と、
前記媒体に形成されるパターンを検知する複数の検知手段と、を備え、
前記複数の検知手段は、前記媒体の搬送方向にずらして配置され、
前記搬送制御手段は、印刷動作中に、
前記液体吐出ヘッドから前記液体を吐出させて前記媒体に前記パターンを複数形成させ、
前記搬送手段で前記媒体を所定量搬送して前記複数の検知手段で前記複数のパターンを一度に検知させ、
前記複数の検知手段の検知結果から前記液体を吐出させたノズルの異常判定及び前記媒体の目標位置に対する実際の位置のずれを検出し、検出したずれに応じて前記搬送手段によって前記媒体の位置を補正する補正搬送を行う制御を行う
構成とした。
本発明によれば、印刷品質を向上することができる。
本発明の第1実施形態に係る印刷装置の側面説明図である。 同装置の要部平面説明図である。 パターン検知ユニットの一例の模式的説明図である。 同装置の制御部の概要の説明に供するブロック説明図である。 印刷媒体の搬送すれ検出動作の一例の説明に供する平面説明図である。 パターンセンサとパターン形成用ノズルとの位置関係の説明に供する平面説明図である。 パターセンサによるパターンの検出の説明に供する説明図である。 パターセンサによるパターンの検出例の説明に供する説明図である。 パターセンサによるパターンの検出例の説明に供する説明図である。 補正搬送制御を含む印刷動作の制御の説明に供するフロー図である。 補正搬送動作の制御の詳細の説明に供するフロー図である。 本発明の第2実施形態の説明に供する平面説明図である。 本発明の第3実施形態の説明に供する平面説明図である。 本発明の第4実施形態の説明に供する平面説明図である。
以下、本発明の実施の形態について添付図面を参照して説明する。まず、本発明の第1実施形態に係る印刷装置について図1及び図2を参照して説明する。図1は同装置の側面説明図、図2は同装置の要部平面説明図である。
この印刷装置は、シリアル型インクジェット記録装置であり、媒体2に印刷する印刷部(画像形成部)101、媒体2を搬送する搬送部102、媒体2を収容するロール収納部103、媒体2を巻き取るロール巻き取り部104などを備えている。
この装置では、メディアとしての媒体2をロール状に巻き回したロール体1を使用する。ロール体1はロール収納部103に収納され、搬送ローラ対31でロール体1から媒体2を引きだして送り出す。
印刷部101は、液体を吐出する複数(ここでは5個)の液体吐出ヘッド(以下、「ヘッド」という。)11a〜11e(区別しないときは「ヘッド11」という。他の部材も同じ。)がキャリッジ12に搭載されている。キャリッジ12は、主走査方向(図1では紙面垂直方向)に往復移動可能にガイド部材13に保持されている。
ここで、図2に示すように、ヘッド11は、液体を吐出する複数のノズルを配列したノズル列111を例えば2列有し、ノズル配列方向を媒体搬送方向にしてキャリッジ12に搭載されている。
また、ヘッド11aとヘッド11b〜11eとは媒体搬送方向の位置をずらして、ヘッド11aを上流側に配置している。そして、ヘッド11aは、例えば、ホワイト(W)などの背景色の液体を吐出する。ヘッド11b〜11eは、例えば、ブラック(K)、イエロー(Y)、マゼンタ(M)、シアン(C)などの各色の液体を吐出する。ヘッド11には液体を供給するサブタンクが一体的に備えられる。
キャリッジ12には、媒体2に形成されるパターンを検知する検知手段であるパターンセンサ151(後述)を含むパターン検知ユニット15が搭載されている。パターン検知ユニット15は、ヘッド11b〜11eのノズル列の媒体搬送方向下流側部分の側方に配置されている。
搬送部102は、印刷部101の媒体搬送方向(矢印A方向:ヘッド11のノズル配列方向)上流側に、搬送手段である搬送ローラ21及び対向ローラ22が配置され、媒体2を挟んで搬送する。また、印刷部101に対向して媒体2を案内するプラテン部材25が配置されている。
ロール巻取り部104は、媒体2を巻き取る巻取りロール41を備えている。
そして、媒体2の搬送方向に沿ってプリヒータ51、プリントヒータ52、ポストヒータ53をそれぞれ配置している。
プリヒータ51は、印刷部101による印刷領域の手前で媒体2を加熱するヒータである。プリントヒータ52は、印刷部101による印刷領域で媒体2を加熱する加熱手段としてのヒータである。ポストヒータ53は、印刷部101による印刷がされた後の媒体2を加熱する加熱手段としてのヒータである。プリヒータ51とプリントヒータ52、ポストヒータ53には、セラミックやニクロム線を用いた電熱ヒータ等を使用できる。
また、ポストヒータ53の下流側に、媒体2に温風を吹き付ける温風ファン54が設けられている。温風ファン54により、印刷面の液体に直接温風を当てることによって雰囲気の湿度を下げて完全に乾燥させる。
これらのヒータ51〜53及び温風ファン54が搭載されていることで、塩化ビニル、PET、アクリルなどの液体がしみ込まない非浸透の媒体にも印刷が可能である。非浸透の媒体に対しては、溶剤系液体、樹脂成分の多い水性レジン液体などを使用することで良好な定着性が得られる。
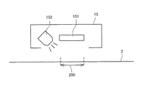
次に、パターン検知ユニットの一例について図3を参照して説明する。図3はパターン検知ユニットの模式的説明図である。
パターン検知ユニット15は、媒体2の表面に形成されるパターン300を検知する2次元センサからなる検知手段であるパターンセンサ151と、媒体2のパターンセンサ151による読み取り領域(検知領域)200を照射する光源152とを備えている。
なお、ここでは、検知手段として2次元センサ(面センサ)を使用しているが、ラインセンサであってもよい。ただし、2次元センサを使用することで、目標位置に対する実際の位置のずれ方向を容易に検出できる。
次に、この装置の制御部の概要について図4のブロック説明図を参照して説明する。
制御部500は、この装置全体の制御を司るCPU501と、CPU501に本発明に係わる制御を含む制御を実行させるための本発明に係るプログラムを含むプログラム、その他の固定データを格納するROM502と、印刷データ等を一時格納するRAM503とを含む主制御部500Aを備えている。
制御部500は、装置の電源が遮断されている間もデータを保持するための不揮発性メモリ(NVRAM)504を備えている。また、制御部500は、画像データに対する各種信号処理等を行う画像処理やその他装置全体を制御するための入出力信号を処理するASIC505を備えている。
制御部500は、外部のホスト装置600から印刷データを受信するときに使用するデータ及び信号の送受を行うためのI/F506を備えている。
制御部500は、パターンセンサ151の検知信号、その他各種センサの検知信号を取り込むためのI/O507を備えている。
制御部500は、ヘッド11を駆動制御するヘッド駆動制御部508を備えている。
制御部500は、キャリッジ12を主走査方向に移動させる主走査モータ550を駆動するモータ駆動部510と、搬送ローラ21を回転駆動する搬送モータ551を駆動するモータ駆動部511を備えている。
制御部500は、温風ファン54を駆動するファン駆動部512と、ヒータ51〜53を駆動するヒータ駆動部513を備えている。
制御部500は、ロール収納部103のロール体1からの媒体2の繰り出しを行う繰り出しモータ552を駆動するモータ駆動部514と、ロール巻き取り部104の巻取りロール41への巻取りを行う巻き取りモータ553を駆動するモータ駆動部515を備えている。
制御部500には、この装置に必要な情報の入力及び表示を行うための操作パネル522が接続されている。
制御部500は、搬送制御手段を兼ねており、搬送部102(搬送ローラ21)による媒体2の間欠搬送を制御し、印刷動作中に、ヘッド11から液体を吐出させて媒体2にパターン300を形成させ、搬送部102で媒体2を搬送させてパターンセンサ151でパターン300を検知させ、検知結果から媒体2の目標位置に対する実際の位置のずれを検出し、検出したずれに応じて媒体3の位置を補正する搬送(補正搬送)を制御する。この制御は、ROM502に格納された本発明に係るプログラムに従ってCPU501が処理を実行することで行われる。
次に、媒体の搬送ずれ検出動作の一例について図5を参照して説明する。図5は同説明に供する平面説明図である。
この装置では、印刷動作中に、媒体2を所定量搬送するときに、媒体2の目標位置に対する実際の位置のずれを検出する搬送ずれ検出動作を行い、検出結果に応じて媒体2の位置を補正する補正搬送制御を行う。
媒体2の搬送ずれ検出動作では、図5(a)に示すように、ヘッド11の所定のノズルを使用して媒体2の主走査方向の端部領域2aに、主走査方向に沿ってライン状のパターン300を印刷(形成)する。
なお、パターン300を形成する領域は、媒体2の端部領域に限定されるものではない。ただし、媒体2の端部や印刷画像領域の端部など、キャリッジ12の走査方向が切り替わる領域にパターンを印刷して検出動作を実施することで、印刷動作に影響を与えることなく、搬送位置を補正することができ、また、印刷物への影響も最小限に抑えられる。
そして、パターンセンサ151がパターン300を検知可能な主走査方向位置にある状態でキャリッジ12を停止する。
その後、図5(b)に示すように、媒体2を所定量搬送する。これにより、パターン300がパターンセンサ151による検知領域200に移動するので、パターンセンサ151でパターン300を検知して、目標位置に対する実際の位置のずれを検出する。
つまり、搬送モータ551に対して媒体2の目標搬送量に相当する搬送ローラ21の回転駆動量だけ搬送ローラ21を回転させる駆動信号を与えても、媒体2の実際の搬送量と目標搬送量との間には駆動伝達系の誤差などでずれが発生する。
そこで、媒体2を所定量搬送するときの目標位置に対する実際の位置のずれを検出する。そして、検出したずれに応じて、実際の位置が目標位置に到達していなければ媒体2を更に送り、実際の位置が目標位置を越えていれば媒体2を戻す搬送制御を行うことで、実際の位置が目標位置(許容範囲を含む。)に収まるようにする。
次に、パターンセンサとパターン形成用ノズルとの位置関係について図6を参照して説明する。図6は同説明に供する平面説明図である。
パターンセンサ151による検知領域200の基準位置P1に対して所定量L1だけ搬送方向上流側に位置するノズルN1を使用してパターン300を形成する。
この場合、所定量L1は、印刷のモードによって予め設定されたものであり、印刷モードによってパターン300を形成するノズルN1は変更される。
これにより、パターン300を形成し、搬送部102で所定量媒体2を搬送することで、パターン300がパターンセンサ151による検知領域200内に到達する。
そこで、パターンセンサ151によってパターン300を検知し、検知したパターン300の位置と基準位置(検出領域中央位置)P1の位置関係により、実際の位置が目標位置に対してどの程度ずれているのかを検出することができる。
次に、パターセンサによるパターンの検知例について図7ないし図9を参照して説明する。図7ないし図9は同説明に供する説明図である。
ここでは、図7に示すように、パターンセンサ151による検知領域200の媒体搬送方向の中央位置を基準位置P1とする。そして、基準位置P1に対して媒体搬送方向上流方向に(−ΔS)のずれた範囲及び媒体搬送方向下流方向に(+ΔS)のずれた範囲内は、搬送ずれ許容範囲(正常範囲)A2として、補正搬送を行わない範囲とする。
この正常範囲A2よりも媒体搬送方向上流側の領域は搬送不足範囲A1となり、正常範囲A2よりも媒体搬送方向下流側の領域は搬送過剰範囲A3となる。
図8(a)は、パターン300が正常範囲A2内で検知されたときの例である。このときには上記のように補正搬送を行わない。
図8(b)は、パターン300の一部が搬送不足範囲A1内で検知されたときの例である。このときには、キャリッジ12の位置を固定したまま、補正搬送を行い、パターン300を再検出する。
図8(c)は、パターン300全体が搬送不足範囲A1内で検知されたときの例である。このときには、キャリッジ12の位置を固定したまま、補正搬送を行い、パターン300を再検出する。ここでの、補正量は、図8(b)の場合の補正量よりも大きくする。
図9(a)は、パターン300の一部が搬送過剰範囲A3内で検知されたときの例である。このときには、キャリッジ12の位置を固定したまま、補正搬送を行い、パターン300を再検出する。
図9(b)は、パターン300全体が搬送過剰範囲A3内で検知されたときの例である。このときには、キャリッジ12の位置を固定したまま、補正搬送を行い、パターン300を再検出する。ここでの、補正量は、図9(a)の場合の補正量よりも大きくする。
図9(c)は、パターン300が検知領域200内で検知されない例である。媒体2の搬送ずれが大きいとき、ジャムの発生、パターン300を形成できないときなど、何らかの異常が起きている可能性がある。このときには、エラーを通知し、印刷を中断する。
次に、補正搬送制御を含む印刷動作の制御について図10のフロー図を参照して説明する。
まず、キャリッジ12の1スキャン分の印刷を行い、キャリッジ12がパターン印字領域に到達したか否かを判別する。
そして、キャリッジ12がパターン印字領域に到達したときには、所定のノズルN1を使用してパターン300を印字し、パターンセンサ151でパターン300を検知する位置(検出ポジション)でキャリッジ12を停止する。
その後、媒体2を所定量搬送し、パターン300をパターンセンサ151で検知する。
そして、パターン300が正常範囲A2内にあるか否かを判別する。
このとき、パターン300が正常範囲A2内にないときには、搬送不足範囲A1、搬送過剰範囲A3のいずれにあるかを判別して、判別結果に応じて、媒体2の補正搬送を行う。つまり、パターン300が搬送不足範囲A1で検知されたときには、媒体2を不足分追加搬送し、パターン300が搬送過剰範囲A3で検知されたときには、媒体2を過剰分戻し搬送する。
そして、再度、パターンセンサ151でパターン300の検知を行って、パターン300が正常範囲A2内になるまで、処理を繰り返す。
パターン300が正常範囲A2内で検知されたときには、印刷終了か否かを判別し、印刷終了でなければ印刷を再開し、次の1スキャン分の印刷を行う処理に戻る。
このように、印刷動作中、1スキャンを印刷する毎に搬送ずれを検出して補正を行うことで、搬送ずれが累積されて印刷品質が低下することを防止できる。
次に、補正搬送動作の制御の詳細について図11のフロー図を参照して説明する。
まず、パターンセンサ151によってパターン300を検知し、パターン300の少なくとも一部が検知領域200内の搬送不足範囲A1又は搬送過剰範囲A3にあるか否かを判別する。
ここで、パターン300の少なくとも一部が検知領域200内の搬送不足範囲A1又は搬送過剰範囲A3になければ、パターン300全体が正常範囲A2内にあるか否かを判別する。
このとき、パターン300全体が正常範囲A2内にあれば、実際の搬送量が正常であるので補正を行わないで処理を終了する。一方、パターン300が正常範囲A2内になければ、検知領域200をはずれているので、異常判定してエラー通知、印刷終了処理を行う。
これに対し、パターン300の少なくとも一部が検知領域200内の搬送不足範囲A1又は搬送過剰範囲A3にあれば、まず、パターン300の少なくとも一部が搬送不足範囲A1にあるか否かを判別する。
そして、パターン300の少なくとも一部が搬送不足範囲A1にあるときには、パターン300の少なくとも一部が搬送過剰範囲A3にあるか否かを判別する。
このとき、パターン300の少なくとも一部が搬送過剰範囲A3にあれば、パターン300が搬送不足範囲A1と搬送過剰範囲A3にまたがっていることになるので、異常判定を行う。
一方、パターン300が搬送過剰範囲A3になければ、実際の位置が目標位置に到達していないので、媒体2の補正搬送方向を送り方向に設定する。
そして、補正量決定処理を行う。この補正量決定処理では、パターン300の一部が正常範囲A2にあるか否かを判別する。このとき、パターン300の一部が正常範囲A2にあれば、搬送補正量を補正量aと決定する。これに対し、パターン300の一部が正常範囲A2になければ、つまり、パターン300全体が搬送不足範囲A1あれば、搬送補正量を補正量b(b>a)と決定する。その後、決定した補正量分だけ送り方向に媒体2を送る補正搬送を行う。
これに対し、パターン300の少なくとも一部が搬送不足範囲A1になければ、実際の位置が目標位置を越えているので、媒体2の補正搬送方向を戻し方向に設定する。
そして、上記の補正量決定処理を行い、決定した補正量分だけ戻し方向に媒体2を戻す補正搬送を行う。
次に、本発明の第2実施形態について図12を参照して説明する。図12は同実施形態の説明に供する平面説明図である。
ここでは、キャリッジ12の主走査方向の両側面にパターンセンサ151A、151Bを備えている。
これにより、媒体2の主走査方向の両端部で、印刷動作中に、それぞれパターン300A、300Bを形成し、パターンセンサ151A、151Bで検知することができる。したがって、双方向印刷を行う場合でも、キャリッジ12の1スキャン毎に補正搬送を行うことができ、搬送精度がより向上し、印刷品質に向上を図れる。
次に、本発明の第3実施形態について図13を参照して説明する。図13は同実施形態の説明に供する平面説明図である。
ここでは、キャリッジ12の主走査方向の一側面に、媒体搬送方向に、パターンセンサ151A、151Bを所要の間隔で備えている。
これにより、一度に複数のパターン300A、300Bの検知を行うことができ、パターン300を形成するノズルN1、N2のいずれかの吐出不良による異常判定を回避することができる。
例えば、媒体2の搬送は正常で、パターン300Bを形成するノズルN2に吐出不能が発生した場合、パターンセンサ151Aの検知結果は正常範囲、パターンセンサ151Bの検知結果は検知不可となる。
これらのパターンセンサ151A、151Bの検知結果の組み合わせからノズルN2の吐出不能が生じていると判定することができ、メンテナンス動作を行って印刷を継続することができる。
次に、本発明の第4実施形態について図14を参照して説明する。図14は同実施形態の説明に供する平面説明図である。
ここでは、検知手段であるパターンセンサ151は、キャリッジ12ではなく、装置本体側の固定位置に配置している。パターン300の主走査方向における形成位置が定まっていれば、パターンセンサ151が移動する必要はない。これにより、キャリッジ12の小型化を図れる。
この場合、パターンセンサ151の基準位置P1とパターン300を形成するノズルN1との距離Lnは所定量L1のn倍(n=整数)とする。これにより、nスキャン毎にパターンの検知を行うことができる。
1 ロール体
2 印刷媒体
11 ヘッド
12 キャリッジ
15 パターン検知ユニット
21 搬送ローラ
25 プラテン部材
41 巻取りロール
101 印刷部
102 搬送部
103 ロール収納部
104 ロール巻取り部
151、151A、151B パターンセンサ(検知手段)
200 検知領域
300 パターン
500 制御部

Claims (6)

  1. 液体を吐出する複数のノズルを有する液体吐出ヘッドと、
    前記液体吐出ヘッドを搭載して往復移動するキャリッジと、
    前記液体吐出ヘッドのノズル配列方向に媒体を搬送する搬送手段と、
    前記搬送手段による前記媒体の搬送を制御する搬送制御手段と、
    前記媒体に形成されるパターンを検知する複数の検知手段と、を備え、
    前記複数の検知手段は、前記媒体の搬送方向にずらして配置され、
    前記搬送制御手段は、印刷動作中に、
    前記液体吐出ヘッドから前記液体を吐出させて前記媒体に前記パターンを複数形成させ、
    前記搬送手段で前記媒体を所定量搬送して前記複数の検知手段で前記複数のパターンを一度に検知させ、
    前記複数の検知手段の検知結果から前記液体を吐出させたノズルの異常判定及び前記媒体の目標位置に対する実際の位置のずれを検出し、検出したずれに応じて前記搬送手段によって前記媒体の位置を補正する補正搬送を行う制御を行う
    ことを特徴とする印刷装置。
  2. 前記パターンの形成に使用する前記液体吐出ヘッドのノズルは、前記検知手段の基準位置から前記所定量分又は前記所定量の整数倍の距離分離れた位置のノズルである
    ことを特徴とする請求項1に記載の印刷装置。
  3. 前記検知手段は、前記キャリッジに搭載されている
    ことを特徴とする請求項1又は2に記載の印刷装置。
  4. 前記検知手段は、固定位置に配置されている
    ことを特徴とする請求項1又は2に記載の印刷装置。
  5. 前記検知手段は2次元センサである
    ことを特徴とする請求項1ないし4のいずれかに記載の印刷装置。
  6. 液体を吐出する複数のノズルを有する液体吐出ヘッドと、
    前記液体吐出ヘッドを搭載して往復移動するキャリッジと、
    前記液体吐出ヘッドのノズル配列方向に媒体を搬送する搬送手段と、
    前記媒体に形成されるパターンを検知する複数の検知手段とを備え、前記複数の検知手段は前記媒体の搬送方向にずらして配置された印刷装置の前記搬送手段による前記媒体の搬送を制御する搬送制御をコンピュータに行わせるためのプログラムであって、
    印刷動作中に、
    前記液体吐出ヘッドから前記液体を吐出させて前記媒体に前記パターンを複数形成させ、
    前記搬送手段で前記媒体を所定量搬送して前記複数の検知手段で前記複数のパターンを一度に検知させ、
    前記複数の検知手段の検知結果から前記液体を吐出させたノズルの異常判定及び前記媒体の目標位置に対する実際の位置のずれを検出し、検出したずれに応じて前記搬送手段によって前記媒体の位置を補正する補正搬送を行う制御を前記コンピュータに行わせることを特徴とするプログラム。
JP2016113330A 2016-06-07 2016-06-07 印刷装置、プログラム Expired - Fee Related JP6759727B2 (ja)

Priority Applications (1)

Application Number Priority Date Filing Date Title
JP2016113330A JP6759727B2 (ja) 2016-06-07 2016-06-07 印刷装置、プログラム

Applications Claiming Priority (1)

Application Number Priority Date Filing Date Title
JP2016113330A JP6759727B2 (ja) 2016-06-07 2016-06-07 印刷装置、プログラム

Publications (2)

Publication Number Publication Date
JP2017217808A JP2017217808A (ja) 2017-12-14
JP6759727B2 true JP6759727B2 (ja) 2020-09-23

Family

ID=60657180

Family Applications (1)

Application Number Title Priority Date Filing Date
JP2016113330A Expired - Fee Related JP6759727B2 (ja) 2016-06-07 2016-06-07 印刷装置、プログラム

Country Status (1)

Country Link
JP (1) JP6759727B2 (ja)

Families Citing this family (1)

* Cited by examiner, † Cited by third party
Publication number Priority date Publication date Assignee Title
JP7559348B2 (ja) * 2020-04-30 2024-10-02 株式会社リコー 画像形成装置および搬送装置

Family Cites Families (7)

* Cited by examiner, † Cited by third party
Publication number Priority date Publication date Assignee Title
JPH0558012A (ja) * 1991-07-04 1993-03-09 Canon Inc 画像記録装置
JPH10100489A (ja) * 1996-09-26 1998-04-21 Canon Inc 印刷装置および印刷位置制御方法
JP3512054B2 (ja) * 1996-11-15 2004-03-29 日立プリンティングソリューションズ株式会社 印刷装置
JP4507509B2 (ja) * 2002-10-18 2010-07-21 コニカミノルタホールディングス株式会社 インクジェット記録装置
US7621614B2 (en) * 2003-08-15 2009-11-24 Seiko Epson Corporation Printing apparatus and printing system with a plurality of movable sensors for a plurality of features detection
JP5392055B2 (ja) * 2009-12-22 2014-01-22 株式会社リコー 搬送制御装置、記録装置、制御方法及びプログラム
JP2011178105A (ja) * 2010-03-03 2011-09-15 Seiko Epson Corp 記録装置

Also Published As

Publication number Publication date
JP2017217808A (ja) 2017-12-14

Similar Documents

Publication Publication Date Title
US9340009B2 (en) Printing apparatus and processing method therefor
JP6417858B2 (ja) 記録装置及び記録装置の制御方法
CN112659753A (zh) 信息处理装置、学习装置以及信息处理装置的控制方法
JP5914722B2 (ja) 記録装置及び記録方法
JP6291777B2 (ja) 画像形成装置、テストパターンの形成方法、プログラム
US8926056B1 (en) Recording apparatus, storage medium storing instructions for recording apparatus, and control method
JP6759727B2 (ja) 印刷装置、プログラム
JP6236774B2 (ja) 画像形成装置、プログラム
JP6753463B2 (ja) インクジェット記録装置及びインクジェット記録装置の記録制御方法
JP4847302B2 (ja) 記録媒体搬送量測定方法及びインクジェット記録装置
JP2010162902A (ja) 画像記録装置
JP2004292068A (ja) 画像形成装置
JP2010115783A (ja) 画像形成装置
JP6325400B2 (ja) インクジェット印刷方法およびインクジェット印刷装置
JP5935600B2 (ja) 液体吐出装置
JP2020001312A (ja) 画像記録装置
EP3246162A1 (en) Inkjet recording device and method for controlling inkjet recording device
JP4539724B2 (ja) 画像記録装置
JP5917168B2 (ja) 記録装置
JP6003403B2 (ja) 液体吐出装置
JP2009073178A (ja) 画像形成方法及び画像形成装置
JP6357810B2 (ja) 画像形成装置
JP2009137137A (ja) 液体吐出装置、及び、評価用パターン形成方法
JP2004175468A (ja) 位置検出装置および位置検出方法
JP7040182B2 (ja) 液滴吐出装置、搬送制御装置、搬送制御方法、搬送制御プログラム

Legal Events

Date Code Title Description
A621 Written request for application examination

Free format text: JAPANESE INTERMEDIATE CODE: A621

Effective date: 20190522

A131 Notification of reasons for refusal

Free format text: JAPANESE INTERMEDIATE CODE: A131

Effective date: 20200128

A521 Request for written amendment filed

Free format text: JAPANESE INTERMEDIATE CODE: A523

Effective date: 20200318

TRDD Decision of grant or rejection written
A01 Written decision to grant a patent or to grant a registration (utility model)

Free format text: JAPANESE INTERMEDIATE CODE: A01

Effective date: 20200804

A61 First payment of annual fees (during grant procedure)

Free format text: JAPANESE INTERMEDIATE CODE: A61

Effective date: 20200817

R151 Written notification of patent or utility model registration

Ref document number: 6759727

Country of ref document: JP

Free format text: JAPANESE INTERMEDIATE CODE: R151

LAPS Cancellation because of no payment of annual fees