JP6661002B2 - 電力変換装置 - Google Patents

電力変換装置 Download PDF

Info

Publication number
JP6661002B2
JP6661002B2 JP2018505221A JP2018505221A JP6661002B2 JP 6661002 B2 JP6661002 B2 JP 6661002B2 JP 2018505221 A JP2018505221 A JP 2018505221A JP 2018505221 A JP2018505221 A JP 2018505221A JP 6661002 B2 JP6661002 B2 JP 6661002B2
Authority
JP
Japan
Prior art keywords
semiconductor switching
switching element
circuit
negative electrode
arm
Prior art date
Legal status (The legal status is an assumption and is not a legal conclusion. Google has not performed a legal analysis and makes no representation as to the accuracy of the status listed.)
Active
Application number
JP2018505221A
Other languages
English (en)
Other versions
JPWO2017158867A1 (ja
Inventor
健志 網本
健志 網本
Current Assignee (The listed assignees may be inaccurate. Google has not performed a legal analysis and makes no representation or warranty as to the accuracy of the list.)
Mitsubishi Electric Corp
Original Assignee
Mitsubishi Electric Corp
Priority date (The priority date is an assumption and is not a legal conclusion. Google has not performed a legal analysis and makes no representation as to the accuracy of the date listed.)
Filing date
Publication date
Application filed by Mitsubishi Electric Corp filed Critical Mitsubishi Electric Corp
Publication of JPWO2017158867A1 publication Critical patent/JPWO2017158867A1/ja
Application granted granted Critical
Publication of JP6661002B2 publication Critical patent/JP6661002B2/ja
Active legal-status Critical Current
Anticipated expiration legal-status Critical

Links

Images

Classifications

    • HELECTRICITY
    • H02GENERATION; CONVERSION OR DISTRIBUTION OF ELECTRIC POWER
    • H02MAPPARATUS FOR CONVERSION BETWEEN AC AND AC, BETWEEN AC AND DC, OR BETWEEN DC AND DC, AND FOR USE WITH MAINS OR SIMILAR POWER SUPPLY SYSTEMS; CONVERSION OF DC OR AC INPUT POWER INTO SURGE OUTPUT POWER; CONTROL OR REGULATION THEREOF
    • H02M1/00Details of apparatus for conversion
    • H02M1/08Circuits specially adapted for the generation of control voltages for semiconductor devices incorporated in static converters
    • HELECTRICITY
    • H02GENERATION; CONVERSION OR DISTRIBUTION OF ELECTRIC POWER
    • H02MAPPARATUS FOR CONVERSION BETWEEN AC AND AC, BETWEEN AC AND DC, OR BETWEEN DC AND DC, AND FOR USE WITH MAINS OR SIMILAR POWER SUPPLY SYSTEMS; CONVERSION OF DC OR AC INPUT POWER INTO SURGE OUTPUT POWER; CONTROL OR REGULATION THEREOF
    • H02M1/00Details of apparatus for conversion
    • H02M1/32Means for protecting converters other than automatic disconnection
    • HELECTRICITY
    • H03ELECTRONIC CIRCUITRY
    • H03KPULSE TECHNIQUE
    • H03K17/00Electronic switching or gating, i.e. not by contact-making and –breaking
    • H03K17/08Modifications for protecting switching circuit against overcurrent or overvoltage
    • H03K17/082Modifications for protecting switching circuit against overcurrent or overvoltage by feedback from the output to the control circuit
    • H03K17/0822Modifications for protecting switching circuit against overcurrent or overvoltage by feedback from the output to the control circuit in field-effect transistor switches
    • HELECTRICITY
    • H03ELECTRONIC CIRCUITRY
    • H03KPULSE TECHNIQUE
    • H03K17/00Electronic switching or gating, i.e. not by contact-making and –breaking
    • H03K17/14Modifications for compensating variations of physical values, e.g. of temperature
    • H03K17/145Modifications for compensating variations of physical values, e.g. of temperature in field-effect transistor switches
    • HELECTRICITY
    • H03ELECTRONIC CIRCUITRY
    • H03KPULSE TECHNIQUE
    • H03K17/00Electronic switching or gating, i.e. not by contact-making and –breaking
    • H03K17/16Modifications for eliminating interference voltages or currents
    • H03K17/161Modifications for eliminating interference voltages or currents in field-effect transistor switches
    • H03K17/165Modifications for eliminating interference voltages or currents in field-effect transistor switches by feedback from the output circuit to the control circuit
    • HELECTRICITY
    • H02GENERATION; CONVERSION OR DISTRIBUTION OF ELECTRIC POWER
    • H02MAPPARATUS FOR CONVERSION BETWEEN AC AND AC, BETWEEN AC AND DC, OR BETWEEN DC AND DC, AND FOR USE WITH MAINS OR SIMILAR POWER SUPPLY SYSTEMS; CONVERSION OF DC OR AC INPUT POWER INTO SURGE OUTPUT POWER; CONTROL OR REGULATION THEREOF
    • H02M1/00Details of apparatus for conversion
    • H02M1/38Means for preventing simultaneous conduction of switches
    • HELECTRICITY
    • H02GENERATION; CONVERSION OR DISTRIBUTION OF ELECTRIC POWER
    • H02MAPPARATUS FOR CONVERSION BETWEEN AC AND AC, BETWEEN AC AND DC, OR BETWEEN DC AND DC, AND FOR USE WITH MAINS OR SIMILAR POWER SUPPLY SYSTEMS; CONVERSION OF DC OR AC INPUT POWER INTO SURGE OUTPUT POWER; CONTROL OR REGULATION THEREOF
    • H02M7/00Conversion of AC power input into DC power output; Conversion of DC power input into AC power output
    • H02M7/42Conversion of DC power input into AC power output without possibility of reversal
    • H02M7/44Conversion of DC power input into AC power output without possibility of reversal by static converters
    • H02M7/48Conversion of DC power input into AC power output without possibility of reversal by static converters using discharge tubes with control electrode or semiconductor devices with control electrode
    • H02M7/53Conversion of DC power input into AC power output without possibility of reversal by static converters using discharge tubes with control electrode or semiconductor devices with control electrode using devices of a triode or transistor type requiring continuous application of a control signal
    • H02M7/537Conversion of DC power input into AC power output without possibility of reversal by static converters using discharge tubes with control electrode or semiconductor devices with control electrode using devices of a triode or transistor type requiring continuous application of a control signal using semiconductor devices only, e.g. single switched pulse inverters
    • H02M7/5387Conversion of DC power input into AC power output without possibility of reversal by static converters using discharge tubes with control electrode or semiconductor devices with control electrode using devices of a triode or transistor type requiring continuous application of a control signal using semiconductor devices only, e.g. single switched pulse inverters in a bridge configuration

Landscapes

  • Engineering & Computer Science (AREA)
  • Power Engineering (AREA)
  • Inverter Devices (AREA)
  • Power Conversion In General (AREA)

Description

本発明は、半導体スイッチング素子を用いた電力変換装置に関する。
電力変換装置には、直流電力を交流電力に変換するDC/ACインバータ、交流電力を直流電力に変換するAC/DCコンバータ、直流電力の電圧値を昇圧あるいは降圧するDC/DCコンバータなどがあり、電力変換装置の多くは、MOSFET(Metal−Oxcide−Semiconductor Field−Effect Transistor)やIGBT(Insulated Gate Bipolar Transistorr)などの絶縁ゲート型の半導体スイッチング素子を用いて電力変換を行っている。なお、ここでは、半導体スイッチング素子がMOSFETである場合には、ドレイン電極を正電極、ソース電極を負電極、ゲート電極を制御電極と呼び、半導体スイッチング素子がIGBTである場合には、コレクタ電極を正電極、エミッタ電極を負電極、ゲート電極を制御電極と呼ぶ。
絶縁ゲート型の半導体スイッチング素子は、負電極と制御電極との間に接続された駆動回路から出力される駆動電圧の大きさに基づいて正電極と負電極との間のオンとオフとが制御される。駆動回路は、駆動電源に接続されて駆動電源から駆動電力が供給される。
従来の電力変換装置では、半導体スイッチング素子が直列に接続されて上アームと下アームとからなるアーム回路が構成され、3つのアーム回路が並列に接続されて、合計6つの半導体スイッチング素子を用いた3相ブリッジ回路が構成され、直流電力を3相交流電力に変換していた。また、各半導体スイッチング素子のそれぞれには個別の駆動回路が接続され、下アームを構成する3つの半導体スイッチング素子のそれぞれの駆動回路は、1つの駆動電源に接続されて電力が供給されていた。このような構成の電力変換装置にあっては、1つのアーム回路に流れる主回路電流の一部が駆動回路側に分流し、駆動電源の負極を通じて、他のアーム回路側に流れ込むのを抑制するために、各駆動回路の基準電位端子と駆動電源の負極との間に抵抗器あるいはダイオードからなるインピーダンス手段を設けているものが知られていた(例えば、特許文献1参照)。
特許文献1に記された電力変換装置にあっては、駆動回路側に分流した主回路電流の一部が、他のアーム回路の駆動回路に流れ込むのを抑制することができるため、分流して流れ込んできた主回路電流が配線インダクタンスに流れることにより発生する誘起電圧が、他のアーム回路の制御電極に重畳するのを抑制し、半導体スイッチング素子に発生するスイッチング損失やサージ電圧を抑制していた。
特開2015−33222号公報
特許文献1に記載された電力変換装置にあっては、アーム回路を構成する上アーム側の半導体スイッチング素子と下アーム側の半導体スイッチング素子とが、誤動作により共にオンしてアーム短絡が発生する場合がある。電力変換装置では、大きなアーム短絡電流が流れて半導体スイッチング素子が破損するのを防止するために、アーム短絡の発生を検出し、アーム短絡が発生した場合に半導体スイッチング素子のスイッチング動作を停止する保護機能を設けることがある。
しかしながら、アーム短絡が発生すると半導体スイッチング素子の負電極と正電極との間の電圧が急激に変化するため、この急激な電圧の変化を起点として半導体スイッチング素子の負電極と正電極との間の電圧に振動が発生する場合があり、この電圧の振動によるノイズにより保護機能あるいは他の制御機能に影響を与える場合があった。このような半導体スイッチング素子の負電極と正電極との間の電圧に発生する電圧振動は、アーム短絡が起こった場合に限らず、半導体スイッチング素子の負電極と正電極との間の電圧が急激に変化する場合に発生し得るという問題点があった。
本発明は、上述のような問題を解決するためになされたもので、半導体スイッチング素子の負電極と正電極との間の電圧が急激に変化した場合に、半導体スイッチング素子の負電極と正電極との間の電圧に振動が発生するのを抑制できる電力変換装置を提供することを目的とする。
本発明に係る電力変換装置は、正電極、負電極、および負電極を基準として駆動電圧が印加される制御電極を有する第1の半導体スイッチング素子と、正極と負極とを有し、第1の半導体スイッチング素子を導通させる駆動電流を制御電極に供給する駆動電源と、駆動電源の正極、駆動電源の負極、第1の半導体スイッチング素子の負電極、および第1の半導体スイッチング素子の制御電極に接続され、第1の半導体スイッチング素子の制御電極に駆動電圧を出力する駆動回路と、駆動電流が流れ、駆動電源の正極、第1の半導体スイッチング素子の制御電極、第1の半導体スイッチング素子の負電極、および駆動電源の負極を含む閉回路内に設けられ、閉回路のインダクタンスを増加させるインダクタンスを有するインピーダンス素子と、を備える。
本発明に係る電力変換装置によれば、半導体スイッチング素子をオンさせる駆動電流が流れる閉回路にインピーダンス素子を設けてこの閉回路のインダクタンスを増大させるので、この閉回路の共振周波数がインピーダンス素子を設けない場合の共振周波数から変更されて、半導体スイッチング素子の負電極と正電極との間の電圧が急激に変化した場合に、半導体スイッチング素子の負電極と正電極との間の電圧に振動が発生するのを抑制できる。
本発明の実施の形態1における電力変換装置の構成を示す回路図である。 本発明の実施の形態1における電力変換装置の動作を示すタイムチャートである。 本発明の実施の形態1における電力変換装置の一部構成を示す部分回路図である。 本発明の実施の形態1における他の構成の電力変換装置の構成を示す回路図である。 本発明の実施の形態1における下アーム側駆動回路の構成を示す回路図である。 本発明の実施の形態1における電力変換装置の配線パターンの一部を示す部分パターン図である。 本発明の実施の形態1における電力変換装置の他の構成の配線パターンの一部を示す部分パターン図である。 比較例のアーム短絡時の上下アームのドレイン−ソース間電圧とアーム短絡電流およびソース電圧の波形を示す図である。 比較例の電力変換装置においてアーム短絡時に駆動回路に流れる共振電流の様子を示す図である。 比較例の電力変換装置においてアーム短絡時に駆動回路に流れる他の共振電流の様子を示す図である。 本発明の実施の形態1における電力変換装置のアーム短絡時の上下アームのドレイン−ソース間電圧とアーム短絡電流およびソース電圧の波形を示す図である。 本発明の実施の形態1における電力変換装置のインピーダンス素子のインダクタンスの値と効果判定の結果を示す図である。 本発明の実施の形態2における電力変換装置の構成を示す回路図である。 本発明の実施の形態2における電力変換装置の配線パターンの一部を示す部分パターン図である。 本発明の実施の形態2における電力変換装置の他の構成の配線パターンの一部を示す部分パターン図である。
実施の形態1.
まず、本発明の実施の形態1における電力変換装置の構成を説明する。図1は、本発明の実施の形態1における電力変換装置の構成を示す回路図である。
図1において、電力変換装置1は、単相インバータであり、入力端に直流電源6が接続され、出力端に負荷5が接続され、入力端から入力された直流電源6が出力する直流電圧を単相の交流電圧に変換して、負荷5に供給する。
直流電源6は、例えば、太陽電池やバッテリなどの直流電源の電圧を昇圧あるいは降圧して出力する昇圧コンバータあるいは降圧コンバータなどのDC/DCコンバータであってもよく、系統電源などの交流電源の電圧を直流電圧に変換して出力するAC/DCコンバータであってもよい。直流電源6は、電力変換装置1と同一の筐体内に設けられていてもよく、電力変換装置1と同一の回路基板に設けられていてもよい。
負荷5は、50Hzや60Hzの系統電源や50Hzあるいは60Hzの交流電圧が入力されて動作する家庭用電気機器あるいは産業用電気機器であってよいし、数10kHz〜数100kHzといった高周波の交流電圧が入力されて動作する誘導加熱装置の加熱コイル、ワイヤレス給電装置の給電コイル、電気自動車用絶縁型充電器の絶縁トランスの1次コイルなど装置内に設けられた部品であってもよく、さらには鉄道車両や自動車などの移動体の電動機、エレベータやエスカレータあるいは産業機器に用いられる電動機、あるいは空気調和機や冷凍機などの冷凍サイクル装置の圧縮機であってもよい。本実施の形態1では、電力変換装置1が50Hzあるいは60Hzの交流電圧を出力する場合について説明する。
図1に示すように、電力変換装置1は、直流電源6に並列に接続されたフルブリッジ回路と、フルブリッジ回路の出力端に接続されたフィルタ回路と、フルブリッジ回路の動作を制御する制御回路とから構成される。
フルブリッジ回路は、U相側アーム回路とW相側アーム回路とが並列接続されて構成されており、U相側アーム回路は直列接続された半導体スイッチング素子131と半導体スイッチング素子134とで構成され、W相側アーム回路は直列接続された半導体スイッチング素子231と半導体スイッチング素子234とで構成されている。なお、本発明においては、各アーム回路を構成する半導体スイッチング素子のうち、直流電源6の正極側に接続される半導体スイッチング素子を上アーム、直流電源6の負極側に接続される半導体スイッチング素子を下アームと呼ぶ。
本発明では、半導体スイッチング素子がMOSFETである場合について説明するが、半導体スイッチング素子はIGBTであってもよい。図1に示すように、MOSFETは構造上ボディダイオードを有するが、半導体スイッチング素子にIGBTを用いる場合には、IGBTの導通方向と逆向きに導通するようにダイオードを並列接続して設けてもよい。また、半導体スイッチング素子がMOSFETである場合にもボディダイオードと並列接続してダイオードをさらに設けてもよい。半導体スイッチング素子は、ケイ素(Si)や炭化ケイ素(SiC)あるいは窒化ガリウム(GaN)などの半導体材料で形成された半導体スイッチング素子であってよい。
本発明では、半導体スイッチング素子の正電極、負電極、および制御電極を次のように定義する。半導体スイッチング素子がMOSFETである場合には、ドレイン電極を正電極、ソース電極を負電極、ゲート電極を制御電極と定義し、半導体スイッチング素子がIGBTである場合には、コレクタ電極を正電極、エミッタ電極を負電極、ゲート電極を制御電極と定義する。
フィルタ回路は、フルブリッジ回路の出力端の一方となるU相側アーム回路の中点である半導体スイッチング素子131と半導体スイッチング素子134との接続点に接続されたフィルタリアクトル2と、フルブリッジ回路の出力端の他方となるW相側アーム回路の中点である半導体スイッチング素子231と半導体スイッチング素子234との接続点に接続されたフィルタリアクトル3と、フィルタリアクトル2および3と負荷5との間に接続されたフィルタコンデンサ4とを備えている。
制御回路は、各半導体スイッチング素子のスイッチングを制御する制御部7と、各半導体スイッチングのスイッチングに要する駆動電力を供給するための駆動電源と駆動回路とを備えている。制御部7は、マイコン等の演算処理器とロジック回路等で構成される。駆動回路は、各半導体スイッチング素子に接続され、制御部7からの駆動信号に基づいて、各半導体スイッチング素子のゲート電極に駆動電圧を出力し、各半導体スイッチング素子は駆動電圧に基づいてスイッチング動作を行う。また、制御回路は、電力変換装置1の各部位の電圧、電流などを測定する各種センサを備えており(図示せず)、制御部7は、各種センサの測定結果に基づいて電力変換装置1の動作を制御する制御機能と、異常を検知した場合に電力変換装置1の動作を停止する保護機能とを備えている。
駆動回路は、各半導体スイッチング素子のそれぞれに対して設けられる。上アーム側の半導体スイッチング素子131および231には上アーム側駆動回路137および237が設けられ、下アーム側の半導体スイッチング素子134および234には下アーム側駆動回路138および238が設けられる。
U相側アーム回路の上アーム側の半導体スイッチング素子131のゲート電極とソース電極とは上アーム側駆動回路137に接続される。上アーム側駆動回路137には駆動電源である平滑コンデンサ13が接続され、平滑コンデンサ13の正極はダイオード112と電流制限抵抗113とを介して制御電源14の正極に接続されてブートストラップ回路を構成し、ブートストラップ回路により平滑コンデンサ13が充電される。平滑コンデンサ13の負極と半導体スイッチング素子131のソース電極とは上アーム側駆動回路137の内部で接続されている。なお、平滑コンデンサ13の負極と半導体スイッチング素子131のソース電極とを上アーム側駆動回路137の外部で接続してもよい。上アーム側駆動回路137は信号配線151によって制御部7に接続され、制御部7から半導体スイッチング素子131の導通(以下、オンと呼ぶ)と遮断(以下、オフと呼ぶ)とを制御するための制御信号G_Huが上アーム側駆動回路137に出力される。
U相側アーム回路の下アーム側の半導体スイッチング素子134のゲート電極は、下アーム側駆動回路138に接続される。下アーム側駆動回路138には駆動電源である平滑コンデンサ15が接続され、平滑コンデンサ15に並列に制御電源14が接続され、平滑コンデンサ15は制御電源14から供給される電力により充電される。駆動電源である平滑コンデンサ15の負極は基準電位接続点8に接続され、基準電位接続点8には下アーム側駆動回路138が接続されている。下アーム側駆動回路と基準電位接続点8との間は配線のインピーダンスができるだけ小さくなるように、太く短い配線で構成されるのが望ましい。また、基準電位接続点8は、制御部7の基準電位と同電位に接続されている。
下アーム側の半導体スイッチング素子134のソース電極と基準電位接続点8との間にはインピーダンス素子11が接続されている。インピーダンス素子11は、半導体スイッチング素子134をオンするための駆動電流が流れる閉回路のインダクタンスを増加させる素子であり、例えば、フェライトコアなどのコアを有する有芯インダクタや、コアを有しない空芯インダクタが好ましく、特に有芯インダクタが好ましい。有芯インダクタとしては、例えば、フェライトビーズインダクタやチップインダクタなど面実装型のインダクタが好ましく、トロイダルコイルなど巻線型のインダクタや管状のフェライトコアにリード線を通して構成したインダクタであってもよい。また、回路基板の配線パターン上にフェライトコアを載置してインダクタンスを増加させてもよく、すなわち、回路基板の配線パターンをインダクタの導電線としてもよい。さらに、巻線型の抵抗器などインダクタンスを有する抵抗器であってもよい。
さらに、半導体スイッチング素子134のソース電極は、直流電源6の負極が接続された負極接続点101に接続される。また、下アーム側駆動回路138は信号配線154によって制御部7に接続され、制御部7から半導体スイッチング素子134のオンとオフとを制御するための制御信号G_Luが下アーム側駆動回路138に出力される。
MOSFETなどの絶縁ゲート型の半導体スイッチング素子では、ゲート電極とソース電極との間に寄生容量が存在し、寄生容量が充電されてゲート電極とソース電極との間の電圧がオンするために必要な閾値電圧以上となることで、半導体スイッチング素子はオンする。そして、ゲート電極とソース電極との間の寄生容量に充電された電圧が放電されてオンするために必要な閾値電圧未満になることで、半導体スイッチング素子はオフする。
例えば、半導体スイッチング素子134をオンさせる場合、下アーム側駆動回路138から半導体スイッチング素子134のゲート電極に駆動電圧が出力され、このとき半導体スイッチング素子134をオンさせるための駆動電流が、駆動電源である平滑コンデンサ15の正極から、下アーム側駆動回路138、半導体スイッチング素子134のゲート電極、ソース電極、インピーダンス素子11、基準電位接続点8を経由し、平滑コンデンサ15の負極に至る閉回路に流れる。この結果、半導体スイッチング素子134のゲート電極とソース電極との間の寄生容量が充電され、半導体スイッチング素子134はオンする。なお、駆動電流は制御電源14からも供給されるが、制御電源14よりも平滑コンデンサ15の方が、内部抵抗が小さいので、駆動電流は主として平滑コンデンサ15により供給される。また、平滑コンデンサ15を設けない場合には、制御電源14が駆動電源である。
一方、半導体スイッチング素子134をオフさせる場合には、下アーム側駆動回路138から半導体スイッチング素子134のゲート電極に0V近辺の電圧が出力されて、半導体スイッチング素子134のゲート電極とソース電極との間の寄生容量に充電された電荷が放電される。このときの放電電流は、半導体スイッチング素子134のゲート電極から、下アーム側駆動回路138、基準電位接続点8、インピーダンス素子11を通り、半導体スイッチング素子134のソース電極に至る閉回路に流れる。
W相側アーム回路においても、U相側アーム回路と同様に構成される。すなわち、上アーム側の半導体スイッチング素子231のゲート電極とソース電極とは上アーム側駆動回路237に接続される。また、上アーム側駆動回路237には平滑コンデンサ23が接続され、ダイオード122と電流制限抵抗123とで構成されたブートストラップ回路によって平滑コンデンサ23が充電されて、平滑コンデンサ23から上アーム側駆動回路237に電力が供給される。上アーム側駆動回路237と制御部7とが信号配線251で接続され、制御部7から半導体スイッチング素子231のオンとオフとを制御するための制御信号G_Hwが上アーム側駆動回路237に出力される。
また、W相側アーム回路の下アーム側の半導体スイッチング素子234のゲート電極は下アーム側駆動回路238に接続され、下アーム側駆動回路238には駆動電源である平滑コンデンサ25が接続され、駆動電源である平滑コンデンサ25の負極が接続された基準電位接続点9に下アーム側駆動回路238が接続される。さらに平滑コンデンサ25と並列に制御電源24が接続され、平滑コンデンサ25は制御電源24から供給される電力により充電される。そして、半導体スイッチング素子234のソース電極と基準電位接続点9との間にインピーダンス素子21が接続され、半導体スイッチング素子234のソース電極は、さらに直流電源6の負極が接続された負極接続点101に接続される。インピーダンス素子21は、U相側のインピーダンス素子11と同様の構成をしている。また、下アーム側駆動回路238は信号配線254によって制御部7に接続され、制御部7から半導体スイッチング素子234のオンとオフとを制御するための制御信号G_Lwが下アーム側駆動回路238に出力される。
次に、電力変換装置1の動作について説明する。
図2は、本発明の実施の形態1における電力変換装置の動作を示すタイムチャートである。図2において、波形(a)、(b)、(c)および(d)はそれぞれ制御部7から出力される制御信号G_Hu、G_Lu、G_HwおよびG_Lwであり、半導体スイッチング素子をオンさせる信号を「1」、半導体スイッチング素子をオフさせる信号を「0」で示している。また、波形(e)は、図1で示したフルブリッジ回路の出力電圧波形であり、直流電源6の電圧をVとしたW相側アーム回路の中点に対するU相側アーム回路の中点の電圧である。
図2に示すように、制御部7から出力されるU相側アーム回路の上アーム側半導体スイッチング素子131の制御信号G_Huと下アーム側半導体スイッチング素子134の制御信号G_Luとは、デッドタイムTdの期間に同時にオフとなり、デッドタイムTd以外の期間では交互にオンとオフとが入れ替わる制御信号である。同様に、W相側アーム回路の上アーム側半導体スイッチング素子231の制御信号G_Hwと下アーム側半導体スイッチング素子234の制御信号G_Lwとは、デッドタイムTdの期間に同時にオフとなり、デッドタイムTd以外の期間では交互にオンとオフとが入れ替わる制御信号である。
期間Aでは、制御部7からU相側の上アーム側駆動回路137に半導体スイッチング素子131をオフする制御信号、下アーム側駆動回路138に半導体スイッチング素子134をオンする制御信号が出力される。この結果、U相側アーム回路の中点は直流電源6の負極に接続されて直流電源6の負極の電位となる。一方、期間Aでは、制御部7からW相側の上アーム側駆動回路237に半導体スイッチング素子231をオンする制御信号、下アーム側駆動回路238に半導体スイッチング素子234をオフする制御信号が出力される。この結果、W相側アーム回路の中点は直流電源6の正極に接続されて直流電源6の正極の電位となる。従って、図2(e)に示すように、フルブリッジ回路の出力電圧Voは−Vとなる。
同様に期間Bでは、U相側アーム回路では上アーム側の半導体スイッチング素子131がオンし、W相側アーム回路では下アーム側の半導体スイッチング素子234がオンするので、フルブリッジ回路の出力電圧Voは+Vとなる。
直流電源6から出力される主回路電流は、フルブリッジ回路の出力電圧Voが−Vの場合には、W相側アーム回路の上アーム側半導体スイッチング素子231とU相側アーム回路の下アーム側半導体スイッチング素子134とに流れ、フルブリッジ回路の出力電圧Voが+Vの場合には、U相側アーム回路の上アーム側半導体スイッチング素子131とW相側アーム回路の下アーム側半導体スイッチング素子234とに流れる。
そして、図2に示すようにU相側アーム回路とW相側アーム回路の各半導体スイッチング素子のオン時間とオフ時間との比を変調し、図2(e)に示すような電圧波形Voを各アーム回路の中点から出力する。図2(e)に示した電圧波形Voがフィルタ回路を通ることによって、負荷5には正弦波状の電圧が印加される。
また、ノイズの影響などで誤動作して、アーム回路の上アーム側半導体スイッチング素子と下アーム側半導体スイッチング素子とが同時にオンしてアーム短絡が発生した場合には、制御部7は電流センサなどの測定結果に基づきアーム短絡電流を検出し、全ての半導体スイッチング素子をオフする制御信号を出力する。この結果、電力変換装置1は動作を停止する。
次に、本発明の電力変換装置1の作用効果について説明する。
アーム短絡は、電力変換装置1から生じるノイズや、電力変換装置1の外部からのノイズが、制御部7から出力される制御信号、あるいは、上アーム側駆動回路137、237や下アーム側駆動回路138、238が出力する駆動電圧に重畳して、オフ期間の半導体スイッチング素子を誤ってオンさせることにより発生する。
アーム短絡が発生すると上アームおよび下アームの半導体スイッチング素子のドレインーソース間電圧に振動が発生し、このドレインーソース間電圧の振動によって発生するノイズにより、電力変換装置の保護機能が正常に動作しない場合があった。本発明の電力変換装置1は、図1に示すように、下アーム側半導体スイッチング素子134および234をオンするための駆動電流が流れる経路に、この経路のインダクタンスを増加させるインダクタンスを有するインピーダンス素子11および21を設けたので、アーム短絡が発生した場合のドレインーソース間電圧の振動を抑制し、ドレインーソース間電圧の振動によって発生するノイズを抑制することができる。
詳細は後述するが、アーム短絡が発生すると半導体スイッチング素子のドレイン−ソース間電圧が急激に変化する。すなわち、大きなdV/dtが発生する。この大きなdV/dtによって、半導体スイッチング素子の駆動回路に、半導体スイッチング素子のゲート電極とソース電極との間の寄生容量と駆動回路の配線インダクタンスとからなる直列共振による共振電流が流れる場合がある。この共振電流によって半導体スイッチング素子のゲート電極とソース電極との間の寄生容量が充放電されるため、ドレイン電極とソース電極との間の電気伝導度が共振周波数で変化し、ドレイン−ソース間電圧の振動が発生する場合がある。特に、アーム短絡が発生した場合のdV/dtの周波数成分に共振周波数の成分が多く含まれる場合に、共振電流は大きくなり、ドレイン−ソース間電圧の振動が顕著になり問題となる。
図1に示すように、本実施の形態1では、下アーム側半導体スイッチング素子134および234をオンさせるための駆動電流が流れる閉回路にインピーダンス素子11および21を設けることによって、この閉回路のインダクタンスを増加させ、この閉回路の共振周波数を、インピーダンス素子を設けない場合よりも低周波側に変更することができる。この結果、アーム短絡が発生した場合のdV/dtに多く含まれる周波数成分と、駆動電流が流れる閉回路の共振周波数とをずらすことができ、共振電流を抑制してドレイン−ソース間電圧の振動を抑制することができる。
特に、インピーダンス素子としてコアを有する有芯インダクタを用いた場合には、インダクタは、周波数が高くなるに従い抵抗成分が増加するといった周波数特性を有する。このため、アーム短絡が発生した場合のdV/dtに多く含まれる周波数成分と、駆動電流が流れる閉回路の共振周波数とをずらす効果に加えて、通常のスイッチング動作で流れる駆動電流よりも高周波成分が多いアーム短絡による電流を抑制することができるといった効果が得られる。従って、インピーダンス素子としては、周波数が高くなるに従い抵抗成分が増加する特性を有するインダクタが特に好ましい。
この結果、電力変換装置1の保護機能が正常に動作し、アーム短絡が発生した場合に電力変換装置1の動作を停止させることができる。また、保護機能だけでなく、他の制御機能をも正常に動作させることができる。
下アーム側駆動回路138が接続された基準電位接続点8、および下アーム側駆動回路238が接続された基準電位接続点9は、制御部7の基準電位と同電位に接続されるので、アーム短絡が発生した場合のドレイン−ソース間電圧の振動によるノイズが、下アーム側の半導体スイッチング素子の駆動回路から制御部7や制御回路の他の部位に伝搬し易い。
従って、本実施の形態1で説明するように下アーム側の半導体スイッチング素子134および234をオンさせるための駆動電流が流れる閉回路にインピーダンス素子11および21を設けることで、上アーム側半導体スイッチング素子131および231をオンさせるための駆動電流が流れる閉回路にインピーダンス素子を設ける場合よりも、アーム短絡によって発生するノイズが制御部7や制御回路の他の部位に与える影響を抑制する効果を大きくすることができる。なお、下アーム側に加えて上アーム側にもインピーダンス素子を設けてもよい。
また、図1に示すように下アーム側半導体スイッチング素子134のソース電極と基準電位接続点8との間にインピーダンス素子11を設け、下アーム側半導体スイッチング素子234のソース電極と基準電位接続点9との間にインピーダンス素子21を設けることによって、U相側アーム回路およびW相側アーム回路のアーム短絡を抑制する効果も得られる。インピーダンス素子によりアーム短絡の発生が抑制される効果について、U相側の上アーム側半導体スイッチング素子131がオンからオフにターンオフする場合を例に説明する。
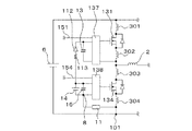
図3は、本発明の実施の形態1における電力変換装置の一部構成を示す部分回路図である。図3は、図1に示した電力変換装置1のU相側アーム回路とその周辺について示した回路図であり、配線インダクタンス301〜304を付加して示したものである。
図3において、U相側アーム回路の上アーム側半導体スイッチング素子131のドレイン電極と直流電源6の正極との間には配線インダクタンス301が存在し、半導体スイッチング素子131のソース電極とU相側アーム回路の中点との間には配線インダクタンス302が存在する。また、U相側アーム回路の下アーム側半導体スイッチング素子134のドレイン電極とU相側アーム回路の中点との間には配線インダクタンス303が存在し、半導体スイッチング素子134のソース電極とインピーダンス素子11の一端が接続された接続点との間には配線インダクタンス304が存在する。なお、フィルタリアクトル2がU相側アーム回路の中点に接続されている。
上アーム側半導体スイッチング素子131がオンしているとき、直流電源6から出力された主回路電流は、上アーム側半導体スイッチング素子131を通り、フィルタリアクトル2から負荷5に流れている。そして、上アーム側半導体スイッチング素子131のオン期間が終了しデッドタイム期間になると、上アーム側半導体スイッチング素子131はオフするが、フィルタリアクトル2に流れている電流はそのまま流れ続けようとする。この結果、フィルタリアクトル2に流れている電流は、下アーム側半導体スイッチング素子134のボディダイオードを通って流れる。この下アーム側のボディダイオードを通って流れる電流は、下アーム側の配線インダクタンス303、304を通って流れるため、下アーム側の配線インダクタンス303、304の両端に誘起電圧が発生する。
配線インダクタンス304の両端に発生する誘起電圧は、半導体スイッチング素子134のソース電極に接続された側に対して、インピーダンス素子11の一端に接続された側の電位が正となる電圧となる。インピーダンス素子11が存在しない場合には、この半導体スイッチング素子134のソース電極に対して正の電位が、そのまま基準電位接続点8の電位となるので、下アーム側駆動回路138が半導体スイッチング素子134をオフする0V近辺の駆動電圧を出力していても、下アーム側駆動回路138のソース電極とゲート電極との間には正の電圧が印加されることになる。フィルタリアクトル2を流れる電流が、U相側アーム回路の上アームから下アームに転流する時間は数マイクロ秒以下であるが、インピーダンス素子11が存在しない場合には、その数マイクロ秒以下の間に配線インダクタンス304の両端に発生した電圧によって、下アーム側半導体スイッチング素子134がオンする場合がある。このフィルタリアクトル2を流れる電流が転流した際に、上アーム側半導体スイッチング素子131が完全にオフしていない場合、上アーム側半導体スイッチング素子131と下アーム側半導体スイッチング素子134とが共にオンしてアーム短絡する場合がある。
これに対し、本発明では図3に示すように、下アーム側半導体スイッチング素子134のソース電極に接続された配線インダクタンス304の一端と基準電位接続点8との間にインピーダンス素子11を備えているので、配線インダクタンス304の両端に発生した電圧の一部がインピーダンス素子11に印加されるため、基準電位接続点8と半導体スイッチング素子134のソース電極との間の電圧を低減することができる。この結果、フィルタリアクトル2を流れる電流が転流した際に下アーム側半導体スイッチング素子134が誤ってオンする可能性を低減することができ、アーム短絡の発生を抑制することができる。
次に、本発明の電力変換装置について、フルブリッジ回路の各アームを並列接続された複数の半導体スイッチング素子で構成した電力変換装置を用いてさらに詳しく説明する。
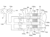
図4は、本発明の実施の形態1における他の構成の電力変換装置の構成を示す回路図である。図4において、図1と同じ符号を付けたものは、同一または対応する構成を示しており、その説明を省略する。図4の電力変換装置100は、図1の電力変換装置1とは、U相側アーム回路およびW相側アーム回路をそれぞれパワーモジュール10で構成した点が相違している。パワーモジュール10は、半導体スイッチング素子が炭化ケイ素半導体材料で形成されたMOSFET(以下、SiC MOSFETと呼ぶ)で構成されている。
図4に示すように、電力変換装置100は、U相側アーム回路とW相側アーム回路とがそれぞれパワーモジュール10で構成され、U相側アーム回路とW相側アーム回路とでフルブリツジ回路を構成している。パワーモジュール10は、内部に半導体スイッチング素子31および34と、半導体スイッチング素子32および35と、半導体スイッチング素子33および36とからなる3組のアーム回路と、上アーム側駆動回路37と下アーム側駆動回路38とを備えている。U相側のパワーモジュール10とW相側のパワーモジュール10とは同一の構成をしているので、本実施の形態1において単にパワーモジュール10と呼ぶ場合は、U相側およびW相側の両方のパワーモジュール10を指し、U相側とW相側とで特に区別する必要がある場合には、それぞれU相側のパワーモジュール10、W相側のパワーモジュール10と呼ぶ。
なお、電力変換装置100に用いられるパワーモジュール10は、内部に3組のアーム回路を備えたものに限らず、1組以上であればよい。また、パワーモジュールではなく、ディスクリートの半導体スイッチング素子を用いて、図4の回路図で示す電力変換装置を構成してもよい。なお、本発明において、パワーモジュールおよびディスクリートの半導体スイッチング素子とは、樹脂などで形成されたケース内に半導体チップを備えた半導体装置をいう。また、内部に1つのアームを備えた半導体装置をディスクリートの半導体スイッチング素子といい、内部に複数のアームを備えた半導体装置をパワーモジュールという。
図4に示すように、電力変換装置100では、図1に示した電力変換装置1の下アーム側半導体スイッチング素子134および234をそれぞれ3つの半導体スイッチング素子34、35、36を並列に接続して構成し、上アーム側半導体スイッチング素子131および231をそれぞれ3つの半導体スイッチング素子31、32、33を並列に接続して構成している。
パワーモジュール10の内部に設けられた上アーム側半導体スイッチング素子31、32、33の各ドレイン電極は、パワーモジュール10の高電圧側入力端子40に接続され、高電圧側入力端子40が直流電源6の正極に接続されている。また、上アーム側半導体スイッチング素子31、32、33のソース電極はそれぞれ個別に上アーム側駆動回路37に接続され、上アーム側の半導体スイッチング素子31、32、33のゲート電極はそれぞれ上アーム側駆動回路37に接続されている。
下アーム側半導体スイッチング素子34、35、36の各ソース電極は、それぞれパワーモジュール10の低電圧側入力端子64、65、66に接続され、U相側のパワーモジュール10の低電圧側入力端子64、65、66は負電極接続点102で一点に接続され、W相側のパワーモジュール10の低電圧側入力端子64、65、66は負電極接続点103で一点に接続されている。負電極接続点102および103はパワーモジュール10の外部に設けられており、直流電源6の負極が接続された負極接続点101に接続されている。また、下アーム側の半導体スイッチング素子34、35、36のゲート電極はそれぞれ下アーム側駆動回路38に接続されている。
なお、負極接続点101、負電極接続点102および負電極接続点103は、回路基板上では面状あるいは帯状の配線パターンであってよく、それぞれ同電位に接続された配線パターンにより構成される。
パワーモジュール10の内部の各アーム回路の中点は、出力端子61、62、63に接続されており、出力端子61、62、63がパワーモジュール10の外部で一点に接続されてフィルタ回路に接続される。
パワーモジュール10は、内部の下アーム側駆動回路38に駆動電力を供給するための、正側駆動電源端子43と負側駆動電源端子44とを備えており、正側駆動端子43に駆動電源である平滑コンデンサ15および25の正極が接続され、負側駆動電源端子44に平滑コンデンサ15および25の負極が接続される。図1の電力変換装置1と同様、平滑コンデンサ15の負極は基準電位接続点8に接続され、平滑コンデンサ25の負極は基準電位接続点9に接続される。
パワーモジュール10は、内部の上アーム側駆動回路37に駆動電力を供給するための、正側駆動電源端子41と負側駆動電源端子42とを備えており、正側駆動端子41に駆動電源である平滑コンデンサ13および23の正極が接続され、負側駆動電源端子42に平滑コンデンサ13および23の負極が接続される。さらに、平滑コンデンサ13を充電するための制御電源12が平滑コンデンサ13に並列に接続され、平滑コンデンサ23を充電するための制御電源22が平滑コンデンサ23に並列に接続される。
なお、図4では、上アーム側駆動回路37に駆動電力を供給するために制御電源12および22を設けたが、図1に示したようにブートストラップ回路によって、上アーム側駆動回路37に駆動電力を供給してもよい。また、図4では、上アーム側の駆動電力を供給する正側駆動電源端子41と負側駆動電源端子42とを全てのアーム回路に対して1つ設けた構成のパワーモジュール10を用いたが、各上アームに対応した正側駆動電源端子と負側駆動電源端子とをそれぞれ設けた構成のパワーモジュールを用いてもよい。
U相側の負電極接続点102と基準電位接続点8との間には、インピーダンス素子11が接続され、W相側の負電極接続点103と基準電位接続点9との間には、インピーダンス素子21が接続される。インピーダンス素子11および21は、図1で示した電力変換装置1と同様に、下アーム側半導体スイッチング素子34、35、36をオンするための駆動電流が流れる閉回路のインダクタンスを増加させるインダクタンスを有するインピーダンス素子である。
パワーモジュール10の上アーム側駆動回路37に制御信号を入力するための制御信号入力端子51、52、53は、パワーモジュール10の外部で互いに接続されて短絡しており、信号配線151および251で制御部7に接続されている。同様に、パワーモジュール10の下アーム側駆動回路38に制御信号を入力するための制御信号入力端子54、55、56も、パワーモジュール10の外部で互いに接続されて短絡しており、信号配線154および254で制御部7に接続されている。
従って、U相側のパワーモジュール10の上アーム側半導体スイッチング素子31、32、33にはそれぞれ同一の制御信号が入力され、パワーモジュール10の半導体スイッチング素子31、32、33は素子毎に多少のばらつきがあっても同時にオンする期間を有するように駆動される。すなわち並列駆動される。同様に、U相側のパワーモジュール10の下アーム側半導体スイッチング素子34、35、36にはそれぞれ同一の制御信号が入力され、パワーモジュール10の半導体スイッチング素子34、35、36は素子毎に多少のばらつきがあっても同時にオンする期間を有するように並列駆動される。W相側のパワーモジュール10の各半導体スイッチング素子についても同様である。
次に、下アーム側駆動回路の構成について、さらに詳しく説明する。図5は、本発明の実施の形態1における下アーム側駆動回路の構成を示す回路図である。図5では、下アーム側駆動回路38の他に電力変換装置100の構成の一部についても示した。上アーム側駆動回路37も図5に示す下アーム側駆動回路38と同様の構成であってもよい。
下アーム側駆動回路38は、NPNトランジスタ74n、75n、76nとPNPトランジスタ74p、75p、76pとゲート抵抗84、85、86とで構成される。図5に示す下アーム側駆動回路38は、1つのNPNトランジスタと1つのPNPトランジスタと1つのゲート抵抗とで構成されるゲート回路を3つ備えている。すなわち、下アーム側駆動回路38は、下アーム側駆動回路38に接続された半導体スイッチング素子と同数のゲート回路を備えている。なお、ゲート回路はこれに限らず、ゲートドライブ集積回路によって構成されたゲート回路など他の構成であってもよい。本発明において駆動回路とは、半導体スイッチング素子のゲート電極に駆動電圧を出力するゲート回路を少なくとも1つ以上備えた回路をいう。
NPNトランジスタ74nとPNPトランジスタ74pとゲート抵抗84とからなるゲート回路は、NPNトランジスタ74nのエミッタ電極とPNPトランジスタ74pのエミッタ電極とが接続されて中点を構成し、この中点にゲート抵抗84の一端が接続され、NPNトランジスタ74nのベース電極とPNPトランジスタ74pのベース電極とが互いに接続されて構成される。他のゲート回路も同様に構成される。
各ゲート回路のNPNトランジスタ74n、75n、76nのコレクタ電極は、駆動電源である平滑コンデンサ15の正極に接続され、各ゲート回路のPNPトランジスタ74p、75p、76pのコレクタ電極は平滑コンデンサ15の負極が接続された基準電位接続点8に接続される。すなわち、各ゲート回路は並列に接続されている。
また、NPNトランジスタ74nおよびPNPトランジスタ74pのベース電極は、制御信号入力端子54に接続され、ゲート抵抗84の他端が半導体スイッチング素子34のゲート電極に接続される。他のゲート回路も同様に構成される。
半導体スイッチング素子34、35、36のソース電極34s、35s、36sが接続された低電圧側入力端子64、65、66は、パワーモジュール10の外部で負電極接続点102に接続され、負電極接続点102と基準電位接続点8との間にインピーダンス素子11が接続される。すなわち、インピーダンス素子11はパワーモジュール10の外部に設けられる。この結果、電力変換装置100の回路基板の配線パターンのインダクタンスに応じて自在にインピーダンス素子11のインダクタンスを調整することができる。
制御信号入力端子54に、半導体スイッチング素子34をオンする信号が入力されると、NPNトランジスタ74nがオンし、PNPトランジスタ74pがオフする。この結果、半導体スイッチング素子34のゲート電極はゲート抵抗84を介して駆動電源である平滑コンデンサ15の正極に接続された正側駆動電源端子43に電気的に接続される。半導体スイッチング素子34のソース電極はインピーダンス素子11を介して基準電位接続点8に接続されるので、半導体スイッチング素子34のソース電極とゲート電極との間には平滑コンデンサ15の両端の電圧に近い電圧が印加される。
この結果、半導体スイッチング素子34をオンさせるための駆動電流が、駆動電源である平滑コンデンサ15の正極から、ゲート回路を構成するNPNトランジスタ74nのコレクタ電極、NPNトランジスタ74nのエミッタ電極、ゲート抵抗84を通り、半導体スイッチング素子34のゲート電極とソース電極34sとを通り、低電圧側入力端子64、負電極接続点102を通り、インピーダンス素子11と基準電位接続点8とを通って、平滑コンデンサ15の負極に戻る閉回路に流れ、半導体スイッチング素子34のゲート電極とソース電極との間の寄生容量を充電して半導体スイッチング素子34をオンさせる。
一方、制御信号入力端子54に、半導体スイッチング素子34をオフする信号が入力されると、NPNトランジスタ74nがオフし、PNPトランジスタ74pがオンする。この結果、半導体スイッチング素子34のゲート電極はゲート抵抗84を介して基準電位接続点8に接続される。この結果、半導体スイッチング素子34のゲート電極とソース電極との間の寄生容量に蓄積された電荷が、半導体スイッチング素子34のゲート電極からゲート抵抗84を通って、PNPトランジスタ74p、負側駆動電源端子44、基準電位接続点8、インピーダンス素子11、負電極接続点102を経由し、半導体スイッチング素子34のソース電極に至る閉回路に流れて放電され、半導体スイッチング素子34はオフする。
なお、半導体スイッチング素子34をオンさせる場合に、駆動電源である平滑コンデンサ15の正極から出力された駆動電流は低電圧側入力端子64を通った後、一部が低電圧側入力端子65から半導体スイッチング素子35のソース電極35s側等に分流し得る。この分流した電流は、半導体スイッチング素子35のソース電極35s、ゲート電極、ゲート抵抗85、PNPトランジスタ75p、基準電位接続点8を通って、平滑コンデンサ15の負極に流れ得る。すなわち、駆動電流の一部は上述の閉回路とは異なる閉回路にも流れ得る。しかし、この分流した電流は、平滑コンデンサ15の正極23から出力された駆動電流の一部であっても経路のインピーダンスが大きいために非常に小さく、この分流した電流のみでは半導体スイッチング素子34をオンさせるほどには、半体スイッチング素子34のゲート電極とソース電極との間の寄生容量を充電することができない。よって、このような分流電流は半導体スイッチング素子をオンさせる駆動電流とは呼ばず、他の分流経路を流れる電流についても同様である。
従って、本発明でいう半導体スイッチング素子34をオンさせる駆動電流が流れる閉回路とは、平滑コンデンサ15の正極から、下アーム側駆動回路38、半導体スイッチング素子34のゲート電極、ソース電極34s、負電極接続点102、インピーダンス素子11、基準電位接続点8を通って、平滑コンデンサ15の負極に至る経路の閉回路をいう。半導体スイッチング素子35、36についても、半導体スイッチング素子34と同様である。
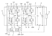
図6は、本発明の実施の形態1における電力変換装置の配線パターンの一部を示す部分パターン図である。また、図7は、本発明の実施の形態1における電力変換装置の他の構成の配線パターンの一部を示す部分パターン図である。図6および図7の配線パターンは、図4に示した電力変換装置100のパワーモジュール10の低電圧側入力端子64、65、66と負側駆動電源端子44との間およびその周辺の配線パターンを示したものである。
図6に示すように、パワーモジュール10の内部の下アーム側半導体スイッチング素子のソース電極にそれぞれ接続された低電圧側入力端子64、65、66が配線パターンにはんだ付けなどにより接続されている。低電圧側入力端子64、65、66が接続された部分は平面状の配線パターンとなっており負電極接続点を構成している。
また、図6に示す配線パターンは、破線A−Aよりも紙面左側の領域と、破線B−Bよりも紙面右側の領域と、破線A−Aと破線B−Bとの間の領域とに区別される。破線A−Aよりも紙面左側の領域は、半導体スイッチング素子を駆動させるための駆動電流が流れる回路配線であり、破線A−Aよりも紙面左側の回路配線を駆動回路配線104と呼ぶ。破線B−Bよりも紙面右側の領域は、半導体スイッチング素子のドレイン電極とソース電極との間を流れ、直流電源6の負極に接続された負極接続点101を通って直流電源6の負極に戻る主回路電流が流れる回路配線であり、破線B−Bよりも紙面右側の回路配線を主回路配線105と呼ぶ。また、破線A−Aと破線B−Bとの間の領域は負電極接続点であると共に、駆動電流と主回路電流とが流れる回路配線である。駆動電流と主回路電流とは、半導体スイッチング素子34、35、36の各ソース電極と、低電圧側入力端子64、65、66との間の回路配線にも流れるため、半導体スイッチング素子34、35、36の各ソース電極と低電圧側入力端子64、65、66との間の回路配線と、図6の破線A−Aと破線B−Bとの間の回路配線とを合わせて共通配線と呼ぶ。図6の破線A−Aと破線B−Bとの間の回路配線は、共通配線の一部であり、ここでは共通配線106と呼ぶ。
駆動回路配線104の一端は平面状に形成された配線パターンからなる基準電位接続点8に接続される。基準電位接続点8には、パワーモジュール10の負側駆動電源端子44がはんだ付けなどにより接続され、負側駆動電源端子44の近くに平滑コンデンサ15の負極端子15nがはんだ付けなどにより接続される。また、制御電源14の負極端子14nを基準電位接続点8と同一の平面状の配線パターンにはんだ付けなどにより接続してもよい。
図6に示すように、インピーダンス素子11は、並列接続された複数の半導体スイッチング素子のソース電極が一箇所で接続された負電極接続点と基準電位接続点8との間の駆動回路配線104に設けられ、半導体スイッチング素子をオンさせるための駆動電流が流れる閉回路のインダクタンスを増加させる。このように並列駆動される複数の半導体スイッチング素子のソース電極を負電極接続点で一旦接続する配線パターンとすることにより、並列駆動される複数の半導体スイッチング素子間の配線長や配線太さによるばらつきの影響を小さくすることができる。すなわち、各半導体スイッチング素子に対して、主回路配線105のインピーダンスを共通化することができるため、複数の半導体スイッチング素子を並列接続して並列駆動しても、各半導体スイッチング素子のドレイン電極とソース電極との間に流れる主回路電流のばらつきを小さくすることができるため、アーム回路全体としてより大きな主回路電流を流すことができる。
複数の半導体スイッチング素子を並列に接続して並列駆動する場合には、図6に示す配線パターンの方が好ましいが、図7に示す配線パターンとしてもよい。
図7に示す配線パターンも、図6の配線パターンと同様、破線A−Aより紙面左側の領域が駆動回路配線104であり、破線B−Bより紙面右側の領域が主回路配線105であり、破線A−Aと破線B−Bとの間の領域が共通配線の一部であり、共通配線106である。パワーモジュール10の低電圧側入力端子64、65、66は、それぞれ分離された共通配線106a、106b、106cにはんだ付けなどにより接続され、低電圧側入力端子64は駆動回路配線104aに、低電圧側入力端子65は駆動回路配線104bに、低電圧側入力端子66は駆動回路配線104cにそれぞれ接続されている。駆動回路配線104a、104b、104cは、共通の駆動回路配線104に接続されて基準電位接続点8に接続されるが、駆動回路配線104a、104b、104cのそれぞれにはインピーダンス素子11a、11b、11cが設けられている。また、低電圧側入力端子64、65、66は、それぞれ主回路配線105a、105b、105cに接続された後、共通の主回路配線105に接続される。
なお、本発明の実施の形態1における電力変換装置100の配線パターンは図6および図7に示した配線パターンに限るものではなく、他の構成の配線パターンであってもよい。
次に、本発明の電力変換装置100の作用効果について、さらに詳しく説明する。
図8は、比較例のアーム短絡時の上下アームのドレイン−ソース間電圧とアーム短絡電流およびソース電圧の波形を示す図である。図8の波形は、比較例として、図4に示した電力変換装置100において、インピーダンス素子11および21を除去して、負電極接続点102と基準電位接続点8とを短絡し、負電極接続点103と基準電位接続点9とを短絡した電力変換装置のアーム短絡時の波形を測定したものである。
図8(a)の横軸は時間を示しており、縦軸は上アームのドレイン−ソース間電圧311および下アームのドレイン−ソース間電圧312の電圧の大きさと、上下アームを短絡して流れるアーム短絡電流313の大きさを示している。上アームのドレイン−ソース間電圧は、U相側アーム回路のパワーモジュール10の高電圧側入力端子40と互いに短絡された出力端子61、62、63との間の電圧を測定したものであり、下アームのドレイン−ソース間電圧は、U相側アーム回路のパワーモジュール10の互いに短絡された出力端子61、62、63と負電極接続点102との間の電圧を測定したものである。
図8(b)の横軸は時間を示しており、縦軸は基準電位接続点8を基準とした負電極接続点102の電圧であるソース電圧314を示したものである。なお、前述のように図8(b)の測定時には、インピーダンス素子11は設けておらず、基準電位接続点8と負電極接続点102とは配線により接続されている。
図8(a)に示すように、上アーム側半導体スイッチング素子がオフからオンになり、下アーム側半導体スイッチング素子がオンからオフになる時間T1からT2の間に、アーム短絡が発生し、アーム短絡電流313が流れている。そして、アーム短絡が発生した時間T1からT2の間には、上アームのドレイン−ソース間電圧311および下アームのドレイン−ソース間電圧312に約30MHzの振動が発生しているのが確認でき、この振動の影響はアーム短絡電流313にも振動として現れている。
また、図8(b)に示すようにアーム短絡が発生した時間T1からT2の間では、基準電位接続点8に対する負電極接続点102の電圧であるソース電圧314にも約30MHzの振動が現れている。このソース電圧314の振動は、負電極接続点102と基準電位接続点8との間の配線のインピーダンスに共振電流が流れることで発生した電圧である。
図1の電力変換装置1についての説明で述べたように、アーム短絡が発生した場合には、半導体スイッチング素子をオンさせるための駆動電流が流れる閉回路に共振電流が流れる。この共振電流は、半導体スイッチング素子のゲート電極とソース電極との間の寄生容量と、駆動電流が流れる閉回路のインダクタンスとの直列共振によるものである。従って、半導体スイッチング素子のゲート電極とソース電極との間の寄生容量は共振電流と同じ周波数で充放電される。この結果、半導体スイッチング素子は、ゲート電極とソース電極との間の電気伝導度が共振周波数で変化し、ドレイン−ソース間電圧に振動を発生させる。
半導体スイッチング素子が、MOSFETである場合には、半導体スイッチング素子がIGBTである場合よりもスイッチング速度が速いため、このような高周波のゲート電極とソース電極との間の寄生容量の充放電にも応答し、ドレイン電極とソース電極との間の電圧に振動が発生し易い。さらに、半導体スイッチング素子がケイ素半導体材料で形成されたMOSFETである場合よりも、半導体スイッチング素子がSiC MOSFETである場合の方が、より高電圧、より大電流で使用されるので、正電極と負電極との間の電圧に大きな振動が発生し易い。
よって、本発明の半導体スイッチング素子をオンさせるための駆動電流が流れる閉回路にインピーダンス素子を設けて、アーム短絡時に発生する正電極(ドレイン電極またはコレクタ電極)と負電極(ソース電極またはエミッタ電極)との間の電圧の振動を抑制する効果は、半導体スイッチング素子がIGBTである場合よりもMOSFETである場合の方がより顕著に得られ、半導体スイッチング素子がSiC MOSFETである場合にはさらに顕著な効果が得られる。
図8の波形を得た電力変換装置は、アーム短絡が発生した場合に流れるアーム短絡電流を検出すると、全ての半導体スイッチング素子をオフにして、電力変換装置の動作を停止させる保護機能を備えていた。しかし、図8の波形が得られた際は、電力変換装置の保護機能が正常に動作せず、全ての半導体スイッチング素子をオフにして、電力変換装置の動作を停止させることができなかった。
電力変換装置の保護機能が正常に動作せず、全ての半導体スイッチング素子をオフにして、電力変換装置の動作を停止させることができなかった理由は、図8(a)に示すアーム短絡時のドレイン−ソース間電圧の振動により発生するノイズにより、保護機能が正常に動作しなかったためと考えられる。そこで、図4に示した本発明の電力変換装置100のように、基準電位接続点8と負電極接続点102との間のU相側の下アーム側半導体スイッチング素子をオンさせるための駆動電流が流れる閉回路にインピーダンス素子11を設け、基準電位接続点9と負電極接続点103との間のW相側の下アーム側半導体スイッチング素子をオンさせるための駆動電流が流れる閉回路にインピーダンス素子21を設けて、これらの閉回路のインダクタンスを増加させて、アーム短絡時のドレイン−ソース間電圧の振動を抑制し、保護機能が正常に動作するようにした。
図4に示すように、複数の半導体スイッチング素子を並列に接続して並列駆動する場合には、各半導体スイッチング素子のばらつきによりアーム短絡が発生する確率も高まるので、本発明で説明したようにインピーダンス素子を設けて、アーム短絡時のドレイン−ソース間電圧の振動を抑制することにより保護機能が正常に動作しなくなるのを抑制する効果は大きい。
また、図1に示した電力変換装置1の場合に説明したように、基準電位接続点8および9と下側半導体スイッチング素子のソース電極との間にインピーダンス素子11および21を設けることによって、フィルタリアクトル2、3に流れる電流の転流時に発生するゲート電極とソース電極との間の電圧上昇を抑制し、アーム短絡が発生する確率そのものを低減することができる。
次に、アーム短絡の発生時に半導体スイッチング素子のドレイン−ソース間電圧に振動が発生する原因について説明する。
図9は、比較例の電力変換装置においてアーム短絡時に駆動回路に流れる共振電流の様子を示す図である。また、図10は、比較例の電力変換装置においてアーム短絡時に駆動回路に流れる他の共振電流の様子を示す図である。図9および図10は、基準電位接続点8と負電極接続点102との間にインピーダンス素子を設けていない電力変換装置の一部を示す部分回路図である。
図9の経路315は、アーム短絡発生時に駆動回路に流れる共振電流の経路であり、図10の経路316は、アーム短絡発生時に駆動回路に流れる共振電流の経路である。図9の経路315と図10の経路316とは、一方向の矢印を有する閉回路として示しているが、アーム短絡発生時に駆動回路に流れる共振電流は、経路315および経路316の矢印の方向だけでなく、経路315および経路316の矢印とは逆の方向にも流れる。
例えば、下アーム側の半導体スイッチング素子がオンの状態である場合に、上アーム側の半導体スイッチング素子がオンしてアーム短絡が発生した場合について説明する。この場合、アーム短絡が発生する前の状態では、下アーム側の半導体スイッチング素子がオンの状態で、上アーム側の半導体スイッチング素子がオフの状態であるから、アーム回路に並列に接続された直流電源6の電圧は全てオフ状態である上アーム側の半導体スイッチング素子のドレイン電極とソース電極との間に印加されている。
ここで、ノイズなどの影響により上アーム側の半導体スイッチング素子がオンしてアーム短絡が発生すると、上アーム側の半導体スイッチング素子と下アーム側の半導体スイッチング素子とが、それぞれの自己インピーダンスで定まる分圧比で直流電源6の電圧を分圧する。このため、上アーム側の半導体スイッチング素子と下アーム側の半導体スイッチング素子との接続点であるアーム回路の中点の電圧が急激に変化するので、下アーム側半導体スイッチング素子のドレイン−ソース間電圧の時間変化率であるdV/dtが急激に大きくなる。そして、この大きなdV/dtにより下アーム側半導体スイッチング素子のゲート電極とドレイン電極との間の寄生容量を充電するための電流が、ドレイン電極側からゲート電極側に流れる。そして、この電流をきっかけとして、図9に示す経路315および図10に示す経路316に共振電流が流れる。この共振電流は、アーム短絡により発生したdV/dtの周波数成分が、共振電流の共振振周波数を多く含む場合に、より顕著に現れる。
図9の経路315および図10の経路316に流れる共振電流は、前述のように経路315および経路316に示した矢印の方向と、矢印とは逆向きの方向とに流れる電流である。すなわち、経路315および経路316に流れる共振電流は、下アーム側半導体スイッチング素子のゲート電極とソース電極との間の寄生容量と、経路315および経路316のインダクタンスとからなる直列共振回路に流れる共振電流である。
この共振電流は、より具体的には図9の経路315に示すように、駆動電源である平滑コンデンサ15の正極、正側駆動電源端子43、下アーム側駆動回路38を通って、下アーム側の各半導体スイッチング素子34、35、36のそれぞれのゲート電極に分岐して各ソース電極を通って、低電圧側入力端子64、65、66の接続点である負電極接続点102で合流し、負電極接続点102と基準電位接続点8との配線を通って、平滑コンデンサ15の負極に戻る経路、およびその逆向きの経路に流れる。
さらに、この共振電流は、より具体的には図10の経路316に示すように、駆動電源である平滑コンデンサ15の負極に接続された基準電位接続点8、負側駆動電源端子44、下アーム側駆動回路38を通って、下アーム側の各半導体スイッチング素子34、35、36のそれぞれのゲート電極に分岐して各ソース電極を通って、低電圧側入力端子64、65、66の接続点である負電極接続点102で合流し、負電極接続点102と基準電位接続点8との配線を通って、基準電位接続点8に戻る経路、およびその逆向きの経路に流れる。
従って、図9および図10のように3つの半導体スイッチング素子34、35、36を並列に接続して構成した場合には、下アーム側半導体スイッチング素子のゲート電極とソース電極との間の寄生容量は、半導体スイッチング素子34、35、36のそれぞれのゲート電極とソース電極との間の寄生容量の合成容量となる。また、経路315および経路316のインダクタンスは主として、パワーモジュール10の低電圧側入力端子64、65、66の接続点である負電極接続点102と基準電位接続点8との間の配線のインダクタンスである。
本発明は、図9に示す経路315内あるいは図10に示す経路316内に、経路315あるいは経路316のインダクタンスを増加させるインダクタンスを有するインピーダンス素子を設けることで、アーム短絡時に発生する半導体スイッチング素子のドレイン−ソース間電圧の振動を抑制したものである。従って、インピーダンス素子は、図4に示した負電極接続点102と基準電位接続点8との間、および負電極接続点103と基準電位接続点9との間の他に、平滑コンデンサ15および25の正極と正側駆動電源端子43との間、下アーム側駆動回路38と、各半導体スイッチング素子34、35、36のゲート電極との間、低電圧側入力端子64、65、66と負電極接続点102および103との間、および基準電位接続点8および9と負側駆動電源端子44との間に設けてもアーム短絡時に発生する半導体スイッチング素子のドレイン−ソース間電圧の振動を抑制する効果を得られる。
ただし、制御部7の基準電位と基準電位接続点8および9とは同電位に接続されるため、下アーム側の制御信号入力端子54、55、56の基準電位は制御部7の基準電位と同じである。基準電位接続点8および9と負側駆動電源端子44との間にインピーダンス素子を設けると、制御部7の基準電位と下アーム側駆動回路38の基準電位とが同じでなくなるため、制御部7が出力する制御信号の電圧値が一定であっても、下アーム側駆動回路38の基準電位に対しては制御信号の電圧値が変動することになるため、下アーム側駆動回路38の動作が不安定になる場合がある。従って、インピーダンス素子は基準電位接続点8および9と負側駆動電源端子44との間以外の場所に設ける方が好ましい。
図11は、本発明の実施の形態1における電力変換装置のアーム短絡時の上下アームのドレインーソース間電圧とアーム短絡電流およびソース電圧の波形を示す図である。図11の波形を得た電力変換装置100は、図4に示す構成の電力変換装置であり、図8の波形を得た電力変換装置とは、負電極接続点102と基準電位接続点8との間にインピーダンス素子11を設け、負電極接続点103と基準電位接続点9との間にインピーダンス素子21を設けた点が異なる。インピーダンス素子11および21には、インダクタンスが28nHの面実装型のインダクタであるフェライトビーズインダクタを用いた。このインダクタの直流抵抗は10mΩであり、30MHzでのインピーダンスは5Ωであった。
図11(a)の横軸は時間を示しており、縦軸は上アームのドレイン−ソース間電圧311および下アームのドレイン−ソース間電圧312の電圧の大きさと、上下アームを短絡して流れるアーム短絡電流313の大きさを示している。上アームのドレイン−ソース間電圧は、U相側アーム回路のパワーモジュール10の高電圧側入力端子40と、互いに短絡された出力端子61、62、63との間の電圧を測定したものであり、下アームのドレイン−ソース間電圧は、U相側アーム回路のパワーモジュール10の互いに短絡された出力端子61、62、63と、負電極接続点102との間の電圧を測定したものである。図11(b)の横軸は時間を示しており、縦軸は基準電位接続点8を基準とした負電極接続点102の電圧であるソース電圧314を示したものである。
図11(a)に示すように、時間T3からT4の間において、アーム短絡電流313が流れておりアーム短絡が発生しているのが確認できる。しかし、図8に示した場合と異なり、本発明の電力変換装置100の場合は、図11(a)に示す上アームのドレイン−ソース間電圧311および下アームのドレイン−ソース間電圧312にはほとんど振動が見られない。また、図11(b)に示すように、基準電位接続点8を基準にしたソース電圧314にもほとんど振動は見られない。つまり、本発明の電力変換装置100では、インピーダンス素子11を負電極接続点102と基準電位接続点8との間、およびインピーダンス素子21を負電極接続点103と基準電位接続点9との間に設けることによって、アーム短絡時に発生する半導体スイッチング素子のドレイン−ソース間電圧の振動を抑制できることが分かる。同様に、図9に示した経路315内あるいは図10に示した経路316内に、インピーダンス素子を設けることによっても、アーム短絡時に発生する半導体スイッチング素子のドレイン−ソース間電圧の振動を抑制できる。
図11の波形を得た電力変換装置100では、電力変換装置100の保護機能が正常に動作し、図11の波形を測定した後に全ての半導体スイッチング素子がオフとなり、電力変換装置100が正常に動作を停止した。
次に、図4に示す電力変換装置100において、本発明の効果が得られるインピーダンス素子11および21のインダクタンスの値についての検討結果について説明する。
図12は、本発明の実施の形態1における電力変換装置のインピーダンス素子のインダクタンスの値と効果判定の結果を示す図である。以下においては、U相側について説明するが、W相側もU相側と同様である。図12において、「インダクタNo.」は、図4に示した電力変換装置100のインピーダンス素子11に用いたインダクタの識別番号である。なお、インダクタNo.0は、インピーダンス素子11を設けず、インピーダンス素子11が設けられる配線パターンを配線パターンの断面積より大きい断面積を有する導線を用いて最短距離で短絡した状態であることを意味する。「インダクタンス[nH]」は、インダクタNo.で表されたインダクタのインダクタンスである。
また、「共振周波数[MHz]」は、半導体スイッチング素子34、35、36をオンさせるための駆動電流が流れる閉回路のインダクタンスと、半導体スイッチング素子34、35、36のゲート電極とソース電極との間の寄生容量の合成容量とからなる直列共振回路の共振周波数である。半導体スイッチング素子34、35、36それぞれのゲート電極とソース電極との間の寄生容量は、1nFであったので、3つの半導体スイッチング素子を並列に接続した合成容量は3nFであった。また、半導体スイッチング素子をオンさせる駆動電流が流れる閉回路のインダクタンスは、インピーダンス素子11の接続部を最短距離で短絡したインダクタNo.0の場合、10nHであった。従って、インダクタNo.1〜4の場合の半導体スイッチング素子をオンさせる駆動電流が流れる閉回路のインダクタンスは、図12に示したインダクタNo.1〜4のインダクタンスに10nHを加えた大きさである。
また、「周波数比(fr/f0)」は、インダクタNo.1〜4の場合のインピーダンス素子を含む半導体スイッチング素子をオンさせるための駆動電流が流れる閉回路のインダクタンスと半導体スイッチング素子のゲート電極とソース電極との間の寄生容量とから定まる共振周波数frと、インダクタNo.0の場合のインピーダンス素子を除いた半導体スイッチング素子をオンさせるための駆動電流が流れる閉回路のインダクタンスと半導体スイッチング素子のゲート電極とソース電極との間の寄生容量とから定まる共振周波数f0との比である。なお、インダクタNo.0では、閉回路中にインピーダンス素子が含まれないため、インピーダンス素子を除いた状態、すなわちインピーダンス素子11が設けられる配線パターンを配線パターンの断面積より大きい断面積を有する導線を用いて最短距離で短絡した状態の共振周波数をfrとした。従って、インダクタNo.0では、frとf0とが共に29MHzであるので、周波数比は1.0である。
また、「判定」は、電力変換装置100にアーム短絡が発生した場合に、保護機能が正常に動作して、電力変換装置100が正常に動作を停止したか否かで判定した結果である。電力変換装置100が正常に動作を停止した場合は判定結果を「○」とし、保護機能が正常に動作せず電力変換装置100が動作を停止しなかった場合は判定結果を「×」とした。
図12に示すように、インダクタNo.2〜4の場合は、直流電源6の電圧値が定格電圧の下限値および上限値でアーム短絡が発生した場合に、保護機能が正常に動作して電力変換装置100が正常に動作を停止した。従って、判定結果は○である。一方、インダクタNo.1の場合は、直流電源6の電圧値が定格電圧の下限値の場合には保護機能が正常に動作したが、直流電源6の電圧値が定格電圧の上限値の場合には保護機能が正常に動作せず電力変換装置100が動作を停止しなかった。従って、判定結果は×である。なお、インダクタNo.0のインピーダンス素子を設けていない場合には、直流電源6の電圧値が定格電圧の下限値および上限値のいずれの場合であっても保護機能が正常に動作せず電力変換装置100が動作を停止しなかった。従って、インダクタNo.0の場合も判定結果は×である。
図12から分かるように、インピーダンス素子11であるインダクタのインダクタンスが28nH以上の場合に判定結果が○となっている。そして、インダクタNo.2では周波数比が0.5、インダクタNo.3では周波数比が0.3、インダクタNo.4では周波数比が0.2となっている。つまり、図4において、インピーダンス素子11を設けた場合の下アーム側半導体スイッチング素子をオンさせるための駆動電流が流れる閉回路の共振周波数frが、インピーダンス素子11の両端を短絡した場合の下アーム側半導体スイッチング素子をオンさせるための駆動電流が流れる閉回路の共振周波数f0の1/2以下になるように、インピーダンス素子11のインダクタンスを設定するとよい。これにより、アーム短絡が発生した場合の半導体スイッチング素子のドレイン−ソース間電圧の振動を抑制し、保護機能が正常に動作して電力変換装置100の動作を正常に停止させることができる。
なお、インピーダンス素子11を除いた場合の下アーム側半導体スイッチング素子をオンさせるための駆動電流が流れる閉回路のインダクタンスは、上述のようにインピーダンス素子11を配線パターンの断面積より大きな断面積を有する導線を用いて最短距離で短絡し、インピーダンスアナライザ等により測定してもよく、例えば、図8に示したアーム短絡時のドレイン−ソース間電圧の振動の周波数から算出してもよい。上述のように図8のドレイン−ソース間電圧の振動の周波数は、下アーム側半導体スイッチング素子のゲート電極とソース電極との間の寄生容量と駆動電流が流れる閉回路のインダクタンスとからなる共振回路の共振周波数であるから、下アーム側半導体スイッチング素子のゲート電極とソース電極との間の寄生容量をインピーダンスアナライザ等で測定することによって、駆動電流が流れる閉回路のインダクタンスを容易に算出することができる。
以上のように本発明の実施の形態1によれば、下アーム側の半導体スイッチング素子をオンさせる駆動電流が流れる閉回路内に、この閉回路のインダクタンスを増加させるインダクタンスを有するインピーダンス素子を設けたので、アーム短絡が発生した場合の半導体スイッチング素子のドレイン−ソース間電圧の振動を抑制することができる。この結果、アーム短絡が発生しても、電力変換装置に設けられた保護機能を正常に動作させて、電力変換装置の動作を正常に停止させることができる。
また、下アーム側の半導体スイッチング素子をオンさせる駆動電流が流れる閉回路内に、この閉回路のインダクタンスを増加させるインダクタンスを有するインピーダンス素子を設けたので、電流転流時における半導体スイッチング素子のゲート電極とソース電極との間の電圧上昇を抑制し、アーム短絡が発生する確率を低減することができる。
さらに、下アーム側の半導体スイッチング素子をオンさせる駆動電流が流れる閉回路内に設けたインピーダンス素子のインダクタンスを、インピーダンス素子を設けた場合の閉回路の共振周波数が、インピーダンス素子の両端を短絡した場合の閉回路の共振周波数の1/2以下となるようにしたので、アーム短絡が発生した場合の半導体スイッチング素子のドレイン−ソース間電圧の振動をより確実に抑制することができる。この結果、アーム短絡が発生しても、電力変換装置に設けられた保護機能をより確実に正常に動作させて、電力変換装置の動作を正常に停止させることができる。
また、アーム回路の上アームおよび下アームをそれぞれ複数の半導体スイッチング素子を並列に接続して構成し、複数の半導体スイッチング素子を並列駆動したので、電力変換装置の主回路電流を増大させることができる。さらに、下アームを構成する複数の半導体スイッチング素子の全部の負電極を接続した負電極接続点を設け、負電極接続点と基準電位接続点との間にインピーダンス素子を設けたので、複数の半導体スイッチング素子に流れる電流のばらつきを小さくすることができる。
さらに、半導体スイッチング素子を1つのパワーモジュールの内部に設け、インピーダンス素子をパワーモジュールの外部に設けたので、電力変換装置の配線パターンが変更となり駆動電流が流れる閉回路のインダクタンスが変化した場合であっても、インピーダンス素子を自在に取り換えて調整することができる。
実施の形態2.
図13は、本発明の実施の形態2における電力変換装置の構成を示す回路図である。図13において、図4と同じ符号を付けたものは、同一または対応する構成を示しており、その説明を省略する。図13に示す電力変換装置200は、本発明の実施の形態1の図4に示した電力変換装置100とは、半導体スイッチング素子に流れる電流の大きさを検出する電流検出器を備えており、電流検出器によりアーム短絡電流が検出された場合に、パワーモジュールが半導体スイッチング素子のスイッチングを停止する保護機能を備えた構成が相違している。
図13に示すように電力変換装置200は、U相側アーム回路とW相側アーム回路とがパワーモジュール210で構成されている。パワーモジュール210は、実施の形態1で説明したパワーモジュール10と同様の構成をしているが、パワーモジュール10とは異なり、下アーム側駆動回路38に接続された電流検出入力端子57を備えており、電流検出入力端子57に入力された電圧の大きさに基づいて、各半導体スイッチングをオフする駆動電圧を出力し、各半導体スイッチング素子のスイッチングを停止する保護機能を備えている。
U相側のパワーモジュール210の低電圧側入力端子64、65、66は負電極接続点102に接続されて、負電極接続点102と直流電源6の負極に接続された負極接続点101との間に電流検出器であるシャント抵抗18が接続されている。シャント抵抗18は数mΩ程度の電気抵抗を有する抵抗器であり、シャント抵抗18の両端に発生する電圧を増幅器19で増幅してパワーモジュール210の電流検出入力端子57に入力している。シャント抵抗18と負極接続点101との接続点と、基準電位接続点8との間には、インピーダンス素子11が設けられている。インピーダンス素子11は、実施の形態1で説明したように、下アーム側半導体スイッチング素子をオンさせるための駆動電流が流れる閉回路内に設けられ、この閉回路のインダクタンスを増加させるインダクタンスを有する。
同様に、W相側のパワーモジュール210の低電圧側入力端子64、65、66は負電極接続点103に接続されて、負電極接続点103と直流電源6の負極に接続された負極接続点101との間に電流検出器であるシャント抵抗28が接続されている。シャント抵抗28の両端に発生する電圧は増幅器29で増幅されて、W相側のパワーモジュール210の電流検出入力端子57に入力される。シャント抵抗28と負極接続点101との接続点と、基準電位接続点9との間には、インピーダンス素子11と同様のインピーダンス素子21が設けられている。
パワーモジュール210の下アーム側駆動回路38は、電流検出入力端子57に入力された電圧値に応じて、下アーム側半導体スイッチング素子34、35、36のそれぞれのゲート電極に印加する駆動電圧を制御する。電流検出入力端子57に入力される電圧値が所定の閾値以下の場合には、下アーム側駆動回路38は、制御信号入力端子54、55、56に入力された制御信号に基づき、下アーム側半導体スイッチング素子34、35、36のオンとオフとを制御する駆動電圧を出力する。一方、電流検出入力端子57に入力される電圧値が所定の閾値よりも大きい場合には、下アーム側駆動回路38は、制御信号入力端子54、55、56に入力された制御信号に関わらず、下アーム側半導体スイッチング素子34、35、36をオフにする駆動電圧、すなわち0V近辺の電圧を出力し、下アーム側半導体スイッチング素子34、35、36のスイッチングを停止する。
なお、図13ではインピーダンス素子11の一端をシャント抵抗18と負極接続点101との間に接続したが、負電極接続点102とシャント抵抗18との間に接続してもよい。同様に、図13ではインピーダンス素子21の一端をシャント抵抗28と負極接続点101との間に接続したが、負電極接続点103とシャント抵抗28との間に接続してもよい。すなわち、図13では、主回路電流と駆動回路電流とが流れる共通配線に電流検出器であるシャント抵抗を設けているが、主回路配線に電流検出器であるシャント抵抗を設けてもよい。
また、図13では電流検出器としてシャント抵抗を用いた場合について示したが、カレントトランスなど他の構成の電流検出器を用いてもよい。増幅器19および29は、電流検出器の構成に関わらず、電流検出器に流れる電流の大きさに応じた電圧を出力し、パワーモジュール210の電流検出入力端子57に出力する。
図14は、本発明の実施の形態2における電力変換装置の配線パターンの一部を示す部分パターン図である。また、図15は、本発明の実施の形態2における電力変換装置の他の配線パターンの一部を示す部分パターン図である。図14および図15の配線パターンは、図13に示した電力変換装置200のパワーモジュール210の低電圧側入力端子64、65、66と負側駆動電源端子44との間およびその周辺の配線パターンを示したものである。
図14において、破線B−Bは共通配線と主回路配線との境界であり、破線B−Bより紙面左側が共通配線106、破線B−Bより紙面右側が主回路配線105である。また、破線107は共通配線と駆動回路配線との境界であり、破線107より紙面上側が共通配線106、破線107より紙面下側が駆動回路配線104である。パワーモジュール210の低電圧側入力端子64,65,66が平面状のパターンで形成された負電極接続点にはんだ付けなどにより接続され、負電極接続点が設けられる共通配線106にシャン卜抵抗18の一端が接続されている。シヤント抵抗18の他端には主回路電流が流れる主回路配線105と、駆動電流が流れる駆動回路配線104とが接続されている。
駆動回路配線104は、平面状のパターンで形成された基準電位接続点8に接続されており、駆動回路配線104内にインピーダンス素子11が設けられている。基準電位接続点8には、駆動電源である平滑コンデンサ15の負極端子15nがはんだ付けなどにより接続され、負極端子15nに近接してパワーモジュール210の負側駆動電源端子44がはんだ付けなどにより接続されている。また、基準電位接続点8には、制御電源14の負極端子14nがはんだ付けなどにより接続されている。
図14に示すように、3つの下アーム側半導体スイッチング素子34、35、36を並列に接続して並列駆動させるパワーモジュール210の低電圧側入力端子64、65、66を平面状の負電極接続点に接続して共通のシャント抵抗18を設けることにより、各半導体スイッチング素子に接続された配線やシャント抵抗18によるインピーダンスを各半導体スイッチング素子で共通にすることができる。これにより、各半導体スイッチング素子に流れる電流のばらつきを小さくすることができ、半導体スイッチング素子を並列駆動するアーム回路全体として主回路電流の上限値を増大することができる。
図15において、破線B−Bは共通配線と主回路配線との境界であり、破線B−Bより紙面左側が共通配線、紙面右側が主回路配線である。また、破線107a、破線107b、破線107cはそれぞれ共通配線と駆動回路配線との境界であり、破線107a、破線107b、破線107cより紙面上側がそれぞれ共通配線、紙面下側がそれぞれ駆動回路配線である。図15に示す配線パターンは、パワーモジュール210の低電圧側入力端子64、65、66を個別の共通配線106a、106b、106cにはんだ付けなどにより接続して、共通配線106a、106b、106cのそれぞれにシャント抵抗18a、18b、18cを設けたものである。シャント抵抗18aには主回路配線105aと駆動回路配線104aとが接続され、シャント抵抗18bには主回路配線105bと駆動回路配線104bとが接続され、シャント抵抗18cには主回路配線105cと駆動回路配線104cとが接続される。そして、主回路配線105a、105b、105cは1つの主回路配線105に接続される。
駆動回路配線104a、104b、104cにはそれぞれインピーダンス素子11a、11b、11cが設けられ、駆動回路配線104a、104b、104cは1つの駆動回路配線104に接続されて、平面状のパターンで形成された基準電位接続点8に接続される。そして、基準電位接続点8には、駆動電源である平滑コンデンサ15の負極端子15n、パワーモジュール210の負側駆動電源端子44および制御電源14の負極端子14nがはんだ付けなどにより接続される。
図15に示すように、3つの下アーム側半導体スイッチング素子34、35、36のソース電極が接続された低電圧側入力端子64、65、66をそれぞれ別個の共通配線106a、106b、106cに接続して、それぞれ別個のシャント抵抗18a、18b、18cを設けることで、各半導体スイッチング素子に流れる電流を個別に検出することが可能になる。しかし、3つの下アーム側半導体スイッチング素子34、35、36を並列駆動する場合には、図15のような配線パターンにすると、各半導体スイッチング素子に接続された配線のインピーダンスにばらつきが生じるため、各半導体スイッチング素子を流れる電流にばらつきが生じ、アーム回路全体として主回路電流の上限値が、図14に示した配線パターンより低下する場合がある。
従って、本発明の実施の形態2の電力変換装置200の配線パターンとしては、図15に示すように構成してもよいが、図14に示すように構成する方がより好ましい。
次に、電力変換装置200の動作について説明する。
以下、U相側について動作を説明するが、W相側においてもU相側と同様である。図13に示す電力変換装置200において、U相側アーム回路でアーム短絡が発生すると、シャント抵抗18にアーム短絡電流が流れ、シャント抵抗18の両端にはアーム短絡電流の大きさに比例した電圧が発生する。増幅器19は、シャント抵抗18の両端の電圧を増幅して、パワーモジュール210の電流検出入力端子57に出力する。
アーム短絡電流は、通常動作における主回路電流より大きいので、シャント抵抗18にアーム短絡電流が流れると、電流検出入力端子57には閾値電圧より大きい電圧が入力される。下アーム側駆動回路38は、電流検出入力端子57に閾値電圧より大きい電圧が入力されると、半導体スイッチング素子34、35、36をオフにする駆動電圧を各半導体スイッチング素子のゲート電極に出力する。この結果、下アーム側半導体スイッチング素子34、35、36がオフになりアーム短絡が解消される。
なお、パワーモジュール210は、電流検出入力端子57に入力された電圧値に基づいて、半導体スイッチング素子をオフにする駆動電圧を下アーム側駆動回路38と共に上アーム側駆動回路37からも出力してよい。
このように、パワーモジュール210が電流検出入力端子57を備え、電流検出入力端子57に入力された電圧値に基づいて半導体スイッチング素子をオフにする保護機能を有している場合、ノイズによる誤動作を少なくして保護をより確実に行うことができる。しかしながら、実施の形態1で説明したように、アーム短絡発生時に半導体スイッチング素子のドレイン−ソース間電圧に振動が発生すると、このドレイン−ソース間電圧の振動によりノイズが発生し、パワーモジュール210の保護機能が正常に動作しない場合がある。特に、シャント抵抗などの電流検出器に流れる電流の大きさに応じて発生する電圧は小さいのでノイズの影響を受けやすい。
図13に示すように、本発明の実施の形態2の電力変換装置200は、半導体スイッチング素子のソース電極に接続された配線と基準電位接続点8および9との間に、インピーダンス素子11および21を設けているので、実施の形態1で説明したようにアーム短絡が発生した場合の半導体スイッチング素子のドレイン−ソース間電圧の振動を抑制することができる。この結果、半導体スイッチング素子のドレイン−ソース間電圧の振動により発生するノイズが抑制されて、パワーモジュール210の保護機能が正常に動作しなくなることが抑制され、アーム短絡が発生しても電力変換装置200の動作を正常に停止することができる。
また、実施の形態1で説明したように、インピーダンス素子11および21を設けることによって、電流転流時のゲート電極とソース電極との間の電圧上昇を低減することができるので、アーム短絡そのものが発生する確率を低減することができる。
以上のように、本発明の実施の形態2によれば、下アーム側の半導体スイッチング素子をオンさせる駆動電流が流れる閉回路内に、この閉回路のインダクタンスを増加させるインダクタンスを有するインピーダンス素子を設け、下アーム側の半導体スイッチング素子の負電極と直流電源6の負極に接続された負極接続点101との間に電流検出器を設け、電流検出器の検出結果に基づいて半導体スイッチング素子の駆動電圧を制御する構成としたので、アーム短絡が発生した場合の半導体スイッチング素子のドレイン−ソース間電圧の振動を抑制しノイズを抑制することができ、電流検出器がアーム短絡を検出した場合に保護機能を正常に動作させて、電力変換装置の動作を正常に停止させることができる。
なお、上記実施の形態1および2では、電力変換装置が、上アームと下アームとにそれぞれ半導体スイッチング素子を設けたアーム回路を2組備えたフルブリッジ回路で構成されたDC/ACインバータである場合について説明したが、電力変換装置は、アーム回路を1組備えたハーフブリッジ回路で構成されたDC/ACインバータであってもよい。また、電力変換装置は、アーム回路が3組設けられて3相交流電圧を出力する3相インバータであってもよい。また、電力変換装置は、アーム回路を用いて同期整流を行う昇圧コンバータあるいは降圧コンバータなどのDC/DCコンバータであってもよい。さらに、電力変換装置は、下アームのみ半導体スイッチング素子を備え、上アームをダイオードで構成したDC/DCコンバータであってもよい。
1、100、200 電力変換装置
8、9 基準電位接続点
10、210 パワーモジュール
11、21 インピーダンス素子
14、24 制御電源
15、25 平滑コンデンサ
31、32、33、131、231 半導体スイッチング素子
34、35、36、134、234 半導体スイッチング素子
38、138、238 下アーム側駆動回路
43 正側駆動電源端子
44 負側駆動電源端子
101 負極接続点
102、103 負電極接続点
104、104a、104b、104c 駆動回路配線
105、105a、105b、105c 主回路配線
106、106a、106b、106c 共通配線

Claims (14)

  1. 正電極、負電極、および前記負電極を基準として駆動電圧が印加される制御電極を有する第1の半導体スイッチング素子と、
    正極と負極とを有し、前記第1の半導体スイッチング素子を導通させる駆動電流を前記制御電極に供給する駆動電源と、
    前記駆動電源の正極、前記駆動電源の負極、前記第1の半導体スイッチング素子の負電極、および前記第1の半導体スイッチング素子の制御電極に接続され、前記第1の半導体スイッチング素子の制御電極に前記駆動電圧を出力する駆動回路と、
    前記駆動電流が流れる閉回路内に設けられて、前記閉回路のインダクタンスを増加させるインピーダンス素子とを備え、
    前記閉回路は、前記駆動電源の正極、前記第1の半導体スイッチング素子の制御電極、前記第1の半導体スイッチング素子の負電極、および前記駆動電源の負極を含み、
    前記インピーダンス素子は、前記制御電極及び前記負電極の間の寄生容量と、前記閉回路のインダクタンスからなる共振回路の共振周波数を低くする特性を有する、電力変換装置。
  2. 前記駆動回路は、前記駆動電源の負極と前記第1の半導体スイッチング素子の負電極とが接続された基準電位接続点に接続され、
    前記インピーダンス素子は、前記第1の半導体スイッチング素子の負電極と前記基準電位接続点との間に設けられた請求項1に記載の電力変換装置。
  3. 主回路電流を供給する直流電源の負極に接続された負極接続点と、
    前記第1の半導体スイッチング素子の負電極に接続され、前記主回路電流と前記駆動電流とが流れる共通配線と、
    前記共通配線と前記負極接続点とを接続し、前記主回路電流が流れる主回路配線と、
    前記共通配線と前記基準電位接続点とを接続し、前記駆動電流が流れる駆動回路配線と、を備え、
    前記インピーダンス素子は、前記駆動回路配線内に設けられた請求項2に記載の電力変換装置。
  4. 前記駆動回路は、前記第1の半導体スイッチング素子の制御電極に接続されたゲート抵抗を有し、
    前記インピーダンス素子は、前記ゲート抵抗とは別に設けられた請求項1から3のいずれか1項に記載の電力変換装置。
  5. 前記第1の半導体スイッチング素子は、それぞれが前記正電極、前記負電極、および前記制御電極を有する複数の第1の半導体スイッチング素子を並列に接続して構成された請求項1から4のいずれか1項に記載の電力変換装置。
  6. 前記第1の半導体スイッチング素子は、それぞれが前記正電極、前記負電極、および前記制御電極を有する複数の第1の半導体スイッチング素子を並列に接続して構成され、
    前記電力変換装置は、
    複数の前記第1の半導体スイッチング素子の全部の負電極が接続された負電極接続点をさらに備え、
    前記インピーダンス素子は、前記負電極接続点と前記基準電位接続点との間に接続された請求項2または3に記載の電力変換装置。
  7. 複数の前記第1の半導体スイッチング素子は、同時に導通する期間を有する請求項5または6に記載の電力変換装置。
  8. 前記第1の半導体スイッチング素子の正電極に直列に接続された第2の半導体スイッチング素子をさらに備えた請求項1から7のいずれか1に記載の電力変換装置。
  9. 前記第2の半導体スイッチング素子は、複数の前記第2の半導体スイッチング素子を並列に接続して構成された請求項8に記載の電力変換装置。
  10. 前記第1の半導体スイッチング素子の負電極に接続された電流検出器を備え、
    前記駆動回路は、前記電流検出器の検出結果に基づいて前記駆動電圧の出力を制御する請求項1から9のいずれか1項に記載の電力変換装置。
  11. 前記第1の半導体スイッチング素子は、1つのパワーモジュールの内部に設けられ、
    前記インピーダンス素子は、前記パワーモジュールの外部に設けられた請求項1から10のいずれか1項に記載の電力変換装置。
  12. 記インピーダンス素子は、前記インピーダンス素子を含む前記閉回路のインダクタンスと前記寄生容量とから定まる共振周波数が、前記インピーダンス素子を除いた前記閉回路のインダクタンスと前記寄生容量とから定まる共振周波数の1/2以下となるインダクタンスを有する請求項1から11のいずれか1項に記載の電力変換装置。
  13. 前記インピーダンス素子は、周波数が高くなるに従い抵抗成分が増加する特性を有する、請求項1から12のいずれか1項に記載の電力変換装置。
  14. 前記第1の半導体スイッチング素子は、炭化ケイ素半導体材料で形成されたMOSFETである請求項1から13のいずれか1項に記載の電力変換装置。
JP2018505221A 2016-03-16 2016-08-24 電力変換装置 Active JP6661002B2 (ja)

Applications Claiming Priority (3)

Application Number Priority Date Filing Date Title
JP2016052293 2016-03-16
JP2016052293 2016-03-16
PCT/JP2016/074630 WO2017158867A1 (ja) 2016-03-16 2016-08-24 電力変換装置

Publications (2)

Publication Number Publication Date
JPWO2017158867A1 JPWO2017158867A1 (ja) 2018-11-15
JP6661002B2 true JP6661002B2 (ja) 2020-03-11

Family

ID=59852057

Family Applications (1)

Application Number Title Priority Date Filing Date
JP2018505221A Active JP6661002B2 (ja) 2016-03-16 2016-08-24 電力変換装置

Country Status (4)

Country Link
EP (1) EP3432460B1 (ja)
JP (1) JP6661002B2 (ja)
CN (1) CN109075720B (ja)
WO (1) WO2017158867A1 (ja)

Families Citing this family (6)

* Cited by examiner, † Cited by third party
Publication number Priority date Publication date Assignee Title
JP7300370B2 (ja) * 2019-11-05 2023-06-29 株式会社日立製作所 半導体装置の駆動装置および駆動方法、並びに電力変換装置
JP7296331B2 (ja) * 2020-03-18 2023-06-22 株式会社 日立パワーデバイス ゲート駆動装置およびゲート駆動方法、パワー半導体モジュール、並びに電力変換装置
JP7060120B1 (ja) * 2021-02-04 2022-04-26 株式会社明電舎 電力変換装置の制御装置および制御方法
CN116057691A (zh) 2021-02-12 2023-05-02 富士电机株式会社 半导体模块
JP7406520B2 (ja) * 2021-03-22 2023-12-27 株式会社 日立パワーデバイス 上アーム駆動回路、電力変換装置の駆動回路、電力変換装置
WO2025253621A1 (ja) * 2024-06-07 2025-12-11 三菱電機株式会社 電力変換器

Family Cites Families (9)

* Cited by examiner, † Cited by third party
Publication number Priority date Publication date Assignee Title
JP3198733B2 (ja) * 1993-06-30 2001-08-13 ダイキン工業株式会社 インバータのパワートランジスタ駆動回路
JP4803928B2 (ja) * 2001-09-13 2011-10-26 東芝エレベータ株式会社 電力変換装置
JP4970009B2 (ja) * 2006-11-29 2012-07-04 Tdkラムダ株式会社 スイッチング素子のゲート駆動回路
JP2015033222A (ja) * 2013-08-02 2015-02-16 株式会社 日立パワーデバイス 半導体素子の駆動装置およびそれを用いる電力変換装置
JP6190280B2 (ja) * 2014-01-22 2017-08-30 株式会社日立製作所 半導体駆動装置ならびにこれを用いた電力変換装置
WO2015111215A1 (ja) * 2014-01-27 2015-07-30 株式会社日立製作所 スイッチング素子駆動装置
KR101639488B1 (ko) * 2014-12-10 2016-07-13 현대모비스 주식회사 암 쇼트 방지를 위한 게이트 구동 회로 및 방법
JP6806426B2 (ja) * 2015-04-03 2021-01-06 富士電機株式会社 ゲート駆動装置及びそれを備えた電力変換装置
JP2016001991A (ja) * 2015-07-29 2016-01-07 三菱電機株式会社 電動機駆動装置、及び冷凍空調装置

Also Published As

Publication number Publication date
WO2017158867A1 (ja) 2017-09-21
EP3432460A1 (en) 2019-01-23
EP3432460A4 (en) 2019-04-17
CN109075720A (zh) 2018-12-21
CN109075720B (zh) 2020-09-29
JPWO2017158867A1 (ja) 2018-11-15
EP3432460B1 (en) 2022-04-06

Similar Documents

Publication Publication Date Title
JP6661002B2 (ja) 電力変換装置
US6459597B1 (en) Electric power conversion apparatus with noise reduction device
US7948276B2 (en) Gate driver circuit, switch assembly and switch system
EP3305018B1 (en) Power supply apparatus for induction heating
CN104081640A (zh) 高频电流降低装置
JP6962945B2 (ja) パワー半導体モジュールおよびそれを用いた電力変換装置
JP2014117112A (ja) 半導体制御装置及び電力変換装置
US9906009B2 (en) Semiconductor module
US20180375423A1 (en) Semiconductor device, power converting device, driving device, vehicle, and elevator
US11824464B2 (en) Semiconductor device with switching element protection
US11362654B2 (en) Auxiliary circuit
JP5365035B2 (ja) 電力変換装置
JP7209447B2 (ja) 高速電流感知およびトランジスタタイミング制御のためのシステムおよび方法
JP2017146154A (ja) 電流検出装置および半導体装置
JP2015033149A (ja) 半導体素子の駆動装置及びそれを用いた電力変換装置
US11050358B2 (en) Power module with built-in drive circuit
KR102117719B1 (ko) 전력 반도체 회로
JP2015033222A (ja) 半導体素子の駆動装置およびそれを用いる電力変換装置
CN107710580A (zh) 用于转换器的快速开关的电路布置
JP5482211B2 (ja) 電力変換装置のスナバ回路
JP2012170200A (ja) 負荷制御装置
JP5840514B2 (ja) 漏れ電流抑制回路
JP5899947B2 (ja) パワー半導体モジュールおよび電力変換装置
Chang et al. An Improved di/dt-Based Dynamic Current RC Sensing Method for Paralleled SiC MOSFETs
JP2023028645A (ja) パワー半導体モジュール、並びにそれを用いたモータ駆動システム

Legal Events

Date Code Title Description
A521 Request for written amendment filed

Free format text: JAPANESE INTERMEDIATE CODE: A523

Effective date: 20180727

A621 Written request for application examination

Free format text: JAPANESE INTERMEDIATE CODE: A621

Effective date: 20180727

A131 Notification of reasons for refusal

Free format text: JAPANESE INTERMEDIATE CODE: A131

Effective date: 20190521

A521 Request for written amendment filed

Free format text: JAPANESE INTERMEDIATE CODE: A523

Effective date: 20190618

A131 Notification of reasons for refusal

Free format text: JAPANESE INTERMEDIATE CODE: A131

Effective date: 20190903

A521 Request for written amendment filed

Free format text: JAPANESE INTERMEDIATE CODE: A523

Effective date: 20191028

TRDD Decision of grant or rejection written
A01 Written decision to grant a patent or to grant a registration (utility model)

Free format text: JAPANESE INTERMEDIATE CODE: A01

Effective date: 20200114

A61 First payment of annual fees (during grant procedure)

Free format text: JAPANESE INTERMEDIATE CODE: A61

Effective date: 20200210

R150 Certificate of patent or registration of utility model

Ref document number: 6661002

Country of ref document: JP

Free format text: JAPANESE INTERMEDIATE CODE: R150

R250 Receipt of annual fees

Free format text: JAPANESE INTERMEDIATE CODE: R250

R250 Receipt of annual fees

Free format text: JAPANESE INTERMEDIATE CODE: R250

R250 Receipt of annual fees

Free format text: JAPANESE INTERMEDIATE CODE: R250

R250 Receipt of annual fees

Free format text: JAPANESE INTERMEDIATE CODE: R250