JP6650488B2 - 高圧ボールバルブ用ボールシートの固着方法 - Google Patents

高圧ボールバルブ用ボールシートの固着方法 Download PDF

Info

Publication number
JP6650488B2
JP6650488B2 JP2018109479A JP2018109479A JP6650488B2 JP 6650488 B2 JP6650488 B2 JP 6650488B2 JP 2018109479 A JP2018109479 A JP 2018109479A JP 2018109479 A JP2018109479 A JP 2018109479A JP 6650488 B2 JP6650488 B2 JP 6650488B2
Authority
JP
Japan
Prior art keywords
seat
ball
retainer
valve
caulking
Prior art date
Legal status (The legal status is an assumption and is not a legal conclusion. Google has not performed a legal analysis and makes no representation as to the accuracy of the status listed.)
Active
Application number
JP2018109479A
Other languages
English (en)
Other versions
JP2018146114A (ja
Inventor
統 渡辺
統 渡辺
知哉 山▲崎▼
知哉 山▲崎▼
Current Assignee (The listed assignees may be inaccurate. Google has not performed a legal analysis and makes no representation or warranty as to the accuracy of the list.)
Kitz Corp
Original Assignee
Kitz Corp
Priority date (The priority date is an assumption and is not a legal conclusion. Google has not performed a legal analysis and makes no representation as to the accuracy of the date listed.)
Filing date
Publication date
Application filed by Kitz Corp filed Critical Kitz Corp
Priority to JP2018109479A priority Critical patent/JP6650488B2/ja
Publication of JP2018146114A publication Critical patent/JP2018146114A/ja
Application granted granted Critical
Publication of JP6650488B2 publication Critical patent/JP6650488B2/ja
Active legal-status Critical Current
Anticipated expiration legal-status Critical

Links

Images

Classifications

    • YGENERAL TAGGING OF NEW TECHNOLOGICAL DEVELOPMENTS; GENERAL TAGGING OF CROSS-SECTIONAL TECHNOLOGIES SPANNING OVER SEVERAL SECTIONS OF THE IPC; TECHNICAL SUBJECTS COVERED BY FORMER USPC CROSS-REFERENCE ART COLLECTIONS [XRACs] AND DIGESTS
    • Y02TECHNOLOGIES OR APPLICATIONS FOR MITIGATION OR ADAPTATION AGAINST CLIMATE CHANGE
    • Y02PCLIMATE CHANGE MITIGATION TECHNOLOGIES IN THE PRODUCTION OR PROCESSING OF GOODS
    • Y02P90/00Enabling technologies with a potential contribution to greenhouse gas [GHG] emissions mitigation
    • Y02P90/45Hydrogen technologies in production processes

Landscapes

  • Filling Or Discharging Of Gas Storage Vessels (AREA)
  • Taps Or Cocks (AREA)

Description

本発明は、特に、水素等の高圧流体用に適したボールバルブ用ボールシートの固着方法に関する。
水素等の高圧流体が流れる配管設備などでは、高圧流体の漏れを確実に防止するために、高圧用のトラニオン型ボールバルブが用いられる。この種のボールバルブは、通常、ボール弁体がステムとトラニオンとを介して回転自在のボデー内に支持され、ボデー内にはボールシートがリテーナ部材に保持された状態で装着され、このボールシートがリテーナ部材を介してスプリングのばね力を介してボール弁体に密着状態に装着された構造に設けられる。その際、リテーナ部材とボデーとの間はシール用Oリングによってシールされている。
このような高圧流体用のボールバルブとして、例えば、特許文献1の高圧用トラニオン型ボール弁が開示されている。このボール弁は、特に燃料電池自動車用水素ステーション用のバルブとして適しており、高圧の水素に対して弁座の密封性を長期に渡って維持して耐久性を確保するための観点から、金属製のボールシートすなわちメタルシートがボールとのシール用として装着された構造に設けられている。
一方、ボールバルブの弁座シール性を向上するための別の技術として、特許文献2のボールバルブが開示されている。このボールバルブでは、樹脂製のボールシート、すなわちソフトシートがボールとのシール用として設けられている。この場合、樹脂製ボールシートがシートリテーナに固定され、バネによりボール側に付勢された構造になっている。
これらの高圧流体用ボールバルブでは、ボールとシート側との摺動性を確保しつつ密封性を向上させる必要がある。
これらボールバルブは、例えば、特許文献3に示される水素ステーションにおいて、ディスペンサー内の遮断弁として用いられる。遮断弁は、車への水素充填部位となる充填ノズルに接続ホースで接続され、この遮断弁の開閉により車の水素タンクに接続ホース、充填ノズルを介して水素が供給されるように設けられている。
国際公開第2013/129560号 米国特許第8490945号明細書 特開2012−237437号公報 米国特許出願公開第2005/0205826号明細書
高圧流体用ボールバルブに対して、いわゆる超高圧流体と呼ばれる90MPa以上の超高圧流体が流れる場合、ボールとシートとの密封性を確保して漏れを防ぐことがより困難となる。しかも、摺動性も確保する必要があることから、特許文献1のようなメタルシートのボールバルブは、その開閉頻度等の使用状態により、高圧流体の完全封止を均一に発揮させることが困難になり、超高圧流体に対して微小漏れを生じるおそれがある。
一方、特許文献2のようなソフトシートのボールバルブの場合、ボールシートがシートリテーナの装着溝に嵌め込まれるように装着され、ボールシートが抜け出し方向に位置規制されていない。このため、90MPa以上の超高圧流体が流れたときに、バルブを閉から開に操作する際に、ボールシートとシートリテーナとの間にわずかでも流体が浸入すると、この流体圧によってシートリテーナからボールシートが押し出されて位置ずれや脱落が生じ、弁閉状態にした場合に超高圧流体の漏れにつながる可能性がある。そのため、この高圧用ボールバルブを特許文献3のような水素ステーションで遮断弁として使用する場合には、二次側から高圧水素が漏れ、この高圧水素が充填ホース内に残存することで充填ノズルを車の水素タンクに接続できなくなることがある。これを解消するためには、充填ホース内の圧力を抜く、いわゆる脱圧と呼ばれる作業をおこなう必要が生じるが、水素を有効に利用する観点や充填作業の効率性から脱圧をおこなうことは望ましいことではない。しかも、充填ホースの容量が、例えば約200cc程度の小ささである場合、遮断弁から二次側にわずかでも高圧水素が漏れたときには、充填ホース内に水素圧が残存しやすくなって頻繁に脱圧を実施する必要が生じる。また、特許文献4には、シートキャリアにソフトシートを保持する構造が記載されているが、高圧流体(35MPa以上)が流れた場合でも対応できようなシート固着構造ではない。
本発明は、上記の課題点を解決するために開発したものであり、その目的とするところは、特に、高圧流体用として適しており、ソフトシートによるシールにより密封性と摺動性とを確保し、超高圧流体が流れた場合にもリテーナにボールシートを保持してその位置ずれや脱落を防止して弁閉時の高シール性を維持する高圧ボールバルブ用ボールシートの固着方法を提供することにある。
上記目的を達成するため、請求項1に係る発明は、35MPa以上の高圧ガスに用いる高圧ボールバルブ用ボールシートの固着方法であり、環状のシートリテーナの先端に内筒と外筒からなる装着溝に樹脂製の環状シート体を仮着し、この内外筒の先端側にカシメ縁部とこれに続けてテーパ端面部が形成され、上型治具の底面側に形成された環状の空間部の内外周位置にテーパ端面部のテーパ角度と略同一の角度を有する傾斜面がそれぞれ形成され、シートリテーナを装着した下型治具に対して上型治具を下降移動させて、カシメ縁部をテーパ端面部に沿ってかしめることにより環状シート体に形成された傾斜面と略同一角度を有するテーパ面に密着固定させるようにした高圧ボールバルブ用ボールシートの固着方法である。
請求項に係る発明は、上型治具の底面中央部には、円柱突部が形成され、この円柱突部をシートリテーナに形成された内部流路に嵌入して下型治具に対して上型治具を芯出し状態で位置決めするようにした高圧ボールバルブ用ボールシートの固着方法である。
請求項1に係る発明によると、キャビティ側からの高圧流体が環状シート体の外径側から流入するのを確実に防止すると共に環状シート体の飛び出しも防ぐことができ、しかも、流路側から高圧流体が環状シート体の内径側から流入するのを確実に防止すると共に、環状シート体の飛び出しも防ぐことができ、高圧流体用のボールバルブの密封性とトルク性を向上させることが可能となる。
しかも、カシメ治具を用いてシートリテーナに対して芯出しながらボールシートを位置決め固定できると共に、装着後にはカシメ縁部によりボールシートの位置ずれ防止を図ることが可能となり、例えば、水素ガス等の超高圧流体に対しても確実にシール性を維持可能とした高圧ボールバルブのボールシート固着方法を提供することができる。
請求項に係る発明によると、カシメ治具を用いてシートリテーナに対して芯出しながらボールシートを位置決め固定できると共に、上型治具の位置ずれも確実に防止するように下型治具に装着したシートリテーナを介して上型治具を芯出し状態で位置決めでき、さらに、装着後にはカシメ縁部によりボールシートの位置ずれ防止を図ることが可能となり、水素ガス等の超高圧流体に対しても確実にシール性を維持可能とした高圧ボールバルブのボールシート固着方法を提供することができる。
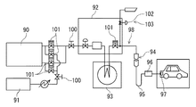
トラニオン型ボールバルブを示した一部切欠き正面図である。 図1の要部拡大断面図である。 ボールシートを示した縦断面図である。 ボールシートのかしめ固着前の状態を示す断面図である。 ボールシートのかしめ固着後の状態を示す断面図である。 水素ステーションを示したブロック図である。
以下に、本発明におけるボールバルブ用ボールシートの固着構造の実施形態をトラニオン型ボールバルブに適用した場合を図面に基づいて詳細に説明する。図1においては、本発明のボールバルブ用ボールシートの固着構造によりボールシートを固定した高圧流体用トラニオン型バルブを示しており、図2においては、図1の要部拡大断面図を示している。ここで、本実施形態における高圧とは、35MPa以上であり、ボールバルブを用いた水素ステーション用の配管設備では、70〜105MPa、具体的には超高圧流体と呼ばれる90MPa以上の高圧流体を想定している。
図において、ボール弁本体(以下、弁本体という)1の内部には、ステム2を介して弁体であるボール3が回転自在に設けられ、このボール3の両側には、シート機構10、11がボール3にシール接触可能に配置されている。弁本体1は、ボデー12と、このボデー12の一次側と二次側とにそれぞれキャップ部材13、13が設けられて構成され、このボデー12内にシート機構10、11がそれぞれ設けられる。
ボデー12は、略直方体状に形成され、このボデー12の内部にボール3やステム2等が装着される軸装穴14、この軸装穴14との交差方向にシート機構10、11を配置可能な連通穴15、15がそれぞれ形成され、ボデー12の両側にガスケット16を介してキャップ部材13、13が螺着される。
キャップ部材13のボデー12側には装着穴17が設けられ、この装着穴17の他方側にはめねじ部19が形成され、このめねじ部19には外部継手20が螺着により接続可能に設けられている。キャップ部材13は、接着や溶着等の接合手段によりボデー12と一体化することも可能である。
ボデー12内部に設けられるシート機構は、一次側と二次側とでは異なるシート構造に設けられ、一次側のシート機構10はメタルシート機構、二次側のシート機構11は、シートリテーナにボールシートが装着されたソフトシート機構からなっている。
二次側のソフトシート機構11は、ボールシートを成す環状シート体21、シートリテーナ22、バネ部材23、シール部材24、バックアップリング25、受け部材26を有している。
図2、図3において、環状シート体21は、PTFEよりも強度を有するPEEK材等の樹脂製からなり、この環状シート体21の内外周面の途中には段差部30が設けられ、この段差部30よりも先端側(ボール3側)にシート部31、後端側(シートリテーナ22側)に保持部32が設けられている。段差部30には、先端側に傾倒させたテーパ面33が形成され、このテーパ面33には、後述するシートリテーナ22のカシメ縁部34が密着シール可能に設けられている。本実施形態におけるテーパ面33は、図において水平方向から略45°の角度で設けられている。
環状シート体21のシート部31は、縮径状、すなわち保持部32に対してやや薄肉状に形成され、かつ、保持部32はシート部31よりも肉厚状に形成されており、更に、保持部32は、シート部31よりも長く形成されている。
シート部31先端面にはボール3のボール面3aに接触するシール面35が形成され、このシール面35は、ボール面3aの当接部位と略同形状の凹状の円弧形状に加工されている。
図2に示したシートリテーナ22は、ステンレス鋼や、ニッケル基合金(例えば、インコネル(登録商標)を含むが、これに限られない)を母材として形成され、環状シート体21をボール3の所定位置に配置し、押圧シールするために設けられる。ニッケル基合金、特にインコネル(登録商標)を用いることにより、薄肉でも高強度を有し、水素ぜい化を受けにくく、更には後述するカシメ加工に必要な伸び特性を有するシートリテーナを得ることができる。シートリテーナ22は、ボール3側に配設される拡径部40と、この拡径部40よりも縮径した筒部41とを有している。シートリテーナ22の内側には内部流路42が形成されている。
二次側シートリテーナ22の拡径部40の先端には、リング状のカシメ縁部34が内筒43、外筒44の先端側にそれぞれ設けられ、これら内外筒43、44から成る装着溝45が拡径部40の先方側に形成されている。本実施形態におけるカシメ縁部34は、内外筒43、44の肉厚の約25〜30%程度の薄肉に形成される。装着溝45には、環状シート体21の保持部32が装着可能に形成され、装着溝45に保持部32が装着された状態で、内外筒43、44のカシメ縁部34が段差部30にかしめられて密着固定され、これによりシート部31がカシメ位置、具体的には、カシメ縁部34の先端よりも突出される。
一方、一次側のメタルシート機構10においては、ボールシート部分がこのシートリテーナ22と一体に同一の金属材料により形成され、その拡径部40の先端に金属製シート部46が形成される。このようにして、ボール3の一次側は、金属製シート部46によりシールされる。この金属製シート部46のシール面46aは、二次側のソフトシート機構11におけるシート部31のシール面35と略同一形状に形成される。
シートリテーナ22の筒部41は、単一外径でストレート状に形成され、その外周にはシール部材24とバックアップリング25が装着され、この状態でシール部材24、バックアップリング25が装着穴17の内周に挿入される。これにより、シートリテーナ22は、連通穴15に対して流路方向に移動可能に設けられ、その移動時には、シール部材24により筒部41の外周側がシールされる。
バネ部材23は、複数枚の皿バネからなり、連通穴15のシートリテーナ22に受け部材26を介して装着される。バネ部材23によりシートリテーナ22にはボール3方向への弾発力が付与され、環状シート体21がボール3に所定圧で押圧されてシールされる。バネ部材23は、皿バネ以外のバネであってもよく、コイルスプリングを設けるようにしてもよい。受け部材26はリング状に形成され、装着穴17の開口側に取り付けられ、バネ部材23からの力を受けるようになっている。
図1において、シール部材24はゴム製のOリングからなり、バックアップリング25は、PTFE(ポリテトラフルオロエチレン)により形成される。シール部材24とバックアップリング25は、それぞれ異なる材料で形成されていてもよいが、その場合、ゴムやPTFEと同程度の軟質材料をそれぞれ用いることが好ましく、このときにシール性を発揮させながら装着穴17に装着できる。シール部材24は、両側にバックアップリング25が配置されていることで保護されている。
ボール3は、ステンレス鋼を母材として形成され、上部側に軸部47と、下部側にトラニオン(ロワステム)48とを有し、軸装穴14に装着された軸受49を介して軸部47とロワステム48とが取付けられて回動自在に設けられる。ボール3をステム2により回動操作し、ボール3の内部に形成された連通孔3bとシートリテーナ22の内部流路42とが連通させることで弁開状態となる。
軸装穴14には、軸受49に加えてパッキン50を収納した座金51、グランド52、ブッシュ53、ベアリング54が配設され、ステム2は、これらを介してボデー12内に回動自在に装着される。
座金51は略円筒状に形成され、内部側には、ステム2外周をシールするパッキン50が装着され、ガスシール用Oリング55、保護リング56が装着されている。座金51は、ベアリング54を介してステム2の上部側に配設され、これにより、ステム2はパッキン50、グランド52に対して回動可能に設けられる。
グランド52は略筒状に形成され、座金51の上部側を嵌入可能な円筒部57が下部に設けられている。グランド52は、ボデー12上部に形成された嵌合凹部58に嵌合されて座金51の上部に取付けられる。この場合、座金51にはパッキン50の上からブッシュ53が装着され、このブッシュ53が座金51とグランド52との間に介在されていることで、パッキン50が座金51の下面方向に押圧されてシール性が向上する。このような構成によって軸装穴14方向の高圧流体の漏れが防がれる。
ボデー12の上面にはカバー60が取付けられ、このカバー60を介してアクチュエータ61が弁本体1に搭載される。アクチュエータ61の図示しない出力軸はステム2に接続され、アクチュエータ61によりステム2を介してボール3が自動操作可能に設けられる。
なお、上記実施形態においては、ボールバルブの一次側をメタルシート機構10としているが、この一次側においても、二次側と同様にしてソフトシート機構を設けるようにしてもよい。
続いて、本発明のボールバルブ用ボールシートの固着構造の上記実施形態における作用を説明する。
本発明のボールシートの固着構造は、樹脂製環状シート体21に段差部30を設けてシート部31、保持部32をそれぞれ設け、シートリテーナ22の先端に設けた装着溝45に保持部32を装着し、内外筒43、44に設けたカシメ縁部34を段差部30にかしめて密着固定し、シート部31をこのカシメ位置より突出させるようにしながら環状シート体21をシートリテーナ22に固着していることで、環状シート体21をカシメ部位により抜け出し方向に位置規制して位置ずれや抜け出しを防止できる。このため、90MPa以上の超高圧流体が流れる流路に弁本体1を設けた際に、ボール3を開から閉操作したときに超高圧流体が環状シート体21とシートリテーナ22との隙間に浸入することを防ぎ、二次側への微小漏れを確実に防止する。
図2における弁閉時において、ボール3に流体圧が加わったときには、2重シール方式と呼ばれるシール方式により弁本体1が高シール性を発揮する。2重シール方式は、シート部31の初期つぶし代をバネ部材23のバネ力でつぶしてシートリテーナ22とともにボール3に密着させる力と、流体による押圧力でボール3とシート部31とを密着させる、いわゆる自緊力とによるシール力を発揮する方式であり、高圧流体による圧力を利用して封止性を高める特性を有している。その際、シート部31の直径方向の幅寸法の調節により自緊力を大きくすることもできる。
このとき、環状シート体21の外径側がシートリテーナ22と密着してこの外径部位に弁本体1内のキャビティ側から流体が浸入することを防ぎ、このキャビティ側からの圧力による環状シート体21の飛び出しを防止できる。一方、環状シート体21の内径側がシートリテーナ22と密着することでこの内径部位に流路側から流体が浸入することを防ぎ、この流路側からの圧力による環状シート体21の飛び出しを防止できる。
しかも、シート部31がカシメ位置より流路側に突出していることで、このシート部31とボール3とのシール時にカシメ縁部34がボール3に接触することがなく、カシメ部分がシート部31とボール3とのシール性に影響を与えることがない。この場合、シート部31を縮径状に形成し、保持部32をこのシート部31よりも厚肉状に形成すると共に、保持部32をシート部31よりも長く形成していることで、保持部32側の剛性が向上し、高圧流体に対してもシート部31の傾きなどを防止して、安定した封止性能を発揮し、作動耐久性能を向上することができる。
流路方向において、内径側のカシメ縁部34が外径側のカシメ縁部34よりもボール3から離間していることで、内径側のカシメ縁部34がボール面3aに接触するおそれがなく、カシメ部位がシート部31のシール性能に影響を与えることがない。
これらのことから、上述したボールバルブを高圧水素が流れる水素ステーションに用いた場合、二次側からの漏れを防いで水素充填用の流路内に水素が残存することを防ぎ、車の水素タンクへの水素充填用のノズル部位の接続も容易となる。流路内の脱圧を必要最小限に抑えて水素の放出を抑えることができるため、コストの削減やエコロジーの点においても優れた水素ステーションを提供可能になる。
次いで、ボールバルブ用ボールシートの固着方法を説明する。
前述した環状シート体21は、図4、図5に示したカシメ治具70によりシートリテーナ22に固着される。カシメ治具70は、上型治具71、下型治具72を有し、これらの間にシートリテーナ22、環状シート体21を装着してカシメ加工を施すようにする。
上型治具71の底面側には、シートリテーナ22の内外周の各カシメ縁部34をかしめるための環状の傾斜面73が内外周位置に設けられ、これらの傾斜面73、73の間には、シートリテーナ22に仮着された環状シート体21のシート部31付近への接触を回避する空間部74が環状に形成されている。各傾斜面73は、図において垂直方向から略45°の角度で設けられ、内周側傾斜面73の内周側、外周側傾斜面73の外周側には、それぞれ逃げ部75が切欠き形成される。図4において、上型治具71の底面中央部には円柱突部76が形成され、この円柱突部76は、シートリテーナ22の内部流路42に嵌合可能な外径に設けられている。
一方、下型治具72の上面側には、シートリテーナ22の拡径部40を嵌入可能な装着凹部80が形成され、この装着凹部80に続けて、筒部41を嵌入可能な嵌合穴部81が形成されている。これら装着凹部80、嵌合穴部81に環状シート体21が仮着されたシートリテーナ22が位置決め状態で装着され、この上から上型治具71が下降することでカシメ加工がおこなわれる。
図4において、カシメ加工を施す際には、先ず、環状シート体21を装着溝45に仮着したシートリテーナ22を下型治具72に装着する。このとき、下型治具72の装着凹部80に拡径部40、嵌合穴部81に筒部41が嵌入することで、シートリテーナ22を下型治具72に芯出し状態で位置決めしながら取付けできる。
続いて、下型治具72に装着したシートリテーナ22に対して上型治具71を下降移動させ、この上型治具71の傾斜面73を、シートリテーナ22のカシメ縁部34に続けて略45°の角度に形成したテーパ端面部82に当接させて位置決めする。この位置決めによりシートリテーナ22を介して下型治具72に対する上型治具71の位置ずれを防ぐようになっている。
上型治具71を下降させることにより、カシメ縁部34をテーパ端面部82に沿ってかしめてテーパ面33に密着固定させ、環状シート体21をシートリテーナ22に一体に固着する。上型治具71を、その傾斜面73がシートリテーナ22のテーパ端面部82に当接するよう下降するだけで、シートリテーナ22のカシメ縁部34をテーパ端面部82と略同一の角度で延設することができるなど、カシメ加工の精度を高めることができる。
また、カシメ縁部34を傾倒するだけで段差部30のテーパ面33に密着固定することができるので、カシメ加工が容易であるのみならず、カシメ加工によってカシメ縁部34付近に加わる塑性変形の領域を最小限に抑えることができる。
しかも、上型治具71の傾斜面73がシートリテーナ22のテーパ端面部82に当接することにより、上型治具71の下降を規制することができ、カシメ縁部34を過度に押圧することが防がれる。
また、シートリテーナ22のテーパ端面部82は、その角度をカシメ縁部34と略同一の角度となるよう形成しておくことにより、上型治具71との接触を防ぐような浅い角度(例えば30°)に形成する場合に比して、リテーナ先端の強度を確保することができ、環状シート体21の段差部30との密着固定に必要なカシメ縁部34の強度を維持することができ、90MPa以上の高圧流体であってもカシメ縁部34の変形によってボールシートがずれたり脱落するのを防止することができる。
更に、シートリテーナ22のテーパ端面部82と略同一の角度にかしめられたカシメ縁部34と、環状シート体21の段差部30のテーパ面33とが、略同一の角度を有し、すなわち、平行となるので、カシメ縁部34とテーパ面33との間に隙間が生じることが防がれるというメリットがある。
このカシメ後に、環状シート体21がかしめ固着されたシートリテーナ22をカシメ治具70から取外し、図5に示したシート部31先端側のクロスハッチングで示した除去部31aを曲面仕上げ加工により除去し、シート部31の先端面にシール面35を形成するようにする。
なお、環状シート体21の段差部30のテーパ面33にカシメ縁部34が面接触するようにかしめていることで、カシメ加工時に寸法のばらつきがある場合にもこの寸法誤差を吸収し、カシメ縁部34を段差部30に密着固定することができる。
更に、環状シート体21の段差部30にカシメ縁部34をかしめる際、段差部30のテーパ面33や、あるいは、テーパ端面部82と略同一の角度に傾斜延設されたカシメ縁部34によるくさび作用を利用して、カシメ縁部34が段差部30をやや軸方向、すなわち図5の下方向に押し気味にかしめた場合には、カシメ加工時の寸法誤差を更に吸収し、この部品の密着シール性を高めることができる。
しかも、上型治具71に逃げ部75が形成されていることで、上型治具71の傾斜面73をテーパ端面部82に当接させたときにこの逃げ部75により空隙が設けられ、この空隙によりカシメ縁部34全体に傾斜面73からカシメ力を伝わることを防いで、カシメ縁部34の過剰な変形を防止して、テーパ面33に歪みの少ない状態で密着させることができる。
更に、カシメ縁部34の変形後には、このカシメ縁部34の先端側とシート部31との間に隙間Gが形成される。この隙間Gによりカシメ縁部34の寸法誤差を許容しつつ、カシメ縁部34先端がシート部31に接触するのを防いで、カシメ縁部34とテーパ面33との空隙を塞いでこの部分からの流体の浸入を確実に防止する。
カシメ加工後のシート部31のシール面35を加工する際には、シート部31が段差部30よりも突出していることでカシメ加工後にこのシール面35の加工が可能になるため、シール面35がカシメ加工による影響を受けることなく傷付いたりすることを防止できる。
次に、前述したトラニオン型ボールバルブを用いた水素ステーションを述べる。
図6においては、水素ステーションの模式図を示しており、上記した高圧用トラニオン型ボールバルブは、このような水素を供給するラインに設けられる。水素ステーションは、蓄圧器90、圧縮機91、ディスペンサー92、プレクール熱交換器93、迅速継手94、充填ホース95、充填ノズル96、車載タンク97を有し、これらは高圧水素の供給ライン98に設けられる。
上述のトラニオン型ボールバルブは、圧力損失が小さいことから、蓄圧器90の二次側に設けられることで全体の圧力損失が小さくなるため、この種のシステムに好適である。図6に示すように、トラニオン型ボールバルブとして、水素ステーションの各ユニットの接続部位に手動弁100が設けられ、各ユニットの一次側又は二次側には自動弁101が設けられ、これらの手動弁100、自動弁101により流路が開閉制御される。
蓄圧器90の内部は、複数のタンクに分かれており、それぞれのタンクと圧縮機91とを接続するバルブ100、及びそれぞれのタンクとディスペンサー92とを接続するバルブ100が設けられる。これらの手動弁100の切り替えにより、所定圧に至ったタンクから水素がディスペンサー92に供給され、一方、所定の下限値圧を下回ったタンクには、圧縮機91から水素が前記所定圧に至るまで充填される。
ディスペンサー92内に配置される自動弁101は、気体の水素の充填開始と終了に伴って開閉するように設けられ、充填ノズル96は自動弁101と充填ホース95を介して接続される。ディスペンサー92には遮断弁102を有する脱圧機構103が設けられ、この脱圧機構103は、水素の充填終了に伴って遮断弁102の開放により充填ホース95内の水素を大気に、あるいは大気圧と略同等の水素回収ラインに放出する機能を有している。自動弁101は、蓄圧器90等からの水素の圧力が常時負荷される一次側にメタルシート機構10が配設される一方、水素の充填と脱圧に伴って、水素の圧力と大気圧とが交番して負荷される二次側に、樹脂製の環状シート体21がかしめにより密着固定されたソフトシート機構11が配設されたトラニオン型ボールバルブとなっている。
この水素ステーションの供給ライン98において、所定のプログラムにより水素の供給が制御され、車両への供給量に応じて適宜量の水素が供給される。
本発明は、特に、燃料電池で使用される高圧流体の水素等が流れる配管設備に好適であるが、高圧流体が流れる管路であれば優れたシール性とトルク性とを発揮でき、例えば、CNG(Compressed Natural Gas:液化天然ガス)ステーションにおけるバルブや、或は、パイプライン用バルブなどの各種の高圧流体の流れる場所で使用される高圧用ボール弁に適している。
1 弁本体
3 ボール
3a ボール面
10 メタルシート機構
11 ソフトシート機構
21 環状シート体
22 シートリテーナ
30 段差部
31 シート部
32 保持部
33 テーパ面
34 カシメ縁部
35 シール面
43 内筒
44 外筒
45 装着溝
70 カシメ治具
73 傾斜面
82 テーパ端面部
98 供給ライン

Claims (2)

  1. 35MPa以上の高圧ガスに用いる高圧ボールバルブ用ボールシートの固着方法であり、環状のシートリテーナの先端に内筒と外筒からなる装着溝に樹脂製の環状シート体を仮着し、この内外筒の先端側にカシメ縁部とこれに続けてテーパ端面部が形成され、上型治具の底面側に形成された環状の空間部の内外周位置に前記テーパ端面部のテーパ角度と略同一の角度を有する傾斜面がそれぞれ形成され、前記シートリテーナを装着した下型治具に対して前記上型治具を下降移動させて、前記カシメ縁部を前記テーパ端面部に沿ってかしめることにより前記環状シート体に形成された前記傾斜面と略同一角度を有するテーパ面に密着固定させるようにしたことを特徴とする高圧ボールバルブ用ボールシートの固着方法。
  2. 前記上型治具の底面中央部には、円柱突部が形成され、この円柱突部を前記シートリテーナに形成された内部流路に嵌入して前記下型治具に対して前記上型治具を芯出し状態で位置決めするようにした請求項1に記載の高圧ボールバルブ用ボールシートの固着方法。
JP2018109479A 2018-06-07 2018-06-07 高圧ボールバルブ用ボールシートの固着方法 Active JP6650488B2 (ja)

Priority Applications (1)

Application Number Priority Date Filing Date Title
JP2018109479A JP6650488B2 (ja) 2018-06-07 2018-06-07 高圧ボールバルブ用ボールシートの固着方法

Applications Claiming Priority (1)

Application Number Priority Date Filing Date Title
JP2018109479A JP6650488B2 (ja) 2018-06-07 2018-06-07 高圧ボールバルブ用ボールシートの固着方法

Related Parent Applications (1)

Application Number Title Priority Date Filing Date
JP2014134339A Division JP6352699B2 (ja) 2014-06-30 2014-06-30 ボールバルブ用ボールシートの固着構造とその固着方法及びトラニオン型ボールバルブとこのバルブを用いた水素ステーション

Publications (2)

Publication Number Publication Date
JP2018146114A JP2018146114A (ja) 2018-09-20
JP6650488B2 true JP6650488B2 (ja) 2020-02-19

Family

ID=63590864

Family Applications (1)

Application Number Title Priority Date Filing Date
JP2018109479A Active JP6650488B2 (ja) 2018-06-07 2018-06-07 高圧ボールバルブ用ボールシートの固着方法

Country Status (1)

Country Link
JP (1) JP6650488B2 (ja)

Family Cites Families (17)

* Cited by examiner, † Cited by third party
Publication number Priority date Publication date Assignee Title
US2963260A (en) * 1958-12-09 1960-12-06 Siravo Vincent Ball valve
US3118649A (en) * 1961-06-15 1964-01-21 Cameron Iron Works Inc Ball valve with a reinforced and deformable valve seat
US3508736A (en) * 1967-05-24 1970-04-28 Rockwell Mfg Co Seat ring assemblies for valves
US4135545A (en) * 1977-08-05 1979-01-23 Acf Industries, Incorporated Ball valve seat assembly having a swaged seat ring to retain the face seal
JPS63104768U (ja) * 1986-12-25 1988-07-07
JPH02286972A (ja) * 1989-04-28 1990-11-27 Keihin Seiki Mfg Co Ltd ボール弁
JPH0448470U (ja) * 1990-08-29 1992-04-24
JPH066047U (ja) * 1992-07-01 1994-01-25 八千代工業株式会社 サンルーフフレーム用のドレンパイプ装置
JPH0710138Y2 (ja) * 1992-08-31 1995-03-08 株式会社鈴木鉄工所 ボールバルブのシールリング
US5419532A (en) * 1993-07-19 1995-05-30 Pbv-Usa, Inc. Valve seal
JP3130785B2 (ja) * 1996-02-02 2001-01-31 株式会社山武 弁装置
JP4288645B2 (ja) * 2002-05-07 2009-07-01 日立金属株式会社 メタルダイヤフラム弁の弁座シートの固定方法及びその固定冶具
US7032880B2 (en) * 2004-03-22 2006-04-25 Valve Innnovations, L.L.C. Valve with pressure adaptable seat
JP4706242B2 (ja) * 2004-11-30 2011-06-22 株式会社ジェイテクト 転がり軸受装置の製造方法および転がり軸受装置
US7690626B2 (en) * 2007-10-15 2010-04-06 Stunkard Gerald A Ball valve having self-centering seats
JP2012013141A (ja) * 2010-06-30 2012-01-19 Kitz Corp トラニオン型ボール弁
JP2012237345A (ja) * 2011-05-10 2012-12-06 Hisaka Works Ltd 非接触式バルブ装置

Also Published As

Publication number Publication date
JP2018146114A (ja) 2018-09-20

Similar Documents

Publication Publication Date Title
JP6352699B2 (ja) ボールバルブ用ボールシートの固着構造とその固着方法及びトラニオン型ボールバルブとこのバルブを用いた水素ステーション
US9140410B2 (en) Isolating valve
JP6650499B2 (ja) 高圧用トラニオン型ボール弁およびこれを用いた水素ステーション
JP5973247B2 (ja) 高圧用逆止め弁とこれを用いた水素ステーション
JP6650488B2 (ja) 高圧ボールバルブ用ボールシートの固着方法
JP5917112B2 (ja) ダイヤフラムバルブ
JP2012013141A (ja) トラニオン型ボール弁
JP6745605B2 (ja) 高圧用トラニオン型ボール弁およびこれを用いた水素ステーション
JP2015165164A (ja) ダイヤフラムバルブ
JPH1182762A (ja) ボールバルブ
JP6865623B2 (ja) 高圧用トラニオン型ボール弁およびこれを用いた水素ステーション
JP2681155B2 (ja) ボールバルブ
JP7574727B2 (ja) シール構造および弁装置
JP5973504B2 (ja) 高圧配管流路の外部シール構造と水素ステーション
JP2008032113A (ja) ダイヤフラム式バルブ
JP7213033B2 (ja) 高圧用トラニオン型ボール弁及びこれを用いた水素ステーション
JPWO2018003982A1 (ja) 逆止弁

Legal Events

Date Code Title Description
A621 Written request for application examination

Free format text: JAPANESE INTERMEDIATE CODE: A621

Effective date: 20180607

A131 Notification of reasons for refusal

Free format text: JAPANESE INTERMEDIATE CODE: A131

Effective date: 20190702

A521 Request for written amendment filed

Free format text: JAPANESE INTERMEDIATE CODE: A523

Effective date: 20190828

TRDD Decision of grant or rejection written
A01 Written decision to grant a patent or to grant a registration (utility model)

Free format text: JAPANESE INTERMEDIATE CODE: A01

Effective date: 20200107

A61 First payment of annual fees (during grant procedure)

Free format text: JAPANESE INTERMEDIATE CODE: A61

Effective date: 20200120

R150 Certificate of patent or registration of utility model

Ref document number: 6650488

Country of ref document: JP

Free format text: JAPANESE INTERMEDIATE CODE: R150

R250 Receipt of annual fees

Free format text: JAPANESE INTERMEDIATE CODE: R250

R250 Receipt of annual fees

Free format text: JAPANESE INTERMEDIATE CODE: R250

S531 Written request for registration of change of domicile

Free format text: JAPANESE INTERMEDIATE CODE: R313531

R350 Written notification of registration of transfer

Free format text: JAPANESE INTERMEDIATE CODE: R350

R250 Receipt of annual fees

Free format text: JAPANESE INTERMEDIATE CODE: R250