JP6554325B2 - 絶縁同期整流型dc/dcコンバータおよびそのフィードバック回路、その同期整流コントローラ、それを用いた電源装置、電源アダプタおよび電子機器 - Google Patents

絶縁同期整流型dc/dcコンバータおよびそのフィードバック回路、その同期整流コントローラ、それを用いた電源装置、電源アダプタおよび電子機器 Download PDF

Info

Publication number
JP6554325B2
JP6554325B2 JP2015108898A JP2015108898A JP6554325B2 JP 6554325 B2 JP6554325 B2 JP 6554325B2 JP 2015108898 A JP2015108898 A JP 2015108898A JP 2015108898 A JP2015108898 A JP 2015108898A JP 6554325 B2 JP6554325 B2 JP 6554325B2
Authority
JP
Japan
Prior art keywords
photocoupler
synchronous rectification
feedback
converter
circuit
Prior art date
Legal status (The legal status is an assumption and is not a legal conclusion. Google has not performed a legal analysis and makes no representation as to the accuracy of the status listed.)
Active
Application number
JP2015108898A
Other languages
English (en)
Other versions
JP2016036242A5 (ja
JP2016036242A (ja
Inventor
弘基 菊池
弘基 菊池
清水 亮
亮 清水
Current Assignee (The listed assignees may be inaccurate. Google has not performed a legal analysis and makes no representation or warranty as to the accuracy of the list.)
Rohm Co Ltd
Original Assignee
Rohm Co Ltd
Priority date (The priority date is an assumption and is not a legal conclusion. Google has not performed a legal analysis and makes no representation as to the accuracy of the date listed.)
Filing date
Publication date
Application filed by Rohm Co Ltd filed Critical Rohm Co Ltd
Priority to JP2015108898A priority Critical patent/JP6554325B2/ja
Priority to CN201510462893.6A priority patent/CN105322802B/zh
Priority to US14/814,966 priority patent/US9991809B2/en
Publication of JP2016036242A publication Critical patent/JP2016036242A/ja
Publication of JP2016036242A5 publication Critical patent/JP2016036242A5/ja
Application granted granted Critical
Publication of JP6554325B2 publication Critical patent/JP6554325B2/ja
Active legal-status Critical Current
Anticipated expiration legal-status Critical

Links

Images

Classifications

    • HELECTRICITY
    • H02GENERATION; CONVERSION OR DISTRIBUTION OF ELECTRIC POWER
    • H02MAPPARATUS FOR CONVERSION BETWEEN AC AND AC, BETWEEN AC AND DC, OR BETWEEN DC AND DC, AND FOR USE WITH MAINS OR SIMILAR POWER SUPPLY SYSTEMS; CONVERSION OF DC OR AC INPUT POWER INTO SURGE OUTPUT POWER; CONTROL OR REGULATION THEREOF
    • H02M3/00Conversion of DC power input into DC power output
    • H02M3/22Conversion of DC power input into DC power output with intermediate conversion into AC
    • H02M3/24Conversion of DC power input into DC power output with intermediate conversion into AC by static converters
    • H02M3/28Conversion of DC power input into DC power output with intermediate conversion into AC by static converters using discharge tubes with control electrode or semiconductor devices with control electrode to produce the intermediate AC
    • H02M3/325Conversion of DC power input into DC power output with intermediate conversion into AC by static converters using discharge tubes with control electrode or semiconductor devices with control electrode to produce the intermediate AC using devices of a triode or a transistor type requiring continuous application of a control signal
    • H02M3/335Conversion of DC power input into DC power output with intermediate conversion into AC by static converters using discharge tubes with control electrode or semiconductor devices with control electrode to produce the intermediate AC using devices of a triode or a transistor type requiring continuous application of a control signal using semiconductor devices only
    • H02M3/33569Conversion of DC power input into DC power output with intermediate conversion into AC by static converters using discharge tubes with control electrode or semiconductor devices with control electrode to produce the intermediate AC using devices of a triode or a transistor type requiring continuous application of a control signal using semiconductor devices only having several active switching elements
    • H02M3/33576Conversion of DC power input into DC power output with intermediate conversion into AC by static converters using discharge tubes with control electrode or semiconductor devices with control electrode to produce the intermediate AC using devices of a triode or a transistor type requiring continuous application of a control signal using semiconductor devices only having several active switching elements having at least one active switching element at the secondary side of an isolation transformer
    • H02M3/33592Conversion of DC power input into DC power output with intermediate conversion into AC by static converters using discharge tubes with control electrode or semiconductor devices with control electrode to produce the intermediate AC using devices of a triode or a transistor type requiring continuous application of a control signal using semiconductor devices only having several active switching elements having at least one active switching element at the secondary side of an isolation transformer having a synchronous rectifier circuit or a synchronous freewheeling circuit at the secondary side of an isolation transformer
    • HELECTRICITY
    • H02GENERATION; CONVERSION OR DISTRIBUTION OF ELECTRIC POWER
    • H02MAPPARATUS FOR CONVERSION BETWEEN AC AND AC, BETWEEN AC AND DC, OR BETWEEN DC AND DC, AND FOR USE WITH MAINS OR SIMILAR POWER SUPPLY SYSTEMS; CONVERSION OF DC OR AC INPUT POWER INTO SURGE OUTPUT POWER; CONTROL OR REGULATION THEREOF
    • H02M1/00Details of apparatus for conversion
    • H02M1/32Means for protecting converters other than automatic disconnection
    • HELECTRICITY
    • H02GENERATION; CONVERSION OR DISTRIBUTION OF ELECTRIC POWER
    • H02MAPPARATUS FOR CONVERSION BETWEEN AC AND AC, BETWEEN AC AND DC, OR BETWEEN DC AND DC, AND FOR USE WITH MAINS OR SIMILAR POWER SUPPLY SYSTEMS; CONVERSION OF DC OR AC INPUT POWER INTO SURGE OUTPUT POWER; CONTROL OR REGULATION THEREOF
    • H02M1/00Details of apparatus for conversion
    • H02M1/0003Details of control, feedback or regulation circuits
    • H02M1/0025Arrangements for modifying reference values, feedback values or error values in the control loop of a converter
    • YGENERAL TAGGING OF NEW TECHNOLOGICAL DEVELOPMENTS; GENERAL TAGGING OF CROSS-SECTIONAL TECHNOLOGIES SPANNING OVER SEVERAL SECTIONS OF THE IPC; TECHNICAL SUBJECTS COVERED BY FORMER USPC CROSS-REFERENCE ART COLLECTIONS [XRACs] AND DIGESTS
    • Y02TECHNOLOGIES OR APPLICATIONS FOR MITIGATION OR ADAPTATION AGAINST CLIMATE CHANGE
    • Y02BCLIMATE CHANGE MITIGATION TECHNOLOGIES RELATED TO BUILDINGS, e.g. HOUSING, HOUSE APPLIANCES OR RELATED END-USER APPLICATIONS
    • Y02B70/00Technologies for an efficient end-user side electric power management and consumption
    • Y02B70/10Technologies improving the efficiency by using switched-mode power supplies [SMPS], i.e. efficient power electronics conversion e.g. power factor correction or reduction of losses in power supplies or efficient standby modes

Landscapes

  • Engineering & Computer Science (AREA)
  • Power Engineering (AREA)
  • Dc-Dc Converters (AREA)

Description

本発明は、DC/DCコンバータに関する。
テレビや冷蔵庫をはじめとするさまざまな家電製品は、外部からの商用交流電力を受けて動作する。ラップトップ型コンピュータ、携帯電話端末やタブレット端末をはじめとする電子機器も、商用交流電力によって動作可能であり、あるいは商用交流電力によって、機器に内蔵の電池を充電可能となっている。こうした家電製品や電子機器(以下、電子機器と総称する)には、商用交流電圧をAC/DC(交流/直流)変換する電源装置(AC/DCコンバータ)が内蔵される。あるいは電子機器の外部の電源アダプタ(ACアダプタ)にAC/DCコンバータが内蔵される場合もある。
図1は、本発明者が検討したAC/DCコンバータ100rの基本構成を示すブロック図である。AC/DCコンバータ100rは主としてフィルタ102、整流回路104、平滑キャパシタ106およびDC/DCコンバータ200rを備える。
商用交流電圧VACは、ヒューズおよび入力キャパシタ(不図示)を介してフィルタ102に入力される。フィルタ102は、商用交流電圧VACのノイズを除去する。整流回路104は、商用交流電圧VACを全波整流するダイオードブリッジ回路である。整流回路104の出力電圧は、平滑キャパシタ106によって平滑化され、直流電圧VINに変換される。
絶縁型のDC/DCコンバータ200rは、入力端子P1に直流電圧VINを受け、それを降圧して、目標値に安定化された出力電圧VOUTを出力端子P2に接続される負荷(不図示)に供給する。
DC/DCコンバータ200rは、1次側コントローラ202、フォトカプラ204、シャントレギュレータ206、出力回路210およびその他の回路部品を備える。出力回路210は、トランスT1、ダイオードD1、出力キャパシタC1、スイッチングトランジスタM1、を含む。出力回路210のトポロジーは、一般的なフライバックコンバータのそれであるため、説明を省略する。
スイッチングトランジスタM1がスイッチングすることにより、入力電圧VINが降圧され、出力電圧VOUTが生成される。そしてコントローラ202は、スイッチングトランジスタM1のスイッチングのデューティ比を調節することにより、出力電圧VOUTを目標値に安定化させる。
DC/DCコンバータ200rの出力電圧VOUTは、抵抗R1、R2により分圧される。シャントレギュレータ206は、分圧された電圧(電圧検出信号)Vと所定の基準電圧VREF(不図示)の誤差を増幅し、誤差に応じた誤差電流IERRを、フォトカプラ204の入力側の発光素子(発光ダイオード)から引き込む(シンク)。
フォトカプラ204の出力側の受光素子(フォトトランジスタ)には、2次側の誤差電流IERRに応じたフィードバック電流IFBが流れる。このフィードバック電流IFBが、抵抗およびキャパシタにより平滑化され、コントローラ202のフィードバック(FB)端子に入力される。コントローラ202は、FB端子の電圧(フィードバック電圧)VFBにもとづいてスイッチングトランジスタM1のデューティ比を調節する。
特開2010−074959号公報
絶縁型DC/DCコンバータでは、1次側のみでなく2次側においても、過電圧状態、温度異常、過電流状態などの異常が発生しうるところ、図1の構成ではそれを検出することができず、2次側に関しては回路保護機能が存在しない。
本発明はこうした課題に鑑みてなされたものであり、そのある態様の例示的な目的のひとつは、2次側の異常を検出し、異常発生時には回路を保護可能なDC/DCコンバータの提供にある。
本発明のある態様は、絶縁同期整流型DC/DCコンバータの2次側に配置されるフィードバック回路に関する。絶縁同期整流型DC/DCコンバータは、1次巻線および2次巻線を有するトランスと、トランスの1次巻線と接続されるスイッチングトランジスタと、トランスの2次巻線と接続される同期整流トランジスタと、フィードバック用フォトカプラと、フィードバック用フォトカプラの出力側と接続され、フィードバック用フォトカプラからのフィードバック信号に応じてスイッチングトランジスタをスイッチングする1次側コントローラと、同期整流トランジスタを制御する同期整流コントローラと、フィードバック用フォトカプラの入力側と接続されるフィードバック回路と、を備える。フィードバック回路は、フォトカプラの入力側と接続されるフォトカプラ接続端子と、DC/DCコンバータの出力電圧に応じた電圧検出信号とその目標電圧の誤差を増幅し、誤差に応じた電流をフォトカプラ接続端子を介してフォトカプラの入力側から引き込むエラーアンプと、DC/DCコンバータの2次側の異常を検出すると、異常検出信号をアサートする異常検出回路と、フォトカプラ接続端子と接続され、異常検出信号がアサートされると、エラーアンプによるフィードバックが無効となり、スイッチングトランジスタのオン時間が減少するように、フォトカプラ接続端子を介してフィードバック用フォトカプラに作用する保護回路と、を備え、単一のモジュールにパッケージ化される。
この態様によれば、エラーアンプを有するフィードバック回路に、異常検出回路をあわせて集積化したことにより、DC/DCコンバータの2次側における異常状態を検出することができる。そして異常が検出された場合には、保護回路により、エラーアンプによる電圧フィードバックを無効化して、スイッチングトランジスタのデューティ比を低下させることで、2次側に供給される電力を低下させ、回路を保護することができる。また、ディスクリート素子で構成されるシャントレギュレータに代えて、半導体基板に集積化されたエラーアンプを用いることで、消費電力を低減できる。
エラーアンプは、電圧検出信号とその目標電圧の誤差を増幅する差動アンプと、そのベース/ゲートに差動アンプの出力信号が入力され、そのエミッタ/ソースが接地され、そのコレクタ/ドレインがフォトカプラ接続端子と接続される出力トランジスタと、を含んでもよい。保護回路は、そのベース/ゲートに異常検出信号が入力され、そのエミッタ/ソースが接地され、そのコレクタ/ドレインがフォトカプラ接続端子と接続される出力トランジスタを含んでもよい。
ある態様のフィードバック回路は、DC/DCコンバータの2次側に流れる電流に応じた電流検出信号とその上限レベルの誤差を増幅し、誤差に応じた電流をフォトカプラ接続端子を介してフォトカプラの入力側から引き込む過電流保護回路をさらに備えてもよい。
これにより、電圧フィードバック経路を利用して過電流保護を実現できる。
過電流保護回路は、エラーアンプと同様の構成を有してもよい。これにより垂下特性を実現できる。
異常検出回路は、DC/DCコンバータの2次側の過電圧状態、過熱状態の少なくとも一方を検出可能に構成されてもよい。
ある態様のフィードバック回路は、出力トランジスタのコレクタ/ドレインと、フォトカプラ接続端子の間に設けられたダイオードと、フォトカプラ接続端子の電圧を受け、それを安定化して内部電源電圧を生成する内部レギュレータと、をさらに備えてもよい。
これによれば、フィードバックの状態や異常検出の有無にかかわらず、フォトカプラ接続端子の電圧を、ダイオードのツェナー電圧より高くクランプできるため、内部電源電圧を安定化できる。
本発明の別の態様は、絶縁同期整流DC/DCコンバータに関する。絶縁同期整流DC/DCコンバータは、1次巻線および2次巻線を有するトランスと、トランスの1次巻線と接続されるスイッチングトランジスタと、トランスの2次巻線と接続される同期整流トランジスタと、フィードバック用フォトカプラと、フィードバック用フォトカプラの出力側と接続され、フィードバック用フォトカプラからのフィードバック信号に応じてスイッチングトランジスタをスイッチングする1次側コントローラと、同期整流トランジスタを制御する同期整流コントローラと、フィードバック用フォトカプラの入力側と接続される上述のいずれかのフィードバック回路と、を備えてもよい。
本発明の別の態様は、絶縁同期整流型DC/DCコンバータの2次側に配置され、DC/DCコンバータの2次側の同期整流トランジスタを制御する同期整流コントローラに関する。絶縁同期整流型DC/DCコンバータは、1次巻線および2次巻線を有するトランスと、トランスの1次巻線と接続されるスイッチングトランジスタと、トランスの2次巻線と接続される同期整流トランジスタと、フォトカプラと、フォトカプラの出力側と接続され、フォトカプラからのフィードバック信号に応じてスイッチングトランジスタをスイッチングする1次側コントローラと、を備える。同期整流コントローラは、同期整流トランジスタをスイッチングする駆動回路と、フォトカプラの入力側と接続されるフォトカプラ接続端子と、DC/DCコンバータの出力電圧に応じた電圧検出信号とその目標電圧の誤差を増幅し、誤差に応じた電流をフォトカプラ接続端子を介してフォトカプラの入力側から引き込むエラーアンプと、DC/DCコンバータの2次側の異常を検出すると、異常検出信号をアサートする異常検出回路と、フォトカプラ接続端子と接続され、異常検出信号がアサートされると、エラーアンプによるフィードバックが無効となり、スイッチングトランジスタのオン時間が減少するように、フォトカプラ接続端子を介してフィードバック用フォトカプラに作用する保護回路と、を備え、単一のモジュールにパッケージ化される。
この態様によると、同期整流コントローラに、エラーアンプおよび異常検出回路をあわせて集積化したことにより、DC/DCコンバータの2次側における異常状態を検出することができる。そして異常が検出された場合には、保護回路により、エラーアンプによる電圧フィードバックを無効化して、スイッチングトランジスタのデューティ比を低下させることで、2次側に供給される電力を低下させ、回路を保護することができる。また、ディスクリート素子で構成されるシャントレギュレータに代えて、半導体基板に集積化されたエラーアンプを用いることで、消費電力を低減できる。
異常検出回路およびエラーアンプのセットと駆動回路とは、電源プレーンが独立しており、またそれらのグランドプレーンが独立していてもよい。
これにより、同期整流トランジスタを、トランスの2次巻線の高電位側(出力端子側)に配置することができる。
同期整流トランジスタは、2次巻線の高電位側に挿入されるものであり、トランスは、その2次側に設けられた補助巻線をさらに有してもよい。DC/DCコンバータは、補助巻線を利用して同期整流トランジスタと2次巻線の間のラインの電位を基準とした外部電源電圧を生成するよう構成され、駆動回路のグランドプレーンには、ラインの電位が供給され、駆動回路の電源プレーンには、外部電源電圧が供給されてもよい。
エラーアンプおよび異常検出回路の共通の電源プレーンには、フォトカプラ接続端子の電圧から生成された内部電源電圧が供給され、エラーアンプおよび異常検出回路の共通のグランドプレーンにはDC/DCコンバータの2次側の接地電位が供給されてもよい。
本発明の別の態様は、絶縁同期整流DC/DCコンバータに関する。絶縁同期整流DC/DCコンバータは、1次巻線および2次巻線を有するトランスと、トランスの1次巻線と接続されるスイッチングトランジスタと、トランスの2次巻線と接続される同期整流トランジスタと、出力キャパシタと、フォトカプラと、同期整流トランジスタをスイッチングするとともに、出力キャパシタの出力電圧とその目標レベルの誤差に応じた電流を、フォトカプラの入力側に供給する上述のいずれかの同期整流コントローラと、フォトカプラの出力側と接続され、同期整流コントローラが生成した電流に応じたフィードバック信号に応じて、スイッチングトランジスタを駆動する1次側コントローラと、を備えてもよい。
本発明のさらに別の態様もまた、絶縁同期整流型DC/DCコンバータである。この絶縁同期整流型DC/DCコンバータは、1次巻線および2次巻線を有するトランスと、トランスの1次巻線と接続されるスイッチングトランジスタと、トランスの2次巻線と接続される同期整流トランジスタと、フォトカプラと、フォトカプラの出力側と接続され、フォトカプラからのフィードバック信号に応じてスイッチングトランジスタをスイッチングする1次側コントローラと、同期整流トランジスタをスイッチングする駆動回路と、DC/DCコンバータの出力電圧に応じた電圧検出信号とその目標電圧の誤差を増幅し、誤差に応じた電流をフォトカプラの入力側から引き込むエラーアンプと、DC/DCコンバータの2次側の異常を検出すると、異常検出信号をアサートする異常検出回路と、異常検出信号がアサートされると、エラーアンプによるフィードバックが無効となり、スイッチングトランジスタのオン時間が減少するように、フォトカプラ接続端子を介してフィードバック用フォトカプラに作用する保護回路と、を備える。
DC/DCコンバータは、フライバック型であってもよいし、フォワード型であってもよい。
本発明の別の態様は、電源装置(AC/DCコンバータ)に関する。電源装置は、商用交流電圧をフィルタリングするフィルタと、フィルタの出力電圧を全波整流するダイオード整流回路と、ダイオード整流回路の出力電圧を平滑化し、直流入力電圧を生成する平滑キャパシタと、直流入力電圧を降圧し、負荷に供給する上述のDC/DCコンバータと、を備える。
本発明の別の態様は、電子機器に関する。電子機器は、負荷と、商用交流電圧をフィルタリングするフィルタと、フィルタの出力電圧を全波整流するダイオード整流回路と、ダイオード整流回路の出力電圧を平滑化し、直流入力電圧を生成する平滑キャパシタと、直流入力電圧を降圧し、負荷に供給する上述のDC/DCコンバータと、を備える。
本発明の別の態様は、ACアダプタに関する。ACアダプタは、商用交流電圧をフィルタリングするフィルタと、フィルタの出力電圧を全波整流するダイオード整流回路と、ダイオード整流回路の出力電圧を平滑化し、直流入力電圧を生成する平滑キャパシタと、直流入力電圧を降圧し、直流出力電圧を生成する上述のDC/DCコンバータと、を備える。
なお、以上の構成要素の任意の組み合わせや本発明の構成要素や表現を、方法、装置、システムなどの間で相互に置換したものもまた、本発明の態様として有効である。
本発明のある態様によれば、絶縁同期整流型DC/DCコンバータにおいて2次側の異常を検出し、異常発生時には回路を保護できる。
本発明者が検討したAC/DCコンバータの基本構成を示すブロック図である。 第1の実施の形態に係るAC/DCコンバータの回路図である。 図3(a)は、PFMモードにおける図2のDC/DCコンバータの動作波形図であり、図3(b)は、図1のDC/DCコンバータの動作波形図である。 図2のフィードバックICの具体的な回路図である。 第2の実施の形態に係るAC/DCコンバータの回路図である。 第3の実施の形態に係るAC/DCコンバータの回路図である。 図6の同期整流コントローラの具体的な構成例を示す回路図である。 第3の実施の形態に係る同期整流コントローラを備えるDC/DCコンバータのブロック図である。 図9(a)、(b)は、図8の異常検出回路の構成例を示す回路図である。 図8の同期整流コントローラの具体的な構成例を示す回路図である。 AC/DCコンバータを備えるACアダプタを示す図である。 図12(a)、(b)は、AC/DCコンバータを備える電子機器を示す図である。
以下、本発明を好適な実施の形態をもとに図面を参照しながら説明する。各図面に示される同一または同等の構成要素、部材、処理には、同一の符号を付するものとし、適宜重複した説明は省略する。また、実施の形態は、発明を限定するものではなく例示であって、実施の形態に記述されるすべての特徴やその組み合わせは、必ずしも発明の本質的なものであるとは限らない。
本明細書において、「部材Aが、部材Bと接続された状態」とは、部材Aと部材Bが物理的に直接的に接続される場合や、部材Aと部材Bが、電気的な接続状態に影響を及ぼさない他の部材を介して間接的に接続される場合も含む。
同様に、「部材Cが、部材Aと部材Bの間に設けられた状態」とは、部材Aと部材C、あるいは部材Bと部材Cが直接的に接続される場合のほか、電気的な接続状態に影響を及ぼさない他の部材を介して間接的に接続される場合も含む。
(第1の実施の形態)
図2は、第1の実施の形態に係るAC/DCコンバータ100の回路図である。AC/DCコンバータ100は、フィルタ102、整流回路104、絶縁型のDC/DCコンバータ200を備える。
絶縁型のDC/DCコンバータ200は、1次側コントローラ202、フォトカプラ204、出力回路210、同期整流コントローラ300、フィードバックIC(集積回路)400を備える。出力回路210は、フライバック同期整流型のトポロジーを有し、トランスT1、スイッチングトランジスタM1、同期整流トランジスタM2、出力キャパシタC1を備える。本実施の形態において同期整流トランジスタM2は、トランスT1の2次巻線W2よりも高電位側(出力端子P2側)に挿入されている。
トランスT1の補助巻線W4、ダイオードD4、キャパシタC4は、同期整流トランジスタM2のソースを基準として、外部電源電圧VCC1を生成する。同期整流コントローラ300は、DC/DCコンバータ200の2次側に配置され、同期整流トランジスタM2をスイッチングする。外部電源電圧VCC1は、同期整流コントローラ300の電源(VCC)端子に供給される。同期整流コントローラ300の接地(GND)端子は、同期整流トランジスタM2のソースと接続される。同期整流コントローラ300のVD端子には、同期整流トランジスタM2のドレイン電圧Vが入力される。OUT端子には同期整流トランジスタM2のゲートが接続される。なお同期整流トランジスタM2は、同期整流コントローラ300に内蔵されてもよい。
同期整流コントローラ300による同期整流トランジスタM2の制御方式は特に限定されないが、たとえば同期整流コントローラ300は、少なくとも同期整流トランジスタM2の両端間電圧、つまりドレインソース間電圧VDSにもとづいてパルス信号を生成し、パルス信号にもとづいて同期整流トランジスタM2をスイッチングしてもよい。
具体的には同期整流コントローラ300は、駆動回路およびパルス発生器(図2に不図示、図5のパルス発生器304、ドライバ306)を含む。パルス発生器は、ドレインソース間電圧VDSと、2つの負のしきい値電圧VTH1、VTH2にもとづいてパルス信号を生成することができる。2つのしきい値は、VTH1<VTH2<0となるよう定められる。たとえばVTH1=−50mV、VTH2=−10mVである。パルス発生器は、ドレインソース電圧VDSが負の第1しきい値VTH1より低くなると、パルス信号を、同期整流トランジスタM2のオンを指示するレベル(オンレベル、たとえばハイレベル)とし、その後、ドレインソース間電圧VDSがVTH2より高くなると、同期整流トランジスタM2のオフを指示するレベル(オフレベル、たとえばローレベル)とする。駆動回路は、パルス発生器が生成したパルス信号にもとづいて同期整流トランジスタM2を駆動する。
フィードバックIC400は、DC/DCコンバータ200の2次側に配置され、出力電圧VOUTに応じたフィードバック信号を生成し、フォトカプラ204を介してコントローラ202に供給する。フィードバックIC400は、エラーアンプ410、異常検出回路420を備え、ひとつのモジュールにパッケージ化される。
フィードバックIC400のVO端子には、出力電圧VOUTに応じた電圧検出信号Vが入力される。GND端子は、トランスT1の2次側の接地ラインと接続される。フォトカプラ接続端子(PC)端子には、フォトカプラ204の入力側の発光素子(発光ダイオード)のカソードが接続される。
エラーアンプ410は、DC/DCコンバータ200の出力電圧VOUTに応じた電圧検出信号Vとその目標電圧VREFの誤差を増幅し、誤差に応じた電流IERRを、PC端子を介してフォトカプラ204から引き込む(シンク)。エラーアンプ410は、オープンコレクタあるいはオープンドレイン形式の出力段を有しており、出力段のトランジスタ412のコレクタ(あるいはドレイン)はPC端子と接続される。差動アンプ414は、電圧検出信号Vと基準電圧VREFの誤差に応じて、トランジスタ412のベース電流あるいはゲート電圧を制御する。本実施の形態では、トランジスタ412のコレクタとPC端子の間のダイオードD2は、回路保護あるいは電圧のレベルシフトを目的として挿入されるが、別の実施の形態において省略してもよい。
異常検出回路420は、DC/DCコンバータ200の2次側の異常を検出する。異常は、過電流状態、過電圧状態、温度異常状態などが例示されるが、特に限定されない。また各異常を検出する方法も限定されない。たとえば過電流異常は、同期整流トランジスタM2の両端間の電圧をしきい値電圧と比較することにより検出したり、あるいは、同期整流トランジスタM2と直列にセンス抵抗を挿入し、センス抵抗の電圧降下をしきい値電圧と比較することにより検出できる。過電圧状態は、DC/DCコンバータ200の出力ラインや任意のノードの電位を監視し、しきい値電圧と比較することにより検出できる。温度異常状態は、サーミスタなどを利用して検出することができる。異常検出回路420は、何らかの異常を検出すると、その出力(異常検出信号S4)をアサート(たとえばハイレベル)する。
保護回路430は、異常検出回路420からの異常検出信号S4を受ける。保護回路430は、異常検出信号S4がアサートされると、つまり何らかの異常が検出されると、エラーアンプ410の出力を無効化する。
たとえば保護回路430は、異常が検出されると、PC端子の電位を実際の出力電圧VOUTとは無関係な電圧レベルにセットする。この電圧レベルは、コントローラ202が生成するスイッチングトランジスタM1を制御するためのスイッチングパルスのデューティ比がゼロあるいは非常に小さくなるように設定される。別の観点から言えば、保護回路430は、異常が検出されると、PC端子を介してフォトカプラ204の発光ダイオードから引き込む電流IERRを出力電圧VOUTとは無関係な電流量まで増大させる。この電流量は、コントローラ202が生成するスイッチングトランジスタM1を制御するためのスイッチングパルスのデューティ比がゼロあるいは非常に小さくなるように設定される。
保護回路430は、エラーアンプ410の出力トランジスタ412と並列に設けられた保護トランジスタ432を含む。異常検出信号S4がアサート(ハイレベル)されると、保護トランジスタ432がフルオンする。これにより、エラーアンプ410の出力が接地付近にクランプされ、エラーアンプ410を介したフィードバックが完全に無効化される。別の観点からいえば、トランジスタ432に流れる電流が出力トランジスタ412に流れる電流よりも支配的となって、エラーアンプ410を介したフィードバックが無効化される。何の異常も発生せずに異常検出信号S4がネゲート(ローレベル)される間、保護トランジスタ432はオフであり、フィードバックには影響を与えない。
以上がDC/DCコンバータ200の基本構成である。続いてその動作を説明する。
電圧検出信号Vが基準電圧VREFより高くなると出力トランジスタ412が引き込む電流IERRは増大し、フォトカプラ204の出力側の受光素子(フォトトランジスタ)の電流IFBも増大する。このときフィードバック電圧VFBは低下し、したがってスイッチングトランジスタM1のデューティ比(オン時間)は低下し、電圧検出信号Vが基準電圧VREFに近づく方向(低下)にフィードバックがかかる。反対に電圧検出信号Vが基準電圧VREFより低くなると出力トランジスタ412が引き込む電流IERRは減少し、受光素子の電流IFBも減少する。このときフィードバック電圧VFBは増大し、したがってスイッチングトランジスタM1のデューティ比が増大し、電圧検出信号Vが基準電圧VREFに近づく方向(上昇)にフィードバックがかかる。このようにしてDC/DCコンバータ200の出力電圧VOUTはその目標レベルに安定化される。
DC/DCコンバータ200によれば、以下の効果を得ることができる。
このDC/DCコンバータ200によれば、エラーアンプ410を有するフィードバックIC400に、異常検出回路420をあわせて集積化したことにより、DC/DCコンバータ200の2次側における異常状態を検出することができる。
ここで同期整流トランジスタM2は、そのバックゲートとドレイン間に寄生ダイオード(ボディダイオード)を有する。したがって、異常発生時に同期整流トランジスタM2をオフしただけでは、DC/DCコンバータ200はダイオード整流方式で動作し続けることとなり、回路保護にはならない。そこで異常が検出された場合には、保護回路430により、エラーアンプ410による電圧フィードバックを無効化して、スイッチングトランジスタM1のデューティ比を低下させることで、2次側に供給される電力を低下させ、回路を保護することができる。
加えてDC/DCコンバータ200では、エラーアンプ410と異常検出回路420を同一のモジュールに集積化したことにより、図1のディスクリート素子で構成されるシャントレギュレータ206に比べて、エラーアンプ410の消費電流を大幅に低減できる。
具体的には、図1のDC/DCコンバータ200rにおいて、市販されるシャントレギュレータ206を用いた場合、その消費電流は700μA程度であり、その内訳は、150μAがフォトカプラ204の入力側の発光素子に流れる電流であり、残りの550μAがシャントレギュレータ206の動作電流IDDであるものとする。動作電流IDDは発光素子およびそれと並列な抵抗を介して供給され、損失となっている。
これに対して、図2のエラーアンプ410は、その出力電流IERRが150μAとシャントレギュレータ206と同じであったとしても、そのときの動作電流IDDを50μA程度まで低減することができ、DC/DCコンバータ200の、特に軽負荷状態における効率を改善できる。
ここで同期整流コントローラ300の電源(VCC)端子は、たとえばDC/DCコンバータ200の出力ラインと接続され、同期整流コントローラ300は出力電圧VOUTを電源電圧(たとえば24V)として動作する。そうすると、エラーアンプ410の消費電力は、24×200μA=4.8mWとなる。一方、同じ条件での図1のシャントレギュレータ206の消費電力は、24V×700μA=16.8mWとなるため、図2のDC/DCコンバータ200によれば、10mW以上も消費電力を低減できる。
加えて同期整流コントローラ300によれば、以下の効果を得られる。
軽負荷時において、効率を高めるためにDC/DCコンバータ200を間欠動作(PFMモードとも称される)させる場合がある。図3(a)は、PFMモードにおける図2のDC/DCコンバータ200の動作波形図である。図3(b)には、比較のために図1のDC/DCコンバータ200rの動作波形図を示す。
PFMモードでは1次側のスイッチングトランジスタM1をある時間TON、オンした後に、オフする。そして出力電圧VOUTが基準レベル付近のしきい値に低下すると、スイッチングトランジスタM1を再度ターンオンする。
スイッチングトランジスタM1のオフ時間TOFFは、出力キャパシタC1の容量C、出力電圧VOUTのリップルΔV、出力キャパシタC1からの放電電流Iを用いて以下の式で与えられる。
OFF=C・ΔV/I
またDC/DCコンバータのスイッチング周期tは、以下の式で与えられる。
t=(TON+TOFF)=TON+C・ΔV/I
ここでIは出力キャパシタC1からの放電電流であり、軽負荷時にはシャントレギュレータ206あるいはエラーアンプ410の消費電流と等しい。いま出力キャパシタC1の容量を100μF、リップルΔV=100mV、TON≒0とすれば、図1のDC/DCコンバータ200rのスイッチング周期t、図2のDC/DCコンバータ200のスイッチング周期tはそれぞれ以下で与えられる。
≒100μA×100mV/700μA=14.28ms
≒100μA×100mV/200μA=50ms
つまり図2のDC/DCコンバータ200によれば、図1のDC/DCコンバータ200rに比べて軽負荷時における1次側のスイッチング周波数を1/3以下に減らすことができる。これによりコントローラ202がスイッチングトランジスタM1のゲートを充放電するのに使用されるスイッチング損失を1/3以下に減らすことができる。
図4は、図2のフィードバックIC400の具体的な回路図である。異常検出回路420は、OVP(Over Voltage Protection)コンパレータ422、温度保護コンパレータ424、ORゲート426、タイマ428、フリップフロップ429を含む。OVP端子には、出力電圧VOUTに応じた電圧検出信号V’が入力される。V'は、抵抗ペアR3、R4により出力電圧VOUTを分圧することにより生成される。OVPコンパレータ422は、OVP端子の電圧V'を、所定のしきい値と比較し、過電圧状態を検出するとその出力をアサートする。
NTC端子には、負温度係数(Negative Temperature Coefficient)を有するサーミスタ220が接続される。サーミスタ220は、発熱素子たとえば同期整流トランジスタM2の近傍に配置される。温度保護コンパレータ424は、サーミスタ220に生ずる電圧を所定のしきい値と比較し、過電圧状態を検出するとその出力をアサートする。ORゲート426は、OVPコンパレータ422、温度保護コンパレータ424それぞれの出力の論理和を生成する。タイマ428は、ORゲート426の出力がアサートされた時間が、所定の判定時間以上持続すると、つまり何からの異常状態が判定時間以上持続すると、フリップフロップ429にトリガを与える。トリガが与えられたフリップフロップ429の出力はハイレベルに遷移し、トランジスタ432がオンとなる。
なお異常検出回路420の構成は、図4のそれには限定されない。異常検出回路420は、OVPコンパレータ422、温度保護コンパレータ424の一方のみを備えてもよいし、そのほかの異常検出手段を備えてもよい。また、保護の形式は、タイマーラッチ型に限られず、自動復帰方式などその他の方式であってもよい。
図4のフィードバックIC400は、エラーアンプ410、異常検出回路420、保護回路430に加えて、過電流保護回路440および内部レギュレータ450を備える。内部レギュレータ450はPC端子の電圧VPCを受け、それを安定化して得られる内部電源電圧VCC2をフィードバックIC400内の各回路に供給する。本実施の形態において、ダイオードD2は、PC端子の電圧をトランジスタ432、412、442の状態にかかわらず、ツェナー電圧Vzを下限としてクランプする機能を果たし、これにより所定レベルの内部電源電圧VCC2が確実に生成されて、フィードバックIC400の安定動作が保証される。
過電流保護回路440は、エラーアンプ410と同様の構成を有し、具体的には差動アンプ444および出力トランジスタ442を含む。2次巻線W2および同期整流トランジスタM2を含む電流経路上には、センス抵抗Rs2が挿入される。センス抵抗Rs2の一端は接地され、その他端はフィードバックIC400の電流検出(IS)端子に入力される。センス抵抗Rs2には、同期整流トランジスタM2に流れる2次側電流に比例した電圧降下が生ずる。差動アンプ444は、センス抵抗Rs2の電圧降下(電流検出信号)VISと、所定の基準電圧VOCP2の誤差を増幅し、トランジスタ442のベース電流あるいはゲート電圧を制御する。
非過電流状態では、電流検出信号VISはしきい値VOCPより低く、したがってトランジスタ442のベース電流は小さく、出力トランジスタ442のコレクタ電流も小さい。つまり過電流保護回路440が、エラーアンプ410によるフィードバックループに本質的な影響を及ぼさない。過電流状態において電流検出信号VISがしきい値VOCPを超えて増大すると、トランジスタ442のベース電流が増大する。これによりコントローラ202に帰還されるフィードバック電圧VFBが低下し、スイッチングトランジスタM1のスイッチングのデューティ比が低下し、負荷に供給される電力が低下し、過電流保護がかかる。過電流保護回路440により、DC/DCコンバータ200の出力電流対出力電圧特性(I−V特性)に、垂下特性を持たせることができる。
(第1の実施の形態の変形例)
同期整流トランジスタM2は、2次巻線W2よりも接地側に設けられてもよい。この場合、同期整流コントローラ300の電源電圧は、出力電圧VOUTからとればよく、その接地電圧は、DC/DCコンバータ200の接地電圧とすればよい。また同期整流トランジスタM2は同期整流コントローラ300に内蔵されてもよい。
(第2の実施の形態)
図5は、第2の実施の形態に係るAC/DCコンバータ100aの回路図である。この実施の形態は、同期整流コントローラ300aに、図4のフィードバックIC400が集積化される。
同期整流コントローラ300aは、駆動回路302、エラーアンプ410、過電流保護回路440、異常検出回路420、保護回路430を備える。
同期整流トランジスタM2は、2次巻線W2よりも低電位側(接地側)に挿入されており、同期整流コントローラ300aの電源端子には、DC/DCコンバータ200aの出力電圧VOUTが供給される。同期整流コントローラ300aの接地端子は、DC/DCコンバータ200aの接地ラインと接続される。
第2の実施の形態によれば、同期整流コントローラ300aに、エラーアンプ410および異常検出回路420をあわせて集積化したことにより、第1の実施の形態と同様の効果を得ることができる。
(第2の実施の形態の変形例)
同期整流トランジスタM2は同期整流コントローラ300aに内蔵されてもよい。
(第3の実施の形態)
図6は、第3の実施の形態に係るAC/DCコンバータ100bの回路図である。同期整流トランジスタM2は、トランスT1の2次巻線W2の高電位側に設けられる。
同期整流コントローラ300bは、駆動回路302b、エラーアンプ410、異常検出回路420、保護回路430、内部レギュレータ450を備える。同期整流コントローラ300bは、過電流保護回路440をさらに備えてもよい。それぞれの基本構成および動作は上述した通りである。
本実施の形態では、駆動回路302bと、その他の回路ブロックは、電源プレーンが独立であり、またグランドプレーンも独立に構成される。たとえば駆動回路302dは第1の半導体チップ(ダイ)に集積化され、ダイオードD2、エラーアンプ410、異常検出回路420、保護回路430、過電流保護回路440、内部レギュレータ450を、第2の半導体チップに集積化され、それらが単一のモジュールにパッケージ化されている。なおプロセスデザインルールが、同一ダイ内に、独立した(アイソレートされた)2個の電源プレーン、2個のグランドプレーンを許容する場合、すべてを単一のチップに集積化してもよい。
駆動回路302bのグランドプレーンは、GND1端子を介して、同期整流トランジスタM2のソースと接続される。VD端子は、同期整流トランジスタM2のドレインと接続される。
一方、エラーアンプ410や異常検出回路420、保護回路430等のグランドプレーンは、GND2端子を介して、2次側のグランドと接続される。またそれらの電源プレーンには、駆動回路302bとは別の内部電源電圧VCC2が供給される。内部電源電圧VCC2は、PC端子の電圧VPCにもとづいて内部レギュレータ450が生成してもよい。
この構成によれば、第2の実施の形態と同様の効果を得ることができる。
またこの実施の形態では、駆動回路302bと、その他の回路ブロックのグランドプレーン、電源プレーンそれぞれを独立させた。これにより、同期整流トランジスタM2をハイサイド側に挿入するアプリケーションにおいても、駆動回路302bにより、同期整流トランジスタM2をそのソース電圧をグランドプレーンとして駆動しつつ、フィードバック制御および異常保護、過電流保護が可能となる。
図7は、図6の同期整流コントローラ300bの具体的な構成例を示す回路図である。
トランスT1の1次側には、スイッチングトランジスタM1と直列にセンス抵抗Rs1が設けられる。コントローラ202は、センス抵抗Rs1の電圧降下にもとづいて1次側電流をモニタする。1次側電流は、電流モード制御に利用され、あるいは過電流保護に利用される。コントローラ202の構成は特に限定されず、ピーク電流モード、平均電流モード、オフ時間固定モードなどのパルス変調器を含んでもよい。
同期整流コントローラ300bについて説明する。同期整流コントローラ300bは3つの半導体チップ(ダイ)SC3、SC4、SC5を含む。半導体チップSC3は、高耐圧プロセスで製造され、ゲートに所定のバイアス電圧Vが印加されたFETであるトランジスタM10を含み、同期整流トランジスタM2のドレイン電圧Vをクランプする。トランジスタM10によりクランプされたドレイン電圧V’は、セットコンパレータ332、リセットコンパレータ334に入力される。半導体チップSC4は図6の駆動回路302bに対応し、パルス発生器304およびドライバ306を含む。
駆動回路302は、パルス発生器304、ドライバ306に加えて、UVLO回路320、内部レギュレータ322、ドライバ用レギュレータ324を含む。UVLO(低電圧ロックアウト)回路320は、VCC端子の電圧がしきい値(3V)より低くなると、駆動回路302を停止する。内部レギュレータ322は、VCC端子の電圧をレギュレートし、その他の回路に供給する。ドライバ用レギュレータ324は、VCC端子の電圧をレギュレートし、ドライバ306の電源電圧を生成する。
パルス発生器304は、ブランキング回路330、セットコンパレータ332、リセットコンパレータ334、ANDゲート336、ORゲート338、フリップフロップ340、ブランキング回路342を含む。
同期整流トランジスタM2のドレイン端子と、セットコンパレータ332、リセットコンパレータ334の入力端子(−)の間には、図示しない高耐圧クランプ回路が挿入される。セットコンパレータ332は、同期整流トランジスタM2のドレインソース間電圧VDSを第1しきい値電圧VTH1(=−50mV)と比較する。VDS<VTH1となりセットコンパレータ332の出力(セットパルス)がアサート(ハイレベル)されると、フリップフロップ340の出力(パルス信号)S1がオンレベル(ハイレベル)に遷移する。
リセットコンパレータ334は、同期整流トランジスタM2のドレインソース間電圧VDSを第2しきい値電圧VTH2(=−10mV)と比較する。VDS>VTH2となりリセットコンパレータ334の出力(リセットパルス)がネゲート(ローレベル)されると、フリップフロップ340がリセットされ、その出力S1がオフレベル(ローレベル)に遷移する。
ブランキング回路330、ブランキング回路342はそれぞれ、同期整流トランジスタM2のドレイン電圧Vがノイズにより変動する期間、セットコンパレータ332からのセットパルス、リセットコンパレータ334からのリセットパルスをマスクするために利用される。それぞれのブランキング(マスク)時間は、T_BLANK1端子、T_BLANK2端子に外付けされる抵抗R11、R12により設定可能である。ANDゲート336は、セットパルスとブランキング回路330の出力の論理積をとることにより、セットパルスをマスクする。同様に、ORゲート338は、リセットパルスとブランキング回路342の出力の論理和をとることにより、リセットパルスをマスクする。
半導体チップSC5には、エラーアンプ410、異常検出回路420、保護回路430、内部レギュレータ450、UVLO回路460を備える。UVLO回路460は、PC端子(SH_OUTピン)の電圧を所定のしきい値電圧(1.4V)と比較し、低電圧状態において半導体チップSC5上の回路を停止する。また内部レギュレータ450は、PC端子の電圧を受け、それを安定化して得られる内部電源電圧VCC2をエラーアンプ410eおよび異常検出回路420に供給する。本実施の形態において、ダイオードD2は、PC端子の電圧をトランジスタ312の状態にかかわらず、ツェナー電圧Vzを下限としてクランプする機能を果たし、これにより所定レベルの内部電源電圧VCC2が確実に生成されて半導体チップSC5内の安定動作が保証される。
(第3の実施の形態)
図8は、第3の実施の形態に係る同期整流コントローラ300cを備えるDC/DCコンバータ200cのブロック図である。この実施の形態に係る同期整流コントローラ300cは、第2の実施の形態(図5)のDC/DCコンバータ200aの同期整流トランジスタM2を、同期整流コントローラ300と同一のモジュールに内蔵した構成となっている。そのほかは図5の同様である。
異常検出回路420cは、同期整流トランジスタM2の温度を監視し、過熱状態を検出する機能を備える。図4に示すように、同期整流トランジスタM2が外付けされる場合、同じく外付けされるサーミスタ220を用いて同期整流トランジスタM2の温度を監視し、過熱異常が検出される。一方、図8のように同期整流トランジスタM2を同期整流コントローラ300cに内蔵する場合、外付けのサーミスタを用いる必要はなく、半導体基板上に温度検出回路を形成すればよい。
図9(a)、(b)は、図8の異常検出回路420cの構成例を示す回路図である。図9(a)、(b)には、過熱異常を検出する部分のみが示される。異常検出回路420cは、温度検出回路423と、温度保護コンパレータ424を備える。温度検出回路423は、温度に依存する検出電圧S11を生成する。温度保護コンパレータ424は、検出電圧S1を所定のしきい値電圧VTSDと比較し、温度が所定のしきい値を超えると、保護信号S12をアサートする。温度検出回路423は、温度検出素子であるダイオードの順方向電圧Vfの温度依存性を利用して温度を検出する。
図9(a)の温度検出回路423aは、ダイオード12と、ダイオード12に定電流Icを供給する電流源14と、を備え、ダイオード12の順方向電圧(電圧降下)Vfを検出電圧S11として出力する。出力Vfは、以下の式(1)で与えられる。ダイオードは、バイポーラトランジスタのベースエミッタ接合を利用して構成してもよく、この場合VfはVbeと読み替えればよいが、それらは等価である。
Vf=V×ln(Ic/I) …(1)
=kT/q
Tは温度、kはボルツマン定数、qは電子素量、Iは飽和電流である。Iもまた温度依存性を有することに留意されたい。図9(a)の温度検出回路は、負の温度特性(CTAT:Complimentary To Absolute Temperature)を有する。
図9(b)の温度検出回路423bは、ダイオード22、24と、ダイオード22、24に定電流Ic1、Ic2を供給する電流源26、28と、アンプ30とを備える。ダイオード24に流れる電流密度は、ダイオード22に流れる電流密度の1/n倍となっている。たとえばIc1=Ic2として、ダイオード24のサイズが、ダイオード22のサイズのn倍とされる。あるいは、ダイオード22と24のサイズを等しくし、Ic1=n×Ic2としてもよい。
温度検出回路423bは、2つのダイオード22、24の順方向電圧Vf1、Vf2の差分ΔVf(=Vf1−Vf2)を出力する。差分Δfは、式(2)で与えられ、正の温度特性(PTAT:Proportional to Absolute Temperature)を有する。
ΔVf=Vf1−Vf2=V×ln(n) …(2)
式(2)から分かるように、図9(b)の温度検出回路423bは、図9(a)の温度検出回路423aと比べて、IcやIのばらつきの影響を受けにくい構成となっている。
図10は、図8の同期整流コントローラ300cの具体的な構成例を示す回路図である。同期整流コントローラ300cは2つの半導体チップ(ダイ)SC6、SC7を含む。半導体チップSC6には同期整流コントローラ300cの構成素子のうち、同期整流トランジスタM2および温度検出回路423a(423b)の一部あるいは全部が集積化される。具体的には温度検出回路423a(423b)は、図9(a)もしくは図9(b)のようにダイオード12,22,24を用いて構成される。半導体チップSC6には、少なくともダイオード12,22,24が集積化される。
図9(a)の温度検出回路423aを採用する場合、電流源14は、好ましくは半導体チップSC6に集積化されるが、半導体チップSC7に集積化してもよい。
図9(b)の温度検出回路423bを採用する場合、電流源26,28を半導体チップSC6に集積化し、アンプ30を半導体チップSC7に集積化してもよい。あるいは、電流源26,28、アンプ30を半導体チップSC6に集積化してもよい。反対に電流源26,28、アンプ30を半導体チップSC7に集積化してもよい。
図10のレイアウトでは、図9(a)の温度検出回路423が採用され、そのダイオード12が半導体チップSC6に集積化される。ボンディングワイヤW1、W2は、ダイオード12のアノード、カソードと接続される。ボンディングワイヤW3は、半導体チップSC7に集積化されるドライバ306の出力と、半導体チップSC6に集積化される同期整流トランジスタM2のゲートの間を結線する。
TON_MAX端子には、スイッチングトランジスタM1の最大オン時間を設定するための外付けの回路素子(抵抗もしくはキャパシタ)が接続される。TON_MAX端子には、そのほかの機能を割り当ててもよい。
同期整流コントローラ300cにおいて高温異常が検出されると、フォトカプラ204を介してコントローラ202に通知され、スイッチングトランジスタM1のスイッチングが停止する。
第3の実施の形態の利点は、以下の比較技術との対比により明確となる。比較技術では、温度検出回路423のすべてが、同期整流コントローラの主たる半導体チップSC7に集積化される。主たる発熱体は同期整流トランジスタM2であるため、先に半導体チップSC7の温度が上昇し、その熱の一部がパッケージを経由して半導体チップSC6に伝搬する。したがって半導体チップSC6に温度検出回路423を集積化すると、同期整流トランジスタM2の温度を遅れて検出することとなり、またその温度を正確に検出できない。これに対して第3の実施の形態では、温度検出回路423の温度検出素子、すなわちダイオード12(22,24)を、同期整流トランジスタM2と同一の半導体チップSC7に集積化することにより、遅延無く正確なデバイス温度を検出することができる。
続いて、DC/DCコンバータ200の用途を説明する。
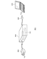
図11は、AC/DCコンバータ100を備えるACアダプタ800を示す図である。ACアダプタ800は、プラグ802、筐体804、コネクタ806を備える。プラグ802は、図示しないコンセントから商用交流電圧VACを受ける。AC/DCコンバータ100は、筐体804内に実装される。AC/DCコンバータ100により生成された直流出力電圧VOUTは、コネクタ806から電子機器810に供給される。電子機器810は、ノートPC、デジタルカメラ、デジタルビデオカメラ、携帯電話、携帯オーディオプレイヤなどが例示される。
図12(a)、(b)は、AC/DCコンバータ100を備える電子機器900を示す図である。図12(a)、(b)の電子機器900はディスプレイ装置であるが、電子機器900の種類は特に限定されず、オーディオ機器、冷蔵庫、洗濯機、掃除機など、電源装置を内蔵する機器であればよい。
プラグ902、図示しないコンセントから商用交流電圧VACを受ける。AC/DCコンバータ100は、筐体804内に実装される。AC/DCコンバータ100により生成された直流出力電圧VOUTは、同じ筐体904内に搭載される、マイコン、DSP(Digital Signal Processor)、電源回路、照明機器、アナログ回路、デジタル回路などの負荷に供給される。
以上、本発明について、実施の形態をもとに説明した。この実施の形態は例示であり、それらの各構成要素や各処理プロセスの組み合わせにいろいろな変形例が可能なこと、またそうした変形例も本発明の範囲にあることは当業者に理解されるところである。以下、こうした変形例について説明する。
(第1変形例)
実施の形態では、フライバックコンバータを説明したが、本発明はフォワードコンバータにも適用可能である。この場合にはトランスT1の2次側に、複数の同期整流用のトランジスタが配置されることとなる。同期整流コントローラは、複数の同期整流トランジスタをスイッチングするよう構成された駆動回路302と、エラーアンプ410が、単一のパッケージにモジュール化される。あるいは、図2、図4、図5の同期整流コントローラを複数個、利用することで、フォワードコンバータに対応することもできる。またコンバータは疑似共振型であってもよい。
(第2変形例)
スイッチングトランジスタや同期整流トランジスタの少なくとも一方は、バイポーラトランジスタやIGBTであってもよい。
(第3変形例)
実施の形態では、保護回路430が保護トランジスタ432を含む場合を説明したが、保護回路430の構成はそれには限定されず、(1)エラーアンプ410の出力を無効化し、(2)スイッチングトランジスタM1のオン時間(デューティ比)が小さくなるように、コントローラ202へのフィードバック電圧VFBを変化させることができる構成であればよい。たとえば図2において、保護回路430は、電源電圧(ハイレベル電圧)と出力トランジスタ412の間に挿入されたスイッチ(トランジスタ)を含んでもよい。異常検出信号S4がアサートされたときに、このスイッチをオンすることでエラーアンプ410による電圧フィードバックは無効化され、またスイッチングトランジスタM1のオン時間を短くできる。
(第4変形例)
第1の実施の形態(図2、図4)では異常検出回路420および保護回路430が、エラーアンプ410とともに集積化され、第2の実施の形態、第3の実施の形態(図5〜図7)では同期整流コントローラ300aに、異常検出回路420および保護回路430が集積化される場合を説明したが本発明はそれには限定されない。たとえば同期整流コントローラ300、エラーアンプ410、異常検出回路420、保護回路430は、別々のICに集積化されてもよい。またエラーアンプ410としてシャントレギュレータを利用してもよい。また保護回路430のトランジスタは、外付けのディスクリート素子を用いてもよい。
(第5変形例)
第3の実施の形態において、エラーアンプ410が同期整流コントローラ300cに内蔵されることとしたが、この場合に、エラーアンプ410は、半導体チップSC6,7とは別の半導体チップに集積化されてもよい。あるいはエラーアンプ410は同期整流コントローラ300とは独立したパッケージに収容されたシャントレギュレータであってもよい。
実施の形態にもとづき、具体的な語句を用いて本発明を説明したが、実施の形態は、本発明の原理、応用を示しているにすぎず、実施の形態には、請求の範囲に規定された本発明の思想を逸脱しない範囲において、多くの変形例や配置の変更が認められる。
100…AC/DCコンバータ、102…フィルタ、104…整流回路、106…平滑キャパシタ、200…DC/DCコンバータ、202…コントローラ、204…フォトカプラ、210…出力回路、M1…スイッチングトランジスタ、M2…同期整流トランジスタ、C1…出力キャパシタ、T1…トランス、W1…1次巻線、W2…2次巻線、300…同期整流コントローラ、302…駆動回路、304…パルス発生器、306…ドライバ、320…UVLO回路、322…内部レギュレータ、410…エラーアンプ、412…出力トランジスタ、414…差動アンプ、420…異常検出回路、430…保護回路、800…ACアダプタ、802…プラグ、804…筐体、806…コネクタ、810,900…電子機器、902…プラグ、904…筐体。

Claims (23)

  1. 絶縁同期整流型DC/DCコンバータの2次側に配置されるフィードバック回路であって、
    前記絶縁同期整流型DC/DCコンバータは、
    1次巻線および2次巻線を有するトランスと、
    前記トランスの1次巻線と接続されるスイッチングトランジスタと、
    前記トランスの2次巻線と接続される同期整流トランジスタと、
    フィードバック用フォトカプラと、
    前記フィードバック用フォトカプラの出力側と接続され、前記フィードバック用フォトカプラからのフィードバック信号に応じて前記スイッチングトランジスタをスイッチングする1次側コントローラと、
    前記同期整流トランジスタを制御する同期整流コントローラと、
    前記フィードバック用フォトカプラの入力側と接続される前記フィードバック回路と、
    を備え、
    前記フィードバック回路は、
    前記フォトカプラの入力側と接続されるフォトカプラ接続端子と、
    一端が前記フォトカプラ接続端子と接続されるダイオードと、
    前記フォトカプラ接続端子の電圧を受け、それを安定化して内部電源電圧を生成する内部レギュレータと、
    前記DC/DCコンバータの出力電圧に応じた電圧検出信号とその目標電圧の誤差を増幅する差動アンプと、そのベース/ゲートに前記差動アンプの出力信号が入力され、そのエミッタ/ソースが接地され、そのコレクタ/ドレインが前記ダイオードの他端と接続される第1出力トランジスタと、を含み、前記誤差に応じた電流を前記フォトカプラ接続端子を介して前記フォトカプラの入力側から引き込むエラーアンプと、
    前記DC/DCコンバータの2次側の異常を検出すると、異常検出信号をアサートする異常検出回路と、
    そのベース/ゲートに前記異常検出信号が入力され、そのエミッタ/ソースが接地され、そのコレクタ/ドレインが前記ダイオードの前記他端と接続される第2出力トランジスタを含み、前記異常検出信号がアサートされると、前記エラーアンプによるフィードバックが無効となり、前記スイッチングトランジスタのオン時間が減少するように、前記フォトカプラ接続端子を介してフィードバック用フォトカプラに作用する保護回路と、
    を備え、
    単一のモジュールにパッケージ化されることを特徴とするフィードバック回路。
  2. 前記DC/DCコンバータの2次側に流れる電流に応じた電流検出信号とその上限レベルの誤差を増幅し、前記誤差に応じた電流を前記フォトカプラ接続端子を介して前記フォトカプラの入力側から引き込む過電流保護回路をさらに備えることを特徴とする請求項に記載のフィードバック回路。
  3. 前記過電流保護回路は、前記エラーアンプと同様の構成を有することを特徴とする請求項に記載のフィードバック回路。
  4. 前記異常検出回路は、前記DC/DCコンバータの2次側の過電圧状態、過熱状態の少なくとも一方を検出可能に構成されることを特徴とする請求項1からのいずれかに記載のフィードバック回路。
  5. 1次巻線および2次巻線を有するトランスと、
    前記トランスの1次巻線と接続されるスイッチングトランジスタと、
    前記トランスの2次巻線と接続される前記同期整流トランジスタと、
    フィードバック用フォトカプラと、
    前記フィードバック用フォトカプラの出力側と接続され、前記フィードバック用フォトカプラからのフィードバック信号に応じて前記スイッチングトランジスタをスイッチングする1次側コントローラと、
    前記同期整流トランジスタを制御する同期整流コントローラと、
    前記フィードバック用フォトカプラの入力側と接続される請求項1からのいずれかに記載のフィードバック回路と、
    を備えることを特徴とする絶縁同期整流型DC/DCコンバータ。
  6. 絶縁同期整流型DC/DCコンバータの2次側に配置され、前記DC/DCコンバータの2次側の同期整流トランジスタを制御する同期整流コントローラであって、
    前記絶縁同期整流型DC/DCコンバータは、
    1次巻線および2次巻線を有するトランスと、
    前記トランスの1次巻線と接続されるスイッチングトランジスタと、
    前記トランスの2次巻線と接続される前記同期整流トランジスタと、
    フォトカプラと、
    前記フォトカプラの出力側と接続され、前記フォトカプラからのフィードバック信号に応じて前記スイッチングトランジスタをスイッチングする1次側コントローラと、
    を備え、
    前記同期整流コントローラは、
    前記同期整流トランジスタをスイッチングする駆動回路と、
    前記フォトカプラの入力側と接続されるフォトカプラ接続端子と、
    一端が前記フォトカプラ接続端子と接続されるダイオードと、
    前記フォトカプラ接続端子の電圧を受け、それを安定化して内部電源電圧を生成する内部レギュレータと、
    前記DC/DCコンバータの出力電圧に応じた電圧検出信号とその目標電圧の誤差を増幅する差動アンプと、そのベース/ゲートに前記差動アンプの出力信号が入力され、そのエミッタ/ソースが接地され、そのコレクタ/ドレインが前記ダイオードの他端と接続される第1出力トランジスタと、を含み、前記誤差に応じた電流を前記フォトカプラ接続端子を介して前記フォトカプラの入力側から引き込むエラーアンプと、
    前記DC/DCコンバータの2次側の異常を検出すると、異常検出信号をアサートする異常検出回路と、
    そのベース/ゲートに前記異常検出信号が入力され、そのエミッタ/ソースが接地され、そのコレクタ/ドレインが前記ダイオードの前記他端と接続される第2出力トランジスタを含み、前記異常検出信号がアサートされると、前記エラーアンプによるフィードバックが無効となり、前記スイッチングトランジスタのオン時間が減少するように、前記フォトカプラ接続端子に作用する保護回路と、
    を備え、
    単一のモジュールにパッケージ化されることを特徴とする同期整流コントローラ。
  7. 前記DC/DCコンバータの2次側に流れる電流に応じた電流検出信号とその上限レベルの誤差を増幅し、前記誤差に応じた電流を前記フォトカプラ接続端子を介して前記フォトカプラの入力側から引き込む過電流保護回路をさらに備えることを特徴とする請求項に記載の同期整流コントローラ。
  8. 前記過電流保護回路は、前記エラーアンプと同様の構成を有することを特徴とする請求項に記載の同期整流コントローラ。
  9. 前記異常検出回路は、前記DC/DCコンバータの2次側の過電圧状態、過熱状態の少なくとも一方を検出可能に構成されることを特徴とする請求項6から8のいずれかに記載の同期整流コントローラ。
  10. 前記異常検出回路および前記エラーアンプのセットと前記駆動回路とは、電源プレーンが独立しており、またそれらのグランドプレーンが独立していることを特徴とする請求項6から9のいずれかに記載の同期整流コントローラ。
  11. 絶縁同期整流型DC/DCコンバータの2次側に配置され、前記DC/DCコンバータの2次側の同期整流トランジスタを制御する同期整流コントローラであって、
    前記絶縁同期整流型DC/DCコンバータは、
    1次巻線および2次巻線を有するトランスと、
    前記トランスの1次巻線と接続されるスイッチングトランジスタと、
    前記トランスの2次巻線と接続される前記同期整流トランジスタと、
    フォトカプラと、
    前記フォトカプラの出力側と接続され、前記フォトカプラからのフィードバック信号に応じて前記スイッチングトランジスタをスイッチングする1次側コントローラと、
    を備え、
    前記同期整流コントローラは、
    前記同期整流トランジスタをスイッチングする駆動回路と、
    前記フォトカプラの入力側と接続されるフォトカプラ接続端子と、
    前記DC/DCコンバータの出力電圧に応じた電圧検出信号とその目標電圧の誤差を増幅し、誤差に応じた電流を前記フォトカプラ接続端子を介して前記フォトカプラの入力側から引き込むエラーアンプと、
    前記DC/DCコンバータの2次側の異常を検出すると、異常検出信号をアサートする異常検出回路と、
    前記フォトカプラ接続端子と接続され、前記異常検出信号がアサートされると、前記エラーアンプによるフィードバックが無効となり、前記スイッチングトランジスタのオン時間が減少するように、前記フォトカプラ接続端子に作用する保護回路と、
    を備え、
    単一のモジュールにパッケージ化され、
    前記異常検出回路および前記エラーアンプのセットと前記駆動回路とは、電源プレーンが独立しており、またそれらのグランドプレーンが独立しており、
    前記同期整流トランジスタは、前記2次巻線の高電位側に挿入されるものであり、
    前記トランスは、その2次側に設けられた補助巻線をさらに有し、
    前記DC/DCコンバータは、前記補助巻線を利用して前記同期整流トランジスタと前記2次巻線の間のラインの電位を基準とした外部電源電圧を生成するよう構成され、
    前記駆動回路の前記グランドプレーンには、前記ラインの電位が供給され、前記駆動回路の前記電源プレーンには、前記外部電源電圧が供給されることを特徴とする同期整流コントローラ。
  12. 前記エラーアンプおよび前記異常検出回路の共通の前記電源プレーンには、前記フォトカプラ接続端子の電圧から生成された内部電源電圧が供給され、前記エラーアンプおよび前記異常検出回路の共通の前記グランドプレーンには前記DC/DCコンバータの2次側の接地電位が供給されることを特徴とする請求項11に記載の同期整流コントローラ。
  13. 1次巻線および2次巻線を有するトランスと、
    前記トランスの前記1次巻線と接続されるスイッチングトランジスタと、
    前記トランスの前記2次巻線と接続される同期整流トランジスタと、
    出力キャパシタと、
    フォトカプラと、
    前記同期整流トランジスタをスイッチングするとともに、前記出力キャパシタの出力電圧とその目標レベルの誤差に応じた電流を、前記フォトカプラの入力側に供給する請求項6から12のいずれかに記載の同期整流コントローラと、
    前記フォトカプラの出力側と接続され、前記同期整流コントローラが生成した前記電流に応じたフィードバック信号に応じて、前記スイッチングトランジスタを駆動する1次側コントローラと、
    を備えることを特徴とする絶縁同期整流型DC/DCコンバータ。
  14. フライバック型であることを特徴とする請求項5または13に記載の絶縁同期整流型DC/DCコンバータ。
  15. フォワード型であることを特徴とする請求項5または13に記載の絶縁同期整流型DC/DCコンバータ。
  16. 商用交流電圧をフィルタリングするフィルタと、
    前記フィルタの出力電圧を全波整流するダイオード整流回路と、
    前記ダイオード整流回路の出力電圧を平滑化し、直流入力電圧を生成する平滑キャパシタと、
    前記直流入力電圧を降圧し、負荷に供給する請求項14または15に記載の絶縁同期整流型DC/DCコンバータと、
    を備えることを特徴とする電源装置。
  17. 負荷と、
    商用交流電圧をフィルタリングするフィルタと、
    前記フィルタの出力電圧を全波整流するダイオード整流回路と、
    前記ダイオード整流回路の出力電圧を平滑化し、直流入力電圧を生成する平滑キャパシタと、
    前記直流入力電圧を降圧し、前記負荷に供給する請求項14または15に記載の絶縁同期整流型DC/DCコンバータと、
    を備えることを特徴とする電子機器。
  18. 商用交流電圧をフィルタリングするフィルタと、
    前記フィルタの出力電圧を全波整流するダイオード整流回路と、
    前記ダイオード整流回路の出力電圧を平滑化し、直流入力電圧を生成する平滑キャパシタと、
    前記直流入力電圧を降圧し、直流出力電圧を生成する請求項14または15に記載の絶縁同期整流型DC/DCコンバータと、
    を備えることを特徴とする電源アダプタ。
  19. 絶縁同期整流型DC/DCコンバータの2次側に配置されるフィードバック回路であって、
    前記絶縁同期整流型DC/DCコンバータは、
    1次巻線および2次巻線を有するトランスと、
    前記トランスの1次巻線と接続されるスイッチングトランジスタと、
    前記トランスの2次巻線と接続される同期整流トランジスタと、
    フィードバック用フォトカプラと、
    前記フィードバック用フォトカプラの出力側と接続され、前記フィードバック用フォトカプラからのフィードバック信号に応じて前記スイッチングトランジスタをスイッチングする1次側コントローラと、
    前記同期整流トランジスタを制御する同期整流コントローラと、
    前記フィードバック用フォトカプラの入力側と接続される前記フィードバック回路と、
    を備え、
    前記フィードバック回路は、
    前記フォトカプラの入力側と接続されるフォトカプラ接続端子と、
    前記DC/DCコンバータの出力電圧に応じた電圧検出信号とその目標電圧の誤差を増幅し、前記誤差に応じた電流を前記フォトカプラ接続端子を介して前記フォトカプラの入力側から引き込むエラーアンプと、
    前記DC/DCコンバータの2次側の異常を検出すると、異常検出信号をアサートする異常検出回路と、
    前記フォトカプラ接続端子と接続され、前記異常検出信号がアサートされると、前記エラーアンプによるフィードバックが無効となり、前記スイッチングトランジスタのオン時間が減少するように、前記フォトカプラ接続端子を介してフィードバック用フォトカプラに作用する保護回路と、
    を備え、
    単一のモジュールにパッケージ化され、
    前記異常検出回路は、前記DC/DCコンバータの2次側の過電圧状態、過熱状態を検出可能に構成され
    前記異常検出回路は、
    前記過電圧状態を検出する第1検出回路と、
    前記過熱状態を検出する第2検出回路と、
    所定時間より長い期間にわたり前記過電圧状態と前記過熱状態の少なくとも一方が発生すると、前記異常検出信号をアサートするタイマー回路と、
    を含むことを特徴とするフィードバック回路。
  20. 前記タイマー回路は、
    その出力が前記異常検出信号であるフリップフロップと、
    前記所定時間より長い期間にわたり前記過電圧状態と前記過熱状態の少なくとも一方が発生すると、前記フリップフロップにトリガを与えるタイマーと、
    を含むことを特徴とする請求項19に記載のフィードバック回路。
  21. 絶縁同期整流型DC/DCコンバータの2次側に配置されるフィードバック回路であって、
    前記絶縁同期整流型DC/DCコンバータは、
    1次巻線および2次巻線を有するトランスと、
    前記トランスの1次巻線と接続されるスイッチングトランジスタと、
    前記トランスの2次巻線と接続される同期整流トランジスタと、
    フィードバック用フォトカプラと、
    前記フィードバック用フォトカプラの出力側と接続され、前記フィードバック用フォトカプラからのフィードバック信号に応じて前記スイッチングトランジスタをスイッチングする1次側コントローラと、
    前記同期整流トランジスタを制御する同期整流コントローラと、
    前記フィードバック用フォトカプラの入力側と接続される前記フィードバック回路と、
    を備え、
    前記フィードバック回路は、
    前記フォトカプラの入力側と接続されるフォトカプラ接続端子と、
    前記DC/DCコンバータの出力電圧に応じた電圧検出信号とその目標電圧の誤差を増幅し、前記誤差に応じた電流を前記フォトカプラ接続端子を介して前記フォトカプラの入力側から引き込むエラーアンプと、
    前記DC/DCコンバータの2次側の異常を検出すると、異常検出信号をアサートする異常検出回路と、
    前記フォトカプラ接続端子と接続され、前記異常検出信号がアサートされると、前記エラーアンプによるフィードバックが無効となり、前記スイッチングトランジスタのオン時間が減少するように、前記フォトカプラ接続端子を介してフィードバック用フォトカプラに作用する保護回路と、
    を備え、
    単一のモジュールにパッケージ化され、
    前記フィードバック回路、前記同期整流コントローラおよび前記同期整流トランジスタは、ひとつのモジュールにパッケージ化され、
    前記ひとつのモジュールは、ゲートに所定のバイアス電圧を受け、一端が前記同期整流トランジスタのドレインと接続され、他端の電圧が前記同期整流トランジスタのゲート信号の生成に使用されるFET(Field Effect Transistor)を含むことを特徴とするフィードバック回路。
  22. 絶縁同期整流型DC/DCコンバータの2次側に配置されるフィードバック回路であって、
    前記絶縁同期整流型DC/DCコンバータは、
    1次巻線および2次巻線を有するトランスと、
    前記トランスの1次巻線と接続されるスイッチングトランジスタと、
    前記トランスの2次巻線と接続される同期整流トランジスタと、
    フィードバック用フォトカプラと、
    前記フィードバック用フォトカプラの出力側と接続され、前記フィードバック用フォトカプラからのフィードバック信号に応じて前記スイッチングトランジスタをスイッチングする1次側コントローラと、
    前記同期整流トランジスタを制御する同期整流コントローラと、
    前記フィードバック用フォトカプラの入力側と接続される前記フィードバック回路と、
    を備え、
    前記フィードバック回路は、
    前記フォトカプラの入力側と接続されるフォトカプラ接続端子と、
    前記DC/DCコンバータの出力電圧に応じた電圧検出信号とその目標電圧の誤差を増幅し、前記誤差に応じた電流を前記フォトカプラ接続端子を介して前記フォトカプラの入力側から引き込むエラーアンプと、
    前記DC/DCコンバータの2次側の異常を検出すると、異常検出信号をアサートする異常検出回路と、
    前記フォトカプラ接続端子と接続され、前記異常検出信号がアサートされると、前記エラーアンプによるフィードバックが無効となり、前記スイッチングトランジスタのオン時間が減少するように、前記フォトカプラ接続端子を介してフィードバック用フォトカプラに作用する保護回路と、
    を備え、
    記フィードバック回路、前記同期整流コントローラおよび前記同期整流トランジスタは、ひとつのモジュールにパッケージ化され、
    前記ひとつのモジュールは、前記同期整流トランジスタのドレインと共通に接続される2個のドレインピンを含むことを特徴とするフィードバック回路。
  23. 前記ひとつのモジュールは、
    前記同期整流トランジスタの最大オン時間を規定するため第1ピンと、
    前記フォトカプラ接続端子である第2ピンと、
    電源電圧を受ける第3ピンと、
    前記同期整流トランジスタのソースと接続される第4ピンと、
    前記電圧検出信号を受ける第5ピンと、
    外部のグランドと接続される第6ピンと、
    をさらに有し、
    前記第1ピンから前記第4ピンはパッケージの1辺に沿って設けられ、前記第5ピンおよび前記第6ピンおよび前記2個のドレインピンは、前記パッケージの別の辺に沿って設けられることを特徴とする請求項22に記載のフィードバック回路。
JP2015108898A 2014-08-01 2015-05-28 絶縁同期整流型dc/dcコンバータおよびそのフィードバック回路、その同期整流コントローラ、それを用いた電源装置、電源アダプタおよび電子機器 Active JP6554325B2 (ja)

Priority Applications (3)

Application Number Priority Date Filing Date Title
JP2015108898A JP6554325B2 (ja) 2014-08-01 2015-05-28 絶縁同期整流型dc/dcコンバータおよびそのフィードバック回路、その同期整流コントローラ、それを用いた電源装置、電源アダプタおよび電子機器
CN201510462893.6A CN105322802B (zh) 2014-08-01 2015-07-31 反馈电路、dc/dc转换器、同步整流控制器及其模块
US14/814,966 US9991809B2 (en) 2014-08-01 2015-07-31 Insulation-type synchronous DC/DC converter

Applications Claiming Priority (3)

Application Number Priority Date Filing Date Title
JP2014158075 2014-08-01
JP2014158075 2014-08-01
JP2015108898A JP6554325B2 (ja) 2014-08-01 2015-05-28 絶縁同期整流型dc/dcコンバータおよびそのフィードバック回路、その同期整流コントローラ、それを用いた電源装置、電源アダプタおよび電子機器

Publications (3)

Publication Number Publication Date
JP2016036242A JP2016036242A (ja) 2016-03-17
JP2016036242A5 JP2016036242A5 (ja) 2018-03-15
JP6554325B2 true JP6554325B2 (ja) 2019-07-31

Family

ID=55181054

Family Applications (1)

Application Number Title Priority Date Filing Date
JP2015108898A Active JP6554325B2 (ja) 2014-08-01 2015-05-28 絶縁同期整流型dc/dcコンバータおよびそのフィードバック回路、その同期整流コントローラ、それを用いた電源装置、電源アダプタおよび電子機器

Country Status (3)

Country Link
US (1) US9991809B2 (ja)
JP (1) JP6554325B2 (ja)
CN (1) CN105322802B (ja)

Families Citing this family (48)

* Cited by examiner, † Cited by third party
Publication number Priority date Publication date Assignee Title
JP6374261B2 (ja) * 2014-08-01 2018-08-15 ローム株式会社 絶縁同期整流型dc/dcコンバータおよびその同期整流コントローラ、それを用いた電源装置、電源アダプタおよび電子機器
JP6554325B2 (ja) 2014-08-01 2019-07-31 ローム株式会社 絶縁同期整流型dc/dcコンバータおよびそのフィードバック回路、その同期整流コントローラ、それを用いた電源装置、電源アダプタおよび電子機器
KR102213262B1 (ko) * 2014-10-06 2021-02-08 현대모비스 주식회사 Ldc의 과열 방지를 위한 ldc 제어 장치 및 그 동작 방법
JP6578111B2 (ja) * 2015-03-05 2019-09-18 ローム株式会社 絶縁型のdc/dcコンバータおよびそのフィードバック回路、それを用いた電源装置、電源アダプタおよび電子機器
JP6633863B2 (ja) * 2015-08-07 2020-01-22 ローム株式会社 絶縁同期整流型dc/dcコンバータ、同期整流コントローラ、それを用いた電源装置、電源アダプタおよび電子機器、同期整流コントローラの制御方法
US20170117813A1 (en) * 2015-10-21 2017-04-27 Quanta Computer Inc. Method and system for testing a power supply unit
CN105323923B (zh) * 2015-10-27 2018-11-30 浙江生辉照明有限公司 Led智能控制电路及led照明装置
US10868473B2 (en) * 2015-11-30 2020-12-15 Semiconductor Components Industries, Llc Secondary side controlled control circuit for power converter with synchronous rectifier
JP6149953B1 (ja) * 2016-02-01 2017-06-21 オンキヨー株式会社 保護回路、及び、スイッチング電源
JP6723038B2 (ja) * 2016-03-23 2020-07-15 ローム株式会社 絶縁同期整流型dc/dcコンバータ、同期整流回路、電源アダプタおよび電子機器、制御方法
JP6732513B2 (ja) * 2016-04-22 2020-07-29 ローム株式会社 Dc/dcコンバータおよび電源アダプタおよび電子機器
JP6817298B2 (ja) * 2016-05-26 2021-01-20 三菱電機株式会社 フライバック電源、インバータ及び電動車両
JP6748483B2 (ja) * 2016-05-31 2020-09-02 キヤノン株式会社 コンバータ、及び、コンバータを備えた画像形成装置
JP6791658B2 (ja) * 2016-06-15 2020-11-25 ローム株式会社 絶縁同期整流型dc/dcコンバータ、電源アダプタおよび電子機器
JP6842252B2 (ja) * 2016-07-01 2021-03-17 ローム株式会社 絶縁同期整流型dc/dcコンバータ、その保護方法、電源アダプタおよび電子機器
US9837916B1 (en) * 2016-07-06 2017-12-05 Semiconductor Components Industries, Llc Method and apparatus for synchronous rectifier
US9825543B1 (en) * 2016-08-04 2017-11-21 Semiconductor Components Industries, Llc Power converter and control method for fault event occurrence
JP6772730B2 (ja) 2016-09-30 2020-10-21 ブラザー工業株式会社 電源システムおよび画像形成装置
JP7017851B2 (ja) * 2016-12-01 2022-02-09 住友重機械工業株式会社 故障診断システムおよび処理ユニット
CN108206635B (zh) * 2016-12-16 2020-04-28 罗姆股份有限公司 Dc/dc转换器及其控制方法、电源适配器及电子设备
JP7002919B2 (ja) * 2016-12-16 2022-01-20 ローム株式会社 絶縁同期整流型dc/dcコンバータ、電源アダプタおよび電子機器、dc/dcコンバータの制御方法
TWI622257B (zh) * 2017-07-05 2018-04-21 力林科技股份有限公司 電源轉換裝置及其同步整流電路
JP6808589B2 (ja) * 2017-07-21 2021-01-06 株式会社東芝 発電システム
US10511273B2 (en) * 2017-12-07 2019-12-17 Silicon Laboratories Inc. Power transfer device using an oscillator
JP7028653B2 (ja) * 2018-01-17 2022-03-02 ローム株式会社 絶縁同期整流型dc/dcコンバータ
JP7108173B2 (ja) * 2018-01-22 2022-07-28 ミツミ電機株式会社 スイッチング電源装置および直流電源装置
US10826334B2 (en) 2018-03-29 2020-11-03 Silicon Laboratories Inc. Electromagnetic radiation control for isolated power transfer product
US10601333B2 (en) 2018-08-22 2020-03-24 Infineon Technologies Austria Ag Feedforward enhanced feedback control in isolated switched-mode power converters with secondary-side rectified voltage sensing
US11502595B2 (en) * 2018-09-06 2022-11-15 Infineon Technologies Austria Ag Voltage and current protection in isolated switched-mode power converters with secondary-side rectified voltage sensing
US10833535B2 (en) 2018-09-25 2020-11-10 Silicon Laboratories Inc. Power resonator with wide input voltage range for isolated power transfer
CN113489328B (zh) * 2018-11-08 2024-02-27 立锜科技股份有限公司 零电压切换控制电路与返驰式电源供应电路及其控制方法
US10770983B2 (en) 2018-12-06 2020-09-08 Infineon Technologies Austria Ag Circuits and methods for secondary-side rectified voltage sensing in isolated switched-mode power converters
EP3674677B1 (en) * 2018-12-27 2021-09-08 Nxp B.V. A controller for a switched mode power supply
JP7044093B2 (ja) * 2019-05-08 2022-03-30 横河電機株式会社 過電圧保護回路及び電源装置
KR102164860B1 (ko) * 2019-08-14 2020-10-13 엘아이지넥스원 주식회사 절연형 컨버터의 과전압 또는 과전류 보호장치
CN112491274B (zh) * 2019-08-21 2022-06-21 比亚迪半导体股份有限公司 电源控制装置、方法和开关电源系统
US11408923B2 (en) * 2019-09-23 2022-08-09 Stmicroelectronics Asia Pacific Pte Ltd Circuit and method for measuring power dissipation in a rectifier
CN111146960B (zh) * 2020-01-19 2021-06-08 矽力杰半导体技术(杭州)有限公司 检测电路以及应用其的开关变换器
US11290018B2 (en) * 2020-03-24 2022-03-29 Toshiba Tec Kabushiki Kaisha Power converter and image processing apparatus
GB2611942A (en) * 2020-08-14 2023-04-19 Tridonic Gmbh & Co Kg Control circuit, LED driver and control method
CN112003479B (zh) * 2020-09-01 2021-07-30 中车青岛四方车辆研究所有限公司 数字量采集电路及采集方法
CN116529998A (zh) * 2020-11-05 2023-08-01 Lg伊诺特有限公司 移相全桥转换器
CN112886802B (zh) * 2021-01-15 2022-07-15 深圳市群芯科创电子有限公司 一种具有热保护的副边同步整流电路及电子设备
JP7651408B2 (ja) * 2021-03-24 2025-03-26 株式会社東芝 アイソレーションアンプ及び異常状態検出装置
TWI801922B (zh) * 2021-05-25 2023-05-11 香港商科奇芯有限公司 電壓調節器
US11689174B2 (en) 2021-06-01 2023-06-27 Skyworks Solutions, Inc. Isolation communications channel using direct demodulation and data-edge encoding
US12388370B2 (en) * 2022-05-27 2025-08-12 Texas Instruments Incorporated Integrated power converter with isolated-channel feedback interface
JP2023176407A (ja) 2022-05-31 2023-12-13 株式会社日立ハイテク 高電圧制御回路

Family Cites Families (42)

* Cited by examiner, † Cited by third party
Publication number Priority date Publication date Assignee Title
JPH08185232A (ja) 1994-12-28 1996-07-16 Nec Corp シャントレギュレータ
JP2845188B2 (ja) 1995-12-11 1999-01-13 サンケン電気株式会社 Dc−dcコンバ−タ
US5747982A (en) 1996-12-05 1998-05-05 Lucent Technologies Inc. Multi-chip modules with isolated coupling between modules
JPH1198834A (ja) * 1997-09-24 1999-04-09 Toshiba Corp スイッチング電源用半導体装置
JP3607823B2 (ja) 1998-11-19 2005-01-05 横河電機株式会社 スイッチング電源装置
US6456511B1 (en) * 2000-02-17 2002-09-24 Tyco Electronics Corporation Start-up circuit for flyback converter having secondary pulse width modulation
JP3571012B2 (ja) 2001-08-17 2004-09-29 Tdk株式会社 スイッチング電源装置
JP4200364B2 (ja) * 2003-04-10 2008-12-24 ミツミ電機株式会社 スイッチング式acアダプタ回路
US7345896B2 (en) * 2004-05-10 2008-03-18 Semiconductor Components Industries, L.L.C. Secondary side power supply controller and method therefor
JP4126558B2 (ja) 2004-07-02 2008-07-30 サンケン電気株式会社 スイッチング電源装置
US20070040516A1 (en) 2005-08-15 2007-02-22 Liang Chen AC to DC power supply with PFC for lamp
US7321498B2 (en) 2005-10-31 2008-01-22 Honeywell International, Inc. DC-DC converter having synchronous rectification without cross conduction
JP4770446B2 (ja) * 2005-12-20 2011-09-14 サンケン電気株式会社 電源装置の過熱保護回路、および直流電源装置
TWI332607B (en) 2006-07-05 2010-11-01 Delta Electronics Inc Power adapter for providing output power limiting and load-dependent voltage modulation
US7649280B2 (en) 2006-09-21 2010-01-19 Texas Instruments Incorporated Method and circuit for cross regulation in a power converter
JP4804304B2 (ja) * 2006-10-11 2011-11-02 三菱電機株式会社 半導体装置
TWI340528B (en) 2007-04-03 2011-04-11 Delta Electronics Inc Resonant converter system and controlling method thereof having relatively better efficiency
JP4916961B2 (ja) 2007-06-20 2012-04-18 ルネサスエレクトロニクス株式会社 半導体装置およびそれを用いた電源装置
US7969105B2 (en) 2007-10-24 2011-06-28 Calloway Randall L Capacitor based energy storage
CN101471609B (zh) * 2007-12-28 2011-08-10 尼克森微电子股份有限公司 三端子集成化同步整流器及反激式同步整流电路
CN101620012B (zh) * 2008-07-02 2011-04-06 南亚科技股份有限公司 温度检测器及其使用方法
JP5430105B2 (ja) 2008-09-18 2014-02-26 パナソニック株式会社 電源供給システム
US8520415B1 (en) 2008-11-13 2013-08-27 Marvell International Ltd. Multi-function feedback using an optocoupler
CN101599701B (zh) 2009-07-02 2011-09-28 成都芯源系统有限公司 一种具有故障保护功能的开关电源及其控制方法
TWI436187B (zh) 2009-07-21 2014-05-01 Richtek Technology Corp 隔離式電源轉換器的回授電路及控制方法
TWI474601B (zh) 2009-10-08 2015-02-21 Acbel Polytech Inc High conversion efficiency of the pulse mode resonant power converter
TWI455087B (zh) 2009-11-03 2014-10-01 Mstar Semiconductor Inc 低耗電顯示控制方法與相關顯示控制器
IT1397088B1 (it) 2009-12-28 2012-12-28 St Microelectronics Srl Circuito integrato per un oscillatore atto a pilotare un dispositivo di controllo di un convertitore risonante a commutazione.
US8699243B2 (en) 2011-10-28 2014-04-15 Apple Inc. Power converter system with synchronous rectifier output stage and reduced no-load power consumption
CN102655378B (zh) 2012-05-08 2014-06-04 成都芯源系统有限公司 一种隔离式电压转换器电路及其控制方法
CN102664525B (zh) 2012-05-08 2014-08-27 成都芯源系统有限公司 一种开关电源电路
ITMI20121231A1 (it) 2012-07-16 2014-01-17 St Microelectronics Srl Metodo di controllo burst-mode per basso consumo in ingresso in convertitori risonanti e relativo dispositivo di controllo
JP6043132B2 (ja) 2012-09-11 2016-12-14 ローム株式会社 Dc/dcコンバータおよびその制御回路、制御方法、それを用いた電源装置、電源アダプタおよび電子機器
JP6101493B2 (ja) * 2013-01-15 2017-03-22 ローム株式会社 電力供給装置、acアダプタ、電子機器および電力供給システム
JP6068151B2 (ja) 2013-01-15 2017-01-25 ローム株式会社 電力供給装置、acアダプタ、電子機器および電力供給システム
US9374011B2 (en) 2013-01-22 2016-06-21 Power Integrations, Inc. Secondary controller for use in synchronous flyback converter
US9438127B2 (en) 2013-03-11 2016-09-06 Analog Devices Global Reverse current control for an isolated power supply having synchronous rectifiers
CN103166464B (zh) 2013-03-29 2016-09-07 株式会社村田制作所 功率转换器及功率转换方法
CN103490605B (zh) * 2013-10-12 2015-12-23 成都芯源系统有限公司 隔离式开关变换器及其控制器和控制方法
US9041378B1 (en) * 2014-07-17 2015-05-26 Crane Electronics, Inc. Dynamic maneuvering configuration for multiple control modes in a unified servo system
JP6554325B2 (ja) 2014-08-01 2019-07-31 ローム株式会社 絶縁同期整流型dc/dcコンバータおよびそのフィードバック回路、その同期整流コントローラ、それを用いた電源装置、電源アダプタおよび電子機器
JP6578111B2 (ja) * 2015-03-05 2019-09-18 ローム株式会社 絶縁型のdc/dcコンバータおよびそのフィードバック回路、それを用いた電源装置、電源アダプタおよび電子機器

Also Published As

Publication number Publication date
US20160036340A1 (en) 2016-02-04
CN105322802A (zh) 2016-02-10
US9991809B2 (en) 2018-06-05
JP2016036242A (ja) 2016-03-17
CN105322802B (zh) 2019-01-01

Similar Documents

Publication Publication Date Title
JP6554325B2 (ja) 絶縁同期整流型dc/dcコンバータおよびそのフィードバック回路、その同期整流コントローラ、それを用いた電源装置、電源アダプタおよび電子機器
US9948196B2 (en) Insulation-type synchronous DC/DC converter
JP6554321B2 (ja) 絶縁同期整流型dc/dcコンバータおよびその同期整流コントローラ、それを用いた電源装置、電源アダプタおよび電子機器
JP6374261B2 (ja) 絶縁同期整流型dc/dcコンバータおよびその同期整流コントローラ、それを用いた電源装置、電源アダプタおよび電子機器
US10483863B2 (en) Isolated synchronous rectification-type DC/DC converter
JP6723038B2 (ja) 絶縁同期整流型dc/dcコンバータ、同期整流回路、電源アダプタおよび電子機器、制御方法
JP6578111B2 (ja) 絶縁型のdc/dcコンバータおよびそのフィードバック回路、それを用いた電源装置、電源アダプタおよび電子機器
JP6563729B2 (ja) 絶縁同期整流型dc/dcコンバータ、それを用いた電源装置、電源アダプタおよび電子機器
JP6791658B2 (ja) 絶縁同期整流型dc/dcコンバータ、電源アダプタおよび電子機器
JP2018019589A (ja) 絶縁同期整流型dc/dcコンバータ、同期整流コントローラ、シャントレギュレータ回路、電源アダプタおよび電子機器
JP6563648B2 (ja) 絶縁型のdc/dcコンバータ、1次側コントローラ、同期整流コントローラ、それを用いた電源装置、電源アダプタおよび電子機器
JP7002919B2 (ja) 絶縁同期整流型dc/dcコンバータ、電源アダプタおよび電子機器、dc/dcコンバータの制御方法
JP6514910B2 (ja) 絶縁同期整流型dc/dcコンバータ、同期整流コントローラ、それを用いた電源装置、電源アダプタおよび電子機器
JP2016116414A (ja) 絶縁型のdc/dcコンバータ、それを用いた電源装置、電源アダプタおよび電子機器、フィードバックアンプ集積回路
JP6514916B2 (ja) 絶縁同期整流型dc/dcコンバータ、2次側モジュール、それを用いた電源装置、電源アダプタおよび電子機器
JP2018007422A (ja) 絶縁同期整流型dc/dcコンバータ、その保護方法、電源アダプタおよび電子機器
US9345100B2 (en) LED power supply
EP3404812B1 (en) Controller ic device for a switched mode power converter and method for operating a controller ic device of a switched mode power converter
JP6651577B2 (ja) 半導体装置、それを用いたdc/dcコンバータ、電源装置、電源アダプタ、電子機器
JP6721215B2 (ja) 点灯装置
JP2016158388A (ja) シャントレギュレータ回路、それを用いた絶縁型のdc/dcコンバータ、電源装置、電源アダプタおよび電子機器

Legal Events

Date Code Title Description
A521 Request for written amendment filed

Free format text: JAPANESE INTERMEDIATE CODE: A523

Effective date: 20180202

A621 Written request for application examination

Free format text: JAPANESE INTERMEDIATE CODE: A621

Effective date: 20180420

A977 Report on retrieval

Free format text: JAPANESE INTERMEDIATE CODE: A971007

Effective date: 20190227

A131 Notification of reasons for refusal

Free format text: JAPANESE INTERMEDIATE CODE: A131

Effective date: 20190305

A521 Request for written amendment filed

Free format text: JAPANESE INTERMEDIATE CODE: A523

Effective date: 20190425

TRDD Decision of grant or rejection written
A01 Written decision to grant a patent or to grant a registration (utility model)

Free format text: JAPANESE INTERMEDIATE CODE: A01

Effective date: 20190618

A61 First payment of annual fees (during grant procedure)

Free format text: JAPANESE INTERMEDIATE CODE: A61

Effective date: 20190708

R150 Certificate of patent or registration of utility model

Ref document number: 6554325

Country of ref document: JP

Free format text: JAPANESE INTERMEDIATE CODE: R150

R250 Receipt of annual fees

Free format text: JAPANESE INTERMEDIATE CODE: R250

R250 Receipt of annual fees

Free format text: JAPANESE INTERMEDIATE CODE: R250

R250 Receipt of annual fees

Free format text: JAPANESE INTERMEDIATE CODE: R250

R250 Receipt of annual fees

Free format text: JAPANESE INTERMEDIATE CODE: R250