JP6470552B2 - 振動モータ - Google Patents

振動モータ Download PDF

Info

Publication number
JP6470552B2
JP6470552B2 JP2014234779A JP2014234779A JP6470552B2 JP 6470552 B2 JP6470552 B2 JP 6470552B2 JP 2014234779 A JP2014234779 A JP 2014234779A JP 2014234779 A JP2014234779 A JP 2014234779A JP 6470552 B2 JP6470552 B2 JP 6470552B2
Authority
JP
Japan
Prior art keywords
spacer
coil
shaft
vibration motor
outer edge
Prior art date
Legal status (The legal status is an assumption and is not a legal conclusion. Google has not performed a legal analysis and makes no representation as to the accuracy of the status listed.)
Expired - Fee Related
Application number
JP2014234779A
Other languages
English (en)
Other versions
JP2016100945A (ja
Inventor
高木 大輔
大輔 高木
直樹 金井
直樹 金井
Current Assignee (The listed assignees may be inaccurate. Google has not performed a legal analysis and makes no representation or warranty as to the accuracy of the list.)
Nidec Seimitsu Corp
Original Assignee
Nidec Seimitsu Corp
Priority date (The priority date is an assumption and is not a legal conclusion. Google has not performed a legal analysis and makes no representation as to the accuracy of the date listed.)
Filing date
Publication date
Application filed by Nidec Seimitsu Corp filed Critical Nidec Seimitsu Corp
Priority to JP2014234779A priority Critical patent/JP6470552B2/ja
Priority to CN201510746785.1A priority patent/CN105610272A/zh
Priority to CN201520878454.9U priority patent/CN205081622U/zh
Priority to US14/945,604 priority patent/US9979258B2/en
Publication of JP2016100945A publication Critical patent/JP2016100945A/ja
Application granted granted Critical
Publication of JP6470552B2 publication Critical patent/JP6470552B2/ja
Expired - Fee Related legal-status Critical Current
Anticipated expiration legal-status Critical

Links

Images

Classifications

    • HELECTRICITY
    • H02GENERATION; CONVERSION OR DISTRIBUTION OF ELECTRIC POWER
    • H02KDYNAMO-ELECTRIC MACHINES
    • H02K7/00Arrangements for handling mechanical energy structurally associated with dynamo-electric machines, e.g. structural association with mechanical driving motors or auxiliary dynamo-electric machines
    • H02K7/08Structural association with bearings
    • H02K7/085Structural association with bearings radially supporting the rotary shaft at only one end of the rotor
    • HELECTRICITY
    • H02GENERATION; CONVERSION OR DISTRIBUTION OF ELECTRIC POWER
    • H02KDYNAMO-ELECTRIC MACHINES
    • H02K7/00Arrangements for handling mechanical energy structurally associated with dynamo-electric machines, e.g. structural association with mechanical driving motors or auxiliary dynamo-electric machines
    • H02K7/06Means for converting reciprocating motion into rotary motion or vice versa
    • H02K7/061Means for converting reciprocating motion into rotary motion or vice versa using rotary unbalanced masses

Landscapes

  • Engineering & Computer Science (AREA)
  • Power Engineering (AREA)
  • Apparatuses For Generation Of Mechanical Vibrations (AREA)
  • Connection Of Motors, Electrical Generators, Mechanical Devices, And The Like (AREA)

Description

本発明は、振動モータに関する。
従来より、移動体通信装置等の無音報知デバイスや他の用途として、薄いコイン型のブラシレス振動モータが用いられている。このような振動モータでは、特開2008−289268号公報や特開2006−94643号公報等に示されるように、シャフトが固定されるベース部上において、シャフトの周囲にスペーサが設けられる。シャフトに回転可能に取り付けられた回転部の下端部は、スペーサに接する。また、スペーサの周囲にコイル部が設けられる。
例えば、特開2008−289268号公報では、偏心ロータRが、スラストワッシャSWおよび軸受9を介して軸2に回転自在に装着される。軸2はブラケット1に固定され、スラストワッシャSWはブラケット1上において軸2に固定される。ブラケット1には、軸2およびスラストワッシャSWの径方向外側において、4個の空心電機子コイル5が固着されている。
特開2006−94643号公報では、ロータヨーク13の中央部分に圧入されたスリーブメタル14が、シャフト6に嵌められている。シャフト6において、ベース部材3とスリーブメタル14との間の部分には、ワッシャ16が嵌められている。これにより、ロータヨーク13は、ベース部材3上で回転自在に支持される。また、ベース部材3上に固定された回路基板7には、シャフト6およびワッシャ16を挟んで対向する2個のコイル8が実装されている。
特開2008−289268号公報 特開2006−94643号公報
ところで、近年、移動体通信装置等の小型化に伴い、コイン型振動モータの更なる小型化が求められている。しかしながら、モータ径を単純に小さくすると、コイル部の体積が減少するため、モータトルクが減少し、振動量も減少する。あるいは、偏心錘の体積が減少することにより、振動量が減少する。
本発明は、上記課題に鑑みなされたものであり、振動量の減少を抑制しつつ、振動モータを径方向に小型化することを主な目的としている。
本発明の一の実施形態に係る例示的な振動モータは、上下方向を向く中心軸に対して垂直に広がるベース部と、前記ベース部に下端が固定され、前記中心軸に沿って上方へと突出するシャフトと、前記ベース部上に配置される回路基板と、前記回路基板上に取り付けられ、前記シャフトと空隙を介して径方向に対向するコイル部と、前記コイル部よりも上方にて前記シャフトに対して回転可能に取り付けられる軸受部と、前記軸受部に取り付けられるロータホルダと、前記ロータホルダに取り付けられる磁石部と、前記ロータホルダに取り付けられる偏心錘と、前記軸受部と前記コイル部との間にて前記シャフトに取り付けられ、上面が前記軸受部の下面に接するスペーサと、前記ロータホルダおよび前記偏心錘の上方および側方の少なくとも一部を覆い、前記シャフトの上端および前記ベース部の外縁部に固定されるカバー部と、を備え、前記スペーサの下面は、前記コイル部の上面と上下方向に対向する。
本発明では、振動量の減少を抑制しつつ、振動モータを径方向に小型化することができる。
図1は、第1の実施形態に係る振動モータの斜視図である。 図2は、振動モータの縦断面図である。 図3は、振動モータの回転部および静止部の斜視図である。 図4は、静止部の斜視図である。 図5は、静止部の平面図である。 図6は、静止部の側面図である。 図7は、静止部の斜視図である。 図8は、静止部の斜視図である。 図9は、静止部の側面図である。 図10は、第2の実施形態に係る振動モータの縦断面図である。 図11は、第3の実施形態に係る振動モータの縦断面図である。 図12は、回転部および静止部の斜視図である。 図13は、第4の実施形態に係る振動モータの縦断面図である。 図14は、静止部の斜視図である。 図15は、第5の実施形態に係る振動モータの縦断面図である。 図16は、スペーサの他の形状を示す静止部の平面図である。
本明細書では、振動モータ1の中心軸J1方向における図2の上側を単に「上側」と呼び、下側を単に「下側」と呼ぶ。なお、上下方向は、実際の機器に組み込まれたときの位置関係や方向を示すものではない。また、中心軸J1に平行な方向を「上下方向」と呼ぶ。さらに、中心軸J1を中心とする径方向を単に「径方向」と呼び、中心軸J1を中心とする周方向を単に「周方向」と呼ぶ。
図1は、本発明の例示的な第1の実施形態に係る振動モータ1の外観を示す斜視図である。図2は、振動モータ1の縦断面図である。図2では、細部の断面における平行斜線を省略している。また、図2では、断面よりも奥側の構成も併せて描いている。図3は、振動モータ1の回転部および静止部の斜視図である。図4は、振動モータ1の静止部の斜視図である。図5は、振動モータ1の静止部の平面図である。図6は、振動モータ1の静止部の側面図である。図6は、図5中の左側から振動モータ1の静止部を見た図である。
振動モータ1はコイン型のブラシレスモータである。振動モータ1は、例えば、携帯電話等の移動体通信装置の無音報知デバイスとして用いられる。
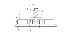
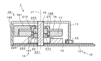
振動モータ1は、カバー部11と、ベース部12と、を含む。カバー部11は、有蓋略円筒状である。ベース部12は、上下方向を向く中心軸J1に対して垂直に広がる。カバー部11は、ベース部12の外縁部に固定される。ベース部12は、カバー部11の下部の開口を塞ぐ。カバー部11およびベース部12は、例えば、金属製である。カバー部11とベース部12とは、例えば、溶接にて接続される。ベース部12は、中心軸J1に略垂直な方向に延びるベース突出部121を含む。ベース突出部121は、カバー部11から径方向外方に突出する。
振動モータ1は、回路基板13と、コイル部14と、シャフト15と、ロータホルダ16と、磁石部17と、偏心錘18と、をさらに含む。振動モータ1は、軸受部21と、スペーサ22と、をさらに含む。ベース部12、回路基板13、コイル部14、シャフト15およびスペーサ22は、静止部に含まれる。軸受部21、ロータホルダ16、磁石部17および偏心錘18は、回転部に含まれる。図3は、振動モータ1からカバー部11を除いた図である。図4ないし図6は、振動モータ1からカバー部11および回転部を除いた図である。
回路基板13は、ベース部12上に配置される。回路基板13は、接着剤を用いてベース部12に接着される。なお、本実施形態において、接着剤の概念には、両面テープや粘着剤等も含まれる。回路基板13は、可撓性を有するフレキシブル基板(FPC:Flexible printed circuits)である。回路基板13上には電子部品23が実装される。
コイル部14は、回路基板13上に取り付けられる。コイル部14は、回路基板13に電気的に接続される。コイル部14は、複数のコイル141を含む。複数のコイル141は、シャフト15の周囲に配置される。図4ないし図6に示す例では、コイル部14は2つのコイル141を含む。2つのコイル141は、シャフト15を挟んで反対側に位置する。コイル部14に含まれるコイル141の数は、3以上であってもよい。各コイル141は、回路基板13上に接着剤を用いて接着される。図4に示す例では、各コイル141は、平面視において、シャフト15に平行な軸を囲み、かつ、シャフト15が外側に位置する環状である。
シャフト15は、中心軸J1を中心として配置される。シャフト15の下端は、ベース部12に固定される。シャフト15は、中心軸J1に沿ってベース部12から上方へと突出する。シャフト15の上端は、カバー部11の天蓋部の中央部に固定される。シャフト15は、例えば、溶接および圧入によりベース部12およびカバー部11に固定される。シャフト15は、図6に示す空隙150を介して複数のコイル141と径方向にそれぞれ対向する。換言すれば、コイル部14は、シャフト15と空隙150を介して径方向に対向する。空隙150には、振動モータ1を構成する部材は配置されない。シャフト15は、例えば、金属製である。シャフト15は、他の材料により形成されてもよい。
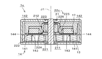
スペーサ22は、中央に貫通孔を有する環状の部材である。図4ないし図6に示す例では、スペーサ22は円環状である。詳細には、スペーサ22は、中心軸J1を中心とする略円筒状である。スペーサ22の貫通孔にはシャフト15が挿入される。スペーサ22は、例えば、圧入によりシャフト15に取り付けられる。スペーサ22は、コイル部14よりも上方に配置され、シャフト15に固定される。スペーサ22は、例えば、樹脂により形成される。スペーサ22は、他の材料により形成されてもよい。また、スペーサ22は、圧入以外の方法によりシャフト15に取り付けられてもよい。
スペーサ22の下面221は、コイル部14の上面と上下方向に対向する。図4および図6に示す例では、スペーサ22の下面221は、コイル部14の上面に接する。詳細には、スペーサ22の下面221は、2つのコイル141のそれぞれの上面142に接する。図4および図5に示すように、各コイル141の上面142の内周縁143全体は、スペーサ22の下面221の外縁222よりも径方向外側に位置する。また、各コイル141の上面142の外周縁144の一部は、スペーサ22の下面221の外縁222よりも径方向内側に位置する。換言すれば、スペーサ22の下面221は、各コイル141の上面142の一部とは重なるが、上面142の中央部に設けられた開口には重ならない。
軸受部21は、中央に貫通孔を有する環状の部材である。図2に示す例では、軸受部21は円環状である。詳細には、軸受部21は、中心軸J1を中心とする略円筒状である。軸受部21の貫通孔にはシャフト15が挿入される。軸受部21は、コイル部14よりも上方にて、シャフト15に対して回転可能に取り付けられる。軸受部21は、また、スペーサ22よりも上方に配置される。換言すれば、スペーサ22は、軸受部21とコイル部14との間にてシャフト15に取り付けられる。
図2に示すように、スペーサ22の上面223は、軸受部21の下面211に接する。図2に示す例では、スペーサ22の上面223の外縁224は、全周に亘って軸受部21の下面211の外縁212と重なる。換言すれば、スペーサ22の上面223の外径は、軸受部21の下面211の外径と略等しい。軸受部21は、滑り軸受である。軸受部21は、他の種類の軸受であってもよい。軸受部21は、例えば、焼結金属により形成される。好ましくは、軸受部21には潤滑油を含浸させている。軸受部21は、他の材料により形成されてもよい。
ロータホルダ16は、略円環状の部材である。ロータホルダ16は、軸受部21に取り付けられる。詳細には、略円環板状のロータホルダ16の内周部が、軸受部21の上端面および外周面の上部に固定される。これにより、ロータホルダ16は、軸受部21により、シャフト15に対して回転可能に支持される。ロータホルダ16は、例えば、金属製である。
磁石部17は、中心軸J1を中心とする略円環状の部材である。磁石部17は、ロータホルダ16に取り付けられる。詳細には、略円筒状の磁石部17の上面が、ロータホルダ16の下面に取り付けられる。磁石部17は、コイル部14の上方に配置され、コイル部14と空隙を介して上下方向に対向する。磁石部17は、軸受部21およびスペーサ22の周囲に配置される。軸受部21は、磁石部17の径方向内側に位置し、空隙を介して磁石部17と径方向に対向する。スペーサ22は、磁石部17の径方向内側に位置する。換言すれば、スペーサ22の上面223は、磁石部17の下面よりも上方に位置する。スペーサ22は、空隙を介して磁石部17と径方向に対向する。
偏心錘18は、図2および図3に示す例では、有蓋円筒状の部材の左半分に相当する形状である。偏心錘18は、平面視において略半円状である。偏心錘18は、ロータホルダ16に取り付けられる。詳細には、偏心錘18の天蓋部181の下面が、ロータホルダ16の上面に、例えば、接着剤を介して取り付けられる。偏心錘18の側壁部182は、ロータホルダ16および磁石部17の側方の一部を覆う。偏心錘18の側壁部182の下端は、磁石部17の下端と上下方向においておよそ同じ位置に位置する。偏心錘18の重心は、中心軸J1から径方向に離れている。
カバー部11は、ロータホルダ16および偏心錘18の上方および側方を覆う。カバー部11は、ロータホルダ16および偏心錘18の全体を覆う必要はなく、開口等が形成されることにより、ロータホルダ16および偏心錘18の少なくとも一部を覆うものであればよい。既述のように、カバー部11は、シャフト15の上端に固定され、ベース部12の外縁部にも固定される。
振動モータ1では、回路基板13を介してコイル部14に電流が供給されることにより、コイル部14と磁石部17との間にトルクが発生する。これにより、軸受部21、ロータホルダ16、磁石部17および偏心錘18が、シャフト15を中心として回転する。上述のように、偏心錘18の重心は中心軸J1から径方向に離れているため、偏心錘18の回転により振動が発生する。
以上に説明したように、振動モータ1では、スペーサ22は、軸受部21とコイル部14との間にてシャフト15に取り付けられる。コイル部14は、シャフト15と空隙150を介して径方向に対向する。スペーサ22の上面223は、軸受部21の下面211に接する。また、スペーサ22の下面221は、コイル部14の上面142と上下方向に対向する。
このため、振動モータ1では、コイル部の径方向内側にスペーサが配置される振動モータ(以下、「比較例の振動モータ」という。)に比べて、コイル部14を径方向においてシャフト15に近接して配置することができる。これにより、コイル部14および偏心錘18の体積減少を抑制して振動量の減少を抑制しつつ、振動モータ1を径方向に小型化することができる。また、振動モータ1をあまり小型化しない場合、コイル部14および/または偏心錘18を大型化してトルクを増大することができるため、振動量を増大することができる。
上述のように、スペーサ22の下面221は、コイル部14の上面142に接する。これにより、振動モータ1を上下方向に小型化することができる。また、振動モータ1の落下時等に、コイル部14の上下方向への移動を制限することができるため、コイル部14が回路基板13から剥離することを抑制することができる。さらに、コイル部14の上面142の上下方向の位置が不揃いになることを抑制することができるため、コイル部14と磁石部17との間の上下方向の距離、すなわち、コイル部14と磁石部17との間の空隙を容易に確保することができる。
上述のように、スペーサ22は、圧入によりシャフト15に取り付けられる。このため、スペーサ22をシャフト15に対して強固に固定することができる。その結果、振動モータ1の落下時等に、コイル部14が回路基板13から剥離することを、より一層抑制することができる。また、コイル部14と磁石部17との間の上下方向の距離を、さらに容易に確保することができる。
振動モータ1では、スペーサ22は円環状である。このように、スペーサ22の形状を簡素化することにより、スペーサ22を容易に製造することができる。また、スペーサ22は、磁石部17の径方向内側に位置する。このため、磁石部がスペーサよりも上方に位置する場合に比べて、振動モータ1を上下方向に小型化することができる。
上述のように、スペーサ22の上面223の外縁224は、全周に亘って、軸受部21の下面211の外縁212と重なる。このため、軸受部21の下面211がスペーサ22の上面223から径方向外側にはみ出した状態で、回転部が回転することを抑制することができる。その結果、振動モータ1における回転摺動を安定させることができる。
上述のように、各コイル141の上面142の内周縁143全体は、スペーサ22の下面221の外縁222よりも径方向外側に位置する。また、各コイル141の上面142の外周縁144の一部は、スペーサ22の下面221の外縁222よりも径方向内側に位置する。これにより、スペーサ22を径方向に小型化することができる。
振動モータ1は、図7ないし図9に示すように、スペーサ22の下面221から下方に突出するスペーサ支持部24を含んでいてもよい。図7および図8は、それぞれ異なる方向から見た振動モータ1の静止部の斜視図である。図9は、静止部の側面図である。図9は、図6と同じ方向から静止部を見た図である。図9では、図の理解を容易にするために、シャフト15に平行斜線を付す。
図7ないし図9に示す例では、2つのスペーサ支持部24が、スペーサ22の下面221からシャフト15に略平行に延びる。スペーサ支持部24は、1つであっても、3つ以上であってもよい。各スペーサ支持部24の下端は、回路基板13またはベース部12に接する。図8に示す例では、各スペーサ支持部24は、回路基板13に設けられた貫通孔を介してベース部12に接する。
スペーサ支持部24が設けられることにより、振動モータ1の落下時等に、回転部からスペーサ22を介してコイル部14に加わる力や衝撃を低減することができる。その結果、振動モータ1の落下時等に、コイル部14の破損を抑制することができる。
図10は、本発明の例示的な第2の実施形態に係る振動モータ1aの縦断面図である。振動モータ1aは、図2に示す振動モータ1のロータホルダ16およびスペーサ22とは形状が異なるロータホルダ16aおよびスペーサ22aを含む。振動モータ1aの他の構成は、図1ないし図6に示す振動モータ1と同様であり、対応する構成に同符号を付す。
ロータホルダ16aは、軸受部21に取り付けられる。詳細には、ロータホルダ16aの内周部161が、軸受部21の上端面および外周面に取り付けられる。ロータホルダ16aの内周部161は、軸受部21の外周面のおよそ全面に亘って固定される。これにより、ロータホルダ16aを軸受部21に強固に取り付けることができる。ロータホルダ16aは、内周部161の下端部から径方向外方かつ上方に折り返され、さらに、径方向外方に折り返されて径方向外方へと広がる。
スペーサ22aは、磁石部17の径方向内側に位置する。スペーサ22aは、中心軸J1を中心とする円環状である。スペーサ22aの上面223の外縁224は、全周に亘って、軸受部21の下面211の外縁212よりも径方向外側に位置する。換言すれば、スペーサ22aの上面223の外径は、軸受部21の下面211の外径よりも大きい。このため、回転部の回転時に、軸受部21の下面211がスペーサ22aの上面223から径方向外側にはみ出すことを抑制することができる。その結果、振動モータ1aにおける回転摺動を安定させることができる。
振動モータ1aでは、カバー部11の天蓋部において、シャフト15との接合部にカバー突出部111が設けられる。カバー突出部111は、シャフト15に沿って下方に突出する。これにより、カバー部11とシャフト15との締結長が長くなる。その結果、カバー部11を、より強固にシャフト15に固定することができる。
図11は、本発明の例示的な第3の実施形態に係る振動モータ1bの縦断面図である。図12は、振動モータ1bの回転部および静止部の斜視図である。図11および図12では、図2および図3とは偏心錘18の向きが90度異なる。振動モータ1bは、図2に示す振動モータ1のロータホルダ16、軸受部21およびスペーサ22とは形状が異なるロータホルダ16b、軸受部21bおよびスペーサ22bを含む。振動モータ1bの他の構成は、図1ないし図6に示す振動モータ1と同様であり、対応する構成に同符号を付す。
スペーサ22bは、磁石部17よりも下方に位置する。スペーサ22bは円環状である。詳細には、スペーサ22bは、中心軸J1を中心とする円環板状である。ロータホルダ16bは、中心軸J1を中心とする略円環板状である。軸受部21bは、例えば、樹脂製であり、ロータホルダ16bおよび偏心錘18とインサート成形により一体的に形成される。このように、回転部の大部分がインサート成形により形成されることにより、振動モータ1bを構成する部品の数を少なくすることができる。その結果、振動モータ1bの組み立てを簡素化することができる。
図13は、本発明の例示的な第4の実施形態に係る振動モータ1cの縦断面図である。図14は、振動モータ1cの静止部の斜視図である。図13では、図10とは90度異なる断面を示す。振動モータ1cは、図10に示す振動モータ1aのスペーサ22aとは形状が異なるスペーサ22cを含む。振動モータ1cの他の構成は、図10に示す振動モータ1aと同様であり、対応する構成に同符号を付す。
スペーサ22cは、中心軸J1を中心とする円環状である。スペーサ22cは、円環板状のスペーサ下部225と、スペーサ下部225の内周部から上方に突出する円環板状のスペーサ上部226と、を含む。スペーサ下部225の外径は、スペーサ上部226の外径よりも大きい。スペーサ上部226の上面はスペーサ22cの上面223であり、スペーサ下部225の下面はスペーサ22cの下面221である。スペーサ上部226は、磁石部17の径方向内側に位置する。
スペーサ22cの上面223の外縁224は、全周に亘って、軸受部21の下面211の外縁212よりも径方向外側に位置する。このため、回転部の回転時に、軸受部21の下面211がスペーサ22cの上面223から径方向外側にはみ出すことを抑制することができる。その結果、振動モータ1cにおける回転摺動を安定させることができる。
各コイル141の上面142の内周縁143全体は、スペーサ22cの下面221の外縁222よりも径方向内側に位置する。また、各コイル141の上面142の外周縁144の一部は、スペーサ22cの下面221の外縁222よりも径方向外側に位置する。換言すれば、スペーサ22cの下面221は、コイル部14の各コイル141の上面142の中央部に設けられた開口全体と重なる。
これにより、振動モータ1cの落下時等に、コイル部14の上下方向への移動をさらに制限することができるため、コイル部14が回路基板13から剥離することをより一層抑制することができる。また、コイル部14の上面142の上下方向の位置が不揃いになることをさらに抑制することができるため、コイル部14と磁石部17との間の上下方向の距離をより一層容易に確保することができる。
図15は、本発明の例示的な第5の実施形態に係る振動モータ1dの縦断面図である。図15では、図10とは90度異なる断面を示す。振動モータ1dは、図10に示す振動モータ1aの偏心錘18とは形状が異なる偏心錘18dを含む。振動モータ1dの他の構成は、図10に示す振動モータ1aと同様であり、対応する構成に同符号を付す。
偏心錘18dは、側壁部182の下端が磁石部17の下端よりも下方に位置する点を除き、図10に示す偏心錘18とおよそ同様の形状を有する。振動モータ1dでは、偏心錘18dの一部である側壁部182の下端部が、コイル部14よりも径方向外側にて、コイル部14とカバー部11との間に位置する。これにより、振動モータ1dの大型化を抑制しつつ偏心錘18dを大型化し、振動モータ1dの振動量を増大させることができる。
上記振動モータ1,1a〜1dでは、様々な変更が可能である。
例えば、振動モータ1,1a〜1dでは、偏心錘18,18dの天蓋部181が省略され、磁石部17の径方向外側のみに偏心錘18,18dが設けられてもよい。
スペーサ22,22a〜22cの下面221は、必ずしもコイル部14の上面142に接する必要はなく、コイル部14の上面142と上下方向に対向していれば、当該上面142と離間していてもよい。スペーサ22,22a〜22cは、必ずしも円環状である必要はない。例えば、図16に示すスペーサ22eは、略円環状の中央部227と、中央部227の外周部から2つのコイル141上にそれぞれ広がる2つの周辺部228と、を含む。周辺部228がコイル141の上面142と上下方向に対向することにより、振動モータの落下時等に、コイル部14が回路基板13から剥離することを抑制することができる。また、コイル部14と磁石部17との間の上下方向の距離を容易に確保することができる。
振動モータ1,1a〜1dにおける各部材の取り付けや固定は、間接的でもよい。例えば、回路基板13は、ベース部12上に配置されるのであれば、回路基板13とベース部12との間に他の部材が介在してもよい。コイル部14も、他の部材を介して回路基板13に取り付けられてよい。シャフト15のカバー部11およびベース部12への取り付け、磁石部17のロータホルダ16,16a,16bへの取り付け、偏心錘18,18dのロータホルダ16,16a,16bへの取り付け、カバー部11とベース部12との固定等も、他の部材が介在してもよい。
上記実施の形態および各変形例における構成は、相互に矛盾しない限り適宜組み合わされてよい。
本発明に係る振動モータは、様々な用途の振動モータとして利用可能である。好ましくは、携帯電話等の移動体通信装置の無音報知デバイスとして用いられる。
1,1a〜1d 振動モータ
11 カバー部
12 ベース部
13 回路基板
14 コイル部
15 シャフト
16,16a,16b ロータホルダ
17 磁石部
18,18d 偏心錘
21,21b 軸受部
22,22a〜22c,22e スペーサ
24 スペーサ支持部
141 コイル
142 (コイルの)上面
143 (コイルの上面の)内周縁
144 (コイルの上面の)外周縁
150 空隙
211 (軸受部の)下面
212 (軸受部の下面の)外縁
221 (スペーサの)下面
222 (スペーサの下面の)外縁
223 (スペーサの)上面
224 (スペーサの上面の)外縁
J1 中心軸

Claims (10)

  1. 上下方向を向く中心軸に対して垂直に広がるベース部と、
    前記ベース部に下端が固定され、前記中心軸に沿って上方へと突出するシャフトと、
    前記ベース部上に配置される回路基板と、
    前記回路基板上に取り付けられ、前記シャフトと空隙を介して径方向に対向するコイル部と、
    前記コイル部よりも上方にて前記シャフトに対して回転可能に取り付けられる軸受部と、
    前記軸受部に取り付けられるロータホルダと、
    前記ロータホルダに取り付けられる磁石部と、
    前記ロータホルダに取り付けられる偏心錘と、
    前記軸受部と前記コイル部との間にて前記シャフトに取り付けられ、上面が前記軸受部の下面に接するスペーサと、
    前記ロータホルダおよび前記偏心錘の上方および側方の少なくとも一部を覆い、前記シャフトの上端および前記ベース部の外縁部に固定されるカバー部と、
    を備え、
    前記スペーサの下面は、前記コイル部の上面と上下方向に対向し、
    前記スペーサの下面から下方に突出し、前記回路基板または前記ベース部に接するスペーサ支持部をさらに備える、振動モータ。
  2. 前記コイル部が、前記シャフトの周囲に配置される複数のコイルを含み、
    平面視において、各コイルは、前記シャフトに平行な軸を囲み、かつ、前記シャフトが外側に位置する環状であり、
    前記各コイルの上面の内周縁全体が、前記スペーサの下面の外縁よりも径方向外側に位置し、
    前記各コイルの上面の外周縁の一部が、前記スペーサの下面の前記外縁よりも径方向内側に位置する、請求項1に記載の振動モータ。
  3. 前記コイル部が、前記シャフトの周囲に配置される複数のコイルを含み、
    平面視において、各コイルは、前記シャフトに平行な軸を囲み、かつ、前記シャフトが外側に位置する環状であり、
    前記各コイルの上面の内周縁全体が、前記スペーサの下面の外縁よりも径方向内側に位置し、
    前記各コイルの上面の外周縁の一部が、前記スペーサの下面の前記外縁よりも径方向外側に位置する、請求項1に記載の振動モータ。
  4. 上下方向を向く中心軸に対して垂直に広がるベース部と、
    前記ベース部に下端が固定され、前記中心軸に沿って上方へと突出するシャフトと、
    前記ベース部上に配置される回路基板と、
    前記回路基板上に取り付けられ、前記シャフトと空隙を介して径方向に対向するコイル部と、
    前記コイル部よりも上方にて前記シャフトに対して回転可能に取り付けられる軸受部と、
    前記軸受部に取り付けられるロータホルダと、
    前記ロータホルダに取り付けられる磁石部と、
    前記ロータホルダに取り付けられる偏心錘と、
    前記軸受部と前記コイル部との間にて前記シャフトに取り付けられ、上面が前記軸受部の下面に接するスペーサと、
    前記ロータホルダおよび前記偏心錘の上方および側方の少なくとも一部を覆い、前記シャフトの上端および前記ベース部の外縁部に固定されるカバー部と、
    を備え、
    前記スペーサの下面は、前記コイル部の上面と上下方向に対向し、
    前記コイル部が、前記シャフトの周囲に配置される複数のコイルを含み、
    平面視において、各コイルは、前記シャフトに平行な軸を囲み、かつ、前記シャフトが外側に位置する環状であり、
    前記各コイルの上面の内周縁全体が、前記スペーサの下面の外縁よりも径方向内側に位置し、
    前記各コイルの上面の外周縁の一部が、前記スペーサの下面の前記外縁よりも径方向外側に位置する、振動モータ。
  5. 前記スペーサの下面が、前記コイル部の上面に接する、請求項1ないし4のいずれかに記載の振動モータ。
  6. 前記スペーサが、前記磁石部の径方向内側に位置する、請求項1ないし5のいずれかに記載の振動モータ。
  7. 前記スペーサが、圧入により前記シャフトに取り付けられる、請求項1ないしのいずれかに記載の振動モータ。
  8. 前記スペーサの上面の外縁が全周に亘って、前記軸受部の下面の外縁と重なる、または、前記軸受部の下面の前記外縁よりも径方向外側に位置する、請求項1ないしのいずれかに記載の振動モータ。
  9. 前記スペーサが円環状である、請求項1ないし8のいずれかに記載の振動モータ。
  10. 前記偏心錘の一部が、前記コイル部よりも径方向外側にて、前記コイル部と前記カバー部との間に位置する、請求項1ないし9のいずれかに記載の振動モータ。
JP2014234779A 2014-11-19 2014-11-19 振動モータ Expired - Fee Related JP6470552B2 (ja)

Priority Applications (4)

Application Number Priority Date Filing Date Title
JP2014234779A JP6470552B2 (ja) 2014-11-19 2014-11-19 振動モータ
CN201510746785.1A CN105610272A (zh) 2014-11-19 2015-11-05 振动马达
CN201520878454.9U CN205081622U (zh) 2014-11-19 2015-11-05 振动马达
US14/945,604 US9979258B2 (en) 2014-11-19 2015-11-19 Vibration motor

Applications Claiming Priority (1)

Application Number Priority Date Filing Date Title
JP2014234779A JP6470552B2 (ja) 2014-11-19 2014-11-19 振動モータ

Publications (2)

Publication Number Publication Date
JP2016100945A JP2016100945A (ja) 2016-05-30
JP6470552B2 true JP6470552B2 (ja) 2019-02-13

Family

ID=55433996

Family Applications (1)

Application Number Title Priority Date Filing Date
JP2014234779A Expired - Fee Related JP6470552B2 (ja) 2014-11-19 2014-11-19 振動モータ

Country Status (3)

Country Link
US (1) US9979258B2 (ja)
JP (1) JP6470552B2 (ja)
CN (2) CN205081622U (ja)

Families Citing this family (11)

* Cited by examiner, † Cited by third party
Publication number Priority date Publication date Assignee Title
JP6470552B2 (ja) * 2014-11-19 2019-02-13 日本電産セイミツ株式会社 振動モータ
JP6531261B2 (ja) * 2015-10-16 2019-06-19 日本電産セイミツ株式会社 振動モータ
US10396645B2 (en) * 2015-10-16 2019-08-27 Nidec Seimitsu Corporation Vibration motor
JP2017074572A (ja) * 2015-10-16 2017-04-20 日本電産セイミツ株式会社 振動モータ
JP6531260B2 (ja) * 2015-10-16 2019-06-19 日本電産セイミツ株式会社 振動モータ
JP7232572B2 (ja) * 2017-02-21 2023-03-03 セイコーインスツル株式会社 振動発生装置及び電子機器
KR102167407B1 (ko) * 2018-02-28 2020-10-19 주식회사 이엠텍 와이드 밴드 선형 진동 모터
CN109038939B (zh) * 2018-07-13 2021-04-20 浙江省东阳市东磁诚基电子有限公司 一种永磁交流扁平振动马达及使用方法
CN112803700A (zh) * 2021-03-08 2021-05-14 浙江省东阳市东磁诚基电子有限公司 一种转子组件及无刷振动电机
WO2022188390A1 (zh) * 2021-03-08 2022-09-15 浙江省东阳市东磁诚基电子有限公司 转子组件及无刷振动电机
US11770060B2 (en) * 2021-05-14 2023-09-26 Delta Electronics, Inc. Vibration motor

Family Cites Families (16)

* Cited by examiner, † Cited by third party
Publication number Priority date Publication date Assignee Title
KR200268109Y1 (ko) * 2001-12-06 2002-03-15 김정훈 편평형 무정류자 진동모터
US6998742B2 (en) * 2002-10-28 2006-02-14 Tokyo Parts Industrial Co., Ltd. Axial-air-gap brushless vibration motor containing drive circuit
KR100519811B1 (ko) * 2003-06-20 2005-10-10 삼성전기주식회사 진동모터
JP2005137036A (ja) * 2003-10-28 2005-05-26 Tokyo Parts Ind Co Ltd 軸方向空隙型単相ブラシレスモータ
JP2006094643A (ja) 2004-09-24 2006-04-06 Nidec Copal Corp 単相ブラシレスモータ
JP4073451B2 (ja) * 2005-08-19 2008-04-09 東京パーツ工業株式会社 軸方向空隙型ブラシレス振動モータ
KR100737529B1 (ko) * 2005-09-27 2007-07-10 엘지이노텍 주식회사 슬림형 진동 모터
JP2008049246A (ja) * 2006-08-23 2008-03-06 Tokyo Parts Ind Co Ltd 偏心ロータと同ロータを備えたブラシレス振動モータ
JP4187773B1 (ja) 2007-05-17 2008-11-26 東京パーツ工業株式会社 薄型ステータと同ステータを備えた軸方向空隙型ブラシレス振動モータ
KR101416185B1 (ko) * 2008-03-11 2014-07-09 엘지이노텍 주식회사 편평형 진동 모터
JP2011067082A (ja) * 2009-08-19 2011-03-31 Sanyo Electric Co Ltd 扁平形振動モータ
JPWO2012008248A1 (ja) * 2010-07-12 2013-09-09 日本電産セイミツ株式会社 扁平形振動モータ
JP5849321B2 (ja) * 2010-08-04 2016-01-27 日本電産セイミツ株式会社 扁平形振動モータ
JP6247113B2 (ja) * 2014-02-20 2017-12-13 日本電産セイミツ株式会社 振動モータ
JP2015199008A (ja) * 2014-04-04 2015-11-12 日本電産セイミツ株式会社 振動モータ
JP6470552B2 (ja) * 2014-11-19 2019-02-13 日本電産セイミツ株式会社 振動モータ

Also Published As

Publication number Publication date
US9979258B2 (en) 2018-05-22
CN105610272A (zh) 2016-05-25
CN205081622U (zh) 2016-03-09
US20160141935A1 (en) 2016-05-19
JP2016100945A (ja) 2016-05-30

Similar Documents

Publication Publication Date Title
JP6470552B2 (ja) 振動モータ
KR101406207B1 (ko) 브러시리스 직류 진동모터
US8378539B2 (en) Flat vibration motor
JP6609435B2 (ja) 振動モータ
JP2005012987A (ja) 振動モータ
US9166452B1 (en) Spindle motor, disk drive apparatus, and electronic device
JP2015154496A (ja) インナーロータ型モータ
JP2015199008A (ja) 振動モータ
US20170187261A1 (en) Vibration motor, vibrator-attached board, silent notification device, and method for manufacturing vibration motor
JP2017153315A (ja) 振動モータ
JP2017034866A (ja) 振動モータ
JP2017153314A (ja) 振動モータ
JP6338961B2 (ja) 振動モータ
JP6243379B2 (ja) モータ
KR101188096B1 (ko) 베어링 조립체 및 이를 이용하는 모터
JP6576727B2 (ja) ブラシレスモータ
US9118222B2 (en) Outer rotor-type brushless motor
JP6553153B2 (ja) モータ
JPWO2019111879A1 (ja) モータ付きギアシステム
JP2019030112A (ja) モータ
US8629584B2 (en) Base assembly for motor and fan motor including the same
JP2009207277A (ja) 小型モータ
JP5181643B2 (ja) モータ
JP2008099355A (ja) モータ用軸受装置及び振動モータ
US9692273B2 (en) Spindle motor, electronics device and disk drive apparatus

Legal Events

Date Code Title Description
A621 Written request for application examination

Free format text: JAPANESE INTERMEDIATE CODE: A621

Effective date: 20171102

A977 Report on retrieval

Free format text: JAPANESE INTERMEDIATE CODE: A971007

Effective date: 20180822

A131 Notification of reasons for refusal

Free format text: JAPANESE INTERMEDIATE CODE: A131

Effective date: 20180828

A521 Request for written amendment filed

Free format text: JAPANESE INTERMEDIATE CODE: A523

Effective date: 20181025

TRDD Decision of grant or rejection written
A01 Written decision to grant a patent or to grant a registration (utility model)

Free format text: JAPANESE INTERMEDIATE CODE: A01

Effective date: 20190115

A61 First payment of annual fees (during grant procedure)

Free format text: JAPANESE INTERMEDIATE CODE: A61

Effective date: 20190118

R150 Certificate of patent or registration of utility model

Ref document number: 6470552

Country of ref document: JP

Free format text: JAPANESE INTERMEDIATE CODE: R150

LAPS Cancellation because of no payment of annual fees