JP6406830B2 - 切断装置、包装袋の製造装置、および包装袋の製造方法 - Google Patents

切断装置、包装袋の製造装置、および包装袋の製造方法 Download PDF

Info

Publication number
JP6406830B2
JP6406830B2 JP2014027658A JP2014027658A JP6406830B2 JP 6406830 B2 JP6406830 B2 JP 6406830B2 JP 2014027658 A JP2014027658 A JP 2014027658A JP 2014027658 A JP2014027658 A JP 2014027658A JP 6406830 B2 JP6406830 B2 JP 6406830B2
Authority
JP
Japan
Prior art keywords
packaging bag
cutting device
cutting
continuous package
blade
Prior art date
Legal status (The legal status is an assumption and is not a legal conclusion. Google has not performed a legal analysis and makes no representation as to the accuracy of the status listed.)
Active
Application number
JP2014027658A
Other languages
English (en)
Other versions
JP2015151172A (ja
Inventor
佐藤 考勇
考勇 佐藤
Current Assignee (The listed assignees may be inaccurate. Google has not performed a legal analysis and makes no representation or warranty as to the accuracy of the list.)
Zacros Corp
Original Assignee
Fujimori Kogyo Co Ltd
Priority date (The priority date is an assumption and is not a legal conclusion. Google has not performed a legal analysis and makes no representation as to the accuracy of the date listed.)
Filing date
Publication date
Application filed by Fujimori Kogyo Co Ltd filed Critical Fujimori Kogyo Co Ltd
Priority to JP2014027658A priority Critical patent/JP6406830B2/ja
Publication of JP2015151172A publication Critical patent/JP2015151172A/ja
Application granted granted Critical
Publication of JP6406830B2 publication Critical patent/JP6406830B2/ja
Active legal-status Critical Current
Anticipated expiration legal-status Critical

Links

Images

Landscapes

  • Auxiliary Devices For And Details Of Packaging Control (AREA)

Description

本発明は、連続包装体を包装袋ごとに切断する切断装置と、これを用いた包装袋の製造装置、および包装袋の製造方法に関する。
従来、液体や粉体等の内容物を充填した包装袋を製造する装置としては、フィルム等の包材を縦横にシールして袋状に形成し、内容物を充填後に包装袋をシール(密封)した後、包装袋ごとに切断する充填包装装置が知られている。
特許文献1には、カッタが、可動刃部を有する雄型カッタと、筒状ケース内に配置された固定刃部を有する雌型カッタとを備えて構成され、可動刃部は予備包装体を挿通するための凹部を形成するとともに、凹部の両側部が傾斜して形成され、筒状ケースには固定刃部における可動刃部と反対の側にスクラップの収納部が形成された包装体製造装置が記載されている。
特許文献2には、雄刃ブロックは、切断動作の移動で帯状材をセンタリングするガイド部を有し、雌刃ブロックは、雌刃の両端より外側で雄刃ブロックのガイド部を案内するガイド穴を有し、雄刃ブロックのガイド部と雌刃ブロックのガイド穴とが切断待機中も常時嵌合状態に組み合わされる打ち抜き切断刃が記載されている。
特許第4014834号公報 特許第4025068号公報
特許文献1に記載された発明の場合、可動側のカッタにテーパ状のガイドを設けていることから、固定刃部に対して可動刃部が移動するストローク量に応じてテーパの角度を小さくする必要がある。このため、可動側部品は、寸法が大きく、また構造が複雑になる。
特許文献2に記載された発明の場合、ガイド部が常時嵌め合い状態で組み合わさっていることから、構成部品の形状が複雑になる。
本発明は、上記事情に鑑みてなされたものであり、部品の構造を簡潔にし、切断箇所の位置ズレの抑制や切り屑の排出を容易にすることが可能な切断装置と、これを用いた包装袋の製造装置、および包装袋の製造方法を提供することを課題とする。
前記課題を解決するため、本発明は、長手方向に複数の包装袋が連続して形成された連続包装体を、包装袋ごとに切断する切断装置であって、前記包装袋は、長手方向の両側にそれぞれ一端部と他端部とを有し、前記連続包装体において隣接する包装袋の前記一端部と前記他端部との間には、切断時に除去される除去部が設けられ、前記切断装置は、前記一端部と前記他端部を切断する雄刃部を有する雄刃ユニットと、前記雄刃部と嵌合する雌刃部を有する雌刃ユニットとを備え、前記雄刃ユニットは、前記雄刃部において前記一端部を切断する刃型と前記他端部を切断する刃型との間から前記連続包装体に向けて気体を噴出する吹き出し口を有し、前記雌刃ユニットは、前記連続包装体の幅方向両側を前記雌刃部に向けて案内するガイド部と、前記雌刃部の裏側から前記除去部を排出する排出穴とを有し、前記連続包装体の前記除去部が前記切断装置により切断される前に、前記吹き出し口から前記連続包装体に向けて気体を噴出することにより、前記連続包装体を押圧して、前記連続包装体の幅方向両側を前記ガイド部により前記雌刃部に向けて案内することを特徴とする切断装置を提供する。
前記ガイド部は、前記連続包装体の幅方向両側にそれぞれガイド斜面を有し、前記ガイド斜面の間隔は、前記雌刃部に対する前記雄刃部の挿入方向において、前記雌刃部に近づくほど間隔が狭くなることが好ましい
前記連続包装体の前記除去部が前記切断装置により切断された後に、前記吹き出し口から前記連続包装体に向けて気体を噴出することにより、前記除去部の切り屑を前記排出穴から排出することが好ましい。
前記雄刃部および前記雌刃部が前記包装袋を切断する形状は、前記一端部または前記他端部の少なくとも一方に曲線を含むことが好ましい。
また、本発明は、長手方向に複数の包装袋が連続して形成された連続包装体を、包装袋ごとに切断して包装袋を製造する包装袋の製造装置であって、前記連続包装体を包装袋ごとに切断するため、前記切断装置を備えることを特徴とする包装袋の製造装置を提供する。
また、本発明は、長手方向に複数の包装袋が連続して形成された連続包装体を、包装袋ごとに切断して包装袋を製造する包装袋の製造方法であって、前記連続包装体を包装袋ごとに切断するため、前記切断装置を用いることを特徴とする包装袋の製造方法を提供する。
本発明によれば、連続包装体の除去部が切断装置により切断される前に、吹き出し口から連続包装体に向けて気体を噴出することにより、連続包装体を押圧して、連続包装体の幅方向両側をガイド部により雌刃部に向けて案内することができる。また、本発明によれば、連続包装体の除去部が切断装置により切断された後に、吹き出し口から連続包装体に向けて気体を噴出することにより、除去部の切り屑を排出穴から排出することができる。
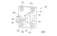
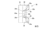
実施例の切断装置の使用状況を例示する斜視図である。 実施例の切断装置の使用状況を例示する斜視図である。 実施例の雄刃ユニットの斜視図である。 実施例の雌刃ユニットの斜視図である。 実施例の雌刃ユニットの斜視図である。 実施例の切断装置の斜視図である。 実施例の切断装置により連続包装体を切断する前の状況を示す斜視図である。 実施例の切断装置により連続包装体を切断した後の状況を示す斜視図である。
以下、好適な実施形態に基づき、図面を参照して本発明を説明する。図1および図2に、本発明の実施例の切断装置10の使用状況を例示する。図1は、切断装置10を雄刃ユニット20の側から見た斜視図である。図2は、切断装置10を雌刃ユニット30の側から見た斜視図である。図3は、雄刃ユニット20を雄刃部23の側から見た斜視図である。図4は、雌刃ユニット30を、排出穴35の開口側(裏面側)から見た斜視図である。図5は、雌刃ユニット30を、雌刃部34の側から見た斜視図である。図6は、雄刃ユニット20と雌刃ユニット30を組み合わせた切断装置10の斜視図である。図7は、切断装置10により連続包装体11を切断する前の状況を示す斜視図である。図8は、切断装置10により連続包装体11を切断した後の状況を示す斜視図である。
図1および図6に示すように、切断装置10は、雄刃部23を有する雄刃ユニット20と、雌刃部34を有する雌刃ユニット30とを対向させた構成を備え、長手方向に複数の包装袋12,12が連続して形成された連続包装体11を、包装袋12,12ごとに切断する装置である。切断時には、雄刃部23が雌刃部34に挿入され、両者が嵌合する。雄刃部23と雌刃部34の形状および寸法の関係は、公知の切断装置と同様でよい。
図7に示すように、包装袋12は、長手方向の両側にそれぞれ一端部13と他端部14とを有する。図示例では、一端部13はタブやノッチ等を有する開封部であり、他端部14は底部である。連続包装体11において隣接する包装袋12,12の一端部13と他端部14との間には、切断時に除去される除去部15が設けられている。
図1および図2に示すように、雄刃ユニット20の雄刃部23は、一端部13を切断する刃型23aと、他端部14を切断する刃型23bを有する。雄刃部23は、略矩形状の基部21の片側に突出する突出部22の先端に設けられている。基部21には、雄刃ユニット20を不図示の駆動部に固定するためのネジ等の取付けに使用可能な複数の固定穴21aを有する。該駆動部は、雄刃ユニット20を雌刃ユニット30に対向する前後方向に往復移動させる手段である。図示例では、固定された雌刃ユニット30に対し、雄刃ユニット20は可動である。
雄刃部23の先端面24は、刃型23a,23bの間において、基部21と略平行で、雄刃ユニット20の往復移動方向に略垂直な平面である。先端面24には、連続包装体11に向けて気体を噴出する吹き出し口25,25を有する。図示例では、二箇所の吹き出し口25,25が先端面24の左右に分かれて配置されている。吹き出し口25,25に気体を供給するため、基部21の裏面(図1参照)には、気体供給部26が設けられている。図示例の気体供給部26は吹き出し口25,25の裏側に通じた溝である。気体は空気(エア)でもよく、他の気体でもよい。
図5に示すように、雌刃部34は、雌刃ユニット30の基部31に形成された貫通穴に形成されている。基部31は、雌刃ユニット30を不図示の治具に固定するためのネジ等の取付けに使用可能な複数の固定穴31aを有する。図2および図4に示すように、基部31の裏面には、雌刃部34の裏側から除去部15を排出する排出穴35を有する。図示例の場合、排出穴35の形状は、雌刃部34の形状と同一である。
図5に示すように、雌刃ユニット30の基部31の表面における雌刃部34の周囲には、雄刃ユニット20の往復移動方向に対して連続包装体11を受けることが可能な受け部33と、連続包装体11の幅方向両側を雌刃部34に向けて案内するガイド部32,32が設けられている。受け部33は、包装袋12の一端部13に対応する受け部33aと、包装袋12の他端部14に対応する受け部33bを含む。
ガイド部32,32は、連続包装体11の幅方向両側にそれぞれガイド斜面32b,32bを有する。ガイド斜面32b,32bの間隔(図5の上下方向の寸法)は、雌刃部34に対する雄刃部23の挿入方向において、雌刃部34に近づくほど、狭くなっている。ガイド部32には、ガイド部32を基部31に固定するためのネジ等の取付けに使用可能な複数の固定穴32aを有する。
連続包装体11の切断前には、図7に示すように、雌刃ユニット30のガイド部32,32の間に連続包装体11が配置される。切断前に、雄刃ユニット20の吹き出し口25から連続包装体11に向けて気体を噴出することにより、連続包装体11が雌刃ユニット30の受け部33に向けて押圧される。ガイド部32,32は、連続包装体11の幅方向の両側縁に向けてガイド斜面32b,32bを有するので、連続包装体11がガイド斜面32b,32bに沿って移動することにより、幅方向中央に寄せられ、雌刃部34に向けて位置決めされる。
次に、雄刃ユニット20と雌刃ユニット30とが互いに近づくように、一方または両方のユニットを移動させる。図示例では、雌刃ユニット30に対して雄刃ユニット20を移動させる。雄刃部23を雌刃部34に挿入し、両者を嵌合させる間に、連続包装体11の除去部15が切断され、連続包装体11の先頭(下端)で包装袋16が分離される。図8は、切断後、さらに雌刃ユニット30から雄刃ユニット20を引き離した状態を示す。切断の前後では、雄刃ユニット20と雌刃ユニット30とが互いに接触しないように、引き離すことも可能である。
除去部15が切断された後に、雄刃ユニット20の吹き出し口25から連続包装体11に向けて気体を噴出すると、除去部15の切り屑17が押圧され、切り屑17が雌刃部34の貫通穴を通過して、排出穴35から排出される。雌刃ユニット30の裏側には、排出穴35から排出される切り屑17の回収を容易にするため、トンネル状、ホース状、漏斗状などの回収手段(図示せず)を設けることが好ましい。
本実施形態の切断装置10は、包装袋の製造装置(図示せず)に組み込むことが可能である。包装袋の製造装置は、連続包装体の長手方向に沿う縦シールを行う縦シール手段、連続包装体の長手方向に交差した方向に横シールを行う横シール手段、連続包装体の内部に内容物を充填する充填手段を備えてもよい。本実施形態において、上述の除去部15は、横シールである。横シールは、内容物の充填前でもよく、内容物の充填後(液中シール)でもよい。包装袋のシール構成は、三方シール、四方シール、背貼りシール等が一般的である。長手方向に複数の包装袋が連続して形成された連続包装体を製造した後、連続包装体を包装袋ごとに切断することで、包装袋を製造することができる。
雄刃部23および雌刃部34が包装袋12を切断する形状は、一端部13または他端部14の少なくとも一方に曲線を含むことが好ましい。図示例では、一端部13はタブの周縁等に円弧などの曲線を含み、他端部14は底部両端のコーナー(隅部)に円弧を含む。包装袋12の形状は、幅方向に比べて長手方向が数倍長いスティック状である。
連続包装体11がガイド部32,32により位置決めされた状態で、切断装置10が除去部15を切断し、包装袋12の一端部13と他端部14を加工するので、包装袋12の位置ズレがなくなり、コーナーのRの大きさにばらつきがなくなる。包装袋12の周囲を封止するシール部の幅は、包装袋の周縁と、包装袋の内部に内容物を充填するスペースとの距離によって決まるので、一端部13および他端部14において包装袋12の周縁の形状が正確に加工されることにより、シール部の幅のばらつきが抑制され、確実な封止が容易になる。従来は、シール部の幅のばらつきを考慮して、設計上のシール部の幅を大きめに確保していたが、寸法が大きくなったり、デザインの自由度が低下したりする問題があった。本実施形態によれば、一端部13および他端部14の形状が複雑でも、切断装置10の構造を複雑にすることなく、必要なシール部の幅を確保することができる。
連続包装体の位置決めや切り屑の排出に際して、気体を噴出して加圧する手法は、吸引を行う場合に比べると、装置の構造がより単純になる。また、気体を噴出する時間を短時間に制限することも容易にできるので、連続包装体が振動したり、ゴミが装置に付着したりする等のトラブルを回避または抑制することができる。
以上、本発明を好適な実施形態に基づいて説明してきたが、本発明は上述の実施形態に限定されるものではなく、本発明の要旨を逸脱しない範囲で種々の改変が可能である。
上述の実施形態においては、雄刃部において、包装袋の一端部を切断する刃型と、包装袋の他端部を切断する刃型との間は、包装袋の幅方向全長にわたり一定以上(間に平面が形成される程度)の間隔を有している。しかし、本発明は、この場合に限定されず、一端部を切断する刃型と他端部を切断する刃型とが、包装袋の幅方向の一部において接続し、刃型の一部が線状になってもよい。
連続包装体を構成するフィルムとしては、シーラントを少なくとも片面に備える積層体、例えば、ポリエチレン(PE)、ポリプロピレン(PP)、エチレン―酢酸ビニル共重合体(EVA)、環状ポリオレフィンなどのポリオレフィン樹脂層を最内層(シーラント)とし、二軸延伸ナイロンフィルムや二軸延伸ポリエチレンテレフタレートフィルム、二軸延伸ポリプロピレンフィルムなどの延伸フィルムを基材とし、必要に応じてエチレン―ビニルアルコール共重合体、金属や無機化合物の蒸着層(アルミ蒸着など)、アルミ箔等の金属箔、インキ層等の印刷層などを中間層としたラミネートフィルムを用いることができるが、特に、これらに限定されるものでない。積層フィルムを製造する方法としては、ドライラミネート法、押出ラミネート法、共押出法などが挙げられる。基材層とシーラント層との間には接着強度の向上のため、接着剤やアンカー剤等を設けることができる。包装袋の強度を高めるため、積層フィルム中に基材層を複数枚積層してもよい。
10…切断装置、11…連続包装体、12…包装袋、13…一端部、14…他端部、15…除去部、16…切断後の包装袋、17…切り屑、20…雄刃ユニット、21…基部、21a…固定穴、22…突出部、23…雄刃部、23a,23b…刃型、24…先端面、25…吹き出し口、26…気体供給部、30…雌刃ユニット、31…基部、31a…固定穴、32…ガイド部、32a…固定穴、32b…ガイド斜面、33,33a,33b…受け部、34…雌刃部、35…排出穴。

Claims (6)

  1. 長手方向に複数の包装袋が連続して形成された連続包装体を、包装袋ごとに切断する切断装置であって、
    前記包装袋は、長手方向の両側にそれぞれ一端部と他端部とを有し、前記連続包装体において隣接する包装袋の前記一端部と前記他端部との間には、切断時に除去される除去部が設けられ、
    前記切断装置は、前記一端部と前記他端部を切断する雄刃部を有する雄刃ユニットと、前記雄刃部と嵌合する雌刃部を有する雌刃ユニットとを備え、
    前記雄刃ユニットは、前記雄刃部において前記一端部を切断する刃型と前記他端部を切断する刃型との間から前記連続包装体に向けて気体を噴出する吹き出し口を有し、
    前記雌刃ユニットは、前記連続包装体の幅方向両側を前記雌刃部に向けて案内するガイド部と、前記雌刃部の裏側から前記除去部を排出する排出穴とを有し、
    前記連続包装体の前記除去部が前記切断装置により切断される前に、前記吹き出し口から前記連続包装体に向けて気体を噴出することにより、前記連続包装体を押圧して、前記連続包装体の幅方向両側を前記ガイド部により前記雌刃部に向けて案内することを特徴とする切断装置。
  2. 前記ガイド部は、前記連続包装体の幅方向両側にそれぞれガイド斜面を有し、前記ガイド斜面の間隔は、前記雌刃部に対する前記雄刃部の挿入方向において、前記雌刃部に近づくほど間隔が狭くなることを特徴とする請求項1に記載の切断装置。
  3. 前記連続包装体の前記除去部が前記切断装置により切断された後に、前記吹き出し口から前記連続包装体に向けて気体を噴出することにより、前記除去部の切り屑を前記排出穴から排出することを特徴とする請求項1または2に記載の切断装置。
  4. 前記雄刃部および前記雌刃部が前記包装袋を切断する形状は、前記一端部または前記他端部の少なくとも一方に曲線を含むことを特徴とする請求項1〜のいずれか1項に記載の切断装置。
  5. 長手方向に複数の包装袋が連続して形成された連続包装体を、包装袋ごとに切断して包装袋を製造する包装袋の製造装置であって、
    前記連続包装体を包装袋ごとに切断するため、請求項1〜のいずれか1項に記載の切断装置を備えることを特徴とする包装袋の製造装置。
  6. 長手方向に複数の包装袋が連続して形成された連続包装体を、包装袋ごとに切断して包装袋を製造する包装袋の製造方法であって、
    前記連続包装体を包装袋ごとに切断するため、請求項1〜のいずれか1項に記載の切断装置を用いることを特徴とする包装袋の製造方法。
JP2014027658A 2014-02-17 2014-02-17 切断装置、包装袋の製造装置、および包装袋の製造方法 Active JP6406830B2 (ja)

Priority Applications (1)

Application Number Priority Date Filing Date Title
JP2014027658A JP6406830B2 (ja) 2014-02-17 2014-02-17 切断装置、包装袋の製造装置、および包装袋の製造方法

Applications Claiming Priority (1)

Application Number Priority Date Filing Date Title
JP2014027658A JP6406830B2 (ja) 2014-02-17 2014-02-17 切断装置、包装袋の製造装置、および包装袋の製造方法

Publications (2)

Publication Number Publication Date
JP2015151172A JP2015151172A (ja) 2015-08-24
JP6406830B2 true JP6406830B2 (ja) 2018-10-17

Family

ID=53893845

Family Applications (1)

Application Number Title Priority Date Filing Date
JP2014027658A Active JP6406830B2 (ja) 2014-02-17 2014-02-17 切断装置、包装袋の製造装置、および包装袋の製造方法

Country Status (1)

Country Link
JP (1) JP6406830B2 (ja)

Families Citing this family (2)

* Cited by examiner, † Cited by third party
Publication number Priority date Publication date Assignee Title
CN116409511B (zh) * 2023-05-24 2025-05-20 美赞臣营养品(香港)有限公司 一种袋装产品裁切整理流水线
CN117381873A (zh) * 2023-10-18 2024-01-12 楚天科技股份有限公司 一种能够切出易撕缝的固体条包袋分切装置

Family Cites Families (4)

* Cited by examiner, † Cited by third party
Publication number Priority date Publication date Assignee Title
JPH0755466B2 (ja) * 1986-12-01 1995-06-14 株式会社興人 シ−トの切断機構
JPH04365597A (ja) * 1991-06-13 1992-12-17 Uchiyama Kikai Seisakusho:Kk シート状材料の打抜装置
JP4564378B2 (ja) * 2004-12-27 2010-10-20 三光機械株式会社 縦型多列自動包装機のrカッター装置
JP4919880B2 (ja) * 2007-06-11 2012-04-18 兼房株式会社 帯状体切断工具

Also Published As

Publication number Publication date
JP2015151172A (ja) 2015-08-24

Similar Documents

Publication Publication Date Title
US10717577B2 (en) Plastic bag making apparatus
KR101923407B1 (ko) 제대기
KR20100091967A (ko) 포장 백의 컷 장치, 포장 백의 제조 장치 및 제조 방법
JP5319987B2 (ja) ジッパーテープ及びジッパーテープ付包装袋
US20200247066A1 (en) Ultrasonic sealing anvil and ultrasonic sealing apparatus
JP6892817B2 (ja) スパウト付きガゼット袋
JPWO2017057244A1 (ja) アンビル及び超音波シール装置
CN107000919B (zh) 外装容器与液体收纳容器的组合体、其制作方法和液体收纳容器
JP6406830B2 (ja) 切断装置、包装袋の製造装置、および包装袋の製造方法
WO2018028450A1 (zh) 液体运输系统和内衬袋及使用方法
JP2013039932A (ja) 注出口付き包装袋
JP4642600B2 (ja) 注出口付き包装袋
KR20230088366A (ko) 필름편의 타발 접합 장치, 필름의 제조 장치, 주머니 형상 용기의 제조 장치, 필름편의 타발 접합 방법, 필름의 제조 방법 및 주머니 형상 용기의 제조 방법
JP5132931B2 (ja) 複合容器
JP2009090987A (ja) 自立性包装袋
JP4614294B2 (ja)
EP1609731B1 (en) Method of manufacturing self-supportable bag
JP7096719B2 (ja) フィルムのカット方法およびカット装置
KR101712881B1 (ko) 자립형 포장 용기
CN107922071B (zh) 超声波密封装置
KR102301095B1 (ko) 수액용기 제조장치
JP2019050096A (ja) バイポーラ電極の製造方法及びバイポーラ電極の製造装置
US11878853B2 (en) Packaging bag, method for manufacturing packaging bag, and pressing member
JP7131291B2 (ja) 包装袋
JP6772705B2 (ja) 包装袋

Legal Events

Date Code Title Description
A621 Written request for application examination

Free format text: JAPANESE INTERMEDIATE CODE: A621

Effective date: 20170126

A131 Notification of reasons for refusal

Free format text: JAPANESE INTERMEDIATE CODE: A131

Effective date: 20180220

A521 Request for written amendment filed

Free format text: JAPANESE INTERMEDIATE CODE: A523

Effective date: 20180409

TRDD Decision of grant or rejection written
A01 Written decision to grant a patent or to grant a registration (utility model)

Free format text: JAPANESE INTERMEDIATE CODE: A01

Effective date: 20180821

A61 First payment of annual fees (during grant procedure)

Free format text: JAPANESE INTERMEDIATE CODE: A61

Effective date: 20180918

R150 Certificate of patent or registration of utility model

Ref document number: 6406830

Country of ref document: JP

Free format text: JAPANESE INTERMEDIATE CODE: R150

R250 Receipt of annual fees

Free format text: JAPANESE INTERMEDIATE CODE: R250

R250 Receipt of annual fees

Free format text: JAPANESE INTERMEDIATE CODE: R250

R250 Receipt of annual fees

Free format text: JAPANESE INTERMEDIATE CODE: R250