JP6381237B2 - 配管カバー、その取り付け方法及び水栓 - Google Patents

配管カバー、その取り付け方法及び水栓 Download PDF

Info

Publication number
JP6381237B2
JP6381237B2 JP2014047398A JP2014047398A JP6381237B2 JP 6381237 B2 JP6381237 B2 JP 6381237B2 JP 2014047398 A JP2014047398 A JP 2014047398A JP 2014047398 A JP2014047398 A JP 2014047398A JP 6381237 B2 JP6381237 B2 JP 6381237B2
Authority
JP
Japan
Prior art keywords
pipe
cover member
cover
piping
appearance
Prior art date
Legal status (The legal status is an assumption and is not a legal conclusion. Google has not performed a legal analysis and makes no representation as to the accuracy of the status listed.)
Active
Application number
JP2014047398A
Other languages
English (en)
Other versions
JP2015169063A (ja
Inventor
登士郎 ▲高▼梨
登士郎 ▲高▼梨
夕起子 豊田
夕起子 豊田
金子 昌弘
昌弘 金子
Current Assignee (The listed assignees may be inaccurate. Google has not performed a legal analysis and makes no representation or warranty as to the accuracy of the list.)
Lixil Corp
Original Assignee
Lixil Corp
Priority date (The priority date is an assumption and is not a legal conclusion. Google has not performed a legal analysis and makes no representation as to the accuracy of the date listed.)
Filing date
Publication date
Application filed by Lixil Corp filed Critical Lixil Corp
Priority to JP2014047398A priority Critical patent/JP6381237B2/ja
Publication of JP2015169063A publication Critical patent/JP2015169063A/ja
Application granted granted Critical
Publication of JP6381237B2 publication Critical patent/JP6381237B2/ja
Active legal-status Critical Current
Anticipated expiration legal-status Critical

Links

Images

Landscapes

  • Domestic Plumbing Installations (AREA)

Description

本発明は、配管カバー、その取り付け方法及び水栓に関する。
従来、浴室等において用いられる水栓の本体は、壁の内部に敷設された給水管に配管を介して接続されている。
水栓本体と給水管とを接続する配管は、一般的に金属製であることから熱の伝導性が高いため、水栓から湯を排出する際に高温になってしまう場合がある。そこで、水栓の使用者等が高温になった配管に触れてしまうのを防ぐために、配管を配管カバーで覆う場合がある(例えば、特許文献1〜3参照)。なお、この配管カバーは、配管が外部に晒されることによって水栓の取り付け構造の意匠性が低下してしまうことを防ぐ役割も果たす。
特許第4054220号公報 特許第4217826号公報 特許第4622186号公報
ところで、従来の配管カバーは、配置する際に、内側を配管に接触させて位置決めするため、配管の熱が伝達されやすい。配管カバーに配管の持つ熱が伝達されやすいと、配管カバー自体の外面が高温になってしまうおそれがある。
本発明は、上記課題に鑑みてなされたものであり、配管の持つ熱が外面まで伝達され難い配管カバーを提供することを目的とする。
(1)本発明は、配管(例えば、後述の配管120,130)を覆うための配管カバー(例えば、後述の配管カバー1)であって、内部に前記配管が挿通される外観カバー部材(例えば、後述の外観カバー部材10)と、前記外観カバー部材の内側に係合され且つ前記配管に係合可能である高分子製の内部部材(例えば、後述の内部部材40)と、を備える配管カバーに関する。
(1)の発明では、配管カバーを、外観カバー部材と、外観カバー部材の内側に係合され且つ配管に係合可能である高分子製の内部部材と、を備えるものとする。これにより、配管の内部を湯が流通することによって配管が熱を持ったとしても、配管の持つ熱が配管カバーの外面まで伝達され難くなる。つまり、従来の配管カバーでは、本実施形態における外観カバー部材に相当する部材が直接配管に触れることで配管カバーの外面が高温になってしまうおそれがあったが、本発明においては熱伝導率の低い高分子製の内部部材を介して外観カバー部材が配管に係合及び位置決めされるので、配管カバーの外面まで熱が伝達し難い。このように係る配管カバー1を用いれば、水栓の使用者等が高温になった配管カバーに触れてしまうのを防ぐことができる。
前記外観カバー部材は、互いに対向して配置される第1の外観カバー部材(例えば、後述の第1の外観カバー部材20)及び第2の外観カバー部材(例えば、後述の第2の外観カバー部材30)を備え、前記第1の外観カバー部材及び前記第2の外観カバー部材は、前記内部部材を介して連結され配管カバーであることが好ましい。
発明では、外観カバー部材が、互いに対向して配置される第1の外観カバー部材及び第2の外観カバー部材を備えるものとし、これらの第1の外観カバー部材及び第2の外観カバー部材が内部部材を介して連結されるものとする。これにより、事前に配管カバーを配管に挿通させて水栓の設置を行わずとも、水栓本体が配管によって壁に支持された状態で配管カバーの取り付け作業を行うことができる。
)前記内部部材は、前記第1の外観カバー部材の内側に係合され、且つ、前記第2の外観カバー部材側に延びて先端が鉤状に曲がった爪部(例えば、後述の爪部48,48)を有し、前記第2の外観カバー部材は、内面に形成され且つ前記爪部がスナップフィットにより係合される延出部(例えば、後述の延出部32,32)を有することが好ましい。
)の発明では、内部部材と外観カバー部材とを係合するための構造において、外観カバー側の構造を単純化する。これにより、外観カバー部材を成形する際の、ヒケが発生等による歩留まりや品質の低下を防ぐことができる。なお、メッキの施された外観カバー部材にスナップフィットによって係合するための爪部を設けると、外観カバー部材に応力がかかることでメッキ割れやメッキの剥がれが生じてしまう場合がある。本発明においては、内部部材側の爪部をスナップフィットによって、第2の外観カバー部材に取り付ける構造とすることで、メッキを施した外観カバー部材を用いた場合でも、メッキ割れやメッキの剥がれが生じてしまうのを防ぐことができる。
)前記第1の外観カバー部材の内周に設けられた係合部(例えば、後述の係合部21,21)と、前記内部部材の外周に設けられた被係合部(例えば、後述の被係合部42,42)とが、前記配管の挿通方向から突き合わされることで前記内部部材が前記第1の外観カバー部材の内側に係合されることが好ましい。
)の発明では、第1の外観カバー部材の内周に設けられた係合部と、内部部材の外周に設けられた被係合部とを、配管の挿通方向から突き合わされることで内部部材が第1の外観カバー部材の内側に係合されるものとする。これにより、配管カバーの組み立てが(施工)が容易になる。つまり、本実施形態によれば、内部部材と第1の外観カバー部材とを事前にアセンブリ化しておき、これらが一体となった部材を用いて現場での施工を行うことができるので、現場での作業負担が軽減される。
)また、本発明は、前記内部部材は、半円筒状に形成され、且つ、互いに対向する内面に前記配管の挿通方向に直交する方向に延設されたリブ(例えば、後述のリブ46,46,47,47)を有し、前記リブの内側は、前記配管の両側面に形成された平面と接触することが可能である前記配管カバーを、前記配管に、前記リブの内側が前記平面に接触するように取り付ける配管カバーの取り付け方法に関する。
)の発明では、半円筒状に形成された配管カバーの互いに対向する内面に、配管の挿通方向に直交する方向にリブを延設する。更に、この配管カバーを、リブが配管の両側面に形成された平面と接触するように取り付ける。これにより、配管の延びる方向を軸とした配管カバーの角度を変えて、配管カバーを配管に取り付けることが難しくなる。すなわち、配管カバーの取り付けの際の、配管の延びる方向を軸とした回転方向の位置決めが容易になる。また、配管カバーと配管とが、面同士でなく、リブと平面とが接触するように配管カバーが取り付けられることで、配管カバーの配管の延びる方向における位置調整も容易になる。
)また、本発明は、水栓本体(例えば、後述の水栓本体110)と、前記水栓本体を給湯管(例えば、後述の給湯管210)又は給水管(例えば、後述の給水管220)に接続するための配管(例えば、後述の配管120,130)と、前記配管を覆う前記配管カバーと、を有する水栓(例えば、後述の水栓100)に関する。
)の発明では、水栓が、上述の配管カバーと、を有するものとする。これにより、配管の持つ熱が配管カバーの外面まで伝達され難く、意匠性の高い水栓を提供できる。
本発明によれば、配管の持つ熱が外面まで伝達され難い配管カバーを提供することができる。
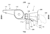
本発明の一実施形態に係る配管カバーを配置した水栓を示す斜視図である。 上記実施形態の水栓の平面図である。 上記実施形態の水栓の側面図である。 上記実施形態に係る配管カバーを配置した配管の断面図であって、図2のA−A線断面図である。 上記実施形態に係る配管カバーの分解斜視図である。 上記実施形態に係る配管カバーの分解背面図である。 上記実施形態に係る配管カバーの第1の外観カバー部材及び内部部材の分解斜視図である。
以下、本発明の吐水装置の好ましい各実施形態について、図面を参照しながら説明する。図1は、本発明の一実施形態に係る配管カバー1を配置した水栓100を示す斜視図である。図2は、水栓100の平面図であり、図3は、水栓100の側面図である。なお、以下の説明において、吐水方向とは、水が流れる方向のことであり、特に説明なく上流及び下流といった場合は水が流れる方向における上流及び下流である。また、水栓100の、壁200側を背面側、壁200に対向する側を正面側とする。
水栓100は、浴室用の水栓である。図1に示すように、水栓100は、水栓本体110と、水栓本体110を壁200の内部に敷設された給湯管210及び給水管220に接続するための配管120,130と、配管120,130をそれぞれ覆う配管カバー1,1と、を有する。
水栓本体110は、正面から見てそれぞれ、中心に位置する吐水部111と、吐水部111の右側に接続される切替ハンドル112と、吐水部111の左側に接続される温度調節ハンドル113と、を備える。
吐水部111は、下面に形成される図示しない吐水口から、吸水された水を吐出する。図2及び図3に示すように、吐水部111は、背面側の水平方向における中心には水平方向に延出して下方に屈曲したシャワーエルボ111aを有する。図3に示すように、シャワーエルボ111aには、図示しないシャワー部へ湯水を給水するためのチューブ300が接続される。
切替ハンドル112は、給水先を吐水部111の吐水口かシャワー部かのいずれかに切り替えるためのものであり、水栓100の使用者は、この切替ハンドル112によって、湯水の出し止めや吐水される水量の調節を行う。
本実施形態における水栓100は、使用者が用途に応じて湯水の温度調節が可能な混合水栓であり、例えばサーモスタット混合水栓式等、適宜方式が採用される。温度調節ハンドル113は、吐水部111の内部において給湯管210及び給水管220から給水される湯水を混合する割合を調整することで、吐水される湯水の温度を調節するものである。温度調節ハンドル113は、内部に配置され且つ吐水される湯水が所定の温度(例えば、50℃)以上にならないようにするストッパー(図示しない)と、温度調節ハンドル113の外面の正面側に配置される、ストッパーを解除するためのボタン113aと、を備える。
配管120,130は、吐水部111の背面側に水平方向に並んで接続されて、水栓本体110を壁200に取り付けて支持する。配管120の内部は、給湯管210から給湯された湯が流通する。配管130の内部は、給水管220から給水された水が流通する。
続いて、図4も参照しながら、配管120及び配管カバー1について詳細に説明する。
図4は、配管カバー1を配置した配管120の断面図であって、図2のA−A線断面図である。配管120及び配管130は同様の構造であるので、ここでは配管120についてのみ説明する。
配管120は、配管本体121と、ストレーナ部122と、袋ナット123と、を有する。配管120は、主に金属製の部材によって構成される。
配管本体121は、その内部に形成された、上流側の第1流路121aと、下流側の第2流路121bと、第1流路121aと第2流路121bとの間に位置する連通流路121cと、を有する。更に、配管本体121は、連通流路121cから下側に開口し、連通流路121cを外部と連通する開口部121dを有する。開口部121dには、内側に雌ネジが形成される。また、配管本体121は、下流側の一端に形成されたフランジ部121eを有する。
第1流路121aの上流側は、給湯管210に接続される。第2流路121bの下流側は、吐水部111(水栓本体110)の背面側に、後述する袋ナット123を介して接続される。
ストレーナ部122は、キャップ122aと、ストレーナ122bと、スピンドル122cと、を有する。
キャップ122aは、外周面に雄ネジが形成され、開口部121dに螺合して配管本体121に取り付けられる。ストレーナ122bは、連通流路121cに埋設される。ストレーナ122bは、給湯管210(給水管220)から供給される湯水から固体成分を取り除く。スピンドル122cは、キャップ122aの中心に形成された孔に嵌合されて保持され、ストレーナ部122の軸を形成する。ストレーナ122bは、キャップ122aを配管本体121から取り外す際に、キャップ122aとともに取り外すことができ、交換可能である。
キャップ122aと開口部121dとの間には、Oリング124が配置される。
袋ナット123は、フランジ部121eに係合される。袋ナット123とフランジ部121eとの間には、Oリング125が配置される。更に、袋ナット123は、水栓本体110の吐水部111の背面側に形成される図示しない取り付け部に螺合することで、配管120と水栓本体110とを接続する。
配管カバー1は、外観カバー部材10と、内部部材40と、を備える。
図1及び図4に示すように、外観カバー部材10は、円筒状に形成され、内部に配管120が挿通される。より詳しくは、外観カバー部材10は、背面側(壁200側)に向かって拡径した円筒状(円錐状)である。
図4に示すように、外観カバー部材10は、配管120を介して互いに対向して配置される第1の外観カバー部材20及び第2の外観カバー部材30を備える。第1の外観カバー部材20は、配管120の上側に、第2の外観カバー部材30は、配管120の下側に、それぞれ配置される。
本実施形態において外観カバー部材10(第1の外観カバー部材20及び第2の外観カバー部材30)は、ABS樹脂を成形した母材にメッキした部材であるが、特に限定はされない。
内部部材40は、外観カバー部材10(第1の外観カバー部材20)と配管120との間に配置される。内部部材40は、高分子製の部材である。内部部材40に用いられる高分子としては、特に限定されないが、樹脂やゴム等を挙げることができる。樹脂としては、ABS樹脂、AS樹脂、アクリル樹脂、ポリ塩化ビニル等が挙げられる。また、ゴムとしては、天然ゴムや、ブタジエンゴム、スチレン−ブタジエンゴムに代表される合成ゴムを挙げることができる。
続いて、図5〜図7も参照しながら、配管カバー1についてより詳細に説明する。
図5は、配管カバー1の分解斜視図である。図6は、配管カバー1の分解背面図(壁200側から見た図)である。図5及び図6においては、配管120についても示す。また、図5では、便宜的に配管カバー1を配管120の挿通方向を軸にして回転させている。図7は、配管カバー1の第1の外観カバー部材20及び内部部材40の分解斜視図である。図7は、図5に示した回転角度における、第1の外観カバー部材20及び内部部材40の分解斜視図である。
図5〜図7に示すように、配管カバー1の外観カバー部材10及び内部部材40は図2のA−A線断面に相当する面を中心とした対称構造である。
図5及び図6に示すように、第1の外観カバー部材20、第2の外観カバー部材30及び内部部材40は、全て半円筒状に形成される。
また、図7に示すように、第1の外観カバー部材20は、内周に設けられた一対の係合部21,21を備える。一対の係合部21,21は、第1の外観カバー部材20の互いに対向する内面から内側に延出する。また、第1の外観カバー部材20は、内周に設けられた一対の延出部22,22を備える。一対の延出部22,22は、第1の外観カバー部材20の互いに対向する内面から内側に延出する。
内部部材40は、中空部分41,41を形成する。中空部分41,41が形成されることで、より内面から外面への熱伝達の効率を下げることができる。内部部材40は、外周に設けられた被係合部42,42を有する。また、図5〜図7に示すように、内部部材40は、第2の外観カバー部材30側に突出した突出部43,43を有する。更に、内部部材40は、第2の外観カバー部材30側に延びて先端が鉤状に曲がった爪部48,48を有する。
内部部材40は、内周上面に配管120の挿通方向に延設されたリブ44,44,45を有する。リブ44,44,45は、配管本体121の上面に形成された平面に当接し、内部部材40を配管120に設置した際の、内部部材40の配管120の挿通方向への移動を容易にする。
また、内部部材40は、互いに対向する内面が平面に形成され、且つ、その内面に配管120の挿通方向に直交する方向に延設されたリブ46,46,47,47を有する。後述するように、リブ46,46,47,47の内側は、配管120の両側面に形成された平面120a,120aと接触することが可能となるように形成される。これらのリブ46,46,47,47の内側は、平面120a,120aと面接触することが可能となるように形成してもよい。
第2の外観カバー部材30は、内面と外面とを連通する孔31を有する。孔31が形成されることで、配管カバー1で配管120を覆った場合にも、キャップ122aの外面が外部に露出され(図3参照)、ストレーナ部122の取り外しが可能になる。
第2の外観カバー部材30は、互いに対向する内面に形成された一対の延出部32,32を有する。また、第2の外観カバー部材30は、互いに対向する内面に形成され、且つ、先端に上側から下側に貫通する孔の形成された一対の挿入部33,33を有する。
続いて、配管120(配管130)への配管カバー1の取り付け方法及び配管120に配管カバー1を取り付けた状態について説明する。
配管カバー1の取り付けは、配管120,130をそれぞれ、水栓本体110及び浴室等の壁200の内部に敷設された給湯管210及び給水管220に取り付けて、水栓本体110が壁200に支持された状態で行われる。
まず、図7に示すように、第1の外観カバー部材20と内部部材40とを、係合部21,21と被係合部42,42とが配管120の挿通方向(B方向)から突き合わされることで、内部部材40を第1の外観カバー部材20の内側に係合する。このとき、延出部22,22は、内部部材40と当接する(図5参照)。
続いて、図5及び図6に示すように、内部部材40と第1の外観カバー部材20とが一体となった部材を、上側から配管120に係合させる。この際に、リブ46,46,47,47の内側が配管120の両側面に形成された平面120a,120aに接触するようにする。
続いて、第2の外観カバー部材30を、下側から配管120に接近させて、配管120に係合された内部部材40の爪部48,48をスナップフィットにより第2の外観カバー部材30の延出部32,32に係合させる。この際に、内部部材40の突出部43,43は、第2の外観カバー部材30の挿入部33,33に形成された孔に挿入される。
このように、内部部材40と第2の外観カバー部材30を係合させることで、第1の外観カバー部材及び第2の外観カバー部材は、直接連結されず、内部部材40を介して連結されることになる。
最後に、配管カバー1全体の配管120,130の挿通方向における位置を調整し、配管カバー1の背面側を壁200に接触させる(図2参照)。
本実施形態によれば、以下の効果が奏される。
本実施形態では、配管カバー1を、外観カバー部材10と、外観カバー部材10の内側に係合され且つ配管120に係合可能である高分子製の内部部材40と、を備えるものとした。
これにより、配管120の内部を湯が流通することによって配管120が熱を持ったとしても、配管120の持つ熱が配管カバー1の外面まで伝達され難くなる。つまり、従来の配管カバーでは、本実施形態における外観カバー部材に相当する部材が直接配管に触れて位置決めされるので、配管カバーの外面が高温になってしまうおそれがあったが、本実施形態においては熱伝導率の低い高分子製の内部部材40を介して外観カバー部材10が配管120に係合及び位置決めされるので、配管カバー1の外面まで熱が伝達し難い。
本実施形態に係る配管カバー1を用いれば、水栓の使用者等が高温になった配管カバーに触れてしまうのを防ぐことができる。
また、本実施形態では、外観カバー部材10が、互いに対向して配置される第1の外観カバー部材20及び第2の外観カバー部材30を備えるものとし、これらの第1の外観カバー部材20及び第2の外観カバー部材30が内部部材40を介して連結されるものとした。
これにより、事前に配管カバー1を配管120,130に挿通させて水栓100の設置を行わずとも、水栓本体110が配管120,130によって壁200に支持された状態で配管カバー1の取り付け作業を行うことができる。
また、本実施形態では、内部部材40が、第1の外観カバー部材20の内側に係合され、且つ、第2の外観カバー部材30側(下側)に延びて先端が鉤状に曲がった爪部48,48を有するものとした。更に、第2の外観カバー部材30が、内面に形成され且つ爪部48,48がスナップフィットにより係合される延出部32,32を有するものとした。
このように、内部部材40と外観カバー部材10とを係合するための構造において、外観カバー部材10側の構造を単純化した。これにより、外観カバー部材10を成形する際の、ヒケが発生等による歩留まりや品質の低下を防ぐことができる。
なお、メッキの施された外観カバー部材にスナップフィットによって係合するための爪部を設けると、外観カバー部材に応力がかかることでメッキ割れやメッキの剥がれが生じてしまう場合がある。本実施形態においては、内部部材40側の爪部48,48をスナップフィットによって、第2の外観カバー部材30に取り付ける構造とすることで、メッキを施した外観カバー部材10を用いた場合でも、メッキ割れやメッキの剥がれが生じてしまうのを防ぐことができる。
また、本実施形態では、第1の外観カバー部材20の内周に設けられた係合部21,21と、内部部材40の外周に設けられた被係合部42,42とが、配管120の挿通方向から突き合わされることで内部部材40が第1の外観カバー部材20の内側に係合されるものとした。
これにより、配管カバー1の組み立てが(施工)が容易になる。つまり、本実施形態によれば、内部部材40と第1の外観カバー部材20とを事前にアセンブリ化しておき、これらが一体となった部材を用いて現場での施工を行うことができるので、現場での作業負担が軽減される。
また、本実施形態では、半円筒状に形成された配管カバー1の互いに対向する内面に、配管120,130の挿通方向に直交する方向にリブ46,46,47,47を延設した。更に、この配管カバー1を、リブ46,46,47,47が配管120,130の両側面に形成された平面と接触するように取り付けた。
これにより、配管120,130の延びる方向を軸とした配管カバー1の角度を変えて、配管カバー1を配管120,130に取り付けることが難しくなる。すなわち、配管カバー1の取り付けの際の、配管120,130の延びる方向を軸とした回転方向の位置決めが容易になる。
また、配管カバー1と配管120,130とが、面同士でなく、リブと平面とが接触するように配管カバー1が取り付けられることで、配管カバー1の配管120,130の延びる方向における位置調整も容易になる。
また、本実施形態では、水栓100が、水栓本体110と、水栓本体110を壁200の内部に敷設された給湯管210(給水管220)に接続するための配管120(配管130)と、配管カバー1と、を有するものとした。
これにより、配管の持つ熱が配管カバーの外面まで伝達され難く、意匠性の高い水栓を提供できる。
なお、本発明は上記実施形態に限定されるものではなく、本発明の目的を達成できる範囲での変形、改良等は本発明に含まれる。
本実施形態においては、配管カバー1を浴室用の水栓に適用したが、これに限定されず、例えば、キッチン用の水栓に適用することもできる。
また、本実施形態においては、外観カバー部材10は、2つの部材(第1の外観カバー部材20及び第2の外観カバー部材30)から構成したが、これに限定されない。例えば、外観カバー部材は、1つの筒状部材から構成してもよいし、3以上の部材から構成してもよい。
1…配管カバー
10…外観カバー部材
20…第1の外観カバー部材
21,21…係合部
30…第2の外観カバー部材
32,32…延出部
40…内部部材
42,42…被係合部
46,46,47,47…リブ
48,48…爪部
100…水栓
110…水栓本体
120,130…配管
210…給湯管
220…給水管

Claims (5)

  1. 配管を覆うための配管カバーであって、
    内部に前記配管が挿通される外観カバー部材と、
    前記外観カバー部材の内側に係合され且つ前記配管に係合可能である高分子製の内部部材と、を備え、
    前記外観カバー部材は、互いに対向して配置される第1の外観カバー部材及び第2の外観カバー部材を備え、
    前記第1の外観カバー部材及び前記第2の外観カバー部材は、前記内部部材を介して連結され
    前記内部部材は、前記第1の外観カバー部材の内側に係合され、且つ、前記第2の外観カバー部材側に延びて先端が鉤状に曲がった爪部を有し、
    前記第2の外観カバー部材は、内面に形成され且つ前記爪部がスナップフィットにより係合される延出部を有する配管カバー。
  2. 配管を覆うための配管カバーであって、
    内部に前記配管が挿通される外観カバー部材と、
    前記外観カバー部材の内側に係合され且つ前記配管に係合可能である高分子製の内部部材と、を備え、
    前記外観カバー部材は、互いに対向して配置される第1の外観カバー部材及び第2の外観カバー部材を備え、
    前記第1の外観カバー部材及び前記第2の外観カバー部材は、前記内部部材を介して連結され、
    内部部材と第2の外観カバーを係合させることで、第1の外観カバー部材及び第2の外観カバー部材は直接連結されず、内部部材を介して連結される配管カバー。
  3. 前記第1の外観カバー部材の内周に設けられた係合部と、前記内部部材の外周に設けられた被係合部とが、前記配管の挿通方向から突き合わされることで前記内部部材が前記第1の外観カバー部材の内側に係合される請求項1又は2記載の配管カバー。
  4. 配管カバーの取り付け方法であって、
    配管を覆うための前記配管カバーは、
    内部に前記配管が挿通される外観カバー部材と、
    前記外観カバー部材の内側に係合され且つ前記配管に係合可能である高分子製の内部部材と、を備え、
    前記外観カバー部材は、互いに対向して配置される第1の外観カバー部材及び第2の外観カバー部材を備え、
    前記第1の外観カバー部材及び前記第2の外観カバー部材は、前記内部部材を介して連結され、
    前記内部部材は、半円筒状に形成され、且つ、互いに対向する内面に前記配管の挿通方向に直交する方向に延設されたリブを有し、
    前記リブの内側は、前記配管の両側面に形成された平面と接触することが可能である前記配管カバーを、
    前記配管に、前記リブの内側が前記平面に接触するように取り付ける配管カバーの取り付け方法。
  5. 水栓本体と、
    前記水栓本体を給湯管又は給水管に接続するための配管と、
    前記配管を覆う請求項1から3のいずれか記載の配管カバーと、を有する水栓。
JP2014047398A 2014-03-11 2014-03-11 配管カバー、その取り付け方法及び水栓 Active JP6381237B2 (ja)

Priority Applications (1)

Application Number Priority Date Filing Date Title
JP2014047398A JP6381237B2 (ja) 2014-03-11 2014-03-11 配管カバー、その取り付け方法及び水栓

Applications Claiming Priority (1)

Application Number Priority Date Filing Date Title
JP2014047398A JP6381237B2 (ja) 2014-03-11 2014-03-11 配管カバー、その取り付け方法及び水栓

Publications (2)

Publication Number Publication Date
JP2015169063A JP2015169063A (ja) 2015-09-28
JP6381237B2 true JP6381237B2 (ja) 2018-08-29

Family

ID=54202054

Family Applications (1)

Application Number Title Priority Date Filing Date
JP2014047398A Active JP6381237B2 (ja) 2014-03-11 2014-03-11 配管カバー、その取り付け方法及び水栓

Country Status (1)

Country Link
JP (1) JP6381237B2 (ja)

Families Citing this family (2)

* Cited by examiner, † Cited by third party
Publication number Priority date Publication date Assignee Title
US10465068B2 (en) 2015-02-10 2019-11-05 Techno Polymer Co., Ltd. Article comprising plated component
JP6886901B2 (ja) * 2017-08-31 2021-06-16 株式会社Lixil 水栓装置

Family Cites Families (3)

* Cited by examiner, † Cited by third party
Publication number Priority date Publication date Assignee Title
JP2005290663A (ja) * 2004-03-31 2005-10-20 Kvk Corp カバーの取付構造
JP4895933B2 (ja) * 2007-06-29 2012-03-14 株式会社Lixil 壁付水栓
JP5982658B2 (ja) * 2012-02-29 2016-08-31 株式会社Lixil カバー付き水栓

Also Published As

Publication number Publication date
JP2015169063A (ja) 2015-09-28

Similar Documents

Publication Publication Date Title
US9109350B2 (en) Fluid delivery system with a housing and at least one fluid inlet and one fluid outlet
CN1663686B (zh) 拔出式喷水器
US20180209129A1 (en) Mounting structure for bidet
US9157221B2 (en) All-in-one bath mixer pop-up waste and overflow assembly
KR101721067B1 (ko) 수전금구
JP6381237B2 (ja) 配管カバー、その取り付け方法及び水栓
KR102062336B1 (ko) 냉온수 혼합수전
TWI545244B (zh) 衛浴配件
US9803350B2 (en) Flush lever and assembly
KR20130127706A (ko) 절수 어댑터
JP5138973B2 (ja) シャワーヘッド
JP5695264B1 (ja) シャワー設備用節水装置
JP6366965B2 (ja) 取付構造及び取付構造を備える吐水装置
JP6529897B2 (ja) 水栓および水栓に取り付けられる吐水ヘッド
KR101937484B1 (ko) 벽붙이 수전
JP7114023B2 (ja) 水栓装置
JP6543894B2 (ja) 水栓装置
CN205534378U (zh) 净水器
JP6525132B2 (ja) シャワーヘッド
JP2006193923A (ja) ストレーナ部材の脱着構造
KR200454292Y1 (ko) 수도전
JP6137728B2 (ja) 水栓の取付け構造
JP4381546B2 (ja) ホース接続具
CA2802806C (en) Fluid delivery system with a housing and at least one fluid inlet and one fluid outlet
JP2020023822A (ja) 水栓装置

Legal Events

Date Code Title Description
A621 Written request for application examination

Free format text: JAPANESE INTERMEDIATE CODE: A621

Effective date: 20160721

A977 Report on retrieval

Free format text: JAPANESE INTERMEDIATE CODE: A971007

Effective date: 20170522

A131 Notification of reasons for refusal

Free format text: JAPANESE INTERMEDIATE CODE: A131

Effective date: 20170606

A521 Written amendment

Free format text: JAPANESE INTERMEDIATE CODE: A523

Effective date: 20170727

A131 Notification of reasons for refusal

Free format text: JAPANESE INTERMEDIATE CODE: A131

Effective date: 20180109

A521 Written amendment

Free format text: JAPANESE INTERMEDIATE CODE: A523

Effective date: 20180302

TRDD Decision of grant or rejection written
A01 Written decision to grant a patent or to grant a registration (utility model)

Free format text: JAPANESE INTERMEDIATE CODE: A01

Effective date: 20180731

A61 First payment of annual fees (during grant procedure)

Free format text: JAPANESE INTERMEDIATE CODE: A61

Effective date: 20180731

R150 Certificate of patent or registration of utility model

Ref document number: 6381237

Country of ref document: JP

Free format text: JAPANESE INTERMEDIATE CODE: R150

S111 Request for change of ownership or part of ownership

Free format text: JAPANESE INTERMEDIATE CODE: R313111

R350 Written notification of registration of transfer

Free format text: JAPANESE INTERMEDIATE CODE: R350