JP6263788B2 - マイクロ波無電極ランプ及びこれを使用した光照射装置 - Google Patents

マイクロ波無電極ランプ及びこれを使用した光照射装置 Download PDF

Info

Publication number
JP6263788B2
JP6263788B2 JP2014067228A JP2014067228A JP6263788B2 JP 6263788 B2 JP6263788 B2 JP 6263788B2 JP 2014067228 A JP2014067228 A JP 2014067228A JP 2014067228 A JP2014067228 A JP 2014067228A JP 6263788 B2 JP6263788 B2 JP 6263788B2
Authority
JP
Japan
Prior art keywords
electrodeless lamp
zinc
microwave
μmol
concentration
Prior art date
Legal status (The legal status is an assumption and is not a legal conclusion. Google has not performed a legal analysis and makes no representation as to the accuracy of the status listed.)
Expired - Fee Related
Application number
JP2014067228A
Other languages
English (en)
Other versions
JP2015191743A (ja
Inventor
祐司 小田
祐司 小田
毅 東藤
毅 東藤
Current Assignee (The listed assignees may be inaccurate. Google has not performed a legal analysis and makes no representation or warranty as to the accuracy of the list.)
iwasakidenki
Original Assignee
iwasakidenki
Priority date (The priority date is an assumption and is not a legal conclusion. Google has not performed a legal analysis and makes no representation as to the accuracy of the date listed.)
Filing date
Publication date
Application filed by iwasakidenki filed Critical iwasakidenki
Priority to JP2014067228A priority Critical patent/JP6263788B2/ja
Publication of JP2015191743A publication Critical patent/JP2015191743A/ja
Application granted granted Critical
Publication of JP6263788B2 publication Critical patent/JP6263788B2/ja
Expired - Fee Related legal-status Critical Current
Anticipated expiration legal-status Critical

Links

Images

Landscapes

  • Discharge Lamps And Accessories Thereof (AREA)

Description

本発明は、マイクロ波給電方式のマイクロ波無電極ランプ、及び、これを使用した光照射装置に関する。
近年、可視光線又は紫外線を放射する放電ランプとして、マイクロ波無電極ランプが開発されている。マイクロ波無電極ランプを搭載する光照射装置は、典型的には、マイクロ波発振器と、マイクロ波空洞と、放電管(発光管)である無電極ランプを有する。無電極ランプはマイクロ波空洞に着脱可能に支持される。マイクロ波空洞には、無電極ランプからの可視光線又は紫外線を光出射口に導くための反射鏡が設けられている。光出射口には、マイクロ波に対しては不透過性であるが可視光線又は紫外線に対しては透過性の導電性メッシュが設けられている。
放電管には、始動用の希ガス又は不活性ガスと発光物質が封入されている。発光物質を適宜選択することによって、所望の波長の可視光線又は紫外線を得ることができる。紫外線は、波長400〜315nmのUV−A領域、波長315〜280nmのUV−B領域、波長280〜200nmのUV−C領域に分けられる。UV−A領域の紫外線は塗料、樹脂等の硬化処理に用いられる。UV−C領域の紫外線は殺菌用に用いられる。
従来、発光物質として一般的に、水銀が広く用いられている。近年、水銀は環境負荷物質として使用量の低減又は不使用の要望が強くなっている。即ち、従来の有水銀タイプの放電ランプの代わりに、同等の発光強度及び発光分光特性を有する無水銀タイプの放電ランプの要望が高まっている。
特許文献1には、無水銀タイプの無電極ランプの例が記載されている。発光物質として、亜鉛、ヨウ化インジウム、ヨウ化タリウム等が用いられている。緑色を帯びた白色光を発光する照明用の光源が得られる。特許文献2には、有水銀タイプの無電極ランプの例が記載されている。発光物質として、水銀、ハロゲン、鉄、ニッケル、コバルト、パラジウム等が用いられている。特許文献3には、無水銀タイプの有電極ランプの例が記載されている。亜鉛は、波長214nm、308nm、330nm、335nm、468nm、472nm、481nm等にて発光ピークを有することが記載されている。
特開平8−315782号公報 特開昭57−172650号公報 特表2008−516379号公報
近年、塗料、樹脂等の硬化処理に用いられる波長315〜400nm(UV−A領域)の紫外線の需要が高くなっている。UV−A領域の紫外線の光源として、マイクロ波無電極ランプが好適である。しかしながら、マイクロ波無電極ランプでは、有水銀タイプと同等の発光強度及び発光分光特性を有する無水銀タイプのものは未だ製品化されていない。
本発明の目的は、UV−A領域の紫外線の光源として、有水銀タイプの放電ランプと同等の発光強度及び発光分光特性を有する無水銀タイプのマイクロ波無電極ランプ及びこれを使用した光照射装置を提供することにある。
本実施形態によると、マイクロ波エネルギーを受けて発光するマイクロ波無電極ランプにおいて、
石英ガラス製の管状の放電容器と、該放電容器内に封入された希ガス及び発光物質と、を有し、前記発光物質は、亜鉛、ヨウ化コバルト、及び、コバルト単体、を含み、前記亜鉛(Zn)の封入濃度は1.5〜4.2μmol/ccである。
本実施形態によると、前記マイクロ波無電極ランプにおいて、前記ヨウ化コバルトの封入濃度は4〜10μmol/ccであってよい。
本実施形態によると、マイクロ波発振器と、該マイクロ波発振器に付属するアンテナと、該アンテナからのマイクロ波エネルギーを受けて発光する無電極ランプと、を有する光照射装置において、
前記無電極ランプは不活性ガスと発光物質が封入された放電容器を有し、前記発光物質は、亜鉛、ヨウ化コバルト、及び、コバルト単体、を含み、前記亜鉛(Zn)の封入濃度は1.5〜4.2μmol/ccである。
本実施形態によると、前記光照射装置において、前記ヨウ化コバルトの封入濃度は4〜10μmol/ccであってよい。
本発明によれば、UV−A領域の紫外線の光源として、有水銀タイプの放電ランプと同等の発光強度及び発光分光特性を有する無水銀タイプのマイクロ波無電極ランプ及びこれを使用した光照射装置を提供することができる。
図1Aは、本実施形態に係るマイクロ波無電極ランプを使用した光照射装置の一例を示す概略斜視図である。 図1Bは、図1Aの光照射装置を正面から見た概略正面図である。 図2は、本実施形態に係る光照射装置の筐体の前側内部の断面構成を示す図である。 図3は、本実施形態に係る無電極ランプの一例を示す図である。 図4は、本実施形態に係る無電極ランプの例の寸法を説明する図である。 図5は、本願発明者が行った無電極ランプの点灯実験により得られた亜鉛の封入濃度(μmol/cc)と紫外線(UV−A)発光強度の関係を説明する図である。 図6は、本願発明者が行った無電極ランプの点灯実験により得られた亜鉛の封入濃度(μmol/cc)と紫外線(UV−A)発光分光強度の関係を説明する図である。 図7は、本願発明者が行った無電極ランプの点灯実験により得られた亜鉛の封入濃度(μmol/cc)と始動電力の関係を説明する図である。 図8は、本願発明者が行った無電極ランプの点灯実験により得られたヨウ化コバルトの封入濃度(μmol/cc)と紫外線(UV−A)発光強度の関係を説明する図である。
以下、本発明に係る無電極ランプ及びこれを使用した光照射装置の実施形態に関して、添付の図面を参照しながら詳細に説明する。なお、この実施形態は、例示であって、本発明を何等限定するものではないことを承知されたい。
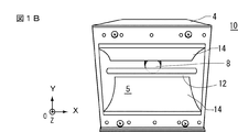
図1A及び図1Bは、本実施形態に係るマイクロ波無電極ランプを使用した光照射装置の一例を説明する図である。図1Aは、光照射装置10の斜視図である。図1Bは、図1Aの光照射装置10を正面から見た概略正面図である。図示のように、光照射装置10のランプ軸線方向に沿ってX軸、光照射装置10からの発光方向(矢印方向)に沿ってZ軸、X−Z面に垂直方向にY軸を設定する。
光照射装置10は、矩形の筐体4を有し、筐体4の後側内部にマイクロ波発振器3(図示なし)が設けられている。光照射装置10は、更に、マイクロ波発振器3に付属するアンテナ8と、アンテナ8からのマイクロ波エネルギーを受けて発光する無電極ランプ12と、無電極ランプ12の軸線に沿って配置された反射鏡14を有する。反射鏡14によって囲まれた空間は、マイクロ波空洞5を形成している。無電極ランプ12は、マイクロ波空洞5に配置されている。
光照射装置10は、更に、無電極ランプ12を冷却する冷却空気供給機構を有する。冷却空気供給機構は、図示しない冷却空気源と、筐体4の上側には装着された冷却用送風ダクト6(図1Bでは省略)を有する。
マイクロ波は、波長1m〜100μm、周波数300MHz〜3THzの電磁波を指し、電波の中で最も短い波長域である。マイクロ波発振器3として、マグネトロン、クライストロン、進行波管(TWT)、ジャイロトロン、ガンダイオードを用いた回路等がある。本実施形態では、マイクロ波発振器としてマグネトロンを使用する。マグネトロンは、発振用真空管の一種であり、強力なノンコヒーレントマイクロ波を発生する。身近なところでは、マグネトロンは、レーダーや電子レンジに使われている。本実施形態では、電子レンジ、好ましくは業務用電子レンジに使用されているマグネトロンを使用する。なお、電子レンジでは周波数2,450MHzが使用されているが、これは技術的な制限によるものではなく、法的規制によるものである。
図2は、本実施形態に係る光照射装置10の筐体4の前側内部の断面構成を示す。反射鏡14は、代表的には、被照射面に集光させる楕円面反射鏡、被照射面に平行光を当てる放物面反射鏡等が有る。楕円面も放物面も少なくとも1つの焦点を有する。図2の実施例では、反射鏡14は樋型楕円面反射鏡であり、無電極ランプ12は直管型で、その中心軸が楕円面反射鏡の焦点に位置するように配置されている。なお、無電極ランプの中心(中心軸)が反射鏡の焦点位置に必ずしも一致している必要は無く、ランプ設置の位置的誤差等も考慮して、ランプ本体の中央部分が焦点を含む位置に配置されていればよい。
反射鏡14の筐体4の前面には光出射口2が形成され、光出射口は導電性メッシュ16によって覆われている。導電性メッシュ16は、マイクロ波に対しては不透過性であるが、マイクロ波空洞からの照射光18、即ち、可視光線及び紫外線に対しては透過性である。
マイクロ波発振器3から発生したマイクロ波は、アンテナ8を介して放射され、マイクロ波空洞5に供給され、そこで定在波を形成する。マイクロ波空洞5に配置された無電極ランプ12の内部にプラズマを励起する。プラズマが放射する可視光線或いは紫外線は、照射光18として反射鏡14を反射し、又は、直接、光出射口2に向かって放射され、導電性メッシュ16を通過して、被照射面に照射される。
図示しない冷却空気源からの冷却用空気17は、冷却用送風ダクト6(図1A)を経由し、反射鏡14の孔14Aを介してマイクロ波空洞5に供給される。冷却用空気17は無電極ランプ12の外周面に衝突し、無電極ランプ12を冷却する。
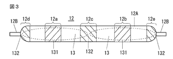
図3を参照して本実施形態に係る直管型の無電極ランプの例を説明する。無電極ランプ12は、円筒状の放電容器12Aを有する直管型であり、その両端に突起部12Bを有する。放電容器の両端の突起部12Bを筐体の両側の内壁の係合部に係合させることによって、無電極ランプ12はマイクロ波空洞内に保持される。
マグネトロンを発振させると、2,450MHzのマイクロ波エネルギーがマイクロ波空洞5に供給され定在波が形成される。マイクロ波が無電極ランプ12の放電容器12Aと結合されて内部にプラズマが励起される。発光物質から可視光線或いは紫外線が放射される。
無電極ランプ12を点灯すると、放電容器12Aの内部に、破線で示すように、2つのプラズマ領域13が形成される。プラズマ領域13は、腹131とその両側の節132を有する定在波を形成する。この定在波の波長は、λ=伝播速度/周波数=2.99×10(m/s)/2.45GHz≒123mmとなる。無電極ランプの放電容器12Aの軸線方向長さは、一波長の長さに略等しく形成されている。
定在波の腹131の部分は比較的温度が高く、比較的強い発光をする。ここは高温領域(ホットゾーン)12a、12bと呼ばれる。定在波の節132の部分は比較的温度が低く、比較的弱い発光をする。ここは低温領域(コールドゾーン)12c、12d、12eと呼ばれる。放電容器12Aにて定在波は左右対称的に形成される。従って、中央の最低温位置は、放電容器12Aの軸線方向の中央の位置にある。低温領域12c、12d、12eでは、封入物質の蒸発が阻害され、又は、再凝集が起こることがある。従って、無電極ランプ12の放電容器12Aの温度分布は軸線方向に沿って不均一となる。
図4を参照して本実施形態に係る直管型の無電極ランプの例を説明する。本実施形態に係る無電極ランプ12は円筒状の放電容器12Aと両側の突起部12B、12Bを有する。放電容器12Aは、円筒部121を有する。円筒部の両側に端部123、123が形成されている。端部123、123は、放電容器の両側の低温領域12d、12eに形成され、球面形状、楕円球面状等の回転曲面状に形成されてよい。
無電極ランプの軸線方向の寸法をL1、放電容器12Aの軸線方向の寸法をL、突起部12B、12Bの軸線方向の寸法をそれぞれLtとする。L1=L+2Lt=150〜160mm、L=130〜140mm、Lt=8.0〜9.0mmである。円筒部121の外径をD、突起部12B、12Bの外径をDtとする。
無電極ランプ12は石英ガラス製である。放電容器12Aは石英ガラス製の密閉容器によって形成されている。突起部12B、12Bは石英ガラス製の棒材である。放電容器12Aには、始動用の希ガス又は不活性ガスと発光物質が封入される。
以下に、本願発明者が行った実験について説明する。本願の発明者は、UV−A領域の紫外線の光源として、有水銀タイプの放電ランプと同等の発光強度及び発光分光特性を有する無水銀タイプの無電極ランプを実現することを目指した。有水銀タイプの無電極放電ランプでは、例えば、始動電力が1.8kWの場合、UV−A領域の紫外線の強度は1320mW/cmである。そこで、UV−A領域の紫外線の強度が、少なくとも、1254mW/cm(95%)、好ましくは、1280mW/cm(97%)を超えることを目標とした。
先ず、実験で使用した無電極ランプの放電容器12Aの形状及び寸法を説明する。実験では、図4に示す無電極ランプを用いた。放電容器12Aの寸法は以下のとおりである。L1=L+2Lt=155mm、L=138mm、Lt=8.5mm、D=11mm、Dt=3mmであった。放電容器12Aの肉厚は1mmであった。放電容器12Aの内容積は8.8ccであった。
次に、実験で用いた発光物質を説明する。上述のように本実施形態では、発光物質として水銀は用いない。実験では、発光物質として、亜鉛単体(Zn)、ヨウ化コバルト(CoI)、コバルト単体(Co)、を用いた。尚、インジウム(In)、ヨウ化インジウム(In)等は用いていない。
本願の発明者は、UV−A領域の紫外線の発光強度を向上させるために、発光物質として亜鉛を用いることとした。亜鉛は蒸気圧が高いため点灯中のインピーダンスが高くでき、マイクロ波のエネルギーを効率よく吸収することができる。そのため、プラズマ温度を上昇させ、コバルトの発光強度を上昇させることができる。そこで、亜鉛単体、亜鉛のハロゲン化物を用いて実験を行った。その結果、亜鉛単体を用いると、発光強度及び始動性が改善されるが、亜鉛のハロゲン化物では発光強度は改善されるが始動性は改善されないことが判った。亜鉛単体の場合、ハロゲンと結合し、遊離ハロゲンが減少するために、始動性が改善されるものと思われる。そこで、今回の実験では、亜鉛単体を用いることとした。
有水銀タイプの無電極ランプでは、発光物質として、水銀の他に鉄、コバルト等を用いることは知られている(特開昭57−172650号公報)。そこで本願の発明者は、無水銀タイプの無電極ランプにおいて、発光物質として、ヨウ化コバルト(CoI)、及び、コバルト(Co)を用いることとした。その結果、UV−A領域の紫外線の強度を向上させることを見出した。コバルトは、ハロゲンゲッタとして機能すると考えられ、従って、遊離ハロゲンが減少し、始動性が改善される。発光物質中にハロゲンヨウ素が過多になるとプラズマ温度が低下し、アークが不安定となることが知られている。コバルトの最適な封入濃度については、後に図8を参照して説明する。
始動用の希ガス又は不活性ガスとして1〜10torrのアルゴンガスを封入した。無電極ランプの投入電力を1.8kW一定とし、波長315〜400nm(UV−A領域)の発光強度を測定した。
図5は無電極ランプの放電容器12Aに封入した亜鉛(Zn)と波長315〜400nm(UV−A領域)の発光強度の関係を測定した結果を示す。横軸は、亜鉛(Zn)の封入濃度(μmol/cc)、縦軸は波長315〜400nm(UV−A領域)の発光強度(mW/cm)である。尚、ヨウ化コバルト(CoI)の封入濃度は6.2μmol/cc、コバルト単体(Co)の封入濃度は19μmol/ccとした。ヨウ化コバルト(CoI)及びコバルト単体(Co)の封入濃度については後に説明する。
亜鉛(Zn)の封入濃度が1.0〜4.5μmol/ccの範囲では、亜鉛(Zn)の封入濃度が約3.0〜3.5μmol/ccにおいてUV−A領域の発光強度が最大となる。即ち、亜鉛(Zn)の封入濃度が増加すると、UV−A領域の発光強度が増加するが、亜鉛(Zn)の封入濃度が一定値を超えると、UV−A領域の発光強度が減少する。図5のグラフから、UV−A領域の発光強度が目標値(1254mW/cm)を超えるのは、亜鉛(Zn)の封入濃度が1.5〜4.2μmol/ccの場合である。UV−A領域の発光強度が更に好ましい目標値(1280mW/cm)を超えるのは、亜鉛(Zn)の封入濃度が2.0〜4.0μmol/ccの場合である。
図6は無電極ランプの放電容器12Aに封入した亜鉛(Zn)の封入濃度毎の発光分光スペクトルの測定結果を示す。横軸は、紫外線の波長(nm)、縦軸は発光強度(mW/cm)である。実線のグラフ(i)は、亜鉛(Zn)の封入濃度が4μmol/cc、破線のグラフ(ii)は亜鉛(Zn)の封入濃度が5μmol/cc、点線のグラフ(iii)は亜鉛(Zn)の封入濃度が0μmol/ccの場合である。
図示のように、波長315〜400nmのUV−A領域において、亜鉛(Zn)の封入濃度が4μmol/ccの場合が最も良好であり、次に、0μmol/ccの場合が良い。亜鉛(Zn)の封入濃度が5μmol/cc場合の発光強度は、0μmol/ccの場合の発光強度より低い。以上より、UV−A領域における好ましい分光特性を得ることができる亜鉛(Zn)の封入濃度は、UV−A領域における好ましい発光強度を得ることができる亜鉛(Zn)の封入濃度と一致することが判る。
亜鉛は、468nm、472nm、481nmにて発光ピークを生成することが知られている(特表2008−516379号公報)。従って、波長450〜500nmの可視光の領域において、亜鉛(Zn)の封入濃度が0μmol/ccの場合、発光ピークが現れないが、亜鉛(Zn)の封入濃度が5μmol/cc及び4μmol/ccの場合、発光ピークが現れる。
図7は無電極ランプの放電容器12Aに封入した亜鉛(Zn)の封入濃度と始動電力(kW)の関係の測定結果を示す。横軸は、亜鉛(Zn)の封入濃度(μmol/cc)、縦軸は始動電力(kW)である。
図示のように、亜鉛(Zn)の封入濃度を増加させると、始動電力(kW)は下がる。一般に、無電極ランプの使用時の入力電力は、1.8kW程度である。これは、亜鉛(Zn)の封入濃度の3μmol/cc程度に相当する。しかしながら、光照射装置の能力としては、最大3kWの入力電力を投入することが可能である。これは、亜鉛(Zn)の封入濃度の1.5μmol/cc程度に相当する。従って、亜鉛(Zn)の封入濃度の下限を1.5μmol/ccとする。一方、図5の結果等から、亜鉛(Zn)の封入濃度の上限は、4.2μmol/cc程度であり、好ましくは、4.0μmol/ccである。そこで本実施形態では、亜鉛(Zn)の封入濃度を1.5〜4.2μmol/ccとした。
図8は無電極ランプの放電容器12Aに封入したヨウ化コバルト(CoI)と波長315〜400nm(UV−A領域)の発光強度の関係を測定した結果を示す。横軸は、ヨウ化コバルト(CoI)の封入濃度(μmol/cc)、縦軸は波長315〜400nm(UV−A領域)の発光強度(mW/cm)である。
この実験は、ヨウ化コバルト(CoI)の挙動を探求することを目的としており、他の発光物質は封入していない。図示のように、ヨウ化コバルト(CoI)の封入濃度が高くなると、UV−A領域の発光強度が大きくなることが判る。ヨウ化コバルト(CoI)の封入濃度は少なくとも4μmol/ccは必要である。
本願の発明者が行った実験では、ヨウ化コバルト(CoI)の封入濃度が10μmol/ccを超えると、始動性が低下することが確認された。更に、ヨウ化コバルト(CoI)の封入濃度を更に増加させても、UV−A領域の発光強度がそれ以上に大きくなることはない。以上より、ヨウ化コバルト(CoI)の封入濃度は4〜10μmol/ccが好ましい。
尚、ヨウ化コバルト(CoI)に対して更にコバルト単体(Co)を付加すると、始動性が改善され、UV−A領域の発光強度が増加することも確認された。従って、適量のコバルト単体(Co)を添加することが好ましい。
上述のように、図5〜図7に示した本願の発明者が行った実験では、ヨウ化コバルト(CoI)の封入濃度は6.2μmol/cc、コバルト単体(Co)の封入濃度は19μmol/ccとした。これらの封入濃度は、図8の結果に基づいて決めた。
本願の発明者が行った実験から得られた知見を纏める。UV−A領域の紫外線の光源として、有水銀タイプの放電ランプと同等の発光強度及び発光分光特性を有する無水銀タイプの無電極ランプを実現するために必要な条件は次の通りである。
(1)有水銀タイプの放電ランプと同等の発光強度及び発光分光特性を実現するために、発光物質として亜鉛(Zn)を用いる。亜鉛(Zn)の封入濃度は1.5〜4.2μmol/ccとするのがよい。
(2)目標とする発光強度及び発光分光特性を実現するために、発光物質として更にヨウ化コバルト(CoI)及びコバルト単体(Co)を用いる。ヨウ化コバルト(CoI)の封入濃度は4〜10μmol/ccが好ましい。
以上、本発明の実施の形態を説明したが、本発明の範囲はこれらの実施の形態によって制限されるものではなく、特許請求の範囲に記載された発明の範囲にて様々な変更が可能であることは当業者であれば容易に理解されよう。
本発明は、マイクロ波無電極ランプを搭載した光照射装置は、例えば、インク、塗装等が塗布された面の表面硬化処理などに好適に用いることができる。
2…光出射口、3…マイクロ波発振器、4…筐体、5…マイクロ波空洞、6…冷却用送風ダクト、8…アンテナ、10…光照射装置、12…無電極ランプ、12A…放電容器、12B…突起部、12a、12b…高温領域(ホットゾーン)、12c、12d、12e…低温領域(コールドゾーン)、13…プラズマ領域、14…反射鏡、14A…孔、16…導電性メッシュ、17…冷却用空気、18…照射光、121…円筒部、123…端部、131…腹、132…節

Claims (4)

  1. マイクロ波エネルギーを受けて発光するマイクロ波無電極ランプにおいて、
    石英ガラス製の管状の放電容器と、
    該放電容器内に封入された希ガス及び発光物質と、を有し、
    前記発光物質は、亜鉛、ヨウ化コバルト、及び、コバルト単体、を含み、
    前記亜鉛(Zn)の封入濃度は1.5〜4.2μmol/ccである、マイクロ波無電極ランプ。
  2. 請求項1記載のマイクロ波無電極ランプにおいて、
    前記ヨウ化コバルトの封入濃度は4〜10μmol/ccである、マイクロ波無電極ランプ。
  3. マイクロ波発振器と、該マイクロ波発振器に付属するアンテナと、該アンテナからのマイクロ波エネルギーを受けて発光する無電極ランプと、を有する光照射装置において、
    前記無電極ランプは不活性ガスと発光物質が封入された放電容器を有し、
    前記発光物質は、亜鉛、ヨウ化コバルト、及び、コバルト単体、を含み、
    前記亜鉛(Zn)の封入濃度は3〜4μmol/ccである、光照射装置。
  4. 請求項3記載の光照射装置において、
    前記ヨウ化コバルトの封入濃度は4〜10μmol/ccである、光照射装置。
JP2014067228A 2014-03-27 2014-03-27 マイクロ波無電極ランプ及びこれを使用した光照射装置 Expired - Fee Related JP6263788B2 (ja)

Priority Applications (1)

Application Number Priority Date Filing Date Title
JP2014067228A JP6263788B2 (ja) 2014-03-27 2014-03-27 マイクロ波無電極ランプ及びこれを使用した光照射装置

Applications Claiming Priority (1)

Application Number Priority Date Filing Date Title
JP2014067228A JP6263788B2 (ja) 2014-03-27 2014-03-27 マイクロ波無電極ランプ及びこれを使用した光照射装置

Publications (2)

Publication Number Publication Date
JP2015191743A JP2015191743A (ja) 2015-11-02
JP6263788B2 true JP6263788B2 (ja) 2018-01-24

Family

ID=54426091

Family Applications (1)

Application Number Title Priority Date Filing Date
JP2014067228A Expired - Fee Related JP6263788B2 (ja) 2014-03-27 2014-03-27 マイクロ波無電極ランプ及びこれを使用した光照射装置

Country Status (1)

Country Link
JP (1) JP6263788B2 (ja)

Families Citing this family (2)

* Cited by examiner, † Cited by third party
Publication number Priority date Publication date Assignee Title
JP6319660B2 (ja) * 2014-08-04 2018-05-09 岩崎電気株式会社 マイクロ波無電極ランプ及びこれを使用した光照射装置
CN114464522B (zh) * 2021-12-31 2023-07-21 四川大学 一种微波无极紫外光源,系统及应用

Family Cites Families (6)

* Cited by examiner, † Cited by third party
Publication number Priority date Publication date Assignee Title
JP3519116B2 (ja) * 1994-03-25 2004-04-12 株式会社ダイヘン マイクロ波励起光源装置
JP3196571B2 (ja) * 1995-05-23 2001-08-06 松下電器産業株式会社 無電極放電ランプ
JPH1021885A (ja) * 1996-06-27 1998-01-23 Ushio Inc 無電極放電ランプ
WO2004093125A1 (en) * 2003-04-16 2004-10-28 Philips Intellectual Property & Standards Gmbh High-pressure metal halide discharge lamp
JP2007080705A (ja) * 2005-09-15 2007-03-29 Ushio Inc マイクロ波放電ランプおよび当該マイクロ波放電ランプを備えたマイクロ波放電光源装置
JP2008177160A (ja) * 2006-12-18 2008-07-31 Toshiba Lighting & Technology Corp 高圧放電ランプおよび照明装置

Also Published As

Publication number Publication date
JP2015191743A (ja) 2015-11-02

Similar Documents

Publication Publication Date Title
EP1070339B1 (en) Microwave energised plasma light source
JP6379962B2 (ja) マイクロ波無電極ランプ及びこれを使用した光照射装置
JP6263788B2 (ja) マイクロ波無電極ランプ及びこれを使用した光照射装置
JP6319660B2 (ja) マイクロ波無電極ランプ及びこれを使用した光照射装置
JP6112360B2 (ja) マイクロ波無電極ランプ及びこれを使用した光照射装置
JP6590296B2 (ja) マイクロ波無電極ランプ及びこれを使用した光照射装置
JP6460576B2 (ja) マイクロ波無電極ランプ及びこれを使用した光照射装置
US6744221B2 (en) Electrodeless lighting system and bulb therefor
JP6217024B2 (ja) マイクロ波無電極ランプ及びこれを使用した光照射装置
JP6252217B2 (ja) マイクロ波無電極ランプ及びこれを使用した光照射装置
JP6507465B2 (ja) マイクロ波無電極ランプ及びこれを使用した光照射装置
JP5987685B2 (ja) マイクロ波無電極ランプ及びこれを使用した光照射装置
JP6245427B2 (ja) 光照射装置
JPH0231459B2 (ja)
KR100524407B1 (ko) 무전극식 자외선 발생장치
JP2007080705A (ja) マイクロ波放電ランプおよび当該マイクロ波放電ランプを備えたマイクロ波放電光源装置
JP2011086383A (ja) 光源装置および投射型表示装置
JP6516200B2 (ja) マイクロ波無電極ランプを使用した光照射装置
JP2005538526A (ja) 錫を含むガス充填剤を有する低圧ガス放電ランプ
JP2019053897A (ja) マイクロ波無電極ランプ及びこれを使用した光照射装置
JP2005228520A (ja) 無電極放電灯
JPS61104560A (ja) マイクロ波放電光源装置
JP2008288041A (ja) マイクロ波励起放電ランプ装置
US7446484B2 (en) Middle output electrodeless lighting system
JP5904411B2 (ja) マイクロ波無電極ランプ及びこれを使用した照射装置

Legal Events

Date Code Title Description
A621 Written request for application examination

Free format text: JAPANESE INTERMEDIATE CODE: A621

Effective date: 20170206

A977 Report on retrieval

Free format text: JAPANESE INTERMEDIATE CODE: A971007

Effective date: 20171018

TRDD Decision of grant or rejection written
A01 Written decision to grant a patent or to grant a registration (utility model)

Free format text: JAPANESE INTERMEDIATE CODE: A01

Effective date: 20171116

A61 First payment of annual fees (during grant procedure)

Free format text: JAPANESE INTERMEDIATE CODE: A61

Effective date: 20171129

R150 Certificate of patent or registration of utility model

Ref document number: 6263788

Country of ref document: JP

Free format text: JAPANESE INTERMEDIATE CODE: R150

LAPS Cancellation because of no payment of annual fees
S531 Written request for registration of change of domicile

Free format text: JAPANESE INTERMEDIATE CODE: R313531

R371 Transfer withdrawn

Free format text: JAPANESE INTERMEDIATE CODE: R371