JP6239862B2 - 焦点調節装置、焦点調節方法およびプログラム、並びに撮像装置 - Google Patents
焦点調節装置、焦点調節方法およびプログラム、並びに撮像装置 Download PDFInfo
- Publication number
- JP6239862B2 JP6239862B2 JP2013106195A JP2013106195A JP6239862B2 JP 6239862 B2 JP6239862 B2 JP 6239862B2 JP 2013106195 A JP2013106195 A JP 2013106195A JP 2013106195 A JP2013106195 A JP 2013106195A JP 6239862 B2 JP6239862 B2 JP 6239862B2
- Authority
- JP
- Japan
- Prior art keywords
- focus detection
- focus
- defocus amount
- pixel
- signal
- Prior art date
- Legal status (The legal status is an assumption and is not a legal conclusion. Google has not performed a legal analysis and makes no representation as to the accuracy of the status listed.)
- Active
Links
Images
Classifications
-
- H—ELECTRICITY
- H04—ELECTRIC COMMUNICATION TECHNIQUE
- H04N—PICTORIAL COMMUNICATION, e.g. TELEVISION
- H04N23/00—Cameras or camera modules comprising electronic image sensors; Control thereof
- H04N23/60—Control of cameras or camera modules
- H04N23/67—Focus control based on electronic image sensor signals
- H04N23/672—Focus control based on electronic image sensor signals based on the phase difference signals
-
- H—ELECTRICITY
- H04—ELECTRIC COMMUNICATION TECHNIQUE
- H04N—PICTORIAL COMMUNICATION, e.g. TELEVISION
- H04N23/00—Cameras or camera modules comprising electronic image sensors; Control thereof
- H04N23/60—Control of cameras or camera modules
- H04N23/67—Focus control based on electronic image sensor signals
- H04N23/673—Focus control based on electronic image sensor signals based on contrast or high frequency components of image signals, e.g. hill climbing method
-
- H—ELECTRICITY
- H04—ELECTRIC COMMUNICATION TECHNIQUE
- H04N—PICTORIAL COMMUNICATION, e.g. TELEVISION
- H04N25/00—Circuitry of solid-state image sensors [SSIS]; Control thereof
- H04N25/60—Noise processing, e.g. detecting, correcting, reducing or removing noise
- H04N25/61—Noise processing, e.g. detecting, correcting, reducing or removing noise the noise originating only from the lens unit, e.g. flare, shading, vignetting or "cos4"
- H04N25/615—Noise processing, e.g. detecting, correcting, reducing or removing noise the noise originating only from the lens unit, e.g. flare, shading, vignetting or "cos4" involving a transfer function modelling the optical system, e.g. optical transfer function [OTF], phase transfer function [PhTF] or modulation transfer function [MTF]
-
- H—ELECTRICITY
- H04—ELECTRIC COMMUNICATION TECHNIQUE
- H04N—PICTORIAL COMMUNICATION, e.g. TELEVISION
- H04N25/00—Circuitry of solid-state image sensors [SSIS]; Control thereof
- H04N25/70—SSIS architectures; Circuits associated therewith
- H04N25/703—SSIS architectures incorporating pixels for producing signals other than image signals
- H04N25/704—Pixels specially adapted for focusing, e.g. phase difference pixel sets
-
- H—ELECTRICITY
- H04—ELECTRIC COMMUNICATION TECHNIQUE
- H04N—PICTORIAL COMMUNICATION, e.g. TELEVISION
- H04N2101/00—Still video cameras
-
- H—ELECTRICITY
- H04—ELECTRIC COMMUNICATION TECHNIQUE
- H04N—PICTORIAL COMMUNICATION, e.g. TELEVISION
- H04N25/00—Circuitry of solid-state image sensors [SSIS]; Control thereof
- H04N25/60—Noise processing, e.g. detecting, correcting, reducing or removing noise
- H04N25/61—Noise processing, e.g. detecting, correcting, reducing or removing noise the noise originating only from the lens unit, e.g. flare, shading, vignetting or "cos4"
-
- H—ELECTRICITY
- H10—SEMICONDUCTOR DEVICES; ELECTRIC SOLID-STATE DEVICES NOT OTHERWISE PROVIDED FOR
- H10F—INORGANIC SEMICONDUCTOR DEVICES SENSITIVE TO INFRARED RADIATION, LIGHT, ELECTROMAGNETIC RADIATION OF SHORTER WAVELENGTH OR CORPUSCULAR RADIATION
- H10F39/00—Integrated devices, or assemblies of multiple devices, comprising at least one element covered by group H10F30/00, e.g. radiation detectors comprising photodiode arrays
- H10F39/10—Integrated devices
- H10F39/12—Image sensors
- H10F39/18—Complementary metal-oxide-semiconductor [CMOS] image sensors; Photodiode array image sensors
- H10F39/182—Colour image sensors
- H10F39/1825—Multicolour image sensors having stacked structure, e.g. NPN, NPNPN or multiple quantum well [MQW] structures
-
- H—ELECTRICITY
- H10—SEMICONDUCTOR DEVICES; ELECTRIC SOLID-STATE DEVICES NOT OTHERWISE PROVIDED FOR
- H10F—INORGANIC SEMICONDUCTOR DEVICES SENSITIVE TO INFRARED RADIATION, LIGHT, ELECTROMAGNETIC RADIATION OF SHORTER WAVELENGTH OR CORPUSCULAR RADIATION
- H10F39/00—Integrated devices, or assemblies of multiple devices, comprising at least one element covered by group H10F30/00, e.g. radiation detectors comprising photodiode arrays
- H10F39/80—Constructional details of image sensors
- H10F39/805—Coatings
- H10F39/8053—Colour filters
-
- H—ELECTRICITY
- H10—SEMICONDUCTOR DEVICES; ELECTRIC SOLID-STATE DEVICES NOT OTHERWISE PROVIDED FOR
- H10F—INORGANIC SEMICONDUCTOR DEVICES SENSITIVE TO INFRARED RADIATION, LIGHT, ELECTROMAGNETIC RADIATION OF SHORTER WAVELENGTH OR CORPUSCULAR RADIATION
- H10F39/00—Integrated devices, or assemblies of multiple devices, comprising at least one element covered by group H10F30/00, e.g. radiation detectors comprising photodiode arrays
- H10F39/80—Constructional details of image sensors
- H10F39/806—Optical elements or arrangements associated with the image sensors
- H10F39/8063—Microlenses
Landscapes
- Engineering & Computer Science (AREA)
- Multimedia (AREA)
- Signal Processing (AREA)
- Studio Devices (AREA)
- Automatic Focus Adjustment (AREA)
- Focusing (AREA)
Description
[全体構成]
図1は、本発明の第1の実施例に係る焦点調節装置を適用した撮像装置であるカメラの構成図を示す。当該撮像装置は、後述するように、結像光学系の射出瞳の瞳分割手段であるマイクロレンズを有する撮像素子を有し、撮像面位相差方式の焦点調節が可能な装置である。
同図において、101は、被写体の光学像を形成する結像光学系の先端に配置された第1のレンズ群で、光軸方向に進退可能に保持される。102は絞り兼用シャッタで、その開口径を調節することで撮影時の光量調節を行なうほか、静止画撮影時には露光秒時調節用シャッタとしての機能も備える。103は第2のレンズ群である。そして前記絞り兼用シャッタ102及び第2のレンズ群103は一体となって光軸方向に進退し、前記第1のレンズ群101の進退動作との連動により、変倍作用(ズーム機能)をなす。
本第1の実施例の撮像装置が有する撮像素子の画素配列の概略図を図2に示す。同図は、本第1の実施例で用いられる撮像素子としての2次元CMOSセンサーの画素配列を、撮像画素の4列×4行の範囲で(焦点検出画素お配列としては8列×4行の範囲)で示している。
次に、本実施例で用いる撮像素子により取得される第1の焦点検出信号と第2の焦点検出信号の像ずれ量とデフォーカス量との関係について説明する。
本実施例では、上述した第1の焦点検出信号と第2の焦点検出信号のデフォーカス量と像ずれ量の関連性を用いて、位相差方式の第1の焦点検出と、リフォーカス原理に基づいた方式(以後、リフォーカス方式と呼ぶ)の第2の焦点検出を行う。被写体の焦点調節状態が大デフォーカス状態から小デフォーカス状態までは第1の焦点検出を行い、小デフォーカス状態から最良合焦位置近傍までは第2の焦点検出を行う。被写体の焦点調節状態の判定は、本実施例では、所定値と検出されたデフォーカス量との比較で判断する。
まず、本の実施例における位相差方式の第1の焦点検出について説明する。
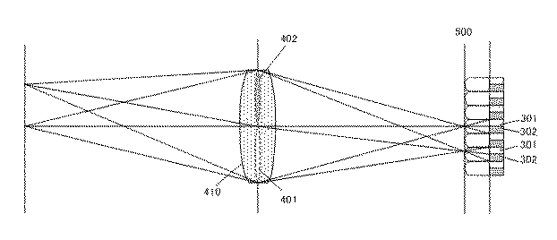
図8に、撮像素子の周辺像高における第1の焦点検出画素201の第1の瞳部分領域401、第2の焦点検出画素202の第2の瞳部分領域402、および結像光学系の射出瞳410の関係を示す。尚、図4と同じ部分は同じ符号を付して示す。
次に、本実施例におけるリフォーカス方式の第2の焦点検出について説明する。
一方、リフォーカス可能範囲には限界があるため、リフォーカス方式の第2の焦点検出が高精度で焦点検出できるデフォーカス量の範囲は限定される。
本第1の実施例では、結像光学系のデフォーカス量の絶対値が第1の所定値以下になるまで位相差方式の第1の焦点検出を行ってレンズ駆動し、結像光学系の大デフォーカス状態から小デフォーカス状態まで焦点調節を行う。その後、結像光学系のデフォーカス量の絶対値が第2の所定値(<第1の所定値)以下になるまでリフォーカス方式の第2の焦点検出を行ってレンズ駆動し、結像光学系の小デフォーカス状態から最良合焦位置近傍まで焦点調節を行う。
本第2の実施例の焦点検出動作のフローチャートを図20に示す。同図において、図19と同じ部分は同じ符号を付して示し、本実施例における撮像装置の構成は第1の実施例と同様であるので、ここでの説明は省略する。また、本焦点検出動作は、CPU121が、結像光学系101、撮像素子107および画像処理部125を制御することで実行される。
本実施例は、位相差方式の第1の焦点検出による第1の検出デフォーカス量の検出と、リフォーカス方式の第2の焦点検出による第2の検出デフォーカス量の検出とを並列処理し、焦点検出動作の高速化を図る例である。
本発明の第3の実施例における撮像素子の撮像画素と副画素の配列の概略図を図21に示す。図21は、本第3の実施例の2次元CMOSセンサー(撮像素子)の画素(撮像画素)配列を4列×4行の範囲で、副画素配列を8列×8行の範囲で示したものである。なお、図2と同様の部分は同じ符号を付して示す。また、本実施例における撮像装置の構成は、撮像素子の画素構成を除いて第1の実施例と同様であるので、ここでは撮像素子の画素構成について説明する。
上述した実施形態において図7、14、19および20に示した各処理は、各処理の機能を実現する為のプログラムをメモリから読み出してCPU121が実行することによりその機能を実現させるものである。
また、上記のプログラムを記録したコンピュータ読み取り可能な記録媒体等のプログラムプロダクトも本発明の実施形態として適用することができる。上記のプログラム、記録媒体、伝送媒体およびプログラムプロダクトは、本発明の範疇に含まれる。
Claims (17)
- 被写体の光学像を形成する結像光学系の異なる瞳領域を通過した被写体光を光電変換して得られた画素信号を用いて前記被写体の焦点調節を行う焦点調節装置において、
前記画素信号を取得する取得手段と、
前記画素信号を用いて、前記異なる瞳領域に対応する複数の焦点検出信号を生成する信号生成手段と、
前記複数の焦点検出信号の像ずれ量に基づいて第1のデフォーカス量を検出する第1の焦点検出手段と、
前記複数の焦点検出信号から生成したリフォーカス信号のコントラスト評価値に基づいて第2のデフォーカス量を検出する第2の焦点検出手段と、
前記第1の焦点検出手段を制御し、検出した前記第1のデフォーカス量に基づいて前記結像光学系の焦点調節を行った後に、前記第2の焦点検出手段を制御し、検出した前記第2のデフォーカス量に基づいて、さらに合焦状態に焦点調節を制御する制御手段と
を備えることを特徴とする焦点調節装置。 - 前記第1の焦点検出手段は、前記複数の焦点検出信号に第1のフィルター処理を行う第1のフィルター処理手段と、前記第1のフィルター処理された複数の焦点検出信号の第1のシフト処理を行って相関量を算出し、前記相関量に基づいて前記像ずれ量を検出する像ずれ量手段とを有し、
前記第2の焦点検出手段は、前記複数の焦点検出信号に第2のフィルター処理を行う第2のフィルター処理手段と、前記第2のフィルター処理された複数の焦点検出信号に第2のシフト処理を行って加算することでリフォーカス信号を生成し、前記リフォーカス信号のコントラスト評価値を算出する評価値手段を有し、前記コントラスト評価値からサブピクセル演算することにより第2の検出デフォーカス量を検出し、
前記第2のシフト処理のシフト範囲は、前記第1のシフト処理のシフト範囲以下であることを特徴とする請求項1に記載の焦点調節装置。 - 前記第2のフィルター処理の通過帯域は、前記第1のフィルター処理の通過帯域より高周波帯域を含むことを特徴とする請求項2に記載の焦点検出装置。
- 前記制御手段は、前記結像光学系の絞り値が所定絞り値以下の場合に、前記第2の焦点検出手段により前記第2のデフォーカス量を検出することを特徴とする請求項1乃至3のいずれか一項に記載の焦点調節装置。
- 前記第1の焦点検出手段は、前記複数の焦点検出信号のそれぞれに第1の画素加算処理を行い、
前記第2の焦点検出手段は、前記複数の焦点検出信号のそれぞれに第2の画素加算処理を行い、
前記第2の画素加算処理の画素加算数が、前記第1の画素加算処理の画素加算数以下であることを特徴とする請求項1から請求項3のいずれか一項に記載の焦点調節装置。 - 前記第1の焦点検出手段は、前記複数の焦点検出信号に光学補正処理を行う光学補正処理手段を有することを特徴とする請求項1から請求項5のいずれか一項に記載の焦点調節装置。
- 前記第2の焦点検出手段は、前記被写体の画像信号のコントラスト評価値に基づいて前記第2のデフォーカス量を補正することを特徴とする請求項1乃至請求項6のいずれか一項に記載の焦点調節装置。
- 前記制御手段は、前記第1の焦点検出手段および第2の焦点検出手段を制御して、前記第1のデフォーカス量の検出および前記第2のデフォーカス量の検出を行い、前記第2のデフォーカス量が検出された場合は前記第2のデフォーカス量に基づいて、前記第2のデフォーカス量が検出されない場合は前記第1のデフォーカス量に基づいて、前記第2又は第1のデフォーカス量の大きさが所定値以下となるまで、前記被写体の焦点調節を行うことを特徴とする請求項1乃至7のいずれか一項に記載の焦点調節装置。
- 被写体の光学像を形成する結像光学系と、
前記結像光学系の異なる瞳領域を通過した被写体光を瞳分割手段を介して受光して光電変換することで、前記異なる瞳領域を通過した被写体光に対応する画素信号を生成する撮像手段と、
前記画素信号を用いて、前記異なる瞳領域に対応する複数の焦点検出信号を生成する信号生成手段と、
前記複数の焦点検出信号の像ずれ量に基づいて第1のデフォーカス量を検出する第1の焦点検出手段と、
前記複数の焦点検出信号から生成したリフォーカス信号のコントラスト評価値に基づいて第2のデフォーカス量を検出する第2の焦点検出手段と、
前記第1の焦点検出手段を制御し、検出した前記第1のデフォーカス量に基づいて前記結像光学系の焦点調節を行った後に、前記第2の焦点検出手段を制御し、検出した前記第2のデフォーカス量に基づいて、さらに合焦状態に前記結像光学系の駆動を制御する制御手段と
を備えることを特徴とする撮像装置。 - 前記制御手段は、前記第1の焦点検出手段および第2の焦点検出手段を制御して、前記前記第1のデフォーカス量の検出および前記第2のデフォーカス量の検出を行い、前記第2のデフォーカス量が検出された場合は前記第2のデフォーカス量に基づいて、前記第2のデフォーカス量が検出されない場合は前記第1のデフォーカス量に基づいて、前記第2又は第1のデフォーカス量の大きさが所定値以下となるまで、前記結像光学系を駆動して焦点調節を行うことを特徴とする請求項9に記載の撮像装置。
- 前記撮像手段は、前記結像光学系の第1の瞳部分領域を通過する光束を受光する第1の焦点検出画素と、前記第1の瞳部分領域と異なる前記結像光学系の第2の瞳部分領域を通過する光束を受光する第2の焦点検出画素とを有し、前記第1の焦点検出画素と第2の焦点検出画素は、前記結像光学系の第1の瞳部分領域と第2の瞳部分領域を合わせた瞳領域を通過する光束を受光する撮像画素を構成することを特徴とする請求項9又は10に記載の撮像装置。
- 前記結像光学系は、フォーカスレンズを含み、前記制御手段は、前記フォーカスレンズの駆動を制御することを特徴とする請求項9乃至11のいずれか一項に記載の撮像装置。
- 被写体の光学像を形成する結像光学系の異なる瞳領域を通過した被写体光を光電変換して得られた画素信号を用いて前記被写体の焦点調節を行う焦点調節方法において、
前記画素信号を取得する取得ステップと、
前記画素信号を用いて、前記異なる瞳領域に対応する複数の焦点検出信号を生成する信号生成ステップと、
前記複数の焦点検出信号の像ずれ量に基づいて第1のデフォーカス量を検出する第1の焦点検出ステップと、
前記複数の焦点検出信号から生成したリフォーカス信号のコントラスト評価値に基づいて第2のデフォーカス量を検出する第2の焦点検出ステップと、
前記第1の焦点検出ステップによって検出した前記第1のデフォーカス量に基づいて前記結像光学系の焦点調節を行った後に、前記第2の焦点検出ステップによって検出した前記第2のデフォーカス量に基づいて、さらに合焦状態に焦点調節を制御する制御ステップと
を備えることを特徴とする焦点検出方法。 - 被写体の光学像を形成する結像光学系の異なる瞳領域を通過した被写体光を光電変換して得られた画素信号を用いて前記被写体の焦点調節を行う焦点調節装置を制御するためのプログラムであり、
コンピュータを、
前記画素信号を取得する取得手段、
前記画素信号を用いて、前記異なる瞳領域に対応する複数の焦点検出信号を生成する信号生成手段、
前記複数の焦点検出信号の像ずれ量に基づいて第1のデフォーカス量を検出する第1の焦点検出手段、
前記複数の焦点検出信号から生成したリフォーカス信号のコントラスト評価値に基づいて第2のデフォーカス量を検出する第2の焦点検出手段、
前記第1の焦点検出手段を制御し、検出した前記第1のデフォーカス量に基づいて前記結像光学系の焦点調節を行った後に、前記第2の焦点検出手段を制御し、検出した前記第2のデフォーカス量に基づいて、さらに合焦状態に焦点調節を制御する制御手段
として機能させるプログラム。 - 請求項14のプログラムを記録したコンピュータが読み取り可能な記憶媒体。
- コンピュータを、請求項1乃至8のいずれか一項に記載の焦点調節装置の各手段として機能させるプログラム。
- コンピュータを、請求項1乃至8のいずれか一項に記載の焦点調節装置の各手段として機能させるプログラムを格納した記憶媒体。
Priority Applications (3)
| Application Number | Priority Date | Filing Date | Title |
|---|---|---|---|
| JP2013106195A JP6239862B2 (ja) | 2013-05-20 | 2013-05-20 | 焦点調節装置、焦点調節方法およびプログラム、並びに撮像装置 |
| US14/279,790 US9438786B2 (en) | 2013-05-20 | 2014-05-16 | Focus adjustment apparatus, focus adjustment method and program, and imaging apparatus |
| CN201410213540.8A CN104184939B (zh) | 2013-05-20 | 2014-05-20 | 焦点检测设备及方法、焦点调节设备及方法、和摄像设备 |
Applications Claiming Priority (1)
| Application Number | Priority Date | Filing Date | Title |
|---|---|---|---|
| JP2013106195A JP6239862B2 (ja) | 2013-05-20 | 2013-05-20 | 焦点調節装置、焦点調節方法およびプログラム、並びに撮像装置 |
Publications (2)
| Publication Number | Publication Date |
|---|---|
| JP2014228586A JP2014228586A (ja) | 2014-12-08 |
| JP6239862B2 true JP6239862B2 (ja) | 2017-11-29 |
Family
ID=51895499
Family Applications (1)
| Application Number | Title | Priority Date | Filing Date |
|---|---|---|---|
| JP2013106195A Active JP6239862B2 (ja) | 2013-05-20 | 2013-05-20 | 焦点調節装置、焦点調節方法およびプログラム、並びに撮像装置 |
Country Status (3)
| Country | Link |
|---|---|
| US (1) | US9438786B2 (ja) |
| JP (1) | JP6239862B2 (ja) |
| CN (1) | CN104184939B (ja) |
Families Citing this family (21)
| Publication number | Priority date | Publication date | Assignee | Title |
|---|---|---|---|---|
| JP6000520B2 (ja) * | 2011-07-25 | 2016-09-28 | キヤノン株式会社 | 撮像装置およびその制御方法およびプログラム |
| WO2014155806A1 (ja) * | 2013-03-29 | 2014-10-02 | 富士フイルム株式会社 | 撮像装置及び合焦制御方法 |
| JP2015129846A (ja) * | 2014-01-07 | 2015-07-16 | キヤノン株式会社 | 撮像装置およびその制御方法 |
| JP6478457B2 (ja) * | 2014-01-23 | 2019-03-06 | キヤノン株式会社 | 焦点調節装置及び焦点調節方法 |
| JP6381266B2 (ja) | 2014-04-15 | 2018-08-29 | キヤノン株式会社 | 撮像装置、制御装置、制御方法、プログラム、および、記憶媒体 |
| JP2015219439A (ja) * | 2014-05-20 | 2015-12-07 | キヤノン株式会社 | 撮像装置およびその制御方法、プログラム、記憶媒体 |
| JP6486041B2 (ja) * | 2014-09-11 | 2019-03-20 | キヤノン株式会社 | 撮像装置およびその制御方法 |
| JP2016133595A (ja) * | 2015-01-19 | 2016-07-25 | キヤノン株式会社 | 制御装置、撮像装置、制御方法、プログラム、および、記憶媒体 |
| KR102272254B1 (ko) * | 2015-02-13 | 2021-07-06 | 삼성전자주식회사 | 위상 검출 픽셀을 이용하여 깊이 맵을 생성하기 위한 영상 생성 장치 |
| JP6486149B2 (ja) * | 2015-03-03 | 2019-03-20 | キヤノン株式会社 | 画像処理装置、撮像装置、画像処理方法、プログラム、および、記憶媒体 |
| EP4386659A1 (en) | 2015-03-10 | 2024-06-19 | Canon Kabushiki Kaisha | Image processing method, image processing device, and image pickup apparatus |
| JP6275174B2 (ja) | 2015-03-10 | 2018-02-07 | キヤノン株式会社 | 画像処理方法、画像処理装置、および、撮像装置 |
| KR102374112B1 (ko) * | 2015-07-15 | 2022-03-14 | 삼성전자주식회사 | 오토 포커싱 픽셀을 포함하는 이미지 센서, 및 이를 포함하는 이미지 처리 시스템 |
| CN106556960B (zh) * | 2015-09-29 | 2019-03-12 | 宁波舜宇光电信息有限公司 | 离焦转换系数验证方法 |
| US10325356B2 (en) | 2015-11-30 | 2019-06-18 | Canon Kabushiki Kaisha | Image processing device, image processing method, imaging device, and recording medium for exclusively performing adjustment processing or viewpoint change processing |
| CN105791763A (zh) * | 2016-03-08 | 2016-07-20 | 安徽胜佳和电子科技有限公司 | 智能一体化高速球摄像机 |
| JP6789677B2 (ja) | 2016-06-03 | 2020-11-25 | キヤノン株式会社 | 画像処理装置およびその制御方法、撮像装置、プログラム |
| JP2018098613A (ja) * | 2016-12-12 | 2018-06-21 | ソニーセミコンダクタソリューションズ株式会社 | 撮像装置、および、撮像装置の制御方法 |
| WO2021258265A1 (zh) * | 2020-06-22 | 2021-12-30 | 深圳市汇顶科技股份有限公司 | 图像传感器、摄像头以及电子设备 |
| JP7599974B2 (ja) * | 2021-02-01 | 2024-12-16 | キヤノン株式会社 | 眼科装置およびその制御方法 |
| CN113556470B (zh) * | 2021-09-18 | 2021-12-31 | 浙江宇视科技有限公司 | 一种镜头的调焦方法、装置、计算机设备和存储介质 |
Family Cites Families (22)
| Publication number | Priority date | Publication date | Assignee | Title |
|---|---|---|---|---|
| US4410804A (en) | 1981-07-13 | 1983-10-18 | Honeywell Inc. | Two dimensional image panel with range measurement capability |
| JPH07333488A (ja) * | 1994-06-06 | 1995-12-22 | Nikon Corp | 焦点検出装置 |
| JP3592147B2 (ja) | 1998-08-20 | 2004-11-24 | キヤノン株式会社 | 固体撮像装置 |
| JP3774597B2 (ja) | 1999-09-13 | 2006-05-17 | キヤノン株式会社 | 撮像装置 |
| JP4612256B2 (ja) * | 2001-12-07 | 2011-01-12 | 富士フイルム株式会社 | 測距装置 |
| JP4209660B2 (ja) * | 2002-10-23 | 2009-01-14 | 富士フイルム株式会社 | デジタルカメラおよびカメラシステム |
| JP4826152B2 (ja) * | 2005-06-23 | 2011-11-30 | 株式会社ニコン | 画像合成方法及び撮像装置 |
| US7792420B2 (en) * | 2006-03-01 | 2010-09-07 | Nikon Corporation | Focus adjustment device, imaging device and focus adjustment method |
| JP2007248782A (ja) * | 2006-03-15 | 2007-09-27 | Olympus Imaging Corp | 焦点調節装置およびカメラ |
| JP4858008B2 (ja) * | 2006-08-24 | 2012-01-18 | 株式会社ニコン | 焦点検出装置、焦点検出方法および撮像装置 |
| JP5264131B2 (ja) * | 2007-09-14 | 2013-08-14 | キヤノン株式会社 | 撮像装置 |
| JP4692654B2 (ja) * | 2009-02-20 | 2011-06-01 | 株式会社ニコン | 撮像装置および画像処理プログラム |
| JP5322783B2 (ja) * | 2009-06-05 | 2013-10-23 | キヤノン株式会社 | 撮像装置及び該撮像装置の制御方法 |
| JP2011017800A (ja) * | 2009-07-07 | 2011-01-27 | Canon Inc | 焦点検出装置 |
| JP5448621B2 (ja) * | 2009-07-27 | 2014-03-19 | キヤノン株式会社 | 撮像装置、及び撮像装置の制御方法 |
| JP5606208B2 (ja) | 2010-08-03 | 2014-10-15 | キヤノン株式会社 | 焦点検出装置および撮像装置 |
| WO2012073728A1 (ja) * | 2010-11-30 | 2012-06-07 | 富士フイルム株式会社 | 撮像装置及びその合焦位置検出方法 |
| JP5800573B2 (ja) * | 2011-05-23 | 2015-10-28 | キヤノン株式会社 | 撮像装置、カメラシステムおよび焦点検出方法 |
| JP5956782B2 (ja) * | 2011-05-26 | 2016-07-27 | キヤノン株式会社 | 撮像素子及び撮像装置 |
| JP6021306B2 (ja) * | 2011-07-25 | 2016-11-09 | キヤノン株式会社 | 撮像装置およびその制御方法 |
| JP6000520B2 (ja) | 2011-07-25 | 2016-09-28 | キヤノン株式会社 | 撮像装置およびその制御方法およびプログラム |
| JP2014106476A (ja) * | 2012-11-29 | 2014-06-09 | Canon Inc | 焦点検出装置、撮像装置、撮像システム、焦点検出方法、プログラム、および、記憶媒体 |
-
2013
- 2013-05-20 JP JP2013106195A patent/JP6239862B2/ja active Active
-
2014
- 2014-05-16 US US14/279,790 patent/US9438786B2/en active Active
- 2014-05-20 CN CN201410213540.8A patent/CN104184939B/zh not_active Expired - Fee Related
Also Published As
| Publication number | Publication date |
|---|---|
| CN104184939B (zh) | 2017-12-05 |
| CN104184939A (zh) | 2014-12-03 |
| US9438786B2 (en) | 2016-09-06 |
| JP2014228586A (ja) | 2014-12-08 |
| US20140340567A1 (en) | 2014-11-20 |
Similar Documents
| Publication | Publication Date | Title |
|---|---|---|
| JP6239862B2 (ja) | 焦点調節装置、焦点調節方法およびプログラム、並びに撮像装置 | |
| JP6239855B2 (ja) | 焦点調節装置、焦点調節方法およびプログラム、並びに撮像装置 | |
| JP6362060B2 (ja) | 撮像装置及びその制御方法ならびにプログラム | |
| JP6972266B2 (ja) | 画像処理方法、画像処理装置、および、撮像装置 | |
| JP6239857B2 (ja) | 撮像装置およびその制御方法 | |
| JP2015129846A (ja) | 撮像装置およびその制御方法 | |
| KR101950689B1 (ko) | 화상처리장치, 촬상 장치, 화상처리방법, 프로그램, 및 기억 매체 | |
| JP6381266B2 (ja) | 撮像装置、制御装置、制御方法、プログラム、および、記憶媒体 | |
| JP2020191651A (ja) | 画像処理装置、撮像装置、画像処理方法、プログラム、および、記憶媒体 | |
| JP6371568B2 (ja) | 焦点検出装置及び撮像装置、及び、焦点検出方法 | |
| JP6942480B2 (ja) | 焦点検出装置、焦点検出方法、および焦点検出プログラム | |
| JP6700986B2 (ja) | 画像処理装置、撮像装置、画像処理方法、及びプログラム | |
| JP2017158018A (ja) | 画像処理装置およびその制御方法、撮像装置 | |
| JP2015194736A (ja) | 撮像装置およびその制御方法 | |
| JP6285683B2 (ja) | 撮像装置及びその制御方法 | |
| JP2015210285A (ja) | 撮像装置及びその制御方法、プログラム、記憶媒体 | |
| JP2015145970A (ja) | 撮像装置及びその制御方法、プログラム、記憶媒体 | |
| JP2020171050A (ja) | 画像処理装置、撮像装置、画像処理方法、および、記憶媒体 | |
| JP6789810B2 (ja) | 画像処理方法、画像処理装置、および、撮像装置 | |
| JP2015225310A (ja) | 撮像装置及びその制御方法、プログラム、記憶媒体 | |
| JP2015225311A (ja) | 撮像装置及びその制御方法、プログラム、記憶媒体 | |
| JP2016133595A (ja) | 制御装置、撮像装置、制御方法、プログラム、および、記憶媒体 | |
| JP6765829B2 (ja) | 画像処理装置、画像処理装置の制御方法、撮像装置 | |
| JP2018165826A (ja) | 撮像装置及びレンズ装置 | |
| JP2016024402A (ja) | 焦点調節装置、焦点調節方法およびプログラム、並びに撮像装置 |
Legal Events
| Date | Code | Title | Description |
|---|---|---|---|
| A621 | Written request for application examination |
Free format text: JAPANESE INTERMEDIATE CODE: A621 Effective date: 20160426 |
|
| A977 | Report on retrieval |
Free format text: JAPANESE INTERMEDIATE CODE: A971007 Effective date: 20170123 |
|
| A131 | Notification of reasons for refusal |
Free format text: JAPANESE INTERMEDIATE CODE: A131 Effective date: 20170207 |
|
| A521 | Request for written amendment filed |
Free format text: JAPANESE INTERMEDIATE CODE: A523 Effective date: 20170410 |
|
| TRDD | Decision of grant or rejection written | ||
| A01 | Written decision to grant a patent or to grant a registration (utility model) |
Free format text: JAPANESE INTERMEDIATE CODE: A01 Effective date: 20171005 |
|
| A61 | First payment of annual fees (during grant procedure) |
Free format text: JAPANESE INTERMEDIATE CODE: A61 Effective date: 20171102 |
|
| R151 | Written notification of patent or utility model registration |
Ref document number: 6239862 Country of ref document: JP Free format text: JAPANESE INTERMEDIATE CODE: R151 |
