JP6149721B2 - ハイブリッド車両用ユニットの取付構造 - Google Patents

ハイブリッド車両用ユニットの取付構造 Download PDF

Info

Publication number
JP6149721B2
JP6149721B2 JP2013261874A JP2013261874A JP6149721B2 JP 6149721 B2 JP6149721 B2 JP 6149721B2 JP 2013261874 A JP2013261874 A JP 2013261874A JP 2013261874 A JP2013261874 A JP 2013261874A JP 6149721 B2 JP6149721 B2 JP 6149721B2
Authority
JP
Japan
Prior art keywords
case
vehicle
boss
mounting structure
boss portion
Prior art date
Legal status (The legal status is an assumption and is not a legal conclusion. Google has not performed a legal analysis and makes no representation as to the accuracy of the status listed.)
Active
Application number
JP2013261874A
Other languages
English (en)
Other versions
JP2015116943A (ja
Inventor
高橋 史
史 高橋
宮川 武
武 宮川
智章 古川
智章 古川
Current Assignee (The listed assignees may be inaccurate. Google has not performed a legal analysis and makes no representation or warranty as to the accuracy of the list.)
Toyota Motor Corp
Original Assignee
Toyota Motor Corp
Priority date (The priority date is an assumption and is not a legal conclusion. Google has not performed a legal analysis and makes no representation as to the accuracy of the date listed.)
Filing date
Publication date
Application filed by Toyota Motor Corp filed Critical Toyota Motor Corp
Priority to JP2013261874A priority Critical patent/JP6149721B2/ja
Publication of JP2015116943A publication Critical patent/JP2015116943A/ja
Application granted granted Critical
Publication of JP6149721B2 publication Critical patent/JP6149721B2/ja
Active legal-status Critical Current
Anticipated expiration legal-status Critical

Links

Images

Classifications

    • YGENERAL TAGGING OF NEW TECHNOLOGICAL DEVELOPMENTS; GENERAL TAGGING OF CROSS-SECTIONAL TECHNOLOGIES SPANNING OVER SEVERAL SECTIONS OF THE IPC; TECHNICAL SUBJECTS COVERED BY FORMER USPC CROSS-REFERENCE ART COLLECTIONS [XRACs] AND DIGESTS
    • Y02TECHNOLOGIES OR APPLICATIONS FOR MITIGATION OR ADAPTATION AGAINST CLIMATE CHANGE
    • Y02TCLIMATE CHANGE MITIGATION TECHNOLOGIES RELATED TO TRANSPORTATION
    • Y02T10/00Road transport of goods or passengers
    • Y02T10/60Other road transportation technologies with climate change mitigation effect
    • Y02T10/62Hybrid vehicles

Landscapes

  • Hybrid Electric Vehicles (AREA)
  • Arrangement Or Mounting Of Propulsion Units For Vehicles (AREA)

Description

本発明は、ハイブリッド車両用ユニットの取付構造に関し、特に、耐久性を向上させるための改良に関する。
例えば、前置エンジン前輪駆動型ハイブリッド車両用ユニットにおいて、電動機を収容するケースにボス部が形成され、そのボス部に取り付けられたマウントを介してボデーに懸架される取付構造が知られている。例えば、特許文献1に記載された電気自動車用トランスアクスルケースがその一例である。この技術によれば、トランスアクスルケースが複数のマウントを介してボデーに懸架されることで、前記トランスアクスルケースの開口部が、荷重が伝達する領域の外部に配置されるため、前記トランスアクスルケースの支持に関する強度低下が抑制される。
特開2013−67253号公報
ところで、前記従来の技術において、車両が前方衝突した場合には、トランスミッションに対しては後方方向へ、マウント(ボデー)に対しては前方方向への力が働くことで、それらが相互に離れようとする力が働く。このため、前記ボス部の近傍では前記ケースに負荷がかかり、耐久性が低下するおそれがあった。このような課題は、ハイブリッド車両用変速機の更なる耐久性向上を意図して本発明者等が鋭意研究を継続する過程において、新たに見出したものである。
本発明は、以上の事情を背景として為されたものであり、その目的とするところは、耐久性を向上させるハイブリッド車両用ユニットの取付構造を提供することにある。
斯かる目的を達成するために、本第1発明の要旨とするところは、電動機を収容するケースから外側へボス部が一体に突き出され、そのボス部に取り付けられたマウントを介してボデーに懸架されるハイブリッド車両用ユニットにおいて、車両前進方向を前方として、前記ボス部よりも前方側に、前記車両の前方衝突時の荷重が入力された場合に前記マウントが前記ケースに対して前記前方側へ移動することを許容する脆弱部を備えたことを特徴とする取付構造である。
このように、前記第1発明によれば、車両前進方向を前方として、前記ボス部よりも前方側に、前記車両の前方衝突時の荷重が入力された場合に前記マウントが前記ケースに対して前記前方側へ移動することを許容する脆弱部を備えたものであることから、車両が前方衝突した場合に、前記マウントの前方方向への移動が許容されているため、破損範囲を前記ボス部に収めることができ、破損が広範囲に及ぶことを好適に抑制できる。すなわち、耐久性を向上させるハイブリッド車両用ユニットの取付構造を提供することができる。
前記第1発明に従属する本第2発明の要旨とするところは、前記ケースは、そのケースから一体に突き出されたフランジ部において隣り合う部材に締結され、前記ボス部は、前記フランジ部との間に前記脆弱部が介在することにより前記フランジ部と離隔させられている。このようにすれば、前記ボス部と前記フランジ部との間が前記脆弱部により離隔されていることで、車両が前方衝突した場合における破損範囲をより確実に前記ボス部に収めることができる。
前記第1発明又は第2発明に従属する本第3発明の要旨とするところは、前記ケースは、前記脆弱部よりも前記前方側に肉厚部を備えたものである。このようにすれば、前記ボス部周辺を相対的に強度が弱い部位とすることができ、車両が前方衝突した場合における破損範囲をより確実に前記ボス部に収めることができる。
本発明が好適に適用されるハイブリッド車両の構成を概略的に示す図である。 本発明が好適に適用されるハイブリッド車両用ユニットの一例であるトランスアクスルの構成を例示する斜視図である。 図2のトランスアクスルケースにおけるマウントの取付部位近傍を拡大して示す斜視図である。 図3に示す本実施例の取付構造との比較のために、従来のハイブリッド車両用ユニットの取付構造について説明する斜視図である。
前記ハイブリッド車両用ユニットは、好適には、電動機、終減速機、及び動力分割機構等の構成が共通のトランスアクスルケース内に収容されたハイブリッド車両用トランスアクスルである。すなわち、前記ハイブリッド車両用ユニットの取付構造は、好適には、電動機を収容するケースにボス部が形成され、そのボス部に取り付けられたマウントを介してボデーに懸架されるトランスアクスル(トランスアクスルケース)の取付構造に好適に適用されるものである。
前記ハイブリッド車両用ユニットの取付構造において、好適には、車両前進方向を前方として、相対的に前方側に設けられた前記ボス部は、そのボス部の前方側に前記脆弱部を備えているが、前方側以外の方向すなわち相対的に後方側或いは側方側に設けられた前記ボス部は、そのボス部の前方側に前記脆弱部を備えていない。
以下、本発明の好適な実施例を図面に基づいて詳細に説明する。
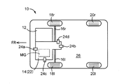
図1は、本発明が好適に適用されるハイブリッド車両10の構成を概略的に示す図である。図1においては、車両前進方向を矢印FRで示している。この図1に示すように、本実施例のハイブリッド車両10は、エンジン12と、トランスアクスル14と、左右1対の車軸16l、16r(以下、特に区別しない場合には単に車軸16という)と、駆動輪である左右1対の前輪18l、18r(以下、特に区別しない場合には単に前輪18という)と、左右1対の後輪20l、20r(以下、特に区別しない場合には単に後輪20という)とを、備えている。すなわち、前記ハイブリッド車両10は、前置エンジン前輪駆動車両(FF型車両)の一例である。
図2は、前記トランスアクスル14の構成を例示する斜視図であり、一部を省略して示している。図2においては、車両前進方向を矢印FRで、車両上方(鉛直上方向)を矢印UPで、車両左手方向を矢印LHで、それぞれ示している。前記トランスアクスル14は、例えば、終減速機及び後述する動力分割機構等の構成が共通のトランスアクスルケース22(以下、単にケース22という)内に収容された装置である。前記ケース22は、複数(図2においては4つ)のマウント24a、24b、24c、24d(以下、特に区別しない場合には単にマウント24という)を介して前記ハイブリッド車両10のボデー26に懸架されている。前記ケース22は、好適には、前記複数のマウント24を介して前記ボデー26における車体フレームに懸架されている。
前記ハイブリッド車両10は、例えば、図1及び図2に示すように、矢印FRで示す車両前進方向を前方として、前記ケース22に対して車両前方側に取り付けられた前方マウント(FRマウント)24aと、前記ケース22に対して車両後方側に取り付けられた後方マウント(RRマウント)24bと、前記ケース22に対して車両左方側に取り付けられた左方マウント(LHマウント)24cと、前記ケース22に対して車両右方側に取り付けられた右方マウント(RHマウント)24dとを、備えている。前記ケース22は、5つ以上のマウントを介して前記ボデー26に懸架されたものであってもよい。或いは、3つ以下のマウントを介して前記ボデー26に懸架されたものであってもよい。
前記ハイブリッド車両10は、走行用の駆動源として、例えば液体燃料の燃焼により駆動力を発生させるガソリンエンジンやディーゼルエンジン等の内燃機関である前記エンジン12と、電気エネルギにより駆動力を発生させる電動機MGとを、備えている。前記電動機MGは、駆動用電気機器に相当するものであり、前記トランスアクスル10内に収容されている。単数乃至複数(本実施例においては単数)の電動機MGが、前記トランスアクスル10内に収容されている。前記電動機MGは、少なくとも電気エネルギにより駆動力を発生させる駆動モータとして機能するものであるが、発電機としても機能するもの(モータジェネレータ)であってもよい。
前記トランスアクスル10には、好適には、動力分割機構が収容されている。この動力分割機構は、例えば、複数の回転要素を備え、それら複数の回転要素が前記エンジン12、前記電動機MG、及び図示しない出力回転部材にそれぞれ連結された差動機構である。前記動力分割機構は、好適には、前記エンジン12から出力された駆動力を、前記電動機MGの発電用の駆動力と、駆動輪である前記前輪18側に伝達される車両の走行用の駆動力とに分割する。前記動力分割機構は、好適には、前記電動機MGの運転状態が制御されることにより、複数の回転要素それぞれの回転速度の差動状態が制御される電気式差動部として機能する。
図3は、本実施例のハイブリッド車両10において、前記ケース22における前記マウント24の取付部位近傍を拡大して示す斜視図である。この図3に示すように、前記ケース22における前記マウント24の取付部位には、前記ケース22の外側(外部)に向かって突出する円筒状のボス部28が形成されている。好適には、各マウント24に対応して複数のボス部28が形成されている。前記ボス部28の軸芯にはねじ穴(雌ねじ)30が形成されている。前記マウント24は、前記ボス部28に対してボルト等の締結具により締結されている。更に、前記マウント24が前記ボデー26の車体フレーム等に対してボルト等の締結具により締結されている。これにより、前記ケース22は、前記ボス部28に取り付けられた前記マウント24を介して前記ボデー26に懸架されている。すなわち、本実施例においては、前記トランスアクスル14が、前記電動機MGを収容する前記ケース22に前記ボス部28が形成され、そのボス部28に取り付けられた前記マウント24を介して前記ボデー26に懸架されるハイブリッド車両用ユニットに相当する。
以下、図3等を用いて、本発明の一実施例であるハイブリッド車両用ユニットの取付構造すなわち前記トランスアクスル14の取付構造について説明する。ここで、前記ハイブリッド車両10において、好適には、前記マウント24a〜24dの全てが、以下に詳述する本実施例の取付構造とされたものであるが、少なくとも1つ(例えば前方マウント24a)が本実施例の取付構造とされたものであってもよい。すなわち、前記マウント24a〜24dの何れかが、図4を用いて後述するような従来の取付構造とされたものであってもよい。
図3に示すように、前記ケース22は、その端縁部にフランジ部32を備えている。このフランジ部32は、前記ケース22から外側(外部)に向かって鍔状に突出して設けられた突出縁部である。前記フランジ部32は、前記ボス部28の近傍に設けられている。前記ボス部28及び前記フランジ部32は、前記ケース22の一部として、例えばアルミダイキャスト等により一体に形成されたものである。前記ケース22は、そのケース22に形成された前記フランジ部32において隣り合う部材に締結されている。例えば、前記ケース22は、前記フランジ部32において、図示しないボルト等の締結具により図示しないエンジンケースに固定されている。
図3においては、前記ハイブリッド車両10の前進方向を太い破線矢印で、上下方向(鉛直上下方向)を太い矢印で、それぞれ示している。図3に示すように、前記ケース22は、太い破線矢印で示す車両前進方向を前方として、前記ボス部28の前方側に、前記マウント24が前記ケース22に対して前方側へ移動することを許容する脆弱部34を備えている。前記脆弱部34は、換言すれば、前記ボス部28に対して前方側に形成された、周囲の部分に比べて強度が低い低強度部である。この脆弱部34は、好適には、前記ボス部28と前記フランジ部32との間に形成された薄肉部である。好適には、図3に示すように、前記ボス部28の側面(円筒面)と前記フランジ部32との間には肉の設けられていない部分が存在し、この部分が前記脆弱部34に相当する。すなわち、前記ボス部28は、前記フランジ部32と一体に設けられ、且つ前記脆弱部34において前記フランジ部32と離隔されるものである。前記ボス部28は、好適には、車両前進方向を前方として、側方側及び後方側においては、前記脆弱部34を備えていない。すなわち、前記ボス部28の側方側或いは後方側においては、後述する図4に示すように前記フランジ部32と一体的に形成されている。
前記ケース22において、好適には、各マウント24に対応して設けられた複数の前記ボス部28のうち、車両前進方向を前方として、相対的に前方側に設けられた前記ボス部28は、そのボス部28の前方側に前記脆弱部34を備えている。一方、前方側以外の方向すなわち相対的に後方側或いは側方側に設けられた前記ボス部28は、そのボス部28の前方側に前記脆弱部34を備えていない。すなわち、前記ケース22において、好適には、相対的に前方側に設けられた前記ボス部28は、前記フランジ部32と離間して形成され、相対的に後方側に設けられた前記ボス部28は、後述する図4に示すように前記フランジ部32と一体的に形成されている。
前記ケース22は、好適には、前記脆弱部34の近傍に肉厚部36を備えたものである。この肉厚部36は、例えば、車両前進方向を前方として、前記脆弱部34の前方側における前記ケース22の肉厚(厚み寸法)が周囲よりも厚く形成された部分に相当する。換言すれば、前記ケース22においては、図3に太い破線で囲繞して示すように、前記脆弱部34の前方側における少し離れた位置にリブが形成されており、このリブが前記肉厚部36に相当する。すなわち、本実施例のハイブリッド車両10において、前記ケース22は、好適には、車両前進方向を前方として、前記脆弱部34の前方側に肉厚部36を備えたものである。
図4は、前述した本実施例の取付構造との比較のために、従来のハイブリッド車両用ユニットの取付構造について説明する斜視図である。この図4において、前述した本実施例のカバー22と共通する構成については、同一の符号を付してその説明を省略する。図4に示すように、従来のハイブリッド車両用ユニットの取付構造においては、前記ボス部28と前記フランジ部32との間に脆弱部34が形成されておらず、前記ボス部28の側面(円筒面)と前記フランジ部32とが一体的に連続して構成されている。すなわち、前記ボス部28の側面と前記フランジ部32との間に連続部38が設けられている。換言すれば、前記ボス部28の周囲が所謂ゴロ肉とされている。更に、図4に太い破線で囲繞して示すように、前記ボス部28の前方側に前記肉厚部36が設けられていない。車両が前方衝突した場合には、前記ケース22に対しては後方方向へ、前記マウント24(ボデー26)に対しては前方方向への力が働くことで、それらが相互に離れようとする力が働く。このため、図4に示すような従来の取付構造においては、前記ボス部28周りがゴロ肉となっていることで、車両の前方衝突時の大きな荷重入力によって破損範囲が広がりやすい。すなわち、図4に太い破線矢印で示すように、車両の前方衝突時の大きな荷重が前記連続部38を介して前記フランジ部32側にまで及び、そのフランジ部32側にまで破損が広がるおそれがある。
図4に示す従来の取付構造に対し、図3に示す本実施例の取付構造では、前記ケース22において、前記ボス部28の前方側の肉があえて減らされ(薄肉とされ)、強度が弱い前記脆弱部34とされている。すなわち、前記ケース22における前記マウント24の取付部(締結部)において、図3に太い矢印で示す上下方向の強度を確保しつつ、太い破線矢印で示す衝突時の荷重入力方向の強度をあえて低下させている。斯かる構成により、車両の前方衝突時において太い破線矢印で示す方向へ荷重がかかった場合、その荷重方向に前記ボス部28が破損し易くなる。ここで、前記ボス部28と前記フランジ部32との間は、前記脆弱部34により離間させられているため、前記ボス部28の破損は前記フランジ部32側にまで及ばず、前記ボス部28にて収まる。すなわち、前記ボス部28をあえて車両の前方衝突時の荷重入力方向に破損し易く構成していることで、振動や騒音の抑制効果、十分な車体剛性等を確保しつつ、前記ケース22全体の耐久性低下を好適に抑制することができる。
前記ケース22において、前記ボス部28の前方側においてそのボス部28が前記フランジ部32と離間して形成され、前記ボス部28の側方側或いは後方側においては前記フランジ部32と一体的に形成された構成においては、更に好適に振動や騒音抑制効果、車体剛性の確保等を実現できる。一般に、正突、斜突、ODB(Offset Deformable Barrier)等、車両の前突系の衝突形態においては、前記トランスアクスル14は後方側へ、前記マウント24と接続されたメンバは前方側へ相対的に動くため、前記マウント24が締結された前記ボス部28の前方側に荷重が入力される。このため、車両前進方向に対して左右に取り付けられる前記マウント24c、24dについては、前方向のみ強度を低下させれば本発明の一応の効果を奏する。その他の部位における前記マウント24に関しても同様に、車両の前方衝突時に荷重が入力される方向である前方側のみ強度を低下させれば本発明の一応の効果を奏する。
前記ケース22において、薄肉化した部分である前記脆弱部34の近傍であってその脆弱部34の前方側に肉厚部(リブ)36を設けた構成においては、周囲の構成に比べて前記脆弱部34の相対的な強度をより低下させることができる。これにより、前記ボス部28周辺における強度が弱い部分(最弱部位)を、より確実に前記ボス部28の円筒形状とねじ嵌合部(ねじ穴30とボルトとの螺合部)に誘導でき、車両の前方衝突時においてより確実に破損を前記ボス部28に収めることができる。
このように、本実施例によれば、車両前進方向を前方として、前記ボス部28の前方側に、前記マウント24が前記ケース22に対して前方側へ移動することを許容する脆弱部34を備えたものであることから、車両が前方衝突した場合に、前記マウント24の前方方向への移動が許容されているため、破損範囲を前記ボス部28に収めることができ、破損が広範囲に及ぶことを好適に抑制できる。すなわち、耐久性を向上させる前記トランスアクスル14の取付構造を提供することができる。
前記ケース22は、そのケース22に形成されたフランジ部32において隣り合う部材に締結され、前記ボス部28は、前記フランジ部32と一体に設けられ、且つ前記脆弱部34において前記フランジ部32と離隔されるものであるため、前記ボス部28と前記フランジ部32との間が前記脆弱部34により離隔されていることで、車両が前方衝突した場合における破損範囲をより確実に前記ボス部28に収めることができる。
前記ケース22は、前記脆弱部34の前方側に肉厚部36を備えたものであるため、前記ボス部28周辺を相対的に強度が弱い部位とすることができ、車両が前方衝突した場合における破損範囲をより確実に前記ボス部28に収めることができる。
以上、本発明の好適な実施例を図面に基づいて詳細に説明したが、本発明はこれに限定されるものではなく、その趣旨を逸脱しない範囲内において種々の変更が加えられて実施されるものである。
10:ハイブリッド車両、14:トランスアクスル(ハイブリッド車両用ユニット)、24:マウント、26:ボデー、28:ボス部、32:フランジ部、34:脆弱部、36:肉厚部、MG:電動機

Claims (3)

  1. 電動機を収容するケースから外側へボス部が一体に突き出され、該ボス部に取り付けられたマウントを介してボデーに懸架されるハイブリッド車両用ユニットにおいて、
    車両前進方向を前方として、前記ボス部よりも前方側に、前記車両の前方衝突時の荷重が入力された場合に前記マウントが前記ケースに対して前記前方側へ移動することを許容する脆弱部を備えた
    ことを特徴とする取付構造。
  2. 前記ケースは、該ケースから一体に突き出されたフランジ部において隣り合う部材に締結され、
    前記ボス部は、前記フランジ部との間に前記脆弱部が介在することにより前記フランジ部と離隔させられてい
    請求項1に記載の取付構造。
  3. 前記ケースは、前記脆弱部よりも前記前方側に肉厚部を備えたものである
    請求項1又は2に記載の取付構造。
JP2013261874A 2013-12-18 2013-12-18 ハイブリッド車両用ユニットの取付構造 Active JP6149721B2 (ja)

Priority Applications (1)

Application Number Priority Date Filing Date Title
JP2013261874A JP6149721B2 (ja) 2013-12-18 2013-12-18 ハイブリッド車両用ユニットの取付構造

Applications Claiming Priority (1)

Application Number Priority Date Filing Date Title
JP2013261874A JP6149721B2 (ja) 2013-12-18 2013-12-18 ハイブリッド車両用ユニットの取付構造

Publications (2)

Publication Number Publication Date
JP2015116943A JP2015116943A (ja) 2015-06-25
JP6149721B2 true JP6149721B2 (ja) 2017-06-21

Family

ID=53530069

Family Applications (1)

Application Number Title Priority Date Filing Date
JP2013261874A Active JP6149721B2 (ja) 2013-12-18 2013-12-18 ハイブリッド車両用ユニットの取付構造

Country Status (1)

Country Link
JP (1) JP6149721B2 (ja)

Family Cites Families (4)

* Cited by examiner, † Cited by third party
Publication number Priority date Publication date Assignee Title
JP4239478B2 (ja) * 2002-05-17 2009-03-18 アイシン・エィ・ダブリュ株式会社 変速機ケース
JP4059877B2 (ja) * 2004-10-14 2008-03-12 トヨタ自動車株式会社 ハイブリッド駆動装置
JP2011027245A (ja) * 2009-07-29 2011-02-10 Toyota Motor Corp 駆動ユニット
JP2012183896A (ja) * 2011-03-04 2012-09-27 Honda Motor Co Ltd 鞍乗り型車両

Also Published As

Publication number Publication date
JP2015116943A (ja) 2015-06-25

Similar Documents

Publication Publication Date Title
EP3789273B1 (en) Vehicle front structure and vehicle
CN103189224B (zh) 电动机动车
JP5459511B2 (ja) 車両のバッテリ搭載構造
JP2003146088A (ja) 高圧電装ボックスの車載構造
WO2012017935A1 (ja) 車両の後部保護構造
JP5589766B2 (ja) 電動車両のモータルーム内部品搭載構造
JP7563269B2 (ja) 電動車両の下部構造
JP6122807B2 (ja) 自動車のバッテリー搭載構造
JP5691559B2 (ja) 車両用電気接続箱の搭載構造
JP6673094B2 (ja) 電力制御ユニットの車載構造
JP5381073B2 (ja) 車載機器の搭載構造
JP2012096661A (ja) パワーコントロールユニットの車体への取り付け構造及び電気自動車
JP6102765B2 (ja) 電動車両
JP2022150169A (ja) 電動車両の下部構造
CN109703343A (zh) 车辆
JP6149721B2 (ja) ハイブリッド車両用ユニットの取付構造
JP2018016247A (ja) 電動車両のパワーユニット構造
JP2011073583A (ja) エンジン搭載の電気自動車の前部構造
JP2014129041A (ja) 車載機器の搭載構造
JP2007084041A (ja) マスターシリンダー前端部構造
JP2017218036A (ja) 電池パックの保護構造
US12515511B2 (en) Vehicle mounting structure for electric motor unit
JP2013193652A (ja) 電動車両
JP6500740B2 (ja) 電力変換器の車載構造
JP2019070397A (ja) 車両用動力伝達装置

Legal Events

Date Code Title Description
A621 Written request for application examination

Free format text: JAPANESE INTERMEDIATE CODE: A621

Effective date: 20160118

A131 Notification of reasons for refusal

Free format text: JAPANESE INTERMEDIATE CODE: A131

Effective date: 20160927

A977 Report on retrieval

Free format text: JAPANESE INTERMEDIATE CODE: A971007

Effective date: 20160923

A521 Written amendment

Free format text: JAPANESE INTERMEDIATE CODE: A523

Effective date: 20161118

TRDD Decision of grant or rejection written
A01 Written decision to grant a patent or to grant a registration (utility model)

Free format text: JAPANESE INTERMEDIATE CODE: A01

Effective date: 20170425

A61 First payment of annual fees (during grant procedure)

Free format text: JAPANESE INTERMEDIATE CODE: A61

Effective date: 20170508

R151 Written notification of patent or utility model registration

Ref document number: 6149721

Country of ref document: JP

Free format text: JAPANESE INTERMEDIATE CODE: R151