JP6141998B2 - タイヤ - Google Patents

タイヤ Download PDF

Info

Publication number
JP6141998B2
JP6141998B2 JP2015549684A JP2015549684A JP6141998B2 JP 6141998 B2 JP6141998 B2 JP 6141998B2 JP 2015549684 A JP2015549684 A JP 2015549684A JP 2015549684 A JP2015549684 A JP 2015549684A JP 6141998 B2 JP6141998 B2 JP 6141998B2
Authority
JP
Japan
Prior art keywords
sipe
protrusions
tire
length
depth
Prior art date
Legal status (The legal status is an assumption and is not a legal conclusion. Google has not performed a legal analysis and makes no representation as to the accuracy of the status listed.)
Expired - Fee Related
Application number
JP2015549684A
Other languages
English (en)
Other versions
JP2016505444A (ja
Inventor
ブライアン ステーンウィック、
ブライアン ステーンウィック、
ステファン ボスバーグ、
ステファン ボスバーグ、
Original Assignee
ブリヂストン アメリカズ タイヤ オペレーションズ、 エルエルシー
ブリヂストン アメリカズ タイヤ オペレーションズ、 エルエルシー
Priority date (The priority date is an assumption and is not a legal conclusion. Google has not performed a legal analysis and makes no representation as to the accuracy of the date listed.)
Filing date
Publication date
Application filed by ブリヂストン アメリカズ タイヤ オペレーションズ、 エルエルシー, ブリヂストン アメリカズ タイヤ オペレーションズ、 エルエルシー filed Critical ブリヂストン アメリカズ タイヤ オペレーションズ、 エルエルシー
Publication of JP2016505444A publication Critical patent/JP2016505444A/ja
Application granted granted Critical
Publication of JP6141998B2 publication Critical patent/JP6141998B2/ja
Expired - Fee Related legal-status Critical Current
Anticipated expiration legal-status Critical

Links

Images

Classifications

    • BPERFORMING OPERATIONS; TRANSPORTING
    • B60VEHICLES IN GENERAL
    • B60CVEHICLE TYRES; TYRE INFLATION; TYRE CHANGING; CONNECTING VALVES TO INFLATABLE ELASTIC BODIES IN GENERAL; DEVICES OR ARRANGEMENTS RELATED TO TYRES
    • B60C11/00Tyre tread bands; Tread patterns; Anti-skid inserts
    • B60C11/03Tread patterns
    • B60C11/12Tread patterns characterised by the use of narrow slits or incisions, e.g. sipes
    • B60C11/1204Tread patterns characterised by the use of narrow slits or incisions, e.g. sipes with special shape of the sipe
    • B60C11/1218Three-dimensional shape with regard to depth and extending direction
    • BPERFORMING OPERATIONS; TRANSPORTING
    • B60VEHICLES IN GENERAL
    • B60CVEHICLE TYRES; TYRE INFLATION; TYRE CHANGING; CONNECTING VALVES TO INFLATABLE ELASTIC BODIES IN GENERAL; DEVICES OR ARRANGEMENTS RELATED TO TYRES
    • B60C11/00Tyre tread bands; Tread patterns; Anti-skid inserts
    • B60C11/03Tread patterns
    • B60C11/12Tread patterns characterised by the use of narrow slits or incisions, e.g. sipes
    • BPERFORMING OPERATIONS; TRANSPORTING
    • B29WORKING OF PLASTICS; WORKING OF SUBSTANCES IN A PLASTIC STATE IN GENERAL
    • B29DPRODUCING PARTICULAR ARTICLES FROM PLASTICS OR FROM SUBSTANCES IN A PLASTIC STATE
    • B29D30/00Producing pneumatic or solid tyres or parts thereof
    • B29D30/06Pneumatic tyres or parts thereof (e.g. produced by casting, moulding, compression moulding, injection moulding, centrifugal casting)
    • B29D30/0681Parts of pneumatic tyres; accessories, auxiliary operations
    • BPERFORMING OPERATIONS; TRANSPORTING
    • B60VEHICLES IN GENERAL
    • B60CVEHICLE TYRES; TYRE INFLATION; TYRE CHANGING; CONNECTING VALVES TO INFLATABLE ELASTIC BODIES IN GENERAL; DEVICES OR ARRANGEMENTS RELATED TO TYRES
    • B60C11/00Tyre tread bands; Tread patterns; Anti-skid inserts
    • B60C11/03Tread patterns
    • B60C11/13Tread patterns characterised by the groove cross-section, e.g. for buttressing or preventing stone-trapping
    • BPERFORMING OPERATIONS; TRANSPORTING
    • B60VEHICLES IN GENERAL
    • B60CVEHICLE TYRES; TYRE INFLATION; TYRE CHANGING; CONNECTING VALVES TO INFLATABLE ELASTIC BODIES IN GENERAL; DEVICES OR ARRANGEMENTS RELATED TO TYRES
    • B60C5/00Inflatable pneumatic tyres or inner tubes
    • BPERFORMING OPERATIONS; TRANSPORTING
    • B60VEHICLES IN GENERAL
    • B60CVEHICLE TYRES; TYRE INFLATION; TYRE CHANGING; CONNECTING VALVES TO INFLATABLE ELASTIC BODIES IN GENERAL; DEVICES OR ARRANGEMENTS RELATED TO TYRES
    • B60C11/00Tyre tread bands; Tread patterns; Anti-skid inserts
    • B60C11/03Tread patterns
    • B60C11/12Tread patterns characterised by the use of narrow slits or incisions, e.g. sipes
    • B60C11/1204Tread patterns characterised by the use of narrow slits or incisions, e.g. sipes with special shape of the sipe
    • B60C2011/1209Tread patterns characterised by the use of narrow slits or incisions, e.g. sipes with special shape of the sipe straight at the tread surface

Landscapes

  • Engineering & Computer Science (AREA)
  • Mechanical Engineering (AREA)
  • Tires In General (AREA)

Description

本主題は、概してタイヤトレッドパターンに関する。より具体的には、本主題は、トレッドパターン剛性を増加させるように適合されたサイプ強化を含むタイヤトレッドパターンに関する。
タイヤが動作するときにその性能に影響を与えるタイヤトレッド構成要素を作成することが、時に望ましい。
タイヤが動作するときにその性能に影響を与えるタイヤトレッド特徴、並びにタイヤトレッド特徴を作成するための方法及び装置を開発することが依然として望ましい。
円周方向、軸方向、及び半径方向を有するタイヤが提供され、このタイヤは、ブロックを定義する溝と、ブロックの中に形成されるサイプと、を含むトレッド表面を含み、サイプは、深さ、幅、及び長さによって画定され、深さ、幅、及び長さのそれぞれは、第1の細長い表面と、第1の細長い表面に面し、かつサイプの幅によってそれからオフセットされた第2の細長い表面と、を含む細長い表面によって画定される。タイヤは、種々の特性のうちのいずれかを有する突起部又は突起部の配列を含んでもよい。
タイヤの図である。 タイヤのトレッドの拡大図である。 タイヤの一部分の斜視図である。 サイプの第1の実施形態の正面図である。 サイプの第1の実施形態の側面図である。 サイプの第2の実施形態の正面図である。 サイプの第3の実施形態の正面図である。 サイプの第4の実施形態の正面図である。 サイプの第5の実施形態の正面図である。 サイプの第6の実施形態の正面図である。 サイプの第7の実施形態の正面図である。 サイプの第8の実施形態の正面図である。 サイプの第9の実施形態の正面図である。
図1〜図12の図面を参照し、それらの提示は、タイヤ内部の構成要素からサンプルを調製するための装置及び方法のある特定の実施形態を例示することのみを目的とする。
ここで図1を参照すると、タイヤ110の非限定的な実装例が示される。タイヤ110は、実質的に円筒形であり、円周方向114、軸方向116、及び半径方向(図示せず)を画定する。タイヤ110は、タイヤ110の周囲に延在し、かつ円周方向114及び軸方向116の両方に延在するタイヤトレッド120を含む。タイヤ110は、任意の種類のタイヤであってもよい。タイヤ110は、空気式、非空気式、ランフラット、ラジアル、又はバイアスであってもよい。タイヤ110は、乗用車用タイヤ、軽トラック用タイヤ、トラック若しくはバス用タイヤ、農業用タイヤ、又は他の種類のタイヤであってもよい。タイヤ110は、硬化タイヤ又は未硬化タイヤであってもよい。図1に示される非限定的な実装例において、タイヤ110は、空気式タイヤである。
ここで図2を参照すると、円周方向214、軸方向216に延在するタイヤトレッド220の非限定的な実装例の拡大図が示される。タイヤトレッド220は、第1のリブ221、第2のリブ223、第3のリブ225、第4のリブ227、及び第5のリブ229を含んでもよい。リブ221、223、225、227、229は、タイヤトレッド220中で実質的に円周方向に延在する細長いトレッド特徴である。タイヤトレッド220は、第1の溝222、第2の溝224、第3の溝226、及び第4の溝228を含んでもよい。溝222、224、226、228は、タイヤトレッド220中で実質的に円周方向に延在する細長い間隙である。いくつかの実施形態では、タイヤは、リブ又は溝が別個の実体として明確に画定されない非常に複雑なパターンを有してもよい。タイヤトレッド220は、1つ以上のサイプ230を含んでもよい。
ここで図3を参照すると、タイヤ部分300の非限定的な実装例の斜視図が示される。タイヤ部分300は、円周方向314、軸方向316、及び半径方向312に部分的に延在する。タイヤ部分300は、タイヤトレッド320、第1のパイルのセット340、第1のベルトのセット350、第2のパイルのセット360、ビードチェーファ370、及びビード380を含んでもよい。タイヤトレッド320は、リブ322、ブロック323、溝324、ショルダー325、及びサイプ326を含んでもよい。
サイプ230、326は、タイヤトレッド220、320中の非常に狭い間隙又は薄い切断部である。サイプ230、326の幅は、典型的には0〜5ミリメートル幅(境界値も含む)である。以下に更に開示されるように、サイプ230、326の幅は、サイプ230、326の深さと共に、又は長さに沿って変化し得る。0mmの幅を有するサイプ230、326は、依然として、サイプの縁部、長さ、深さ、及び形状を含む。更に、0mmの幅を有するサイプ230、326は、サイプが作製されるタイヤの動作中に、開くか、又はサイプ面の間のスリップ又は運動を可能にしてもよい。サイプ230、326は、実質的な深さを有してもよく、また実質的に細長くてもよい。サイプ230、326によって描かれる細長い経路は、多数の形態のうちのいずれかをとってもよい。サイプ230、326は、直線形状、湾曲形状、弓形状、波形、二股形状、又はこれらの組み合わせを有してもよい。上記の通り、サイプ230、236は、いくらかの深さを有する。
サイプ230、326は、種々の手段によって形成されてもよい。サイプ230、326は、的確な工学的判断で選択される薄刃、レーザー、又は他の手段を含む手段によって、タイヤトレッドに非常に薄い切断部を作製する。サイプ230、326は、タイヤ成形型中にサイプ形成要素(図示せず)を含むことによって、タイヤ110の形成中にサイプ230、326を成形することによって形成されてもよい。サイプ形成要素は、成形中にサイプブレードによって変位させられることによってタイヤ材料中に残される穴が、所望のサイプ230、326と一致する体積及び形状を有するように、所望のサイプ230、326と一致する体積及び形状を有する正の変位を有するように適合される、サイプブレード又は他の構成要素であってもよい。
ここで図4a〜図12を参照すると、サイプのいくつかの異なる実装例による種々の断面図が示される。
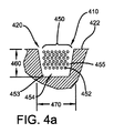
図4a及び図4bは、サイプ410の第1の非限定的な実装例の図を示す。図4aは、サイプ長さ−深さの平面に平行な平面を通した図を示す。図4bは、サイプの幅−深さの平面に平行な平面を通したサイプの第1の非限定的な実装例の図を示す。サイプ410は、サイプ410の深さがトレッド要素420中へと延在するように、トレッド表面422を含むトレッド要素420中に形成される。サイプ410は、部分的に第1の細長い表面432によって、かつ部分的に第2の細長い表面434によって画定される。第1の細長い表面432及び第2の細長い表面434は、実質的に平面であり、互いに向かい合い、サイプ410の幅480によって互いにオフセットされる。サイプ410は、複数の突起部450を含み、各突起部452は、第1の細長い表面432から第2の細長い表面434に向かって延在する。複数の突起部450は、異なる深さで5つの列455によって画定される規則的な配列454で配置され、各列455は、多くの突起部450を含み、突起部450の数は、列455間で異なる。第1の最上部の列455には、7つの突起部450がある。第2の列455には、6つの突起部450がある。第3の列455には、7つの突起部450がある。第4の列455には、6つの突起部450がある。第5の最深部の列455には、5つの突起部450がある。
配列454の規則性は限定的ではなく、図4a及び図4bに示される規則的な配列454の許容できる代替案がある。ある特定の非限定的な実装例では、配列454は、突起部450が任意の規則的又は反復パターンで配置される、不規則な配列454であってもよい。
細長い表面432、434の平面特徴は限定的ではなく、図4bに示される第1の細長い表面432、434の平面特徴の許容できる代替案がある。ある特定の非限定的な実装例では、細長い表面432、434のうちの一方又は両方は、曲線、起伏、波状曲線を含んでもよく、又は別の方法で実質的に非平面であってもよい。
突起部450が延在する第2の細長い表面434の平面特徴は限定的ではなく、図4bに示される第2の細長い表面434の平面特徴の許容できる代替案がある。ある特定の非限定的な実装例では、第2の細長い表面434は、1つ以上の突起部450に向かって延在する、1つ以上の逆向きの突起部を含んでもよい。ある特定の非限定的な実装例では、第2の細長い表面434は、1つ以上の突起部450が延在してもよい、1つ以上の陥凹又は空洞を含んでもよい。
サイプ410の実質的に一定の深さは限定的ではなく、図4aに示されるサイプ410の実質的に一定の深さの許容できる代替案がある。ある特定の非限定的な実装例では、サイプ410の深さ460は、サイプ410の長さ470に沿って変化してもよい。
突起部450の実質的に一定の突起部長さ451は限定的ではなく、図4bに示される突起部450の実質的に一定の突起部長さ451の許容できる代替案がある。ある特定の非限定的な実装例では、突起部450の突起部長さ451は、突起部450間で変化してもよい。ある特定の非限定的な実装例では、突起部450の突起部長さ451は、サイプ410内の突起部の位置関数であり、例えば、制限なく、第1の深さにおける突起部450は、第2の深さにおける別の突起部450と長さが異なってもよい。
突起部450の円形断面積453は限定的ではなく、図4aに示される突起部450の円形断面積453の許容できる代替案がある。ある特定の非限定的な実装例では、突起部450の円形断面積453は、非円形であってもよく、又は突起部450間で異なってもよい。
突起部450の長さ451に沿った突起部450の実質的に一定の断面積453は限定的ではなく、図4bに示される突起部450の長さ451に沿った突起部450の実質的に一定の断面積453の許容できる代替案がある。ある特定の非限定的な実装例では、突起部450の断面積453は、突起部450の長さ451に沿って変化してもよい。ある特定の非限定的な実装例では、突起部450の断面積453は、突起部450の長さ451に沿って先細りしていてもよい。
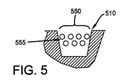
図5は、サイプ510の長さ−深さの平面に平行な平面を通したサイプ510の第2の非限定的な実装例の図を示す。サイプ510は、複数の突起部550を含む。複数の突起部550は、異なる深さで2つの列555に配置され、各列555は、多くの突起部550を含み、突起部550の数は、列555間で異なる。第1の最上部の列555には、4つの突起部550がある。第2の最下部の列555には、3つの突起部550がある。
列555中の突起部550の数は限定的ではなく、図5に示される列555中の突起部550の数の許容できる代替案がある。ある特定の非限定的な実装例では、列中の突起部の数は、1つ、2つ、3つ、又はそれよりも多くの突起部であってもよい。
図6は、サイプ610の長さ−深さの平面に平行な平面を通したサイプ610の第3の非限定的な実装例の図を示す。サイプ610は、複数の突起部650を含む。突起部650のそれぞれは、細長い矩形によって画定される断面積を有し、伸長軸は、サイプ610の幅−長さの平面に対していくらかの角度をなして延在する。突起部650の断面の矩形特徴は限定的ではなく、他の細長い形状が同様に許容可能であり得る。
図7は、サイプ710の長さ−深さの平面に平行な平面を通したサイプ710の第4の非限定的な実装例の図を示す。サイプ710は、突起部750を含む。突起部750は、細長い矩形によって画定される断面積を有し、伸長軸は、サイプ710の幅−長さの平面に対して実質的に平行に延在する。突起部750の断面の矩形特徴は限定的ではなく、他の細長い形状が同様に許容可能であり得る。
図8は、サイプ810の長さ−深さの平面に平行な平面を通したサイプ810の第5の非限定的な実装例の図を示す。サイプ810は、複数の突起部850を含む。突起部850のそれぞれは、細長い菱形によって画定される断面積を有し、伸長軸は、サイプ810の幅−深さの平面に平行に延在する。突起部850の断面の形状は限定的ではなく、他の細長い形状が同様に許容可能であり得る。
図8は、サイプ910の長さ−深さの平面に平行な平面を通したサイプ910の第6の非限定的な実装例の図を示す。サイプ910は、複数の突起部950を含む。突起部950のそれぞれは、細長い矩形によって画定される断面積を有し、伸長軸は、サイプ910の幅−深さの平面に平行に延在する。突起部950の断面の形状は限定的ではなく、他の細長い形状が同様に許容可能であり得る。
図10は、サイプ1010の長さ−深さの平面に平行な平面を通したサイプ1010の第7の非限定的な実装例の図を示す。サイプ1010は、複数の突起部1050を含む。突起部1050のそれぞれは、正方形によって画定される断面積を有する。複数の突起部1050は、異なる深さで3つの列1055に配置され、各列1055は、多くの突起部1050を含み、突起部1050の数は、列1055間で異なる。第1の最上部の列1055には、4つの突起部1050がある。第2の列1055には、3つの突起部1050がある。第3の最下部の列1055には、4つの突起部1050がある。列1055中の突起部1050の数は限定的ではなく、図10に示される列1055中の突起部1050の数の許容できる代替案がある。ある特定の非限定的な実装例では、列中の突起部の数は、1つ、2つ、3つ、又はそれよりも多くの突起部であってもよい。突起部1050の断面の正方形特徴は限定的ではなく、他の形状が同様に許容可能であり得る。
図11は、サイプ1110の長さ−深さの平面に平行な平面を通したサイプ1110の第8の非限定的な実装例の図を示す。サイプ1110は、複数の突起部1150を含む。突起部1150のそれぞれは、細長い矩形によって画定される断面積を有し、伸長軸は、サイプ1110の幅−深さの平面に平行に延在する。複数の突起部1150は、異なる深さで2つの列1155に配置され、各列1155は、多くの突起部1150を含み、突起部1150の数は、列1555間で異なる。第1の最上部の列1155には、3つの突起部11050がある。第2の最下部の列1155には、2つの突起部1150がある。列1155中の突起部1150の数は限定的ではなく、図11に示される列1155中の突起部1150の数の許容できる代替案がある。ある特定の非限定的な実装例では、列中の突起部の数は、1つ、2つ、3つ、又はそれよりも多くの突起部であってもよい。突起部1150の断面の矩形特徴は限定的ではなく、他の形状が同様に許容可能であり得る。
図12は、サイプ1210の長さ−深さの平面に平行な平面を通したサイプ1210の第9の非限定的な実装例の図を示す。サイプ1210は、突起部1250を有する。突起部1250は、十字形断面積を有する。突起部1250の断面の十字形特徴は限定的ではなく、他の形状が同様に許容可能であり得る。サイプ1250の深さは、サイプ1250の長さに沿って変化してもよい。
ここで図4a〜図12を参照すると、突起部450、550、650、750、850、950、1050、1150、1250は、タイヤの動作中にサイプを強化する働きをし得る。任意の特定のプロセス又は理論に限定されることを望まないが、タイヤ110が回転すると、トレッド120の部分は、タイヤ110のフットプリントを通過する。タイヤトレッド120中のサイプ410、510、610、710、810、910、1010、1110、1210がタイヤ110のフットプリントを通過すると、それは少なくとも部分的に及び/又は一時的に変形し得、その結果、突起部450、550、650、750、850、950、1050、1150、1250がサイプの別の構成要素と係合し得るか、又はそれから係合解除し得、それにより、サイプの機械性能に影響を与え得る。タイヤ110が摩耗するにつれて、サイプ410、510、610、710、810、910、1010、1110、1210の上部領域は、摩耗過程によって除去され得、その結果、サイプ410、510、610、710、810、910、1010、1110、1210の性能もまた変化し得る。
サイプ強化が、ある特定の実施形態との関連において先に記載されたが、サイプ強化と同じ機能を発揮するために、それから逸脱することなく、他の実施形態が使用されてもよく、又は上記の実施形態に修正及び追加が行われてもよいことを理解されたい。更に、サイプ強化は、開示されるが正確な詳細については記載されていない、実施形態を含み得る。更に、所望の特性をもたらすために、様々な実施形態を組み合わせることができるため、開示される全ての実施形態は、必ずしも択一的ではない。当業者は、サイプ強化の趣旨及び範囲から逸脱することなく、変形例を作製することができる。したがって、サイプ強化は、いずれかの単一の実施形態に制限されるべきではなく、添付の特許請求の範囲の詳細説明による幅及び範囲において解釈されるべきである。

Claims (4)

  1. タイヤであって、
    円周方向、軸方向、及び半径方向と、
    (1)ブロックを画定する溝と、(2)前記ブロックの中に形成され且つ深さ、幅、及び長さを有するサイプと、を含むと共にトレッド表面を有するトレッドと、
    を備え、
    前記サイプが、第1の表面と、前記第1の表面に面し、かつ前記サイプの幅によってそれからオフセットされた第2の表面とによって画定され、
    複数の突起部が前記第1の表面から延在し、
    前記複数の突起部が、前記サイプ内に第1の長さ及び第1の深さを有する第1の突起部を含み、
    前記複数の突起部が、前記サイプ内に第2の長さ及び第2の深さを有する第2の突起部を含み、
    前記第1の長さは前記第2の長さと異なり、
    前記第1の深さは前記第2の深さと異なり、
    前記複数の突起部の各々の前記第1の表面に平行な面で切断した断面が同一である、
    タイヤ。
  2. 前記複数の突起部が規則的な配列で配置される、請求項1に記載のタイヤ。
  3. タイヤであって、
    円周方向、軸方向、及び半径方向と、
    (1)ブロックを画定する溝と、(2)前記ブロックの中に形成されるサイプであって、深さ、幅、及び長さを有する、サイプと、を含むトレッド表面を有するトレッドと、
    を備え、
    前記サイプが、第1の表面と、前記第1の表面に面し、かつ前記サイプの幅によってそれからオフセットされた第2の表面とによって画定され、
    少なくとも1つの突起部が、前記第1の表面から延在する、
    前記少なくとも1つの突起部が、前記サイプ内に第1の長さ及び第1の深さを有する第1の突起部を含み、
    前記少なくとも1つの突起部が、前記サイプ内に第2の長さ及び第2の深さを有する第2の突起部を含み、
    前記第1の長さは前記第2の長さと異なり、
    前記第1の深さは前記第2の深さと異なり、
    複数の突起部が前記第1の表面から延在し、
    前記複数の突起部の各々の前記第1の表面に平行な面で切断した断面が同一である、
    タイヤ。
  4. 前記第1の表面は、平面であり、
    前記第2の表面は、曲がっており、
    前記第2の長さは、前記第1の長さより短く、
    前記第2の深さは、前記第1の深さより長く、
    前記複数の突起部の前記第1の表面に平行な面で切断した断面が、十字形である
    請求項に記載のタイヤ。
JP2015549684A 2012-12-20 2013-12-19 タイヤ Expired - Fee Related JP6141998B2 (ja)

Applications Claiming Priority (3)

Application Number Priority Date Filing Date Title
US201261740188P 2012-12-20 2012-12-20
US61/740,188 2012-12-20
PCT/US2013/076460 WO2014100370A1 (en) 2012-12-20 2013-12-19 Sipe reinforcement

Publications (2)

Publication Number Publication Date
JP2016505444A JP2016505444A (ja) 2016-02-25
JP6141998B2 true JP6141998B2 (ja) 2017-06-07

Family

ID=50979202

Family Applications (1)

Application Number Title Priority Date Filing Date
JP2015549684A Expired - Fee Related JP6141998B2 (ja) 2012-12-20 2013-12-19 タイヤ

Country Status (6)

Country Link
US (1) US20150328935A1 (ja)
EP (1) EP2934921A4 (ja)
JP (1) JP6141998B2 (ja)
CN (1) CN104884277A (ja)
BR (1) BR112015014951A2 (ja)
WO (1) WO2014100370A1 (ja)

Families Citing this family (2)

* Cited by examiner, † Cited by third party
Publication number Priority date Publication date Assignee Title
CN111603104B (zh) * 2020-04-29 2021-11-30 尚科宁家(中国)科技有限公司 一种应用于擦地机的驱动轮及擦地机
KR102790848B1 (ko) * 2022-03-29 2025-04-07 한국타이어앤테크놀로지 주식회사 인터락킹 밴드 타입의 3d커프를 구비하는 타이어

Family Cites Families (37)

* Cited by examiner, † Cited by third party
Publication number Priority date Publication date Assignee Title
FR2641501B1 (fr) * 1989-01-10 1991-03-08 Michelin & Cie Bande de roulement pour pneumatique destine a des roulages hivernaux
US5095963A (en) * 1990-02-22 1992-03-17 The Goodyear Tire & Rubber Company Tire treads
JPH08175115A (ja) * 1994-12-22 1996-07-09 Yokohama Rubber Co Ltd:The 空気入りタイヤ
JP3576636B2 (ja) * 1995-06-08 2004-10-13 株式会社ブリヂストン スタッドレス空気入りタイヤ
JPH09263111A (ja) * 1996-03-29 1997-10-07 Bridgestone Corp 氷雪路面走行用空気入りタイヤ
JP4319261B2 (ja) * 1997-10-02 2009-08-26 株式会社ブリヂストン 空気入りタイヤ
AU6772698A (en) * 1998-03-25 1999-10-18 Goodyear Tire And Rubber Company, The Tire tread and mold for making treads
JP4262813B2 (ja) * 1998-12-18 2009-05-13 横浜ゴム株式会社 スタッドレスタイヤ
JP4262817B2 (ja) * 1999-02-09 2009-05-13 株式会社ブリヂストン 空気入りタイヤ
JP4209993B2 (ja) * 1999-03-19 2009-01-14 株式会社ブリヂストン 空気入りタイヤ
JP2001322406A (ja) * 2000-05-15 2001-11-20 Bridgestone Corp 空気入りタイヤ
JP3679011B2 (ja) * 2001-01-26 2005-08-03 東洋ゴム工業株式会社 空気入りラジアルタイヤ
JP2002274126A (ja) * 2001-03-15 2002-09-25 Bridgestone Corp 空気入りタイヤ
JP4711373B2 (ja) * 2001-04-24 2011-06-29 東洋ゴム工業株式会社 空気入りタイヤ
JP3917406B2 (ja) * 2001-11-08 2007-05-23 株式会社ブリヂストン 空気入りタイヤ
JP4307866B2 (ja) * 2003-02-28 2009-08-05 東洋ゴム工業株式会社 空気入りタイヤと空気入りタイヤの成形型および空気入りタイヤの成形方法
JP4138688B2 (ja) * 2004-03-25 2008-08-27 住友ゴム工業株式会社 空気入りタイヤ
FR2871735B1 (fr) * 2004-06-16 2006-08-04 Michelin Soc Tech Bande de roulement ayant des incisions zigzag et lames pour le moulage de telles incisions
EP1780052B1 (en) * 2004-08-06 2010-04-14 Kabushiki Kaisha Bridgestone Pneumatic tire and method of producing the same
JP4863351B2 (ja) * 2005-06-30 2012-01-25 株式会社ブリヂストン 空気入りタイヤ
JP5168810B2 (ja) * 2006-04-07 2013-03-27 横浜ゴム株式会社 空気入りタイヤ及びその空気入りタイヤの成形用金型。
JP4899650B2 (ja) * 2006-06-07 2012-03-21 横浜ゴム株式会社 空気入りタイヤ
DE602006008764D1 (de) * 2006-06-26 2009-10-08 Goodyear Tire & Rubber Reifenlauffläche mit Feineinschnitten und Lamelle für Reifenvulkanisierungsform
JP2008087648A (ja) * 2006-10-03 2008-04-17 Bridgestone Corp 空気入りタイヤ
NL2000322C2 (nl) * 2006-11-20 2008-05-21 Vredestein Banden B V Loopvlak van een rubberband.
JP4316603B2 (ja) * 2006-11-27 2009-08-19 東洋ゴム工業株式会社 空気入りタイヤ
JP5045390B2 (ja) * 2007-11-21 2012-10-10 横浜ゴム株式会社 空気入りタイヤ
FR2939361A1 (fr) * 2008-12-05 2010-06-11 Michelin Soc Tech Bande de roulement pour pneu comportant des incisions pourvues de protuberances
BRPI0924603A2 (pt) * 2009-05-13 2016-03-01 Michelin Rech Tech pneumático e aparelho para moldar ou recauchutar um pneumático
JP5509889B2 (ja) * 2010-02-02 2014-06-04 横浜ゴム株式会社 空気入りタイヤ
FR2958213B1 (fr) * 2010-03-31 2012-03-23 Michelin Soc Tech Bande de roulement de pneu comportant des incisions
JP5516492B2 (ja) * 2010-05-11 2014-06-11 横浜ゴム株式会社 空気入りタイヤ
JP5516500B2 (ja) * 2010-06-25 2014-06-11 横浜ゴム株式会社 空気入りタイヤ
FR2965512B1 (fr) * 2010-09-30 2012-09-21 Michelin Soc Tech Bande de roulement perfectionnee pour pneumatique.
CN102442166B (zh) * 2010-10-13 2015-07-01 东洋橡胶工业株式会社 充气轮胎
MX2013004744A (es) * 2010-10-27 2013-10-03 Michelin & Cie Banda de rodadura de neumatico con surcos y metodo para la manufactura de banda de rodadura de neumatico con surcos.
JP4894968B1 (ja) * 2011-01-19 2012-03-14 横浜ゴム株式会社 空気入りタイヤ

Also Published As

Publication number Publication date
EP2934921A1 (en) 2015-10-28
US20150328935A1 (en) 2015-11-19
CN104884277A (zh) 2015-09-02
WO2014100370A1 (en) 2014-06-26
BR112015014951A2 (pt) 2017-07-11
EP2934921A4 (en) 2016-08-10
JP2016505444A (ja) 2016-02-25

Similar Documents

Publication Publication Date Title
JP5873455B2 (ja) 空気入りタイヤ
US10882362B2 (en) Stiffeners for sipe-molding members
FI126141B (fi) Pneumaattinen rengas
KR101381585B1 (ko) 원주방향 트레드에 오목한 리세스를 포함하는 타이어
JP6364781B2 (ja) 空気入りタイヤ
JP6141830B2 (ja) インサートとサイプを組み合わせたトレッド
US20170001478A1 (en) Tread for heavy-goods vehicle tire
CA2783999C (en) Pneumatic vehicle tire
US9180739B2 (en) Pneumatic tire
JP2008007102A (ja) サイプを備えたトレッドを有するタイヤ、及びタイヤ用のサイプブレード
JP2009280035A (ja) 空気入りタイヤ
WO2015156413A1 (ja) ゴム物品用金型、タイヤ製造方法及びタイヤ
US9308780B2 (en) Tire tread having incisions
US10661608B2 (en) Tread for an earthmover tire, comprising incised blocks
JP6217405B2 (ja) 空気入りタイヤ
JP6141998B2 (ja) タイヤ
CN107107190B (zh) 用于制造胎面模制元件的激光烧结方法
JP6076818B2 (ja) 航空機用タイヤ
JP6236857B2 (ja) 空気入りタイヤ
US20220194037A1 (en) Mold segment irregular wear and noise countermeasure
CN105307844B (zh) 用于模制和硫化轮胎胎面的包括切割构件的模制元件
JP2010274800A (ja) 空気入りタイヤおよびそれを製造するタイヤ加硫金型
KR20150094613A (ko) 타이어 트레드
JP2015036221A (ja) ブレード及びタイヤ金型

Legal Events

Date Code Title Description
A521 Request for written amendment filed

Free format text: JAPANESE INTERMEDIATE CODE: A523

Effective date: 20150622

A621 Written request for application examination

Free format text: JAPANESE INTERMEDIATE CODE: A621

Effective date: 20150622

A131 Notification of reasons for refusal

Free format text: JAPANESE INTERMEDIATE CODE: A131

Effective date: 20160329

A601 Written request for extension of time

Free format text: JAPANESE INTERMEDIATE CODE: A601

Effective date: 20160629

A521 Request for written amendment filed

Free format text: JAPANESE INTERMEDIATE CODE: A523

Effective date: 20160704

A131 Notification of reasons for refusal

Free format text: JAPANESE INTERMEDIATE CODE: A131

Effective date: 20161108

A601 Written request for extension of time

Free format text: JAPANESE INTERMEDIATE CODE: A601

Effective date: 20170208

A521 Request for written amendment filed

Free format text: JAPANESE INTERMEDIATE CODE: A523

Effective date: 20170410

TRDD Decision of grant or rejection written
A01 Written decision to grant a patent or to grant a registration (utility model)

Free format text: JAPANESE INTERMEDIATE CODE: A01

Effective date: 20170425

A61 First payment of annual fees (during grant procedure)

Free format text: JAPANESE INTERMEDIATE CODE: A61

Effective date: 20170508

R150 Certificate of patent or registration of utility model

Ref document number: 6141998

Country of ref document: JP

Free format text: JAPANESE INTERMEDIATE CODE: R150

LAPS Cancellation because of no payment of annual fees