JP6141084B2 - 撮像装置 - Google Patents

撮像装置 Download PDF

Info

Publication number
JP6141084B2
JP6141084B2 JP2013088026A JP2013088026A JP6141084B2 JP 6141084 B2 JP6141084 B2 JP 6141084B2 JP 2013088026 A JP2013088026 A JP 2013088026A JP 2013088026 A JP2013088026 A JP 2013088026A JP 6141084 B2 JP6141084 B2 JP 6141084B2
Authority
JP
Japan
Prior art keywords
image
region
interest
output
setting
Prior art date
Legal status (The legal status is an assumption and is not a legal conclusion. Google has not performed a legal analysis and makes no representation as to the accuracy of the status listed.)
Active
Application number
JP2013088026A
Other languages
English (en)
Other versions
JP2014212462A (ja
Inventor
菊池 孝之
孝之 菊池
Current Assignee (The listed assignees may be inaccurate. Google has not performed a legal analysis and makes no representation or warranty as to the accuracy of the list.)
Canon Inc
Original Assignee
Canon Inc
Priority date (The priority date is an assumption and is not a legal conclusion. Google has not performed a legal analysis and makes no representation as to the accuracy of the date listed.)
Filing date
Publication date
Application filed by Canon Inc filed Critical Canon Inc
Priority to JP2013088026A priority Critical patent/JP6141084B2/ja
Priority to US14/256,160 priority patent/US9811751B2/en
Priority to CN201410160302.5A priority patent/CN104113710B/zh
Publication of JP2014212462A publication Critical patent/JP2014212462A/ja
Application granted granted Critical
Publication of JP6141084B2 publication Critical patent/JP6141084B2/ja
Active legal-status Critical Current
Anticipated expiration legal-status Critical

Links

Images

Classifications

    • GPHYSICS
    • G06COMPUTING OR CALCULATING; COUNTING
    • G06VIMAGE OR VIDEO RECOGNITION OR UNDERSTANDING
    • G06V10/00Arrangements for image or video recognition or understanding
    • G06V10/20Image preprocessing
    • G06V10/22Image preprocessing by selection of a specific region containing or referencing a pattern; Locating or processing of specific regions to guide the detection or recognition
    • G06V10/225Image preprocessing by selection of a specific region containing or referencing a pattern; Locating or processing of specific regions to guide the detection or recognition based on a marking or identifier characterising the area
    • HELECTRICITY
    • H04ELECTRIC COMMUNICATION TECHNIQUE
    • H04NPICTORIAL COMMUNICATION, e.g. TELEVISION
    • H04N25/00Circuitry of solid-state image sensors [SSIS]; Control thereof
    • H04N25/40Extracting pixel data from image sensors by controlling scanning circuits, e.g. by modifying the number of pixels sampled or to be sampled
    • H04N25/44Extracting pixel data from image sensors by controlling scanning circuits, e.g. by modifying the number of pixels sampled or to be sampled by partially reading an SSIS array
    • H04N25/443Extracting pixel data from image sensors by controlling scanning circuits, e.g. by modifying the number of pixels sampled or to be sampled by partially reading an SSIS array by reading pixels from selected two-dimensional [2D] regions of the array, e.g. for windowing or digital zooming

Landscapes

  • Engineering & Computer Science (AREA)
  • Multimedia (AREA)
  • Physics & Mathematics (AREA)
  • General Physics & Mathematics (AREA)
  • Theoretical Computer Science (AREA)
  • Signal Processing (AREA)
  • Studio Devices (AREA)
  • Transforming Light Signals Into Electric Signals (AREA)
  • Closed-Circuit Television Systems (AREA)

Description

本発明は、撮像装置に関し、特に撮影画像の部分読出し出力機能を有する撮像装置に関するものである。
工場の製造ラインにおいて検査者が行う目視検査の代わりに、画像入力用の撮像装置が用いられてきている。これらの撮像装置は、マシンビジョンカメラとも呼ばれ、各種部品や製品をコンピュータやデジタル入出力機器とともに検査するために用いられている。近年では、検査精度を向上させるために、1000万以上の画素を有する撮像装置が使用されるようになってきた。
このような撮像装置で被写体を撮像し、画素配列の全画素から信号を読み出す場合、画素数が多いため、画素配列から信号を読み出すための時間が長くなる。これにより、1秒あたりの撮像枚数が減少する。また、撮像した映像を外部に出力するデータ量が多くなるため、フレームレートが低下する。このように、マシンビジョンカメラでは、撮像する画素数に伴って、読み出し時間の合計時間が変化するとともに、映像として撮像装置外部に送出する画素数に伴って、フレームレートが変化することとなる。
そこで、特許文献1では、画素配列の一部を関心領域として指定し、該関心領域のみを読み出しする、所謂間引き読み出しを行うことにより、画素配列から信号を読み出すための時間を短縮する技術が提案されている。この技術によれば、1秒あたりの撮像枚数が増加する。また、撮像した映像を外部に出力するデータ量少なくなり、フレームレートが増加する。このような間引き読み出しの設定は動的に行うことができ、読み出した画素数や外部に出力するデータ量にしたがって、フレームレートが変化する。
例えば、特許文献1では撮影前の画角合わせを容易に行えるようにするため、撮像素子の読出しを操作し、全画素と部分拡大画素を表示装置に同時表示させる手法が開示されている。
特開平9−214836号公報
しかしながら、上述の特許文献に開示された従来技術では、関心領域が複数ある時に対応することが出来ない。また、全画素映像に対する関心領域の相対位置関係が明確化されていないため、関心領域を設定する際に困難である。
そこで、本発明の目的は、複数の関心領域を設定する際、全画素映像に対する関心領域設定状況を素早く把握することが可能となり、撮影前の環境設定を容易にする撮像装置を提供することである。
上記目的を達成するために、本発明の撮像装置は、イメージセンサの撮像領域内に複数の関心領域を設定するための信号を入力する関心領域設定入力手段と、前記イメージセンサから画像信号を読み出す読出し領域を設定する読出し領域設定手段と、前記イメージセンサからの前記読出し領域の画素信号の読出しを制御するセンサ読出し制御手段と、前記センサ読出し制御手段によって読み出された画素信号に基づき、出力する画像信号を生成する出力信号生成手段と、出力する画像信号で形成される画像において、関心領域の境界を識別可能とするための境界識別手段と、を有し、前記境界識別手段は、関心領域の縁取り線の画像信号を生成する枠信号発生手段であり、前記出力信号生成手段は、前記センサ読出し制御手段によって読み出された画素信号に、該枠信号発生手段からの縁取り線の画像信号を重畳して、出力する画像信号を生成することを特徴とする。
本発明によれば複数の関心領域の設定時に本発明を適用することにより、全画素に対する各関心領域の設定状況を素早く把握することができ、撮影前の画角合わせが容易に行える撮像装置を提供することができる。
実施例1の撮像装置における構成図 イメージセンサ構成図 撮影構図の例 撮影映像の例 関心領域設定例 実施例1におけるアドレス変換部での処理のフローチャート 実施例1の全画素読出し時の出力映像 実施例1の部分読出し時の出力映像 実施例1の全画素読出し時の出力映像 実施例1の部分読出し時の例 実施例2の撮像装置における構成図 実施例2の部分読出し出力映像 実施例3の撮像装置における構成図
以下に、本発明の好ましい実施の形態を、添付の図面に基づいて詳細に説明する。
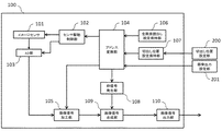
図1に本発明の第1の実施例の撮像装置の構成図を示す。
撮像装置100は、イメージセンサ101を含む撮像系を有し、センサ駆動制御部102(センサ読出し制御手段)およびAD部103、アドレス変換部104によって撮像処理を行う。不図示のレンズを通った光束は、撮像装置100のイメージセンサ101に結像する。センサ駆動制御部102は、イメージセンサ101の蓄積動作や読み出し動作の制御を行う。センサ駆動制御部102によってイメージセンサ101の撮像処理を行うと、イメージセンサ101からは撮像信号がAD部103に出力され、AD部103にてAD変換される。アドレス変換部(読出し領域設定手段)104は、センサ駆動制御部102がイメージセンサ101を蓄積制御と読み出し制御を行う対象画素となるアドレスを算出する。イメージセンサ101からの間引き読み出しを行う場合は、イメージセンサ101の全画素のうち、読み出しを行う画素を対象画素としてアドレス出力し、読み出し対象とならないアドレスはスキップする。画像信号加工部105は、AD部103からの撮像信号データと、アドレス変換部104からの信号を入力し、撮像信号データに対し、フレーム同期信号や垂直同期信号、水平同期信号などを付与する。切出し領域設定部(関心領域設定入力手段)200は、撮像装置100の外部から、イメージセンサの撮像領域内で必要な画像データ(物体画像)を含む領域(以後、「関心領域」と記載する)の座標データを入力し設定する。外部とは、例えばPCなどから通信手段を用いて設定を行い、切出し位置設定部200に切り出し位置を設定する。切出し位置設定保持部107は、切出し位置設定部200で入力された設定データを保持する。全画素読出し設定保持部106は、イメージセンサ101の全画素を蓄積、読み出しするための範囲設定値を保持している。
アドレス変換部104は切出し位置設定保持部107と全画素読出し設定保持部106からの設定データを入力し、いずれかの設定データを選択し、センサ駆動制御部102と画像信号加工部105へ渡す。また、枠信号発生部108(境界識別手段)へ切出し位置設定保持部107の設定データを渡す。枠信号発生部108は、アドレス変換部104からの信号に基づき、切出し位置設定部200にて設定した関心領域を縁取る縁取り線を表示し、出力される画像内での関心領域の境界を明確に識別するための枠信号を生成する。
画像出力設定部201は、撮像装置100の外部から、関心領域を縁取り線と共に表示するか否かの設定及び、関心領域外の画素データを除外して出力するか、又は全画素のデータを出力するかの設定を行う。外部とは、例えばPCなどから通信手段を用いて設定を行い、枠信号発生部108に関心領域を示す枠表示の設定をする。
画像信号合成部109は、画像信号加工部105から出力される撮像信号データと枠信号発生部108の関心領域を表示するための枠信号を画像出力設定部201からの設定値に応じて画像を合成する。画像信号出力部110は、画像信号合成部109で生成された出力画像信号を撮像装置100の外部へ出力する。
画像信号加工部105と画像信号合成部109で出力信号生成手段を構成し、イメージセンサ101から読み出された画素データ、及び、読出し領域、関心領域、上記の各種同期信号等の情報に基づき、撮像装置100の外部へ出力する出力画像信号を生成する。
図2に、CMOSセンサ等、センサの一部領域の画素データのみを読み出すことが可能なイメージセンサ101の構造を示す。図2のImgは、撮像素子の画素エリアを示している。図2中の11から33までは、Imgに構成される画素配列の一部を示している。Img中の各画素は、V1、V2、V3、・・・およびH1、H2、H3、・・・の信号ラインを介して、垂直回路1011および水平回路1012にそれぞれ接続されている。垂直回路1011へは、Img中の各ラインの蓄積開始対象および蓄積終了対象を選択するためのVstselおよびVendsel、蓄積開始および終了のトリガを与えるためのVstおよびVendの信号ラインが接続されている。VstselおよびVendselから、トリガを入力されると、イメージセンサ101の参照するライン(V1、V2、V3、・・・)を垂直方向にインクリメントする。また、同様にして、水平回路1012には、Vendselで選択されたラインの水平方向の画素を選択するためのHselと、読み出しパルスを与えるためのHplsの信号ラインが接続されている。HselやHplsもVstselやVendselと同様に、トリガが与えられると、Vstselで選択中の垂直ライン中の参照画素を水平方向にインクリメントする。これらの信号ライン、Vstsel、Vendsel、Vst、Vend、Hsel、Hpls、を介して、図1のセンサ駆動制御部102から制御信号が入力される。Hplsに読み出し制御のためのパルスが入力されると、図2のアンプ1013を通じて、信号ラインoutから撮像信号がアナログ出力される。この撮像信号は、図1のAD部103に入力される。AD部103は、Hplsに同期して、AD部103に入力された撮像信号をAD変換する。センサ駆動制御部102で上記各制御信号を制御することで、イメージセンサ101の一部領域のみから画素データを読み出すことが可能となる。
図3は、本発明の撮像装置100を用いて、撮影対象物Ta、Tb、Tc、Tdを撮影している構図を示している。図3の点線部分は、撮像装置100の画角を示している。このときの撮影映像を図4に示す。本実施例では、図3および図4で示す撮影映像において、撮影対象物Ta、Tb、Tc、Tdを含めた4つの周辺エリアを各関心領域として間引き読み出しを行う例について説明する。関心領域の数として4つの場合を例示するが、本発明は複数の関心領域を設定する場合に同様に適用できる。なお、本実施例では、撮影映像の画素数が横1000×縦1000を説明のために例示するが、本発明の撮影映像の画素数についてはこれに限定されない。以後、説明を容易にするため、撮影映像内の位置を直交XY座標(X、Y)で示し、図中、左右(水平)方向を右方向にX方向、上下(垂直)方向を下方向にY方向とする。本実施例では、撮影映像の左上の座標を(1,1)とし、右下の座標を(1000,1000)として説明する。
本実施例では、図5に示すように、Ta、Tb、Tc、Tdの4つの撮影対象物に対し、図1の切出し位置設定部200によって、4つの関心領域(ImgA、ImgB,ImgC、ImgD)が設定された場合の部分読み出し方法について説明する。
関心領域ImgA、ImgB、ImgC、ImgDは、それぞれ撮影対象物Ta、Tb、Tc、Tdを含む領域であり、それぞれの領域の左上と右下の座標を与えることで、その座標を対角とする矩形の関心領域を定義する。図5では、関心領域ImgAは、左上(101,101)、右下(300,300)で囲まれた矩形領域である。関心領域ImgBは、左上(701,101)、右下(900,300)で囲まれた矩形領域である。関心領域ImgCは、左上(101,701)、右下(300,900)で囲まれた矩形領域である。関心領域ImgDは、左上(701,701)、右下(900,900)で囲まれた矩形領域である。図1の切出し位置設定部200は、不図示のコンピュータや設定手段などから設定しても良く、例えば、撮像装置に接続されたマウス、ジョイスティック、その他の入力手段を含む設定手段によって構成しても良い。
本実施例では、図5のように設定された関心領域については部分読み出しを行い、関心領域以外の部分に関しては、読み飛ばしを行うことで、読み出し時間を減少させる。すなわち、イメージセンサにおいて、関心領域が存在しない部分を演算し、X座標値がどの関心領域のX座標の範囲にも含まれない領域とY座標値がどの関心領域のY座標の範囲にも含まれない領域を除外領域と定義して、画素情報を読み出す領域から除外することが可能となる。
図1の切出し位置設定部200によって、図5に示すような関心領域ImgA、ImgB、ImgC、ImgDの座標がそれぞれ設定されると、切出し位置設定保持部107が、各関心領域の設定座標を保持する。アドレス変換部104は、切出し位置設定保持部107の設定値か、全画素読出し設定保持部106の設定値かを選択する。切出し位置設定部200による関心領域設定がない場合、アドレス変換部104では全画素読出し設定保持部106で保持されている設定値が選択され、全画素読出しモードとして動作する。また、切出し位置設定部200にて関心領域が設定されている場合、アドレス変換部104では切出し位置設定保持部107で保持されている設定値が選択され、部分読出しモードとして動作する。ここでは、図5に示したように、切出し位置設定部200によって、関心領域ImgAからImgDが設定されているため、アドレス変換部104は切出し位置設定保持部107での設定値を選択する。
次に、アドレス変換部104は、イメージセンサ101の蓄積および読み出しを行うためのアドレス情報であるラインや画素ナンバーをセンサ駆動制御部102に対して発行する。アドレス変換部104は、関心領域ImgAからImgDの全座標から、すべての画素位置(水平方向位置Hn)において関心領域を含まないライン(Vn)、及び、全てのライン(Vn)において関心領域を含まない水平方向画素位置(Hn)を求める。すなわち、図5より、次のように算出できる。全画面(1000,1000)において、垂直方向で間引き可能なライン(垂直方向位置)は、ラインV1からV100、ラインV301からV700、ラインV901からV1000である。さらに、水平方向で間引き可能な画素(水平方向位置)は、1画素目から100画素目、301画素目から700画素目、901画素目から1000画素目である。これらのラインおよび水平方向の画素(アドレス)は間引いて読み出すこととする。
図2のアドレス変換部104が行うアドレス発行処理は、センサ駆動制御部102のイメージセンサ101に対するライン制御と同期して行われる。センサ駆動制御部102によるライン制御が完了すると、次のラインを制御するためのアドレス情報を更新して出力する。
図6のフローチャートを参照してアドレス変換部104の動作を詳細に説明する。
ステップS601にて切出し位置設定部200から関心領域となる領域の座標データを入力し、切出し位置設定保持部107に記憶する。ステップS602では関心領域の設定がすべて終了したかを判断し、終了した場合はステップS603へ移行する。関心領域の設定が終了していない場合はステップS601へ戻り、関心領域の設定を繰り返す。
ステップS603では画像出力設定部201から指定される枠信号を表示するか否かと撮像装置の出力画素数を読み込む。ステップS604ではステップS603で読み込んだ撮影装置の設定出力画素数を判断し、全画素出力設定時はステップS605へ移行する。出力画素数が全画素で無い場合はステップS606へ移行する。ステップS605では全画素読出し用のアドレスをセンサ駆動制御部102と画像信号加工部105へも送出し、ステップS607へ移行する。ステップS606では切出し位置設定保持部107に保持されている切出し位置情報に対応するアドレスをセンサ駆動制御部102と画像信号加工部105へも送出し、ステップS608へ移行する。
ステップS607では切出し位置設定保持部107に切出し位置情報が保持されているか否かを判定し、切出し位置情報が保持されている場合はステップS608へ移行し、保持されていない場合はステップS610へ移行する。ステップS608では画像出力設定部201から指定された枠信号の表示状態を判定し、表示する場合はステップS609へ移行し、表示しない場合はステップS610へ移行する。
ステップS609では画像信号加工部105からの画像出力データに枠信号発生部108からの枠信号を画像信号合成部109にて重畳し、ステップS610へ送出する。
ステップS610では画像信号合成部109で生成された出力画像信号を撮像装置100の外部へ出力する。
このような撮像装置100で得られる画像出力データの例を示す。まず、図7(a)は全画素出力で、枠表示無し設定での画像出力イメージであり、マシンビジョンカメラの初期の状態を示す。図7(a)の画像出力データを確認し、検査対象ImgA〜ImgDを撮像している4つの画素領域を切り出し位置設定部200で関心領域として設定し、読み出された関心領域のみ信号を画像化したものが図7(b)となる。図7(b)では各検査対象ImgA〜ImgDが捉えられているが、撮像画面のどの部分を切り出したか判別ができない状態であり、また、4つの関心領域の境界が判断できない状態となっている。これに対し図8(a)は、ステップS604で全画素出力と判断し、ステップS608で枠表示有りと判断した状態での画像出力イメージである。この表示状態はマシンビジョンカメラが撮像している全体の画面のどこを切り出しているかを確認するのに好適で、例えば検査対象が切出し位置以外の場所にいる場合、検査対象を関心領域に取り込むように関心領域を変更する際に効果を発揮する。
また、図8(b)はステップS604で部分切出し出力と判断し、ステップS608で枠表示有りと判断した状態での画像出力イメージである。この表示状態は切出し画像の状態で各関心領域の境界が明確になるので検査対象外の異物が撮像された時にどこの切り出し位置に異物がいるか判断を付ける際に有効である。
上記の例で説明した関心領域は、それぞれの領域が、ライン方向(縦方向)、及びライン内の画素方向(横方向)で端部が一致している場合を示した。すなわち、4つの関心領域が、縦横で2×2の整然とした行列として配列している場合である。関心領域の大きさが互いに異なる場合や、縦方向又は横方向で互いの端部の位置が一致していない場合の例を図9に示す。このような場合は、部分読出しが設定されると、どの関心領域にも含まれないライン(縦方向位置)(図10(a)中のA,B,C)、画素位置(横方向位置)(図10(a)中のD,E,F)は読み飛ばされる。そして、関心領域の枠表示が設定されていない場合は、図10(b)のような画像が出力される。この場合においても、関心領域の枠表示を設定することによって、図10(c)のような画像が出力され、各関心領域の境界が明確にされ、撮影対象物(Ta,Tb,Tc,Td)の関心領域内での有無、位置を把握することができる。また、このような部分読出しにより、簡易な構成により出力データ量を減少させ、早いフレームレートでの画像出力に対応可能とすることができる。
本実施例では、切出し位置設定部200、画像出力設定部201はPC等外部から時設定情報を受ける機能を有するものとし、説明したが、撮像装置100本体で設定しても構わない。
以上、複数の関心領域の設定時に本発明を適用することにより、全画素に対する各関心領域の設定状況を素早く把握することが出来、撮影前の画角合わせが容易に行える。
図11に本発明の第2の実施例の撮像装置の構成図を示す。本実施例の特徴は、関心領域以外の画素データの階調を落とすことで、関心領域の表示を識別可能とすることにある。なお、実施例1と同一部分の説明は省略する。
図11において、切出し位置設定部200及び画像出力設定部201を介して得た切出し領域設定情報、枠表示設定情報、全画素表示設定情報を階調変更信号発生部111で受け取る。そして、関心領域に含まれる画素か否かの識別フラグを生成し、画素データ階調変換部112へ出力する。画素データ階調変換部112では関心領域内の画素についてはイメージセンサから読出した階調のまま画像信号出力部110を介し外部へ出力する。関心領域外の画素についてはAD部103のデータの下位ビットを遮断する(下位ビットを0又は1でマスクする)等の処理を行い、階調を落として出力する(図12)。
実施例2のアドレス変換部での処理のフローチャートは図6に示した実施例1のフローチャートと同様であり、階調低減処理をステップS609の画像合成処理にて行うことが異なる。
この構成をとることにより、枠表示を階調低減表示で代替できるので、枠表示で撮像画素のデータを上書きせずに、関心領域の判別をすることが可能となる。
図13に本発明の第3の実施例の撮像装置の構成図を示す。本実施例の特徴は、画素の間引き機能が機能した場合、全画素表示での枠表示は設定された機能に従って行うことにある。
画素の間引き機能の設定は例えば、1画素飛ばし、2画素飛ばし等、切出し設定された領域内の画素を全画素読み出さない設定をおこなう。このような画素情報の間引き設定は、外部のPC等から設定値が与えられる画像間引き設定部203(画像出力設定手段)から画像間引き処理部113(画素間引き処理手段)に与えられ、イメージセンサ101から読み出された画素データに対し間引き処理を行う。画素信号合成部109は、間引かれた画素信号に基づいて画像信号を生成する。
この構成で実施例1と同等の枠表示させた際、全画素表示のときは、設定された関心領域以外の画素も設定された画素間引き状態で画像信号を生成され、間引かれた画素信号に対応する枠信号を重畳して形成された画像信号が出力される。
このような構成をとることにより、出力される画像信号の信号量を低減させて、フレームレートを上げることが可能な、関心領域の位置が出力画像内で識別可能な画像信号を出力することができる。
100 撮像装置
101 イメージセンサ
102 センサ駆動制御部(センサ読出し制御手段)
104 アドレス変換部(読出し領域設定手段)
105 画像信号加工部(出力信号生成手段)
108 枠信号発生部(境界識別手段)
109 画像信号合成部(出力信号生成手段)
200 切出し位置設定部(関心領域設定入力手段)

Claims (8)

  1. イメージセンサの撮像領域内に複数の関心領域を設定するための信号を入力する関心領域設定入力手段と、
    前記イメージセンサから画像信号を読み出す読出し領域を設定する読出し領域設定手段と、
    前記イメージセンサからの前記読出し領域の画素信号の読出しを制御するセンサ読出し制御手段と、
    前記センサ読出し制御手段によって読み出された画素信号に基づき、出力する画像信号を生成する出力信号生成手段と、
    出力する画像信号で形成される画像において、関心領域の境界を識別可能とするための境界識別手段と、
    を有し、
    前記境界識別手段は、関心領域の縁取り線の画像信号を生成する枠信号発生手段であり、
    前記出力信号生成手段は、前記センサ読出し制御手段によって読み出された画素信号に、該枠信号発生手段からの縁取り線の画像信号を重畳して、出力する画像信号を生成する
    ことを特徴とする撮像装置。
  2. 前記読出し領域設定手段は、直交XY座標における関心領域それぞれの座標に基づき、X座標値がいずれの関心領域のX座標の範囲にも含まれない領域とY座標値がいずれの関心領域のY座標の範囲にも含まれない領域と、を除外領域として除いた領域を読出し領域として設定することを特徴とする請求項に記載の撮像装置。
  3. 前記境界識別手段による関心領域の境界を識別する処理を出力画像にするか否かを設定する画像出力設定手段を有する、ことを特徴とする請求項1又は2に記載の撮像装置。
  4. 前記読出し領域設定手段が設定する読出し領域を、全てのイメージセンサの領域とするか、前記除外領域を除いた領域とするか、を設定する画像出力設定手段を有する、ことを特徴とする請求項に記載の撮像装置。
  5. イメージセンサから読み出された画素信号を間引いてから出力信号生成手段に入力する画像間引き処理手段を有する、ことを特徴とする請求項1乃至のいずれか1項に記載の撮像装置。
  6. 前記画像間引き処理手段による間引き処理をするか否かの設定をする画像出力設定手段を有する、ことを特徴とする請求項に記載の撮像装置。
  7. イメージセンサと、
    前記イメージセンサの撮像領域内に関心領域を設定する設定手段と、
    前記イメージセンサから前記関心領域の画像信号を部分的に読み出す第1モードと、前記イメージセンサから前記撮像領域の画像信号を全て読み出す第2モードのいずれかに従って画像信号を読み出す読出し手段と、
    前記読出し手段によって読み出された画像信号に基づいて画像を出力する出力手段と、を備え、
    前記出力手段は、前記設定手段によって前記関心領域が設定された後、前記読出し手段が前記第2モードに従って読み出した画像信号に基づいて画像を出力する場合、前記関心領域の境界を識別可能とするための縁取り線を前記画像に重畳して出力することを特徴とする撮像装置。
  8. 前記読出し手段は、直交XY座標における関心領域それぞれの座標に基づき、X座標値がいずれの関心領域のX座標の範囲にも含まれない領域とY座標値がいずれの関心領域のY座標の範囲にも含まれない領域と、を除外領域として除いた領域を読出し領域として読み出すことを特徴とする請求項7に記載の撮像装置。
JP2013088026A 2013-04-19 2013-04-19 撮像装置 Active JP6141084B2 (ja)

Priority Applications (3)

Application Number Priority Date Filing Date Title
JP2013088026A JP6141084B2 (ja) 2013-04-19 2013-04-19 撮像装置
US14/256,160 US9811751B2 (en) 2013-04-19 2014-04-18 Image pickup apparatus with boundary identifier for areas of interest
CN201410160302.5A CN104113710B (zh) 2013-04-19 2014-04-21 摄像设备和摄像系统

Applications Claiming Priority (1)

Application Number Priority Date Filing Date Title
JP2013088026A JP6141084B2 (ja) 2013-04-19 2013-04-19 撮像装置

Publications (2)

Publication Number Publication Date
JP2014212462A JP2014212462A (ja) 2014-11-13
JP6141084B2 true JP6141084B2 (ja) 2017-06-07

Family

ID=51710330

Family Applications (1)

Application Number Title Priority Date Filing Date
JP2013088026A Active JP6141084B2 (ja) 2013-04-19 2013-04-19 撮像装置

Country Status (3)

Country Link
US (1) US9811751B2 (ja)
JP (1) JP6141084B2 (ja)
CN (1) CN104113710B (ja)

Families Citing this family (10)

* Cited by examiner, † Cited by third party
Publication number Priority date Publication date Assignee Title
US20140313381A1 (en) * 2013-04-19 2014-10-23 Canon Kabushiki Kaisha Image pickup apparatus
JP2017195584A (ja) * 2016-04-22 2017-10-26 キヤノン株式会社 撮像装置
KR102526559B1 (ko) 2016-09-16 2023-04-27 소니 세미컨덕터 솔루션즈 가부시키가이샤 촬상 장치 및 전자 기기
CN110933461B (zh) * 2018-09-19 2022-12-30 中兴通讯股份有限公司 图像处理方法、装置、系统、网络设备、终端及存储介质
CN109831632B (zh) * 2019-01-21 2021-08-10 思特威(上海)电子科技股份有限公司 图像传感器的成像方法
CN110012246B (zh) * 2019-03-26 2020-06-02 电子科技大学 一种焦平面阵列读出电路高速窗口功能的实现方法
KR102747641B1 (ko) 2019-06-26 2024-12-27 삼성전자주식회사 비전 센서, 이를 포함하는 이미지 처리 장치 및 비전 센서의 동작 방법
CN110536083B (zh) * 2019-08-30 2020-11-06 上海芯仑光电科技有限公司 一种图像传感器及图像采集系统
KR102876734B1 (ko) 2020-02-07 2025-10-27 삼성전자 주식회사 이미지를 저장하는 전자 장치 및 방법
WO2026053518A1 (ja) * 2024-09-05 2026-03-12 浜松ホトニクス株式会社 量子ビット検出モジュール及び量子ビット制御システム

Family Cites Families (8)

* Cited by examiner, † Cited by third party
Publication number Priority date Publication date Assignee Title
JPH09214836A (ja) * 1996-02-07 1997-08-15 Olympus Optical Co Ltd 撮像装置
AU2001286466A1 (en) * 2000-08-11 2002-02-25 Holomage, Inc. Method of and system for generating and viewing multi-dimensional images
JP4416753B2 (ja) 2006-03-31 2010-02-17 キヤノン株式会社 固体撮像装置
JP4367963B2 (ja) * 2007-10-24 2009-11-18 キヤノン株式会社 撮像装置、撮像システム、及び撮像装置の駆動方法
JP5142825B2 (ja) * 2008-05-28 2013-02-13 キヤノン株式会社 画像表示装置及び画像表示方法
IL204089A (en) * 2010-02-21 2014-06-30 Elbit Systems Ltd A method and system for detection and tracking based on frequency multiplicity and multiplicity
JP5907738B2 (ja) 2012-01-23 2016-04-26 オリンパス株式会社 撮像装置、表示方法、プログラム
RU2012119843A (ru) * 2012-05-15 2013-11-20 Общество с ограниченной ответственностью "Синезис" Способ отображения видеоданных на мобильном устройстве

Also Published As

Publication number Publication date
CN104113710B (zh) 2018-01-30
CN104113710A (zh) 2014-10-22
US20140313320A1 (en) 2014-10-23
JP2014212462A (ja) 2014-11-13
US9811751B2 (en) 2017-11-07

Similar Documents

Publication Publication Date Title
JP6141084B2 (ja) 撮像装置
JP6702323B2 (ja) カメラモジュール、固体撮像素子、電子機器、および撮像方法
US8036482B2 (en) Image processing apparatus and method, program, and recording medium
US20110228044A1 (en) Imaging apparatus, imaging method and recording medium with program recorded therein
JP2014150443A (ja) 撮像装置、その制御方法及びプログラム
JP2006245793A (ja) 撮像システム
JP5141470B2 (ja) 画像合成方法および画像処理システム
JP2007288731A (ja) リアルタイムパノラマ画像合成方法及びその装置
JP2009065519A (ja) 画像処理装置
KR20130140389A (ko) 영상 제공 장치 및 방법
JP2013130529A (ja) 検査装置、検査システム、検査方法、コンピュータを検査装置として機能させるためのプログラム、コンピュータを検査システムとして機能させるためのプログラム、当該プログラムを格納したコンピュータ読み取り可能な不揮発性のデータ記録媒体
JP6565326B2 (ja) 撮像表示装置及びその制御方法
JP5537048B2 (ja) 画像表示装置、画像表示方法、撮像装置、及び撮像装置の制御方法
JP6162971B2 (ja) 画像処理装置、画像処理方法、撮像装置及びその制御方法
US20140313381A1 (en) Image pickup apparatus
JP2008028876A (ja) 多分割画面表示装置
JP2005227931A (ja) 画像処理装置
JP2016039597A (ja) 画像処理装置、画像処理方法及びプログラム
JP2018207254A (ja) 撮像装置、制御方法、プログラム及び撮像システム
KR102500462B1 (ko) 화상 처리 장치, 화상 처리 프로그램 및 화상 처리 방법
JP2018063376A (ja) 顕微鏡システム、画像処理方法、および、プログラム
JP2012068761A (ja) 画像処理装置
JP2014155086A (ja) 画角調整装置および画角調整方法
JP5110713B2 (ja) 多眼撮影装置、スルー画像表示方法およびプログラム
US20240265644A1 (en) Head mounted display of video see-through type

Legal Events

Date Code Title Description
A621 Written request for application examination

Free format text: JAPANESE INTERMEDIATE CODE: A621

Effective date: 20160317

A977 Report on retrieval

Free format text: JAPANESE INTERMEDIATE CODE: A971007

Effective date: 20161205

A131 Notification of reasons for refusal

Free format text: JAPANESE INTERMEDIATE CODE: A131

Effective date: 20170124

A521 Request for written amendment filed

Free format text: JAPANESE INTERMEDIATE CODE: A523

Effective date: 20170321

TRDD Decision of grant or rejection written
A01 Written decision to grant a patent or to grant a registration (utility model)

Free format text: JAPANESE INTERMEDIATE CODE: A01

Effective date: 20170404

A61 First payment of annual fees (during grant procedure)

Free format text: JAPANESE INTERMEDIATE CODE: A61

Effective date: 20170502

R151 Written notification of patent or utility model registration

Ref document number: 6141084

Country of ref document: JP

Free format text: JAPANESE INTERMEDIATE CODE: R151