JP6130552B2 - リング成形体の製造方法 - Google Patents

リング成形体の製造方法 Download PDF

Info

Publication number
JP6130552B2
JP6130552B2 JP2016092391A JP2016092391A JP6130552B2 JP 6130552 B2 JP6130552 B2 JP 6130552B2 JP 2016092391 A JP2016092391 A JP 2016092391A JP 2016092391 A JP2016092391 A JP 2016092391A JP 6130552 B2 JP6130552 B2 JP 6130552B2
Authority
JP
Japan
Prior art keywords
ring
molded body
center
ring molded
side region
Prior art date
Legal status (The legal status is an assumption and is not a legal conclusion. Google has not performed a legal analysis and makes no representation as to the accuracy of the status listed.)
Active
Application number
JP2016092391A
Other languages
English (en)
Other versions
JP2016135510A (ja
Inventor
淳 大曽根
淳 大曽根
昌征 渡辺
昌征 渡辺
英男 瀧澤
英男 瀧澤
Current Assignee (The listed assignees may be inaccurate. Google has not performed a legal analysis and makes no representation or warranty as to the accuracy of the list.)
NIPPON INSTITUTE OF TECHNOLOGY
Proterial Ltd
Original Assignee
NIPPON INSTITUTE OF TECHNOLOGY
Hitachi Metals Ltd
Hitachi Metals MMC Superalloy Ltd
Priority date (The priority date is an assumption and is not a legal conclusion. Google has not performed a legal analysis and makes no representation as to the accuracy of the date listed.)
Filing date
Publication date
Application filed by NIPPON INSTITUTE OF TECHNOLOGY, Hitachi Metals Ltd, Hitachi Metals MMC Superalloy Ltd filed Critical NIPPON INSTITUTE OF TECHNOLOGY
Publication of JP2016135510A publication Critical patent/JP2016135510A/ja
Application granted granted Critical
Publication of JP6130552B2 publication Critical patent/JP6130552B2/ja
Active legal-status Critical Current
Anticipated expiration legal-status Critical

Links

Images

Classifications

    • FMECHANICAL ENGINEERING; LIGHTING; HEATING; WEAPONS; BLASTING
    • F01MACHINES OR ENGINES IN GENERAL; ENGINE PLANTS IN GENERAL; STEAM ENGINES
    • F01DNON-POSITIVE DISPLACEMENT MACHINES OR ENGINES, e.g. STEAM TURBINES
    • F01D11/00Preventing or minimising internal leakage of working-fluid, e.g. between stages
    • F01D11/005Sealing means between non relatively rotating elements
    • F01D11/006Sealing the gap between rotor blades or blades and rotor
    • BPERFORMING OPERATIONS; TRANSPORTING
    • B21MECHANICAL METAL-WORKING WITHOUT ESSENTIALLY REMOVING MATERIAL; PUNCHING METAL
    • B21KMAKING FORGED OR PRESSED METAL PRODUCTS, e.g. HORSE-SHOES, RIVETS, BOLTS OR WHEELS
    • B21K21/00Making hollow articles not covered by a single preceding sub-group
    • B21K21/08Shaping hollow articles with different cross-section in longitudinal direction, e.g. nozzles, spark-plugs
    • BPERFORMING OPERATIONS; TRANSPORTING
    • B21MECHANICAL METAL-WORKING WITHOUT ESSENTIALLY REMOVING MATERIAL; PUNCHING METAL
    • B21BROLLING OF METAL
    • B21B5/00Extending closed shapes of metal bands by rolling
    • BPERFORMING OPERATIONS; TRANSPORTING
    • B21MECHANICAL METAL-WORKING WITHOUT ESSENTIALLY REMOVING MATERIAL; PUNCHING METAL
    • B21HMAKING PARTICULAR METAL OBJECTS BY ROLLING, e.g. SCREWS, WHEELS, RINGS, BARRELS, BALLS
    • B21H1/00Making articles shaped as bodies of revolution
    • B21H1/06Making articles shaped as bodies of revolution rings of restricted axial length
    • BPERFORMING OPERATIONS; TRANSPORTING
    • B21MECHANICAL METAL-WORKING WITHOUT ESSENTIALLY REMOVING MATERIAL; PUNCHING METAL
    • B21JFORGING; HAMMERING; PRESSING METAL; RIVETING; FORGE FURNACES
    • B21J13/00Details of machines for forging, pressing, or hammering
    • B21J13/02Dies or mountings therefor
    • BPERFORMING OPERATIONS; TRANSPORTING
    • B21MECHANICAL METAL-WORKING WITHOUT ESSENTIALLY REMOVING MATERIAL; PUNCHING METAL
    • B21JFORGING; HAMMERING; PRESSING METAL; RIVETING; FORGE FURNACES
    • B21J5/00Methods for forging, hammering, or pressing; Special equipment or accessories therefor
    • B21J5/02Die forging; Trimming by making use of special dies ; Punching during forging
    • BPERFORMING OPERATIONS; TRANSPORTING
    • B21MECHANICAL METAL-WORKING WITHOUT ESSENTIALLY REMOVING MATERIAL; PUNCHING METAL
    • B21JFORGING; HAMMERING; PRESSING METAL; RIVETING; FORGE FURNACES
    • B21J5/00Methods for forging, hammering, or pressing; Special equipment or accessories therefor
    • B21J5/06Methods for forging, hammering, or pressing; Special equipment or accessories therefor for performing particular operations
    • BPERFORMING OPERATIONS; TRANSPORTING
    • B21MECHANICAL METAL-WORKING WITHOUT ESSENTIALLY REMOVING MATERIAL; PUNCHING METAL
    • B21KMAKING FORGED OR PRESSED METAL PRODUCTS, e.g. HORSE-SHOES, RIVETS, BOLTS OR WHEELS
    • B21K1/00Making machine elements
    • B21K1/28Making machine elements wheels; discs
    • B21K1/32Making machine elements wheels; discs discs, e.g. disc wheels
    • BPERFORMING OPERATIONS; TRANSPORTING
    • B21MECHANICAL METAL-WORKING WITHOUT ESSENTIALLY REMOVING MATERIAL; PUNCHING METAL
    • B21KMAKING FORGED OR PRESSED METAL PRODUCTS, e.g. HORSE-SHOES, RIVETS, BOLTS OR WHEELS
    • B21K1/00Making machine elements
    • B21K1/76Making machine elements elements not mentioned in one of the preceding groups
    • B21K1/761Making machine elements elements not mentioned in one of the preceding groups rings
    • CCHEMISTRY; METALLURGY
    • C22METALLURGY; FERROUS OR NON-FERROUS ALLOYS; TREATMENT OF ALLOYS OR NON-FERROUS METALS
    • C22CALLOYS
    • C22C19/00Alloys based on nickel or cobalt
    • C22C19/03Alloys based on nickel or cobalt based on nickel
    • CCHEMISTRY; METALLURGY
    • C22METALLURGY; FERROUS OR NON-FERROUS ALLOYS; TREATMENT OF ALLOYS OR NON-FERROUS METALS
    • C22CALLOYS
    • C22C19/00Alloys based on nickel or cobalt
    • C22C19/07Alloys based on nickel or cobalt based on cobalt
    • FMECHANICAL ENGINEERING; LIGHTING; HEATING; WEAPONS; BLASTING
    • F01MACHINES OR ENGINES IN GENERAL; ENGINE PLANTS IN GENERAL; STEAM ENGINES
    • F01DNON-POSITIVE DISPLACEMENT MACHINES OR ENGINES, e.g. STEAM TURBINES
    • F01D5/00Blades; Blade-carrying members; Heating, heat-insulating, cooling or antivibration means on the blades or the members
    • F01D5/02Blade-carrying members, e.g. rotors
    • FMECHANICAL ENGINEERING; LIGHTING; HEATING; WEAPONS; BLASTING
    • F01MACHINES OR ENGINES IN GENERAL; ENGINE PLANTS IN GENERAL; STEAM ENGINES
    • F01DNON-POSITIVE DISPLACEMENT MACHINES OR ENGINES, e.g. STEAM TURBINES
    • F01D5/00Blades; Blade-carrying members; Heating, heat-insulating, cooling or antivibration means on the blades or the members
    • F01D5/02Blade-carrying members, e.g. rotors
    • F01D5/06Rotors for more than one axial stage, e.g. of drum or multiple disc type; Details thereof, e.g. shafts, shaft connections
    • FMECHANICAL ENGINEERING; LIGHTING; HEATING; WEAPONS; BLASTING
    • F02COMBUSTION ENGINES; HOT-GAS OR COMBUSTION-PRODUCT ENGINE PLANTS
    • F02CGAS-TURBINE PLANTS; AIR INTAKES FOR JET-PROPULSION PLANTS; CONTROLLING FUEL SUPPLY IN AIR-BREATHING JET-PROPULSION PLANTS
    • F02C7/00Features, components parts, details or accessories, not provided for in, or of interest apart form groups F02C1/00 - F02C6/00; Air intakes for jet-propulsion plants
    • BPERFORMING OPERATIONS; TRANSPORTING
    • B21MECHANICAL METAL-WORKING WITHOUT ESSENTIALLY REMOVING MATERIAL; PUNCHING METAL
    • B21KMAKING FORGED OR PRESSED METAL PRODUCTS, e.g. HORSE-SHOES, RIVETS, BOLTS OR WHEELS
    • B21K21/00Making hollow articles not covered by a single preceding sub-group
    • B21K21/06Shaping thick-walled hollow articles, e.g. projectiles
    • BPERFORMING OPERATIONS; TRANSPORTING
    • B23MACHINE TOOLS; METAL-WORKING NOT OTHERWISE PROVIDED FOR
    • B23PMETAL-WORKING NOT OTHERWISE PROVIDED FOR; COMBINED OPERATIONS; UNIVERSAL MACHINE TOOLS
    • B23P15/00Making specific metal objects by operations not covered by a single other subclass or a group in this subclass
    • B23P15/006Making specific metal objects by operations not covered by a single other subclass or a group in this subclass turbine wheels
    • FMECHANICAL ENGINEERING; LIGHTING; HEATING; WEAPONS; BLASTING
    • F01MACHINES OR ENGINES IN GENERAL; ENGINE PLANTS IN GENERAL; STEAM ENGINES
    • F01DNON-POSITIVE DISPLACEMENT MACHINES OR ENGINES, e.g. STEAM TURBINES
    • F01D25/00Component parts, details, or accessories, not provided for in, or of interest apart from, other groups
    • FMECHANICAL ENGINEERING; LIGHTING; HEATING; WEAPONS; BLASTING
    • F05INDEXING SCHEMES RELATING TO ENGINES OR PUMPS IN VARIOUS SUBCLASSES OF CLASSES F01-F04
    • F05DINDEXING SCHEME FOR ASPECTS RELATING TO NON-POSITIVE-DISPLACEMENT MACHINES OR ENGINES, GAS-TURBINES OR JET-PROPULSION PLANTS
    • F05D2230/00Manufacture
    • F05D2230/20Manufacture essentially without removing material
    • F05D2230/25Manufacture essentially without removing material by forging
    • FMECHANICAL ENGINEERING; LIGHTING; HEATING; WEAPONS; BLASTING
    • F05INDEXING SCHEMES RELATING TO ENGINES OR PUMPS IN VARIOUS SUBCLASSES OF CLASSES F01-F04
    • F05DINDEXING SCHEME FOR ASPECTS RELATING TO NON-POSITIVE-DISPLACEMENT MACHINES OR ENGINES, GAS-TURBINES OR JET-PROPULSION PLANTS
    • F05D2260/00Function
    • F05D2260/30Retaining components in desired mutual position

Landscapes

  • Engineering & Computer Science (AREA)
  • Mechanical Engineering (AREA)
  • Chemical & Material Sciences (AREA)
  • General Engineering & Computer Science (AREA)
  • Materials Engineering (AREA)
  • Metallurgy (AREA)
  • Organic Chemistry (AREA)
  • Combustion & Propulsion (AREA)
  • Forging (AREA)
  • Rolling Contact Bearings (AREA)

Description

本発明は、鍛造を用いたリング成形体の製造方法に関する。
例えば、航空機等に用いられるエンジンにおいては、複数のタービンディスクがその中心軸線に沿って並んで配置され、各タービンディスクには周方向に間隔を空けて複数のタービン翼が取り付けられている。特に、航空機に用いられるエンジンにおいては、エンジン内部で発生する高温かつ高圧の燃焼ガスが、複数のタービンディスクの外周部にて、中心軸線方向の前段側から後段側に向かう方向に流れて、複数のタービン翼と共に複数のタービンディスクがその中心軸線回りにて高速回転する。この回転により生ずる駆動力が、複数のタービンディスクに対して中心軸線方向の前段側に位置するコンプレッサー及びファンに伝達されて、ガスの連続的な燃焼に必要とされる圧縮空気、及び推進力が得られるようになっている。
一般的に、タービンディスクは、略リング形状に形成された成形体(以下、「リング成形体」という)に切削加工等を施すことによって作製される。このリング成形体においては、典型的には、その中心軸線方向両側にそれぞれ突出する凸部が形成され、さらに、この凸部がリング成形体の周方向に延びるように形成されている。
タービンディスクの外周部は、燃焼ガスに晒されるために約600℃〜700℃の高温となる一方で、タービンディスクの内周部は、外周部に対して低温に抑えられている。このようなタービンディスクの内部では、エンジンの起動及び停止を繰り返すことによって熱応力が生ずるので、タービンディスクは優れた低サイクル疲労特性を有することが要求されている。さらに、タービンディスクの外周部は、高温下にて上述の高速回転により遠心力を受けるので、タービンディスクは高いクリープ強度特性をさらに有することが要求されている。加えて、タービンディスクは高い引張強度及び高い降伏強度を有することが要求されている。よって、タービンディスクに用いられるリング成形体は、このような要求に応じた十分な機械的強度を有することが必要とされている。
そこで、リング成形体の製造方法の一例では、リング成形体の機械的強度を確保するために、略リング形状に形成された素材(以下、「リング素材」という)を、鍛造(鍛造プレス)によってリング成形体に成形することが行われている。具体的には、リング成形体の凸部に対応する凹部をそれぞれ形成した2つの型内に、リング素材を配置し、その後、リング素材を2つの型によって挟み込みかつ押圧する鍛造加工を施す。鍛造工程において、流動したリング素材が2つの型の凹部に充満して、リング成形体の凸部が形成され、リング成形体が得られる。(例えば、特許文献1及び特許文献2を参照。)かかる鍛造においては、リング成形体にひずみが与えられて、リング成形体を形成する結晶粒が微細化するので、特に、引張強度、疲労強度等の機械的強度を向上させることができる。なお、鍛造に用いられる設備としては、鍛造速度の厳密な制御を可能とする油圧制御鍛造プレス機が用いられることが多くなっている。また、上述した製造方法の一例にて作製されるリング成形体は、特に、大型のタービンディスクの作製に用いられることが多くなっている。
特開昭52−131967号公報 特開2011−079043号公報
ここで、鍛造工程にて、特に鍛造初期段階で型と接触するリング素材の表面領域においては、型に材料が固着するために、ひずみが与えられ難くなる。また、鍛造工程において、型と接触するリング素材の表面領域の温度は、主に金属製である型への抜熱の影響によって、リング素材の中心領域の温度と比較して低下する。これらの要因のために、リング成形体の特に鍛造初期段階で型と接触する表面領域に相当する領域は、その中心領域と比較して粗大な組織を有することとなって、所望の機械的特性を得ることが難しい領域となる。このような領域は、いわゆるデッドメタルと呼ばれるものであり、リング成形体にてタービンディスクとして用いられる領域(以下、「タービンディスク領域」という)に、このようなデッドメタルが残存することを回避することが求められている。そこで、デッドメタル領域がタービンディスク領域に含まれないようにするために、リング成形体に予め余肉を多く設定し、鍛造後に余肉部分を切削加工等により取り除いている。
しかしながら、上述したリング成形体の製造方法の一例においては、鍛造開始時及び鍛造初期段階にて、2つの型内のリング素材が、型の凹部の開口から該凹部の内外周両側にそれぞれ位置する領域全体に接触する。その結果、リング素材の表面領域の広い範囲にてひずみが与えられ難くなり、かつリング素材の表面領域の広い範囲における温度が低下し易くなり、このように作製されたリング成形体のデッドメタル領域が増加するおそれがある。そのため、デッドメタル領域に対応するリング成形体の余肉部分を増加させて、多くの余肉部分を除去する必要がある。そこで、このようなデッドメタル領域を減少させて、余肉部分を減少させたニアネットシェイプ鍛造を実現することが望まれている。
さらに、上述したリング成形体の製造方法の一例においては、特に、作製されるリング成形体の2つの凸部がリング成形体の径方向にズレて配置されている場合に、鍛造工程にて、流動したリング素材が型の凹部内に充満し難くなっている。その結果、リング成形体の凸部が形成され難くなって、リング成形体の作製が難しくなるので、このことは問題である。
本発明は、上記実情を鑑みて想到されたものであり、本発明の目的は、デッドメタル領域を減少させたリング成形体を確実かつ効率的に作製可能とするリング成形体の製造方法を提供することにある。
課題を解決するために、本発明の一態様に係るリング成形体の製造方法は、リング成形体の中心軸線方向両側にそれぞれ突出すると共にリング成形体の周方向に沿って延びる2つの凸部を有するリング成形体の製造方法であって、前記凸部に対応する凹部をそれぞれ形成した2つの型によってリング素材を押圧して前記リング成形体を作製する鍛造工程を含み、前記リング素材は、前記リング素材の片側断面を、前記リング素材の中心軸線方向における最大高さ中央を基準としてリング素材の中心軸線方向の一方側領域及び他方側領域に分けたと想定した場合に、前記一方側領域の重心と前記他方側領域の重心とを結んだ直線が、前記リング素材の中心軸線に対して7度以上かつ40度以下の角度範囲で傾くように形成されている。
本発明の一態様に係るリング成形体の製造方法によれば、デッドメタル領域を減少させたリング成形体を確実かつ効率的に作製することができる。
本発明の第1実施形態に係る製造方法によって作製されるリング成形体を概略的に示す平面図である。 本発明の第1実施形態に係る製造方法によって作製されるリング成形体の片側断面図である。 本発明の第1実施形態に係る製造方法を説明するためのフローチャートである。 本発明の第1実施形態に係る製造方法の荒地鍛造を施すビレットを概略的に示す全断面図である。 本発明の第1実施形態に係る製造方法における荒地鍛造により作製された荒地鍛造体を概略的に示す全断面図である。 本発明の第1実施形態に係る製造方法における穿孔加工により作製された穿孔体を概略的に示す全断面図である。 本発明の第1実施形態に係る製造方法におけるリング圧延を説明するための図である。 (a)本発明の第1実施形態に係る製造方法における仕上げ鍛造開始直前のリング圧延体の配置状態を概略的に示す片側断面図である。(b)当該仕上げ鍛造終了直後の状態を概略的に示す片側断面図である。 図8(a)のリング圧延体を概略的に示す片側断面図である。
本発明の第1実施形態〜第3実施形態に係るリング成形体の製造方法、及び当該リング成形体の作製に用いられるリング素材について、図1〜図9を参照しながら以下に説明する。なお、本発明の第1実施形態〜第3実施形態では、中心軸線を基準として略対称である物体(以下、「対称物体」という)の断面、及びかかる断面を示す図について以下のような名称を用いる。中心軸線を通る平面により対称物体を切断した断面のうち中心軸線に対して一方側のものを「片側断面」と呼び、例えば、図2、図8、及び図9のように、片側断面を示す図を「片側断面図」と呼ぶ。また、中心軸線を通る平面により対称物体を切断した断面のすべてを「全断面」と呼び、例えば、図4〜図6のように、全断面を示す図を「全断面図」と呼ぶ。
[第1実施形態]
本発明の第1実施形態に係る製造方法により作製されるリング成形体について説明する。リング成形体は、航空機等のエンジンのタービンディスクを作製するために用いられるものであり、さらに、成形後のリング成形体に熱処理を施すこと、リング成形体の余肉部分を切削加工により除去すること等によってタービンディスクが作製される。典型的には、このリング成形体は金属製となっており、本実施形態では、リング成形体を、Ni基合金alloy718を用いて作製する。しかしながら、本発明はこれに限定されず、高温強度に優れたリング成形体を作製可能とするような金属が用いられていればよい。一例として、リング成形体が、高温強度に優れるNi基合金、Fe基合金、Co基合金等を用いて作製されるとよい。
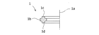
図1及び図2に示すように、このようなリング成形体1は、その中心軸線1a中心に略リング形状に形成された基部1bを有している。リング成形体1は、基部1bから中心軸線方向の両側にそれぞれ突出する一方側凸部1c及び他方側凸部1dを有しており、これら2つの凸部1c,1dは、リング成形体1の周方向に沿って延びるように形成されている。なお、図2では、リング成形体1における一方側凸部1cと他方側凸部1dとがリング成形体1の径方向にて一致して配置されているが、リング成形体1における一方側凸部1cと他方側凸部1dとをリング成形体1の径方向にてズレて配置することもできる。
このようなリング成形体1の製造方法の概略について図3を参照して説明する。ビレット2(図4に示す)に第1鍛造として荒地鍛造を施して、第1鍛造体として荒地鍛造体3(図5に示す)を作製する。(荒地鍛造ステップ(第1鍛造ステップ)S1)荒地鍛造体3に穿孔加工を施して、穿孔体4(図6に示す)を作製する。なお、必要に応じて、穿孔体4に中間リング圧延を施してもよい。(穿孔ステップS2)穿孔体4にリング圧延を施して、リング素材として構成されたリング圧延体5(図8(a)及び図9に示す)を作製する。(リング圧延ステップS3)リング圧延体5に第2鍛造として仕上げ鍛造を施して、第2鍛造体として上述のリング成形体1を作製する。(仕上げ鍛造ステップ(第2鍛造ステップ)S4)
リング成形体1の製造方法における各ステップの詳細について以下に説明する。
[荒地鍛造ステップS1について]
荒地鍛造ステップS1の詳細について説明する。図4に示すように、荒地鍛造を施す素材として、中心軸線2a中心に略円柱形状に形成されたビレット2を、Ni基合金alloy718を用いて作製する。その後、ビレット2を型等によって押圧して、図5に示すような荒地鍛造体3を作製する。一例として、ビレット2がNi基合金alloy718を用いて作製される場合には、荒地鍛造ステップS1にて用いられるビレット2の加熱温度は、900度以上かつ1075度以下の範囲となっていると好ましい。しかしながら、本発明はこれに限定されず、ビレット2がNi基合金alloy718以外の金属を用いて作製される場合、加熱温度は、このようなビレットに荒地鍛造を施すことに適合するように設定されるとよい。
図5に示すように、荒地鍛造体3は、中心軸線3a中心に略円板形状に形成された底部3bと、該底部3bの外周から底部3bの中心軸線方向一方に向かうに従って底部3bの中心から外周に向かう方向に傾斜する周壁部3cとを有するように形成されている。なお、図5において、底部3bと周壁部3cとの境界線を破線により示す。後述する穿孔加工では、この破線に沿って底部3bが除去されることとなる。このような荒地鍛造体3においては、周壁部3cの片側断面を、荒地鍛造体3の中心軸線方向における最大高さh1の中央線3dを基準として荒地鍛造体3の中心軸線方向の一方側領域3e及び他方側領域3fに分けたと想定した場合に、一方側領域3eの重心3gと他方側領域3fの重心3hとを結んだ直線3iを、荒地鍛造体3の中心軸線3aの平行線3j、すなわち、荒地鍛造体3の中心軸線3aに対して角度θ1傾けている。この角度θ1は、7度以上かつ40度以下の範囲内であるとよい。
[穿孔ステップS2について]
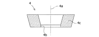
穿孔ステップS2の詳細について説明する。図5に示した荒地鍛造体3の底部3bを除去するように、荒地鍛造体3に対して、プレス加工による抜き落とし、ウォーターカッターによる切削等により穿孔加工を施す。その結果、図6に示すように、中心軸線4aに沿った貫通孔4bを有する穿孔体4が作製されることとなる。かかる穿孔体4は、荒地鍛造体3の周壁部3cに相当する周壁部4cを有している。また、必要に応じて、穿孔体4に中間リング圧延を施すとよい。
[リング圧延ステップS3について]
リング圧延ステップS3について説明する。リング圧延ステップS3においては、一例として、図7に示すようなリング圧延装置11を用いる。かかるリング圧延装置11は、穿孔体4の外周側及び内周側にそれぞれ位置するメインロール12及びマンドレルロール13を有している。メインロール12及びマンドレルロール13の外周面は互いに対向している。メインロール12は、その中心を通ると共に穿孔体4の中心軸線4aと略平行に延びる回転軸線12a周りに回転可能に構成されており、メインロール12の外周面は、作製されるリング圧延体5の外周面に対応して傾斜して形成されている。マンドレルロール13もまた、その中心を通ると共に穿孔体4の中心軸線4aと略平行に延びる回転軸線13a周りに回転可能に構成されており、マンドレルロール13の外周面は、作製されるリング圧延体5の内周面に対応して傾斜して形成されている。しかしながら、本発明はこれに限定されず、メインロール及びマンドレルロールが略円柱形状に形成されて、メインロール及びマンドレルロールの回転軸線が、それぞれ、作製されるリング圧延体5の外周面及び内周面に対応して傾斜して配向されていてもよい。また、リング圧延装置11は、穿孔体4の中心軸線方向両側に位置する一対のアキシャルロール14,15を有している。一対のアキシャルロール14,15の外周面は互いに対向している。一対のアキシャルロール14,15は、それぞれ、それらの中心を通る回転軸線14a,15a周りに回転可能に構成されている。
このようなリング圧延装置11を用いたリング圧延ステップS3においては、最初に、リング圧延装置11に穿孔体4を投入する。一例として、穿孔体4がNi基合金alloy718を用いて作製される場合には、リング圧延装置11に投入される穿孔体4の加熱温度は、900度以上かつ1050度以下の範囲内となっていると好ましい。しかしながら、本発明はこれに限定されず、穿孔体4がNi基合金alloy718以外の金属を用いて作製される場合、加熱温度は、このような穿孔体4にリング圧延を施すことに適合するように設定されるとよい。メインロール12及びマンドレルロール13の外周面をそれぞれ穿孔体4の外周面及び内周面に当接させ、さらに、一対のアキシャルロール14,15の外周面をそれぞれ穿孔体4の中心軸線方向両側面に当接させる。メインロール12及びマンドレルロール13を回転軸線12a,13a周りに回転させながら、メインロール12及びマンドレルロール13によって穿孔体4を該穿孔体4の径方向にて挟み込みかつ押圧する。また、一対のアキシャルロール14,15を回転軸線14a,15a周りに回転させながら、一対のアキシャルロール14,15によって穿孔体4を該穿孔体4の中心軸線方向にて挟み込みかつ押圧する。その結果、リング圧延体5が作製される。
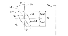
かかるリング圧延体5は、リング圧延体5の中心軸線5a中心に略リング形状に形成されており、リング圧延体5の片側断面は傾斜して形成されている。具体的には、図9に示すように、リング圧延体5の片側断面を、リング圧延体5の中心軸線方向における最大高さh2の中央線5bを基準としてリング圧延体5の中心軸線方向の一方側領域5c及び他方側領域5dに分けたと想定した場合に、一方側領域5cの重心5eと他方側領域5dの重心5fとを結んだ直線5gを、リング圧延体5の中心軸線5aの平行線5h、すなわち、リング圧延体5の中心軸線5aに対して角度θ2傾ける。この角度θ2は、7度以上かつ40度以下の範囲内であるとよい。さらには、角度θ2は、10度以上かつ25度以下の範囲内であるとより好ましい。後述の仕上げ鍛造ステップS4において、特に、航空機用タービンディスクの素材として適するように十分なひずみを入れることができるためである。リング圧延体5における片側断面の角度θ2は、荒地鍛造体3における周壁部3cの片側断面の角度θ1と同一であっても、異なっていてもよい。角度θ2が角度θ1と異なる場合、このような角度を変化させるように穿孔体4をリング圧延するとよい。
また、一例として、リング圧延体5の外周面を、該リング圧延体5の内周から外周に向かう方向に突出する略円弧形状に形成してもよく、このような略円弧形状のリング圧延体5の外周面を形成するために、メインロール12の外周面を、リング圧延体5の外周面に対応してリング圧延体5の内周から外周に向かう方向に凹む略円弧形状に形成してもよい。リング圧延体5の内周面を、該リング圧延体5の外周から内周に向かう方向に突出する略円弧形状に形成してもよく、このような略円弧形状のリング圧延体5の内周面を形成するために、マンドレルロール13の外周面を、リング圧延体5の内周面に対応してリング圧延体5の外周から内周に向かう方向に凹む略円弧形状に形成してもよい。
[仕上げ鍛造ステップS4について]
仕上げ鍛造ステップS4について説明する。仕上げ鍛造ステップS4においては、図8(a)及び図8(b)に示すような一方側型16及び他方側型17を用いる。一方側型16は、リング成形体1の一方側凸部1cに対応した凹部16aと、リング成形体1の基部1bの一方側領域に対応した開口側凹部16bとを有している。他方側型17は、リング成形体1の他方側凸部1dに対応した凹部17aと、リング成形体1の基部1bの他方側領域に対応した開口側凹部17bとを有している。
仕上げ鍛造ステップS4では、このような2つの型16,17内にリング圧延体5を配置し、その後、リング圧延体5を2つの型16,17によってリング圧延体5の中心軸線方向に挟み込みかつ押圧する。一例として、リング圧延体5がNi基合金alloy718を用いて作製される場合には、2つの型16,17に配置されるリング圧延体5の加熱温度は、900度以上かつ1050度以下の範囲内となっていると好ましい。しかしながら、本発明はこれに限定されず、リング圧延体5がNi基合金alloy718以外の金属を用いて作製される場合、加熱温度は、このようなリング圧延体5に仕上げ鍛造を施すことに適合するように設定されるとよい。
上述のリング圧延体5の配置状態では、リング圧延体5が、一方側型16における凹部16aの外周側角部16cから外周側の領域(以下、「外周側支持領域」という)と、他方側型17における凹部17aの内周側角部17cから内周側の領域(以下、「内周側支持領域」という)とによって支持されている。なお、ここで述べた「凹部16aの外周側角部16c」は、一方側型16における凹部16aの外周面16a1及び開口側凹部16bの外周側底面16b1間の角部を意味し、かつ「凹部17aの内周側角部17c」は、他方側型17における凹部17aの内周面17a1及び開口側凹部17bの内周側底面17b1間の角部を意味するものとする。さらに、リング圧延体5は、一方側型16における外周側支持領域、及び他方側型17における内周側支持領域以外の領域と間隔を空けて配置されていると好ましい。言い換えれば、リング圧延体5における傾斜した直線5gの方向の両端部が、それぞれ、2つの型16,17に当接して、リング圧延体5が2つの型16,17によってリング圧延体5の中心軸線方向及び径方向に拘束されている。
特に、本実施形態では、図8(a)に示されるように、リング圧延体5が、一方側型16における開口側凹部16bの外周側底面16b1及び外周面16b2と、他方側型17における開口側凹部17bの内周側底面17b1及び内周面17b2とによって支持されている。さらに、リング圧延体は、一方側型16における開口側凹部16bの外周側底面16b1及び外周面16b2並びに他方側型17における開口側凹部17bの内周側底面17b1及び内周面17b2以外の領域と間隔を空けて配置されていると好ましい。
また、仕上げ鍛造時には、流動したリング圧延体5が、一方側型16の凹部16a及び開口側凹部16b、並びに他方側型17の凹部17a及び開口側凹部17bに充満する。その結果、リング成形体1が作製されることとなる。
このような本実施形態に係るリング成形体1の製造方法においては、仕上げ鍛造ステップS4にて、2つの型16,17内に、リング圧延体5を配置する際に、リング圧延体5を、一方側型16における外周側支持領域と、他方側型17における内周側支持領域とによって支持し、さらに、リング圧延体5を、一方側型16における外周側支持領域及び他方側型17における内周側支持領域以外の領域と間隔を空けて配置している。そのため、仕上げ鍛造ステップS4において、リング圧延体5と2つの型16,17との接触面積を減少させることができて、その結果、仕上げ鍛造の開始時及び初期段階において、2つの型16,17にリング圧延体5の材料が固着する領域が少なくなるため、作製されるリング成形体1に十分にひずみを与えることができる。また、リング圧延体5の表面領域の温度が2つの型16,17への抜熱の影響によって低下することを防止できるので、作製されたリング成形体1の表面領域における金属組織の結晶が粗大化することを防止できる。よって、デッドメタル領域を減少させたリング成形体1を確実かつ効率的に作製することができる。ひいては、デッドメタル領域に対応したリング成形体1の余肉部分を減少させて、ニアネットシェイプ鍛造を実現することができる。さらに、リング成形体1における一方側凸部1cと他方側凸部1dとがリング成形体1の径方向にズレて配置される場合においても、流動したリング圧延体5が2つの型16,17の凹部16a,17aに確実に充満して、リング成形体1の2つの凸部1c,1dを確実に形成できる。
本実施形態に係るリング成形体1の製造方法、及び本実施形態に係るリング素材としてのリング圧延体5においては、仕上げ鍛造の開始時及び初期段階に、2つの型16,17内に配置されたリング圧延体5の傾斜角度θ2が、7度以上かつ40度以下の範囲内となっている。そのため、傾斜角度θ2を7度以上とすることによって、仕上げ鍛造ステップS4において、リング圧延体5が座屈することを防止できる。さらに、傾斜角度θ2を40度以下とすることによって、仕上げ鍛造ステップS4において、リング圧延体5の回転により仕上げ鍛造が不安定になる結果、所望の形状が得られない現象(以下、「リング圧延体5の回転現象」という)を防止できる。よって、デッドメタル領域を減少させたリング成形体1を確実かつ効率的に作製することができる。
[第2実施形態]
本発明の第2実施形態に係るリング成形体の製造方法、及び当該リング成形体の作製に用いられるリング素材について説明する。本実施形態に係るリング成形体の製造方法、及び当該リング成形体の作製に用いられるリング素材は、基本的には第1実施形態に係るものと同様である。しかしながら、本実施形態に係るリング成形体の製造方法、及び当該リング成形体の作製に用いられるリング素材は、以下の点で、第1実施形態に係るものと異なっている。
特に図示はしないが、リング素材としてのリング圧延体に、一方側型における凹部の外周側角部に対応した窪み部が形成されている。一例として、窪み部は、リング圧延の後に、切削加工、プレス加工等の機械加工によって形成されるとよい。仕上げ鍛造ステップにおいて、このようなリング圧延体が、その窪み部と嵌合する一方側型における凹部の外周側角部によって支持され、かつ他方側型における開口側凹部の内周側底面及び内周面によって支持される。さらに、リング圧延体は、一方側型における凹部の外周側角部並びに他方側型における開口側凹部の内周側底面及び内周面以外の領域と間隔を空けて配置されると好ましい。
このような本実施形態に係るリング成形体の製造方法、及び本実施形態に係るリング素材としてのリング圧延体においては、第1実施形態にて得られる効果に加えて、一方側型における凹部の外周側角部に嵌合するリング圧延体の窪み部によって、リング圧延体を2つの型内にて安定して支持することができる。よって、デッドメタル領域を減少させたリング成形体を確実かつ効率的に作製することができる。
[第3実施形態]
本発明の第3実施形態に係るリング成形体の製造方法、及び当該リング成形体の作製に用いられるリング素材について説明する。本実施形態に係るリング成形体の製造方法、及び当該リング成形体の作製に用いられるリング素材は、基本的には第1実施形態に係るものと同様である。しかしながら、本実施形態に係るリング成形体の製造方法、及び当該リング成形体の作製に用いられるリング素材は、以下の点で、第1実施形態に係るものと異なっている。
特に図示はしないが、リング素材としてのリング圧延体には、一方側型における凹部の外周側角部及び他方側型における凹部の内周側角部にそれぞれ対応した窪み部が形成されている。一例として、窪み部は、リング圧延の後に、切削加工、プレス加工等の機械加工によって形成されるとよい。仕上げ鍛造ステップにおいて、このようなリング圧延体が、2つの窪み部にそれぞれ嵌合する一方側型における凹部の外周側角部及び他方側型における凹部の内周側角部によって支持される。さらに、リング圧延体は、一方側型における凹部の外周側角部及び他方側型における凹部の内周側角部以外の領域と間隔を空けて配置されていると好ましい。
このような本実施形態に係るリング成形体の製造方法、及び本実施形態に係るリング素材としてのリング圧延体においては、第1実施形態にて得られる効果に加えて、一方側型における凹部の外周側角部及び他方側型における凹部の内周側角部にそれぞれ嵌合するリング圧延体の窪み部によって、リング圧延体を2つの型内にて安定して支持することができる。よって、デッドメタル領域を減少させたリング成形体を確実かつ効率的に作製することができる。
以上、本発明の実施形態について説明したが、本発明は上述した実施形態に限定されるものではない。本発明は、その技術的思想に基づいて変形可能であり、かつ変更可能である。
例えば、本発明の変形例として、リング成形体1における径方向にズレて配置された一方側凸部1c及び他方側凸部1dに対応して、仕上げ鍛造ステップS4に用いられる2つの型16,17の凹部16a,17aがリング成形体1の径方向にズレて配置されている場合に、リング圧延体5の片側断面を傾けない状態、すなわち、片側断面の傾斜角度θ2を0度とした状態で、リング圧延体5を支持することもできる。一例として、リング圧延体5の片側断面を略矩形状に形成し、さらに、2つの型16,17の凹部16a,17a同士におけるリング圧延体5の径方向のズレ量を、リング圧延体5における径方向の片側断面の肉厚未満とするとよい。この場合、リング圧延体5を、一方側型16における外周側支持領域と他方側型17における内周側支持領域とによって支持することができる。かかる構成においてもまた、デッドメタルを抑制した鍛造が可能である。ただし、リング圧延体5の安定的な配置、及びリング圧延体5の形状の自由度に関する観点からは、リング圧延体の片側断面を傾ける構成がより好ましい。
本発明の実施例について説明する。本実施例においては、最大外径を1090mmとし、径方向の最大肉厚を120mmとし、かつ中心軸線方向の最大高さを110mmとするような大きさを有するリング成形体1を作製する。このようなリング成形体1の作製に用いられる仕上げ鍛造ステップS4においては、リング圧延体5における傾斜した片側断面の傾斜角度θ2を5度、7度、10度、20度、25度、30度、40度、45度、及び50度とする複数の配置状態で、仕上げ鍛造ステップS4をそれぞれ実施する。そして、各配置状態の鍛造ステップにおいて、リング圧延体5の座屈が発生するか否かを確認する。また、各配置状態の鍛造ステップにおいて、リング圧延体5の回転現象が発生するか否かを確認する。
この確認によれば、傾斜角度θ2が5度の場合に、リング圧延体5の座屈が発生する。傾斜角度θ2が45度及び50度の場合に、リング圧延体5の回転現象が発生する。その一方で、傾斜角度θ2が7度、10度、20度、30度、及び40度の場合には、デッドメタル領域を減少させたリング成形体1を確実かつ効率的に作製することができる。また、傾斜角度θ2が10度、20度、及び25度の場合には、特に、航空機用タービンディスクの素材として適するように十分なひずみが入ると共にデッドメタル領域が減少した、リング成形体1をより確実かつより効率的に作製することができる。
1 リング成形体
1a 中心軸線
1c 一方側凸部
1d 他方側凸部
5 リング圧延体(リング素材)
5a 中心軸線
5b 中央線
5c 一方側領域
5d 他方側領域
5e,5f 重心
5g 直線
5h 平行線
16 一方側型
16a 凹部
17 他方側型
17a 凹部
h1,h2 最大高さ
θ1,θ2 角度
S1 荒地鍛造ステップ(第1鍛造ステップ)
S2 穿孔ステップ
S3 リング圧延ステップ
S4 仕上げ鍛造ステップ(第2鍛造ステップ)

Claims (5)

  1. リング成形体の中心軸線方向両側にそれぞれ突出すると共にリング成形体の周方向に沿って延びる2つの凸部を有するリング成形体の製造方法であって、
    前記凸部に対応する凹部をそれぞれ形成した2つの型によってリング素材を押圧して前記リング成形体を作製する鍛造工程を含み、
    前記リング素材は、前記リング素材の片側断面を、前記リング素材の中心軸線方向における最大高さ中央を基準としてリング素材の中心軸線方向の一方側領域及び他方側領域に分けたと想定した場合に、前記一方側領域の重心と前記他方側領域の重心とを結んだ直線が、前記リング素材の中心軸線に対して7度以上かつ40度以下の角度範囲で傾くように形成されている、リング成形体の製造方法。
  2. 前記リング素材の片側断面は、前記一方側領域の重心と前記他方側領域の重心とを結んだ直線を基準として両側に位置する部分を円弧形状に突出させるように形成されている、請求項1に記載のリング成形体の製造方法。
  3. 前記リング素材は、前記リング素材の片側断面を、前記リング素材の中心軸線方向における最大高さ中央を基準としてリング素材の中心軸線方向の一方側領域及び他方側領域に分けたと想定した場合に、前記一方側領域の重心と前記他方側領域の重心とを結んだ直線が、前記リング素材の中心軸線に対して10度以上かつ25度以下の角度範囲で傾くように形成されている、請求項1又は2に記載のリング成形体の製造方法。
  4. 前記凸部に対応する凹部をそれぞれ形成した2つの型によってリング素材を押圧して前記リング成形体を作製する鍛造工程は、1回の押圧によってリング成形体を作製する、請求項1〜3のいずれか一項に記載のリング成形体の製造方法。
  5. 前記リング成形体がタービンディスク用の素材である、請求項1〜4のいずれか一項に記載のリング成形体の製造方法。
JP2016092391A 2014-09-01 2016-05-02 リング成形体の製造方法 Active JP6130552B2 (ja)

Applications Claiming Priority (2)

Application Number Priority Date Filing Date Title
JP2014177025 2014-09-01
JP2014177025 2014-09-01

Related Parent Applications (1)

Application Number Title Priority Date Filing Date
JP2016503484A Division JP5932181B1 (ja) 2014-09-01 2015-08-27 リング成形体の製造方法、及びリング素材

Publications (2)

Publication Number Publication Date
JP2016135510A JP2016135510A (ja) 2016-07-28
JP6130552B2 true JP6130552B2 (ja) 2017-05-17

Family

ID=55439728

Family Applications (2)

Application Number Title Priority Date Filing Date
JP2016503484A Active JP5932181B1 (ja) 2014-09-01 2015-08-27 リング成形体の製造方法、及びリング素材
JP2016092391A Active JP6130552B2 (ja) 2014-09-01 2016-05-02 リング成形体の製造方法

Family Applications Before (1)

Application Number Title Priority Date Filing Date
JP2016503484A Active JP5932181B1 (ja) 2014-09-01 2015-08-27 リング成形体の製造方法、及びリング素材

Country Status (7)

Country Link
US (2) US10519795B2 (ja)
EP (1) EP3189911B1 (ja)
JP (2) JP5932181B1 (ja)
CN (1) CN107206468B (ja)
MX (1) MX375858B (ja)
RU (2) RU2679677C2 (ja)
WO (1) WO2016035663A1 (ja)

Families Citing this family (3)

* Cited by examiner, † Cited by third party
Publication number Priority date Publication date Assignee Title
CN113770411A (zh) * 2021-09-10 2021-12-10 桂林新洲机械设备有限公司 一种新型八孔数控枪钻及其使用方法
EP4494776A1 (en) * 2022-03-16 2025-01-22 Proterial, Ltd. Tapered material manufacturing method
CN116786746A (zh) * 2023-08-29 2023-09-22 山西奔马铸锻有限公司 一种锻造锤加工法兰用锻造模具

Family Cites Families (27)

* Cited by examiner, † Cited by third party
Publication number Priority date Publication date Assignee Title
BE490570A (ja) * 1948-09-01
DE2611568A1 (de) 1976-03-19 1977-09-29 Thyssen Industrie Verfahren zum herstellen von ringfoermigen werkstuecken mit stark profiliertem querschnitt, wie vorschweissflansche o.dgl., und walzwerk zu dessen durchfuehrung
US4276947A (en) * 1979-05-14 1981-07-07 Smith International, Inc. Roller Belleville spring damper
JPS61132241A (ja) * 1984-12-03 1986-06-19 Mitsubishi Metal Corp リングの製造方法
JPS62286640A (ja) * 1986-06-03 1987-12-12 Nippon Steel Corp チタン合金の鍛造法
US4860567A (en) * 1987-12-21 1989-08-29 United Technologies Corporation Ring forging process
US5141448A (en) * 1991-12-02 1992-08-25 Matrix Science Corporation Apparatus for retaining a coupling ring in non-self locking electrical connectors
JPH0615401A (ja) * 1992-06-29 1994-01-25 Aichi Steel Works Ltd リングの鍛造方法
JPH0899145A (ja) * 1994-09-29 1996-04-16 Hitachi Metals Ltd テーパリングの鍛造方法
JPH08257671A (ja) * 1995-03-17 1996-10-08 Daido Steel Co Ltd テーパーリングの作製方法
JP2002307126A (ja) * 2001-04-10 2002-10-22 Komatsu Sanki Kk 歯形の成形方法
RU2300439C2 (ru) * 2005-07-21 2007-06-10 Государственное образовательное учреждение высшего профессионального образования "Южно-Уральский государственный университет" СПОСОБ ШТАМПОВКИ КОЛЬЦЕОБРАЗНЫХ ПОКОВОК КОНИЧЕСКИХ ШЕСТЕРЕН ДИАМЕТРОМ 638 мм
CN100467156C (zh) * 2007-03-05 2009-03-11 贵州安大航空锻造有限责任公司 Gh4169合金盘形锻件在空气中的近等温锻造方法
CN101176903B (zh) * 2007-09-06 2010-05-19 刘岷 内外球面金属环件的冷辗扩加工方法及其装置
JP5263580B2 (ja) * 2008-05-08 2013-08-14 三菱マテリアル株式会社 ガスタービン用リング状ディスク
JP5795838B2 (ja) * 2009-09-10 2015-10-14 日立金属Mmcスーパーアロイ株式会社 リング状成形体の製造方法
JP5680292B2 (ja) * 2009-10-09 2015-03-04 日立金属Mmcスーパーアロイ株式会社 環状成形体の製造方法
JP5613467B2 (ja) * 2010-06-10 2014-10-22 Mmcスーパーアロイ株式会社 環状成形体の製造方法
JP5613468B2 (ja) * 2010-06-10 2014-10-22 Mmcスーパーアロイ株式会社 環状成形体の製造方法
JP5750998B2 (ja) * 2011-05-11 2015-07-22 日本精工株式会社 段付円柱状部材の製造方法
CN102319868A (zh) * 2011-08-08 2012-01-18 西南铝业(集团)有限责任公司 一种大型铝合金锥形环件锻造成型方法
JP5940865B2 (ja) * 2012-04-16 2016-06-29 株式会社神戸製鋼所 テーパリング鍛造方法
US9592547B2 (en) * 2012-12-10 2017-03-14 Mitsubishi Materials Corporation Method of manufacturing annular molding
RU2521929C1 (ru) * 2013-01-09 2014-07-10 Федеральное государственное бюджетное образовательное учреждение высшего профессионального образования "Липецкий государственный технический университет" (ЛГТУ) Штамп для открытой объемной штамповки поковок
CN103464987A (zh) * 2013-09-26 2013-12-25 贵州航宇科技发展股份有限公司 一种航空发动机外涵道用tc4钛合金环的制造方法
CN104191165A (zh) * 2014-08-04 2014-12-10 贵州航宇科技发展股份有限公司 一种高温合金大型异形环锻造成形方法
CN104191168A (zh) * 2014-08-04 2014-12-10 贵州航宇科技发展股份有限公司 一种钛合金大型异形环锻造成形方法

Also Published As

Publication number Publication date
EP3189911B1 (en) 2019-03-06
RU2018126943A3 (ja) 2019-03-28
RU2687347C2 (ru) 2019-05-13
JP2016135510A (ja) 2016-07-28
EP3189911A4 (en) 2018-03-28
RU2017106322A3 (ja) 2018-09-18
WO2016035663A1 (ja) 2016-03-10
MX375858B (es) 2025-03-07
JPWO2016035663A1 (ja) 2017-04-27
US11208910B2 (en) 2021-12-28
RU2017106322A (ru) 2018-08-30
US20170284217A1 (en) 2017-10-05
JP5932181B1 (ja) 2016-06-08
RU2018126943A (ru) 2019-03-14
EP3189911A1 (en) 2017-07-12
CN107206468A (zh) 2017-09-26
US10519795B2 (en) 2019-12-31
US20200088057A1 (en) 2020-03-19
MX2017002422A (es) 2017-10-31
CN107206468B (zh) 2019-03-01
RU2679677C2 (ru) 2019-02-12

Similar Documents

Publication Publication Date Title
JP5895111B1 (ja) リング成形体の製造方法
JP6292761B2 (ja) 環状成形体の製造方法
JP6350920B2 (ja) リング圧延用素材
JP5613467B2 (ja) 環状成形体の製造方法
JP6395040B2 (ja) 圧延ロール及びリング圧延方法
JP6130552B2 (ja) リング成形体の製造方法
JP5795838B2 (ja) リング状成形体の製造方法
JP2017131898A (ja) ブリスク中間品の製造方法及び鍛造金型ユニット
JP6040944B2 (ja) 耐熱合金製リングの成形方法
US10543523B2 (en) Forging tool for the manufacturing of a shaped rolled ring, notably for the manufacture of a turbomachine disc

Legal Events

Date Code Title Description
A621 Written request for application examination

Free format text: JAPANESE INTERMEDIATE CODE: A621

Effective date: 20160502

TRDD Decision of grant or rejection written
A01 Written decision to grant a patent or to grant a registration (utility model)

Free format text: JAPANESE INTERMEDIATE CODE: A01

Effective date: 20170317

A977 Report on retrieval

Free format text: JAPANESE INTERMEDIATE CODE: A971007

Effective date: 20170323

A61 First payment of annual fees (during grant procedure)

Free format text: JAPANESE INTERMEDIATE CODE: A61

Effective date: 20170413

R150 Certificate of patent or registration of utility model

Ref document number: 6130552

Country of ref document: JP

Free format text: JAPANESE INTERMEDIATE CODE: R150

S531 Written request for registration of change of domicile

Free format text: JAPANESE INTERMEDIATE CODE: R313531

S533 Written request for registration of change of name

Free format text: JAPANESE INTERMEDIATE CODE: R313533

R350 Written notification of registration of transfer

Free format text: JAPANESE INTERMEDIATE CODE: R350

S111 Request for change of ownership or part of ownership

Free format text: JAPANESE INTERMEDIATE CODE: R313115

R350 Written notification of registration of transfer

Free format text: JAPANESE INTERMEDIATE CODE: R350