JP6129255B2 - 情報処理装置、情報処理方法及びプログラム - Google Patents

情報処理装置、情報処理方法及びプログラム Download PDF

Info

Publication number
JP6129255B2
JP6129255B2 JP2015165584A JP2015165584A JP6129255B2 JP 6129255 B2 JP6129255 B2 JP 6129255B2 JP 2015165584 A JP2015165584 A JP 2015165584A JP 2015165584 A JP2015165584 A JP 2015165584A JP 6129255 B2 JP6129255 B2 JP 6129255B2
Authority
JP
Japan
Prior art keywords
print
preview
document
instruction
displayed
Prior art date
Legal status (The legal status is an assumption and is not a legal conclusion. Google has not performed a legal analysis and makes no representation as to the accuracy of the status listed.)
Active
Application number
JP2015165584A
Other languages
English (en)
Other versions
JP2016026341A5 (ja
JP2016026341A (ja
Inventor
徹矢 塩原
徹矢 塩原
Current Assignee (The listed assignees may be inaccurate. Google has not performed a legal analysis and makes no representation or warranty as to the accuracy of the list.)
Canon Inc
Original Assignee
Canon Inc
Priority date (The priority date is an assumption and is not a legal conclusion. Google has not performed a legal analysis and makes no representation as to the accuracy of the date listed.)
Filing date
Publication date
Application filed by Canon Inc filed Critical Canon Inc
Priority to JP2015165584A priority Critical patent/JP6129255B2/ja
Publication of JP2016026341A publication Critical patent/JP2016026341A/ja
Publication of JP2016026341A5 publication Critical patent/JP2016026341A5/ja
Application granted granted Critical
Publication of JP6129255B2 publication Critical patent/JP6129255B2/ja
Active legal-status Critical Current
Anticipated expiration legal-status Critical

Links

Images

Landscapes

  • Facsimiles In General (AREA)

Description

本発明は、情報処理装置、情報処理方法及びプログラムに関する。
従来、過去に印刷したドキュメントを保存しておき、必要な時に呼び出して印刷を行う履歴印刷機能を有するプリンタドライバが存在した(特許文献1参照)。また、近年では従来の印刷システムとは異なる印刷システムが登場してきた。この新しい印刷システムでは、スプールファイルに格納されるデータ形式として従来のEMF形式(Enhanced Meta File)ではなくXPS形式(XML Paper Specification)が用いられる。XPSとは、オープン規格の電子文書フォーマットである。XPSでは、印刷設定を記述したXMLデータであるPrintTicket(以下、PT)をページ等のパートごとに持つことができる。
XPS文書はフォーマットが公開されており、システムの用いる印刷データの利用が比較的容易となっている。そのため、XPS文書を扱うXPSドライバでは、印刷データの編集が比較的容易であり、ジョブの結合等の編集が可能である。
特開2006−209708号公報
しかしながら、特許文献1に記載の技術では、過去に印刷され、履歴として保存されたドキュメント(以下、履歴ドキュメント)を他のドキュメントと組み合わせて使用することはできなかった。
本発明はこのような問題点に鑑みなされたもので、の印刷ドキュメントと保存されたドキュメントとを表示し、選択している文書に対して印刷設定情報の変更を行うことを目的とする。
そこで、本発明の情報処理装置は、アプリケーションからの印刷の指示に基づいて印刷に関わる処理を実行可能な情報処理装置であって、印刷ドキュメントのプレビュー画像と印刷設定情報の設定変更を受け付ける印刷設定領域を含むプレビュー画面を表示する表示制御手段を有し、印刷ドキュメントを保存するための保存機能が前記プレビュー画面を介して選択された場合、前記プレビュー画面を介して入力された印刷指示により第1印刷ドキュメントが保存され、前記保存機能が選択されたことで前記保存された前記第1印刷ドキュメントと前記第1印刷ドキュメントとは異なる第2印刷ドキュメントのうちの、何れかの印刷ドキュメントに対応するプレビュー画像が前記プレビュー画面に表示され、かつ、前記印刷設定領域を介して印刷設定情報が変更された場合、前記プレビュー画面に表示されているプレビュー画像に対応する印刷ドキュメントの印刷設定情報が変更され、前記プレビュー画面にプレビュー画像として表示されていない印刷ドキュメントの印刷設定情報については変更されず、アプリケーションからの印刷が指示された場合に前記プレビュー画面が表示され、アプリケーションからの印刷の指示とは異なる指示がユーザによりなされた場合にも前記プレビュー画面が表示され、前記異なる指示がユーザによりなされることで表示される前記プレビュー画面には、前記保存された前記第1印刷ドキュメントに対応するプレビュー画像が表示されることを特徴とする。
本発明の情報処理装置は、アプリケーションからの印刷の指示に基づいて印刷に関わる処理を実行可能な情報処理装置であって、印刷ドキュメントのプレビュー画像と印刷設定情報の変更を受け付ける印刷設定領域を含むプレビュー画面を表示するプレビュー表示制御手段を有し、印刷ドキュメントを保存するための保存機能が前記プレビュー画面を介して選択された場合、前記プレビュー画面を介して入力された印刷指示により第1印刷ドキュメントが保存され、前記保存機能が選択されたことで前記保存された前記第1印刷ドキュメントと前記第1印刷ドキュメントとは異なる第2印刷ドキュメントのうちの、何れかの印刷ドキュメントに対応するプレビュー画像が前記プレビュー画面に表示され、かつ、前記印刷設定領域を介して印刷設定情報が変更された場合、前記プレビュー画面に表示されているプレビュー画像に対応する印刷ドキュメントの印刷設定情報が変更され、前記プレビュー画面にプレビュー画像として表示されていない印刷ドキュメントの印刷設定情報については変更されず、アプリケーションからの印刷が指示された場合に前記プレビュー表示制御手段を起動させることも、アプリケーションからの印刷の指示とは異なる指示がユーザによりなされた場合に前記プレビュー表示制御手段を起動させることも可能であり、前記アプリケーションから印刷が指示されることで起動された前記プレビュー表示制御手段により表示される前記プレビュー画面に前記保存された前記第1印刷ドキュメントに対応するプレビュー画像を表示させることも、前記異なる指示がユーザによりなされることで起動された前記プレビュー表示制御手段により表示される前記プレビュー画面に前記保存された前記第1印刷ドキュメントに対応するプレビュー画像を表示させることも可能であることを特徴とする。
本発明によれば、の印刷ドキュメントと保存されたドキュメントとを表示し、選択している文書に対して印刷設定情報の変更を行うことができる。
情報処理装置のハードウェア構成の一例を示す図である。 情報処理装置の機能構成等を概念的に表したブロック図である。 プレビューフィルターの処理の一例を示す図である。 プレビュー制御モジュールによって提供される表示画面(プレビューウィンドウ)の一例を示す図である。 印刷プレビューウィンドウ上で印刷履歴機能に関する設定を行う操作の一例を示す図である。 プレビュー制御モジュールの起動処理の一例を示すフローチャートである。 履歴ドキュメントの表示処理の一例を示すフローチャートである。 プレビューウィンドウから印刷を行う際の処理の一例を示す図である。 履歴保存機能を備えたプレビューフィルター処理の一例を示すフローチャートである。
以下、本発明の実施形態について図面に基づいて説明する。
<実施形態1>
(情報処理装置のハードウェア構成)
図1は、情報処理装置100のハードウェア構成の一例を示す図である。
CPU102、RAM103、ROM104、ハードディスク(HDD)105、ネットワークインタフェースカード(NIC)109、ディスプレイ106、キーボード107、外部I/F108は、それぞれシステムバス101を介して互いに接続されている。システムバス101は、例えば、PCIバス、AGPバス、及びメモリバス等から成る。
CPU102は、装置全体の制御を行い、ハードディスク(HDD)105に格納されているアプリケーションプログラム、OS等を実行し、RAM103にプログラムの実行に必要な情報、ファイル等を一時的に格納する制御を行う。
ROM104は、記憶手段の一例であり、内部には、基本I/Oプログラム等のプログラム等を記憶する。RAM103は、一時記憶手段の一例であり、CPU102の主メモリ、ワークエリア等として機能する。
HDD105は、外部記憶手段の一つであり、大容量メモリとして機能するハードディスク(HDD)である。HDD105は、オペレーティングシステムやアプリケーションプログラム(例えば、本実施形態におけるプリンタドライバやプレビュー制御モジュール等)等を格納している。
ディスプレイ106は、表示手段の一例であり、キーボード107から入力したコマンド、印刷文書管理システムの文書情報等を表示するものである。
外部I/F108は、画像形成装置、USB機器、周辺機器を接続するためのI/Fである。
キーボード107は、指示入力手段の一例である。
NIC109は、ネットワークインタフェースカード(NIC)であり、ネットワーク111を介して印刷文書管理システムに含まれる他の装置(外部装置)とデータのやり取りを行う。
尚、上述したハードウェアの構成はその一例であり、図1の構成例に限定されるものではない。例えば、データやプログラムの格納先は、その特徴に応じてROM、RAM、HDD等で変更することもできる。
CPU102がプログラムを実行することによって情報処理装置100の機能(又はソフトウェア構成)が実現される。尚、後述する履歴ドキュメントは、記憶装置の一例であるRAM103又はHDD105等の記憶領域に記憶される。
(プリンタドライバ等の動作)
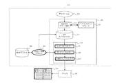
図2は、情報処理装置100の機能構成等を概念的に表したブロック図である。
本実施形態を含め、以下の実施形態に関わるモジュールは、印刷設定機能を有するユーザインタフェースモジュール215と、フィルター群219と、プレビュー制御モジュール203と、である。フィルター群219は、XPS文書のページをレイアウト処理する機能を有するレイアウトフィルター221と、プレビュー機能を提供するためのフィルターであるプレビューフィルター223と、を含む。また、フィルター群219は、XPS文書をプリンタが解釈可能な印刷コマンドに変換する機能を有する印刷コマンドフィルター225を含む。ここでフィルターとは、一般的に入力されたデータをもとに、加工、変換、無変換、生成等の工程を介して、何らかのデータを出力する機能を有するアプリケーション(プログラム)のことを称する。
図2における印刷システムでは、アプリケーション201が作成した文書の各ページのデータは、OSの印刷サポート機能213を通じてXPSスプールファイル217にXPS文書として一時的に蓄えられる。プリンタドライバのフィルター群219は、一時的に蓄えられたXPS文書を印刷設定情報に基づきプリンタが解釈可能な印刷コマンドに変換してプリンタ231に供給することによって印刷処理が実行される。
ユーザインタフェースモジュール215は、一般に、印刷に使用する用紙サイズや印刷方向、その他の属性を設定する機能を提供する。同時に、ユーザインタフェースモジュール215は、プリンタによる印刷動作を開始する前に印刷イメージを表示制御するプレビューを設定する機能を有する。ユーザインタフェースモジュール215は、複数の印刷設定項目の設定値が格納された印刷設定情報をアプリケーション201に返却する。
アプリケーション201は、作成した任意の文書の印刷にあたり、OSの印刷サポート機能213に対して、印刷開始や印刷終了を通知したり、印刷設定を行うためにユーザインタフェースモジュール215から返却された印刷設定情報を通知したりする。また、アプリケーション201は、文書の各ページの描画開始や描画終了を通知する。OSの印刷サポート機能213は、アプリケーションが描画した内容や印刷設定情報をXPSスプールファイル217に格納する。各フィルターは、スプールされたXPS文書をデスプールする際にOSの印刷サポート機能213から呼び出される。
プリンタドライバのフィルター群219は、一つ以上のフィルターで構成されており、印刷時にXPSスプールファイルからXPS文書を読込み、プリンタが解釈可能な印刷コマンドに変換してプリンタ231に供給し、印刷を行う機能を有する。本実施形態におけるフィルター群219は、レイアウト機能を有するレイアウトフィルター221と、プレビュー文書作成機能を有するプレビューフィルター223と、印刷コマンド変換機能を有する印刷コマンドフィルター225と、を含む。但しレイアウト機能とプレビュー機能とを一つのフィルターで実現したり、不要なフィルターは取り除いたりすることも可能であり、本実施形態は上記フィルター構成に限定されるものではない。
レイアウトフィルター221は、XPSスプールファイル217に格納されたXPS文書を入力とし、印刷設定情報に基づきページのレイアウト処理を行い、レイアウト済みのXPS文書を出力する機能を有する。本実施形態におけるレイアウト処理とは、例えば複数のページを一つの用紙面に印刷するN−up印刷や、一つのページを複数の用紙面に印刷するポスター印刷等を含む。
プレビューフィルター223は、レイアウトフィルター221から出力されたレイアウト済みのXPS文書に基づくプレビュー画像をユーザに提供するプレビュー制御モジュール203を備える。プレビューフィルターの動作については図3を用いて後述する。
本実施形態のプレビュー機能は、複数のXPS文書を扱うことが可能である。そのため、1つのXPS文書がプレビュー制御モジュール203に追加されると、そのXPS文書について以降の処理を行わず一度、終了する。これにより次のXPS文書の処理が開始され、プレビュー制御モジュール203に複数のXPS文書を追加することが可能となる。また、プレビュー制御モジュール203では履歴ドキュメント205をジョブリストに追加し、印刷や編集(結合)を行うこともできる。プレビューを確認したユーザが印刷を指示すると、プレビュー制御モジュール203は、印刷指示を受けたXPS文書を印刷キューに追加する。プレビュー制御モジュール203は、追加したXPS文書のプレビュー設定をOFFにする。これによりプレビューフィルター223が再度プレビューを行うことなく、次の印刷コマンドフィルター225にXPS文書を受け渡す。また、プレビュー制御モジュール203は、印刷時には印刷を行ったXPS文書を必要に応じて履歴ドキュメント205として保存する。
印刷コマンドフィルター225は、プレビューフィルター223から出力されたXPS文書と印刷設定情報に従い、XPS文書をプリンタが解釈可能な印刷コマンドに変換し出力する。印刷コマンドフィルター225は、入力されたXPS文書を一度、イメージデータに変換する場合、一般的にレンダーフィルターと呼ばれる。レンダーフィルターは、インクジェットプリンタに代表される廉価なラスタープリンタ用のプリンタドライバにおいて多く見られる。印刷コマンドフィルター225がレンダーフィルターとして動作する場合は、入力のXPS文書を一度、イメージデータに変換する。イメージデータは、その後、色空間の変換や二値化等の画像処理の過程を経て、ラスタープリンタが解釈可能な印刷コマンドに変換される。ページプリンタに代表される高機能なプリンタにおいて、プリンタが解釈できる印刷コマンドの種類にXPSが含まれるならば、印刷コマンドフィルター225は、入力のXPS文書を編集しXPS文書を出力する。印刷コマンドフィルター225にて処理する必要がない場合、印刷コマンドフィルター225は、入力のXPS文書をそのまま出力する。印刷コマンドフィルター225にて処理する必要がない場合、プリンタドライバは、印刷コマンドフィルター225を構成として含めなくてもよい。
出力デバイスであるプリンタ231は、印刷コマンドフィルター225で生成された印刷コマンドを解釈し、可視画像を印刷用紙に対して形成する機能を持つ。印刷用紙241で図示される印刷結果の例は、レイアウトフィルター221が2−upの処理を行った場合を示している。
(プレビューフィルター処理)
図3は、プレビューフィルターの処理の一例を示す図である。尚、本願のフローチャートの各ステップは、CPU102が関係するプログラムをメモリから読み出して実行することにより実現される。
まずS101で、プレビューフィルター223は、処理中のXPS文書のプレビュー設定がONかどうかを判定し、ONの場合はS103へ、OFFの場合はS111へ移る。S103で、プレビューフィルター223は、プレビュー制御モジュール203の起動を行い、S105へ移る。S105で、プレビューフィルター223は、プレビューフィルター223からプレビュー制御モジュール203にXPS文書を渡し、S107へ移る。プレビュー制御モジュール203は、XPS文書を表示することによってプレビューを行う。S107で、プレビューフィルター223は、現在処理中のXPS文書をキャンセルし、他のフィルターを含むドライバでの処理を中断する。これによって印刷キューからXPS文書が削除されるため、次のXPS文書の処理が可能となる。S111で、プレビューフィルター223は、プレビューを行わないため、次のフィルターにXPS文書を送信する。全てのXPS文書の送信が終了すると、プレビューフィルター223は、図3に示す処理を終了する。
(プレビュー制御モジュールのプレビューウィンドウ)
図4は、プレビュー制御モジュールによって提供される表示画面(プレビューウィンドウ)の一例を示す図である。印刷プレビュー画面の一例である印刷プレビューウィンドウ301は、プレビュー画像やXPS文書の印刷設定情報等を表示するための表示エリアと、ユーザがプレビュー画像の表示方法等を変更するための入力手段と、を兼備している。
メニューバー302は、ユーザが表示切り替え等、プレビューアへの命令をメニュー形式で選択するためのメニューバーである。ジョブリスト303は、プレビュー表示領域に表示されている、新規の印刷ドキュメントと既に印刷が実行された印刷ドキュメントである履歴ドキュメントとを含むドキュメントデータの一例である。尚、本願では、印刷ドキュメントも履歴ドキュメントもXPS文書である。ジョブリスト303には、プレビュー制御モジュール203によって、処理可能なドキュメントの一覧が表示されている。ジョブリスト303で選択されたドキュメントが表示や印刷の対象となる。履歴ドキュメントを表示する場合も新規の印刷ドキュメントと同様にジョブリスト303に表示される。この際、履歴ドキュメントであることを示すために、ジョブリスト303の状態欄には「保存済み」と表記される。また、プレビュー制御モジュール203は、ユーザの表示切替指示に応じて、履歴ドキュメントの表示と非表示とを切り換えることができる(表示切替)。
プレビュー制御モジュール203は、プレビュー表示領域304に、プレビュー用XPS文書の内容を利用し、印刷用紙と印刷用紙に形成されると予想される可視象とを印刷イメージとして表示する。ユーザ操作部305、306が用意される領域はツールバーである。ユーザはメニューバー302を使用しなくとも前記ツールバーを押下することで容易にプレビューページの切り替え等を指示することができる。ページ切り替えボタン305は、4つのボタンで構成されている。ユーザは、これらのボタンを用いて先頭ページ、前ページ、次ページ、最終ページへプレビュー表示を切り替えることを指示することができる。ドロップダウンリスト306は、プレビュー画像の表示サイズを変更する際に使用される。ユーザは、ドロップダウンリスト306を用いて、全体表示や100%、200%表示等の選択を指示することができる。表示領域307は、プレビュー表示されているXPS文書の印刷設定情報に関わる代表的な設定項目の設定値を表示する。図4においては文書の総ページ数は4ページであり、現在プレビュー表示しているページの番号は第3ページである例を示している。また、図4においては、印刷設定情報で設定された部数は1部で設定されている例を示している。
ドキュメントの編集を指示する編集オブジェクトの一例である結合ボタン308は、ユーザがジョブリスト303で複数のXPS文書を選択した状態で押下することで、選択された複数のXPS文書を結合するためのボタンである。この処理により結合ドキュメントが生成される。また、ユーザは、印刷設定変更領域309において、ジョブリストで選択しているXPS文書に対して印刷設定情報の変更を行うことができる。図4の例では、1枚の用紙に複数のページを配置する割り付け印刷設定と、両面印刷設定と、が可能となっているが、その他の設定項目の配置も可能である。印刷設定変更領域309(又は印刷設定変更領域309に設けられているチェックボックスやラジオボタン等)も、ドキュメントの編集を指示する編集オブジェクトの一例である。
尚、図4ではドキュメント1が選択されているため、上記設定変更はドキュメント1に適用され、履歴ドキュメントであるドキュメント2には適用されない。
ユーザが印刷ボタン310を押下することで、ジョブリスト303で選択されているXPS文書の印刷が開始される。
本実施形態において、プレビュー設定がONである印刷設定情報を伴うXPS文書がスプールされ、OSの印刷サポート機能によりフィルターパイプラインが起動される。そして、プリンタドライバがプレビュー制御モジュール203を起動した時点で図4に例示する表示画面が表示される。但し既にプレビュー制御モジュールが起動されている場合、プレビュー設定がONである印刷設定情報を伴うXPS文書は既存のプレビュー制御モジュール203に供給され、供給されたXPS文書はジョブリスト303に表示される。
また、図4に例示する表示画面は、履歴ドキュメントを印刷するために、プリンタドライバを介さずに直接起動することも可能である。その場合、履歴ドキュメントの表示は初期状態でONになっており、起動時に保存されている履歴ドキュメントがジョブリスト303に表示される。直接起動した場合でも、起動中にプレビュー設定がONである印刷設定情報を伴うXPS文書が発行された場合は、そのXPS文書は起動中のプレビュー制御モジュールに供給され、ジョブリスト303に表示される。
(プレビュー制御モジュールにおける履歴設定)
図5は、印刷プレビューウィンドウ301上で印刷履歴機能に関する設定を行う操作の一例を示す図である。ユーザが、メニューからファイルメニューを選択すると、ファイルメニュー一覧401が表示される。この中の履歴機能に関する項目として、「印刷履歴を保存」、「保存する履歴の件数」、「印刷履歴を表示」が存在する。「印刷履歴を保存」メニュー411は、プレビューから印刷されたドキュメントを履歴ドキュメントとして保存するかをユーザが設定するメニューである。ユーザがメニューを押下する度にON/OFFが切り替わり、保存を行う設定になっている場合はメニューの横にチェックが付けられる。保存は印刷時に行われ、プレビュー制御モジュール203で行われた編集内容が反映されたXPS文書が履歴ドキュメントとして保存される。一方、履歴ドキュメントを単に印刷した場合は、同じドキュメントが既に保存されているため、保存は行われない。但し履歴の保存時期の情報だけは更新される。「保存する履歴の件数」メニュー413は、ユーザが履歴ドキュメントの保存可能数の上限数を設定するためのメニューである。保存時に保存可能数の上限数を超えた場合、履歴ドキュメントは古いものから削除される。ユーザが、「保存する履歴の件数」メニュー413を押下すると、図示しない選択可能な保存数の一覧が表示され、その中から保存数を選択することで保存可能数が決定される。
「印刷履歴を表示」メニュー415は、ユーザがジョブリスト303に履歴ドキュメントを表示するかを設定するためのメニューである。メニューを押下する度にON/OFFが切り替わり、表示を行う設定になっている場合はメニューの横にチェックが付けられる。印刷履歴の表示がONになった場合、プレビュー制御モジュール203は、履歴ドキュメント205を呼び出し、ジョブリスト303に表示する。履歴ドキュメントの追加処理については図7を用いて後述する。逆に印刷履歴の表示がOFFになった場合、履歴ドキュメントは、表示されているジョブリスト303からは削除される。
ジョブリストに追加された履歴ドキュメントに対して、ユーザは新規ドキュメントと同様に編集や印刷を行うことができる。また、ユーザは新規ドキュメントと履歴ドキュメントとを選択して、結合ボタン308を押下することで、プレビュー制御モジュール203は、新規ドキュメントと履歴ドキュメントとから結合ドキュメントを生成することもできる。結合を含め、編集が行われ、印刷設定の変更された履歴ドキュメントは保存されているドキュメントと異なるため、編集後のドキュメントは新規ドキュメントとして扱われる。そのため、編集が行われた履歴ドキュメントは、ジョブリスト303の状態欄の「保存済み」の記載が削除され、印刷時の履歴保存の対象となる。
尚、本実施形態ではメニューによって印刷履歴に関する設定の変更方法を挙げたが、履歴表示ボタンを設ける等、他の方法で設定や表示の切り換え(表示切替)を行うこともできる。
(ジョブリストへのドキュメント追加処理)
本件におけるプレビュー制御モジュール203の起動には二通りの方法がある。一つ目はアプリからプリンタドライバの設定画面においてプレビュー設定ONで印刷を行う場合であり、二つ目は履歴ドキュメントの印刷を行うためにユーザが例えばスタートメニュー等に表示されるプレビュー制御モジュールに関するアイコンを指示した場合である。
図6は、プレビュー制御モジュールの起動処理の一例を示すフローチャートである。まずS201で、プレビュー制御モジュール203は、前記二つの起動方法のうち、どちらで起動されたかを判定する。プレビュー制御モジュール203は、アプリからの印刷によってプリンタドライバから起動された場合はS203に、直接、起動された場合(プリンタドライバ以外から起動された場合)はS205に移る。ここで、上述したように、プレビュー制御モジュール203は、プレビューフィルター223から起動された場合、プレビューフィルター223からXPS文書を受け取る。ここで、S201の具体的な判定方法について説明する。プレビュー制御モジュール203は、プレビューフィルター223よりXPS文書を受け取った場合は、プリンタドライバから起動されたと判定し、起動時に何も受け取らなかった場合は、直接、起動されたと判定する。また、その他にも起動パラメータ(起動時に渡される引数)の違いで起動モードを判定してもよい。尚、ここで、「直接、起動された」とは、例えば、スタートメニュー等においてプレビュー制御モジュール203に対応する文字列又はアイコン等が表示されており、この文字列又はアイコン等をユーザが選択したことによって起動されることを示す。
S203はプリンタドライバから起動された場合の処理である。S203では、プレビュー制御モジュール203は、アプリからの印刷によって作成されたXPS文書をフィルターから受け取り、処理可能ドキュメントとしてジョブリストに追加する。
S205からS209までの処理は、プレビュー制御モジュール203が直接、起動された場合の処理である。まずS205で、プレビュー制御モジュール203は、履歴ドキュメントの追加処理を行い、S207に移る。履歴ドキュメントの追加処理については図7を用いて後述する。S207では、プレビュー制御モジュール203は、S205で行われた履歴ドキュメントの追加処理で、ジョブリスト303に追加されたドキュメントが存在するか否かを判定する。プレビュー制御モジュール203は、存在しない場合はS209に移り、存在した場合は、プレビュー制御モジュール203の起動処理を終了する。S209では、プレビュー制御モジュール203は、表示可能なドキュメントが一つも存在しないためプレビュー制御モジュール203の処理を終了する。その際に、ユーザが終了理由を認識できるように、プレビュー制御モジュール203は、利用可能な履歴ドキュメントが存在しない旨をユーザに伝えるメッセージを表示する。
尚、本実施形態では、印刷による起動時は、初期状態で履歴の表示がOFFになっているとしているが、ONとすることもできる。また、起動時の履歴表示のON、OFFをユーザが設定する機能を情報処理装置100に持たせることもできる。
(履歴ドキュメントの表示)
図7は、履歴ドキュメントの表示処理(図6のS205)の一例を示すフローチャートである。まずS301で、プレビュー制御モジュール203は、保存されている履歴ドキュメントを新しいものから取得し、S303に移る。S303では、プレビュー制御モジュール203は、S301において履歴ドキュメントを取得できたかの判定を行う。プレビュー制御モジュール203は、取得できた場合はS305に移り、取得できなかった場合は履歴ドキュメントの追加処理を終了する。S305では、プレビュー制御モジュール203は、取得した履歴ドキュメントをプレビュー制御モジュール203で利用可能なように登録し、ジョブリスト303に追加する。その際、プレビュー制御モジュール203は、ジョブリスト303の状態欄には履歴ドキュメントであることを示すために「保存済み」と表示する。プレビュー制御モジュール203は、S305で履歴ドキュメントの追加処理が終了すると、S301に戻り、未処理の履歴ドキュメントの中から一番新しいドキュメントを取得する。プレビュー制御モジュール203は、このような処理を繰り返すことで保存された全ての履歴ドキュメントをプレビュー制御モジュール203へ追加する。全ての履歴ドキュメントがプレビュー制御モジュールに追加し、S303で未処理の履歴ドキュメントが存在しないと判定した場合、プレビュー制御モジュール203は、履歴ドキュメントの追加処理を終了する。
(印刷時処理)
図8は、プレビューウィンドウから印刷を行う際の処理の一例を示す図である。まずS401で、プレビュー制御モジュール203は、印刷対象となるユーザにより選択されたXPS文書を印刷キューに追加し、S403に移る。本実施形態で扱っているXPS文書は現在処理対象となっているデータとして用いられているため、印刷キューに追加することで印刷を行うことができる。この際、プレビュー制御モジュール203は、プレビュー設定をOFFにすることで、再度プレビューが行われないようにする。これは、対象のXPS文書にプレビュー済みであるという情報を付加し、フィルターでプレビュー済みのドキュメントであるかどうかを判定することでも実現可能である。また、プレビュー制御モジュールにおける処理対象のデータがXPS文書とは異なる形式である場合は、XPS文書への変換が必要となる。
S403では、プレビュー制御モジュール203は、履歴の保存設定がONかどうか判定し、ONの場合はS405に移り、OFFの場合はS421へ移る。S405では、プレビュー制御モジュール203は、印刷を行ったドキュメントが履歴ドキュメントであるかを判定し、履歴ドキュメントである場合はS407へ、履歴ドキュメントではない場合はS411へ移る。尚、履歴ドキュメントか否かの判定処理は、プレビュー制御モジュールが印刷対象となったデータを履歴ドキュメントとして読み込んだか否かの情報を記憶しておき、読み込んだデータである場合は履歴ドキュメントと判定する。
S407では、プレビュー制御モジュール203は、履歴ドキュメントに対して編集が行われたかどうかを判定する。具体的には、履歴ドキュメントのプリントチケットが、印刷時に変更された場合は、履歴ドキュメントに編集が行なわれたと判定する。
プレビュー制御モジュール203は、編集が行われていない場合はS409へ移り、編集が行われ、保存されている履歴ドキュメントと印刷時の設定が異なる場合はS411へ移る。S409では、プレビュー制御モジュール203は、既に保存されている履歴ドキュメントを印刷しているため、印刷した履歴ドキュメントの保存順の情報を更新し、印刷時の処理を終了する。プレビュー制御モジュール203は、履歴ドキュメントは保存可能数を超えると古いものから削除する。そのため、プレビュー制御モジュール203は、履歴ドキュメントの印刷を行った際は、保存された順番等の情報を更新し、印刷が行われた履歴ドキュメントを最新の履歴とする。
S411では、プレビュー制御モジュール203は、印刷したドキュメントを履歴ドキュメントとして保存し、S413に移る。S405とS407との判定によって既に保存されているドキュメントを重複して保存することはない。S413では、プレビュー制御モジュール203は、履歴表示がONかどうかの判定を行い、ONであればS415へ移り、OFFであればS421へ移る。S415、S421では、プレビュー制御モジュール203は、ジョブリストの更新を行う。S415では、プレビュー制御モジュール203は、印刷を行ったドキュメントを履歴として保存しており、履歴表示がONになっている。そのため、プレビュー制御モジュール203は、印刷したドキュメントをジョブリストから削除せず、履歴ドキュメントとしてリスト上に残す。この際、プレビュー制御モジュール203は、履歴ドキュメントであることを示すために、ジョブリストの状態欄を「保存済み」に変更する。S421では、プレビュー制御モジュール203は、履歴保存を行わない、若しくは履歴ドキュメントを表示しない設定になっている。そのため、プレビュー制御モジュール203は、印刷が実行されたドキュメントをジョブリストから削除する。ジョブリストの更新が終了すると、プレビュー制御モジュール203は、印刷時の処理を終了する。
<実施形態2>
実施形態1の処理によれば、印刷プレビュー上での履歴ドキュメントの処理が可能となった。しかし、プレビュー制御モジュール203で履歴の保存を行っているため、履歴として保存できるのはプレビューを行ったドキュメントのみであった。そこで本実施形態では、実施形態1の手法に加え、フィルターで履歴の保存を行うことでプレビューを行わないドキュメントについても履歴保存を行う手法について提案する。
図9は、履歴保存機能を備えたプレビューフィルター処理の一例を示すフローチャートである。まずS501で、プレビューフィルター223は、処理中のドキュメントのプレビュー設定がONかどうかを判定し、ONであればS503に移動し、OFFであればS511に移動する。プレビュー設定がONの場合のS503からS507までの処理については、実施形態1におけるプレビューフィルター223によるS103からS107までの処理と同じであるため、説明を省略する。
S511では、プレビューフィルター223は、履歴の保存設定がONであるかを判定し、ONであればS513に移り、OFFであればS531に移る。尚、履歴の保存設定は、プリンタドライバの設定画面(図4が表示される前に表示される画面)を使って指定される。S513では、プレビューフィルター223は、処理中のドキュメントが履歴ドキュメントであるか否かを判定し、履歴ドキュメントでなければS515に、履歴ドキュメントであればS521に移る。プレビューフィルター223において履歴ドキュメントかどうかを判定するには、プレビュー制御モジュール203が対象ドキュメントに対して履歴ドキュメントであるという情報を格納しておく必要がある。プレビューからの印刷時に情報を格納する方法としては、PTに記述する方法等が考えられるが、フィルターによって解読可能な場所であればどこに格納してもよい。
S515からS519までは履歴ではないドキュメントに対する処理であり、処理中のドキュメントが履歴ドキュメントとして保存される。尚、編集が行われ、保存時と設定の異なる履歴ドキュメントについても、履歴ドキュメントとして扱われないため、履歴ドキュメントとしての保存が行われる。S515では、プレビューフィルター223は、処理中のドキュメントを履歴ドキュメントとして保存し、S517に移る。S517では、プレビューフィルター223は、S515において履歴ドキュメントの保存が行われた際に、保存している履歴ドキュメントの数が、保存可能な上限数を超えていないかを判定し、超えている場合はS519に、超えていない場合はS531に移る。S519では、プレビューフィルター223は、履歴ドキュメントのなかで保存された時期の最も古いドキュメントの削除を行い、S531に移る。
S521は、履歴ドキュメントに対する処理である。したがって、プレビューフィルター223は、処理中のドキュメントは既に履歴ドキュメントとして保存されているため、新規に保存を行うことはしない。S521では、プレビューフィルター223は、履歴ドキュメントの保存順情報の更新を行い、S531に移る。S521の処理はS409と同じであるため、説明は省略する。
S531では、プレビューフィルター223は、印刷データを次のフィルターに送信し、プレビューフィルターの処理を終了する。
本実施形態によって、プレビューを行わずに印刷を行ったドキュメントを履歴として保存することが可能となる。尚、本実施形態ではプレビューフィルターによって保存を行っているが、フィルター構成や各フィルターの動作の違いによって保存に適切なフィルターが異なり、他のフィルターで保存を行うことも可能である。
<その他の実施形態>
また、本発明は、以下の処理を実行することによっても実現される。即ち、上述した実施形態の機能を実現するソフトウェア(プログラム)を、ネットワーク又は各種記憶媒体を介してシステム或いは装置に供給し、そのシステム或いは装置のコンピュータ(又はCPUやMPU等)がプログラムを読み出して実行する処理である。
以上、上述した各実施形態によれば、ユーザは、印刷を実行する際に印刷プレビューを行うだけで印刷履歴の扱いが可能となり、新規の印刷ジョブと履歴ドキュメントとを結合することが可能となる。つまり、新規の印刷ドキュメントと履歴ドキュメントとを容易に同一のアプリケーションで編集可能とすることができる。尚、上述したように、編集には、例えば、印刷設定の変更、ページの編集、ドキュメントの結合等が含まれる。
以上、本発明の好ましい実施形態について詳述したが、本発明は係る特定の実施形態に限定されるものではなく、特許請求の範囲に記載された本発明の要旨の範囲内において、種々の変形・変更が可能である。

Claims (24)

  1. アプリケーションからの印刷の指示に基づいて印刷に関わる処理を実行可能な情報処理装置であって、
    印刷ドキュメントのプレビュー画像と印刷設定情報の設定変更を受け付ける印刷設定領域を含むプレビュー画面を表示する表示制御手段を有し、
    印刷ドキュメントを保存するための保存機能が前記プレビュー画面を介して選択された場合、前記プレビュー画面を介して入力された印刷指示により第1印刷ドキュメントが保存され、
    前記保存機能が選択されたことで前記保存された前記第1印刷ドキュメントと前記第1印刷ドキュメントとは異なる第2印刷ドキュメントのうちの、何れかの印刷ドキュメントに対応するプレビュー画像が前記プレビュー画面に表示され、かつ、前記印刷設定領域を介して印刷設定情報が変更された場合、前記プレビュー画面に表示されているプレビュー画像に対応する印刷ドキュメントの印刷設定情報が変更され、前記プレビュー画面にプレビュー画像として表示されていない印刷ドキュメントの印刷設定情報については変更されず、
    アプリケーションから印刷が指示された場合に前記プレビュー画面が表示され、アプリケーションからの印刷の指示とは異なる指示がユーザによりなされた場合にも前記プレビュー画面が表示され
    前記異なる指示がユーザによりなされることで表示される前記プレビュー画面には、前記保存された前記第1印刷ドキュメントに対応するプレビュー画像が表示されることを特徴とする情報処理装置。
  2. アプリケーションからの印刷の指示とは異なる指示とは、前記プレビュー画面を表示させるための文字列に対する指示であることを特徴とする請求項1に記載の情報処理装置。
  3. アプリケーションからの印刷の指示とは異なる指示とは、前記プレビュー画面を表示させるためのアイコンに対する指示であることを特徴とする請求項1に記載の情報処理装置。
  4. アプリケーションからの印刷の指示に基づいて印刷に関わる処理を実行可能な情報処理装置であって、
    印刷ドキュメントのプレビュー画像と印刷設定情報の変更を受け付ける印刷設定領域を含むプレビュー画面を表示するプレビュー表示制御手段を有し、
    印刷ドキュメントを保存するための保存機能が前記プレビュー画面を介して選択された場合、前記プレビュー画面を介して入力された印刷指示により第1印刷ドキュメントが保存され、
    前記保存機能が選択されたことで前記保存された前記第1印刷ドキュメントと前記第1印刷ドキュメントとは異なる第2印刷ドキュメントのうちの、何れかの印刷ドキュメントに対応するプレビュー画像が前記プレビュー画面に表示され、かつ、前記印刷設定領域を介して印刷設定情報が変更された場合、前記プレビュー画面に表示されているプレビュー画像に対応する印刷ドキュメントの印刷設定情報が変更され、前記プレビュー画面にプレビュー画像として表示されていない印刷ドキュメントの印刷設定情報については変更されず、
    アプリケーションから印刷が指示された場合に前記プレビュー表示制御手段を起動させることも、アプリケーションからの印刷の指示とは異なる指示がユーザによりなされた場合に前記プレビュー表示制御手段を起動させることも可能であり
    前記アプリケーションから印刷が指示されることで起動された前記プレビュー表示制御手段により表示される前記プレビュー画面に前記保存された前記第1印刷ドキュメントに対応するプレビュー画像を表示させることも、前記異なる指示がユーザによりなされることで起動された前記プレビュー表示制御手段により表示される前記プレビュー画面に前記保存された前記第1印刷ドキュメントに対応するプレビュー画像を表示させることも可能であることを特徴とする情報処理装置。
  5. アプリケーションからの印刷の指示とは異なる指示とは、前記プレビュー画面を表示させるための文字列に対する指示であることを特徴とする請求項4に記載の情報処理装置。
  6. アプリケーションからの印刷の指示とは異なる指示とは、前記プレビュー画面を表示させるためのアイコンに対する指示であることを特徴とする請求項4に記載の情報処理装置。
  7. 前記プレビュー画面は、前記第1印刷ドキュメントに関する第1情報と前記第2印刷ドキュメントに関する第2情報とが表示された状態で1枚の用紙の面に配置されるページの数を示す割り付け印刷設定の変更、及び、両面印刷の指定の変更の少なくとも1つを受け付けることを特徴とする請求項1乃至6の何れか1項に記載の情報処理装置。
  8. 前記プレビュー画面は、印刷指示を受け付ける印刷受付部と、前記保存機能を受け付ける受付部とを提供することを特徴とする請求項1乃至7の何れか1項に記載の情報処理装置。
  9. 前記第1情報と前記第2情報として、前記第1印刷ドキュメントの名称と前記第2印刷ドキュメントの名称とを、前記プレビュー画面に表示させることを特徴とする請求項7に記載の情報処理装置。
  10. 前記プレビュー画面は、1つのプレビューウィンドウであることを特徴とする請求項1乃至9の何れか1項に記載の情報処理装置。
  11. ユーザの表示切替指示に応じて、前記プレビュー画面に、既に印刷された前記第1印刷ドキュメントを表示するか、非表示にするかを切り替え可能であることを特徴とする請求項1乃至10の何れか1項に記載の情報処理装置。
  12. アプリケーションからの印刷の指示に基づいて印刷に関わる処理を実行可能な情報処理装置が実行する情報処理方法であって、
    印刷ドキュメントのプレビュー画像と印刷設定情報の設定変更を受け付ける印刷設定領域を含むプレビュー画面を表示する表示制御ステップを有し、
    印刷ドキュメントを保存するための保存機能が前記プレビュー画面を介して選択された場合、前記プレビュー画面を介して入力された印刷指示により第1印刷ドキュメントが保存され、
    前記保存機能が選択されたことで前記保存された前記第1印刷ドキュメントと前記第1印刷ドキュメントとは異なる第2印刷ドキュメントのうちの、何れかの印刷ドキュメントに対応するプレビュー画像が前記プレビュー画面に表示され、かつ、前記印刷設定領域を介して印刷設定情報が変更された場合、前記プレビュー画面に表示されているプレビュー画像に対応する印刷ドキュメントの印刷設定情報が変更され、前記プレビュー画面にプレビュー画像として表示されていない印刷ドキュメントの印刷設定情報については変更されず、
    アプリケーションからの印刷が指示された場合に前記プレビュー画面が表示され、アプリケーションからの印刷の指示とは異なる指示がユーザによりなされた場合にも前記プレビュー画面が表示され
    前記異なる指示がユーザによりなされることで表示される前記プレビュー画面には、前記保存された前記第1印刷ドキュメントに対応するプレビュー画像が表示されることを特徴とする情報処理方法。
  13. アプリケーションからの印刷の指示に基づいて印刷に関わる処理を実行可能な情報処理装置が実行する情報処理方法であって、
    印刷ドキュメントのプレビュー画像と印刷設定情報の変更を受け付ける印刷設定領域を含むプレビュー画面を表示するプレビュー表示制御ステップを有し、
    印刷ドキュメントを保存するための保存機能が前記プレビュー画面を介して選択された場合、前記プレビュー画面を介して入力された印刷指示により第1印刷ドキュメントが保存され、
    前記保存機能が選択されたことで前記保存された前記第1印刷ドキュメントと前記第1印刷ドキュメントとは異なる第2印刷ドキュメントのうちの、何れかの印刷ドキュメントに対応するプレビュー画像が前記プレビュー画面に表示され、かつ、前記印刷設定領域を介して印刷設定情報が変更された場合、前記プレビュー画面に表示されているプレビュー画像に対応する印刷ドキュメントの印刷設定情報が変更され、前記プレビュー画面にプレビュー画像として表示されていない印刷ドキュメントの印刷設定情報については変更されず、
    アプリケーションからの印刷が指示された場合に前記プレビュー表示制御ステップを起動させることも、アプリケーションからの印刷の指示とは異なる指示がユーザによりなされた場合に前記プレビュー表示制御ステップを起動させることも可能であり、
    前記アプリケーションから印刷が指示されることで起動された前記プレビュー表示制御ステップにより表示される前記プレビュー画面に前記保存された前記第1印刷ドキュメントに対応するプレビュー画像を表示させることも、前記異なる指示がユーザによりなされることで起動された前記プレビュー表示制御ステップにより表示される前記プレビュー画面に前記保存された前記第1印刷ドキュメントに対応するプレビュー画像を表示させることも可能であることを特徴とする情報処理方法。
  14. コンピュータを、
    印刷ドキュメントのプレビュー画像と印刷設定情報の設定変更を受け付ける印刷設定領域を含むプレビュー画面を表示する表示制御手段として機能させ、
    印刷ドキュメントを保存するための保存機能が前記プレビュー画面を介して選択された場合、前記プレビュー画面を介して入力された印刷指示により第1印刷ドキュメントが保存され、
    前記保存機能が選択されたことで前記保存された前記第1印刷ドキュメントと前記第1印刷ドキュメントとは異なる第2印刷ドキュメントのうちの、何れかの印刷ドキュメントに対応するプレビュー画像が前記プレビュー画面に表示され、かつ、前記印刷設定領域を介して印刷設定情報が変更された場合、前記プレビュー画面に表示されているプレビュー画像に対応する印刷ドキュメントの印刷設定情報が変更され、前記プレビュー画面にプレビュー画像として表示されていない印刷ドキュメントの印刷設定情報については変更されず、
    アプリケーションから印刷が指示された場合に前記プレビュー画面が表示され、アプリケーションからの印刷の指示とは異なる指示がユーザによりなされた場合にも前記プレビュー画面が表示され
    前記異なる指示がユーザによりなされることで表示される前記プレビュー画面には、前記保存された前記第1印刷ドキュメントに対応するプレビュー画像が表示されることを特徴とするプログラム。
  15. アプリケーションからの印刷の指示とは異なる指示とは、前記プレビュー画面を表示させるための文字列に対する指示であることを特徴とする請求項14に記載のプログラム。
  16. アプリケーションからの印刷の指示とは異なる指示とは、前記プレビュー画面を表示させるためのアイコンに対する指示であることを特徴とする請求項14に記載のプログラム。
  17. コンピュータを、
    印刷ドキュメントのプレビュー画像と印刷設定情報の変更を受け付ける印刷設定領域を含むプレビュー画面を表示するプレビュー表示制御手段として機能させ、
    印刷ドキュメントを保存するための保存機能が前記プレビュー画面を介して選択された場合、前記プレビュー画面を介して入力された印刷指示により第1印刷ドキュメントが保存され、
    前記保存機能が選択されたことで前記保存された前記第1印刷ドキュメントと前記第1印刷ドキュメントとは異なる第2印刷ドキュメントのうちの、何れかの印刷ドキュメントに対応するプレビュー画像が前記プレビュー画面に表示され、かつ、前記印刷設定領域を介して印刷設定情報が変更された場合、前記プレビュー画面に表示されているプレビュー画像に対応する印刷ドキュメントの印刷設定情報が変更され、前記プレビュー画面にプレビュー画像として表示されていない印刷ドキュメントの印刷設定情報については変更されず、
    アプリケーションから印刷が指示された場合に前記プレビュー表示制御手段を起動させることも、アプリケーションからの印刷の指示とは異なる指示がユーザによりなされた場合に前記プレビュー表示制御手段を起動させることも可能であり、
    前記アプリケーションから印刷が指示されることで起動された前記プレビュー表示制御手段により表示される前記プレビュー画面に前記保存された前記第1印刷ドキュメントに対応するプレビュー画像を表示させることも、前記異なる指示がユーザによりなされることで起動された前記プレビュー表示制御手段により表示される前記プレビュー画面に前記保存された前記第1印刷ドキュメントに対応するプレビュー画像を表示させることも可能であることを特徴とするプログラム。
  18. アプリケーションからの印刷の指示とは異なる指示とは、前記プレビュー画面を表示させるための文字列に対する指示であることを特徴とする請求項17に記載のプログラム。
  19. アプリケーションからの印刷の指示とは異なる指示とは、前記プレビュー画面を表示させるためのアイコンに対する指示であることを特徴とする請求項17に記載のプログラム。
  20. 前記プレビュー画面は、前記第1印刷ドキュメントに関する第1情報と前記第2印刷ドキュメントに関する第2情報とが表示された状態で1枚の用紙の面に配置されるページの数を示す割り付け印刷設定の変更、及び、両面印刷の指定の変更の少なくとも1つを受け付けることを特徴とする請求項14乃至19の何れか1項に記載のプログラム。
  21. 前記プレビュー画面は、印刷指示を受け付ける印刷受付部と、前記保存機能を受け付ける受付部とを提供することを特徴とする請求項14乃至20の何れか1項に記載のプログラム。
  22. 前記第1情報と前記第2情報として、前記第1印刷ドキュメントの名称と前記第2印刷ドキュメントの名称とを、前記プレビュー画面に表示させることを特徴とする請求項20に記載のプログラム。
  23. 前記プレビュー画面は、1つのプレビューウィンドウであることを特徴とする請求項14乃至22の何れか1項に記載のプログラム。
  24. ユーザの表示切替指示に応じて、前記プレビュー画面に、既に印刷された前記第1印刷ドキュメントを表示するか、非表示にするかを切り替え可能であることを特徴とする請求項14乃至23の何れか1項に記載のプログラム。
JP2015165584A 2015-08-25 2015-08-25 情報処理装置、情報処理方法及びプログラム Active JP6129255B2 (ja)

Priority Applications (1)

Application Number Priority Date Filing Date Title
JP2015165584A JP6129255B2 (ja) 2015-08-25 2015-08-25 情報処理装置、情報処理方法及びプログラム

Applications Claiming Priority (1)

Application Number Priority Date Filing Date Title
JP2015165584A JP6129255B2 (ja) 2015-08-25 2015-08-25 情報処理装置、情報処理方法及びプログラム

Related Parent Applications (1)

Application Number Title Priority Date Filing Date
JP2014161465A Division JP5805279B2 (ja) 2014-08-07 2014-08-07 情報処理装置、情報処理方法及びプログラム

Publications (3)

Publication Number Publication Date
JP2016026341A JP2016026341A (ja) 2016-02-12
JP2016026341A5 JP2016026341A5 (ja) 2016-07-14
JP6129255B2 true JP6129255B2 (ja) 2017-05-17

Family

ID=55303620

Family Applications (1)

Application Number Title Priority Date Filing Date
JP2015165584A Active JP6129255B2 (ja) 2015-08-25 2015-08-25 情報処理装置、情報処理方法及びプログラム

Country Status (1)

Country Link
JP (1) JP6129255B2 (ja)

Families Citing this family (1)

* Cited by examiner, † Cited by third party
Publication number Priority date Publication date Assignee Title
JP6922299B2 (ja) 2017-03-21 2021-08-18 セイコーエプソン株式会社 制御装置、及び、プログラム

Family Cites Families (7)

* Cited by examiner, † Cited by third party
Publication number Priority date Publication date Assignee Title
JP4328426B2 (ja) * 1999-11-02 2009-09-09 キヤノン株式会社 印刷制御方法および装置
JP2006072739A (ja) * 2004-09-02 2006-03-16 Canon Inc 情報処理装置及びその制御方法、プログラム
JP2006209708A (ja) * 2005-01-31 2006-08-10 Seiko Epson Corp プリンタドライバ
JP4425808B2 (ja) * 2005-02-03 2010-03-03 株式会社リコー 印刷情報処理装置、印刷情報処理プログラム及び記録媒体
JP2006277056A (ja) * 2005-03-28 2006-10-12 Brother Ind Ltd 情報処理装置及びプログラム
JP4785580B2 (ja) * 2006-03-17 2011-10-05 キヤノン株式会社 画像形成装置及びその制御方法、プログラム
JP4980961B2 (ja) * 2008-03-14 2012-07-18 株式会社リコー 印刷制御装置,印刷システム,プログラム,および記録媒体

Also Published As

Publication number Publication date
JP2016026341A (ja) 2016-02-12

Similar Documents

Publication Publication Date Title
JP5602424B2 (ja) 情報処理装置、情報処理方法及びプログラム
JP5693092B2 (ja) 情報処理装置、制御方法、及びプログラム
JP4520340B2 (ja) 印刷制御装置、印刷制御装置の制御方法、印刷制御プログラム及び記録媒体
JP2003248564A (ja) 文書管理装置、文書管理制御方法及び文書管理制御プログラム
EP2388685B1 (en) Information processing apparatus and control method thereof, and storage medium
KR20120094051A (ko) 문서 처리 장치 및 제어 방법 및 저장 매체
CN104811576B (zh) 图像形成装置及信息处理方法
JP2005242661A (ja) 文書プリント方法、文書プリントシステム、文書処理装置及び画像形成装置
JP6575270B2 (ja) 印刷設定支援装置及びプログラム
JP5371550B2 (ja) 情報処理装置、その制御方法、コンピュータプログラム
JP6129255B2 (ja) 情報処理装置、情報処理方法及びプログラム
JP2004094955A (ja) 文書管理装置、文書管理制御方法及び文書管理制御プログラム
JP5807460B2 (ja) 情報処理装置、プログラム、記憶媒体
JP5144429B2 (ja) 画像形成装置、方法、プログラム
JP5805279B2 (ja) 情報処理装置、情報処理方法及びプログラム
JP3754040B2 (ja) 文書管理装置、文書管理制御方法及び文書管理制御プログラム
JP4891052B2 (ja) 情報処理装置、プレビュー方法、プログラム、及び記憶媒体
JP4661832B2 (ja) 印刷制御装置およびプリンタドライバのプログラム
JP2020131603A (ja) 画像形成装置
JP2005193559A (ja) 画像形成装置
JP2008195041A (ja) 画像形成装置、情報処理方法、情報処理プログラム
JP2015047787A (ja) 画像形成装置、画像形成制御方法及び画像形成制御プログラム
JP2020201829A (ja) 情報処理装置、情報処理方法、及びプログラム
JP2008027217A (ja) 情報処理装置および印刷装置を備える印刷システム
JP2019204347A (ja) 情報処理装置及びその制御方法およびプログラム

Legal Events

Date Code Title Description
A521 Written amendment

Free format text: JAPANESE INTERMEDIATE CODE: A523

Effective date: 20151116

A521 Written amendment

Free format text: JAPANESE INTERMEDIATE CODE: A523

Effective date: 20160210

A521 Written amendment

Free format text: JAPANESE INTERMEDIATE CODE: A523

Effective date: 20160525

A977 Report on retrieval

Free format text: JAPANESE INTERMEDIATE CODE: A971007

Effective date: 20160713

A131 Notification of reasons for refusal

Free format text: JAPANESE INTERMEDIATE CODE: A131

Effective date: 20160719

A521 Written amendment

Free format text: JAPANESE INTERMEDIATE CODE: A523

Effective date: 20160920

A131 Notification of reasons for refusal

Free format text: JAPANESE INTERMEDIATE CODE: A131

Effective date: 20161122

A521 Written amendment

Free format text: JAPANESE INTERMEDIATE CODE: A523

Effective date: 20170123

TRDD Decision of grant or rejection written
A01 Written decision to grant a patent or to grant a registration (utility model)

Free format text: JAPANESE INTERMEDIATE CODE: A01

Effective date: 20170314

A61 First payment of annual fees (during grant procedure)

Free format text: JAPANESE INTERMEDIATE CODE: A61

Effective date: 20170411

R151 Written notification of patent or utility model registration

Ref document number: 6129255

Country of ref document: JP

Free format text: JAPANESE INTERMEDIATE CODE: R151