JP6076894B2 - ガス成分濃度分布測定装置及び排ガス脱硝システム - Google Patents

ガス成分濃度分布測定装置及び排ガス脱硝システム Download PDF

Info

Publication number
JP6076894B2
JP6076894B2 JP2013273585A JP2013273585A JP6076894B2 JP 6076894 B2 JP6076894 B2 JP 6076894B2 JP 2013273585 A JP2013273585 A JP 2013273585A JP 2013273585 A JP2013273585 A JP 2013273585A JP 6076894 B2 JP6076894 B2 JP 6076894B2
Authority
JP
Japan
Prior art keywords
laser
gas
laser light
exhaust gas
concentration distribution
Prior art date
Legal status (The legal status is an assumption and is not a legal conclusion. Google has not performed a legal analysis and makes no representation as to the accuracy of the status listed.)
Active
Application number
JP2013273585A
Other languages
English (en)
Other versions
JP2015127686A (ja
Inventor
安武 聡信
聡信 安武
塚原 千幸人
千幸人 塚原
杉山 友章
友章 杉山
翼 宮▲崎▼
翼 宮▲崎▼
Current Assignee (The listed assignees may be inaccurate. Google has not performed a legal analysis and makes no representation or warranty as to the accuracy of the list.)
Mitsubishi Heavy Industries Ltd
Original Assignee
Mitsubishi Heavy Industries Ltd
Priority date (The priority date is an assumption and is not a legal conclusion. Google has not performed a legal analysis and makes no representation as to the accuracy of the date listed.)
Filing date
Publication date
Application filed by Mitsubishi Heavy Industries Ltd filed Critical Mitsubishi Heavy Industries Ltd
Priority to JP2013273585A priority Critical patent/JP6076894B2/ja
Publication of JP2015127686A publication Critical patent/JP2015127686A/ja
Application granted granted Critical
Publication of JP6076894B2 publication Critical patent/JP6076894B2/ja
Active legal-status Critical Current
Anticipated expiration legal-status Critical

Links

Images

Landscapes

  • Investigating Or Analysing Materials By Optical Means (AREA)

Description

本発明は、ガス成分濃度分布測定装置及び排ガス脱硝システムに関するものである。
従来、配合ガスに含まれる特定物質の濃度測定を行う装置としてレーザ式ガス分析計が知られている。このレーザ式ガス分析計は、気体状のガス分子がそれぞれ固有の光吸収波長を有するという特性を利用し、特定物質が含まれるガスにレーザ光を照射し、その特定波長の吸光量から特定物質の濃度を測定するものである。
下記特許文献1には、アンモニアを含むガスが流通する配管ユニットからガスを吸引し、吸引したガスをレーザ式ガス分光計に導いてガス中に含まれるアンモニア濃度を測定する技術が開示されている。
特許文献2には、煙道の内部に挿入されて排ガスを採取するサンプリング管と、サンプリング管に対して加熱導管を介して接続されるフローセルユニットと、フローセルユニットに接続されるレーザ式ガス分析計とを備えるアンモニア濃度測定装置が開示されている。特許文献2に開示されているアンモニア濃度測定装置では、サンプリング管の内部に三酸化硫黄(SO3)を吸着するがアンモニアを通過させる吸着剤を装填し、排ガスから三酸化硫黄を除去したガスをレーザ式ガス分析計に導入させることで、アンモニアの測定精度を向上させている。
特開2012−8008号公報 特開2010−236877号公報
特許文献1、2に開示されているサンプリング方式の濃度測定装置では、以下のような問題点がある。
ガスを吸引して測定用の配管に導く際、測定の高速化が困難である。
ガスを測定用の配管に引き込んだ後に濃度測定を行うことから、配管を流通しているガスと測定管に引き込まれたガスの状態(例えば、水分濃度、温度等)が異なってしまい、測定精度が低下する。
流通ガスを局所的に採取して濃度測定を行うため、局所的なガス濃度測定はできても、濃度分布を取得することができない。また、サンプリング箇所を逐次変えて濃度測定を行えば、濃度分布を取得することは可能であるが、位置毎にガスの吸引、排出が必要となり、作業が煩雑であるとともに時間がかかる。
よって、例えばボイラ装置の排ガス中の窒素酸化物を脱硝する際に、ガス成分濃度分布を的確に把握して、効率的な脱硝を行うことができる排ガス脱硝システムの出現が切望されている。
本発明は、前記問題に鑑み、排ガス中の窒素酸化物を脱硝する際に、ガス成分濃度分布を的確に把握して、効率的な脱硝を行うことができるガス成分濃度分布測定装置及び排ガス脱硝システムを提供することを課題とする。
上述した課題を解決するための本発明の第1の発明は、燃焼排ガスが通過する煙道と、前記燃焼排ガスのガス流れ方向と同方向に回転軸を有し、レーザ発光部からのレーザ光をガス流れと直交する方向に照射するレーザ発光端部を回転する回転支持部と、前記レーザ発光端部と所定距離を持つと共に、前記回転支持部を中心として対向して設けられ、前記レーザ光を受光する受光端部を有する2以上のレーザ受光部と、を備えてなると共に、前記燃焼排ガスのガス流れ方向に第1のレーザ発光端部と第2のレーザ発光端部とを、所定間隔を持って設けると共に、これらに対向する第1の受光端部と第2の受光端部とを、前記回転支持部を中心として複数段配置してなり、前記回転支持部により前記レーザ発光端部を順次回転し、該レーザ発光端部と対向するレーザ受光端部にレーザ光を順次照射し、所定間隔を持った計測領域における燃焼排ガス中のガス組成の濃度をレーザ光の吸収により測定することを特徴とするガス成分濃度分布測定装置にある。
第2の発明は、第1の発明において、前記レーザ発光部からのレーザ光を光ファイバによりレーザ発光端部に送光することを特徴とするガス成分濃度分布測定装置にある。
の発明は、燃焼排ガス中に還元剤を供給する還元剤供給手段と、前記還元剤が含まれた排ガス中の窒素酸化物(NOx)を脱硝する区画された脱硝触媒を備えた脱硝装置と、前記脱硝装置の入口側又は出口側の少なくとも一方に設けられ、前記燃焼排ガス中のガス成分濃度分布を計測する第1又は第2の発明のガス成分濃度分布測定装置と、を具備し、前記ガス成分濃度分布測定装置の計測結果より、ガス成分濃度分布を求めることを特徴とする排ガス脱硝システムにある。
の発明は、第の発明において、前記ガス成分がアンモニア(NH3)又は窒素酸化物(NOx)のいずれか一方又は両方であることを特徴とする排ガス脱硝システムにある。
本発明によれば、1台のレーザ発光部を設け、これから照射されるレーザ光を複数のレーザ受光部で計測することにより、レーザ発光部を複数設置することを省略でき、レーザ計測装置の簡素化を図ることができる。
図1は、本実施例に係る脱硝装置を備えたボイラ装置の概略図である。 図2は、脱硝装置に設置するガス成分濃度分布測定装置の全体構成を示す平面概略図である。 図3は、図2の側面概略図である。脱硝装置内部の濃度測定領域の分割領域を示す説明図である。 図4は、回転支持部の駆動機構の概略図である。 図5は、本実施例に係るレーザ計測の様子を示す斜視図である。 図6は、本実施例に係る脱硝装置に設置する他のガス成分濃度分布測定装置の側面図である。 図7は、本実施例に係る脱硝装置に設置する他のガス成分濃度分布測定装置の側面図である。 図8は、吸収分光計測の概念図である。 図9は、吸収分光計測の吸収チャート図である。 図10は、排ガス中の煤塵濃度とレーザ光透過率との関係を示す図である。 図11は、本実施例に係る脱硝装置のアンモニア注入装置の概略構成例を示す系統図である。
以下に添付図面を参照して、本発明の好適な実施例を詳細に説明する。なお、この実施例により本発明が限定されるものではなく、また、実施例が複数ある場合には、各実施例を組み合わせて構成するものも含むものである。
図1は、本実施例に係る脱硝装置を備えたボイラ装置の概略図である。
図1に示すように、本実施例に係る排ガス脱硝システムを備えたボイラ装置100は、ボイラ101からの燃焼排ガス(以下「排ガス」という)102中に還元剤(例えばアンモニア:NH3)を供給する還元剤供給手段であるアンモニア注入装置104と、還元剤が含まれた窒素酸化物(NOx)を脱硝する区画された脱硝触媒106を備えた脱硝装置105と、前記脱硝装置の出口側に設けられ、前記脱硝装置105のガス流れに直交する区画された脱硝触媒106に対応する領域における排ガス中のガス成分(NH3、NOx)濃度分布をレーザ計測手段によりアンモニア濃度を測定するガス成分濃度分布測定装置10と、を具備し、前記ガス成分濃度分布測定装置10A(10B,10C)のアンモニア濃度の計測結果より、区画された領域のアンモニアの濃度分布を求めるものである。なお、図1中、符号107は空気予熱器、108は煙突を図示する。また、図2,3,6,7中、レーザ発光部11からレーザ発光端部11aまでの部材については、斜線を付して、レーザ受光部15との差別化を図るように作図している。
また、本実施例では、求めたアンモニア濃度分布より、脱硝不十分な区画を求める制御装置20と、この脱硝不十分な区画に対応する還元剤供給手段からの還元剤供給量を調節する調節手段である開度設定部109を備えている。
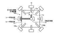
図2は、脱硝装置に設置するガス成分濃度分布測定装置の全体構成を示す平面概略図、図3は図2の側面概略図である。図2及び3に示すように、ガス成分濃度分布測定装置10Aは、燃焼排ガス102が通過する煙道103と、排ガス102のガス流れ方向と同方向に回転軸を有し、レーザ発光部11からのレーザ光12をガス流れと直交する方向に照射するレーザ発光端部11aを回転する回転支持部14と、レーザ発光端部11aと所定距離を持つと共に、回転支持部14を中心として対向して設けられ、レーザ光12を受光するレーザ受光端部15aを有する2以上のレーザ受光部15と、を備えてなり、回転支持部14によりレーザ発光端部11aを順次回転し、該レーザ発光端部11aと対向する受光端部15aにレーザ光12を順次照射し、所定間隔を持った計測領域Lにおける排ガス102中のガス組成(アンモニア)濃度をレーザ光の吸収により測定するものである。
本実施例では、回転支持部14を中心として、8個のレーザ受光部15に接続されるレーザ受光端部15aが配置されている。
なお、レーザ発光部11及びレーザ受光部15は、煙道103a,103bの外部側に配置されている。
図4は、回転支持部の駆動機構の概略図である。
レーザ発光端部11aは、レーザ発光部11から光ファイバ19によりレーザ光を伝搬するようにしており、回転支持部14では、図4に示すような図示しない駆動部より回転される第1のかさ歯車14aとこの第1のかさ歯車14aの回転に連れまわる第2のかさ歯車14bとによりレーザ発光端部11aを360度回転している。
角度可変は、煙道103の外部より図示しない制御装置を用いて、角度を可変したり、手動により角度を可変するようにしている。
そして、本実施例では、8個のレーザ受光端部15aとの間に設けた所定距離の計測領域Lをレーザ光12が通過する際、排ガス102中のガス組成の濃度をレーザ光12の吸収により測定している。
図5は、本実施例に係るレーザ計測の様子を示す斜視図である。
図5に示すように、レーザ発光部11から光ファイバ19を介して伝搬されたレーザ光12は、レーザ発光端部11aから出射され、対向する位置に配置されたレーザ受光端部15aに向かってレーザ光が到達し、レーザ受光部15(1)において受光される。これにより領域P1における濃度計測を実施することができる。
この照射が終了したら、回転支持部14を回転させ、次に45度回転して、同様にしてレーザ発光端部11aからレーザ光12を出射し、対向する位置に配置されたレーザ受光端部15aに向かってレーザ光を到達させ、レーザ受光部15(2)において受光する。これにより領域P2における濃度計測を実施することができる。
このようにして8箇所の領域(P1〜P8)において、ほぼ同時期における排ガス中のガス組成(アンモニア)の濃度分布を計測することができる。
これにより、従来では、8か所の分布を計測する場合には、レーザ光12の送光筒に1本に対して個別にレーザ光の送光器と受光器とを設けて、個別に計測し、8セットの送光器と8セットの受光器とを必要としていたが、本発明によれば、1台のレーザ発光部11を設けるだけで良いので、レーザ発光部を複数設置することを省略でき、レーザ計測装置の簡素化を図ることができる。
図6は、本実施例に係る脱硝装置に設置する他のガス成分濃度分布測定装置の側面図である。
図6に示すように、排ガス102のガス流れ方向に第1のレーザ発光端部11a−1と第2のレーザ発光端部11a―2とを、所定間隔を持って設けると共に、これらに対抗する第1の受光端部15a−1と、第2の受光端部15a−2を、回転支持部14A、14Bを中心として2段以上配置するようにしている。
この際、計測領域の切欠き位置を異なるようにすることで、回転支持部14Aを中心とした同心円の複数個所でのガス組成の濃度分布を計測することができる。
図7は、本実施例に係る脱硝装置に設置する他のガス成分濃度分布測定装置の側面図である。図7では、煙道13の断面形状が矩形状の場合、図1に示す断面形状が正方形よりも長尺方向(側壁103c、103d)と短尺方向(側壁103a、103b)に分布が広がるので、図1のガス成分濃度分布測定装置を2台設置している。
すなわち、図7中、左側の領域では、第1のレーザ発光部11Aからのレーザ光12を用いて、第1のレーザ受光部15Aで8箇所の領域(P1〜P8)の濃度分布を計測し、右側の領域では、第2のレーザ発光部11Bからのレーザ光12を用いて、第2のレーザ受光部15Bで8箇所の領域(P9〜P16)の濃度分布を計測している。
この結果、矩形の煙道103であっても、区分16点の領域(P1〜P18)のガス組成の濃度を計測することができる。
これにより、従来では、16か所の分布を計測する場合には、レーザ光12の送光筒1本に対して個別にレーザ光の送光器と受光器とを設けて、個別に計測し、16セットの送光器と16セットの受光器とを必要としていたが、本発明によれば、2台のレーザ発光部11A、11Bを設けるだけで良いので、レーザ装置の簡素化を図ることができる。
次に、本実施例に係る濃度分布測定の原理について、図を参照して説明する。
図8は、吸収分光計測の概念図である。図9は、吸収分光計測の吸収チャート図である。
レーザ光の光強度と測定対象の濃度との関係を示す関係式として、ランベルト・ベール(Lambert−Beer)の法則が知られている。
ランベルト・ベールの法則は、図8に示すように、レーザ光12の送光点(レーザ発光端部11a)と受光点(レーザ受光端部15a)との間の、レーザ経路の距離である計測領域をLとし、レーザ光12の照射強度をI、レーザ光12の受光強度をI(L)、距離L中に存在する測定対象(アンモニア)の濃度をCとした場合、以下の(1)式の関係が成立するというものである。
I(L)=Iexp(−kCL) ……(1)
ここで、kは測定対象の吸光度に応じて設定される比例係数である。
測定対象の濃度を測定する分割領域の濃度平均値をC、分割領域におけるレーザ経路の距離(送光筒の区切れた場所である計測領域L)をLとすると、上記(1)式は、以下の(2)式のように表すことができる。
I(L)=Iexp(−kC) ……(2)
予め設定されたレーザ経路ごとにレーザ光12を照射する際、分割領域におけるレーザ経路の距離(送光筒の区切れた場所である計測領域)L、レーザ光12の照射強度I及びレーザ光の受光強度I(L)は、既知であるから、上記(2)式によって、未知数である分割領域の濃度平均値Cを算出できる。
そして、上記構成を備えるガス成分濃度分布測定装置10Aにおいては、以下のような手順により、濃度測定領域のアンモニアの濃度分布が取得される。
また、ボイラ101からの排ガス102には、煤塵が含まれているので、計測領域Lであるレーザ光の光路長さを長くすると、煤塵の影響により光透過率が減衰することとなる。
図10は、排ガス中の煤塵濃度とレーザ光透過率との関係を示す図である。
図10では、波長が1.5μmの場合、煤塵濃度が6g/Nm3程度の石炭灰中に2.0mの光路長で計測が可能であることを確認している。
よって、煤塵濃度がそれ以上の場合には、1.5m、より好適には1m前後の光路長で計測することが良好である。
ここで、本実施例のように、排ガス中のアンモニア(NH3)濃度を計測するには、半導体レーザ(半導体素子:InGaAsを例示することができる。波長:1.5μm、出力:1mW程度のものを例示することができる)を用いることができる。
図11は、本実施例に係る脱硝装置のアンモニア注入装置の概略構成例を示す系統図である。
図11に示すように、アンモニア注入装置104は、アンモニア供給源に接続された流路配管のアンモニア主系統22に総流量制御弁23を備えている。このアンモニア主系統22は、総流量制御弁23の下流において、ヘッダ24から分岐させた複数本(図示の例では6本)のアンモニア供給系統26を備えている。
また、図11に示すように、アンモニア供給系統26は、各々が流量制御元弁25及び複数個(図示の例では3個)の注入ノズル27を備えており、排ガス102を流す流路である煙道103の内部に注入ノズル27が格子状の配置となるように設置されている。注入ノズル27は、流路配管のアンモニア主系統22、ヘッダ24及びアンモニア供給系統26を通ってアンモニア供給源から供給されたアンモニアを煙道103の内部に液滴又はガスの状態で流出させ、燃焼排ガス中に還元剤としてのアンモニアを注入するものである。なお、液滴の状態で注入されたアンモニアは、高温の燃焼排ガスから吸熱してガス化する。
こうして煙道103の内部に注入されたアンモニアのガスは、混合器を通過することにより燃焼排ガス102と撹拌混合される。この結果、アンモニアは窒素酸化物と反応して脱硝装置105内の脱硝触媒106を通過するので、水と窒素とに分解されることで窒素酸化物が燃焼排ガス中から除去される。
開度設定部109には、ガス成分濃度分布測定装置110で測定したアンモニア(NH3)濃度の測定値が制御装置20を介して入力される。このようなアンモニア濃度の入力を受けた開度設定部109は、アンモニア濃度の平均値に基づいて総流量制御弁23の開度の設定(開度制御)を行うとともに、複数個所のアンモニア濃度に基づいて各流量制御元弁25の開度の設定(開度制御)を行う。すなわち、開度設定部109は、総流量制御弁23及び流量制御元弁25の開度制御信号を出力する。
この場合、開度設定部109による流量制御元弁25の開度制御は、予め定めたアンモニア濃度と流量制御元弁25毎の開度との相関関係を定めた制御マップに基づいて行われる。すなわち、脱硝装置105は、ボイラ101毎に諸条件(煙道103の流路系統や流路断面積、燃料の種類等)が異なるため、事前に相関関係のデータを実験等により入手して制作した制御マップを開度設定部109に記憶しておく。なお、この制御マップでは、煙道103内のアンモニア濃度を区画された面内で測定した複数位置のアンモニア濃度に対して、複数系統のアンモニア供給系統26毎に異なる流量制御元弁25の開度を個別に設定するものである。
ガス成分濃度分布測定装置110は、上述したように、脱硝触媒106の出口側における煙道103で区画された区分(本実施例では9区分)内の濃度測定領域のアンモニア濃度分布を作成し、このアンモニア濃度分布を開度設定部109に出力する。
このような脱硝装置105によれば、ガス成分濃度分布測定装置110によって、煙道103における脱硝触媒106の出口側におけるアンモニア濃度分布が検出され、この検出結果が開度設定部109に出力される。開度設定部109では、アンモニア濃度の平均値に基づいて総流量制御弁23の開度制御が行われ、かつ、ガス成分濃度分布測定装置110によって得られたアンモニア濃度分布に基づいて流量制御元弁25の開度制御が行われる。これにより、脱硝装置105の運転を継続しながら、時定数の短いアンモニア濃度の測定値に応じ、複数のアンモニア供給系統26毎に分配されるアンモニア注入量を自動的に調整することができる。
このとき、流量制御元弁25の開度制御は、予め定めたアンモニア濃度と流量制御元弁25毎の開度とのマップに基づいて行われるので、アンモニア濃度により総供給量が規定されたアンモニアは、流量制御元弁25の開度に応じてアンモニア供給系統26に対するアンモニア分配量が調整される。
このように、アンモニア濃度分布が脱硝触媒106の性能劣化と関連しているので、アンモニア濃度分布に基づいてアンモニア注入装置104によるアンモニア注入量の分布制御を実施すれば、脱硝装置105の後流側に余剰に排出されるリークアンモニアの分布をコントロールすることができる。また、リークアンモニアは、空気予熱器107を閉塞させる原因でもあるから、濃度検出に基づいてアンモニア注入装置104によるアンモニア注入量の分布制御を実施すれば、空気予熱器107の閉塞頻度低減に寄与することも可能になる。
本実施例に係る脱硝装置105によれば、脱硝装置105の運転を継続しながら、時定数の短いアンモニア濃度の測定値に応じて、複数の還元剤供給系統毎に分配される還元剤注入量を自動的に調整することが可能になる。これにより、還元剤注入の分配最適化による脱硝触媒106の寿命延長や脱硝触媒106の更新の効率化を達成することができる。この結果、脱硝装置105においては、脱硝触媒106の更新に伴うコストの低減やアンモニア消費量の最適化を実現できる。
本実施例では、脱硝装置105の出口側で、ガス成分濃度分布測定装置10A(10B、10C)を設置し、アンモニア濃度を計測しているが、脱硝装置105の入口側と出口側とにガス成分濃度分布測定装置10A(10B、10C)を設け、脱硝触媒106に供給するアンモニア濃度と脱硝後のリークアンモニア濃度を計測することで、供給アンモニア濃度に対するリークアンモニア濃度の分布を測定することもできる。
また、本実施例では、脱硝装置105の出口側でアンモニア濃度を計測しているが、脱硝装置105の出口側でのガス成分の計測に限定されず、ボイラ出口から脱硝装置105に至る煙道103のいずれかにおいて、入口側のガス成分を図るようにしてもよい。
本実施例では、図1に示すように、半導体レーザを制御するための制御装置20が設置されている。この制御装置20は、例えば、コンピュータであり、CPU、CPUが実行するプログラム等を記憶するためのROM(Read Only Memory)、各プログラム実行時のワーク領域として機能するRAM(Random Access Memory)、大容量記憶装置としてのハードディスクドライブ(HDD)、通信ネットワークに接続するための通信インターフェース、及び外部記憶装置が装着されるアクセス部などを備えている。これら各部は、バスを介して接続されている。更に、制御装置20は、キーボードやマウス等からなる入力部及びデータを表示する液晶表示装置等からなる表示部などと接続されていてもよい。
上記CPUが実行するプログラム等を記憶するための記憶媒体は、ROMに限られない。例えば、磁気ディスク、光磁気ディスク、半導体メモリ等の他の補助記憶装置であってもよい。なお、本実施例では、制御装置20を一つのコンピュータによって実現する構成としているが、複数のコンピュータによって実現してもよい。
まず、測定を行うレーザ経路に対応するように、制御装置20によって半導体レーザのレーザ発光部11が起動され、更に、レーザ光の出力が安定した後に、レーザ経路における測定が行われる。
このレーザ経路における測定が終了した後、次のレーザ経路における測定を開始する。このようにして、レーザ経路ごとの測定を順次行う。その後、レーザ発光部11からレーザ光が照射され、レーザ光が所定のレーザ経路を通過することで測定対象により吸光されたレーザ光がレーザ受光部15によって受光される。
レーザ受光部15は、受光した光によって光強度を検出する。レーザ光の検出値は、制御装置20に出力される。このとき、制御装置20は、レーザ受光部15による検出値とその検出値に対応するレーザ経路の識別情報(P1〜P8)とを関連付けることができる。
制御装置20に入力された検出値とレーザ経路の情報は、互いに関連付けられて制御装置20にて記憶される。更に、上記レーザ照射の際のレーザ発光部11からのレーザ光の照射強度も制御装置20にて記憶される。そして、制御装置20では、記憶されたデータに基づいてNO濃度分布が作成される。
具体的には、各レーザ経路上の分割領域の距離や、入力された検出値及びレーザ光の照射強度が読み出されて、上記(2)式で表わされる濃度演算式を用いることにより分割領域ごとの測定対象の濃度が算出される。そして、各分割領域の濃度が補間されることにより、濃度測定領域の濃度分布が作成される。これにより、濃度測定領域における測定対象の濃度分布が得られることとなる。
このようにして得られた濃度測定領域の濃度分布は、例えば、制御装置20と接続された表示装置(図示略)に表示されることによって、ユーザに提示される。
そして、リークするアンモニア濃度分布の全てが所定値以下であれば、そのままの条件で運転を継続する。この場合、アンモニア注入装置104の注入量の調整は行わない。
これに対し、アンモニア濃度分布の一部に濃度が高い場所があると、制御装置20の判断部で判断された場合には、開度設定部109にその情報信号を送る。そして開度設定部109において、その特定されたアンモニア濃度分布の高い場所に対応するアンモニア注入装置104からのアンモニアが注入できるように、流量制御元弁25の開度制御が行われる。これにより、脱硝装置105の運転を継続しながら、アンモニア濃度の測定値に応じ、複数のアンモニア供給系統26毎に分配されるアンモニア注入量を自動的に調整することができる。
この結果、脱硝装置105の出口側で、ガス成分濃度分布測定装置110によりアンモニア濃度分布を各々計測することで、リアルタイムにおいて、一様に脱硝されているかを確認することができる。
排ガス中の窒素酸化物(NOx)の変動は、ボイラ負荷の変動やボイラ101に供給する燃料の種類等が変更した場合、ボイラ立ち上げの際に発生する。
よって、本装置を用いて、負荷変動等があった場合には、通常の計測回数よりも頻繁に濃度分布の計測を行うようにして、窒素酸化物の脱硝が確実になされているかを判断するようにしてもよい。
10A〜10C ガス成分濃度分布測定装置
11 レーザ発光部
11a レーザ発光端部
12 レーザ光
14 回転支持部
15 レーザ受光部
15a レーザ受光端部
100 ボイラ装置
101 ボイラ
102 燃焼排ガス(排ガス)
103 煙道
104 アンモニア注入装置
105 脱硝装置
106 脱硝触媒

Claims (4)

  1. 燃焼排ガスが通過する煙道と、
    前記燃焼排ガスのガス流れ方向と同方向に回転軸を有し、レーザ発光部からのレーザ光をガス流れと直交する方向に照射するレーザ発光端部を回転する回転支持部と、
    前記レーザ発光端部と所定距離を持つと共に、前記回転支持部を中心として対向して設けられ、前記レーザ光を受光する受光端部を有する2以上のレーザ受光部と、を備えてなると共に、
    前記燃焼排ガスのガス流れ方向に第1のレーザ発光端部と第2のレーザ発光端部とを、所定間隔を持って設けると共に、これらに対向する第1の受光端部と第2の受光端部とを、前記回転支持部を中心として複数段配置してなり、
    前記回転支持部により前記レーザ発光端部を順次回転し、該レーザ発光端部と対向するレーザ受光端部にレーザ光を順次照射し、所定間隔を持った計測領域における燃焼排ガス中のガス組成の濃度をレーザ光の吸収により測定することを特徴とするガス成分濃度分布測定装置。
  2. 請求項1において、
    前記レーザ発光部からのレーザ光を光ファイバによりレーザ発光端部に送光することを特徴とするガス成分濃度分布測定装置。
  3. 燃焼排ガス中に還元剤を供給する還元剤供給手段と、
    前記還元剤が含まれた排ガス中の窒素酸化物(NOx)を脱硝する区画された脱硝触媒を備えた脱硝装置と、
    前記脱硝装置の入口側又は出口側の少なくとも一方に設けられ、前記燃焼排ガス中のガス成分濃度分布を計測する請求項1又は2のガス成分濃度分布測定装置と、を具備し、
    前記ガス成分濃度分布測定装置の計測結果より、ガス成分濃度分布を求めることを特徴とする排ガス脱硝システム。
  4. 請求項3において、
    前記ガス成分がアンモニア(NH3)又は窒素酸化物(NOx)のいずれか一方又は両方であることを特徴とする排ガス脱硝システム。
JP2013273585A 2013-12-27 2013-12-27 ガス成分濃度分布測定装置及び排ガス脱硝システム Active JP6076894B2 (ja)

Priority Applications (1)

Application Number Priority Date Filing Date Title
JP2013273585A JP6076894B2 (ja) 2013-12-27 2013-12-27 ガス成分濃度分布測定装置及び排ガス脱硝システム

Applications Claiming Priority (1)

Application Number Priority Date Filing Date Title
JP2013273585A JP6076894B2 (ja) 2013-12-27 2013-12-27 ガス成分濃度分布測定装置及び排ガス脱硝システム

Publications (2)

Publication Number Publication Date
JP2015127686A JP2015127686A (ja) 2015-07-09
JP6076894B2 true JP6076894B2 (ja) 2017-02-08

Family

ID=53837730

Family Applications (1)

Application Number Title Priority Date Filing Date
JP2013273585A Active JP6076894B2 (ja) 2013-12-27 2013-12-27 ガス成分濃度分布測定装置及び排ガス脱硝システム

Country Status (1)

Country Link
JP (1) JP6076894B2 (ja)

Families Citing this family (2)

* Cited by examiner, † Cited by third party
Publication number Priority date Publication date Assignee Title
KR102074728B1 (ko) * 2017-12-19 2020-02-07 주식회사 포스코 가스 농도 측정 장치
CN114324237B (zh) * 2021-12-23 2023-09-05 中建材环保研究院(江苏)有限公司 烟气脱硝系统的氨逃逸检测装置及方法

Family Cites Families (5)

* Cited by examiner, † Cited by third party
Publication number Priority date Publication date Assignee Title
CH592931A5 (ja) * 1976-03-18 1977-11-15 Cerberus Ag
JPS632145U (ja) * 1986-06-23 1988-01-08
JPH0626843Y2 (ja) * 1988-12-15 1994-07-20 石川島播磨重工業株式会社 ガス濃度測定装置
JPH04148493A (ja) * 1990-10-12 1992-05-21 Nohmi Bosai Ltd 煙検出装置
JPH09304413A (ja) * 1996-05-15 1997-11-28 Showa Electric Wire & Cable Co Ltd 透明流体中の異物検出方法と装置

Also Published As

Publication number Publication date
JP2015127686A (ja) 2015-07-09

Similar Documents

Publication Publication Date Title
JP5972760B2 (ja) 排ガス脱硝システム、排ガス脱硝装置の再生方法及び排ガス脱硝装置の触媒交換方法
JP5964216B2 (ja) 排ガス脱硝装置の触媒診断システム及び方法
CA2871816C (en) A method for measuring temperature, molecular number density, and/or pressure of a gaseous compound from a thermal device, and a thermal system
CN102022193B (zh) 用于闭环排放物控制的系统和方法
US9243939B2 (en) Flow volume measurement device and flow velocity measurement device
ES2426107T3 (es) Análisis de gases de combustión
EP2752656A1 (en) Fluid composition analysis mechanism, heat generation amount measurement device and power plant, and liquid composition analysis method
JP5960030B2 (ja) ガス中のガス成分濃度多点計測装置
KR101760259B1 (ko) 추출 암모니아 연속 모니터링 시스템
JP2011127988A (ja) ガス計測セル及びこれを用いたガス濃度計測装置
JP6000083B2 (ja) 排ガス脱硝システム
JP6076894B2 (ja) ガス成分濃度分布測定装置及び排ガス脱硝システム
JP6025504B2 (ja) 排ガス中のガス成分濃度計測装置
JP5931557B2 (ja) 濃度分布測定装置及び濃度分布測定方法
JP6008577B2 (ja) 濃度測定装置及び脱硝装置
CN107764774A (zh) 一种同时测量烟气脱硝中一氧化氮和氨气的装置及方法
JP5943687B2 (ja) 濃度測定装置
JP6016777B2 (ja) ガス成分濃度分布測定装置及び排ガス脱硝システム
JP2014020801A (ja) 濃度分布測定装置及び脱硝装置
JP6076895B2 (ja) ガス成分濃度分布測定装置及び排ガス脱硝システム
JP6025505B2 (ja) ガス中のガス成分濃度計測装置
JP6076812B2 (ja) レーザ濃度計測装置及び方法
JP2012002463A (ja) 燃焼プラント制御装置及び燃焼プラント制御方法
JP2012167635A (ja) 排ガス再循環装置および内燃機関システム
US20130057856A1 (en) Fluid composition analysis mechanism, calorific value measurement device, power plant and fluid composition analysis method

Legal Events

Date Code Title Description
A621 Written request for application examination

Free format text: JAPANESE INTERMEDIATE CODE: A621

Effective date: 20151028

A977 Report on retrieval

Free format text: JAPANESE INTERMEDIATE CODE: A971007

Effective date: 20160817

A131 Notification of reasons for refusal

Free format text: JAPANESE INTERMEDIATE CODE: A131

Effective date: 20160830

A521 Written amendment

Free format text: JAPANESE INTERMEDIATE CODE: A523

Effective date: 20161031

TRDD Decision of grant or rejection written
A01 Written decision to grant a patent or to grant a registration (utility model)

Free format text: JAPANESE INTERMEDIATE CODE: A01

Effective date: 20161213

A61 First payment of annual fees (during grant procedure)

Free format text: JAPANESE INTERMEDIATE CODE: A61

Effective date: 20170111

R151 Written notification of patent or utility model registration

Ref document number: 6076894

Country of ref document: JP

Free format text: JAPANESE INTERMEDIATE CODE: R151