JP6075847B2 - 画像通信装置及び方法、並びにプログラム - Google Patents

画像通信装置及び方法、並びにプログラム Download PDF

Info

Publication number
JP6075847B2
JP6075847B2 JP2012249425A JP2012249425A JP6075847B2 JP 6075847 B2 JP6075847 B2 JP 6075847B2 JP 2012249425 A JP2012249425 A JP 2012249425A JP 2012249425 A JP2012249425 A JP 2012249425A JP 6075847 B2 JP6075847 B2 JP 6075847B2
Authority
JP
Japan
Prior art keywords
control means
fax
fax communication
communication
network
Prior art date
Legal status (The legal status is an assumption and is not a legal conclusion. Google has not performed a legal analysis and makes no representation as to the accuracy of the status listed.)
Expired - Fee Related
Application number
JP2012249425A
Other languages
English (en)
Other versions
JP2014099706A (ja
Inventor
井上 豊
豊 井上
Current Assignee (The listed assignees may be inaccurate. Google has not performed a legal analysis and makes no representation or warranty as to the accuracy of the list.)
Canon Inc
Original Assignee
Canon Inc
Priority date (The priority date is an assumption and is not a legal conclusion. Google has not performed a legal analysis and makes no representation as to the accuracy of the date listed.)
Filing date
Publication date
Application filed by Canon Inc filed Critical Canon Inc
Priority to JP2012249425A priority Critical patent/JP6075847B2/ja
Priority to US14/127,783 priority patent/US9549083B2/en
Priority to PCT/JP2013/079649 priority patent/WO2014077138A1/en
Publication of JP2014099706A publication Critical patent/JP2014099706A/ja
Priority to US15/375,521 priority patent/US10051137B2/en
Application granted granted Critical
Publication of JP6075847B2 publication Critical patent/JP6075847B2/ja
Expired - Fee Related legal-status Critical Current
Anticipated expiration legal-status Critical

Links

Images

Classifications

    • HELECTRICITY
    • H04ELECTRIC COMMUNICATION TECHNIQUE
    • H04NPICTORIAL COMMUNICATION, e.g. TELEVISION
    • H04N1/00Scanning, transmission or reproduction of documents or the like, e.g. facsimile transmission; Details thereof
    • H04N1/00127Connection or combination of a still picture apparatus with another apparatus, e.g. for storage, processing or transmission of still picture signals or of information associated with a still picture
    • H04N1/00204Connection or combination of a still picture apparatus with another apparatus, e.g. for storage, processing or transmission of still picture signals or of information associated with a still picture with a digital computer or a digital computer system, e.g. an internet server
    • H04N1/00209Transmitting or receiving image data, e.g. facsimile data, via a computer, e.g. using e-mail, a computer network, the internet, I-fax
    • H04N1/00214Transmitting or receiving image data, e.g. facsimile data, via a computer, e.g. using e-mail, a computer network, the internet, I-fax details of transmission
    • H04N1/0022Transmitting or receiving image data, e.g. facsimile data, via a computer, e.g. using e-mail, a computer network, the internet, I-fax details of transmission involving facsimile protocols or a combination of facsimile protocols and computer data transmission protocols
    • HELECTRICITY
    • H04ELECTRIC COMMUNICATION TECHNIQUE
    • H04MTELEPHONIC COMMUNICATION
    • H04M7/00Arrangements for interconnection between switching centres
    • H04M7/006Networks other than PSTN/ISDN providing telephone service, e.g. Voice over Internet Protocol (VoIP), including next generation networks with a packet-switched transport layer
    • HELECTRICITY
    • H04ELECTRIC COMMUNICATION TECHNIQUE
    • H04MTELEPHONIC COMMUNICATION
    • H04M7/00Arrangements for interconnection between switching centres
    • H04M7/006Networks other than PSTN/ISDN providing telephone service, e.g. Voice over Internet Protocol (VoIP), including next generation networks with a packet-switched transport layer
    • H04M7/0066Details of access arrangements to the networks
    • H04M7/0069Details of access arrangements to the networks comprising a residential gateway, e.g. those which provide an adapter for POTS or ISDN terminals
    • HELECTRICITY
    • H04ELECTRIC COMMUNICATION TECHNIQUE
    • H04NPICTORIAL COMMUNICATION, e.g. TELEVISION
    • H04N1/00Scanning, transmission or reproduction of documents or the like, e.g. facsimile transmission; Details thereof
    • H04N1/00095Systems or arrangements for the transmission of the picture signal
    • H04N1/001Systems or arrangements for the transmission of the picture signal specially adapted for transmission via digital wireline networks
    • HELECTRICITY
    • H04ELECTRIC COMMUNICATION TECHNIQUE
    • H04NPICTORIAL COMMUNICATION, e.g. TELEVISION
    • H04N1/00Scanning, transmission or reproduction of documents or the like, e.g. facsimile transmission; Details thereof
    • H04N1/00095Systems or arrangements for the transmission of the picture signal
    • H04N1/00114Systems or arrangements for the transmission of the picture signal with transmission of additional information signals
    • H04N1/00119Systems or arrangements for the transmission of the picture signal with transmission of additional information signals of sound information only
    • HELECTRICITY
    • H04ELECTRIC COMMUNICATION TECHNIQUE
    • H04NPICTORIAL COMMUNICATION, e.g. TELEVISION
    • H04N1/00Scanning, transmission or reproduction of documents or the like, e.g. facsimile transmission; Details thereof
    • H04N1/00127Connection or combination of a still picture apparatus with another apparatus, e.g. for storage, processing or transmission of still picture signals or of information associated with a still picture
    • H04N1/00281Connection or combination of a still picture apparatus with another apparatus, e.g. for storage, processing or transmission of still picture signals or of information associated with a still picture with a telecommunication apparatus, e.g. a switched network of teleprinters for the distribution of text-based information, a selective call terminal
    • H04N1/00312Connection or combination of a still picture apparatus with another apparatus, e.g. for storage, processing or transmission of still picture signals or of information associated with a still picture with a telecommunication apparatus, e.g. a switched network of teleprinters for the distribution of text-based information, a selective call terminal with a digital transmission apparatus, e.g. a switched network of teleprinters for the distribution of text-based information, SMS or ISDN device
    • HELECTRICITY
    • H04ELECTRIC COMMUNICATION TECHNIQUE
    • H04NPICTORIAL COMMUNICATION, e.g. TELEVISION
    • H04N1/00Scanning, transmission or reproduction of documents or the like, e.g. facsimile transmission; Details thereof
    • H04N1/32Circuits or arrangements for control or supervision between transmitter and receiver or between image input and image output device, e.g. between a still-image camera and its memory or between a still-image camera and a printer device
    • H04N1/327Initiating, continuing or ending a single-mode communication; Handshaking therefor
    • H04N1/32704Establishing a communication with one of a facsimile and another telecommunication apparatus sharing a single line
    • H04N1/32706Type of the other apparatus
    • H04N1/32708Telephone
    • HELECTRICITY
    • H04ELECTRIC COMMUNICATION TECHNIQUE
    • H04NPICTORIAL COMMUNICATION, e.g. TELEVISION
    • H04N1/00Scanning, transmission or reproduction of documents or the like, e.g. facsimile transmission; Details thereof
    • H04N1/32Circuits or arrangements for control or supervision between transmitter and receiver or between image input and image output device, e.g. between a still-image camera and its memory or between a still-image camera and a printer device
    • H04N1/327Initiating, continuing or ending a single-mode communication; Handshaking therefor
    • H04N1/32704Establishing a communication with one of a facsimile and another telecommunication apparatus sharing a single line
    • H04N1/32715Detecting
    • H04N1/32719Detecting a facsimile calling signal, e.g. CNG
    • HELECTRICITY
    • H04ELECTRIC COMMUNICATION TECHNIQUE
    • H04NPICTORIAL COMMUNICATION, e.g. TELEVISION
    • H04N1/00Scanning, transmission or reproduction of documents or the like, e.g. facsimile transmission; Details thereof
    • H04N1/32Circuits or arrangements for control or supervision between transmitter and receiver or between image input and image output device, e.g. between a still-image camera and its memory or between a still-image camera and a printer device
    • H04N1/327Initiating, continuing or ending a single-mode communication; Handshaking therefor
    • H04N1/32704Establishing a communication with one of a facsimile and another telecommunication apparatus sharing a single line
    • H04N1/32715Detecting
    • H04N1/32726Detecting signals other than facsimile protocol signals, e.g. DTMF signals
    • HELECTRICITY
    • H04ELECTRIC COMMUNICATION TECHNIQUE
    • H04NPICTORIAL COMMUNICATION, e.g. TELEVISION
    • H04N1/00Scanning, transmission or reproduction of documents or the like, e.g. facsimile transmission; Details thereof
    • H04N1/32Circuits or arrangements for control or supervision between transmitter and receiver or between image input and image output device, e.g. between a still-image camera and its memory or between a still-image camera and a printer device
    • H04N1/327Initiating, continuing or ending a single-mode communication; Handshaking therefor
    • H04N1/32704Establishing a communication with one of a facsimile and another telecommunication apparatus sharing a single line
    • H04N1/32715Detecting
    • H04N1/32728Detecting an off-hook condition
    • HELECTRICITY
    • H04ELECTRIC COMMUNICATION TECHNIQUE
    • H04NPICTORIAL COMMUNICATION, e.g. TELEVISION
    • H04N1/00Scanning, transmission or reproduction of documents or the like, e.g. facsimile transmission; Details thereof
    • H04N1/32Circuits or arrangements for control or supervision between transmitter and receiver or between image input and image output device, e.g. between a still-image camera and its memory or between a still-image camera and a printer device
    • H04N1/327Initiating, continuing or ending a single-mode communication; Handshaking therefor
    • H04N1/32704Establishing a communication with one of a facsimile and another telecommunication apparatus sharing a single line
    • H04N1/32739Generating signals
    • H04N1/32743Generating ring-back signals or tones
    • HELECTRICITY
    • H04ELECTRIC COMMUNICATION TECHNIQUE
    • H04NPICTORIAL COMMUNICATION, e.g. TELEVISION
    • H04N1/00Scanning, transmission or reproduction of documents or the like, e.g. facsimile transmission; Details thereof
    • H04N1/32Circuits or arrangements for control or supervision between transmitter and receiver or between image input and image output device, e.g. between a still-image camera and its memory or between a still-image camera and a printer device
    • H04N1/327Initiating, continuing or ending a single-mode communication; Handshaking therefor
    • H04N1/32704Establishing a communication with one of a facsimile and another telecommunication apparatus sharing a single line
    • H04N1/32747Controlling the connection of the apparatus
    • H04N1/32756Inhibiting connection of another apparatus when a first one is connected
    • HELECTRICITY
    • H04ELECTRIC COMMUNICATION TECHNIQUE
    • H04MTELEPHONIC COMMUNICATION
    • H04M2242/00Special services or facilities
    • H04M2242/24Detection or indication of type terminal or call, (e.g. fax, broadband)
    • HELECTRICITY
    • H04ELECTRIC COMMUNICATION TECHNIQUE
    • H04NPICTORIAL COMMUNICATION, e.g. TELEVISION
    • H04N2201/00Indexing scheme relating to scanning, transmission or reproduction of documents or the like, and to details thereof
    • H04N2201/32Circuits or arrangements for control or supervision between transmitter and receiver or between image input and image output device, e.g. between a still-image camera and its memory or between a still-image camera and a printer device
    • H04N2201/3201Display, printing, storage or transmission of additional information, e.g. ID code, date and time or title
    • H04N2201/3278Transmission

Landscapes

  • Engineering & Computer Science (AREA)
  • Signal Processing (AREA)
  • Multimedia (AREA)
  • General Engineering & Computer Science (AREA)
  • Computer Networks & Wireless Communication (AREA)
  • Computing Systems (AREA)
  • Human Computer Interaction (AREA)
  • Facsimile Transmission Control (AREA)
  • Telephonic Communication Services (AREA)
  • Facsimiles In General (AREA)
  • Telephone Function (AREA)

Description

本発明は、音声による通話とみなし音声でのFAX通信が可能な画像通信装置及び方法、並びにプログラムに関する。
従来の画像通信方法には、公衆電話回線(PSTN)を使用したファクシミリ(以下、単に「FAX」と略す)伝送のほかに、IP網などの高速ネットワークを用いたFAX伝送がある。IP網を用いたFAX伝送には2種類の方法がある。1つは、ITU−T勧告のT.30プロトコルを用いたT.30みなし音声伝送である。これは、T.30のアナログ信号をデジタル信号に変換して伝送する方法であり、T.30のアナログ信号を音声信号と「みなし」て伝送するため、T.30みなし音声伝送と呼ばれる。もう1つは、ITU−T勧告のT.38で規定された伝送方式で、T.30プロトコルで伝送される信号をデジタル信号のまま伝送する方法であり、T.30に比べて高速な伝送が行なえる。
上記2つの方法はいずれも、呼制御手段としてSIP(Session Initiation Protocol)が用いられ、IP網上でのPoint to Pointの伝送が実現される(特許文献1)。また、IP網としては、例えば日本のNTT社が提供しているNGN(Next Generation Network)と呼ばれるデジタル公衆網や、IP構内交換機(IP−PBX)などを用いた構内IP回線がある。特に、NGNを利用した場合、帯域保証、セキュリティ管理などが行われるため、高速かつ安全に画像伝送が行える。
従来のPSTNにおける伝送速度は最大でも33.6kbpsであったが、NGNでは最大1Mbpsを保証しており、約30倍早い伝送が可能になる。このようなT.38FAX通信、T.30みなし音声のFAX通信を可能にした画像通信装置において、電話系のオペレーションをIP網上で構成する方法がある。すなわち、画像通信装置をPSTNに接続する必要がなく、ネットワーク接続のみで通話、FAX通信が可能になる。この場合、ハンドセット、子電話もFAX通信と同様に、IP網に接続され、IP網に音声パケットを通すことで音声データの受け渡しが行われる。これが、いわゆるIP電話と呼ばれるものである。IP電話における音声パケットの符号化方式は、ITU−T勧告G.711が用いられ、この伝送プロトコルとしてRTP(Real Time Protocol)が使用される。このような画像通信装置でも、従来のアナログ電話回線に接続されたFAXでの各種受信モードや、手動受信モードでの電話オペレーションによるリモート受信機能をサポートする必要がある。ここでいう各種受信モードには、自動受信モード、留守電(留守番電話)接続モード、FAX/TEL切替モード、手動受信モードが含まれる(特許文献2)。
自動受信モードとは、着信時に、装置に接続されたハンドセット、子電話で応答させることなく、自動的にFAX受信になるモードである。
留守電接続モードとは、子電話として留守電機能を持つ電話を接続したときに選択されるモードである。留守電接続モードは、留守番電話での留守録中にFAXの初期識別信号(FAX手順のCNG(Calling Tone)信号)を検出した場合には自動的にFAX受信に切り替える。
FAX/TEL切替モードとは、かかってきた音声呼がFAXなのか電話なのかを自動判別するモードである。FAX/TEL切替モードは、一旦、FAX側で呼接続した後にCNGを検出した場合には自動的にFAX受信を開始し、検出しなかった場合にはハンドセットまたは子電話を鳴動させてオペレータを呼び出すモードである。
手動受信モードとは、通話のみをサポートするモードであり、留守電接続モードやFAX/TEL切替モードとは異なり、自動的にFAX受信に切り替えられることはない。但し、リモート受信機能があれば、ユーザからの指示に従ってFAX受信に切り替えることができる。リモート受信機能とは、接続されている電話機からのオペレーション(予め定められたダイヤル)で装置本体をFAX受信に切り替える機能である。
IP網に接続され、IP網でのFAX通信(T.38FAX通信、T.30みなし音声でのFAX通信)と電話機能とを有する画像通信装置では、上記各種受信モードで着呼する。この場合、T.38での着呼とT.30みなし音声及び通話での着呼は、SIP手順で使用される相手機が出すメディアの属性で区別することができる。着呼はSIP手順のINVITE信号で通知されるが、この通知内容にメディア属性(INVITE信号に含まれるm=以下の記述)が含まれる。m=audioの場合はT.30みなし音声又通話での着呼を示し、m=imageやm=applicationの場合は、T.38のFAX通信の着呼となる。従って、T.38の着呼の場合は、受信モードが何に設定されていても、自動的にT.38でのFAX受信に切り替えることができる。
しかしながら、T.30みなし音声及び通話での着呼は、メディア属性が同じであり、区別がつかない。そのため、留守電接続モードやFAX/TEL切替モードでのFAX受信への切り替えを行うためには、呼を接続した上でFAX通信かどうかを判定する必要がある。
従来のアナログ電話回線を使用した着呼時に、留守電接続モード、FAX/TEL切替モードに設定されていた場合には、回線上の音を、FAX通信の制御を行うFAX通信制御部へ接続する。このFAX通信制御部は、いわゆるMODEM(Modulation Demodulation(変復調機))である。
そして、MOMEMのフィルター機能を使用してCNG信号を識別し、CNG信号が検出された場合に、自動的にFAX受信へ切り替えていた。T.30みなし音声通信とIP網での電話通話が可能な画像通信装置でも、同様なCNG検出が必要になる。
特開2004−187262号公報 特開平05−095439号公報
IP網に接続して電話を実現するために、電話とIP網を接続する電話制御部:SLIC(Subscriber Line Interface Circuit:加入者線接続回路とも呼ばれる)が用いられる。SLICの主な用途は、電話からのダイヤル信号などの識別や、電話の鳴動制御、電話のフック検知などである。このSLICは、IP電話を実現するためには必須なデバイスであるが、このデバイスはあくまでも電話用に作られており、上述したFAX通信に対する機能、具体的には、FAX受信切り替えに使用するCNG信号の検出機能を持っていない。
従って、SLICだけでは、留守電接続機能、FAX/TEL切替自動でのFAX受信への切替は実現することができない。
更に、従来のアナログ電話回線を使用した着呼時に、リモート受信機能が設定されていない場合には、通話中に子電話からのダイヤル信号を検出する手段を設け、予め決められたダイヤルで有ったときにFAX受信に切り替えていた。
子電話からのダイヤルは、DTMF(Dual Tone MultiFrequency)信号で行われる。T.30みなし音声通信とIP網での電話通話が可能な画像通信装置でもリモート受信機能は必要であり、この場合は、子電話からのDTMF信号の検出手段が必要になる。上述したSLICには、DTMF検出機能があり、これが使用可能であるが、DTMF検出時にFAX受信へ切り替える手段は従来なかった。
本発明は、IP網での音声による通話とT.30みなし音声でFAX通信が可能な画像通信装置にて、CNG検出を確実に行うことができ、留守電接続モードやFAX/TEL切替モードでのFAX受信への切り替えを実現できる技術を提供することを目的とする。
上記目的を達成するために、本発明の画像通信装置は、音声による通話と、みなし音声でのFAX通信が可能な画像通信装置において、前記通話を制御する電話制御手段と、前記FAX通信を制御するFAX通信制御手段と、ネットワークからの入力信号の線路を前記電話制御手段と前記FAX通信制御手段に選択的に切り替え接続するとともに、前記電話制御手段と前記FAX通信制御手段からの出力信号の線路を前記ネットワークに選択的に切り替え接続する接続手段と、着信後に、前記接続手段により、前記ネットワークからの入力信号の線路を前記電話制御手段と前記FAX通信制御手段の両方に接続してFAXの初期識別信号検出を前記FAX通信制御手段で行わせ、前記FAX通信制御手段が前記初期識別信号を検出した場合に、前記FAX通信を開始するように制御する通信制御手段とを備えることを特徴とする。
本発明によれば、IP網での音声による通話とT.30みなし音声でFAX通信が可能な画像通信装置において、CNG検出を確実に行うことができ、留守電接続モードやFAX/TEL切替モードでのFAX受信への切り替えを実現することができる。また、リモート受信設定時にも、確実にFAX受信へ移行することが可能となる。
本発明の実施形態に係る画像通信装置の概略構成を示す図である。 セレクタと音声信号処理部の概略構成を示す図である。 図1の画像通信装置における各種受信モードとリモート受信設定を判定する動作の流れを示すフローチャートである。 図3のステップS5における自動受信モード処理の詳細を示すフローチャートである。 図3のステップS6における留守電接続モード処理の詳細を示すフローチャートである。 図3のステップS7におけるFAX/TEL切替モード処理の詳細を示すフローチャートである(その1)。 図3のステップS7におけるFAX/TEL切替モード処理の詳細を示すフローチャートである(その2)。 図3のステップS8におけるリモート受信モード処理の詳細を示すフローチャートである。 受信モードとして手動受信モードが設定されていた場合の動作を説明するフローチャートである。 画像通信装置の各受信モード時のセレクタのSWの接続状態の一例を示す図である。 T.38でのFAX通信のプロトコルシーケンスの一例を示す図である。 T.38でのFAX通信のINVITE信号の一例を示す図である。 みなし音声でのFAX通信のプロトコルシーケンスの一例を示す図である。 音声着呼のINVITE信号の一例を示す図である。
以下、本発明の実施の形態を図面を参照して詳細に説明する。
図1は、本発明の実施形態に係る画像通信装置の概略構成を示す図である。
図1において、画像通信装置100は、上述したIP網での音声による通話とT.30みなし音声でFAX通信が可能な画像通信装置である。
CPU101は、ROM108に格納された制御プログラムに基づいて画像通信装置100における各デバイスを制御する。表示/操作部103は、例えば、ウインドウ、アイコン、メッセージ、メニュー、その他のユーザインターフェース情報が表示される。また、表示/操作部103は、図示は省略するが、ユーザがコピー、FAX、プリンタ操作を行うための各種キーや、表示画面上のアイコン、メニューなどを操作するための画面、ポインティングデバイス等を備える。
スキャナ部104は、原稿の読み取りを行う。印刷部105は、RAM109やHDD(ハードディスクドライブ)110に保存した印刷データの印刷を行う。ROM108は、各種制御プログラムやデータを保持するメモリである。RAM109は、CPU101のワーク領域、エラー処理時のデータの退避領域、制御プログラムのロード領域など利用されるメモリである。HDD110は、各種制御プログラムや印刷データを保存する記憶装置である。
T.30/T.38プロトコル作成/解析部111は、ITU−U勧告T.30/T.38プロトコルによるファクシミリ伝送情報を生成し、また受信したプロトコルからファクシミリ伝送情報を取り出す機能を有する。IPパケット作成/解析部106は、ITU−U勧告T.30/T.38プロトコルをIPパケットにマッピングし、また受信したIPパケットからITU−U勧告T.30/T.38プロトコルを取り出す機能を有する。画像変換制御部107は、FAX通信する画像の圧縮伸張や変倍、線密度変換を行う。
ネットワークI/F部112は、NIC(Netwrok Interface Contoroller)と呼ばれ、IP網に接続される。セレクタ113は、NIC112と音声信号処理部114との間で入出力信号の線路を選択的に切り替え接続する選択切替接続手段である。
音声信号処理部114は、音声信号の符号/復号化を行い、電話を接続するための電話制御部(SLIC)や、FAX信号の送受信をするFAX通信制御部(変復調器(MODEM))を持つ(※SLIC:Subscriber Line Interface Circuit)。
また、音声信号処理部114では、通話の場合、電話制御部(SLIC)からの信号がハンドセット/子電話115に供給される。T.30みなし音声でのFAX通信の場合、音声信号処理部114内のFAX通信制御部(MODEM)で信号処理が行われる。
次に、セレクタ113と音声信号処理部114の内部構成について図2を参照して説明する。
図2は、セレクタ113と音声信号処理部114の概略構成を示す図である。
セレクタ113は、NIC112と音声信号処理部114との間で信号を選択して受け渡すための選択切替接続手段であり、図示のように、スイッチSW_A、SW_B、SW_C、SW_Dを備える。
音声信号処理部114は、電話制御部(SLIC)206と、FAX通信制御部(MODEM)204とを備える。SLIC206には、G.711などのコーデックであるD/A変換部207及びA/D変換部208と、DTMF検出部209とを備える。SLIC206には、これらのほかに、ハンドセット/子電話115の鳴動などの制御部分が含まれる。MODEM204は、トーン検出器205を備える。MODEM204には、変復調部などを含む。
通常、アナログ電話回線でFAX通信に使用されるMODEMの回線側の信号はアナログ信号であるが、図2に示したMODEM204は、IP網などのデジタル網に接続されるもので、IP網側と直接デジタル信号で接続されるデジタルMODEMである。
IP網からデバイスへの入力信号は、Line_IN信号としてNIC112からセレクタ113に出力される。一方、デバイスからIP網への出力信号は、Line_OUT信号としてセレクタ113からNIC112へ出力される。
セレクタ113は、Line_IN信号の線路とLine_OUT信号の線路を、それぞれ、音声信号処理部114のMODEM204へ接続するか、SLIC206へ接続するかを制御する。この制御は、スイッチSW_A、SW_B、SW_C、SW_Dで行われる。
ハンドセット/子電話115を使ってユーザが通話する時は、スイッチSW_C、SW_Dが接続(ON)され、IP網から/への信号がSLIC206に入出力される。このとき、スイッチSW_A、SW_Bは非接続状態(OFF)となっている。MODEM204を使用して、みなし音声でのFAX通信を実行する時は、スイッチSW_A、SW_Bが接続(ON)され、IP網から/への信号がMODEM204に入出力される。このとき、スイッチSW_C、SW_Dは非接続状態(OFF)となっている。
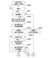
図3は、図1の画像通信装置100における各種受信モードとリモート受信設定を判定する動作の流れを示すフローチャートである。なお、以下に説明する処理は、特に断りがない限り、HDD110からRAM109に読み込んだプログラムコードに基づいて、CPU101が実行するものとする。
ステップS1では、CPU101は、受信モードが自動受信モードかを判定する。自動受信モードであると判定した場合には、ステップS5の自動受信モード処理を行う。一方、自動受信モードでないと判定した場合、ステップS2へ進む。
ステップS2では、CPU101は、受信モードが留守電接続モードかを判定する。留守電接続モードであると判定した場合には、ステップS6の留守電接続モード処理を行う。一方、留守電接続モードでないと判定した場合には、ステップS3へ進む。
ステップS3では、CPU101は、受信モードがFAX/TEL切替モードかを判定する。FAX/TEL切替モードであると判定した場合には、ステップS7のFAX/TEL切替モード処理を行う。一方、FAX/TEL切替モードでないと判定した場合には、CPU101が手動受信が設定されていると判定し、ステップS4へ進む。
ステップS4では、CPU101は、リモート受信が設定されているかどうかを判定し、リモート受信が設定されていると判定した場合、ステップS8のリモート受信モード処理を行う。一方、リモート受信が設定されていないと判定した場合には、ステップS9の手動受信モード処理を行う。
次に、図3のステップS5〜ステップS9の各処理の詳細について説明する。
図4は、図3のステップS5における自動受信モード処理の詳細を示すフローチャートである。
図4において、まず、ステップS100で着呼が有ったかどうか判定される。着呼は、IP網からSIP手順のINVITE信号の受信を意味する。このINVITE信号を受信したかどうかを、NIC112からの信号によりCPU101が判定する。着呼がないと判定した場合には着呼を待ち、着呼が有った場合にはステップS101に進む。
ステップS101では、CPU101は、着呼が音声通信でのものか、データ通信でのものかを判定する。この判定は、INVITE信号で送られてくるメディア属性(m=以下の定義)で行われる。データ(T.38)通信着呼時のINVITE信号を図11に示し、音声通信着呼時のINVITE信号を図13に示す。図示のデータ列の「m=」以下がメディア属性を示す。メディア属性が「m=application」や「m=image」である場合にはデータ通信を示し、「m=audio」の場合には音声通信になる。このようにしてCPU101は着呼が音声通信か、データ通信かを判定する。
ステップS101でデータ通信の着呼と判定された場合には、ステップS110に進み、呼接続が行われる。呼接続は、後述するSIPプロトコルの「200 OK信号」をIP網に送出することで行われる。
次に、ステップS111でT.38でのFAX通信が開始され、ステップS112で通信終了かどうかをCPU101が判定し、通信終了と判定した場合は、ステップS106で呼を切断し、リターンする。一方、ステップS112で通信が終了していないと判定された場合には、ステップS111へ戻り、T.38でのFAX通信が継続される。T.38でのFAX通信のプロトコルシーケンスを図10に示す。
図10において、通常SIPによる信号のやりとりは、SIPサーバを介して行われる。発信機で発呼した場合に、INVITE信号がSIPサーバへ送られ、更にSIPサーバはこれを着信側に出力する。着信機でINVITE信号を受け、受付可能であればSIPサーバに電話が鳴動中であることを示す「180 Ringing」信号を出し、更に着呼できた段階で「200 OK」信号を出す。この「180 Ringing」信号及び「200 OK」信号はSIPサーバを介して発信機へ送られる。さらに、発信機は、この「200 OK」信号に対するレスポンスであるACK信号をSIPサーバを介して着信機に送る。この手順の後は、発信機と着信機が1対1に接続され、T.38のFAX通信が行われる。通信が終了した場合には、着信機がSIPのBYE信号をSIPサーバを介して発信機に送り、発信機はこのBYE信号へのレスポンスである「200 OK」信号をSIPサーバを介して着信機に送り、呼が切断される。
図4の説明に戻る。図4のステップS101で音声通信の着呼と判定された場合には、T.30みなし音声でのFAX通信を開始すべく、IP網から/への信号の線路をMODEM204に接続する。これは、セレクタ113のスイッチSW_A、SW_Bを接続(ON)することで行われる。このとき、スイッチSW_C、SW_Dは非接続状態(OFF)となっている。
次に、ステップS103で呼接続する。呼接続の方法は、T.38の場合と同じで、IP網へSIPの「200 OK」信号を送出することで行われる。次に、ステップS104でT.30みなし音声でのFAX通信が開始され、ステップS105で通信が終了したと判定されるまで行われる。ステップS105で通信が終了したと判定された場合には、ステップS106で呼が切断され、リターンする。このT.30みなし音声での呼接続、通信のシーケンスに関して、図10に示したT.38でのFAX通信のシーケンスと異なる。具体的には、INVITE信号のメディア属性が「m=audio」である点と、図11に示すT.38でのFAX通信がT.30みなし音声でのFAX通信になる点が異なる。
以上のように、自動受信モード時の着呼時には、まずINVITE信号のメディア属性でT.38かT.30みなし音声の着呼なのかを判定し、適切にFAX受信へ移行する。
図5は、図3のステップS6における留守電接続モード処理の詳細を示すフローチャートである。
図5において、まず、ステップS200で着呼が有ったかどうか判定される。ステップS200は図4のステップS100と同様である。着呼がないと判定された場合には着呼を待ち、着呼が有った場合にはステップS201に進む。
ステップS201では、CPU101は、着呼が音声通信でのものか、データ通信でのものかを判定する。ステップS201は、図4のステップS101と同様に、SIP手順のINVITE信号のメディア属性で判定される。
ステップS201でデータ通信の着呼と判定された場合には、ステップS220に進み、呼接続(SIP手順の「200 OK」信号をIP網に送出)を行う。ステップS220〜S222の処理は、図4のステップ110〜S112と同様である。
一方、ステップS201で音声通信の着呼と判定された場合には、ステップS202へ進み、SLIC206での電話鳴動機能を使い、ユーザに着呼を通知するために、ハンドセット/子電話115を鳴動させる。次に、ステップS203でハンドセット/子電話115がフックアップされたかどうかをSLIC206の機能で判定する。フックアップされていないと判定された場合には、ステップS202へ戻り、ハンドセット/子電話115の鳴動を継続する。一方、フックアップされていると判定された場合には、ステップS204へ進む。
ステップS204でSLIC206によるハンドセット/子電話115の鳴動を止め、ステップS205でハンドセット/子電話115での通話を可能とすべく、セレクタ113を用いてIP網から/への信号の線路をSLIC206に接続する。
また、ステップS205では更に、音声による通話とFAXの初期識別信号検出(CNG検出)の両方を同時に行うため、IP網からの入力信号の線路をMODEM204に接続する。具体的には、セレクタ113のスイッチSW_A、SW_C、SW_Dを接続(ON)する。この並列接続により、通話中にもMODEM204でのCNG検出が可能になる。なお、このときスイッチSW_Bは非接続状態(OFF)となっている。これは、MODEM204からの不必要な信号がIP網に流れないようにするためである。
従来の電話回線では、CNG検出には回線上の音声信号を使用していて、上り/下り信号の混在した信号から検出を行おうとしていたためにノイズが入り、検出精度が落ちていた。本発明の場合は、上り/下り信号の混在はなく、デジタル的に切り離された受信信号からCNG信号を検出できるので、検出精度を大幅に向上することが可能となる。
次に、ステップS206では、MODEM204によるCNG検出を開始する。ステップS207では、SIP手順の「200 OK」信号をIP網へ送出し、呼接続を行い、ステップS208で通話が開始される。通話は、SLIC206のD/A変換部207、A/D変換部208でIP網上のデジタル信号とハンドセット/子電話側のアナログ信号が相互に変換され行われる。この通話では、ハンドセット/子電話115の留守番電話機能が自動メッセージを応答する。
呼接続後、ステップS209でMODEM204でのCNG信号が検出されたかどうかを判定し、CNG信号が検出されなかった場合には、ステップS214で通話が終了したかどうかを判定する。通話が終了したと判定された場合には、ステップS213で呼切断を行い、リターンする。一方、ステップS214で通話が終了していないと判定された場合には、ステップS208へ戻り、通話が継続される。
ステップS209でMODEM204でのCNG信号が検出された場合には、ステップS210でIP網から/への信号の線路をMODEM204に接続する。具体的には、セレクタ113のスイッチSW_A、SW_Bを接続(ON)する。また、このときスイッチSW_C、SW_Dは非接続状態(OFF)とする。つづいて、ステップS211でT.30みなし音声のFAX通信が開始される。
ステップS212で通信終了かどうかが判定され、終了したと判定された場合には、ステップS213で呼切断を行い、リターンする。一方、ステップS212で通信が終了していないと判定された場合には、ステップS211でT.30みなし音声のFAX通信が継続される。
上述した留守電接続モード時におけるプロトコルシーケンスを図12に示す。図中、着呼から通話開始までのシーケンスは、図10で述べたT.38での場合と同じである。この場合の、INVITE信号でのメディア属性は音声であるため、FAX通信には入らず、1対1で結ばれた発信機と着信機で通話が行われる。この通話中に、発信機から出力されたCNG信号が着信機のMODEM204で検出されると、セレクタ113でIP網から/への信号の線路がMODEM204に接続され、T.38みなし音声でのFAX通信が開始される。通信終了後のシーケンスは図10と同じであるため、その説明は割愛する。
このように留守電接続モード時でも、通話中のCNG検出が確実に行え、さらにT.30みなし音声でのFAX通信への切り替えが容易に行うことができる。
図6A及び図6Bは、図3のステップS7におけるFAX/TEL切替モード処理の詳細を示すフローチャートである。
図6Aにおいて、まず、ステップS300で着呼が有ったかどうか判定される。ステップS300は図4のステップS100と同様である。着呼がないと判定された場合には着呼を待ち、着呼が有った場合にはステップS301に進む。
ステップS301では、CPU101は、着呼が音声通信でのものか、データ通信でのものかを判定する。ステップS301は、図4のステップS101と同様に、SIP手順のINVITE信号のメディア属性で判定される。
ステップS301でデータ通信の着呼と判定された場合には、ステップS320に進み、呼接続(SIP手順の「200 OK」信号をIP網に送出)を行う。ステップS320〜S322の処理は、図4のステップ110〜S112と同様であるため、それらの説明を割愛する。
一方、ステップS301で音声通信の着呼と判定された場合には、ステップS302へ進み、IP網の入出力信号の線路をMODEM204に接続し、ステップS303でMODEM204によりCNG検出を開始する。つづいて、ステップS304でSIP手順の「200 OK」信号を送出して呼を接続する。
次に、ステップS305では、CPU101は、OGM出力がONになっているかどうかを判定する。OGMとは、Out Going Messageであり、例えば「呼び出しております。そのまましばらくお待ちください、FAXの方は送信してください」などの音声メッセージである。このOGM機能がONであった場合には、ステップS306でMODEM204からのOGM信号をIP網側に出力する。
次に、ステップS307でMODEM204でのCNG信号が検出されたかどうかを判定する。CNG信号が検出された場合には、ステップS313へ進み、T.30みなし音声でのFAX通信が開始される。つづいて、ステップS314で通信終了かを判定し、終了していれば、ステップS315で呼を切断してリターンする。
一方、ステップS307でMODEM204でのCNG信号が非検出の場合は、図6BのステップS308に進み、SLIC206での電話鳴動機能を使い、ユーザに着呼を通知するために、接続されているハンドセット/子電話115を鳴動させる。
次に、図6BのステップS309で、MODEM204で作られた疑似リングバックトーンをIP網側に送出し、発信機側に電話を鳴動していることを通知する。リングバックトーンとは、発信側で受信側の電話が鳴動していることがわかる、いわゆる呼出音である。この場面では、既に呼が接続されているため、電話の呼出音がMODEM204で疑似的に作成されIP網へ出力されている。
ステップS311でハンドセット/子電話115でフックアップされたかどうかをSLIC206の機能で判定する。フックアップされたと判定すると、ステップS330でSLIC206によるハンドセット/子電話115の鳴動を止め、IP網からの入出力信号の線路をSLIC206に接続(セレクタ113のスイッチSW_C、SW_Dのみを接続(ON))する。そして、ステップS331で通話状態となる。つづいて、通話が終了したかどうかをステップS332で判定し、終了していた場合には、ステップS315で呼切断してリターンする。一方、ステップS332で通話が終了していないと判定された場合には、ステップS331の通話が継続される。
ステップS311でハンドセット/子電話115のフックアップが検出されなかった場合は、ステップS312でハンドセット/子電話鳴動時間が経過したかどうかを判定する。ハンドセット/子電話鳴動時間は予め設定されたものである。CPU101は、ハンドセット/子電話鳴動時間が経過しても応答がない場合に自動的にFAX受信に移行させる。
ステップS312でハンドセット/子電話鳴動時間が経過したと判定された場合には、ステップS313でT.30みなし音声のFAX通信が行われる。つづいて、ステップS314で通信が終了したと判定された場合には、ステップS315で呼切断されリターンする。
このように、留守電接続モード時でも、CNG検出が確実に行え、さらにT.30みなし音声でのFAX通信への切り替えを容易に行うことができる。
次に、手動受信モード時の処理について説明する。手動受信モードでもリモート受信設定がONかOFFで動作が異なる。図7では、手動受信モードでリモート受信設定がONの場合を示す。
図7は、図3のステップS8におけるリモート受信モード処理の詳細を示すフローチャートである。
図7において、まず、ステップS500で着呼が有ったかどうか判定される。ステップS500は図4のステップS100と同様である。着呼がないと判定された場合には着呼を待ち、着呼が有った場合にはステップS501に進む。
ステップS501では、CPU101は、着呼が音声通信でのものか、データ通信でのものかを判定する。ステップS501は、図4のステップS101と同様に、SIP手順のINVITE信号のメディア属性で判定される。ステップS501でデータ通信の着呼と判定された場合には、ステップS520に進み、呼接続(SIP手順の「200 OK」信号をIP網に送出)を行う。ステップS520〜S522の処理は、図4のステップS110〜S112と同様である。
一方、ステップS501で音声通信の着呼と判定された場合には、ステップS502へ進み、SLIC206の電話鳴動機能を用い、ユーザに着呼を通知するために、ハンドセット/子電話115を鳴動させる。次に、ステップS503でハンドセット/子電話115がフックアップされたかどうかをSLIC206の機能で判定する。フックアップされていないと判定された場合には、ステップS502へ戻り、ハンドセット/子電話115の鳴動を継続させる。一方、フックアップされていると判定された場合には、ステップS504へ進む。
ステップS504では、リモート受信のために、子電話からのDTMF検出を行う必要があるため、SLIC206によるDTMF検出を開始する。つづいて、ステップS505でSLIC206によるハンドセット/子電話115の鳴動を止め、ステップS506でハンドセット/子電話115での通話を可能とすべく、セレクタ113を用いてIP網から/への信号の線路をSLIC206に接続する。具体的には、セレクタ113のSW_C、SW_Dのみを接続(ON)する。
次に、ステップS507でSIP手順の「200 OK」信号をIP網へ送出し、呼接続を行い、ステップS508で通話が開始される。
ステップS509で子電話からの所定のDTMF信号(ダイヤル信号)が検出されたかどうかを判定し、非検出の場合は、ステップS514で通話が終了しているか判定する。通話が終了していないと判定された場合には、ステップS508の通話状態が継続される。一方、ステップS514で通話が終了していると判定された場合には、ステップS513で呼切断を行い、リターンする。
一方、ステップS509でダイヤル信号検出がなされたと判定した場合には、ステップS510でT.30みなし音声のFAX通信に切り替えるため、IP網から/への信号の線路をMODEM204に接続する。更に、ステップS511でT.30みなし音声のFAX通信が開始される。
ステップS512で通信が終了しているかどうかを判定し、通信が終了していないと判定された場合には、ステップS511へ戻り、T.30みなし音声のFAX通信が継続される。ステップS512で通信が終了していると判定された場合には、ステップS513で呼を切断し終了する。
このように、手動受信モード時でリモート受信がONに設定されている場合でも、SLIC206のDTMF信号検出機能を用い、IP網からの信号を適切にSLIC、MODEMに接続する。これにより、通話及び通話中のDTMF信号検出、並びにDTMF検出後のT.30みなし音声でのFAX通信を実現できる。
図8は、図3のステップS9における手動受信モード処理の詳細を示すフローチャートである。図8では、手動受信モードでリモート受信設定がOFFの場合を示す。
図8において、まず、ステップS600で着呼が有ったかどうかを判定する。ステップS600は図4のステップS100と同様である。着呼がないと判定された場合には着呼を待ち、着呼が有った場合にはステップS601に進む。
ステップS601では、CPU101は、着呼が音声通信でのものか、データ通信でのものかを判定する。ステップS601は、図4のステップS101と同様に、SIP手順のINVITE信号のメディア属性で判定される。ステップS601でデータ通信の着呼と判定された場合には、ステップS610に進み、呼接続(SIP手順の「200 OK」信号をIP網に送出)を行う。ステップS610〜S612の処理は、図4のステップS110〜S112と同様である。
一方、ステップS601で音声通信の着呼と判定された場合には、ステップS602へ進み、SLIC206の電話鳴動機能を用い、ユーザに着呼を通知するために、ハンドセット/子電話115を鳴動させる。次に、ステップS603でハンドセット/子電話115がフックアップされたかどうかをSLIC206の機能で判定する。フックアップされていないと判定された場合には、ステップS602へ戻り、ハンドセット/子電話115の鳴動を継続させる。一方、フックアップされていると判定された場合には、ステップS604へ進む。
ステップS604でSLIC206によるハンドセット/子電話115の鳴動を止め、ステップS605でセレクタ113を用いてIP網の入出力信号の線路をSLIC206に接続する。つづいて、ステップS607でSIP手順での「200 OK」信号をIP網へ送出し、呼接続を行い、ステップS607で通話が開始される。
次に、ステップS608で通話が終了しているかどうかを判定し、通話が終了していないと判定された場合には、ステップS607へ戻り、通話が継続される。一方、ステップS607で通話が終了していると判定された場合には、ステップS609で呼切断を行い、リターンする。
このように、手動受信モードでリモート受信がOFFの場合でも、SLIC206によるハンドセット/子電話鳴動機能を用い、更に適切にIP網からの信号をSLICに接続することで、手動受信の動作を行える。
図9は、画像通信装置100の各受信モード時のセレクタ113のSWの接続状態の一例を示す図である。
T.30みなし音声でのFAX通信時には、SW_A、SW_Bが接続(ON)の状態になり、網側信号が適切にMODEM204につながれ、FAX通信が行われる。留守電接続モード時での通話状態に於いては、スイッチSW_A、SW_C、SW_Dが接続(ON)状態となり、MODEM204によるCNG検出と、SLIC206を通した通話が行える。ここで、CNG検出時には、T.30みなし音声でのFAX通信時のスイッチの状態にするため、T.30みなし音声でのFAX通信に切り替えることが出来る。
留守電接続モード時以外の通話状態に於いては、スイッチSW_C、SW_Dが接続(ON)状態となり、SLIC206を通した通話が行える。
更に、FAX/TEL切替モード時のCNG検出動作中では、スイッチSW_A、SW_Bが接続(ON)の状態になり、MODEM204によるCNG検出が適切に行われる。そして、CNG検出後は、T.30みなし音声でのFAX通信時のスイッチの状態にするため、T.30みなし音声でのFAX通信に切り替えることが出来る。
以上説明したように、本発明は、IP網などの高速デジタル回線網に接続し、音声による通話と、ITU−T勧告T.30によるT.30みなし音声でのFAX通信が可能な画像通信装置に於いて、以下の特徴を備える。上述の複数の受信モードのうち、着信後にT.30みなし音声でのFAX通信に切り替える必要がある受信モード(留守電接続、FAX/TEL切替、手動受信(リモート受信ON))では、適切に網側の信号をMODEMやSLICへ切り替え接続する。これにより、確実にT.30みなし音声でのFAX通信に切り替えることが出来、各受信モードをサポートすることができる。
また、本発明は、以下の処理を実行することによっても実現される。即ち、上述した実施形態の機能を実現するソフトウェア(プログラム)を、ネットワーク又は各種記憶媒体を介してシステム或いは装置に供給し、そのシステム或いは装置のコンピュータ(またはCPUやMPU等)がプログラムを読み出して実行する処理である。
100 画像通信装置
101 CPU
103 表示/操作部
105 印刷部
106 IPパケット作成/解析部
108 ROM
109 RAM
111 T.30/T.38プロトコル作成/解析部
112 ネットワークI/F部
113 セレクタ
114 音声信号処理部
204 MODEM
205 トーン検出器
206 SLIC
207 D/A変換部
208 A/D変換部
209 DTMF検出器

Claims (13)

  1. 音声による通話と、みなし音声でのFAX通信が可能な画像通信装置において、
    前記通話を制御する電話制御手段と、
    前記FAX通信を制御するFAX通信制御手段と、
    ネットワークからの入力信号の線路を前記電話制御手段と前記FAX通信制御手段に選択的に切り替え接続するとともに、前記電話制御手段と前記FAX通信制御手段からの出力信号の線路を前記ネットワークに選択的に切り替え接続する接続手段と、
    着信後に、前記接続手段により、前記ネットワークからの入力信号の線路を前記電話制御手段と前記FAX通信制御手段の両方に接続してFAXの初期識別信号の検出を前記FAX通信制御手段で行わせ、前記FAX通信制御手段が前記初期識別信号を検出した場合に、前記FAX通信を開始するように制御する制御手段とを備えることを特徴とする画像通信装置。
  2. 前記制御手段は、着信後に、前記接続手段により、前記ネットワークからの入力信号の線路を前記電話制御手段と前記FAX通信制御手段の両方に接続したときは、前記FAX通信制御手段から前記ネットワークへの出力信号の線路を非接続状態にすることを特徴とする請求項1記載の画像通信装置。
  3. 前記FAX通信制御手段は、前記電話制御手段に接続された子電話が自動メッセージを応答している間に、前記初期識別信号の検出を行うことを特徴とする請求項1又は2記載の画像通信装置。
  4. 前記制御手段は、前記FAX通信制御手段が前記初期識別信号を検出した場合に、前記接続手段により、前記ネットワークから前記電話制御手段への入力信号の線路を非接続状態にすることを特徴とする請求項1乃至3のいずれか1項に記載の画像通信装置。
  5. 音声による通話と、みなし音声でのFAX通信が可能な画像通信装置において、
    前記通話を制御する電話制御手段と、
    前記FAX通信を制御するFAX通信制御手段と、
    ネットワークからの入力信号の線路を前記電話制御手段と前記FAX通信制御手段に選択的に切り替え接続するとともに、前記電話制御手段と前記FAX通信制御手段からの出力信号の線路を前記ネットワークに選択的に切り替え接続する接続手段と、
    音声メッセージでの応答またはリングバックトーンを前記ネットワークへ送出しながらFAXの初期識別信号検出を行う場合に、着信後に、前記接続手段により前記ネットワークからの入力信号の線路を前記FAX通信制御手段に接続して前記初期識別信号の検出を前記FAX通信制御手段で行わせ、前記FAX通信制御手段が前記初期識別信号を検出した場合に、前記FAX通信を開始するように制御する制御手段とを備えることを特徴とする画像通信装置。
  6. 音声による通話と、みなし音声でのFAX通信が可能な画像通信装置において、
    子電話からダイヤル信号を検出するダイヤル信号検出手段を備え、前記通話を制御する電話制御手段と、
    前記FAX通信を制御するFAX通信制御手段と、
    ネットワークからの入力信号の線路を前記電話制御手段と前記FAX通信制御手段に選択的に切り替え接続するとともに、前記電話制御手段と前記FAX通信制御手段からの出力信号の線路を前記ネットワークに選択的に切り替え接続する接続手段と、
    前記子電話がフックアップされたときに前記ダイヤル信号検出手段によるダイヤル信号検出を実行させ、前記ダイヤル信号検出手段で所定のダイヤル信号が検出された場合に、前記接続手段により前記ネットワークからの入力信号の線路を前記FAX通信制御手段に接続し、前記FAX通信を開始するように制御する制御手段とを備えることを特徴とする画像通信装置。
  7. 前記FAX通信は、ITU−T勧告T.30に基づく信号を音声信号とみなして通信することを特徴とする請求項1乃至6のいずれか1項に記載の画像通信装置。
  8. 前記電話制御手段は、SLIC(Subscriber Line Interface Circuit)であることを特徴とする請求項1乃至7のいずれか1項に記載の画像通信装置。
  9. 前記FAX通信制御手段は、MODEMであることを特徴とする請求項1乃至8のいずれか1項に記載の画像通信装置。
  10. 音声による通話と、みなし音声でのFAX通信が可能な画像通信装置であって、前記通話を制御する電話制御手段と、前記FAX通信を制御するFAX通信制御手段と、ネットワークからの入力信号の線路を前記電話制御手段と前記FAX通信制御手段に選択的に切り替え接続するとともに、前記電話制御手段と前記FAX通信制御手段からの出力信号の線路を前記ネットワークに選択的に切り替え接続する接続手段とを備える画像通信装置の画像通信方法であって、
    制御手段が、着信後に、前記接続手段により、前記ネットワークからの入力信号の線路を前記電話制御手段と前記FAX通信制御手段の両方に接続してFAXの初期識別信号検出を前記FAX通信制御手段で行わせ、前記FAX通信制御手段が前記初期識別信号を検出した場合に、前記FAX通信を開始するように制御することを特徴とする画像通信方法。
  11. 音声による通話と、みなし音声でのFAX通信が可能な画像通信装置であって、前記通話を制御する電話制御手段と、前記FAX通信を制御するFAX通信制御手段と、ネットワークからの入力信号の線路を前記電話制御手段と前記FAX通信制御手段に選択的に切り替え接続するとともに、前記電話制御手段と前記FAX通信制御手段からの出力信号の線路を前記ネットワークに選択的に切り替え接続する接続手段とを備える画像通信装置の画像通信方法であって、
    制御手段が、音声メッセージでの応答またはリングバックトーンを前記ネットワークへ送出しながらFAXの初期識別信号検出を行う場合に、着信後に、前記接続手段により前記ネットワークからの入力信号の線路を前記FAX通信制御手段に接続して前記初期識別信号の検出を前記FAX通信制御手段で行わせ、前記FAX通信制御手段が前記初期識別信号を検出した場合に、前記FAX通信を開始するように制御することを特徴とする画像通信方法。
  12. 音声による通話と、みなし音声でのFAX通信が可能な画像通信装置であって、子電話からダイヤル信号を検出するダイヤル信号検出手段を備え、前記通話を制御する電話制御手段と、前記FAX通信を制御するFAX通信制御手段と、前記ネットワークからの入力信号の線路を前記電話制御手段と前記FAX通信制御手段に選択的に切り替え接続するとともに、前記電話制御手段と前記FAX通信制御手段からの出力信号の線路を前記ネットワークに選択的に切り替え接続する接続手段とを備える画像通信装置の通信方法であって、
    制御手段が、前記子電話がフックアップされたときに前記ダイヤル信号検出手段によるダイヤル信号検出を実行させ、前記ダイヤル信号検出手段で所定のダイヤル信号が検出された場合に、前記接続手段により前記ネットワークからの入力信号の線路を前記FAX通信制御手段に接続し、前記FAX通信を開始するように制御することを特徴とする画像通信方法。
  13. 請求項10乃至12のいずれか1項に記載の画像通信方法を画像通信装置に実行させるためのコンピュータに読み取り可能なプログラム。
JP2012249425A 2012-11-13 2012-11-13 画像通信装置及び方法、並びにプログラム Expired - Fee Related JP6075847B2 (ja)

Priority Applications (4)

Application Number Priority Date Filing Date Title
JP2012249425A JP6075847B2 (ja) 2012-11-13 2012-11-13 画像通信装置及び方法、並びにプログラム
US14/127,783 US9549083B2 (en) 2012-11-13 2013-10-25 Image communication apparatus capable of performing facsimile communication via IP network, method of controlling the same, and storage medium
PCT/JP2013/079649 WO2014077138A1 (en) 2012-11-13 2013-10-25 Image communication apparatus capable of performing facsimile communication via ip network, method of controlling the same, and storage medium
US15/375,521 US10051137B2 (en) 2012-11-13 2016-12-12 Image communication apparatus capable of performing facsimile communication via IP network, method of controlling the same, and storage medium

Applications Claiming Priority (1)

Application Number Priority Date Filing Date Title
JP2012249425A JP6075847B2 (ja) 2012-11-13 2012-11-13 画像通信装置及び方法、並びにプログラム

Publications (2)

Publication Number Publication Date
JP2014099706A JP2014099706A (ja) 2014-05-29
JP6075847B2 true JP6075847B2 (ja) 2017-02-08

Family

ID=50731056

Family Applications (1)

Application Number Title Priority Date Filing Date
JP2012249425A Expired - Fee Related JP6075847B2 (ja) 2012-11-13 2012-11-13 画像通信装置及び方法、並びにプログラム

Country Status (3)

Country Link
US (2) US9549083B2 (ja)
JP (1) JP6075847B2 (ja)
WO (1) WO2014077138A1 (ja)

Families Citing this family (2)

* Cited by examiner, † Cited by third party
Publication number Priority date Publication date Assignee Title
JP6075847B2 (ja) * 2012-11-13 2017-02-08 キヤノン株式会社 画像通信装置及び方法、並びにプログラム
US9288361B2 (en) 2013-06-06 2016-03-15 Open Text S.A. Systems, methods and computer program products for fax delivery and maintenance

Family Cites Families (8)

* Cited by examiner, † Cited by third party
Publication number Priority date Publication date Assignee Title
JPH04243371A (ja) * 1991-01-17 1992-08-31 Canon Inc フアクシミリ装置
JP3219802B2 (ja) 1991-09-30 2001-10-15 キヤノン株式会社 データ通信装置
JPH05145695A (ja) * 1991-11-25 1993-06-11 Matsushita Electric Ind Co Ltd フアクシミリ装置
JP2001028676A (ja) * 1999-07-13 2001-01-30 Canon Inc 無線ファクシミリ装置
JP4006361B2 (ja) 2002-10-10 2007-11-14 キヤノン株式会社 通信装置、通信装置の制御方法、および通信装置の制御プログラム
WO2004111749A2 (en) * 2003-06-11 2004-12-23 Canon Kabushiki Kaisha Communication apparatus, control method of communication apparatus, and control program of communication apparatus
US20050117183A1 (en) 2003-11-28 2005-06-02 Sachin Adlakha Facsimile-aware internet protocol telephone
JP6075847B2 (ja) * 2012-11-13 2017-02-08 キヤノン株式会社 画像通信装置及び方法、並びにプログラム

Also Published As

Publication number Publication date
US10051137B2 (en) 2018-08-14
US9549083B2 (en) 2017-01-17
WO2014077138A1 (en) 2014-05-22
US20160165069A1 (en) 2016-06-09
JP2014099706A (ja) 2014-05-29
US20170094068A1 (en) 2017-03-30

Similar Documents

Publication Publication Date Title
JP6151911B2 (ja) 画像処理装置、その制御方法、及びプログラム
KR20080068388A (ko) Sip 기반의 네트워크에서 무조건/응답 후 호 전환시스템 및 그 제어방법
JP4185891B2 (ja) 通信端末、および通信端末の制御方法
JP6075847B2 (ja) 画像通信装置及び方法、並びにプログラム
JP6374673B2 (ja) 画像通信装置、その制御方法、プログラム
JP6139995B2 (ja) 画像通信装置及びその制御方法、プログラム
US7649878B2 (en) Circuit control apparatus and method
JP2015211349A (ja) ファクシミリ装置、ファクシミリシステム、それらの制御方法、及びプログラム
JP2006074485A (ja) ファクシミリ装置およびそのファクシミリ通信方法
JP2015002552A (ja) 画像通信装置及びその制御方法
WO2002009372A1 (en) Internet video phone
JP2015167300A (ja) 画像通信装置、その制御方法、及びプログラム
JP2006080997A (ja) 電話通信装置
JP5019211B2 (ja) Ip電話対応装置
JP6180229B2 (ja) 通信装置及びその制御方法、並びにプログラム
US9602692B2 (en) Image processing apparatus which supports multiple sessions including deemed voice facsimile transmission, control method thereof, and storage medium
JP7552156B2 (ja) Ip電話アダプタ機器、fax送信方法、fax受信方法、通信システム及びfax送受信方法
JP2012191549A (ja) 情報処理装置およびip電話端末
JP6139996B2 (ja) 画像通信装置及びその制御方法とプログラム
JP2015167301A (ja) 画像通信装置、及びその制御方法とプログラム
KR101282475B1 (ko) 전화 인터페이스 방법
JP4027336B2 (ja) マルチメディア通信装置及びマルチメディア通信装置の通信方法
JP2004274183A (ja) 通信端末装置
JP2006074118A (ja) キャリア選択処理方法、発信処理方法、およびip電話装置
JPH07226810A (ja) 電話機

Legal Events

Date Code Title Description
A621 Written request for application examination

Free format text: JAPANESE INTERMEDIATE CODE: A621

Effective date: 20151109

TRDD Decision of grant or rejection written
A01 Written decision to grant a patent or to grant a registration (utility model)

Free format text: JAPANESE INTERMEDIATE CODE: A01

Effective date: 20161213

A61 First payment of annual fees (during grant procedure)

Free format text: JAPANESE INTERMEDIATE CODE: A61

Effective date: 20170106

R151 Written notification of patent or utility model registration

Ref document number: 6075847

Country of ref document: JP

Free format text: JAPANESE INTERMEDIATE CODE: R151

LAPS Cancellation because of no payment of annual fees