JP5981237B2 - 運転支援装置 - Google Patents

運転支援装置 Download PDF

Info

Publication number
JP5981237B2
JP5981237B2 JP2012135812A JP2012135812A JP5981237B2 JP 5981237 B2 JP5981237 B2 JP 5981237B2 JP 2012135812 A JP2012135812 A JP 2012135812A JP 2012135812 A JP2012135812 A JP 2012135812A JP 5981237 B2 JP5981237 B2 JP 5981237B2
Authority
JP
Japan
Prior art keywords
start point
host vehicle
blind spot
target speed
parting
Prior art date
Legal status (The legal status is an assumption and is not a legal conclusion. Google has not performed a legal analysis and makes no representation as to the accuracy of the status listed.)
Active
Application number
JP2012135812A
Other languages
English (en)
Other versions
JP2014002460A (ja
Inventor
真一 永田
真一 永田
雄一 熊井
雄一 熊井
清水 司
司 清水
吉紘 大濱
吉紘 大濱
Current Assignee (The listed assignees may be inaccurate. Google has not performed a legal analysis and makes no representation or warranty as to the accuracy of the list.)
Toyota Motor Corp
Toyota Central R&D Labs Inc
Original Assignee
Toyota Motor Corp
Toyota Central R&D Labs Inc
Priority date (The priority date is an assumption and is not a legal conclusion. Google has not performed a legal analysis and makes no representation as to the accuracy of the date listed.)
Filing date
Publication date
Application filed by Toyota Motor Corp, Toyota Central R&D Labs Inc filed Critical Toyota Motor Corp
Priority to JP2012135812A priority Critical patent/JP5981237B2/ja
Priority to EP13734835.5A priority patent/EP2861474B1/en
Priority to US14/406,831 priority patent/US9586582B2/en
Priority to CN201380031592.7A priority patent/CN104379425A/zh
Priority to PCT/IB2013/001216 priority patent/WO2013186620A1/en
Publication of JP2014002460A publication Critical patent/JP2014002460A/ja
Application granted granted Critical
Publication of JP5981237B2 publication Critical patent/JP5981237B2/ja
Active legal-status Critical Current
Anticipated expiration legal-status Critical

Links

Images

Classifications

    • BPERFORMING OPERATIONS; TRANSPORTING
    • B60VEHICLES IN GENERAL
    • B60WCONJOINT CONTROL OF VEHICLE SUB-UNITS OF DIFFERENT TYPE OR DIFFERENT FUNCTION; CONTROL SYSTEMS SPECIALLY ADAPTED FOR HYBRID VEHICLES; ROAD VEHICLE DRIVE CONTROL SYSTEMS FOR PURPOSES NOT RELATED TO THE CONTROL OF A PARTICULAR SUB-UNIT
    • B60W30/00Purposes of road vehicle drive control systems not related to the control of a particular sub-unit, e.g. of systems using conjoint control of vehicle sub-units
    • B60W30/14Adaptive cruise control
    • B60W30/143Speed control
    • BPERFORMING OPERATIONS; TRANSPORTING
    • B60VEHICLES IN GENERAL
    • B60WCONJOINT CONTROL OF VEHICLE SUB-UNITS OF DIFFERENT TYPE OR DIFFERENT FUNCTION; CONTROL SYSTEMS SPECIALLY ADAPTED FOR HYBRID VEHICLES; ROAD VEHICLE DRIVE CONTROL SYSTEMS FOR PURPOSES NOT RELATED TO THE CONTROL OF A PARTICULAR SUB-UNIT
    • B60W30/00Purposes of road vehicle drive control systems not related to the control of a particular sub-unit, e.g. of systems using conjoint control of vehicle sub-units
    • B60W30/18Propelling the vehicle
    • B60W30/18009Propelling the vehicle related to particular drive situations
    • B60W30/18154Approaching an intersection
    • GPHYSICS
    • G08SIGNALLING
    • G08GTRAFFIC CONTROL SYSTEMS
    • G08G1/00Traffic control systems for road vehicles
    • G08G1/16Anti-collision systems
    • G08G1/164Centralised systems, e.g. external to vehicles
    • GPHYSICS
    • G08SIGNALLING
    • G08GTRAFFIC CONTROL SYSTEMS
    • G08G1/00Traffic control systems for road vehicles
    • G08G1/16Anti-collision systems
    • G08G1/166Anti-collision systems for active traffic, e.g. moving vehicles, pedestrians, bikes
    • GPHYSICS
    • G08SIGNALLING
    • G08GTRAFFIC CONTROL SYSTEMS
    • G08G1/00Traffic control systems for road vehicles
    • G08G1/16Anti-collision systems
    • G08G1/167Driving aids for lane monitoring, lane changing, e.g. blind spot detection
    • BPERFORMING OPERATIONS; TRANSPORTING
    • B60VEHICLES IN GENERAL
    • B60WCONJOINT CONTROL OF VEHICLE SUB-UNITS OF DIFFERENT TYPE OR DIFFERENT FUNCTION; CONTROL SYSTEMS SPECIALLY ADAPTED FOR HYBRID VEHICLES; ROAD VEHICLE DRIVE CONTROL SYSTEMS FOR PURPOSES NOT RELATED TO THE CONTROL OF A PARTICULAR SUB-UNIT
    • B60W2720/00Output or target parameters relating to overall vehicle dynamics
    • B60W2720/10Longitudinal speed
    • BPERFORMING OPERATIONS; TRANSPORTING
    • B60VEHICLES IN GENERAL
    • B60WCONJOINT CONTROL OF VEHICLE SUB-UNITS OF DIFFERENT TYPE OR DIFFERENT FUNCTION; CONTROL SYSTEMS SPECIALLY ADAPTED FOR HYBRID VEHICLES; ROAD VEHICLE DRIVE CONTROL SYSTEMS FOR PURPOSES NOT RELATED TO THE CONTROL OF A PARTICULAR SUB-UNIT
    • B60W2720/00Output or target parameters relating to overall vehicle dynamics
    • B60W2720/10Longitudinal speed
    • B60W2720/103Speed profile
    • BPERFORMING OPERATIONS; TRANSPORTING
    • B60VEHICLES IN GENERAL
    • B60WCONJOINT CONTROL OF VEHICLE SUB-UNITS OF DIFFERENT TYPE OR DIFFERENT FUNCTION; CONTROL SYSTEMS SPECIALLY ADAPTED FOR HYBRID VEHICLES; ROAD VEHICLE DRIVE CONTROL SYSTEMS FOR PURPOSES NOT RELATED TO THE CONTROL OF A PARTICULAR SUB-UNIT
    • B60W2720/00Output or target parameters relating to overall vehicle dynamics
    • B60W2720/10Longitudinal speed
    • B60W2720/106Longitudinal acceleration

Landscapes

  • Engineering & Computer Science (AREA)
  • Physics & Mathematics (AREA)
  • General Physics & Mathematics (AREA)
  • Automation & Control Theory (AREA)
  • Transportation (AREA)
  • Mechanical Engineering (AREA)
  • Traffic Control Systems (AREA)

Description

本発明は、運転支援装置に関する。
従来の運転支援装置として、交差点などへの進入時に、死角領域から飛び出してくる物体を考慮して運転支援を行うものが知られている。例えば、特許文献1の運転支援装置は、自車両の進路を予測し、自車両の進行方向における運転者からの死角領域を認識し、当該死角領域から飛び出してくる可能性がある物体を予測し、当該物体が移動可能な範囲を検出し、当該範囲と自車両の予測進路とが重なる場合に衝突可能性があると判定し、当該衝突を避けるように運転支援を行う。
特開2006−260217号公報
しかしながら、従来の運転支援装置は、自車両の進路予測結果を利用することによって、運転支援を行っている。従って、従来の運転支援装置は、現状の予測進路に従って走行した場合の衝突の有無を判定することで衝突を回避するものであり、衝突回避のためにどの程度速度を下げるかや、衝突回避のためにどの程度避ければよいかなどを演算できない。また、従来の運転支援装置の衝突判断は、自車両の将来位置の予測精度に大きく依存する。従って予測精度が低下した場合(例えば、自車両が加速中、減速中、操舵中の場合)、衝突判断の精度が落ちる可能性がある。この場合、従来の運転支援装置は、不要な運転支援を行うことで、または必要なタイミングで運転支援を行わないことで、運転者に違和感を与える可能性がある。
本発明は、このような問題を解決するためになされたものであり、運転者の感覚に沿った適切な運転支援を行うことができる運転支援装置を提供することを目的とする。
運転支援装置は、自車両の進行方向における、運転者からの死角領域を認識する死角領域認識部と、死角領域認識部で認識された死角領域に基づいて、自車両の目標速度を決定する目標速度決定部と、目標速度決定部で決定された目標速度に基づいて自車両の運転支援を行う運転支援部と、を備え、目標速度決定部は、自車両の進行方向における第1の所定位置に設定される見切り開始点に基づいて、目標速度を決定し、見切り開始点は、当該見切り開始点以降の区間を、死角領域から飛び出してくる可能性のある移動体よりも、自車両が先に通過できる点である。
実際に運転者が自車両を運転する際は、死角領域の近くまで進行し、安全を確認した後は見切りをつけて死角領域付近を通り抜ける場合がある。従って、死角領域の近くまで進行したときの運転支援の内容(例えば、過度に減速するような運転支援など)によっては、運転者の感覚に沿わず、煩わしさや違和感を与える可能性がある。一方、上述の運転支援装置では、目標速度決定部は、自車両の進行方向における第1の所定位置に設定される見切り開始点に基づいて、目標速度を決定する。この見切り開始点は、当該見切り開始点以降の区間を、死角領域から飛び出してくる可能性のある移動体よりも、自車両が先に通過できる点である。このように、見切り開始点に基づいた目標速度を決定することにより、運転支援部は、実際に運転者が死角領域付近を通過する際の運転行動を考慮した運転支援を行うことが可能となる。これにより、煩わしさや違和感を低減し、運転者の感覚に沿った適切な運転支援を行うことができる。
運転支援装置において、目標速度決定部は、死角領域と自車両との相対位置、自車両の速度、及び死角領域から飛び出してくる可能性のある移動体の想定速度に基づいて、見切り開始点を演算する。このように演算を行うことにより、死角領域へ進行するときの条件に応じた適切な見切り開始点を利用することが可能となる。
運転支援装置において、目標速度決定部は、更に、自車両の進行方向において見切り開始点よりも手前側の第2の所定位置に設定される安全確認開始点に基づいて、目標速度を決定し、安全確認開始点は、死角領域に対して、一定の見通し角が確保できる点である。実際に運転者が自車両を運転する際は、見切りをつけて死角領域付近を通り抜ける手前で、当該死角領域付近の安全を確認する場合がある。従って、目標速度決定部が、一定の見通し角が確保できる安全確認開始点に基づいて目標速度を決定することで、運転支援部は、実際に運転者が死角領域付近を通過する際の運転行動を考慮した運転支援を行うことが可能となる。これにより、煩わしさや違和感を低減し、運転者の感覚に沿った適切な運転支援を行うことができる。
運転支援装置において、目標速度決定部は、更に、自車両の進行方向において安全確認開始点よりも手前側の第3の所定位置に設定される減速開始点に基づいて、目標速度を決定し、減速開始点は、当該減速開始点から減速を開始することで、自車両が安全確認開始点へ至るまでに、予め設定された基準速度まで減速可能な点である。実際に運転者が自車両を運転する際は、自車両の速度を減速した状態で安全確認を行う場合がある。従って、目標速度決定部が、安全確認開始点へ至るまでに、基準速度(安全確認を行うときの速度)まで減速可能な減速開始点に基づいて目標速度を決定することで、運転支援部は、実際に運転者が死角領域付近を通過する際の運転行動を考慮した運転支援を行うことが可能となる。これにより、煩わしさや違和感を低減し、運転者の感覚に沿った適切な運転支援を行うことができる。
運転支援装置において、運転支援部は、見切り開始点と、自車両の運転者が加速操作を開始した実見切り開始点と、に基づいて運転支援を行う。これにより、実際に運転者が見切りを開始した実見切り開始点が、望ましい見切り開始点と異なっていた場合であっても、当該望ましい見切り開始点に近づくような適切な運転支援を行うことが可能となる。
運転支援装置において、自車両の運転者の状態に関する情報を取得する情報取得部を備え、運転支援部は、情報取得部によって取得された情報に基づいて、運転者状態を判定し、当該判定結果に基づいて運転支援を行うこれにより、実際の運転者の状態に基づいた適切な運転支援を行うことが可能となる。
本発明によれば、運転者の感覚に沿った適切な運転支援を行うことができる。
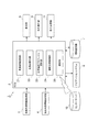
図1は、実施形態に係る運転支援装置のブロック構成図である。 図2(a)は、自車両SMが、交差点に進入する直前の様子の一例を示した図であり、図2(b)は、自車両SMの交差点に進入する直前の目標速度によって描かれる目標速度プロファイルを示す図である。 図3は、見切り開始点を演算するためのモデル図である。 図4は、見切り開始点を演算するためのモデル図である。 図5は、安全確認開始点を演算するためのモデル図である。 図6は、運転支援装置での処理内容を示すフローチャートである。 図7は、図6に示す運転支援処理の内容を示すフローチャートである。 図8は、実際の速度プロファイルと目標速度プロファイルを示す図である。 図9は、目標見切り開始点と実見切り開始点との関係を示す図である。 図10は、左右確認を促すためのインジケータの構成を示す図である。 図11は、図10に示すインジケータの動作の一例を示す図である。
以下、図面を参照して運転支援装置の実施形態について説明する。
図1は、実施形態に係る運転支援装置のブロック構成図である。図2(a)は、自車両SMが、交差点に進入する直前の様子の一例を示した図であり、図2(b)は、自車両SMの交差点に進入する直前の目標速度によって描かれる目標速度プロファイルを示す図である。図2(a)に示す交差点では、自車両SMが走行する車線がLD1で示され、当該車線LD1と交差する車線がLD2で示されている。図2(a)では、自車両SMが走行する車線LD1が優先車線であるものとする。少なくとも車線LD1の両脇には壁や柵や建物などの構造物が設けられているものとする。このような交差点では、図2(a)に示すように、自車両SMの右側に死角領域DE1が形成され、自車両SMの左側に死角領域DE2が形成される。自車両SM内の運転者の視界は、右側の死角点P1と左側の死角点P2で遮られる。従って、右側の死角領域DE1は、右側の死角点P1を通過する視線SL1より右側の領域に形成される。左側の死角領域DE2は、左側の死角点P2を通過する視線SL2より左側の領域に形成される。本実施形態では、交差点のコーナー部が死角点P1,2に該当する。なお、本実施形態では、演算を行い易くするために、視線SL1,2の起点を自車両SMの前端の中央部に設定しているが、運転者の瞳の位置に設定してもよい。運転支援装置1は、仮に死角領域DE1,2から移動体が飛び出してきたとしても、確実に衝突を避けることができるように、自車両SMの運転支援を行う。なお、本実施形態では、死角領域DE1,2から飛び出す可能性がある移動体として、他車両RM,LMを想定して説明する(図3及び図4を参照)。
図1に示すように、運転支援装置1は、ECU(Electronic Control Unit)2と、車両外部情報取得部3と、車両内部情報取得部4と、ナビゲーションシステム6と、情報記憶部7と、表示部(運転支援部)8と、音声発生部(運転支援部)9と、走行支援部(運転支援部)11と、を備えている。また、運転支援装置1は、センターサーバ10と通信可能である。
車両外部情報取得部3は、自車両SM周辺の外部に関する情報を取得する機能を有している。具体的に、車両外部情報取得部3は、自車両SM周辺で死角領域を形成する構造物や、車や歩行者や自転車などの移動する物体や、交差点付近の白線や停止線など、各種情報を取得する機能を有している。車両外部情報取得部3は、例えば、自車両SM周辺の画像を取得するカメラや、ミリ波レーダ、レーザレーダなどによって構成されている。車両外部情報取得部3は、例えば、レーダによって車両周辺に存在するエッジを検出することで、車線両脇の構造物や車両などの物体を検出することができる。また、車両外部情報取得部3は、例えば、カメラで撮像した画像によって、自車両SM周辺の白線や歩行者や自転車を検出することができる。車両外部情報取得部3は、取得した車両外部情報をECU2へ出力する。
車両内部情報取得部4は、自車両SMの内部に関する情報を取得する機能を有している。車両内部情報取得部4は、自車両SMの運転者の状態に関する情報を取得する。具体的に、車両内部情報取得部4は、運転者の自車両SM内における位置や、頭の向きや視線の方向などを検出することができる。車両内部情報取得部4は、例えば、運転席周辺に設けられ、運転者を撮影するカメラなどによって構成されている。車両内部情報取得部4は、取得した車両内部情報をECU2へ出力する。
ナビゲーションシステム6は、運転者を案内するために、地図情報や道路情報や交通情報などの各種情報を備えている。ナビゲーションシステム6は、必要なタイミングにて所定の情報をECU2へ出力する。情報記憶部7は、各種情報を記憶する機能を有しており、例えば、運転者の過去の運転情報や各種データベースを記憶することができる。情報記憶部7は、必要なタイミングにて所定の情報をECU2へ出力する。
表示部8、音声発生部9、及び走行支援部11は、ECU2からの制御信号に従って、運転者DPの運転を支援する機能を有している。表示部8は、例えばモニタやヘッドアップディスプレイなどによって構成されており、運転支援のための情報を表示する機能を有している。音声発生部9は、スピーカーやブザーなどによって構成されており、運転支援のための音声やブザー音を発する機能を有している。走行支援部11は、制動装置や駆動装置や操舵装置によって構成されており、目標速度まで減速する機能や目標横位置まで移動させる機能を有している。
ECU2は、運転支援装置1全体の制御を行う電子制御ユニットであり、例えばCPUを主体として構成され、ROM、RAM、入力信号回路、出力信号回路、電源回路などを備えている。ECU2は、死角領域認識部21、死角点算出部22、目標速度プロファイル演算部(目標速度決定部)23、運転支援制御部(運転支援部)24、通信部25を備えている。
死角領域認識部21は、自車両SMの進行方向における、自車両SMの運転者からの死角領域DE1,2を認識する機能を有している。死角領域認識部21は、車両外部情報取得部3及び車両内部情報取得部4で取得した各種情報から、自車両SMの位置、運転者、車線LD1,LD2の交差点(及び死角を形成する構造物)の位置などを取得し、それぞれの位置関係から死角領域DE1,2を認識することができる。また、死角点算出部22は、死角領域認識部21で認識した死角領域DE1,2から、死角点P1,2を算出する機能を有している。また、死角点算出部22は、死角点P1,2の自車両SMに対する相対位置を算出する機能を有している。図2(a)に示す例では、死角点P1,2の自車両SMに対する相対位置、すなわち死角点P1,2と自車両SMとの間の相対距離Lは、死角点P1と死角点P2とを結んだ直線部分で示される基準位置STと、自車両SMの前端との間の距離によって設定されている。ただし、このような基準位置STは、交差点での道路の形状や、死角を構成する構造物の配置、形状などに合わせて、どのように設定してもよいものであり、死角点P1,2の自車両SMに対する相対位置をどのように定めてもよい。
目標速度プロファイル演算部23は、死角領域認識部21で認識された死角領域DE1,2に基づいて、自車両SMの目標速度を決定する機能を有している。また、目標速度プロファイル演算部23は、自車両SMの進行方向における各位置での目標速度を設定することにより、自車両SMの目標速度プロファイルを演算する機能を有している。図2(b)は、自車両SMが交差点へ進入する際の目標速度プロファイルを示しており、基準位置STよりも左側の領域は、死角点P1,2よりも手前側における自車両SMの目標速度プロファイルを示し、基準位置STよりも右側の領域は、死角点P1,2通過後(交差点進入後)の自車両SMの目標速度プロファイルを示している。また、目標速度プロファイル演算部23は、見切り開始点CP、安全確認開始点SP、及び減速開始点DPに基づいて目標速度を決定する機能を有している。目標速度プロファイルは、減速区間I(減速開始点DPと安全確認開始点SPとの間の区間)と、安全確認区間II(安全確認開始点SPと見切り開始点CPとの間の区間)と、見切り区間III(見切り開始点CP以降の区間)を有している。見切り開始点CP、安全確認開始点SP、及び減速開始点DPの詳細については後述する。
運転支援制御部24は、決定された目標速度に基づいて、すなわち目標速度プロファイル演算部23によって演算された目標速度プロファイルに基づいて、表示部8、音声発生部9、走行支援部11に制御信号を送信することによって、運転支援を制御する機能を有している。運転支援制御部31は、自車両SMの実際の速度が目標速度よりも高い場合に、表示、音、振動、制動ブレーキ、ブレーキアシストなどによって運転支援を実行する。本実施形態では、目標速度プロファイルが、減速区間I、安全確認区間II、及び見切り区間IIIを有しているため、運転支援制御部24は、各区間に応じた運転支援を実行する。運転支援の詳細については後述する。
通信部25は、センターサーバ10と通信を行う機能を有している。通信部25は、自車両SMが有する情報をセンターサーバ10へ送信する機能を有すると共に、センターサーバ10からの情報を受信する機能を有している。本実施形態では、通信部25は、走行中に通過した各死角付近において、自車両SMがどのような挙動をしたかに関する情報を、センターサーバ10へ送信することができる。また、通信部25は、複数の車両(他車両も自車両SMも含む)がどのような挙動をしたかに関する情報をセンターサーバ10から取得することができる。
ここで、見切り開始点CP、安全確認開始点SP、及び減速開始点DP、及びそれらの算出方法について説明する。
見切り開始点CPは、当該見切り開始点CP以降の区間(見切り区間III)を、死角領域DE1,2から飛び出してくる可能性のある移動体よりも、自車両SMが先に通過できる点である。運転者の感覚としては、死角領域DE1,2に十分に近づいたため、見切りをつけて加速を開始した場合に、急に飛び出してくる移動体があったとしても、自車両SMが先に通り抜けることができると想定される点が、見切り開始点CPに該当する。見切り区間IIIは、見切りをつけて加速を開始しても、死角領域DE1,2から急に飛び出してくる移動体と接触することなく、通り抜けることが可能であると想定される区間である。見切り開始点CPは、自車両SMの進行方向における死角点P1,2よりも手前側の所定位置(第1の所定位置)に設定される。本実施形態では図2(b)に示すように、見切り開始点CPは、基準位置STよりも見切り開始距離Lmだけ手前の位置に設定される。自車両SMが、見切り開始点CP以降の区間である見切り区間IIIを所定速度V以上で走行する場合、当該自車両SMが見切り開始点CPに至ったと同時に右側の死角領域DE1から移動体(図3の例では他車両RM)が飛び出して来たと想定しても当該移動体と接触することなく交差点を通過し、自車両SMが見切り開始点CPに至ったと同時に左側の死角領域DE2から移動体(図3の例では他車両LM)が飛び出して来たと想定しても当該移動体と接触することなく交差点を通過することができる。従って、見切り開始点CP(またはそれ以降の見切り区間III内)で自車両SMが加速しても(すなわち、所定速度Vより速い速度とする)、死角領域DE1,2から飛び出してくると想定される移動体と接触することなく通過することができる。
目標速度プロファイル演算部23は、数式を用いた演算によって見切り開始点CPを算出してもよく、予め準備されたデータに基づいて見切り開始点CPを算出してもよい。目標速度プロファイル演算部23は、死角領域DE1,2と自車両SMとの相対位置、自車両SMの速度V、及び死角領域DE1,2から飛び出してくる可能性のある移動体(ここでは他車両RM,LM)の想定速度に基づいて、見切り開始点CPを算出することができる。
具体的な算出方法の一例について、図3及び図4を参照して説明する。目標速度プロファイル演算部23は、「右側の死角領域DE1から飛び出してくる他車両RMに対し、自車両SMが先に通過できる条件L1」と、「左側の死角領域DE2から飛び出してくる他車両LMに対し、自車両SMが先に通過できる条件L2」とを演算し、当該L1,L2から、見切り開始距離Lmを演算することによって、見切り開始点CPを算出する。なお、以下の説明において、自車両SMは一定の速度Vで直進走行し、他車両RMは一定の想定速度VRで直進走行し、他車両LMは一定の想定速度VRで直進走行するものとし、途中で速度や横位置は変化しないものとする。また、以下の説明で「前」「後」「右」「左」とは、各車両の進行方向を基準にしている。
〈条件L1〉
図3は、条件L1を演算するためのモデル図である。条件L1は、自車両SMと死角領域DE1,2との相対距離を示しており、ここでは自車両SMの前端と基準位置STとの間の距離がL1となった時点で、死角領域DE1から他車両RMが飛び出してくる(この時点では、他車両RMの右前角部が視線SL1と接する)ことを想定する。他車両RMの右縁部と車線LD2の自車両SM側の縁部との間の距離はWRと想定する。自車両SMの車幅方向の大きさは2Bとし、自車両SMの横位置は、自車両SMの中心軸線と車線LD1の左縁部との距離がW1で、自車両SMの中心軸線と車線LD1の右縁部との距離がW2であるものとする。図3(a)において点線で示されるように、他車両RMの右前角部と自車両SMの右後角部とが角部P3にて重なる状態(自車両SMが他車両RMより先に通過する条件の中で、最も厳しい条件)を考慮して、条件L1を算出する。この状態での自車両SMの位置がSMAで示され、他車両RMの位置がRMAで示される。図3(a)より、自車両SMが位置SMAまで移動する距離は、(L1+WR)となる。一方、他車両RMが位置RMAまで移動する距離はLRで示される。
ここで、距離LRが未知数であるが、自車両SMと死角点P1の位置関係から描かれる直角三角形と、自車両SMと角部P3の位置関係から描かれる直角三角形とが、相似の関係である。従って、図3(b)に示す寸法関係から、式(1A)の関係が成り立つ。式(1A)を展開して式(2A)とすることで、距離LRが式(3A)で表される。自車両SMが位置SMAに到達する時間t1は式(4A)で示され、他車両RMが位置RMAに到達する時間t2は式(5A)で示され、t1=t2であるため、式(3A)との関係により、式(6A)が成り立つ。式(6A)を変形して式(7A)及び式(8A)とすることで、式(9A)を満たすL1が、「右側の死角領域DE1から飛び出してくる他車両RMに対し、自車両SMが先に通過できる条件L1」として導き出される。
LR+B:L1+WR
= W2:L1 …(1A)

W2・(L1+WR)
= L1・(LR+B) …(2A)

LR = (W2・WR+W2・L1−B・L1) / L1 …(3A)

t1= (WR+L1)/V …(4A)

t2= LR/VR …(5A)

(WR+L1)/V
= (W2・WR+W2・L1−B・L1) / (L1・VR) …(6A)

L1 +(VR・WR+V・B−V・W2)・L1
+(−V・W2・WR)=0 …(7A)

L1 +bR・L1 +cR=0 …(8A)


L1={−bR ± sqrt(bR−4・cR)}/2 …(9A)
(ただしL1>0)
〈条件L2〉
図4は、条件L2を演算するためのモデル図である。条件L2は、自車両SMと死角領域DE1,2との相対距離を示しており、ここでは自車両SMの前端と基準位置STとの間の距離がL2となった時点で、死角領域DE2から他車両LMが飛び出してくる(この時点では、他車両LMの左前角部が視線SL2と接する)ことを想定する。他車両LMの左縁部と車線LD2の自車両SM側の縁部との間の距離はWLと想定する。自車両SMの車幅方向の大きさは2Bとし、自車両SMの横位置は、自車両SMの中心軸線と車線LD1の左縁部との距離がW1で、自車両SMの中心軸線と車線LD1の右縁部との距離がW2であるものとする。図4(a)において点線で示されるように、他車両LMの左前角部と自車両SMの左後角部とが角部P4にて重なる状態(自車両SMが他車両LMより先に通過する条件の中で、最も厳しい条件)を考慮して、条件L2を算出する。この状態での自車両SMの位置がSMBで示され、他車両LMの位置がLMBで示される。図4(a)より、自車両SMが位置SMBまで移動する距離は、(L2+WL)となる。一方、他車両LMが位置LMBまで移動する距離はLLで示される。
ここで、距離LLが未知数であるが、自車両SMと死角点P2の位置関係から描かれる直角三角形と、自車両SMと角部P4の位置関係から描かれる直角三角形とが、相似の関係である。従って、図4(b)に示す寸法関係から、式(1B)の関係が成り立つ。式(1B)を展開して式(2B)とすることで、距離LLが式(3B)で表される。自車両SMが位置SMBに到達する時間t1は式(4B)で示され、他車両LMが位置LMBに到達する時間t2は式(5B)で示され、t1=t2であるため、式(3B)との関係により、式(6B)が成り立つ。式(6B)を変形して式(7B)及び式(8B)とすることで、式(9B)を満たすL2が、「左側の死角領域DE2から飛び出してくる他車両LMに対し、自車両SMが先に通過できる条件L2」として導き出される。
LL+B:L2+WL
= W1:L2 …(1B)

W1・(L2+WL)
= L2・(LL+B) …(2B)

LL = (W1・WL+W1・L2−B・L2) / L2 …(3B)

t1= (WL+L2)/V …(4B)

t2= LL/VL …(5B)

(WL+L2)/V
= (W1・WL+W1・L2−B・L2) / (L2・VL) …(6B)

L2 +(VL・WL+V・B−V・W1)・L2
+(−V・W1・WL)=0 …(7B)

L2 +bL・L2 +cL=0 …(8B)


L2={−bL ± sqrt(bL−4・cL)}/2 …(9B)
(ただしL2>0)
目標速度プロファイル演算部23は、上述で算出されたL1及びL2より、以下の式(10)によって見切り開始距離Lmを導き出す。すなわち、目標速度プロファイル演算部23は、L1とL2のうち、小さい方の値を見切り開始距離Lmとする。これによって、図2(b)に示すような見切り開始点CPが設定される。なお、図2(b)に示す目標速度プロファイルでは、見切り開始点CPで直ちに加速を開始することを想定し、見切り区間IIIにて目標速度が一定加速度で増加するようなプロファイルとなっている。ただし、見切り区間IIIでの目標速度プロファイルはどのように設定されてもよく、一定加速度以外の態様にて加速してもよく、一定速度であってもよく、減速していてもよく、見切り開始点CPにて、または見切り開始点CPより所定距離進行した位置で目標速度プロファイルが終了していてもよい。

Lm = min(L1,L2) …(10)
次に、安全確認開始点SPについて説明する。安全確認開始点SPは、死角領域DE1,2に対して、一定の見通し角を確保できる点である。すなわち、安全確認開始点SPは、当該安全確認開始点SPで安全確認を開始することにより、死角領域DE1,2に対して、一定の見通し角を確保した状態にて安全確認を行えるような点である。安全確認区間IIは、一定以上の見通し角を確保できると共に、安全確認のために低い速度で走行するための区間である。安全確認開始点SPは、見切り開始点CPよりも、手前側の所定位置(第2の所定位置)に設定される。本実施形態では図2(b)に示すように、安全確認開始点SPは、基準位置STよりも安全確認開始距離Laだけ手前の位置に設定される。
目標速度プロファイル演算部23は、数式を用いた演算によって安全確認開始点SPを算出してもよく、予め準備されたデータに基づいて安全確認開始点SPを算出してもよい。目標速度プロファイル演算部23は、死角領域DE1,2と自車両SMとの相対位置、自車両SMの速度V、死角に対する見通し角θに基づいて、安全確認開始点SPを算出することができる。このように演算を行うことにより、死角領域DE1,2へ進行するときの条件に応じた適切な見切り開始点CPを利用することが可能となる。
具体的な算出方法の一例について、図5を参照して説明する。目標速度プロファイル演算部23は、自車両SMの死角通過前に、ある一定の見通し角θa以上の見通し角を、ある一定時間Ta確保できるように、安全確認開始点SP及び目標速度を決定する。安全確認に必要な一定の見通し角θa及び安全確認に必要な一定時間Taは、交差点や死角の状態に合わせて任意の値を設定しておく。図5に示すように、右側の死角領域DE1に対する見通し角θRは式(11)で示され、左側の死角領域DE2に対する見通し角θLは、式(12)で示される。ここで、死角全体に対する見通し角θは式(13)で示されるため、一定の見通し角θaが確保される距離La(安全確認開始距離La)は、式(14)を用いて算出される。また、安全確認のために一定時間Ta確保するための目標最低速度Vaは、式(15)によって算出される。図2(b)に示す目標速度プロファイルでは、安全確認区間IIでは、目標速度は目標最低速度Vaで一定となる。
θR = atan(W2/L) …(11)

θL = atan(W1/L) …(12)

θ = θR + θL …(13)

θa = atan(W2/La) + atan(W1/La) …(14)

Va = La/Ta …(15)
次に、減速開始点DPについて説明する。減速開始点DPは、当該減速開始点DPから減速を開始することで、自車両SMが安全確認開始点SPへ至るまでに、予め設定された基準速度まで減速可能な点である。ここでは、基準速度は、安全確認開始点SPでの目標速度である。減速開始点DPは、安全確認開始点SPよりも、手前側の所定位置(第3の所定位置)に設定される。本実施形態では図2(b)に示すように、減速開始点DPは、基準位置STよりも減速開始距離Lgだけ手前の位置に設定される。
目標速度プロファイル演算部23は、演算によって減速開始点DPを算出してもよく、予め準備されたデータに基づいて減速開始点DPを算出してもよい。具体的な演算方法の一例について説明する。目標速度プロファイル演算部23は、目標加速度a(<0)を設定し、現在の自車両の速度Vに対して、安全確認開始点SPへ至るまでに目標最低速度Vaまで減速できるように、減速開始点DPを設定する。すなわち、速度と加速度の関係から式(16)が成り立つことにより、当該式(16)を変形することにより式(17)が得られ、この式(17)によって減速開始距離Lgを算出する。
Va − V = 2×a×(Lg−La) …(16)

Lg = (Va − V)/(2×a)+La …(17)
見切り開始点CP、安全確認開始点SP、及び減速開始点DPの算出方法は、上述のような演算に限定されない。例えば、目標速度プロファイル演算部23は、死角周辺の外界情報に基づいて、見切り開始点CP、安全確認開始点SP、及び減速開始点DPを算出してもよい。具体的には、自車両SMの車線LD1の道路幅、中央線の有無、歩道の有無などの外界情報を利用して、重み付き線形和にて見切り開始距離Lmを算出することで、見切り開始点CPを設定してもよい。「道路幅」という因子に関して「変数x1(道路幅が何mであるか)、重み係数a1」とし、「中央線有無」という因子に関して「変数x2(中央線があるときは1、ないときは0を代入)、重み係数a2」とし、「歩道有無」という因子に関して「変数x3(歩道があるときは1、ないときは0を代入)、重み係数a3」とした場合、見切り開始距離Lmは、式(18)で算出される。なお、別の因子で算出してもよく、更に別の因子を追加してもよい。各因子の重み係数は、事前に規範運転者などの運動行動に基づいて、重回帰分析にて学習してもよい。安全確認開始距離La及び減速開始距離Lgも同様の方法で設定できる。

Lm = a1・x1 + a2・x2 + a3・x3 …(18)
また、目標速度プロファイル演算部23は、死角ごとに蓄積されたデータベースに基づいて見切り開始点CP、安全確認開始点SP、及び減速開始点DPを算出してもよい。例えば、事前に規範運転者などが走行したときの見切り開始点CP、安全確認開始点SP、及び減速開始点DPを死角ごとに(例えば、交差点ごとに)データベースとして情報記憶部7やナビゲーションシステム6やセンターサーバ10に格納しておく。目標速度プロファイル演算部23は、自車両SMが向かっている死角(交差点)に対する見切り開始点を、情報記憶部7やナビゲーションシステム6やセンターサーバ10のデータベースから読み出し、見切り開始点CPとして設定する。安全確認開始点SP及び減速開始点DPも同様の方法で設定できる。
また、各死角における複数の運転者の挙動をセンターサーバ10で集約し、他の運転者と情報共有してもよい。例えば、ある運転者がある死角を通過する時に、実際に見切りを行った場合、当該見切り開始点を計測し、当該情報をセンターサーバ10へアップロードする。複数の運転者が複数の死角にて、このような情報のアップロードを行うことで、死角ごとに複数の情報をセンターサーバ10で集約することができる。集約した情報に基づいて、センターサーバ10にて死角ごとに平均値などを算出することによって、適切な見切り開始点を算出する。自車両SMの死角通過時には、センターサーバ10へ問い合わせることにより、対象となる死角に対して算出された見切り開始点を取得することができる。安全確認開始点SP及び減速開始点DPも同様の方法で設定できる。
次に、図6及び図7を参照して、運転支援装置1の具体的な制御処理について説明する。本実施形態においては、自車両SMが図2(a)に示すような交差点へ進入する状況における処理内容について説明する。図6は、運転支援装置1での処理内容を示すフローチャートである。この処理は、自車両SMの運転中に一定周期間隔で繰り返し実行される。また、図7は、図6に示す運転支援処理の内容を示すフローチャートである。
図6に示すように、ECU2の死角領域認識部21は、車両外部情報取得部3や車両内部情報取得部4からの情報に基づいて、死角領域を認識するための処理を行うと共に、自車両SM前方に死角領域を認識できたか否かの判定を行う(ステップS10)。死角領域が認識できなかった場合、図6に示す処理は終了し、再びS10から処理を開始する。一方、S10において死角領域を認識したと判定された場合、死角点算出部22は、S10で認識した死角領域に基づいて、死角点を算出する(ステップS20)。本実施形態では、死角領域認識部21は、車線LD1における自車両SMの位置を把握し、進行方向で死角領域DE1,2を構成する構造物の位置を把握することにより死角領域DE1,2を認識することができる。また、死角点算出部22は、認識された死角領域DE1,2から死角点P1,2を算出する。
次に、目標速度プロファイル演算部23は、図2に示すように、見切り開始距離Lm、安全確認開始距離La、減速開始距離Lgを算出することによって見切り開始点CP、安全確認開始点SP、減速開始点DPを算出し、当該見切り開始点CP、安全確認開始点SP、減速開始点DPに基づいて自車両SMの進行方向における各位置における目標速度を決定することによって、目標速度プロファイルを演算する(ステップS30〜S50)。
具体的には、目標速度プロファイル演算部23は、安全確認開始距離Laを算出すると共に、目標最低速度Vaを算出する(ステップS30)。これによって、安全確認開始点SPを算出することができる。次に、目標速度プロファイル演算部23は、見切り開始距離Lmを算出する(ステップS40)。これによって、見切り開始点CPを算出することができる。なお、S40において、前述の式(1A)〜(9A),(1B)〜(9B)を用いて見切り開始距離Lmを算出する場合、「自車両SMの速度V=S30で算出した目標最低速度Va」として演算が行われる。次に、目標速度プロファイル演算部23は、減速開始距離Lgを算出する(ステップS50)。これによって、減速開始点DPを算出することができる。なお、S30〜S50の演算では、上述のように、目標速度プロファイル演算部23は、見切り開始距離Lm、安全確認開始距離La、減速開始距離Lgを物理的な位置関係から算出してもよく、死角周辺の外界情報を利用して算出してもよく、データベースの情報を利用して算出してもよく、センターサーバ10からの情報を利用して算出してもよい。
減速開始点DP、安全確認開始点SP、見切り開始点CP、が算出されることで減速区間I、安全確認区間II、見切り区間IIIが定まり、各区間I,II,IIIでの目標速度プロファイルを演算することができる。図2に示す例では、減速区間Iにおいて演算時における自車両SMの速度から目標最低速度Vaまで一定加速度で減速するような目標速度プロファイルが設定され、安全確認区間IIにおいて目標最低速度Vaで一定な目標速度プロファイルが設定され、見切り区間IIIにおいて、一定加速度にて加速するような目標速度プロファイルが設定される。なお、目標速度の決定、すなわち目標速度プロファイルの設定は、S30〜S50のどのタイミングで行ってもよく、各区間において目標速度を設定することが可能となったタイミングで順次目標速度プロファイルを設定してもよく、減速開始点DP、安全確認開始点SP、見切り開始点CPを全て算出した後で全区間の目標速度プロファイルをまとめて演算してもよい。
S30〜S50の処理によって目標速度プロファイルの演算が完了した後、運転支援制御部24は、当該目標速度プロファイルに基づいて運転支援処理を実行する(ステップS60)。図7の処理は、目標速度プロファイルが演算された後、当該目標速度プロファイルに基づく運転支援が終了するまで繰り返し実行される。また、本実施形態に係る運転支援処理では、図8に示すように実際の自車両SMの速度Vが目標速度Vtよりも高い場合に、運転支援制御部24が、表示、音、振動、制御ブレーキ、ブレーキアシストなどによって、各区間I,II,IIIに応じた支援を実施する。なお、図8では、点線によって描かれるグラフが自車両SMの実際の速度Vによって描かれる速度プロファイルを示しており、実線のグラフが、決定された目標速度Vtによって描かれる目標速度プロファイル(図2に示すものと同じである)を示している。図7に示すように、運転支援制御部24は、車両外部情報取得部3からの情報により自車両SMの現在位置を把握し、自車両SMが目標速度プロファイルにおけるどの区間に存在しているかを判定する(ステップS100)。
まず、自車両SMが減速区間Iに存在している場合の処理について説明する。自車両SMが減速区間Iに存在している場合、運転支援制御部24は、自車両SMの実際の速度Vが、自車両SMの現在位置について設定された目標速度Vtよりも大きいか否かを判定する(ステップS110)。S110において、実際の速度Vが目標速度Vtよりも大きいと判定された場合、運転支援制御部24は、表示部8や音声発生部9へ制御信号を送信し、表示や音での注意喚起により、運転者に対してブレーキを踏んで減速するように誘導する(ステップS120)。一方、S110において、実際の速度Vが目標速度Vt以下であると判定された場合、運転支援を行うことなく図7の処理を終了し、再びS100から処理を繰り返す。このように、減速区間Iは、死角領域DE1,2まではある程度距離が確保されている区間であるため、支援強度の高い運転支援(例えば強制ブレーキなど)は行わず、運転者に対する誘導にとどめている。これにより、実際の自車両SMの速度Vが目標速度Vtに近づくようにしつつも、運転者に与える煩わしさや違和感を低減できる運転支援が可能となる。
次に、自車両SMが安全確認区間IIに存在している場合の処理について説明する。自車両SMが安全確認区間IIに存在している場合、運転支援制御部24は、自車両SMの実際の速度Vが、自車両SMの現在位置について設定された目標速度Vtよりも大きいか否かを判定する(ステップS130)。S130において、実際の速度Vが目標速度Vtよりも大きいと判定された場合、運転支援制御部24は、走行支援部11へ制御信号を送信し、運転者がアクセルを踏み込んでも加速しないアクセル不許可の状態とする(ステップS140)と共に、減速制御を行う(ステップS150)。運転支援制御部24は、走行支援部11へ制御信号を送信し、自車両SMの実際の速度Vが目標最低速度Va(安全確認区間IIにおける目標速度Vtに該当)まで減速したら、目標最低速度Vaにて一定速度で走行するように制御を行う(ステップS160)。また、運転支援制御部24は、表示部8や音声発生部9へ制御信号を送信し、運転者に対して左右確認をするように誘導する(ステップS170)。一方、S130において、実際の速度Vが目標速度Vt以下であると判定された場合、左右確認の誘導のみ(ステップS180)を行い、図7の処理を終了し、再びS100から処理を繰り返す。このように、安全確認区間IIは、確実な安全確認を行うために、目標速度プロファイルに従った走行を行う必要がある区間であるため、支援強度の高い運転支援を行っている。これにより、確実に安全性を確保できるように、実際の自車両SMの速度Vが目標速度Vtに近づくような運転支援が可能となる。
次に、自車両SMが見切り区間IIIに存在している場合の処理について説明する。自車両SMが見切り区間IIIに存在している場合、運転支援制御部24は、自車両SMの実際の速度Vが、自車両SMの現在位置について設定された目標速度Vtよりも大きいか否かを判定する(ステップS200)。S200において、実際の速度Vが目標速度Vt以下であると判定された場合、運転支援制御部24は、表示部8や音声発生部9へ制御信号を送信し、表示や音によって運転者に対して前方に進行するように誘導する(ステップS210)。これによって、死角領域DE1,2から移動体が飛び出して来たとしても、自車両SMが先に通過できるようにすることができる。一方、S110において、実際の速度Vが目標速度Vtより大きいと判定された場合、運転支援を行うことなく図7の処理を終了し、再びS100から処理を繰り返す。このように、見切り区間IIIでは、突然飛び出してくる移動体と接触しないように速やかに死角領域DE1,2を通過するような運転支援を行っている。
自車両SMが、交差点を通過し、目標速度プロファイルが設定されていない位置まで進行すると、図7に示す運転支援処理は終了する。また、図6に示す処理も終了する。
次に、本実施形態に係る運転支援装置1の作用・効果について説明する。
例えば、自車両が死角領域付近を通過する場合、死角領域から突然飛び出してくる移動体を想定し、当該移動体と自車両が接触する可能性がある速度領域を算出し、自車両の速度が当該速度領域に入らないような運転支援が可能である。また、当該速度領域を回避するような目標速度プロファイルを演算することも可能である。しかしながら、このように演算された目標速度プロファイルと、実際に運転者が死角領域付近を通過する際の自車両の速度プロファイルとの間で誤差が生じる場合がある。例えば、実際に運転者が自車両を運転する際は、死角領域の近くまで進行し、安全を確認した後は見切りをつけて加速して死角領域付近を通り抜ける場合がある。一方、演算された目標速度プロファイルにおいて、死角領域近くでの目標速度が、実際の運転に比して過度に低くなっている場合、運転支援の内容(例えば、過度に減速するような運転支援など)によっては、運転者の感覚に沿わず、煩わしさや違和感を与える可能性がある。
これに対し、本実施形態に係る運転支援装置1では、目標速度プロファイル演算部23は、自車両SMの進行方向における所定位置に設定される見切り開始点CPに基づいて、目標速度を決定する。この見切り開始点CPは、当該見切り開始点CP以降の区間を、死角領域DE1,2から飛び出してくる可能性のある移動体よりも、自車両SMが先に通過できる点である。このように、見切り開始点CPに基づいた目標速度を決定することにより、運転支援制御部24は、実際に運転者が死角領域DE1,2付近を通過する際の運転行動を考慮した運転支援を行うことが可能となる。これにより、煩わしさや違和感を低減し、運転者の感覚に沿った適切な運転支援を行うことができる。
運転支援装置1において、目標速度プロファイル演算部23は、更に、自車両SMの進行方向において見切り開始点CPよりも手前側の所定位置に設定される安全確認開始点SPに基づいて、目標速度を決定し、安全確認開始点SPは、死角領域DE1,2に対して、一定の見通し角θが確保できる点である。実際に運転者が自車両SMを運転する際は、見切りをつけて死角領域DE1,2付近を通り抜ける手前で、当該死角領域DE1,2付近の安全を確認する場合がある。従って、目標速度プロファイル演算部23が、一定の見通し角θが確保できる安全確認開始点SPに基づいて目標速度を決定することで、運転支援制御部24は、実際に運転者が死角領域DE1,2付近を通過する際の運転行動を考慮した運転支援を行うことが可能となる。これにより、煩わしさや違和感を低減し、運転者の感覚に沿った適切な運転支援を行うことができる。
運転支援装置1において、目標速度プロファイル演算部23は、更に、自車両SMの進行方向において安全確認開始点SPよりも手前側の所定位置に設定される減速開始点DPに基づいて、目標速度を決定し、減速開始点DPは、当該減速開始点DPから減速を開始することで、自車両SMが安全確認開始点SPへ至るまでに、予め設定された基準速度まで減速可能な点である。実際に運転者が自車両SMを運転する際は、自車両SMの速度を減速した状態で安全確認を行う場合がある。従って、目標速度プロファイル演算部23が、安全確認開始点SPへ至るまでに、基準速度(安全確認を行うときの速度であり、本実施形態では目標最低速度Va)まで減速可能な減速開始点DPに基づいて目標速度を決定することで、運転支援制御部24は、実際に運転者が死角領域DE1,2付近を通過する際の運転行動を考慮した運転支援を行うことが可能となる。これにより、煩わしさや違和感を低減し、運転者の感覚に沿った適切な運転支援を行うことができる。
本発明は上述の実施形態に限定されるものではない。
例えば、運転支援制御部24は、演算された見切り開始点CPと、自車両SMの運転者が加速操作(すなわちアクセルをOFFからONとする操作)を開始した実見切り開始点と、に基づいて運転支援を行ってもよい。運転支援制御部24は、死角点P1,2付近を通過する前後で、運転者が実際に見切りを行った「実見切り開始点」を、アクセル操作に基づいて算出する機能を有している。また、運転支援制御部24は、演算された見切り開始点(ここでは「目標見切り開始点)と称する)と、実見切り開始点とを比較し、状況に合わせて適切な運転支援を行う。これにより、実際に運転者が見切りを開始した実見切り開始点が、目標見切り開始点と異なっていた場合であっても、当該目標見切り開始点に近づくような適切な運転支援を行うことが可能となる。運転支援制御部24は、例えば図9に示すような各状況に合わせ、実見切り開始点の位置と実際の自車両SMの速度に応じた運転支援を行う。
図9の左上欄のように、実見切り開始点が目標見切り開始点よりも手前であり、且つ、実見切り開始点での実際の速度が目標速度より小さい場合、速度変化(実見切り開始点の白抜きの丸印に付された矢印の傾斜角度)を推定し、当該速度変化に応じた運転支援を行う。すなわち、速度変化が大きく、実際の速度プロファイルが目標見切り開始点の上を通ると判定される場合、運転者のアクセル操作を不許可とし、「左右確認実施」というメッセージを点灯させて注意喚起を行う。一方、実際の速度プロファイルが目標見切り開始点の下を通ると推定される場合、運転者のアクセル操作を許可状態とする。図9の左下欄のように、実見切り開始点が目標見切り開始点よりも手前であり、且つ、実見切り開始点での実際の速度が目標速度より大きい場合、運転者のアクセル操作を不許可とし、「左右確認実施」というメッセージを点灯させて注意喚起を行う。図9の右上欄のように、実見切り開始点が目標見切り開始点より進行した位置であり、且つ、実見切り開始点での実際の速度が目標速度より小さい場合、運転者のアクセル操作を許可する。図9の右下欄のように、実見切り開始点が目標見切り開始点より進行した位置であり、且つ、実見切り開始点での実際の速度が目標速度より大きい場合、運転者のアクセル操作を不許可とし、「速度注意」というメッセージを点灯させて注意喚起を行う。
また、運転支援制御部24は、車両内部情報取得部4によって取得された情報に基づいて、運転者状態を判定し、当該判定結果に基づいて運転支援を行ってもよい。すなわち、上述の実施形態では、演算した目標速度プロファイルに実際の速度を合わせるような運転支援を実施しているが、自車両SMの速度を制御することよりも、運転者が安全確認行動を実施し、交差点で他車両がいないことを確認して通過することが重要となる場合がある。従って、車両内部情報取得部4からの情報に基づいて運転支援を行うことにより、実際の運転者の状態に基づいた適切な運転支援を行うことが可能となる。
例えば、自車両SMの内部に運転者の顔向き認識カメラを設置し、運転支援制御部24は、死角点P1,2を通過する前の運転者の左右確認行動の回数を判定し、当該判定結果から運転支援を行うか否かを判断する。具体的には、死角点P1,2を通過する手前において、ある一定の見通し角θxを確保できる安全確認開始点を算出する(この演算は、上述の実施形態の「安全確認開始点SP」と同様な演算方法で行ってよい)。次に、上述の実施形態と同様に見切り開始点を算出する。次に、自車両SMが安全確認開始点と見切り開始点との間を通過している最中に、運転者の左右の確認回数をカウントする。当該確認回数が、予め設定した閾値より小さい場合は、「左右確認実施」というメッセージを点灯または点滅させる。
あるいは、左右の確認回数が閾値より小さい場合、図10に示すようなインジケータを用いて左右の確認を促してもよい。図10に示すように、発光装置35は、光源5aによってフロントガラス32に虚像31を映し出すことで、左右確認を促すことができる。具体的には、図11に示すように、交差点から離れた位置では発光装置35は一つの発光図形36を提示していたものを、交差点へ近づくに伴って二つの発光図形36a,36bに分け、交差点へ近づくに従って発光図形36a,36bをそれぞれ左右に広げて提示する。これによって、運転者の注意が左右に誘導され、運転者が左右確認を実施する。
なお、図2などで示した目標速度プロファイルは一例に過ぎず、どのような目標速度プロファイルの形状にしてもよい。また、少なくとも見切り開始点CPを算出すればよく、安全確認開始点SPや減速開始点DPの算出を省略してもよい。
1…運転支援装置、3…車両外部情報取得部、4…車両内部情報取得部(情報取得部)、8…表示部(運転支援部)、9…音声発生装置(運転支援部)、11…走行支援部(運転支援部)、21…死角領域認識部、22…死角点算出部、23…目標速度プロファイル演算部(目標速度決定部)、24…運転支援制御部(運転支援部)、CP…見切り開始点、SP…安全確認開始点、DP…減速開始点、SM…自車両。

Claims (6)

  1. 自車両の進行方向における、運転者からの死角領域を認識する死角領域認識部と、
    前記死角領域認識部で認識された前記死角領域に基づいて、前記自車両の目標速度を決定する目標速度決定部と、
    前記目標速度決定部で決定された前記目標速度に基づいて前記自車両の運転支援を行う運転支援部と、を備え、
    前記目標速度決定部は、前記自車両の進行方向における第1の所定位置に設定される見切り開始点に基づいて、前記目標速度を決定し、
    前記見切り開始点は、当該見切り開始点以降の区間を、前記死角領域から飛び出してくる可能性のある移動体よりも、前記自車両が先に通過できる点であり、
    前記見切り開始点は、前記死角領域の起点となる死角点よりも前記進行方向における手前側に設定される、運転支援装置。
  2. 前記目標速度決定部は、前記死角領域と前記自車両との相対位置、前記自車両の速度、及び前記死角領域から飛び出してくる可能性のある前記移動体の想定速度に基づいて、前記見切り開始点を演算する、請求項1記載の運転支援装置。
  3. 前記目標速度決定部は、更に、前記自車両の進行方向において前記見切り開始点よりも手前側の第2の所定位置に設定される安全確認開始点に基づいて、前記目標速度を決定し、
    前記安全確認開始点は、前記死角領域に対して、一定の見通し角が確保できる点である、請求項1又は2に記載の運転支援装置。
  4. 前記目標速度決定部は、更に、前記自車両の進行方向において前記安全確認開始点よりも手前側の第3の所定位置に設定される減速開始点に基づいて、前記目標速度を決定し、
    前記減速開始点は、当該減速開始点から減速を開始することで、前記自車両が前記安全確認開始点へ至るまでに、予め設定された基準速度まで減速可能な点である、請求項3記載の運転支援装置。
  5. 前記運転支援部は、前記見切り開始点と、前記自車両の運転者が加速操作を開始した実見切り開始点と、に基づいて運転支援を行う請求項1〜4の何れか一項記載の運転支援装置。
  6. 前記自車両の運転者の状態に関する情報を取得する情報取得部を備え、
    前記運転支援部は、前記情報取得部によって取得された情報に基づいて、運転者状態を判定し、当該判定結果に基づいて運転支援を行う、請求項1〜5の何れか一項記載の運転支援装置。
JP2012135812A 2012-06-15 2012-06-15 運転支援装置 Active JP5981237B2 (ja)

Priority Applications (5)

Application Number Priority Date Filing Date Title
JP2012135812A JP5981237B2 (ja) 2012-06-15 2012-06-15 運転支援装置
EP13734835.5A EP2861474B1 (en) 2012-06-15 2013-06-10 Driving support system
US14/406,831 US9586582B2 (en) 2012-06-15 2013-06-10 Driving support system
CN201380031592.7A CN104379425A (zh) 2012-06-15 2013-06-10 驾驶支持系统
PCT/IB2013/001216 WO2013186620A1 (en) 2012-06-15 2013-06-10 Driving support system

Applications Claiming Priority (1)

Application Number Priority Date Filing Date Title
JP2012135812A JP5981237B2 (ja) 2012-06-15 2012-06-15 運転支援装置

Publications (2)

Publication Number Publication Date
JP2014002460A JP2014002460A (ja) 2014-01-09
JP5981237B2 true JP5981237B2 (ja) 2016-08-31

Family

ID=48748297

Family Applications (1)

Application Number Title Priority Date Filing Date
JP2012135812A Active JP5981237B2 (ja) 2012-06-15 2012-06-15 運転支援装置

Country Status (5)

Country Link
US (1) US9586582B2 (ja)
EP (1) EP2861474B1 (ja)
JP (1) JP5981237B2 (ja)
CN (1) CN104379425A (ja)
WO (1) WO2013186620A1 (ja)

Cited By (2)

* Cited by examiner, † Cited by third party
Publication number Priority date Publication date Assignee Title
US20220048500A1 (en) * 2014-05-29 2022-02-17 Toyota Jidosha Kabushiki Kaisha Driving support apparatus
US11400923B2 (en) 2018-09-18 2022-08-02 Kabushiki Kaisha Toshiba Information processing device, vehicle control device, and mobile object control method

Families Citing this family (29)

* Cited by examiner, † Cited by third party
Publication number Priority date Publication date Assignee Title
CN105774809B (zh) * 2014-12-26 2019-01-08 中国移动通信集团公司 一种行车盲区提示的方法和装置
JP6404722B2 (ja) * 2015-01-21 2018-10-17 株式会社デンソー 車両の走行制御装置
US10445603B1 (en) * 2015-12-11 2019-10-15 Lytx, Inc. System for capturing a driver image
JP6038423B1 (ja) 2016-01-28 2016-12-07 三菱電機株式会社 事故確率計算装置、事故確率計算方法及び事故確率計算プログラム
US10183684B2 (en) * 2016-03-31 2019-01-22 General Electric Company Multiple vehicle control system
EP3481661A4 (en) * 2016-07-05 2020-03-11 Nauto, Inc. AUTOMATIC DRIVER IDENTIFICATION SYSTEM AND METHOD
JP7014508B2 (ja) * 2016-08-08 2022-02-01 シャープ株式会社 自律走行装置及び自律走行制御方法と制御プログラム
JP6380919B2 (ja) * 2016-09-01 2018-08-29 マツダ株式会社 車両制御装置
JP6730177B2 (ja) * 2016-12-28 2020-07-29 株式会社デンソーテン 画像生成装置および画像生成方法
KR102381372B1 (ko) * 2017-03-31 2022-03-31 삼성전자주식회사 센싱 정보에 기초한 주행 제어 방법 및 제어 디바이스
US10994730B2 (en) * 2017-04-19 2021-05-04 Nissan Motor Co., Ltd. Traveling assistance method and traveling assistance device
WO2018216066A1 (ja) * 2017-05-22 2018-11-29 三菱電機株式会社 車載装置、走行支援方法および走行支援プログラム
SG11201913444XA (en) * 2017-07-03 2020-01-30 Gp Network Asia Pte Ltd Processing payments
JP6881221B2 (ja) * 2017-10-19 2021-06-02 トヨタ自動車株式会社 車速制御装置
CN109969191B (zh) * 2017-12-28 2022-05-31 奥迪股份公司 驾驶辅助系统和方法
US11120688B2 (en) * 2018-06-29 2021-09-14 Nissan North America, Inc. Orientation-adjust actions for autonomous vehicle operational management
US10824148B2 (en) * 2018-12-14 2020-11-03 Waymo Llc Operating an autonomous vehicle according to road user reaction modeling with occlusions
CN109817021B (zh) * 2019-01-15 2021-11-02 阿波罗智能技术(北京)有限公司 一种激光雷达路侧盲区交通参与者避让方法和装置
US11137766B2 (en) * 2019-03-07 2021-10-05 Zoox, Inc. State machine for traversing junctions
US11480962B1 (en) 2019-06-28 2022-10-25 Zoox, Inc. Dynamic lane expansion
US11427191B2 (en) 2019-10-31 2022-08-30 Zoox, Inc. Obstacle avoidance action
US11532167B2 (en) 2019-10-31 2022-12-20 Zoox, Inc. State machine for obstacle avoidance
CN112650243B (zh) 2020-12-22 2023-10-10 北京百度网讯科技有限公司 车辆控制方法、装置、电子设备和自动驾驶车辆
JP7302616B2 (ja) * 2021-02-24 2023-07-04 トヨタ自動車株式会社 遠隔支援システム及び遠隔支援方法
JP2022159732A (ja) 2021-04-05 2022-10-18 キヤノン株式会社 表示制御装置、表示制御方法、移動体、プログラムおよび記憶媒体
DE102021002295B3 (de) * 2021-04-30 2022-09-22 Mercedes-Benz Group AG Verfahren zur Ermittlung und Ausgabe einer an eine Fahrsituation angepassten Fahrgeschwindigkeit
JP7760919B2 (ja) * 2022-01-19 2025-10-28 日産自動車株式会社 制動制御方法及び制動制御装置
CN116798272B (zh) * 2023-08-23 2023-11-28 威海爱思特传感技术有限公司 基于车辆通信的道路十字路口盲区车辆预警系统及方法
WO2026022968A1 (ja) * 2024-07-24 2026-01-29 日産自動車株式会社 画像表示方法及び画像表示装置

Family Cites Families (17)

* Cited by examiner, † Cited by third party
Publication number Priority date Publication date Assignee Title
US20030016143A1 (en) * 2001-07-23 2003-01-23 Ohanes Ghazarian Intersection vehicle collision avoidance system
US7124027B1 (en) * 2002-07-11 2006-10-17 Yazaki North America, Inc. Vehicular collision avoidance system
US6970779B2 (en) * 2002-11-25 2005-11-29 Denso Corporation Vehicle speed control system and program
US7016783B2 (en) * 2003-03-28 2006-03-21 Delphi Technologies, Inc. Collision avoidance with active steering and braking
JP2006260217A (ja) * 2005-03-17 2006-09-28 Advics:Kk 車両用走行支援装置
DE602005017144D1 (de) * 2005-08-18 2009-11-26 Honda Res Inst Europe Gmbh Fahrerassistenzsystem
DE102005046045A1 (de) * 2005-09-27 2007-03-29 Robert Bosch Gmbh Verfahren und Vorrichtung zur Steuerung mindestens eines Objektdetektionssensors
JP4604103B2 (ja) 2008-03-31 2010-12-22 トヨタ自動車株式会社 交差点見通し検出装置
JP5049931B2 (ja) * 2008-09-11 2012-10-17 日立オートモティブシステムズ株式会社 ナビ協調走行制御装置
JP5267094B2 (ja) * 2008-12-10 2013-08-21 日産自動車株式会社 運転支援装置及び運転支援方法
WO2010101749A1 (en) * 2009-03-05 2010-09-10 Massachusetts Institute Of Technology Predictive semi-autonomous vehicle navigation system
JP2011118570A (ja) * 2009-12-02 2011-06-16 Honda Motor Co Ltd 車両の衝突を回避するための装置
JP2011194979A (ja) * 2010-03-18 2011-10-06 Toyota Motor Corp 運転支援装置
US8639437B2 (en) * 2010-06-09 2014-01-28 Toyota Motor Engineering & Manufacturing North America, Inc. Computationally efficient intersection collision avoidance system
DE102010038970A1 (de) * 2010-08-05 2012-02-09 Robert Bosch Gmbh Verfahren und Vorrichtung zum Bestimmen einer angepassten Fahrgeschwindigkeit eines Fahrzeugs
KR101029096B1 (ko) * 2010-11-18 2011-04-13 김은숙 차량의 측면 충돌 회피 방법
US9123252B2 (en) 2011-08-10 2015-09-01 Toyota Jidosha Kabushiki Kaisha Drive assist apparatus

Cited By (4)

* Cited by examiner, † Cited by third party
Publication number Priority date Publication date Assignee Title
US20220048500A1 (en) * 2014-05-29 2022-02-17 Toyota Jidosha Kabushiki Kaisha Driving support apparatus
US11738744B2 (en) * 2014-05-29 2023-08-29 Toyota Jidosha Kabushiki Kaisha Driving support apparatus
US11987238B2 (en) 2014-05-29 2024-05-21 Toyota Jidosha Kabushiki Kaisha Driving support apparatus
US11400923B2 (en) 2018-09-18 2022-08-02 Kabushiki Kaisha Toshiba Information processing device, vehicle control device, and mobile object control method

Also Published As

Publication number Publication date
WO2013186620A1 (en) 2013-12-19
CN104379425A (zh) 2015-02-25
EP2861474B1 (en) 2018-11-21
EP2861474A1 (en) 2015-04-22
US9586582B2 (en) 2017-03-07
JP2014002460A (ja) 2014-01-09
US20150142285A1 (en) 2015-05-21

Similar Documents

Publication Publication Date Title
JP5981237B2 (ja) 運転支援装置
CN112638749B (zh) 车辆的行驶控制方法及行驶控制装置
US11059482B2 (en) Travelling support apparatus
CN103703496B (zh) 驾驶辅助装置
CN105774806B (zh) 车辆行驶控制装置
CN112601690B (zh) 车辆的行驶控制方法及行驶控制装置
JP5776838B2 (ja) 運転支援装置
CN104812647B (zh) 驾驶辅助装置以及驾驶辅助方法
EP3075618B1 (en) Vehicle control apparatus
US9505305B2 (en) Vehicle device
CN103635946B (zh) 驾驶辅助装置
JP6221569B2 (ja) 運転支援装置
JP6607826B2 (ja) 走行制御装置
JP2017503268A (ja) 車両の運転者支援のための方法及びシステム
JP2014041556A (ja) 運転支援装置
CN109720343B (zh) 车辆控制设备
JP2010079565A (ja) 運転支援装置
JP5796519B2 (ja) 運転支援装置
JP2007133692A (ja) 運転行動評価装置
JP2018138405A (ja) 車両運転支援システム及び方法
CN117734703A (zh) 驾驶者状态判定装置
JP6668915B2 (ja) 移動体の自動運転制御システム
KR20230089780A (ko) 충돌 방지 방법 및 장치
KR20230123539A (ko) 표지판 정보를 이용하여 차량을 제어하는 방법 및 장치
KR20230055840A (ko) 자율 주행 차량을 제어하는 방법 및 장치

Legal Events

Date Code Title Description
A621 Written request for application examination

Free format text: JAPANESE INTERMEDIATE CODE: A621

Effective date: 20150508

A977 Report on retrieval

Free format text: JAPANESE INTERMEDIATE CODE: A971007

Effective date: 20160212

A131 Notification of reasons for refusal

Free format text: JAPANESE INTERMEDIATE CODE: A131

Effective date: 20160223

A521 Request for written amendment filed

Free format text: JAPANESE INTERMEDIATE CODE: A523

Effective date: 20160422

TRDD Decision of grant or rejection written
A01 Written decision to grant a patent or to grant a registration (utility model)

Free format text: JAPANESE INTERMEDIATE CODE: A01

Effective date: 20160705

A61 First payment of annual fees (during grant procedure)

Free format text: JAPANESE INTERMEDIATE CODE: A61

Effective date: 20160728

R151 Written notification of patent or utility model registration

Ref document number: 5981237

Country of ref document: JP

Free format text: JAPANESE INTERMEDIATE CODE: R151

R250 Receipt of annual fees

Free format text: JAPANESE INTERMEDIATE CODE: R250

R250 Receipt of annual fees

Free format text: JAPANESE INTERMEDIATE CODE: R250

R250 Receipt of annual fees

Free format text: JAPANESE INTERMEDIATE CODE: R250

R250 Receipt of annual fees

Free format text: JAPANESE INTERMEDIATE CODE: R250

R250 Receipt of annual fees

Free format text: JAPANESE INTERMEDIATE CODE: R250

R250 Receipt of annual fees

Free format text: JAPANESE INTERMEDIATE CODE: R250

R250 Receipt of annual fees

Free format text: JAPANESE INTERMEDIATE CODE: R250