JP5954576B2 - アームレストの芯材 - Google Patents

アームレストの芯材 Download PDF

Info

Publication number
JP5954576B2
JP5954576B2 JP2012160693A JP2012160693A JP5954576B2 JP 5954576 B2 JP5954576 B2 JP 5954576B2 JP 2012160693 A JP2012160693 A JP 2012160693A JP 2012160693 A JP2012160693 A JP 2012160693A JP 5954576 B2 JP5954576 B2 JP 5954576B2
Authority
JP
Japan
Prior art keywords
stopper pin
base end
armrest
rib
frame body
Prior art date
Legal status (The legal status is an assumption and is not a legal conclusion. Google has not performed a legal analysis and makes no representation as to the accuracy of the status listed.)
Active
Application number
JP2012160693A
Other languages
English (en)
Other versions
JP2014019333A (ja
Inventor
昭二 早苗
昭二 早苗
Current Assignee (The listed assignees may be inaccurate. Google has not performed a legal analysis and makes no representation or warranty as to the accuracy of the list.)
Tokai Chemical Industries Ltd
Original Assignee
Tokai Chemical Industries Ltd
Priority date (The priority date is an assumption and is not a legal conclusion. Google has not performed a legal analysis and makes no representation as to the accuracy of the date listed.)
Filing date
Publication date
Application filed by Tokai Chemical Industries Ltd filed Critical Tokai Chemical Industries Ltd
Priority to JP2012160693A priority Critical patent/JP5954576B2/ja
Priority to PCT/JP2013/069457 priority patent/WO2014014040A1/ja
Priority to EP13820058.9A priority patent/EP2738038B1/en
Priority to CN201380003154.XA priority patent/CN103826916B/zh
Publication of JP2014019333A publication Critical patent/JP2014019333A/ja
Priority to US14/186,490 priority patent/US9398812B2/en
Application granted granted Critical
Publication of JP5954576B2 publication Critical patent/JP5954576B2/ja
Active legal-status Critical Current
Anticipated expiration legal-status Critical

Links

Images

Classifications

    • AHUMAN NECESSITIES
    • A47FURNITURE; DOMESTIC ARTICLES OR APPLIANCES; COFFEE MILLS; SPICE MILLS; SUCTION CLEANERS IN GENERAL
    • A47CCHAIRS; SOFAS; BEDS
    • A47C7/00Parts, details, or accessories of chairs or stools
    • A47C7/54Supports for the arms
    • BPERFORMING OPERATIONS; TRANSPORTING
    • B60VEHICLES IN GENERAL
    • B60NSEATS SPECIALLY ADAPTED FOR VEHICLES; VEHICLE PASSENGER ACCOMMODATION NOT OTHERWISE PROVIDED FOR
    • B60N2/00Seats specially adapted for vehicles; Arrangement or mounting of seats in vehicles
    • B60N2/68Seat frames
    • B60N2/682Joining means
    • BPERFORMING OPERATIONS; TRANSPORTING
    • B60VEHICLES IN GENERAL
    • B60NSEATS SPECIALLY ADAPTED FOR VEHICLES; VEHICLE PASSENGER ACCOMMODATION NOT OTHERWISE PROVIDED FOR
    • B60N2/00Seats specially adapted for vehicles; Arrangement or mounting of seats in vehicles
    • B60N2/75Arm-rests
    • B60N2/753Arm-rests movable to an inoperative position
    • BPERFORMING OPERATIONS; TRANSPORTING
    • B29WORKING OF PLASTICS; WORKING OF SUBSTANCES IN A PLASTIC STATE IN GENERAL
    • B29CSHAPING OR JOINING OF PLASTICS; SHAPING OF MATERIAL IN A PLASTIC STATE, NOT OTHERWISE PROVIDED FOR; AFTER-TREATMENT OF THE SHAPED PRODUCTS, e.g. REPAIRING
    • B29C45/00Injection moulding, i.e. forcing the required volume of moulding material through a nozzle into a closed mould; Apparatus therefor
    • B29C45/14Injection moulding, i.e. forcing the required volume of moulding material through a nozzle into a closed mould; Apparatus therefor incorporating preformed parts or layers, e.g. injection moulding around inserts or for coating articles
    • BPERFORMING OPERATIONS; TRANSPORTING
    • B29WORKING OF PLASTICS; WORKING OF SUBSTANCES IN A PLASTIC STATE IN GENERAL
    • B29LINDEXING SCHEME ASSOCIATED WITH SUBCLASS B29C, RELATING TO PARTICULAR ARTICLES
    • B29L2031/00Other particular articles
    • B29L2031/30Vehicles, e.g. ships or aircraft, or body parts thereof
    • B29L2031/3005Body finishings
    • B29L2031/3026Arm-rests

Landscapes

  • Engineering & Computer Science (AREA)
  • Aviation & Aerospace Engineering (AREA)
  • Transportation (AREA)
  • Mechanical Engineering (AREA)
  • Seats For Vehicles (AREA)
  • Steps, Ramps, And Handrails (AREA)

Description

本発明は、シートに片持ち状に旋回可能に支持されるアームレストの芯材に関するものである。
シートに対して旋回可能に支持されるアームレストは、子供がアームレストに乗って大きな荷重がかかったとしても支持できるように、高い強度が要求される。そのため、従来は、アームレストの芯材は、金属製が一般的であった。例えば、特開2003−289986号公報、特開2000−70070号公報などに記載されているように、近年、高強度の樹脂が開発され、アームレストの芯材に当該樹脂を用いることで、軽量化を図ることができるようになった。また、樹脂製のアームレストの芯材において、金属材料をインサート成形することが、特開平9−24170号公報などに記載されている。
特開2003−289986号公報 特開2000−70070号公報 特開平9−24170号公報
ところで、アームレストの旋回を許容しつつ設定角度に達すると旋回を規制するためのストッパピンが、シート側に固定されているタイプと、アームレストの芯材に固定されているタイプとがある。いずれのタイプの場合にも、ストッパピンが高い耐荷重を有することが必要となる。ここで、アームレストの芯材がストッパピンを備える後者のタイプにおいて、芯材を樹脂製とした場合に、ストッパピン部分の耐荷重を高くすることは容易ではない。
本発明は、このような事情に鑑みてなされたものであり、旋回規制のためのストッパピンを備えており、高耐荷重を有するアームレストの芯材を提供することを目的とする。
本手段に係るアームレストの芯材は、シートに片持ち状に旋回可能に支持されるアームレストの芯材であって、樹脂製の枠体と、先端側を前記枠体の外側へ突出させるように枠体にインサートされており、シートのストッパに引っかかることで旋回規制される金属製のストッパピンと、枠体の内側に枠体に一体に設けられ、ストッパピンの基端面に対してストッパピンの軸方向に重なるように設けられるリブとを備える。
芯材の枠体およびリブを樹脂製とすることにより、芯材全体としては軽量化を図ることができる。また、枠体にインサートされるストッパピンを金属製とすることで、ピン自体の強度を確保できる。従って、ストッパピンがシートのストッパに引っかかる状態において、ピン自体は高耐荷重を有する。
さらに、リブがストッパピンの基端面に対して軸方向に重なるように設けられている。そのため、高強度のリブによって、ストッパピンが枠体から抜けることを抑制できる。従って、ストッパピンは、高荷重が作用したとしても、樹脂製の枠体およびリブに、一体的に保持される。
また、ストッパピンは、基端側に先端側よりも大きな断面形状に形成された基端大形部を有し、基端大形部のうちストッパピンの先端側の面は、枠体を形成する樹脂により被覆されるようにしてもよい。これにより、ストッパピンに対してストッパピンの先端側への抜け力が作用したとしても、ストッパピンは、枠体を形成する樹脂(基端大形部を被覆する樹脂)により、一体的に保持される。つまり、ストッパピンは、基端大形部を被覆する樹脂によって先端側への抜けを防止され、リブによって基端側への抜けを防止される。従って、ストッパピンは、確実に、枠体に一体的に保持された状態となる。なお、基端大形部が先端側よりも大きな断面形状であるとの意味は、基端大形部の外接円直径が先端側の外接円直径よりも大きいことを意味し、基端大形部および先端側は円形でも角形でもよい。
また、ストッパピンの基端面の一部とストッパピンの先端面の少なくとも一部は、インサート成形時におけるストッパピンの位置決め用として露出されるようにしてもよい。軸方向両端の露出面により、ストッパピンを枠体に対して高精度に位置決めできる。ここで、ストッパピンの基端面のうちの露出部には、リブが形成されていない。つまり、リブは、当該露出部以外に形成されている。
また、ストッパピンの基端面の露出部位は、ストッパピンの先端面と軸方向に対応する範囲に形成されるようにしてもよい。これにより、インサート成形時において、ストッパピンの両端の軸方向の同位置を押さえることができ、その結果ストッパピンを枠体およびリブに対して高精度に位置決めできる。
また、リブの幅方向の一部が、ストッパピンの基端面の外周縁に対してストッパピンの軸方向に重なるように設けられるようにしてもよい。このように、リブの幅方向の一部であっても、ストッパピンの基端側への抜け抑止力を発揮できる。なお、リブは、ストッパピンの基端面の外周縁の一部に設けられるようにしてもよいし、外周縁の全周に設けられるようにしてもよい。
また、リブは、ストッパピンの基端面のうち先端面と軸方向に対応する範囲に対して重なるように設けられるようにしてもよい。このように、リブを、ストッパピンの先端面と軸方向に対応する範囲に設けることで、ストッパピンの基端側への抜け抑止力を確実に発揮できる。
本発明の第一実施形態におけるアームレストの芯材およびシート側の相手部材の斜視図である。 図1のアームレストの芯材の正面図である。 図2のアームレストの芯材の平面図である。 図2のアームレストの芯材の底面図である。 図3のアームレストの芯材のV-V断面図である。 図2のアームレストの芯材の成形金型および固定された状態のストッパピンを示す断面図である。 本発明の第二実施形態におけるアームレストの芯材の平面図である。 図7のアームレストの芯材のVIII-VIII断面図である。 本発明の第三実施形態におけるアームレストの芯材の平面図である。 図9のアームレストの芯材のX-X断面図である。
<第一実施形態>
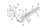
第一実施形態のアームレストの芯材について説明する。アームレストは、例えば、自動車のシートのシートバックに、片持ち状に旋回可能に支持される。このアームレストは、図1に示すように、芯材10と、芯材10を被覆する表皮(図示せず)と、芯材10と表皮の間にウレタンフォームなどのクッション性を有するパッド(図示せず)とを備える。
ここで、図1に示すように、アームレストの芯材10は、シートバックの側面に固定される支持部材50に対して、片持ち状に旋回可能に支持されると共に、旋回角度を所定範囲内に規制される。本実施形態においては、アームレストの旋回を許容しつつ設定角度に達すると旋回を規制するためのストッパピン30が、アームレストの芯材10に固定されているタイプである。
つまり、図1に示すように、シートバックに固定される支持部材50は、アームレストを片持ち状に支持する支持軸51と、ストッパピン30の円弧状の移動を許容とすると共に設定角度において旋回を規制するようにストッパ52とを備える。支持軸51は、中空でも中軸でもよい。ストッパ52は、円弧状溝、円弧状凹所、突起など、ストッパピン30を設定角度において規制することができる形状であればよい。一方、アームレストの芯材10は、支持部材50の支持軸51を旋回可能に挿通される旋回支持筒部23と、ストッパ52に引っかかることで旋回角度を規制するストッパピン30とを備える。
以下、アームレストの芯材10の詳細について、図2〜図5を参照して説明する。芯材10は、金属製のストッパピン30を樹脂にインサート成形される。この芯材10は、樹脂製の枠体20と、ストッパピン30と、樹脂製のリブ40とを備える。枠体20およびリブ40を形成する樹脂には、例えば、PA66-GF,PP-GFなどが適用される。
枠体20は、芯材10の外形を構成しており、長尺状に形成される。枠体20は、一面(図1の右手前側)に開口部を有するように、有底筒状に形成される。つまり、枠体20は、長尺板状に形成された底部21の縁全周に壁部22を設けた形状に形成されている。枠体20の底部21の長手の一端側には、旋回支持筒部23が、底部21の面にほぼ直交するように、かつ、底部21の両面のそれぞれから突出して設けられている。旋回支持筒部23には、上述したように、シートバックに固定される支持部材50の支持軸51が回転可能に挿入される。つまり、旋回支持筒部23が、アームレストの旋回中心となる。さらに、枠体20には、表皮と芯材10との間にウレタンフォーム材を注入するための注入口24が、底部21の長手の中央に形成されている。なお、パッドを備えないアームレストの場合には、注入口24を形成する必要はない。
ストッパピン30は、鉄系などの金属製であり、枠体20にインサート成形される。このストッパピン30は、図5に示すように、先端側が基端側よりも細く形成される。本実施形態においては、ストッパピン30は、段付き軸状に形成される。つまり、ストッパピン30は、図5の下側部分である先端軸部31と、先端軸部31より大きな断面形状を有する基端大形部32とを有する。ただし、ストッパピン30は、段付き軸状に限られず、先端側に行くほど細くなるようにテーパ状に形成されるようにしてもよい。なお、基端大形部32が先端軸部31よりも大きな断面形状を有するとの意味は、基端大形部32の外接円直径が先端軸部31の外接円直径よりも大きいことを意味し、基端大形部32および先端軸部31は円形でも角形でもよい。
ここで、先端軸部31は、本実施形態においては、円柱状としているが、これに限られず、角柱状としてもよいし、テーパ形状としてもよい。そして、先端軸部31の先端が、支持部材50のストッパ52に引っかかり、旋回角度を規制する。また、基端大形部32は、先端軸部31より大径の円板状に形成しているが、角形でもよい。さらに、本実施形態においては、先端軸部31と基端大形部32とを同心状にしているが、両者の中心が異なるように偏心させてもよい。
ストッパピン30は、枠体20のうち旋回支持筒部23の隣りに設けられる。このとき、ストッパピン30の基端大形部32は、枠体20の底部21に埋め込まれているが、ストッパピン30の先端軸部31は、枠体20の外側に突出している。ここで、基端大形部32の基端面の一部と先端軸部31の先端面の少なくとも一部とは、インサート成形時におけるストッパピン30の位置決め用として露出される。インサート成形による製造工程は、後述する。さらに、ストッパピン30の基端大形部32における先端側の面(本実施形態においては基端面とは反対側の段付き面)は、枠体20を形成する樹脂により被覆される。本実施形態においては、ストッパピン30の先端軸部31の中央付近まで、枠体20を形成する樹脂により被覆される。
リブ40は、枠体20の内側に、詳細には枠体20の底部21の内側面に、枠体20と同一樹脂材料にて一体成形される。図3に示すように、枠体20の底部21のうち長手の中央より旋回支持筒部23から遠い側には、直線状の第一リブ41が形成される。枠体20の底部21のうち長手の中央より旋回支持筒部23側には網目状の第二リブ42が形成される。ここでは、第二リブ42は、網目状の一例としてハニカム状に形成される。なお、第二リブ42は、複数の隆起部が交わり合う網目状に限られず、他の隆起部と交わらないような形状としてもよい。
第二リブ42は、図3および図5に示すように、ストッパピン30の基端大形部32の基端面に対してストッパピン30の軸方向に重なるように設けられる。詳細には、第二リブ42は、ストッパピン30の基端大形部32の基端面のうち外周縁の一部分に対して軸方向に重なっている。つまり、基端大形部32の基端面は、外周縁の当該一部分以外の部分は、枠体20の底部21から露出している。さらに詳細には、第二リブ42の幅方向の一部が、基端大形部32の基端面に重なっている。また、第二リブ42は、注入口24にかからないように形成されている。
次に、上述した芯材10の製造方法について、図6を参照して説明する。図6に示すように、樹脂成型用の金型61,62の中に、ストッパピン30を位置決めする。このとき、ストッパピン30の基端大形部32のうち上述した露出部位に相当する部位が、第一金型61に接触している。一方、ストッパピン30の先端軸部31の先端面は、全面に亘って、第二金型62に接触している。さらに、ストッパピン30の先端軸部31の外周面のうち先端側が、第二金型62に接触している。
ここで、基端大形部32の露出部位は、先端軸部31の先端面と軸方向に対応する範囲に形成されている。つまり、インサート成形時において、ストッパピン30の両端の軸方向の同位置を金型61,62によって押さえることができる。このように、第一金型61と第二金型62によって、ストッパピン30を軸方向に安定して押し付けた状態で挟むことができるため、金型61,62内において、ストッパピン30を高精度に位置決めできる。この状態において、金型61,62内のキャビティに樹脂を注入することで、枠体20およびリブ40を形成すると共に、ストッパピン30が枠体20にインサート成形された。従って、ストッパピン30を、枠体20およびリブ40に対して高精度に位置決めできるため、ストッパピン30の基端大形部32の基端面と第二リブ42とを確実に軸方向に重なるようにできる。
本実施形態によれば、芯材10の枠体20およびリブ40を樹脂製とすることにより、芯材10全体としては軽量化を図ることができる。また、枠体20にインサート成形するストッパピン30を金属製とすることで、ストッパピン30自体の強度を確保できる。従って、ストッパピン30がシートバックに固定された支持部材50のストッパ52に引っかかる状態において、ストッパピン30自体は高耐荷重を有する。
さらに、第二リブ42がストッパピン30の基端大形部32の基端面に対して軸方向に重なるように設けられている。そのため、高強度の第二リブ42によって、ストッパピン30が枠体20から抜けることを抑制できる。従って、ストッパピン30は、高荷重が作用したとしても、樹脂製の枠体20およびリブ40に、一体的に保持される。
また、基端大形部32のうちストッパピン30の先端側の面は、枠体20を形成する樹脂により被覆されるようにしている。これにより、ストッパピン30に対してストッパピン30の先端側への抜け力が作用したとしても、ストッパピン30は、枠体20を形成する樹脂(基端大形部32を被覆する樹脂)により、一体的に保持される。つまり、ストッパピン30は、基端大形部32を被覆する樹脂によって先端側への抜けを防止され、第二リブ42によって基端側への抜けを防止される。従って、ストッパピン30は、確実に、枠体20に一体的に保持された状態となる。
また、第二リブ42の幅方向の一部が、ストッパピン30の基端大形部32の基端面の外周縁に対してストッパピン30の軸方向に重なるように設けられている。このように、第二リブ42の幅方向の一部であっても、ストッパピン30の基端側への抜け抑止力を発揮できる。
<第二実施形態>
次に、第二実施形態のアームレストの芯材100について、図7および図8を参照して説明する。本実施形態の芯材100において、上記実施形態と同一構成については同一符号を付して、詳細な説明を省略する。
本実施形態の芯材100は、上記実施形態に対して、ストッパピン130が異なる。ストッパピン130は、先端軸部131と、基端大形部132とを備える。先端軸部131は、角柱状に形成される。基端大形部132は、円板状に形成されており、その中心が先端軸部131の中心から偏心している。さらに、基端大形部132が枠体20に埋め込まれており、基端大形部132の基端面の中央のみが、露出している。つまり、基端大形部132の基端面の外周縁の全周に対して、第二リブ42が軸方向に重なるように設けられる。ここで、先端軸部131を角柱状にした理由は、インサート成形時において、基端大形部132の位相決めするためである。
このように、基端大形部132の基端面の外周縁全周に亘って、第二リブ42が位置しているため、ストッパピン130の基端側への抜け力に対して、非常に高い抑止力を発揮できる。
<第三実施形態>
次に、第三実施形態のアームレストの芯材200について、図9および図10を参照して説明する。本実施形態の芯材200において、上記実施形態と同一構成については同一符号を付して、詳細な説明を省略する。
本実施形態の芯材200は、上記実施形態に対して、リブ240が異なる。リブ240は、上記同様の第一リブ41と、上記とは異なる第二リブ242とを備える。第二リブ242は、底部21の内側に網目状に形成されている。そして、第二リブ242は、ストッパピン30の基端大形部32の基端面の中央に対して、軸方向に重なるように設けられている。
つまり、第二リブ242は、ストッパピン30の基端大形部32の基端面のうち先端軸部31の先端面と軸方向に対応する範囲に対して重なるように設けられる。このように、第二リブ242を、ストッパピン30の先端面と軸方向に対応する範囲に設けることで、ストッパピン30の基端側への抜け抑止力を確実に発揮できる。ただし、第二リブ242は、ストッパピン30の基端大形部32の基端面全てを覆うように形成される訳ではなく、基端大形部32の基端面の一部は露出している。これらの露出部位は、上記同様、インサート成形時におけるストッパピン30の位置決め用である。特に、露出部位を複数箇所とすることで、基端面の中央が露出しないとしても、ストッパピン30を金型61,62(図6に示す)内において高精度に位置決めでき、結果としてストッパピン30を枠体20および第二リブ242に対して高精度に位置決めできる。
10,100,200:芯材、 20:枠体、 30,130:ストッパピン、 32,132:基端大形部、 40,240:リブ、 42,242:第二リブ、 50:シートに固定される支持部材、 52:ストッパ

Claims (6)

  1. シートに片持ち状に旋回可能に支持されるアームレストの芯材であって、
    樹脂製の枠体と、
    先端側を前記枠体の外側へ突出させるように前記枠体にインサートされており、前記シートのストッパに引っかかることで旋回規制される金属製のストッパピンと、
    前記枠体の内側に前記枠体に一体に設けられ、前記ストッパピンの基端面に対して前記ストッパピンの軸方向に重なるように設けられるリブと、
    を備える、アームレストの芯材。
  2. 前記ストッパピンは、基端側に先端側よりも大きな断面形状に形成された基端大形部を有し、
    前記基端大形部のうち前記ストッパピンの先端側の面は、前記枠体を形成する樹脂により被覆される、請求項1のアームレストの芯材。
  3. 前記ストッパピンの基端面の一部と前記ストッパピンの先端面の少なくとも一部は、インサート成形時における前記ストッパピンの位置決め用として露出される、請求項1または2のアームレストの芯材。
  4. 前記ストッパピンの基端面の露出部位は、前記ストッパピンの先端面と軸方向に対応する範囲に形成される、請求項3のアームレストの芯材。
  5. 前記リブの幅方向の一部が、前記ストッパピンの基端面の外周縁に対して前記ストッパピンの軸方向に重なるように設けられる、請求項1〜4の何れか一項のアームレストの芯材。
  6. 前記リブは、前記ストッパピンの基端面のうち先端面と軸方向に対応する範囲に対して重なるように設けられる、請求項1〜3の何れか一項のアームレストの芯材。
JP2012160693A 2012-07-19 2012-07-19 アームレストの芯材 Active JP5954576B2 (ja)

Priority Applications (5)

Application Number Priority Date Filing Date Title
JP2012160693A JP5954576B2 (ja) 2012-07-19 2012-07-19 アームレストの芯材
PCT/JP2013/069457 WO2014014040A1 (ja) 2012-07-19 2013-07-18 アームレストの芯材
EP13820058.9A EP2738038B1 (en) 2012-07-19 2013-07-18 Core for armrest
CN201380003154.XA CN103826916B (zh) 2012-07-19 2013-07-18 扶手的芯材
US14/186,490 US9398812B2 (en) 2012-07-19 2014-02-21 Core for armrest

Applications Claiming Priority (1)

Application Number Priority Date Filing Date Title
JP2012160693A JP5954576B2 (ja) 2012-07-19 2012-07-19 アームレストの芯材

Publications (2)

Publication Number Publication Date
JP2014019333A JP2014019333A (ja) 2014-02-03
JP5954576B2 true JP5954576B2 (ja) 2016-07-20

Family

ID=49948863

Family Applications (1)

Application Number Title Priority Date Filing Date
JP2012160693A Active JP5954576B2 (ja) 2012-07-19 2012-07-19 アームレストの芯材

Country Status (5)

Country Link
US (1) US9398812B2 (ja)
EP (1) EP2738038B1 (ja)
JP (1) JP5954576B2 (ja)
CN (1) CN103826916B (ja)
WO (1) WO2014014040A1 (ja)

Families Citing this family (17)

* Cited by examiner, † Cited by third party
Publication number Priority date Publication date Assignee Title
USRE47872E1 (en) 2011-07-11 2020-02-25 Molon Labe Llc Slider seat for aircraft
DE102013021692A1 (de) * 2013-12-19 2015-06-25 GM Global Technology Operations LLC (n. d. Ges. d. Staates Delaware) Kraftfahrzeugsitzelement
FR3017833A1 (fr) * 2014-02-24 2015-08-28 Peugeot Citroen Automobiles Sa Dossier de siege
KR101634971B1 (ko) * 2014-08-29 2016-07-01 한화첨단소재 주식회사 특수단면을 갖는 플라스틱 시트형 자동차용 암레스트
US10456970B2 (en) * 2015-05-12 2019-10-29 Ford Global Technologies, Llc Blow molded vehicle parts with foam layer and hollow core
JP6512039B2 (ja) * 2015-09-04 2019-05-15 トヨタ紡織株式会社 乗物用シートのアームレスト装置
US10569881B2 (en) 2016-10-18 2020-02-25 Molon Labe, Llc Staggered aircraft seat assembly
CN106828239B (zh) * 2016-12-27 2019-07-02 重庆协成五金制造有限公司 一种钣金件、扶手支架、冲压模具及冲压工艺
US11230209B2 (en) * 2017-02-17 2022-01-25 Ts Tech Co., Ltd. Armrest device
JP7235432B2 (ja) * 2017-05-22 2023-03-08 トヨタ紡織株式会社 乗物用シート
USD840701S1 (en) * 2017-10-18 2019-02-19 Molon Labe, Llc Staggered aircraft seats
USD850177S1 (en) 2017-12-15 2019-06-04 Molon Labe, Llc Aircraft seat armrests
USD867775S1 (en) 2018-04-03 2019-11-26 Molon Labe, Llc Set of multilevel aircraft seat armrests
USD930418S1 (en) * 2018-11-15 2021-09-14 Tesla, Inc. Arm rest
USD935256S1 (en) * 2019-05-30 2021-11-09 Gulfstream Aerospace Corporation Armrest including a seat console
USD936383S1 (en) 2019-08-01 2021-11-23 Molon Labe, Llc Staggered aircraft seat assembly
USD924043S1 (en) 2019-08-22 2021-07-06 Molon Labe, Llc Aircraft wheelchair accommodating seat assembly

Family Cites Families (22)

* Cited by examiner, † Cited by third party
Publication number Priority date Publication date Assignee Title
DE2448770C3 (de) * 1974-10-12 1979-03-01 Daimler-Benz Ag, 7000 Stuttgart Schwenkbare Armstütze
US4205879A (en) * 1978-12-26 1980-06-03 Uop Inc. Insertable armrest for a vehicle seat
JPS58156452U (ja) * 1982-04-14 1983-10-19 池田物産株式会社 ア−ムレストのロツク機構
DE3300993C2 (de) * 1983-01-14 1987-02-19 Eugen Otto 4010 Hilden Butz Schwenkbare Armlehne für Kraftfahrzeugsitze
US4848840A (en) * 1988-08-11 1989-07-18 Tachi-S Co., Ltd. Locking mechanism for armrest
JPH0924170A (ja) 1995-07-11 1997-01-28 Araco Corp 車両用アームレスト
JPH11221133A (ja) * 1998-02-06 1999-08-17 Ikeda Bussan Co Ltd アームレストの脱着構造
US6328384B1 (en) * 1998-05-25 2001-12-11 Ikeda Bussan Co., Ltd. Coupling structure between seatback and armrest for vehicle
JP2000070070A (ja) 1998-08-28 2000-03-07 Tokai Chem Ind Ltd 発泡成形品
US6234515B1 (en) * 1998-10-30 2001-05-22 Inoac Corporation Pillar unit
DE29908103U1 (de) * 1999-05-06 1999-07-22 Hu, Jung-Hua, Tainan Hsien Bewegungsvorrichtung für eine Armlehne
US6168236B1 (en) * 2000-01-10 2001-01-02 Su-Jan Chen Easy-to-assemble/recycle armrest
US6471297B1 (en) * 2000-08-25 2002-10-29 Magna Seating Systems, Inc. Pivotal and retractable armrest assembly
TW521142B (en) * 2001-03-13 2003-02-21 Sharp Kk Cam mechanism and door opening/closing mechanism
US6869124B2 (en) * 2001-07-31 2005-03-22 Newfrey Llc Footrest assembly and clip for footrest assembly
WO2003016091A1 (en) * 2001-08-15 2003-02-27 Dow Global Technologies Inc. Improved seating system
US6520576B1 (en) * 2001-10-04 2003-02-18 Collins & Aikman Products Co. Vehicle armrests with removable beverage container holders
JP2003289986A (ja) 2002-04-02 2003-10-14 Tokai Chem Ind Ltd アームレスト
US20050242648A1 (en) * 2004-04-29 2005-11-03 Williams Brian E Hand grip for a seat assembly
DE102006031448B3 (de) * 2006-07-07 2007-11-22 Interstuhl Büromöbel GmbH & Co. KG Stuhl, insbesondere Bürostuhl
JP5607352B2 (ja) * 2009-12-28 2014-10-15 テイ・エス テック株式会社 樹脂製のブシュによる軸受け構造
WO2012073273A1 (ja) * 2010-11-30 2012-06-07 東海化成工業株式会社 アームレスト装置

Also Published As

Publication number Publication date
EP2738038A1 (en) 2014-06-04
CN103826916A (zh) 2014-05-28
CN103826916B (zh) 2016-05-04
EP2738038B1 (en) 2019-05-08
EP2738038A4 (en) 2015-03-11
WO2014014040A1 (ja) 2014-01-23
JP2014019333A (ja) 2014-02-03
US9398812B2 (en) 2016-07-26
US20140167479A1 (en) 2014-06-19

Similar Documents

Publication Publication Date Title
JP5954576B2 (ja) アームレストの芯材
JP5557946B1 (ja) ヘッドレスト構造及びヘッドレスト装置
JP6461654B2 (ja) ヘッドレストステーの製造方法
JP2014066268A (ja) ナット
JP7538333B2 (ja) アーム状構造体およびロボット
CN104097604A (zh) 贯穿式固定器
US20150291012A1 (en) Two piece housing assembly with elongated attachment and method for making the same
JP5697908B2 (ja) 燃料噴射弁の燃料供給口用フィルタ
JP6423682B2 (ja) ステアリング用加飾品
JP2018166458A (ja) 釣糸ガイド及び釣竿並びに釣糸ガイドのフレーム
JP6867920B2 (ja) インサート成形用金型及びこれにより得られる樹脂成形品
JP4812615B2 (ja) ボールジョイント及びボールジョイントの製造方法
JP6059093B2 (ja) ヘッドレストの一体発泡成形用金型およびヘッドレストの一体発泡成形品の製造方法。
JP2012189146A (ja) ボールジョイント、そのベアリングシート及びボールジョイントのベアリングシートの製造方法
US20160263786A1 (en) Apparatus for manufacturing crash pad
JP5402280B2 (ja) 発泡成形用金型
JP3864961B2 (ja) ステアリングホイールの製造方法
JP2008196395A (ja) エンジンカバー
US10179431B2 (en) Plastic part with reduced read-through
CN206698428U (zh) 一种用于连接的固定装置及扬声器模组
JP2013043593A5 (ja)
JP2007100905A (ja) 自動調心すべり軸受および該自動調心すべり軸受の外輪の製造方法
JP2008284955A (ja) 金型装置
JP3584741B2 (ja) ステアリングホイール
JP4226991B2 (ja) 化粧料容器の成形方法

Legal Events

Date Code Title Description
A621 Written request for application examination

Free format text: JAPANESE INTERMEDIATE CODE: A621

Effective date: 20150519

A131 Notification of reasons for refusal

Free format text: JAPANESE INTERMEDIATE CODE: A131

Effective date: 20160223

A521 Request for written amendment filed

Free format text: JAPANESE INTERMEDIATE CODE: A523

Effective date: 20160415

TRDD Decision of grant or rejection written
A01 Written decision to grant a patent or to grant a registration (utility model)

Free format text: JAPANESE INTERMEDIATE CODE: A01

Effective date: 20160517

A61 First payment of annual fees (during grant procedure)

Free format text: JAPANESE INTERMEDIATE CODE: A61

Effective date: 20160601

R150 Certificate of patent or registration of utility model

Ref document number: 5954576

Country of ref document: JP

Free format text: JAPANESE INTERMEDIATE CODE: R150

R250 Receipt of annual fees

Free format text: JAPANESE INTERMEDIATE CODE: R250