JP5951981B2 - 鉄筋交差部締結具 - Google Patents

鉄筋交差部締結具 Download PDF

Info

Publication number
JP5951981B2
JP5951981B2 JP2011282854A JP2011282854A JP5951981B2 JP 5951981 B2 JP5951981 B2 JP 5951981B2 JP 2011282854 A JP2011282854 A JP 2011282854A JP 2011282854 A JP2011282854 A JP 2011282854A JP 5951981 B2 JP5951981 B2 JP 5951981B2
Authority
JP
Japan
Prior art keywords
reinforcing bar
bolt
bent portion
shaped
shaped bent
Prior art date
Legal status (The legal status is an assumption and is not a legal conclusion. Google has not performed a legal analysis and makes no representation as to the accuracy of the status listed.)
Active
Application number
JP2011282854A
Other languages
English (en)
Other versions
JP2013133595A (ja
Inventor
貞義 坂井
貞義 坂井
志津果 坂井
志津果 坂井
Current Assignee (The listed assignees may be inaccurate. Google has not performed a legal analysis and makes no representation or warranty as to the accuracy of the list.)
Individual
Original Assignee
Individual
Priority date (The priority date is an assumption and is not a legal conclusion. Google has not performed a legal analysis and makes no representation as to the accuracy of the date listed.)
Filing date
Publication date
Application filed by Individual filed Critical Individual
Priority to JP2011282854A priority Critical patent/JP5951981B2/ja
Publication of JP2013133595A publication Critical patent/JP2013133595A/ja
Application granted granted Critical
Publication of JP5951981B2 publication Critical patent/JP5951981B2/ja
Active legal-status Critical Current
Anticipated expiration legal-status Critical

Links

Images

Landscapes

  • Reinforcement Elements For Buildings (AREA)

Description

本発明は、主に高負荷が掛かる鉄筋交差部を強固に締結固定する鉄筋交差部締結具に関する。
従来、鉄筋交差部を固定する締結具としては、第1鉄筋と第2鉄筋の交差部を強固に締結固定する高負荷用鉄筋交差部締結具であって、1本のUボルト及び2個のナットと締結プレートとで構成され、
該締結プレートは、前記Uボルトの両端雄ねじ部を挿通可能な挿通孔が形成され、
前記Uボルトは、その両端雄ねじ部とU字状折曲部との間に該U字状折曲部の折曲方向とは略直交する方向へ折曲可能な肉薄板状部が形成されていることを特徴とする高負荷用鉄筋交差部締結具が知られている(例えば、特許文献1参照。)・・・従来例。
この従来例によれば、以下に列挙する効果が得られる。
すなわち、従来例では、Uボルトは、その両端雄ねじ部とU字状折曲部との間に該U字状折曲部の折曲方向とは略直交する方向へ折曲可能な肉薄板状部が形成されている構成としたことで、まず、交差された上方の第2鉄筋に対しUボルトのU字状折曲部を上方から係合させた状態で、両肉薄板状部を下方の第1鉄筋の下面に沿ってU字状に折曲させることにより、両雄ねじ部を第2鉄筋の上方へ突出させた状態とし、次に、両雄ねじ部を締結プレートの両挿通孔に挿通してそれぞれナットで締結することにより、第1鉄筋の下面に係合する両肉薄板状部と第2鉄筋の上面に係合するUボルトのU字状折曲部と締結プレートとの間に挟持される状態で第1鉄筋と第2鉄筋の交差部を強固に締結固定することができる。
また、UボルトにおけるU字状折曲部における円弧の直径以下であれば、直径の異なる複数種類の鉄筋の固定が可能であるため、コストダウンが可能になる。
特許第4804239号公報
しかしながら、上述の従来例では、Uボルトにおける両端雄ねじ部とU字状折曲部との間に該U字状折曲部の折曲方向とは略直交する方向へ折曲可能な肉薄板状部を形成するために、丸棒の途中を2箇所潰して平らにする工程が必要であり、さらに肉薄板上部を曲げやすくするために焼き鈍し工程が必要であり、従って、製造コストが高くつくという問題点があった。
本発明の解決しようとする課題は、従来例に比べ、製造コストの低減が可能であり、かつ、鉄筋交差部への取り付けが容易であると共に、第1鉄筋と第2鉄筋との交差部の強固な締結の他に、場所打ちコンクリート抗(建設・工事現場において、所定の場所を掘削して、その中に打ち込む鉄筋コンクリート製の抗)に用いる鉄筋かごの組み付け工程において、組立用鉄筋リングと主筋との交差部の強固な締結はもちろん、組立用鉄筋リング及びその外周面に沿って溶接固定される組立用帯板リングと、その外面に交差状態で組み付け固定される主筋との交差部の強固な締結が可能な鉄筋交差部締結具を提供することにある。
上記課題を解決するため請求項1記載の鉄筋交差部締結具は、
両端に雄ねじ部を有する1本のUボルト及びナットと締結プレートとで構成され、
前記Uボルトは、その両雄ねじ部とU字状折曲部との間に該U字状折曲部の折曲方向とは交差する方向へ円弧状折曲部を中心として略V字状に折曲形成され、
前記締結プレートには前記Uボルトの両雄ねじ部を挿通可能な挿通孔が形成され
前記締結プレートは、断面略コ字状に形成され、その両側板部の中央部には主筋に係合する円弧状切欠部が形成されていることを特徴とする手段とした。
請求項2記載の鉄筋交差部締結具は、請求項1記載の高負荷用鉄筋交差部締結具において、
前記挿通孔の少なくとも一方が長手方向に長い長孔に形成されていることを特徴とする手段とした。
請求項3記載の鉄筋交差部締結具は、請求項1又は2に記載の高負荷用鉄筋交差部締結具において、
前記Uボルトにおける略V字状折曲部の開き角度が30°〜40°であることを特徴とする手段とした。
請求項1記載の鉄筋交差部締結具では、上述のように、Uボルトは、その両雄ねじ部とU字状折曲部との間に該U字状折曲部の折曲方向とは交差する方向へ円弧状折曲部を中心として略V字状に折曲形成されることで、従来例のようにU字状折曲部の折曲方向とは略直交する方向へ折曲可能な肉薄板状部を形成するために丸棒の途中を2箇所潰して平らにする工程を要することなしに、締結部へのUボルトの装着が容易であり、かつ、交差部を強固に締結固定することが可能になる。
従って、製造コストの低減化が可能になる。
また、円弧状折曲部を中心として略V字状に折曲形成されることで、主筋と組立用鉄筋リングとの間に組立用鉄筋リングの直径より巾の広い部分、すなわち組立用鉄筋リング介装可能部分が形成されるため、組立用鉄筋リングと主筋との交差部の強固な締結はもちろん、組立用鉄筋リング及びその外周面に沿って溶接固定される組立用帯板リングと、その外面に交差状態で組み付け固定される主筋との交差部へのUボルトの装着が可能かつ容易であると共に、該交差部の強固な締結が可能になる。
また、締結プレートは、断面略コ字状に形成され、その両側板部の中央部には主筋に係合する円弧状切欠部が形成されている構成としたため、両雄ねじ部に対しナットを強く増し締めして行くと、締結プレートに主筋を中心とする曲げ応力が作用するが、円弧状切欠部の開口端面が主筋に当接することで締結プレートの曲がりが停止される。
従って、強固な締結が可能になる。
請求項2記載の鉄筋交差部締結具では、上述のように、挿通孔の少なくとも一方が長手方向に長い長孔に形成されることで、両雄ねじ部への締結プレートの装着作業が容易に行えるようになる。
これにより、作業能率を高めることができる。
請求項3記載の高負荷用鉄筋交差部締結具では、上述のように、Uボルトにおける略V字状折曲部の開き角度が30°〜40°とすることで、締結プレートに対するナットの傾斜角度を最小限に抑えつつ、締結部に対するUボルトの装着容易性を確保することが可能になる。
すなわち、略V字状折曲部の開き角度が30°未満であると、締結部へのUボルト装着が困難になり、また、40°以上であると、締結プレートに対するナットの傾斜角度が大きくなりすぎてナットによる締め付けが不完全になりやすく、このため、交差部を強固に締結することが困難になる。
なお、上記角度数値は、実験の結果得られた値である。

実施例1の鉄筋交差部締結具の使用例1を示す平面図である。 実施例1の鉄筋交差部締結具の使用例1を示す正面図である。 図1のA矢視図である。 実施例1の鉄筋交差部締結具の締結プレートを示す平面図である。 実施例1の鉄筋交差部締結具の締結プレートを示す正面図である。 実施例1の鉄筋交差部締結具の締結プレートを示す側面である。 使用例2の使用状態を示す正面図である。 使用例3の使用状態を示す正面図である。
以下にこの発明の実施例を図面に基づいて説明する。
なお、この実施例1では、その使用例1として、場所打ちコンクリート抗(建設・工事現場において、所定の場所を掘削して、その中に打ち込む鉄筋コンクリート製の抗)に用いる鉄筋かごの組み付け工程において、組立用鉄筋リング5の接合部B及びその外周面に沿って溶接固定される組立用帯板リング6と、その外面に交差状態で組み付け固定される複数本の主筋4との交差部を締結する場合を例にとって説明する。
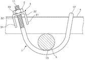
すなわち、この実施例1の高負荷用鉄筋交差部締結具は、略U字状に折曲され、両端に雄ねじ部11、11を有する1本のUボルト1と、雄ねじ部11、11に螺合する2個のナット2と、締結プレート3とで構成されている。
さらに詳述すると、前記Uボルト1は、図1〜3に示すように、鉄等の金属棒状体の両端部に雄ねじ部11、11をねじ切り形成したものを、中央から折曲してU字状折曲部12を形成し、その両雄ねじ部11、11とU字状折曲部12との間に該U字状折曲部12の折曲方向とは交差する方向へ円弧状折曲部13を中心として略V字状に折曲形成された形状となっている。
また、前記Uボルト1における略V字状折曲部の開き角度が30°〜40°に設定されている。
また、前記雄ねじ部11、11は、通常のねじ山に比べ、ねじ山が大きく丸ねじに形成されると共に、ピッチが通常ピッチのより長く形成されている。
前記締結プレート3は、図4〜6に示すように、鉄等の金属板状体で断面略コ字状に形成され、その両側板部31、31の中央部には主筋4に係合する円弧状切欠部32、32が形成されている。
また、締結プレート3の天板部33には、Uボルトの両雄ねじ部11、11を挿通可能な挿通孔34、35が形成されており、その少なくとも一方の挿通孔35が長手方向に長い長孔に形成されている。
次に、実施例1の作用を説明する。
この実施例の鉄筋交差部締結具では、上述のように構成されるため、交差部の締結は、まず、Uボルト1のU字状折曲部12を主筋4に係合させた状態で、該係合部を中心として両雄ねじ部11、11側を組立用鉄筋リング5の下方をくぐるように回転させることにより、組立用鉄筋リング5の下面に円弧状折曲部13を係合させる。
次に、主筋4から上方に突出した両雄ねじ部11、1を締結プレート3の両挿通孔34、35に差し込み、両雄ねじ部11、11にナット2を螺合して締め付けて行くことにより、締結プレート3における両側板部31、31に形成された円弧状切欠部32、32が主筋4の上面に当接する。そして、この状態からナット2、2を増し締めして行くと、締結プレート3に主筋4を中心とする曲げ応力が作用するが、円弧状切欠部32、32の開口端面が主筋4に当接することで締結プレートの曲がりが停止され、これにより、交差部の強固な締結が行われる。
次に、他の使用例について説明する。この他の使用例の説明にあたっては、前記使用例1と同様の構成部分については図示を省略し、もしくは同一の符号を付けてその説明を省略し、相違点についてのみ説明する。
まず、この発明の使用例2を図7に基づいて説明する。
すなわち、この使用例2は、場所打ちコンクリート抗(建設・工事現場において、所定の場所を掘削して、その中に打ち込む鉄筋コンクリート製の抗)に用いる鉄筋かごの組み付け工程において、組立用鉄筋リング5の接合部及びその外周面に沿って溶接固定される組立用帯板リング6の接合部Cと、その外面に交差状態で組み付け固定される複数本の主筋4との交差部を締結するようにした点が、上記使用例1とは相違したものである。
従って、この使用例2においても、上記使用例1と同様の手順で交差部を容易に締結することができる。
次に、この発明の使用例3を図8に基づいて説明する。
すなわち、この使用例3は、場所打ちコンクリート抗(建設・工事現場において、所定の場所を掘削して、その中に打ち込む鉄筋コンクリート製の抗)に用いる鉄筋かごの組み付け工程において、組立用鉄筋リング5と、その外面に交差状態で組み付け固定される複数本の主筋4との交差部を締結するようにした点が、上記使用例1、2とは相違したものである。
従って、この使用例3においても、上記使用例1と同様の手順で交差部を容易に締結することができる。
次に、本実施例1の効果を説明する。
本実施例1では、上述のように、Uボルト1は、その両雄ねじ部11、11とU字状折曲部12との間に該U字状折曲部12の折曲方向とは交差する方向へ円弧状折曲部13を中心として略V字状に折曲形成されることで、従来例のようにU字状折曲部12の折曲方向とは略直交する方向へ折曲可能な肉薄板状部を形成するために丸棒の途中を2箇所潰して平らにする工程を要することなしに、締結部へのUボルト1の装着が容易であり、かつ、交差部を強固に締結固定することが可能になる。
従って、製造コストの低減化が可能になる。
また、円弧状折曲部13を中心として略V字状に折曲形成されることで、主筋4と組立用鉄筋リング5との間に組立用鉄筋リング5の直径より巾の広い部分、すなわち組立用鉄筋リング介装可能部分が形成されるため、組立用鉄筋リング5と主筋4との交差部の強固な締結はもちろん、組立用鉄筋リング5及びその外周面に沿って溶接固定される組立用帯板リング6と、その外面に交差状態で組み付け固定される主筋4との交差部へのUボルト1の装着が可能かつ容易であると共に、該交差部の強固な締結が可能になる。
また、挿通孔34、35の少なくとも一方35が長手方向に長い長孔に形成されることで、両雄ねじ部11、11への締結プレート3の装着作業が容易に行えるようになる。
これにより、作業能率を高めることができる。
また、締結プレート3は、断面略コ字状に形成され、その両側板部31、31の中央部には主筋4に係合する円弧状切欠部32が形成されている構成としたため、両雄ねじ部11、11に対しナット2を強く増し締めして行くと、締結プレート3に主筋4を中心とする曲げ応力が作用するが、円弧状切欠部13の開口端面が主筋4に当接することで締結プレート3の曲がりが停止される。
従って、強固な締結が可能になる。
また、Uボルト1における略V字状折曲部12の開き角度が30°〜40°とすることで、締結プレー3に対するナッ2の傾斜角度を最小限に抑えつつ、締結部に対するUボルト1の装着容易性を確保することが可能になる。
すなわち、略V字状折曲部12の開き角度が30°未満であると、締結部へのUボルト装着が困難になり、また、40°以上であると、締結プレート3に対するナット2の傾斜角度が大きくなりすぎてナット2による締め付けが不完全になりやすく、このため、交差部を強固に締結することが困難になる。
なお、上記角度数値は、実験の結果得られた値であり、ちなみに、30°がベストであった。
また、雄ねじ部11、11は、通常のねじ山に比べ、ねじ山が大きく丸ねじに形成されると共に、ピッチが通常ピッチのより長く形成されることで、雄ねじ部11、11に対するナット2の螺合がスムーズかつ迅速に行なわれる。
従って、現場作業の効率化が図れる。
以上本実施例を説明してきたが、本発明は上述の実施例に限られるものではなく、本発明の要旨を逸脱しない範囲の設計変更等があっても、本発明に含まれる。
例えば、実施例では、場所打ちコンクリート抗(建設・工事現場において、所定の場所を掘削して、その中に打ち込む鉄筋コンクリート製の抗)に用いる鉄筋かごの組み付け工程において、その交差部を締結する場合を例にとったが、2本以上の鉄筋が交差する全ての交差部の強固な締結が可能である。
1 Uボルト
11 雄ねじ部
12 U字状折曲部
13 円弧状折曲部
2 ナット
3 締結プレート
31 側板部
32 円弧状切欠部
33 天板部
34 挿通孔
35 挿通孔
4 主筋
5 組立用鉄筋リング
6 組立用帯板リング

Claims (3)

  1. 両端に雄ねじ部を有する1本のUボルト及びナットと締結プレートとで構成され、
    前記Uボルトは、その両雄ねじ部とU字状折曲部との間に該U字状折曲部の折曲方向とは交差する方向へ円弧状折曲部を中心として略V字状に折曲形成され、
    前記締結プレートには前記Uボルトの両雄ねじ部を挿通可能な挿通孔が形成され
    前記締結プレートは、断面略コ字状に形成され、その両側板部の中央部には主筋に係合する円弧状切欠部が形成されていることを特徴とする鉄筋交差部締結具。
  2. 請求項1記載の鉄筋交差部締結具において、
    前記挿通孔の少なくとも一方が長手方向に長い長孔に形成されていることを特徴とする鉄筋交差部締結具。
  3. 請求項1又は2に記載の鉄筋交差部締結具において、
    前記Uボルトにおける略V字状折曲部の開き角度が30°〜40°であることを特徴とする鉄筋交差部締結具。
JP2011282854A 2011-12-26 2011-12-26 鉄筋交差部締結具 Active JP5951981B2 (ja)

Priority Applications (1)

Application Number Priority Date Filing Date Title
JP2011282854A JP5951981B2 (ja) 2011-12-26 2011-12-26 鉄筋交差部締結具

Applications Claiming Priority (1)

Application Number Priority Date Filing Date Title
JP2011282854A JP5951981B2 (ja) 2011-12-26 2011-12-26 鉄筋交差部締結具

Publications (2)

Publication Number Publication Date
JP2013133595A JP2013133595A (ja) 2013-07-08
JP5951981B2 true JP5951981B2 (ja) 2016-07-13

Family

ID=48910485

Family Applications (1)

Application Number Title Priority Date Filing Date
JP2011282854A Active JP5951981B2 (ja) 2011-12-26 2011-12-26 鉄筋交差部締結具

Country Status (1)

Country Link
JP (1) JP5951981B2 (ja)

Cited By (2)

* Cited by examiner, † Cited by third party
Publication number Priority date Publication date Assignee Title
CN107542228A (zh) * 2016-06-28 2018-01-05 五冶集团上海有限公司 一种用于滑模钢筋保护层的调节卡环
JP6343384B1 (ja) * 2017-12-07 2018-06-13 新日鉄住金エンジニアリング株式会社 配筋固定具

Families Citing this family (3)

* Cited by examiner, † Cited by third party
Publication number Priority date Publication date Assignee Title
JP6561470B2 (ja) * 2015-01-14 2019-08-21 ゼン技研株式会社 鉄筋交差部締結具
JP6544514B2 (ja) * 2015-04-20 2019-07-17 ゼン技研株式会社 鉄筋交差部締結具
KR102384349B1 (ko) * 2020-09-18 2022-04-07 주식회사 태광칼륨 배관고정용 클램프

Family Cites Families (2)

* Cited by examiner, † Cited by third party
Publication number Priority date Publication date Assignee Title
JPH0637446U (ja) * 1992-10-20 1994-05-20 松井建設株式会社 鉄筋組立用クリップ
JP2003184223A (ja) * 2001-12-18 2003-07-03 Taiyo Kiso Kk 鉄筋用結束具

Cited By (2)

* Cited by examiner, † Cited by third party
Publication number Priority date Publication date Assignee Title
CN107542228A (zh) * 2016-06-28 2018-01-05 五冶集团上海有限公司 一种用于滑模钢筋保护层的调节卡环
JP6343384B1 (ja) * 2017-12-07 2018-06-13 新日鉄住金エンジニアリング株式会社 配筋固定具

Also Published As

Publication number Publication date
JP2013133595A (ja) 2013-07-08

Similar Documents

Publication Publication Date Title
JP5951981B2 (ja) 鉄筋交差部締結具
JP5505370B2 (ja) セグメントの継手構造及びセグメント並びにセグメントの組立方法
JP2018150804A (ja) 杭頭接合構造
CN103443504A (zh) 张力器
JP2014202052A (ja) 高負荷用鉄筋結束金具
JP2009287357A (ja) 鋼管の継手構造
JP5280228B2 (ja) 鉄筋の組立構造
JP4281888B2 (ja) 高負荷用鉄筋クリップ
JP3207104U (ja) 落下防止機能を備えた配管支持具
KR101773434B1 (ko) 콘크리트 파일과 강관 파일 결합용 이음장치
KR101543961B1 (ko) 복합파일
JP2009144430A (ja) アンカーボルト
JP6561470B2 (ja) 鉄筋交差部締結具
JP6544514B2 (ja) 鉄筋交差部締結具
JP4738961B2 (ja) 鉄筋結束用金具
JP5165220B2 (ja) 鉄筋コンクリート構造体、および鉄筋コンクリート構造体の製造方法
JP2004003282A (ja) 鉄筋組立体及びその組立てに使用する接合金具
JP4804239B2 (ja) 高負荷用鉄筋交差部締結具
JP2011058294A (ja) 鉄筋組立金物
JP4795836B2 (ja) 高負荷用鉄筋締結具
JP2003147960A (ja) 鉄筋取付型セパレータボルト及びその取付構造
KR200432526Y1 (ko) 복수의 유-볼트를 이용한 낙석방지용 와이어로프 고정구
JP2007291668A (ja) 高負荷用鉄筋交差部締結具
JP7623695B2 (ja) ワイヤーロープ締結金具
KR200367678Y1 (ko) 철근 연결구

Legal Events

Date Code Title Description
A621 Written request for application examination

Free format text: JAPANESE INTERMEDIATE CODE: A621

Effective date: 20141222

A977 Report on retrieval

Free format text: JAPANESE INTERMEDIATE CODE: A971007

Effective date: 20151023

A131 Notification of reasons for refusal

Free format text: JAPANESE INTERMEDIATE CODE: A131

Effective date: 20151027

A521 Request for written amendment filed

Free format text: JAPANESE INTERMEDIATE CODE: A523

Effective date: 20151221

TRDD Decision of grant or rejection written
A01 Written decision to grant a patent or to grant a registration (utility model)

Free format text: JAPANESE INTERMEDIATE CODE: A01

Effective date: 20160510

A61 First payment of annual fees (during grant procedure)

Free format text: JAPANESE INTERMEDIATE CODE: A61

Effective date: 20160609

R150 Certificate of patent or registration of utility model

Ref document number: 5951981

Country of ref document: JP

Free format text: JAPANESE INTERMEDIATE CODE: R150

R250 Receipt of annual fees

Free format text: JAPANESE INTERMEDIATE CODE: R250

R250 Receipt of annual fees

Free format text: JAPANESE INTERMEDIATE CODE: R250

R250 Receipt of annual fees

Free format text: JAPANESE INTERMEDIATE CODE: R250

R250 Receipt of annual fees

Free format text: JAPANESE INTERMEDIATE CODE: R250