JP5916552B2 - 防振連結ロッドとその製造方法 - Google Patents

防振連結ロッドとその製造方法 Download PDF

Info

Publication number
JP5916552B2
JP5916552B2 JP2012165308A JP2012165308A JP5916552B2 JP 5916552 B2 JP5916552 B2 JP 5916552B2 JP 2012165308 A JP2012165308 A JP 2012165308A JP 2012165308 A JP2012165308 A JP 2012165308A JP 5916552 B2 JP5916552 B2 JP 5916552B2
Authority
JP
Japan
Prior art keywords
rod
vibration
rubber elastic
curing agent
rod body
Prior art date
Legal status (The legal status is an assumption and is not a legal conclusion. Google has not performed a legal analysis and makes no representation as to the accuracy of the status listed.)
Expired - Fee Related
Application number
JP2012165308A
Other languages
English (en)
Other versions
JP2014025516A (ja
Inventor
章 大路
章 大路
Current Assignee (The listed assignees may be inaccurate. Google has not performed a legal analysis and makes no representation or warranty as to the accuracy of the list.)
Sumitomo Riko Co Ltd
Original Assignee
Sumitomo Riko Co Ltd
Priority date (The priority date is an assumption and is not a legal conclusion. Google has not performed a legal analysis and makes no representation as to the accuracy of the date listed.)
Filing date
Publication date
Application filed by Sumitomo Riko Co Ltd filed Critical Sumitomo Riko Co Ltd
Priority to JP2012165308A priority Critical patent/JP5916552B2/ja
Publication of JP2014025516A publication Critical patent/JP2014025516A/ja
Application granted granted Critical
Publication of JP5916552B2 publication Critical patent/JP5916552B2/ja
Expired - Fee Related legal-status Critical Current
Anticipated expiration legal-status Critical

Links

Images

Landscapes

  • Springs (AREA)
  • Arrangement Or Mounting Of Propulsion Units For Vehicles (AREA)
  • Vibration Prevention Devices (AREA)

Description

本発明は、例えば、自動車用のトルクロッド等として用いられる防振連結ロッドに関するものである。
従来から、パワーユニットと車両ボデー等の振動伝達系を構成する2つの部材間に跨って装着されて、それら部材を相互に連結するロッド部材の一種として、防振連結ロッドが一般的に知られており、自動車用のトルクロッド等に適用されている。防振連結ロッドは、連結すべき2つの部材の各一方に取り付けられる第1の取付部と第2の取付部が長手状の連結部によって連結された構造を有していると共に、連結すべき2つの部材間での振動伝達を低減するために、第1の取付部と第2の取付部の少なくとも一方が防振ブッシュで構成されている。この防振ブッシュは、インナ軸部材とアウタ筒部材を本体ゴム弾性体で弾性連結した構造を有しており、本体ゴム弾性体の内部摩擦等によるエネルギー減衰作用を利用して防振効果が発揮されるようになっている。例えば、特開2005−163843号公報(特許文献1)に示されているのが、それである。
ところで、防振連結ロッドの連結部やそれに固定される防振ブッシュのアウタ筒部材は、一般的に、鉄やアルミニウム合金等で形成された高剛性の部材とされており、入力に対する変形が防止されている。
しかしながら、鉄等で形成された連結部やアウタ筒部材は、重量が大きくなり易く、強度を維持しながら軽量化の要求に充分に応えることは難しい場合もあった。更に、連結部と防振ブッシュが独立して形成されている場合には、連結部に対してアウタ筒部材を圧入する等して防振ブッシュを連結部に取り付ける作業が必要になるし、特許文献1に示されているように連結部とアウタ筒部材が一体形成された構造でも、アウタ筒部材に対して本体ゴム弾性体の接着処理(接着剤の塗布等)が必要になって、作業工程数が多くなるおそれがあった。
特開2005−163843号公報
本発明は、上述の事情を背景に為されたものであって、その解決課題は、充分な強度を確保しながら大幅な軽量化を実現できると共に、部品点数が少なく、且つ、容易に製造可能とされた、新規な構造の防振連結ロッドを提供することにある。
また、本発明は、上述の如き防振連結ロッドを容易に且つ安定した品質で製造可能となし得る、新規な防振連結ロッドの製造方法を提供することも、目的とする。
すなわち、本発明の第1の態様は、振動伝達系を構成する一方の部材に取り付けられる第1の取付部と、振動伝達系を構成する他方の部材に取り付けられる第2の取付部とが、長手状の連結部によって相互に連結されていると共に、それら第1の取付部と第2の取付部との少なくとも一方が、インナ軸部材とアウタ筒部材を本体ゴム弾性体の単体で弾性連結した防振ブッシュによって構成されている防振連結ロッドにおいて、前記連結部と前記アウタ筒部材がロッド本体として一体形成されており、該ロッド本体が炭素繊維強化プラスチックによって形成されていると共に、該ロッド本体を形成する炭素繊維強化プラスチックのマトリックス樹脂がエポキシ樹脂とされて、該エポキシ樹脂の硬化用の熱処理により前記防振ブッシュの前記本体ゴム弾性体が該アウタ筒部材に加硫接着されている一方、該ロッド本体の表面を覆う被覆ゴム層が該本体ゴム弾性体と一体形成されていることを、特徴とする。
このような第1の態様に従う構造とされた防振連結ロッドによれば、ロッド本体を成形すると同時に、防振ブッシュの本体ゴム弾性体とロッド本体のアウタ筒部材を接着することができる。それ故、本体ゴム弾性体とアウタ筒部材を接着するための接着剤の塗布工程等が不要になって、防振連結ロッドを容易に得ることができる。
しかも、ロッド本体を形成する炭素繊維強化プラスチックのマトリックス樹脂が、接着剤としても用いられるエポキシ樹脂とされていることで、本体ゴム弾性体とアウタ筒部材の固着強度も十分に得ることができる。
また、連結部とアウタ筒部材がロッド本体として一体形成されていることから、部品点数の削減と、それに伴う構造の簡略化が図られる。
また、ロッド本体が質量比強度に優れた炭素繊維強化プラスチックで形成されていることから、ロッド本体の強度を充分に確保しながら、大幅な軽量化を実現することができる。その結果、ロッド本体をマス、本体ゴム弾性体をバネとするマス−バネ共振系における剛体共振によって振動状態が悪化するのを防止することができる。
本発明の第2の態様は、第1の態様に従う構造とされた防振連結ロッドにおいて、前記第1の取付部が前記防振ブッシュとしての第1ブッシュで構成されていると共に、前記第2の取付部が前記防振ブッシュとしての第2ブッシュで構成されており、それら第1ブッシュと第2ブッシュの各前記アウタ筒部材が何れも前記連結部と一体形成されて前記ロッド本体が構成されているものである。
第2の態様によれば、第1, 第2の取付部が何れも防振ブッシュで構成されていることから、それら防振ブッシュにおいてそれぞれ発揮される防振効果により、より優れた防振性能が実現される。更に、第1, 第2ブッシュの各アウタ筒部材が何れも連結部と一体形成されて、ロッド本体を硬化させる熱処理で本体ゴム弾性体と固着されるようになっていることから、より少ない部品点数で容易に製造可能とされている。
本発明の第3の態様は、第1又は第2の態様に記載された防振連結ロッドにおいて、前記連結部が中空構造とされており、該連結部における横断面の内外周形状が長さ方向の中間部分から第1の取付部および第2の取付部に向かって次第に拡大されているものである。
第3の態様によれば、連結部が中空構造とされることで、耐荷重性を確保しつつ、更なる軽量化が図られる。
特に、連結部における横断面の内外周形状が、長さ方向の中間部分から第1の取付部および第2の取付部に向かって、次第に拡大されていることにより、荷重の入力部分である第1, 第2の取付部付近で大きな剛性を確保しながら、軽量化が図られている。
また、本発明の第4の態様は、振動伝達系を構成する一方の部材に取り付けられる第1の取付部と、振動伝達系を構成する他方の部材に取り付けられる第2の取付部とが、長手状の連結部によって相互に連結されていると共に、それら第1の取付部と第2の取付部との少なくとも一方が、インナ軸部材とアウタ筒部材を本体ゴム弾性体の単体で弾性連結した防振ブッシュによって構成されており、更に、該連結部と該アウタ筒部材がロッド本体として一体形成されて、該ロッド本体が炭素繊維強化プラスチックによって形成されていると共に、該ロッド本体を形成する炭素繊維強化プラスチックのマトリックス樹脂がエポキシ樹脂とされた防振連結ロッドの製造方法であって、前記エポキシ樹脂の硬化剤として前記本体ゴム弾性体の加硫成形温度と同じ温度で硬化する高温硬化剤と、該高温硬化剤よりも低い温度で硬化する低温硬化剤とを、該エポキシ樹脂と共に炭素繊維に含浸して、前記ロッド本体を形成する炭素繊維強化プラスチック材料を準備する工程と、該ロッド本体を形成する炭素繊維強化プラスチック材料を該低温硬化剤の硬化温度に加熱することで該低温硬化剤を硬化させて該ロッド本体を半硬化状態に成形する工程と、半硬化状態に成形された該ロッド本体を該本体ゴム弾性体の加硫成形用金型のキャビティにセットしてから該キャビティに該本体ゴム弾性体の形成材料を充填し、該本体ゴム弾性体を加硫成形すると同時に該高温硬化剤を硬化させて該ロッド本体を完全硬化状態に成形すると共に該ロッド本体の表面を覆う被覆ゴム層を該本体ゴム弾性体と一体形成することにより該本体ゴム弾性体と該ロッド本体における前記アウタ筒部材とを接着し且つ該ロッド本体の表面に対して該被覆ゴム層を接着する工程とを、有することを、特徴とする。
このような第4の態様に従う防振連結ロッドの製造方法によれば、低温硬化剤の熱処理による硬化によってロッド本体を半硬化状態で成形できると共に、その後、より高温の熱処理によって高温硬化剤を硬化させると同時に本体ゴム弾性体を加硫成形することができる。これにより、ロッド本体と本体ゴム弾性体を何れも所定の形状に成形できると共に、それらロッド本体と本体ゴム弾性体を、高温硬化剤の硬化と本体ゴム弾性体の加硫成形とによって、特別な接着処理を要することなく、接着することができる。
特に、それぞれ硬化温度の異なる低温硬化剤と高温硬化剤とを用いることにより、硬化反応を容易に精度良く制御することができて、半硬化状態での成形や、本体ゴム弾性体を加硫成形する際の完全硬化状態での成形が、何れも安定して実現される。
本発明によれば、防振連結ロッドのロッド本体が質量比強度に優れた炭素繊維強化プラスチックで形成されていることから、充分な強度を確保しつつ軽量化が図られて、剛体共振による振動状態の悪化が低減される。更に、アウタ筒部材と本体ゴム弾性体が、接着剤の塗布等を要することなく、炭素繊維強化プラスチックのエポキシ樹脂を本体ゴム弾性体の加硫成形と同時に完全硬化させることで接着されることから、少ない部品点数と、優れた量産性とをもって、防振連結ロッドを実現することができる。
本発明の1実施形態としてのトルクロッドを示す平面図。 図1に示されたトルクロッドの側面図。 図1のIII−III断面図。 図1のIV−IV断面図。 図1に示されたトルクロッドを構成するロッド本体の平面図。 図5に示されたロッド本体の側面図。 本発明の別の1実施形態としてのトルクロッドを示す縦断面図であって、図8のVII−VII断面に相当する図。 図7のVIII−VIII断面図。 図1に示されたトルクロッドの形成工程におけるロッド本体の形成工程を説明するための縦断面図。 図1に示されたトルクロッドの形成工程における本体ゴム弾性体の形成工程を説明するための縦断面図であって、ゴム材料の充填前を示す図。 図1に示されたトルクロッドの形成工程における本体ゴム弾性体の形成工程を説明するための縦断面図であって、ゴム材料の充填後を示す図。
以下、本発明の実施形態について、図面を参照しつつ説明する。
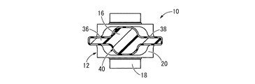
図1〜図4には、本発明に従う構造とされた防振連結ロッドの1実施形態として、自動車用のトルクロッド10が示されている。トルクロッド10は、第1の取付部としての第1ブッシュ12と第2の取付部としての第2ブッシュ14が連結部16によって連結された構造を有している。そして、トルクロッド10は、第1ブッシュ12において振動伝達系を構成する一方の部材であるパワーユニットに取り付けられると共に、第2ブッシュ14において振動伝達系を構成する他方の部材である車両ボデーに取り付けられることにより、パワーユニットと車両ボデーを防振連結するようになっている。なお、以下の説明において、上下方向とは、原則として、図2中の上下方向を言う。また、連結部16の長手方向とは図1中の左右方向を、幅方向とは図1中の上下方向を、それぞれ言う。また、上記の説明からも明らかなように、本実施形態のトルクロッド10では、第1, 第2の取付部が何れも防振ブッシュによって構成されている。
より詳細には、第1ブッシュ12は、インナ軸部材18とアウタ筒部材20を本体ゴム弾性体22で弾性連結した構造とされている。インナ軸部材18は、厚肉小径の略円筒形状を有する高剛性の部材とされている。アウタ筒部材20は、インナ軸部材18に比して薄肉大径の略円筒形状を有する高剛性の部材であって、軸方向寸法がインナ軸部材18よりも小さくされている。そして、インナ軸部材18がアウタ筒部材20に挿入されて、本体ゴム弾性体22によって弾性連結されている。この本体ゴム弾性体22は、略円筒形状を有しており、内周面がインナ軸部材18の外周面に固着されていると共に、内周面がアウタ筒部材20の内周面に固着されている。
一方、第2ブッシュ14は、インナ軸部材24とアウタ筒部材26を本体ゴム弾性体28で弾性連結した構造とされている。インナ軸部材24は、第1ブッシュ12のインナ軸部材24よりも厚肉の略円筒形状を有する高剛性の部材とされている。アウタ筒部材26は、インナ軸部材24に比して薄肉大径の略円筒形状を有する高剛性の部材であって、軸方向寸法がインナ軸部材24よりも小さく且つ第1ブッシュ12のアウタ筒部材26よりも大きくされている。そして、インナ軸部材24がアウタ筒部材26に挿入されて、本体ゴム弾性体28によって弾性連結されている。本体ゴム弾性体28は、全体として略円筒形状を有しており、内周面がインナ軸部材24の外周面に固着されていると共に、内周面がアウタ筒部材26の内周面に固着されている。更に、本体ゴム弾性体28には、インナ軸部材24を挟んだ径方向一方の側に内側スリット30が形成されていると共に、径方向他方の側に外側スリット32が形成されており、後述する車両前後方向のばねと左右方向のばねとの比が調節されている。なお、内側スリット30を挟んだ径方向両側と、外側スリット32を挟んだ径方向両側の本体ゴム弾性体28によって、インナ軸部材24とアウタ筒部材26の径方向での相対変位量を当接により制限するストッパ部が構成されている。
このような構造とされた第1ブッシュ12と第2ブッシュ14は、連結部16によって相互に連結されている。連結部16は、図5に示されているように、長手ロッド状とされており、長手方向の中間部分から第1ブッシュ12および第2ブッシュ14に向かって次第に幅方向(図4中、左右)で拡大していると共に、図6に示されているように、上下両面が傾斜面で構成されて、上下の厚さ寸法が第1ブッシュ12側(図5中、左側)に行くに従って次第に小さくなっている。
なお、図7,図8に示されているように、連結部16の内部に肉抜空所34が形成されて、連結部16が中空構造とされることで軽量化が図られていても良い。肉抜空所34は、図7に示されているように、上下方向の寸法が第1ブッシュ12側に行くに従って次第に小さくなっていると共に、図8に示されているように、横断面において長手方向の中間から第1ブッシュ12および第2ブッシュ14に向かって次第に幅方向で拡大している。要するに、肉抜空所34は、連結部16の外形と対応する形状で形成されており、中空構造とされた連結部16の内外面形状が互いに対応していることから、連結部16の上下左右の隔壁部が略一定の厚さ寸法で形成されている。このような肉抜空所34は、例えば、ロストコア成形法等で形成されていても良いし、連結部16を複数の部品で構成して、それら部品の固着によって内部に形成されるようにしても良い。
さらに、連結部16の厚さ方向中央部分には、補強板部36が一体形成されている。補強板部36は、連結部16の上下方向略中央から幅方向外側に突出して設けられており、全体が略一定の厚さ寸法で形成されていると共に、第1ブッシュ12に向かって次第に狭幅となっている。
そして、連結部16の長手方向一方の端部に第1ブッシュ12が設けられていると共に、長手方向他方の端部に第2ブッシュ14が設けられて、トルクロッド10が構成されている。なお、本実施形態のトルクロッド10では、アウタ筒部材20,26および連結部16の表面が本体ゴム弾性体22,28と一体形成された被覆ゴム層38で覆われており、それら本体ゴム弾性体22,28が被覆ゴム層38と共に一体で形成されている。
そこにおいて、トルクロッド10では、図3に示されているように、第1ブッシュ12のアウタ筒部材20と、第2ブッシュ14のアウタ筒部材26と、連結部16とが、炭素繊維強化プラスチック(以下、CFRP)によって一体形成されている。そして、一体形成されたアウタ筒部材20,26と連結部16とを含んで、ロッド本体40が構成されている。
このCFRP製のロッド本体40は、炭素繊維にマトリックス樹脂としてのエポキシ樹脂を含浸した後、エポキシ樹脂を熱処理(加熱)によって硬化させて形成されている。ここで用いられる炭素繊維は、PAN系であっても、ピッチ系であっても良く、特に限定されない。また、本実施形態では、エポキシ樹脂の硬化剤として、硬化温度の異なる2種類の硬化剤(高温硬化剤と低温硬化剤)が用いられている。より詳細には、高温硬化剤と低温硬化剤は、何れも加熱硬化型の硬化剤であって、例えば、酸無水物や芳香族アミン等が用いられ得る。また、高温硬化剤の硬化温度が、本体ゴム弾性体22,28の加硫成形温度と略同じとされていると共に、低温硬化剤の硬化温度が、高温硬化剤の硬化温度よりも低温で且つ常温よりも充分に高温に設定されている。従って、高温硬化剤と低温硬化剤によるエポキシ樹脂の硬化は、何れもオートクレーブ等での加熱焼成によって実現される。なお、常温での硬化反応を防ぐために、低温硬化剤の硬化温度は100℃以上であることが望ましい。更に、後述する半硬化状態を安定して得るために、低温硬化剤の硬化温度が高温硬化剤の硬化温度に対して10℃以上低くされていることが望ましく、より好適には20℃以上の温度差が設定される。また、高温硬化剤と低温硬化剤に加えて、硬化促進剤を用いて硬化反応の進行を早めることも可能である。
そして、アウタ筒部材20,26を備えたロッド本体40には、本体ゴム弾性体22,28が特別に接着工程を要することなく固着されている。以下に、トルクロッド10の製造方法の一例として、ロッド本体40を直接成形法によって製造する工程について説明するが、ロッド本体40の成形方法は、直接成形法に限定されるものではなく、間接成形法等でも良い。
先ず、ロッド本体40の成形用金型42のキャビティ44に、予め準備した炭素繊維を入れると共に、エポキシ樹脂と高温硬化剤と低温硬化剤とを混合してキャビティ44に充填する(図9参照)。これにより、成形用金型42のキャビティ44で炭素繊維に硬化剤を混合したエポキシ樹脂を含浸させて、炭素繊維強化プラスチック材料を準備する工程が完了する。
次に、成形用金型42を温度調節手段46で低温硬化剤の硬化温度(T1 )まで加熱して、所定時間に亘って温度を維持することにより、炭素繊維強化プラスチック材料の低温硬化剤を硬化させて、ロッド本体40を半硬化状態で成形する。なお、ここでは、成形されたロッド本体40の形状は低温硬化剤の硬化によって安定しており、流動性は失われているが、低温硬化剤よりも硬化温度が高い高温硬化剤が未だ硬化しておらず、表面に粘着性(接着性)がある状態で成形されることから、半硬化状態と称している。これにより、ロッド本体40を半硬化状態で所定形状に成形する、1次熱処理工程を完了する。
また次に、図10に示されているように、半硬化状態で成形されたロッド本体40と、インナ軸部材18,24を本体ゴム弾性体22,28の成形用金型48にセットした後、図11に示されているように、成形用金型48のキャビティ50にゴム材料を充填し、成形用金型48を温度調節手段52で本体ゴム弾性体22,28の加硫成形温度(T2 )まで加熱した状態に所定の時間だけ保持する。これにより、本体ゴム弾性体22,28を所定の形状に加硫成形すると共に、高温硬化剤が硬化してロッド本体40を完全硬化させる。なお、上述のように、本体ゴム弾性体22,28の加硫成形温度(T2 )は、低温硬化剤の硬化温度(T1 )よりも高温とされている(T2 >T1 )。
そこにおいて、ロッド本体40のエポキシ樹脂を半硬化状態から完全硬化させる熱処理によって、本体ゴム弾性体22,28およびロッド本体40の成形と同時に本体ゴム弾性体22,28とロッド本体40を接着する。そして、成形用金型48の脱型後には、連結部16の両端に第1, 第2ブッシュ12,14を備えたトルクロッド10が形成されて、インナ軸部材18,24とロッド本体40のアウタ筒部材20,26とが本体ゴム弾性体22,28によって弾性連結されている。これにより、本体ゴム弾性体22,28を加硫成形すると同時に、ロッド本体40を完全硬化状態で成形し、更に本体ゴム弾性体22,28とロッド本体40のアウタ筒部材20,26を接着する、2次熱処理工程を完了して、トルクロッド10の製造を完了する。
なお、本実施形態では、被覆ゴム層38が本体ゴム弾性体22,28と一体で形成されており、被覆ゴム層38も、本体ゴム弾性体22,28と同様に、ロッド本体40(補強板部36を含む)の表面に対して、成形と同時に固着されている。
このような本実施形態に係るトルクロッド10では、ロッド本体40が鉄等の従来材料に比して重量比強度に優れたCFRPで形成されていることから、充分な強度を確保しながら軽量化を図ることができる。それ故、自動車の軽量化に資するだけでなく、ロッド本体40の剛体共振による振動状態の悪化等も回避されて、優れた防振性能が実現される。
さらに、第1, 第2ブッシュ12,14を構成するアウタ筒部材20,26と、それら第1, 第2ブッシュ12,14を連結する連結部16とが、一体形成されたロッド本体40で構成されている。それ故、部品点数の削減と、それに伴う構造の簡略化や製造工程数の削減等が実現される。
しかも、ロッド本体40の形成材料であるCFRPのマトリックス樹脂が、ゴム弾性体に馴染んで有効な接着力を発揮し得るエポキシ樹脂とされており、エポキシ樹脂の硬化と本体ゴム弾性体22,28の加硫成形とを同時に行うことで、特別な接着剤の塗布工程を設けることなく本体ゴム弾性体22,28とロッド本体40の強固な固着が実現されている。このように、ロッド本体40を形成するCFRPのマトリックス樹脂をエポキシ樹脂とすることで、少なく且つ簡単な製造工程によってトルクロッド10を得ることができる。
かかるCFRPのマトリックス樹脂(エポキシ樹脂)による接着をより効果的に実現するために、本実施形態では、エポキシ樹脂の硬化剤として、硬化温度の異なる2種類の硬化剤(高温硬化剤と低温硬化剤)が混合されて用いられていると共に、高温硬化剤の硬化温度が本体ゴム弾性体22,28の加硫成形温度と略同じとされている。これにより、低温硬化剤の硬化温度でロッド本体40を表面に接着性のある半硬化状態に成形した後、本体ゴム弾性体22,28の成形用金型48内で本体ゴム弾性体22,28の形成材料と共に本体ゴム弾性体22,28の加硫成形温度まで加熱することで、本体ゴム弾性体22,28の加硫成形と同時に、ロッド本体40の完全硬化による本体ゴム弾性体22,28との接着が実現される。それ故、本体ゴム弾性体22,28の加硫接着と、ロッド本体40のエポキシ樹脂が硬化することによる接着とによって、本体ゴム弾性体22,28とアウタ筒部材20,26がより強固に固着されるようになっている。
しかも、低温硬化剤と高温硬化剤とを混合して用いて、それらの硬化剤を順に硬化させることにより、硬化反応の制御が容易になって、半硬化状態と完全硬化状態とを何れも安定して実現することができる。それ故、本体ゴム弾性体22,28とアウタ筒部材20,26とを安定した接着強度で接着できる。
以上、本発明の実施形態について詳述してきたが、本発明はその具体的な記載によって限定されない。例えば、前記実施形態では、第1の取付部と第2の取付部が何れも防振ブッシュで構成されていたが、第1の取付部と第2の取付部の何れか一方が防振ブッシュであれば良く、他方はインナ軸部材とアウタ筒部材が摺動可能に当接されたベアリング構造等であっても良い。
また、前記実施形態では、インナ軸部材18,24が金属材料で形成されているが、インナ軸部材をアウタ筒部材と同様のCFRPで形成することも可能である。その場合には、インナ軸部材も、アウタ筒部材と同様に、半硬化状態で成形した後、本体ゴム弾性体の加硫成形と同時に完全硬化させることで、接着剤を用いることなくインナ軸部材と本体ゴム弾性体の接着を実現することができる。
また、ロッド本体は、CFRP単体で形成されていても良いし、金属材やゴム弾性体、合成樹脂材等との複合材で形成されていても良い。更に、ロッド本体は、全体がワンピースで形成されていることが望ましいが、複数の部品で構成されていても良い。
さらに、前記実施形態では、ロッド本体を直接成形法によって成形する方法が例示されているが、ロッド本体の成形方法は特に限定されるものではなく、従来公知の各種成形方法が採用され得る。
また、連結部の具体的な形状は、実施形態のものに限定されない。例えば、上下両面がテーパ形状とされていてる必要はないし、補強板部が省略されていたり、全体が略一定の厚さ寸法を有する板状とされていても良い。
さらに、連結部を含んだロッド本体は、例えば、上下方向視でY字形状とされて、3つの取付部を有していても良い。
また、前記実施形態では、第1ブッシュ12の軸方向と、第2ブッシュ14の軸方向とが、何れも上下方向とされていたが、それら防振ブッシュの軸方向は互いに異なる方向とされていても良い。
また、本発明に係る防振連結ロッドは、自動車のトルクロッド以外にも、自動車のサスペンションアームやリンクロッド等にも適用可能である。更に、本発明は自動車以外の各種装置における防振連結ロッドに対しても、好適に適用され得る。
10:トルクロッド(防振連結ロッド)、12:第1ブッシュ(第1の取付部、防振ブッシュ)、14:第2ブッシュ(第2の取付部、防振ブッシュ)、16:連結部、18;インナ軸部材、20:アウタ筒部材、22:本体ゴム弾性体、24:インナ軸部材、26:アウタ筒部材、28:本体ゴム弾性体、40:ロッド本体

Claims (4)

  1. 振動伝達系を構成する一方の部材に取り付けられる第1の取付部と、振動伝達系を構成する他方の部材に取り付けられる第2の取付部とが、長手状の連結部によって相互に連結されていると共に、それら第1の取付部と第2の取付部との少なくとも一方が、インナ軸部材とアウタ筒部材を本体ゴム弾性体の単体で弾性連結した防振ブッシュによって構成されている防振連結ロッドにおいて、
    前記連結部と前記アウタ筒部材がロッド本体として一体形成されており、該ロッド本体が炭素繊維強化プラスチックによって形成されていると共に、該ロッド本体を形成する炭素繊維強化プラスチックのマトリックス樹脂がエポキシ樹脂とされて、該エポキシ樹脂の硬化用の熱処理により前記防振ブッシュの前記本体ゴム弾性体が該アウタ筒部材に加硫接着されている一方、該ロッド本体の表面を覆う被覆ゴム層が該本体ゴム弾性体と一体形成されていることを特徴とする防振連結ロッド。
  2. 前記第1の取付部が前記防振ブッシュとしての第1ブッシュで構成されていると共に、前記第2の取付部が前記防振ブッシュとしての第2ブッシュで構成されており、それら第1ブッシュと第2ブッシュの各前記アウタ筒部材が何れも前記連結部と一体形成されて前記ロッド本体が構成されている請求項1に記載の防振連結ロッド。
  3. 前記連結部が中空構造とされており、該連結部における横断面の内外周形状が長さ方向の中間部分から第1の取付部および第2の取付部に向かって次第に拡大されている請求項1又は2に記載の防振連結ロッド。
  4. 振動伝達系を構成する一方の部材に取り付けられる第1の取付部と、振動伝達系を構成する他方の部材に取り付けられる第2の取付部とが、長手状の連結部によって相互に連結されていると共に、それら第1の取付部と第2の取付部との少なくとも一方が、インナ軸部材とアウタ筒部材を本体ゴム弾性体の単体で弾性連結した防振ブッシュによって構成されており、更に、該連結部と該アウタ筒部材がロッド本体として一体形成されて、該ロッド本体が炭素繊維強化プラスチックによって形成されていると共に、該ロッド本体を形成する炭素繊維強化プラスチックのマトリックス樹脂がエポキシ樹脂とされた防振連結ロッドの製造方法であって、
    前記エポキシ樹脂の硬化剤として前記本体ゴム弾性体の加硫成形温度と同じ温度で硬化する高温硬化剤と、該高温硬化剤よりも低い温度で硬化する低温硬化剤とを、該エポキシ樹脂と共に炭素繊維に含浸して、前記ロッド本体を形成する炭素繊維強化プラスチック材料を準備する工程と、
    該ロッド本体を形成する炭素繊維強化プラスチック材料を該低温硬化剤の硬化温度に加熱することで該低温硬化剤を硬化させて該ロッド本体を半硬化状態に成形する工程と、
    半硬化状態に成形された該ロッド本体を該本体ゴム弾性体の加硫成形用金型のキャビティにセットしてから該キャビティに該本体ゴム弾性体の形成材料を充填し、該本体ゴム弾性体を加硫成形すると同時に該高温硬化剤を硬化させて該ロッド本体を完全硬化状態に成形すると共に該ロッド本体の表面を覆う被覆ゴム層を該本体ゴム弾性体と一体形成することにより該本体ゴム弾性体と該ロッド本体における前記アウタ筒部材とを接着し且つ該ロッド本体の表面に対して該被覆ゴム層を接着する工程と
    を、有することを特徴とする防振連結ロッドの製造方法。
JP2012165308A 2012-07-26 2012-07-26 防振連結ロッドとその製造方法 Expired - Fee Related JP5916552B2 (ja)

Priority Applications (1)

Application Number Priority Date Filing Date Title
JP2012165308A JP5916552B2 (ja) 2012-07-26 2012-07-26 防振連結ロッドとその製造方法

Applications Claiming Priority (1)

Application Number Priority Date Filing Date Title
JP2012165308A JP5916552B2 (ja) 2012-07-26 2012-07-26 防振連結ロッドとその製造方法

Publications (2)

Publication Number Publication Date
JP2014025516A JP2014025516A (ja) 2014-02-06
JP5916552B2 true JP5916552B2 (ja) 2016-05-11

Family

ID=50199341

Family Applications (1)

Application Number Title Priority Date Filing Date
JP2012165308A Expired - Fee Related JP5916552B2 (ja) 2012-07-26 2012-07-26 防振連結ロッドとその製造方法

Country Status (1)

Country Link
JP (1) JP5916552B2 (ja)

Cited By (1)

* Cited by examiner, † Cited by third party
Publication number Priority date Publication date Assignee Title
JP3106944B2 (ja) 1996-01-22 2000-11-06 松下電器産業株式会社 消耗電極式ア−ク溶接機

Families Citing this family (2)

* Cited by examiner, † Cited by third party
Publication number Priority date Publication date Assignee Title
JP7291564B2 (ja) * 2019-07-30 2023-06-15 住友理工株式会社 合成樹脂製の車両用強度部材
CN112123803B (zh) * 2020-08-05 2023-02-14 安徽中鼎橡塑制品有限公司 一种传感器盖及其制造方法

Family Cites Families (7)

* Cited by examiner, † Cited by third party
Publication number Priority date Publication date Assignee Title
JPS5940613B2 (ja) * 1980-05-06 1984-10-01 東海ゴム工業株式会社 ボルトを植設せるエポキシ樹脂製プレ−ト付防振ゴムの製造方法
JPS6161834A (ja) * 1984-09-03 1986-03-29 Toyota Motor Corp ゴムブツシユ部を有する繊維強化樹脂製部品
JPH01126413A (ja) * 1987-11-09 1989-05-18 Tokai Rubber Ind Ltd 樹脂製連結ロッドの製造方法
JPH07117428A (ja) * 1993-10-28 1995-05-09 Nissan Motor Co Ltd 車両用サスペンションのリンク部材
JPH10266514A (ja) * 1997-03-25 1998-10-06 Toray Ind Inc 手すり
JP4046072B2 (ja) * 2003-11-28 2008-02-13 東海ゴム工業株式会社 トルクロッド
JP4046093B2 (ja) * 2004-03-19 2008-02-13 東海ゴム工業株式会社 樹脂トルクロッドの製造方法

Cited By (1)

* Cited by examiner, † Cited by third party
Publication number Priority date Publication date Assignee Title
JP3106944B2 (ja) 1996-01-22 2000-11-06 松下電器産業株式会社 消耗電極式ア−ク溶接機

Also Published As

Publication number Publication date
JP2014025516A (ja) 2014-02-06

Similar Documents

Publication Publication Date Title
CN102947111B (zh) 复合结构元件,尤其是适于车辆悬架的复合结构元件,及其制备方法
EP1832780B1 (en) Radially flexible bushing
US11298898B2 (en) Chassis component in fiber plastic composite mono construction with duroplastic matrix material and method for the production thereof
JP7619758B2 (ja) 複合部品用の内部ツーリング
CN105556160B (zh) 用于机动车的功能构件、用于制造功能构件的方法以及包括功能构件的机动车
JP5916552B2 (ja) 防振連結ロッドとその製造方法
JP6257389B2 (ja) 筒型防振装置とその製造方法
US10654227B2 (en) Method of manufacturing resin molded article and resin molded article
KR101794067B1 (ko) 복합재료 적용 자동차 현가장치의 컨트롤 암 제조방법
JP6562764B2 (ja) 防振部材及び防振部材の製造方法
CN214888145U (zh) 夹心元件
JP7200075B2 (ja) 車両用樹脂モジュール及び車両用樹脂モジュールの製造方法
JP2016507379A (ja) スリーブ部材及び鋳造方法
CN208802045U (zh) 衬套、车架组件、车辆
JP2005344764A (ja) 防振ブッシュ
JP6286230B2 (ja) 筒型防振装置
JP4871895B2 (ja) 筒型防振装置及びその製造方法
CN212171919U (zh) 加强结构体
EP4210974A1 (en) A method for manufacturing a suspension arm for an automotive suspension and suspension arm obtained by said method
JPH0411090B2 (ja)
JPS63270913A (ja) ゴムブツシユ付き連結ロツド
JP2009228830A (ja) 防振マウント
DE102015222700A1 (de) Elastomerlager und Verfahren zu dessen Herstellung
CN218325933U (zh) 一种新型双胶料衬套
US20050184437A1 (en) Mounting devices utilizing elastomers of differing characteristics and post-vulcanization bonding

Legal Events

Date Code Title Description
A621 Written request for application examination

Free format text: JAPANESE INTERMEDIATE CODE: A621

Effective date: 20150406

A977 Report on retrieval

Free format text: JAPANESE INTERMEDIATE CODE: A971007

Effective date: 20160107

A131 Notification of reasons for refusal

Free format text: JAPANESE INTERMEDIATE CODE: A131

Effective date: 20160118

A521 Request for written amendment filed

Free format text: JAPANESE INTERMEDIATE CODE: A523

Effective date: 20160208

TRDD Decision of grant or rejection written
A01 Written decision to grant a patent or to grant a registration (utility model)

Free format text: JAPANESE INTERMEDIATE CODE: A01

Effective date: 20160322

A61 First payment of annual fees (during grant procedure)

Free format text: JAPANESE INTERMEDIATE CODE: A61

Effective date: 20160405

R150 Certificate of patent or registration of utility model

Ref document number: 5916552

Country of ref document: JP

Free format text: JAPANESE INTERMEDIATE CODE: R150

LAPS Cancellation because of no payment of annual fees