JP5897899B2 - 電力制御システム、制御装置、及び電力制御方法 - Google Patents
電力制御システム、制御装置、及び電力制御方法 Download PDFInfo
- Publication number
- JP5897899B2 JP5897899B2 JP2011281506A JP2011281506A JP5897899B2 JP 5897899 B2 JP5897899 B2 JP 5897899B2 JP 2011281506 A JP2011281506 A JP 2011281506A JP 2011281506 A JP2011281506 A JP 2011281506A JP 5897899 B2 JP5897899 B2 JP 5897899B2
- Authority
- JP
- Japan
- Prior art keywords
- storage battery
- power
- fuel cell
- output
- control unit
- Prior art date
- Legal status (The legal status is an assumption and is not a legal conclusion. Google has not performed a legal analysis and makes no representation as to the accuracy of the status listed.)
- Active
Links
Images
Classifications
-
- Y—GENERAL TAGGING OF NEW TECHNOLOGICAL DEVELOPMENTS; GENERAL TAGGING OF CROSS-SECTIONAL TECHNOLOGIES SPANNING OVER SEVERAL SECTIONS OF THE IPC; TECHNICAL SUBJECTS COVERED BY FORMER USPC CROSS-REFERENCE ART COLLECTIONS [XRACs] AND DIGESTS
- Y02—TECHNOLOGIES OR APPLICATIONS FOR MITIGATION OR ADAPTATION AGAINST CLIMATE CHANGE
- Y02E—REDUCTION OF GREENHOUSE GAS [GHG] EMISSIONS, RELATED TO ENERGY GENERATION, TRANSMISSION OR DISTRIBUTION
- Y02E60/00—Enabling technologies; Technologies with a potential or indirect contribution to GHG emissions mitigation
- Y02E60/10—Energy storage using batteries
-
- Y—GENERAL TAGGING OF NEW TECHNOLOGICAL DEVELOPMENTS; GENERAL TAGGING OF CROSS-SECTIONAL TECHNOLOGIES SPANNING OVER SEVERAL SECTIONS OF THE IPC; TECHNICAL SUBJECTS COVERED BY FORMER USPC CROSS-REFERENCE ART COLLECTIONS [XRACs] AND DIGESTS
- Y02—TECHNOLOGIES OR APPLICATIONS FOR MITIGATION OR ADAPTATION AGAINST CLIMATE CHANGE
- Y02E—REDUCTION OF GREENHOUSE GAS [GHG] EMISSIONS, RELATED TO ENERGY GENERATION, TRANSMISSION OR DISTRIBUTION
- Y02E60/00—Enabling technologies; Technologies with a potential or indirect contribution to GHG emissions mitigation
- Y02E60/30—Hydrogen technology
- Y02E60/50—Fuel cells
Landscapes
- Fuel Cell (AREA)
- Charge And Discharge Circuits For Batteries Or The Like (AREA)
- Secondary Cells (AREA)
Description
(システム構成)
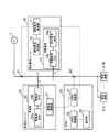
図1は、本実施形態に係る給電システムのブロック図である。図1において、ブロック間の実線は電力ラインを示し、ブロック間の破線は制御ラインを示す。
図3は、本実施形態に係る電力制御方法のフロー図である。本フローは、例えば1日ごとに実施される。また、本フローは、HEMS制御部32において、少なくとも連続充電期間における負荷パターンを取得するステップS11と、連続充電期間の開始時における蓄電池22の充電可能量を取得するステップS15と、ステップS11で取得された負荷パターンとステップS15で取得された充電可能量とに基づいて、連続充電期間における蓄電池22の充電スケジュールを決定するステップS16と、を有する。
Ps = Pl + Pc (1)
となる。一方、連続充電期間以外の(通常の)充放電期間において、Plが燃料電池13の定格出力(最大出力)Ps_maxを超えるときは、燃料電池13の出力電力Ps及び蓄電池22の放電量Pdは、
Ps = Ps_max
Pd = Pl−Ps_max (2)
となる。
上述した第1実施形態では、HEMS制御部32は、連続充電期間の各時間帯において、電力負荷と充電量との合計を一定(すなわち、α)とすることで、燃料電池13の出力を発電効率飽和点αに維持していた。
次に、上述した第1実施形態及び第2実施形態の具体例を説明する。図4は、第1実施形態及び第2実施形態の具体例を説明するためのグラフである。図4には、比較例と、第1実施形態の具体例と、第2実施形態の具体例と、が図示されている。
上記のように、本発明は実施形態によって記載したが、この開示の一部をなす論述及び図面はこの発明を限定するものであると理解すべきではない。この開示から当業者には様々な代替実施形態、実施例及び運用技術が明らかとなる。
Claims (7)
- 燃料電池と蓄電池とを制御する電力制御システムであって、
電力負荷と前記蓄電池の充電とに使用される電力を出力するよう前記燃料電池を制御する燃料電池制御部と、
前記蓄電池を制御する蓄電池制御部と、を有し、
前記蓄電池制御部は、前記電力負荷の小さい所定期間において、前記燃料電池の出力を一定値以上に保つように、前記蓄電池が満充電となるまで前記蓄電池を連続的に充電する連続充電制御を行うことを特徴とする電力制御システム。 - 前記燃料電池は、低出力領域において発電効率が線形的に変化し、且つ高出力領域において発電効率が略飽和状態になり、
前記一定値とは、前記低出力領域と前記高出力領域との境界付近の値以上であることを特徴とする請求項1に記載の電力制御システム。 - 前記蓄電池制御部は、前記所定期間の開始時における前記蓄電池の充電可能量に基づいて、前記連続充電制御を実行するか中止するかを判断することを特徴とする請求項1又は2に記載の電力制御システム。
- 前記蓄電池制御部は、前記所定期間の途中の時点よりも前記所定期間の終了時の方が前記燃料電池の出力が大きくなるように、前記連続充電制御における前記蓄電池の充電量を制御することを特徴とする請求項1から3の何れか一項に記載の電力制御システム。
- 前記蓄電池制御部は、
前記所定期間の開始時における前記蓄電池の充電可能量を取得する取得手段と、
前記所定期間における電力負荷パターンを予測する予測手段と、
前記取得手段により取得された前記充電可能量と前記予測手段により予測された前記電力負荷パターンとに基づいて、前記所定期間における前記蓄電池の充電スケジュールを決定する決定手段と、を含むことを特徴とする請求項1から4の何れか一項に記載の電力制御システム。 - 燃料電池と蓄電池とを制御する電力制御システムで用いられる制御装置であって、
前記蓄電池を制御する蓄電池制御部を有し、
前記燃料電池は、電力負荷と前記蓄電池の充電とに使用される電力を出力し、
前記蓄電池制御部は、前記電力負荷の小さい所定期間において、前記燃料電池の出力を一定値以上に保つように、前記蓄電池が満充電となるまで前記蓄電池を連続的に充電する連続充電制御を行うことを特徴とする制御装置。 - 燃料電池と蓄電池とを制御する電力制御方法であって、
電力負荷と前記蓄電池の充電とに使用される電力を出力するよう前記燃料電池を制御するステップAと、
前記蓄電池を制御するステップBと、を有し、
前記ステップBは、前記電力負荷の小さい所定期間において、前記燃料電池の出力を一定値以上に保つように、前記蓄電池が満充電となるまで前記蓄電池を連続的に充電する連続充電制御を行うことを特徴とする電力制御方法。
Priority Applications (1)
| Application Number | Priority Date | Filing Date | Title |
|---|---|---|---|
| JP2011281506A JP5897899B2 (ja) | 2011-12-22 | 2011-12-22 | 電力制御システム、制御装置、及び電力制御方法 |
Applications Claiming Priority (1)
| Application Number | Priority Date | Filing Date | Title |
|---|---|---|---|
| JP2011281506A JP5897899B2 (ja) | 2011-12-22 | 2011-12-22 | 電力制御システム、制御装置、及び電力制御方法 |
Publications (2)
| Publication Number | Publication Date |
|---|---|
| JP2013131449A JP2013131449A (ja) | 2013-07-04 |
| JP5897899B2 true JP5897899B2 (ja) | 2016-04-06 |
Family
ID=48908835
Family Applications (1)
| Application Number | Title | Priority Date | Filing Date |
|---|---|---|---|
| JP2011281506A Active JP5897899B2 (ja) | 2011-12-22 | 2011-12-22 | 電力制御システム、制御装置、及び電力制御方法 |
Country Status (1)
| Country | Link |
|---|---|
| JP (1) | JP5897899B2 (ja) |
Families Citing this family (11)
| Publication number | Priority date | Publication date | Assignee | Title |
|---|---|---|---|---|
| JP5869539B2 (ja) * | 2013-09-05 | 2016-02-24 | 大和ハウス工業株式会社 | 電力供給システム |
| JP6280741B2 (ja) * | 2013-12-27 | 2018-02-14 | 大和ハウス工業株式会社 | 電力供給システム |
| JP6281575B2 (ja) | 2014-02-17 | 2018-02-21 | 日産自動車株式会社 | 燃料電池システム及び燃料電池システムの制御方法 |
| JP6432095B2 (ja) * | 2014-04-22 | 2018-12-05 | 大和ハウス工業株式会社 | 電力供給システム |
| FR3024290A1 (fr) | 2014-07-23 | 2016-01-29 | Gdf Suez | Systeme de production d'energie associant une pile a combustible et une batterie rechargeable et procedes mettant en œuvre un tel dispositif |
| DE102015221613A1 (de) * | 2015-11-04 | 2017-05-04 | Robert Bosch Gmbh | Verfahren zum Betreiben einer elektrischen Speichereinheit, sowie Verfahren zum Betreiben einer stromerzeugenden Einheit |
| JP7369634B2 (ja) * | 2020-02-13 | 2023-10-26 | 東京瓦斯株式会社 | 分散型電源装置 |
| JP7446141B2 (ja) * | 2020-03-30 | 2024-03-08 | 大阪瓦斯株式会社 | エネルギーシステム及びエネルギーシステムの運転方法 |
| CN111114532B (zh) * | 2020-03-31 | 2020-08-21 | 潍柴动力股份有限公司 | 一种燃料电池汽车的控制方法及整车控制器 |
| JP7744798B2 (ja) * | 2021-11-10 | 2025-09-26 | 川崎重工業株式会社 | 移動体の制御器、制御方法、制御プログラム、および移動体における燃料電池の出力決定装置 |
| JP2024137275A (ja) * | 2023-03-24 | 2024-10-07 | 株式会社豊田中央研究所 | 燃料電池制御システム |
Family Cites Families (7)
| Publication number | Priority date | Publication date | Assignee | Title |
|---|---|---|---|---|
| JPH05182675A (ja) * | 1991-07-04 | 1993-07-23 | Shimizu Corp | 燃料電池の出力制御方法 |
| JP2004342461A (ja) * | 2003-05-15 | 2004-12-02 | Nissan Motor Co Ltd | 燃料電池システム |
| JP2005044531A (ja) * | 2003-07-22 | 2005-02-17 | Daihatsu Motor Co Ltd | 燃料電池システム |
| WO2006006222A1 (ja) * | 2004-07-09 | 2006-01-19 | Kajima Corporation | システム全体の電力消費の変動が小さくなる燃料電池システム、燃料電池システム制御方法および建造物 |
| JP5094058B2 (ja) * | 2006-06-30 | 2012-12-12 | 三洋電機株式会社 | 電源システム |
| JP4505475B2 (ja) * | 2007-01-29 | 2010-07-21 | 本田技研工業株式会社 | 燃料電池システム |
| JP5101583B2 (ja) * | 2009-09-16 | 2012-12-19 | 本田技研工業株式会社 | 燃料電池車両 |
-
2011
- 2011-12-22 JP JP2011281506A patent/JP5897899B2/ja active Active
Also Published As
| Publication number | Publication date |
|---|---|
| JP2013131449A (ja) | 2013-07-04 |
Similar Documents
| Publication | Publication Date | Title |
|---|---|---|
| JP5897899B2 (ja) | 電力制御システム、制御装置、及び電力制御方法 | |
| JP5663645B2 (ja) | 制御装置及び制御方法 | |
| JP5890513B2 (ja) | 制御装置、制御システム及び蓄電池制御方法 | |
| JP5891386B2 (ja) | 電力制御装置及びそれを用いた電力供給システム | |
| EP2983265B1 (en) | Electric power conversion device, control system, and control method | |
| JP2012123637A (ja) | 充電制御装置、充電制御装置の制御方法、充放電制御装置、充放電制御装置の制御方法、制御プログラム、および、記録媒体 | |
| JP2011250673A (ja) | エネルギーコントローラおよび制御方法 | |
| JP6166512B2 (ja) | 制御装置、電力システム、及び制御方法 | |
| JP6820677B2 (ja) | 電力管理装置及びプログラム | |
| US9727038B2 (en) | Fuel cell control using pseudo power consumption | |
| JP5507946B2 (ja) | バッテリ制御ユニット | |
| JP5995804B2 (ja) | 蓄電システムの管理装置及び制御目標値決定方法 | |
| JP7032248B2 (ja) | 電力管理装置及びプログラム | |
| JP5773768B2 (ja) | 建物用電力供給システム及び建物用電力供給方法 | |
| JP6183758B2 (ja) | 電力制御装置及びそれを用いた電力供給システム、並びに電力制御方法 | |
| KR102268723B1 (ko) | 충전율 제어가 가능한 에너지 저장 시스템 및 이의 제어 방법 | |
| JP2007259598A (ja) | 電力貯蔵・給電装置と方法 | |
| WO2016039195A1 (ja) | エネルギー管理装置、エネルギー管理方法、及びエネルギー管理プログラム | |
| WO2015170626A1 (ja) | 自立式電力供給システム | |
| JP6378955B2 (ja) | 電力供給システム | |
| JP6523120B2 (ja) | 電力供給システム | |
| EP2763229B1 (en) | Energy management system, energy management device, and power management method | |
| JP2015139315A (ja) | 電力管理装置、電力管理方法及びプログラム | |
| JP6637402B2 (ja) | エネルギー管理装置、その制御方法及び熱電供給システム | |
| JP2026005617A (ja) | 分散型電源システム |
Legal Events
| Date | Code | Title | Description |
|---|---|---|---|
| A621 | Written request for application examination |
Free format text: JAPANESE INTERMEDIATE CODE: A621 Effective date: 20141015 |
|
| A977 | Report on retrieval |
Free format text: JAPANESE INTERMEDIATE CODE: A971007 Effective date: 20150722 |
|
| A131 | Notification of reasons for refusal |
Free format text: JAPANESE INTERMEDIATE CODE: A131 Effective date: 20150728 |
|
| A521 | Written amendment |
Free format text: JAPANESE INTERMEDIATE CODE: A523 Effective date: 20150928 |
|
| TRDD | Decision of grant or rejection written | ||
| A01 | Written decision to grant a patent or to grant a registration (utility model) |
Free format text: JAPANESE INTERMEDIATE CODE: A01 Effective date: 20160202 |
|
| A61 | First payment of annual fees (during grant procedure) |
Free format text: JAPANESE INTERMEDIATE CODE: A61 Effective date: 20160303 |
|
| R150 | Certificate of patent or registration of utility model |
Ref document number: 5897899 Country of ref document: JP Free format text: JAPANESE INTERMEDIATE CODE: R150 |
