JP5825552B2 - フロントドアとリアドアとの間の遮蔽構造 - Google Patents

フロントドアとリアドアとの間の遮蔽構造 Download PDF

Info

Publication number
JP5825552B2
JP5825552B2 JP2011207904A JP2011207904A JP5825552B2 JP 5825552 B2 JP5825552 B2 JP 5825552B2 JP 2011207904 A JP2011207904 A JP 2011207904A JP 2011207904 A JP2011207904 A JP 2011207904A JP 5825552 B2 JP5825552 B2 JP 5825552B2
Authority
JP
Japan
Prior art keywords
door
vehicle
rear door
opening
front side
Prior art date
Legal status (The legal status is an assumption and is not a legal conclusion. Google has not performed a legal analysis and makes no representation as to the accuracy of the status listed.)
Expired - Fee Related
Application number
JP2011207904A
Other languages
English (en)
Other versions
JP2013067293A (ja
Inventor
孝男 飛澤
孝男 飛澤
Current Assignee (The listed assignees may be inaccurate. Google has not performed a legal analysis and makes no representation or warranty as to the accuracy of the list.)
Isuzu Motors Ltd
Original Assignee
Isuzu Motors Ltd
Priority date (The priority date is an assumption and is not a legal conclusion. Google has not performed a legal analysis and makes no representation as to the accuracy of the date listed.)
Filing date
Publication date
Application filed by Isuzu Motors Ltd filed Critical Isuzu Motors Ltd
Priority to JP2011207904A priority Critical patent/JP5825552B2/ja
Priority to PCT/JP2012/074070 priority patent/WO2013042730A1/ja
Publication of JP2013067293A publication Critical patent/JP2013067293A/ja
Application granted granted Critical
Publication of JP5825552B2 publication Critical patent/JP5825552B2/ja
Expired - Fee Related legal-status Critical Current
Anticipated expiration legal-status Critical

Links

Images

Classifications

    • BPERFORMING OPERATIONS; TRANSPORTING
    • B60VEHICLES IN GENERAL
    • B60JWINDOWS, WINDSCREENS, NON-FIXED ROOFS, DOORS, OR SIMILAR DEVICES FOR VEHICLES; REMOVABLE EXTERNAL PROTECTIVE COVERINGS SPECIALLY ADAPTED FOR VEHICLES
    • B60J5/00Doors
    • B60J5/04Doors arranged at the vehicle sides
    • B60J5/047Doors arranged at the vehicle sides characterised by the opening or closing movement
    • B60J5/0477Doors arranged at the vehicle sides characterised by the opening or closing movement with two doors opening in opposite direction
    • B60J5/0479Doors arranged at the vehicle sides characterised by the opening or closing movement with two doors opening in opposite direction without B-pillar or releasable B-pillar, i.e. the pillar is moving with door
    • BPERFORMING OPERATIONS; TRANSPORTING
    • B60VEHICLES IN GENERAL
    • B60JWINDOWS, WINDSCREENS, NON-FIXED ROOFS, DOORS, OR SIMILAR DEVICES FOR VEHICLES; REMOVABLE EXTERNAL PROTECTIVE COVERINGS SPECIALLY ADAPTED FOR VEHICLES
    • B60J10/00Sealing arrangements
    • B60J10/20Sealing arrangements characterised by the shape
    • B60J10/24Sealing arrangements characterised by the shape having tubular parts
    • BPERFORMING OPERATIONS; TRANSPORTING
    • B60VEHICLES IN GENERAL
    • B60JWINDOWS, WINDSCREENS, NON-FIXED ROOFS, DOORS, OR SIMILAR DEVICES FOR VEHICLES; REMOVABLE EXTERNAL PROTECTIVE COVERINGS SPECIALLY ADAPTED FOR VEHICLES
    • B60J10/00Sealing arrangements
    • B60J10/80Sealing arrangements specially adapted for opening panels, e.g. doors
    • B60J10/86Sealing arrangements specially adapted for opening panels, e.g. doors arranged on the opening panel

Landscapes

  • Engineering & Computer Science (AREA)
  • Mechanical Engineering (AREA)
  • Seal Device For Vehicle (AREA)
  • Window Of Vehicle (AREA)

Description

本発明は、フロントドアとリアドアとの間の遮蔽構造に関し、車両前後に亘って広く形成されたドア開口をフロントドアとリアドアとによって観音開き状に開閉するセンターピラーレスの観音開きドア構造におけるフロントドアとリアドアとの間の遮蔽構造に関する。
特許文献1には、フロントドア及びリアドアのドアフレームまわりにそれぞれ装着されるウェザーストリップが記載されている。フロントドアウェザーストリップの上後隅部のリップには、フロントドアサッシュよりも後方に突出する延設部が形成され、リアドアウェザーストリップには、リップ延長部分が形成されている。フロントドアウェザーストリップのリップの延設部は、リアドアウェザーストリップのリップ延長部分の車外側に位置するため、車両の側面視でフロントドア後端とリアドア前端との隙間からセンターピラーアウターパネルの色が見えず、車両外観を損なうことがない。
登録実用新案第2590561号公報
車両の中には、センタピラーを設けず、車両前後に亘って広く形成されたドア開口をフロントドアとリアドアとによって観音開き状に開閉するドア構造(以下、センターピラーレスの観音開きドア構造と称する)を有するものがあり、ドア開口のうち前席用の前側開口領域はフロントドアによって開閉され、後席用の後側開口領域はリアドアによって開閉される。
このようなセンターピラーレスの観音開きドア構造において、車両を側方から視たときの見栄えを向上させるためには、ドア全閉状態で車幅方向に離間するフロントドアの後辺部の内側面部とリアドアの前辺部の外側面部との間を遮蔽することが好ましい。特に、リアドア窓部を車幅方向外側から覆うリアドアウインドウパネルがリアドアに取り付けられ、前側開口領域の後縁部分がリアウインドウパネルの前辺部によって区画される場合、ドア全閉状態におけるフロントドアの後辺部とリアウインドウパネルの前辺部との間の間隙はリアウインドウパネルによって視認し易くなるため、この間隙を遮蔽することは見栄えの向上にとって重要である。
しかし、上記特許文献1に記載のドアウェザーストリップは、前席用のフロントドア開口と後席用のリアドア開口とがセンタピラーによって前後に分離したドア構造に適用されるものであり、センターピラーレスのドア構造に適用することはできない。
そこで、本発明は、いわゆるセンターピラーレスの観音開きドア構造において、ドア全閉状態におけるフロントドアとリアドアとの間隙を簡単な構造で且つ安価に遮蔽して、外観上の見栄えを向上させることを目的とする。
上記目的を達成すべく、本発明の遮蔽構造は、いわゆるセンターピラーレスの観音開きドア構造のドア全閉状態において、フロントドアとリアドアとの間を遮蔽する。
センターピラーレスの観音開きドア構造では、車体側部に形成された乗降用のドア開口の前側開口領域を開閉するフロントドアの前辺部は、ドア開口の車両前側で車体側に回転自在に連結される。ドア開口の後側開口領域を開閉するリアドアの後辺部は、ドア開口の車両後側で車体側に回転自在に連結される。前側開口領域を閉止する前閉止位置のフロントドアは、車幅方向外側への傾動によって前側開口領域を車両後側から開放する後開き状に開移動する。後側開口領域を閉止する後閉止位置のリアドアは、車幅方向外側への傾動によって後側開口領域を車両前側から開放する前開き状に開移動する。
また、本発明が適用されるドア構造では、リアドアの前辺部は、フロントドアが前閉止位置に設定され且つリアドアが後閉止位置に設定されたドア全閉状態で、フロントドアの後辺部の内側面部に車幅方向内側から対向する外側面部を有する。リアドアには、リアドアのリアドア窓部を車幅方向外側から覆うリアドアウインドウパネルが取り付けられる。リアドアウインドウパネルの前辺部は、ドア全閉状態のフロントドアの後辺部の車両後方でリアドアの前辺部の外側面部と対向する。
本発明の遮蔽構造は、シール部と遮蔽部とを備える。シール部は、リアドアの前辺部の外側面部に取り付けられ、ドア全閉状態のフロントドアの後辺部の内側面部の後端縁部と接触して弾性変形し、フロントドアの後辺部の内側面部とリアドアの前辺部の外側面部との間隙を密閉状態で遮蔽する。遮蔽部は、シール部から車両後方へ一体的に延びてリアドアの前辺部とリアドアウインドウパネルの前辺部との間に進入し、ドア全閉状態のフロントドアの後辺部とリアウインドウパネルの前辺部との間隙を遮蔽する。リアドアウインドウパネルの前辺部は、リアドアウインドウパネル回動機構を介してリアドアに回転自在に連結される。遮蔽部は、リアドア窓部を覆う窓閉位置のリアドアウインドウパネルと非接触である。
上記構成では、車両前後に亘って広く形成されたドア開口をフロントドアとリアドアとによって観音開き状に開閉するセンターピラーレスの観音開きドア構造において、フロントドアの後辺部の内側面部の後端縁部とリアドアの前辺部の外側面部と間に形成される車幅方向の間隙は、シール部によって遮蔽される。このため、上記車幅方向の間隙を斜め後方から視た場合であっても、この間隙からリアドアの前辺部の外側面部が露出することがなく、見栄えが向上する。
また、フロントドアの後辺部とリアウインドウパネルの前辺部との間に形成される車両前後方向の間隙は、遮蔽部によって遮蔽される。このため、上記車両前後方向の間隙を側方から視た場合であっても、この間隙からリアドアの前辺部の外側面部が露出することがなく、見栄えが向上する。なお、シール部が弾性変形によって車両後方へ膨出している場合、シール部の膨出部分も上記車幅方向の間隙の遮蔽に寄与する。
さらに、遮蔽部はシール部から一体的に延びるので、シール部と遮蔽部とを弾性樹脂材によって一体成形することができる。従って、ドア全閉状態におけるフロントドアの後辺部とリアウインドウパネルの前辺部との間の間隙を簡単な構造で且つ安価に遮蔽することができる。
本発明によれば、センターピラーレスの観音開きドア構造において、ドア全閉状態におけるフロントドアの後辺部とリアウインドウパネルの前辺部との間の間隙を簡単な構造で且つ安価に遮蔽して、見栄えを向上させることができる。
本発明の一実施形態に係る遮蔽構造を備えたドア構造を車幅方向外側から観た側面図である。 図1のII−II矢視断面図である。 図2のIII部の拡大図である。 図1のリアドアの分解斜視図である。
以下、本発明の一実施形態を図面に基づいて説明する。なお、図中FRは車両前方を、UPは車両上方を、INは車幅方向内側をそれぞれ示している。
本実施形態の車両のドア構造は、いわゆるセンターピラーレスの観音開きドア構造であり、図1に示すように、車体側部には乗降用のドア開口1が車両前後に亘って広く形成されている。ドア開口1の前側開口領域2を開閉するフロントドア10の前辺部11は、ドア開口1の車両前側でフロントヒンジ(前連結部)4を介して車体側に回転自在に連結される。ドア開口1の後側開口領域3を開閉するリアドア20の後辺部22は、ドア開口1の車両後側でリアヒンジ(後連結部)5を介して車体側に回転自在に連結される。前側開口領域2を閉止する前閉止位置のフロントドア10は、フロントヒンジ4を中心とした車幅方向外側への傾動によって、前側開口領域2を車両後側から開放する後開き状に開移動する。後側開口領域3を閉止する後閉止位置のリアドア20は、リアヒンジ5を中心とした車幅方向外側への傾動によって、後側開口領域3を車両前側から開放する前開き状に開移動する。
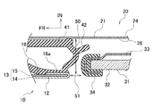
図2及び図3に示すように、フロントドア10のドアパネル(フロントドアパネル)13は、車幅方向外側のフロントドアアウタパネル14と車幅方向内側のフロントドアインナパネル15とを有する。フロントドアアウタパネル14とフロントドアインナパネル15とは、その周縁部分同士が接合され、パネル14,15内に閉断面を形成する。リアドア20のドアパネル(リアドアパネル)23は、車幅方向外側のリアドアアウタパネル24と車幅方向内側のリアドアインナパネル25とを有する。リアドアアウタパネル24とリアドアインナパネル25とは、その周縁部分同士が接合され、パネル24,25内に閉断面を形成する。
リアドア20の前辺部21は、フロントドア10が前閉止位置に設定され且つリアドア20が後閉止位置に設定されたドア全閉状態で、フロントドア10の後辺部12の内側面部(フロント後辺内側面部)16に車幅方向内側から対向する外側面部(リア前辺外側面部)26を有する。フロント後辺内側面部16は、フロントドアインナパネル15の後辺部分(パネル14,15の接合部分を含む)によって構成され、リア前辺外側面部26は、リアドアアウタパネル24の前辺部分(パネル24,25の接合部分を含む)によって構成される。
図2〜図4に示すように、リアドアパネル23の上部には、リアドア窓部30が形成されるとともに、このリアドア窓部30を車幅方向外側から覆うリアドアウインドウパネル31が取り付けられる。リアドアウインドウパネル31の前辺部32は、ドア全閉状態のフロントドア10の後辺部12の車両後方でリア前辺外側面部26と対向する。リアドアウインドウパネル31の前辺部32は、その端縁に嵌着されたクリップ部材34を含む。クリップ部材34は、ウインドウパネル支持板33の前端に固定され、ウインドウパネル支持板33は、クリップ部材34によってリアドアウインドウパネル31に固定される。ウインドウパネル支持板33は、ヒンジとして機能するクリップ部材34を介してリアドアパネル23に傾動可能に支持され、リアドアウインドウパネル31は、その後側が車幅方向外側へ移動するように開移動する。

リアドアインナパネル25の周縁部分には、リアドア20を後閉止位置に設定した状態でリアドア20と車体側(後側開口領域3の周縁部分)との間隙を密閉するリアドアウェザーストリップ40が設けられている。リアドアウェザーストリップ40は、リアドアインナパネル25の上縁と後縁と下縁とにそれぞれ沿うように取り付けられる上ストリップ部43と後ストリップ部44と下ストリップ部45とを一体的に有する。
上ストリップ部43の前端には、リアドアパネル23の車幅方向の内側と外側とを架け渡すようにリアドアパネル23の上端に支持される上取付部46が固定され、この上取付部46から下方へシール部41が延びている。
シール部41は、弾性樹脂によって中空筒状に形成され、リア窓部30の前上隅の斜め前上方から前下隅の斜め前下方まで延びて、リア前辺外側面部26の表面に接着等によって固定されている。シール部41は、ドア全閉状態のフロント後辺内側面部16の後端縁部16aと接触して弾性変形し、フロント後辺内側面部16とリア前辺外側面部26との間隙50を密閉状態で遮蔽する。シール部41は、間隙50を遮蔽する機能の他、間隙50への走行風の進入を阻止して風音の発生を防止する機能を有する。
シール部41には、その後面から車両後方へ一体的に延びるリップ形状の遮蔽部42が設けられている。遮蔽部42は、リアドア20の前辺部21(リア前辺外側面部26)とリアドアウインドウパネル31の前辺部32との間に進入し、遮蔽部42の後縁部分は、車幅方向でリアドアウインドウパネル31と重なる。このため、遮蔽部42は、ドア全閉状態のフロントドア10の後辺部12とリアウインドウパネル31の前辺部32との間の前後方向の間隙51を確実に遮蔽する。
なお、本実施形態のシール部41は、ドア全閉状態の弾性変形によって車両後方へ膨出するため、前後方向の間隙51は、シール部41の膨出部分と遮蔽部42との双方によって遮蔽される。また、遮蔽部42は、リアドア20及びリアドアウインドウパネル31と非接触であってもよく、これらの一方と接触してもよい。また、フロント後辺内側面部16の前部には、ドア全閉状態のリア前辺外側面部26の前部と接触して弾性変形し、フロント後辺内側面部16とリア前辺外側面部26との間隙を密閉するフロントドアウェザーストリップ52が取り付けられている。
本実施形態によれば、センターピラーレスの観音開きドア構造において、フロント後辺部内側面部16の後端縁部16aとリア前辺外側面部26と間に形成される車幅方向の間隙50は、シール部41によって遮蔽される。このため、車幅方向の間隙50を斜め後方から視た場合であっても、この間隙50からリア前辺外側面部26が露出することがなく、見栄えが向上する。
また、フロントドア10の後辺部12とリアウインドウパネル31の前辺部32との間に形成される車両前後方向の間隙51は、遮蔽部42とシール部41の膨出部分とによって遮蔽される。このため、車両前後方向の間隙51を側方から視た場合であっても、この間隙51からリア前辺外側面部26が露出することがなく、見栄えが向上する。
さらに、遮蔽部42はシール部41から一体的に延びるので、シール部41と遮蔽部42とを弾性樹脂材によって一体成形することができる。従って、ドア全閉状態におけるフロントドア10の後辺部12とリアウインドウパネル31の前辺部32との間の間隙51を簡単な構造で且つ安価に遮蔽することができる。
以上、本発明について、上記実施形態に基づいて説明を行ったが、本発明は上記実施形態の内容に限定をされるものではなく、当然に本発明を逸脱しない範囲では適宜の変更が可能である。
1:ドア開口
2:前側開口領域
3:後側開口領域
4:フロントヒンジ(前連結部)
5:リアヒンジ(後連結部)
10:フロントドア
11:フロントドアの前辺部
12:フロントドアの後辺部
16:フロント後辺内側面部
16a:後端縁部
20:リアドア
21:リアドアの前辺部
22:リアドアの後辺部
26:リア前辺外側面部
30:リアドア窓部
31:リアドアウインドウパネル
32:リアドアウインドウパネルの前辺部
40:リアドアウェザーストリップ
41:シール部
42:遮蔽部

Claims (1)

  1. 車体側部に形成された乗降用のドア開口の前側開口領域を開閉するフロントドアの前辺部を、前記ドア開口の車両前側で車体側に回転自在に連結し、前記ドア開口の後側開口領域を開閉するリアドアの後辺部を、前記ドア開口の車両後側で車体側に回転自在に連結し、前記前側開口領域を閉止する前閉止位置の前記フロントドアは、車幅方向外側への傾動によって前記前側開口領域を車両後側から開放する後開き状に開移動し、前記後側開口領域を閉止する後閉止位置の前記リアドアは、車幅方向外側への傾動によって前記後側開口領域を車両前側から開放する前開き状に開移動し、前記リアドアの前辺部は、前記フロントドアが前記前閉止位置に設定され且つ前記リアドアが前記後閉止位置に設定されたドア全閉状態で、前記フロントドアの後辺部の内側面部に車幅方向内側から対向する外側面部を有し、前記リアドアには、該リアドアのリアドア窓部を車幅方向外側から覆うリアドアウインドウパネルが取り付けられ、該リアドアウインドウパネルの前辺部が、前記ドア全閉状態の前記フロントドアの後辺部の車両後方で前記リアドアの前辺部の外側面部と対向する車両のドア構造において、前記ドア全閉状態の前記フロントドアと前記リアドアとの間を遮蔽する遮蔽構造であって、
    前記リアドアの前辺部の外側面部に取り付けられ、前記ドア全閉状態のフロントドアの後辺部の内側面部の後端縁部と接触して弾性変形し、このフロントドアの後辺部の内側面部と前記リアドアの前辺部の外側面部との間隙を密閉状態で遮蔽するシール部と、
    前記シール部から車両後方へ一体的に延びて前記リアドアの前辺部とリアドアウインドウパネルの前辺部との間に進入し、前記ドア全閉状態のフロントドアの後辺部と前記リアウインドウパネルの前辺部との間隙を遮蔽する遮蔽部と、を備え
    前記リアドアウインドウパネルの前記前辺部は、リアドアウインドウパネル回動機構を介して前記リアドアに回転自在に連結され、
    前記遮蔽部は、前記リアドア窓部を覆う窓閉位置の前記リアドアウインドウパネルと非接触である
    ことを特徴とするフロントドアとリアドアとの間の遮蔽構造。
JP2011207904A 2011-09-22 2011-09-22 フロントドアとリアドアとの間の遮蔽構造 Expired - Fee Related JP5825552B2 (ja)

Priority Applications (2)

Application Number Priority Date Filing Date Title
JP2011207904A JP5825552B2 (ja) 2011-09-22 2011-09-22 フロントドアとリアドアとの間の遮蔽構造
PCT/JP2012/074070 WO2013042730A1 (ja) 2011-09-22 2012-09-20 フロントドアとリアドアとの間の遮蔽構造

Applications Claiming Priority (1)

Application Number Priority Date Filing Date Title
JP2011207904A JP5825552B2 (ja) 2011-09-22 2011-09-22 フロントドアとリアドアとの間の遮蔽構造

Publications (2)

Publication Number Publication Date
JP2013067293A JP2013067293A (ja) 2013-04-18
JP5825552B2 true JP5825552B2 (ja) 2015-12-02

Family

ID=47914490

Family Applications (1)

Application Number Title Priority Date Filing Date
JP2011207904A Expired - Fee Related JP5825552B2 (ja) 2011-09-22 2011-09-22 フロントドアとリアドアとの間の遮蔽構造

Country Status (2)

Country Link
JP (1) JP5825552B2 (ja)
WO (1) WO2013042730A1 (ja)

Families Citing this family (3)

* Cited by examiner, † Cited by third party
Publication number Priority date Publication date Assignee Title
JP6620672B2 (ja) * 2016-05-25 2019-12-18 トヨタ車体株式会社 車両のドア装置
JP6693426B2 (ja) * 2017-01-17 2020-05-13 トヨタ自動車株式会社 車両用ウインドウ取付構造
JP7274094B2 (ja) * 2018-11-08 2023-05-16 Agc株式会社 車両用ウインド装置、及び車両用ウインド装置の製造方法

Family Cites Families (6)

* Cited by examiner, † Cited by third party
Publication number Priority date Publication date Assignee Title
JPH057062Y2 (ja) * 1986-05-16 1993-02-23
JP2005186647A (ja) * 2003-12-24 2005-07-14 Nishikawa Rubber Co Ltd ピラーレス自動車の合わせ部シール構造
JP4340763B2 (ja) * 2004-09-27 2009-10-07 西川ゴム工業株式会社 Bピラーレス車両ドアのシール構造
JP2008201374A (ja) * 2007-02-22 2008-09-04 Toyota Motor Corp ドアシール構造
JP4930788B2 (ja) * 2007-09-26 2012-05-16 豊田合成株式会社 ドアウエザストリップ
JP5485032B2 (ja) * 2010-06-11 2014-05-07 西川ゴム工業株式会社 見切りシール取付構造

Also Published As

Publication number Publication date
JP2013067293A (ja) 2013-04-18
WO2013042730A1 (ja) 2013-03-28

Similar Documents

Publication Publication Date Title
JP4836917B2 (ja) 車両のドアミラー取付構造
CN109941353A (zh) 车辆的树脂后尾门
JP6859895B2 (ja) 車両用ドア構造
JP5825552B2 (ja) フロントドアとリアドアとの間の遮蔽構造
US10040341B2 (en) Door seal structure
JP4930788B2 (ja) ドアウエザストリップ
CN104108302B (zh) 挡风条构造
JP2022012719A (ja) 車両のサイドドア構造
JP4035766B2 (ja) クォータウインドウの振動抑制構造
JP3545159B2 (ja) 自動車の車体前部のシール構造
JP6956441B2 (ja) 車両のバックドア構造
JPS6315048Y2 (ja)
JPH0618849Y2 (ja) 自動車のドアシール構造
JP7441422B2 (ja) バックドアの構造
CN221049802U (zh) 一种拖拉机机罩
JPH0111538Y2 (ja)
JPH0512123Y2 (ja)
JPH06211048A (ja) キャビンのドア構造
JPH11170926A (ja) 車両用ドアのシール装置
KR100792901B1 (ko) 테일게이트 글라스 힌지구조
JP6444349B2 (ja) 車体構造
JP6241396B2 (ja) 車両用ウェザストリップ構造
JP6192332B2 (ja) センターピラーレス自動車のシール構造
JP2019055662A (ja) 車両のドア窓用ガーニッシュ
JP3265470B2 (ja) バックドアのウィンドモール構造

Legal Events

Date Code Title Description
A621 Written request for application examination

Free format text: JAPANESE INTERMEDIATE CODE: A621

Effective date: 20140829

A131 Notification of reasons for refusal

Free format text: JAPANESE INTERMEDIATE CODE: A131

Effective date: 20150501

A521 Written amendment

Free format text: JAPANESE INTERMEDIATE CODE: A523

Effective date: 20150629

TRDD Decision of grant or rejection written
A01 Written decision to grant a patent or to grant a registration (utility model)

Free format text: JAPANESE INTERMEDIATE CODE: A01

Effective date: 20150918

A61 First payment of annual fees (during grant procedure)

Free format text: JAPANESE INTERMEDIATE CODE: A61

Effective date: 20151001

R150 Certificate of patent or registration of utility model

Ref document number: 5825552

Country of ref document: JP

Free format text: JAPANESE INTERMEDIATE CODE: R150

LAPS Cancellation because of no payment of annual fees