JP5771973B2 - 音響構造体 - Google Patents

音響構造体 Download PDF

Info

Publication number
JP5771973B2
JP5771973B2 JP2010279660A JP2010279660A JP5771973B2 JP 5771973 B2 JP5771973 B2 JP 5771973B2 JP 2010279660 A JP2010279660 A JP 2010279660A JP 2010279660 A JP2010279660 A JP 2010279660A JP 5771973 B2 JP5771973 B2 JP 5771973B2
Authority
JP
Japan
Prior art keywords
acoustic
opening
sound
cavity
sound absorbing
Prior art date
Legal status (The legal status is an assumption and is not a legal conclusion. Google has not performed a legal analysis and makes no representation as to the accuracy of the status listed.)
Expired - Fee Related
Application number
JP2010279660A
Other languages
English (en)
Other versions
JP2012003226A (ja
Inventor
本地 由和
由和 本地
藤森 潤一
潤一 藤森
栗原 誠
誠 栗原
Current Assignee (The listed assignees may be inaccurate. Google has not performed a legal analysis and makes no representation or warranty as to the accuracy of the list.)
Yamaha Corp
Original Assignee
Yamaha Corp
Priority date (The priority date is an assumption and is not a legal conclusion. Google has not performed a legal analysis and makes no representation as to the accuracy of the date listed.)
Filing date
Publication date
Application filed by Yamaha Corp filed Critical Yamaha Corp
Priority to JP2010279660A priority Critical patent/JP5771973B2/ja
Priority to EP11003932.8A priority patent/EP2402936B1/en
Priority to US13/106,648 priority patent/US8631901B2/en
Priority to CN2011101279494A priority patent/CN102347025A/zh
Priority to CN201310058565.0A priority patent/CN103325369B/zh
Priority to KR1020137006388A priority patent/KR101452662B1/ko
Priority to PCT/JP2011/079062 priority patent/WO2012081672A1/ja
Publication of JP2012003226A publication Critical patent/JP2012003226A/ja
Application granted granted Critical
Publication of JP5771973B2 publication Critical patent/JP5771973B2/ja
Expired - Fee Related legal-status Critical Current
Anticipated expiration legal-status Critical

Links

Images

Classifications

    • GPHYSICS
    • G10MUSICAL INSTRUMENTS; ACOUSTICS
    • G10KSOUND-PRODUCING DEVICES; METHODS OR DEVICES FOR PROTECTING AGAINST, OR FOR DAMPING, NOISE OR OTHER ACOUSTIC WAVES IN GENERAL; ACOUSTICS NOT OTHERWISE PROVIDED FOR
    • G10K11/00Methods or devices for transmitting, conducting or directing sound in general; Methods or devices for protecting against, or for damping, noise or other acoustic waves in general
    • G10K11/16Methods or devices for protecting against, or for damping, noise or other acoustic waves in general
    • G10K11/172Methods or devices for protecting against, or for damping, noise or other acoustic waves in general using resonance effects
    • EFIXED CONSTRUCTIONS
    • E04BUILDING
    • E04BGENERAL BUILDING CONSTRUCTIONS; WALLS, e.g. PARTITIONS; ROOFS; FLOORS; CEILINGS; INSULATION OR OTHER PROTECTION OF BUILDINGS
    • E04B1/00Constructions in general; Structures which are not restricted either to walls, e.g. partitions, or floors or ceilings or roofs
    • E04B1/62Insulation or other protection; Elements or use of specified material therefor
    • E04B1/74Heat, sound or noise insulation, absorption, or reflection; Other building methods affording favourable thermal or acoustical conditions, e.g. accumulating of heat within walls
    • E04B1/82Heat, sound or noise insulation, absorption, or reflection; Other building methods affording favourable thermal or acoustical conditions, e.g. accumulating of heat within walls specifically with respect to sound only
    • E04B1/84Sound-absorbing elements
    • E04B1/86Sound-absorbing elements slab-shaped
    • EFIXED CONSTRUCTIONS
    • E04BUILDING
    • E04BGENERAL BUILDING CONSTRUCTIONS; WALLS, e.g. PARTITIONS; ROOFS; FLOORS; CEILINGS; INSULATION OR OTHER PROTECTION OF BUILDINGS
    • E04B1/00Constructions in general; Structures which are not restricted either to walls, e.g. partitions, or floors or ceilings or roofs
    • E04B1/62Insulation or other protection; Elements or use of specified material therefor
    • E04B1/74Heat, sound or noise insulation, absorption, or reflection; Other building methods affording favourable thermal or acoustical conditions, e.g. accumulating of heat within walls
    • E04B1/82Heat, sound or noise insulation, absorption, or reflection; Other building methods affording favourable thermal or acoustical conditions, e.g. accumulating of heat within walls specifically with respect to sound only
    • E04B1/84Sound-absorbing elements
    • E04B2001/8423Tray or frame type panels or blocks, with or without acoustical filling
    • E04B2001/8433Tray or frame type panels or blocks, with or without acoustical filling with holes in their face

Landscapes

  • Physics & Mathematics (AREA)
  • Acoustics & Sound (AREA)
  • Engineering & Computer Science (AREA)
  • Architecture (AREA)
  • Multimedia (AREA)
  • Electromagnetism (AREA)
  • Civil Engineering (AREA)
  • Structural Engineering (AREA)
  • Soundproofing, Sound Blocking, And Sound Damping (AREA)
  • Building Environments (AREA)

Description

本発明は、音響空間における音響障害を防止する技術に関する。
ホールや劇場などの壁に囲まれた音響空間では、平行対面する壁面間で音が繰り返し反射することによりブーミングやフラッターエコーなどの音響障害が発生する。図10は、この種の音響障害の防止に好適な従来の音響構造体50を示す正面図である。この音響構造体50は、各々が異なる長さをもった複数の角筒状のパイプ51−j(j=1〜7)を全体として平面をなすように並列配置したものである。各パイプ51−j(j=1〜7)は、剛性率の高い材質の反射性の材料からなる。また、各パイプ51−j(j=1〜7)は、同じ方向を向いた開口部52−j(j=1〜7)を各々有している。この音響構造体50は、各パイプ51−j(j=1〜7)の開口部52−j(j=1〜7)を音響空間の中央に向けた状態で、音響空間の内壁や天井などに設置される。
このような構成において、音響構造体50の各パイプ51−j(j=1〜7)は、音響空間から各々の開口部52−j(j=1〜7)に入射する音波のうち特定の共鳴周波数の音波に共鳴する。この共鳴に伴って、パイプ51−j(j=1〜7)内の空洞から開口部52−j(j=1〜7)を介して音響空間に放射される音波が各パイプ51−j(j=1〜7)の各開口部52−j(j=1〜7)の近傍において吸音効果と散乱効果を発生させる。この結果、音響空間からパイプ51−j(j=1〜7)に向かって伝搬される音波がパイプ51−j(j=1〜7)において散逸され、ブーミングやフラッターエコーなどの音響障害の発生が防止される。なお、この種の音響構造体50は、たとえば、特許文献1に開示されている。
特開2002−30744号公報 特開2010−84509号公報
この種の音響構造体50において、吸音効果および散乱効果は、パイプ51−j(j=1〜7)の各々の構造により定まる共鳴周波数において発生する。ここで、各パイプ51−j(j=1〜7)は、基本モードの他に高次の共鳴モードを有している。従って、各パイプ51−j(j=1〜7)を基本モードで共鳴させるだけでなく、高次のモードで共鳴させることにより、広い帯域に亙って吸音効果と散乱効果を得ることが可能である。
しかしながら、実際には、音響構造体50のパイプ51−jでは、高周波帯域、特に、2kHz〜4kHzの周波数帯域の音波が開口部52−jに入射した場合に発生する吸音効果および散乱効果は低周波帯域の音波が開口部52−jに入射した場合に発生する吸音効果および散乱効果に比べると小さい。このため、音響空間内において高周波帯域の音波が発生した場合、その音波の音響エネルギーをパイプ51−jによって十分に散逸させることができなかった。
本発明は、内部に空洞が形成され前記空洞を包囲する板に開口部が設けられた音響構造体であって、前記板の前記空洞を向いていない側の面における前記開口部の近傍と前記開口部とを除いた領域に吸音素材を貼付したことを特徴とする音響構造体を提供する。この発明によると、吸音効果および散乱効果が発生し難い高周波帯域の音波が入射した場合、その音波の音響エネルギーが吸音素材によって失われる。よって、音響空間内において高周波帯域の音波が発生している場合でも、その空間内における音響障害の発生を確実に防止することができる。
この発明の第1実施形態である音響構造体を示す左側面図、正面図、および右側面図である。 同音響構造体の空洞の縦断面図である。 同音響構造体による吸音効果と散乱効果の発生の原理を示す図である。 この発明の第2実施形態である音響構造体を示す左側面図、正面図、および右側面図である。 この発明の第3実施形態である音響構造体を示す左側面図、正面図、および右側面図である。 この発明の第4実施形態である音響構造体を示す正面図および断面図である。 この発明の他の実施形態である音響構造体の開口部の形状を示す図である。 この発明の他の実施形態である音響構造体を示す正面図である。 この発明の他の実施形態である調音パネル機能付き扉の正面図及び断面図である。 従来の音響構造体を示す正面図である。
以下、図面を参照しつつ本発明の実施形態について説明する。
<第1実施形態>
図1(A)は、この発明の第1実施形態である音響構造体10を示す左側面図である。図1(B)は、音響構造体10を示す正面図である。図1(C)は、音響構造体10を示す右側面図である。この音響構造体10では、間隔を空けて対向する2枚の板18および19の間に板11−n(n=1〜7),20,および21が介在している。板18,19,11−n(n=1〜7),20,および21は、スチール材などの剛体からなる。板11−n(n=1〜7),20,および21は、板18と板19の間の空間を、左右方向に延在する空洞22−i(i=1〜6)に仕切っており、板20および21は、空洞22−i(i=1〜6)における左右の端部を塞いでいる。
この音響構造体10の板18には開口部21−i(i=1〜6)が設けられている。板18の開口部21−i(i=1〜6)における各開口部21−iは、板18,19,11−i,11−(i+1),20,および21によって包囲されている空洞22−iを、音響構造体10が設置される室空間である音響空間と連通させる役割を果たすものである。また、板18における空洞22−i(i=1〜6)を向いていない側の面(即ち、音波が入射する側の面:以下、反射面refという)には吸音素材30−m(m=1〜7)が貼付されている。吸音素材30−m(m=1〜7)の役割については、後述する。
音響構造体10は、開口部21−i(i=1〜6)を有する板18を音響空間の中央に向けた状態で、音響空間の内壁や天井に設置される。音響構造体10は、板18を音響空間の中央に向けた状態で設置されると、吸音効果および散乱効果を発生させ、音響空間から音響構造体10に向かって伝搬される音波の音響エネルギーを板18において散逸させる。音響構造体10による吸音効果および散乱効果の発生の原理は次に説明する通りである。
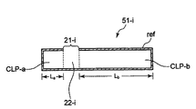
図2の断面図に示すように、音響構造体10における1つの開口部21−iの奥の空洞22−iには、開口部21−iを開口端とし空洞22−iの左側の端部を閉口端とする音響管CLP−aと、開口部21−iを開口端とし空洞22−iの右側の端部を閉口端とする音響管CLP−bとが形成されているとみなすことができる。音響空間から開口部21−iを介して空洞22−i内に音波が入射すると、空洞22−i内では、音響管CLP−aの開口端(開口部21−i)から閉口端(空洞22−iの左側の端部)に向かう進行波と、音響管CLP−bの開口端(開口部21−i)から閉口端(空洞22−iの右側の端部)に向かう進行波とが発生する。そして、前者の進行波は、音響管CLP−aの閉口端において反射され、その反射波が開口部21−iへ戻る。また、後者の進行波は、音響管CLP−bの閉口端において反射され、その反射波が開口部21−iへ戻る。
そして、音響管CLP−aでは、下記式(1)に示す共鳴周波数fa(n=1、2、…)において共鳴が発生し、音響管CLP−a内において進行波と反射波とを合成した音波は、音響管CLP−aの閉口端に粒子速度の節を有し、開口端に粒子速度の腹を有する定在波となる。また、音響管CLP−bでは、下記式(2)に示す共鳴周波数fb(n=1、2、…)において共鳴が発生し、音響管CLP−b内において進行波と反射波とを合成した音波は、音響管CLP−bの閉口端に粒子速度の節を有し、開口端に粒子速度の腹を有する定在波となる。なお、下記式(1)および(2)において、Laは音響管CLP−aの延在方向の長さ(空洞22−iの左側の端部から開口部21−iまでの長さ)、Lbは音響管CLP−bの延在方向の長さ(空洞22−iの右側の端部から開口部21−iまでの長さ)、cは音波の伝搬速度、nは1以上の整数である。
fa=(2n−1)・(c/(4・La)) (n=1,2…)…(1)
fb=(2n−1)・(c/(4・Lb)) (n=1,2…)…(2)
ここで、音響空間から開口部21−iおよび反射面ref(板18の空洞22−iを向いていない面)における開口部21−iの近傍に入射する音波のうち共鳴周波数faの成分に着目すると、音響管CLP−aの閉口端において反射されて開口部21−iから音響空間へと放射される音波は、音響空間から開口部21−iに入射する音波に対して逆相の音波となる。一方、反射面refにおける開口部21−iの近傍では、音響空間からの入射波が位相回転を伴うことなく反射される。
よって、図3に示すように、共鳴周波数fa(n=1、2…)の成分を含む音波が開口部21−iを介して空洞22−iに入射した場合、開口部21−iから見て入射方向(図3の吸音領域)に対しては、音響管CLP−aから開口部21−iを介して放射される音波と反射面refにおける開口部21−iの近傍の各点から反射される音波が逆相となって互いの位相が干渉し合い、吸音効果が発生する。また、開口部21−iからの音波と反射面refからの反射波とが互いに隣接する散乱領域では、開口部21−iからの音波と反射面refからの反射波の位相が不連続となる。このような位相差のある波が隣接することにより、散乱領域付近では、位相の不連続を解消しようとする気体分子の流れが発生する。この結果、散乱領域付近では、入射方向に対する鏡面反射方向以外の方向への音響エネルギーの流れが発生し、散乱効果が発生する。同様に、共鳴周波数fb(n=1、2、…)の成分を含む音波が開口部21−iを介して空洞22−iに入射した場合、開口部21−iへの入射方向に鏡面反射する方向(図3の吸音領域)に対しては、吸音効果が発生する。また、散乱領域付近では、散乱効果が発生する。
また、共鳴周波数faおよびfbの各々の近傍の周波数帯域においては、共鳴周波数faまたはfbからずれていたとしても、周波数がある程度近ければ、開口部21−iから音響空間に放射される音波の位相と反射面refから音響空間に放射される反射波の位相とが逆相に近い関係になる。このため、共鳴周波数faおよびfbの各々の近傍の周波数帯域では、共鳴周波数faまたはfbに対する周波数の近さに応じた程度の吸音効果および散乱効果が発生する。
以上が、吸音効果および散乱効果の原理の詳細である。上述したように、この吸音効果および散乱効果は、高周波帯域の音波についても発生するものの、その効果の大きさは低周波帯域のものの効果の大きさに比べると小さい。図1における吸音素材30−m(m=1〜7)は、このような高周波帯域における吸音効果と散乱効果の不足を補う役割を果たす。吸音素材30−m(m=1〜7)は、空気に対する比音響インピーダンス比ζの絶対値|ζ|が1以下の素材(たとえば、多孔質素材とする)を複数の小片とし、反射面refにおける以下の2つの条件a.b.を満足する位置に貼付したものである。
条件a.板18の反射面refにおける開口部21−i(i=1〜6)の近傍の領域を除いた領域内にある位置であること。より具体的には、各開口部21−iの周囲に散乱領域を発生させるように(図3参照)、板18の反射面refにおける開口部21−i(i=1〜6)およびそれらの近傍を含む領域の外側の位置に吸音素材30−m(m=1〜7)を貼り付けること。
条件b.複数の吸音素材30−m(m=1〜7)の各々を貼付する各位置は、吸音素材30−m(m=1〜7)間に十分な距離が空くように分散されていること。
以上説明したように、本実施形態では、吸音効果と散乱効果が発生しにくい高周波帯域の音波が開口部21−i(i=1〜6)と反射面refを有する板18に入射した場合には、反射面refに貼付された吸音素材30−m(m=1〜7)にその音波が吸収される。従って、低周波帯域から高周波帯域までの広い周波数帯域の音波について、ブーミングやフラッターエコーなどの音響障害の発生を確実に防止することができる。
また、本実施形態では、反射面refにおける開口部21−i(i=1〜6)の近傍の領域を除いた領域に吸音素材30−m(m=1〜7)が貼付されている。よって、反射面refにおける開口部21−i(i=1〜6)の近傍の領域からの入射波と同位相の反射波の放射が吸音素材30−m(m=1〜7)によって妨げられることがない。従って、反射面refに吸音素材30−m(m=1〜7)が貼付されていない場合と同等の吸音効果および散乱効果を発生させることができる。
また、本実施形態では、吸音素材30−m(m=1〜7)は小片とされ、それらの吸音素材30−m(m=1〜7)が、各々の間に十分な距離が空くように分散して貼付されている。反射面refにおける吸音素材30−m(m=1〜7)の各々の周囲の各点で反射した音波は、反射後の回折によって吸音素材30−m(m=1〜7)に入射し、吸音素材30−m(m=1〜7)に吸収される。よって、吸音素材30−m(m=1〜7)を反射面refにおける一か所に纏めて貼付した場合よりも単位面積当たりの吸音率を高くすることができる。
<第2実施形態>
図4(A)は、この発明の第2実施形態である音響構造体10Aを示す左側面図である。図4(B)は、音響構造体10Aを示す正面図である。図4(C)は、音響構造体10Aを示す右側面図である。図4(A),図4(B),および図4(C)において、音響構造体10A(図1(A),図1(B),図1(C))と同じ要素には同一の符号を付してある。この音響構造体10Aでは、板18の反射面refにおける板11−2,11−3,11−4,11−5,11−6の反対側に相当する位置に、それらの板11−2,11−3,11−4,11−5,11−6と平行な帯状の吸音素材32,33,34,35,36が貼付されている。
本実施形態によっても、低周波帯域から高周波帯域までの広い周波数帯域の音波について、音響空間内における音響障害の発生を確実に防止することができる。
<第3実施形態>
図5(A)は、この発明の第3実施形態である音響構造体10Bを示す左側面図である。図5(B)は、音響構造体10Bを示す正面図である。図5(C)は、音響構造体10Bを示す右側面図である。図5(A),図5(B),図5(C)において、音響構造体10B(図1(A),図1(B),図1(C))と同じ要素には同一の符号を付してある。この音響構造体10Bでは、板18の反射面refにおける開口部21−i(i=1〜6)と開口部21−i(i=1〜6)の近傍とを除いた領域の全面に亙って吸音素材38が貼付されている。
本実施形態によっても、低周波帯域から高周波帯域までの広い周波数帯域の音波について、音響空間内における音響障害の発生を確実に防止することができる。
<第4実施形態>
図6(A)は、この発明の第4実施形態である音響構造体10Cを示す正面図である。図6(B)は、図6(A)のB−B’線断面図である。図6(C)は、図6(A)のC−C’線断面図である。上記第1〜第3実施形態である音響構造体10、10A、および10Bでは、板18上に吸音素材が貼付されていた。これに対し、本実施形態である音響構造体10Cでは、当該音響構造体10Cの外殻をなす6枚の板58,59,60,61,62,63の内部が9つの空洞72−k(k=1〜9)に区画されており、9つの空洞72−k(k=1〜9)のうちの空洞72−4に吸音素材80が装填され、この吸音素材80が板58の開口部73−4から外部の音響空間に露出している。より具体的に説明すると、この音響構造体10Cでは、上下方向に対向する2枚の板58及び59の間に板60〜71が介在している。板60〜71のうち板60及び61は、各々の間に板58の左右方向の幅と同じ距離D1を空けて左右方向に対向している。板62及び63は、各々の間に板58の前後方向の幅と同じ距離D2を空けて前後方向に対向している。板62と板63の間には、板64,65,66,67,68が、隣合うもの同士の間に距離D3を空けて配置されている。さらに、板64と板65の間における板61から距離D4だけ離れた位置には板69が配置されている。板66と板67の間における板61から距離D5だけ離れた位置には板70が配置されている。板67と板68の間における板61から距離D6だけ離れた位置には板71が配置されている。
この音響構造体10Cの板58には開口部73−k(k=1〜9)が設けられている。これらの開口部73−k(k=1〜9)のうち開口部73−1,73−2,73−3,73−5,73−6,73−7,73−8,73−9は、板62及び64間の距離D3と同じ縦幅および横幅を持った正方形状をなしている。開口部73−4は、板62及び64間の距離D3と同じ縦幅並びに板20及び21間の距離D1と同じ横幅を持った長方形状をなしている。
開口部73−1は、板58,59,60,61,62,64に包囲されている空洞72−1を外部の音響空間と連通させる役割を果たし、開口部73−2は、板58,59,60,64,65,69に包囲されている空洞72−2を外部の音響空間と連通させる役割を果たす。開口部73−3は、板58,59,61,64,65,69に包囲されている空洞72−3を外部の音響空間と連通させる役割を果たし、開口部73−5は、板58,59,60,66,67,70に包囲されている空洞72−5を外部の音響空間と連通させる役割を果たす。開口部73−6は、板58,59,61,66,67,70に包囲されている空洞72−6を外部の音響空間と連通させる役割を果たし、開口部73−7は、板58,59,60,67,68,71に包囲されている空洞72−7を外部の音響空間と連通させる役割を果たす。開口部73−8は、板58,59,61,67,68,71に包囲されている空洞72−8を外部の音響空間と連通させる役割を果たし、開口部73−9は、板58,59,60,61,63,68に包囲されている空洞72−9を外部の音響空間と連通させる役割を果たす。開口部73−4は、板58,59,60,61,65,66に包囲されている空洞72−4を外部の音響空間と連通させる役割を果たす。そして、この開口部73−4の奥の空洞72−4には、吸音素材80が装填されており、この吸音素材80は、開口部73−4を介して音響空間に露出している。また、この吸音素材80における開口部73−4から露出した部分は、開口部73−4が設けられた板58と面一になっている。以上が、音響構造体10Cの構成の詳細である。
この音響構造体10Cでは、当該音響構造体10Cの板58に吸音素材が貼付されておらず、その9つの空洞72−k(k=1〜9)のうち一部の空洞72−4に吸音素材80が装填されている。そして、この吸音素材80が開口部73−4を介して音響空間に露出している。よって、この音響構造体10Cによると、当該音響構造体10C自体の厚みを均一にすることができる。また、吸音素材が板58から剥がれ落ちて吸音効果および散乱効果を発生させることができなくなる、という問題の発生も防ぐことができる。
以上、この発明の一実施形態について説明したが、この発明には他にも実施形態があり得る。例えば、以下の通りである。
(1)上記第1〜第3実施形態において、音響構造体10,10A,10Bの空洞22−iの数を7つ以上としてもよいし、5つ以下としてもよい。また、空洞22−iの各々の横幅を変えてもよい。
(2)上記第1〜第3実施形態において、吸音素材30−m(m=1〜7),31,32,33,34,35,36,37として多孔質素材以外の素材を用いてもよい。
(3)上記第1〜第3実施形態において、1つの空洞22−iが5枚以下の板により包囲されるような構成としてもよいし、1つの空洞22−iが7枚以上の板により包囲されるような構成としてもよい。
(4)上記第3実施形態では、空洞22−iが正方形状をなしており、反射面refにおける開口部22−iの近傍の吸音素材38が貼付されていない領域が空間22−iよりもひと回り大きな正方形状をなしていた。しかし、空洞22−iやその近傍の吸音材38が貼付されていない領域を正方形以外の形状(例えば、真円や正方形の4隅を湾曲させた形状)としてもよい。この場合において、図7(A)や図7(B)に示すように、開口部22−iの近傍の吸音素材38が貼付されていない領域ARを、当該領域ARの内周IN上の各点から開口部22−iの外周OUTまでの最短距離が均一になるようなものとしてもよい。また、開口部22−iの外周OUTと開口部22−iの近傍の吸音素材38が貼付されていない領域ARの内周INとを異なる形状にしてもよい。例えば、図7(C)に示すように、開口部22−iの外周OUTを、正方形状とし、開口部22−iの近傍の吸音素材38が貼付されていない領域ARの内周INを、正方形の4隅を湾曲させた形状として、当該領域ARの内周IN上の各点から開口部22−iの外周OUTまでの最短距離が均一になるようにしてもよい。
(5)上記第1〜第3実施形態において、開口部21−i(i=1〜6)のうちの少なくとも一つ(たとえば、開口部21−1とする)における板18と平行な切断面の面積Sを空洞22−1における板18と直交する切断面の面積Sよりも小さくするとよい。面積Sを面積Sより小さくした音響構造体10Dによると、より広い帯域において吸音効果と散乱効果を発生させることができるからである。
面積Sを面積Sより小さくすることにより、広い帯域において吸音効果を発生させることができる理由は、次の通りである。上述したように、吸音効果は、音響構造体10内の共鳴管CLP−aおよびCLP−bの共鳴周波数faおよびfbとその近傍の周波数の音波が音響構造体10に入射した場合に、開口部21−iから音響空間に放射される音波の位相と反射面refから音響空間に放射される反射波の位相とが逆相に近い関係になることにより発生する効果である。従って、音響構造体10の開口部21−iを介して音響構造体10内に入射する音波と開口部21−iからその音波の入射方向に向かって反射される反射波とが逆相関係に近くなるような周波数帯域が広いほど、吸音効果が発生する帯域も広くなるはずである。
ここで、第1の媒質(たとえば、開口部21−i内の空気や音響構造体10の材料である剛体)に向かって第2の媒質(たとえば、音響空間内の空気)から音波が垂直に入射した場合に両媒質の境界面bsurから入射方向に反射される反射波の振幅及び位相は、境界面bsurの比音響インピーダンス比ζ(ζ=r+jx:r=Re(ζ),x=Im(ζ))に依存して決まる。より具体的に説明すると、境界面bsurの比音響インピーダンス比ζの絶対値|ζ|が1未満である場合には、境界面bsurからは境界面bsurに入射する音波に対して±180°以内の位相差を持った反射波が放出される。そして、Im(ζ)>0であれば比音響インピーダンス比ζの虚部Im(ζ)の絶対値|Im(ζ)|が小さいほど位相差は+180°に近づいていき、Im(ζ)<0であれば比音響インピーダンス比ζの虚部Im(ζ)の絶対値|Im(ζ)|が小さいほど位相差は−180°に近づいていく。
さらに、開口部21−iの切断面の面積Sと空洞22−iの切断面の面積Sの面積比rs(rs=S/S)が1より大きい(つまり、S>S)場合と面積比rsが1より小さい(つまり、S<S)場合の各々における比インピーダンス比ζの虚部Im(ζ)の周波数特性を比較すると、前者よりも後者の方が、周波数特性における虚部Im(ζ)がある値(例えば、Im(ζ)=1)以下となる帯域が広い(この面積比rsと虚部Im(ζ)の周波数特性との関係については、特許文献2(特に、図9)を参照されたい。)。よって、面積Sが面積Sよりも小さいほど、より広い帯域に渡って、開口部22−1に入射する音波に対して逆相に近い位相差を持った反射波を開口部21−iから放射することができる。以上の理由により、面積Sを面積Sより小さくすることにより、より広い帯域において吸音効果を発生させることができる。
(6)上記第4実施形態において、音響構造体10Cの空洞72−kの数を2個〜8個としてもよいし、10個以上としてもよい。また、第4実施形態では、吸音素材80が装填される空洞72−4の幅を他の空洞72−1〜72−3および72−5〜72−9と同じ幅にしたが、他の空洞と幅を異ならせてもよい。また、図8に示す音響構造体10C’のように、空洞72−4自体の左右方向の幅D1よりも、その空洞72−4を外部と連通させる役割を果たす開口部73−4の左右方向の幅D7を短くしてもよい。この場合において、空洞72−4内における開口部73−4の真下の空間にのみ吸音素材80を装填し、空洞72−4内における吸音素材80の左右の側に密閉された空間ができるようにしてもよい。
(7)上記第4実施形態において、吸音素材80として多孔質素材以外の素材を用いてもよい。
(8)上記第4実施形態では、吸音素材80を装填する空洞72−4は、左右方向に伸びた形状をなしていた。しかし、空洞72−4を前後方向に伸びた形状としてもよいし、斜め方向に伸びた形状としてもよい。また、それらの形状を組み合わせた形状としてもよい。
(9)上記第4実施形態における音響構造体10Cを両面または片面に備えた扉を構成してもよい。図9は、音響構造体10Cを両面に備えた扉の一例である調音パネル機能付き扉10Eの正面図とそのE−E’線断面図である。この調音パネル機能付き扉10Eは、前面板5Fと後面板5B(不図示)とを空間を空けて重ね合わせ、板5F及び5Bの上下左右の縁に板6U,6D、7L、および7Rを接合したものである。この扉10Fの前面板5Fと後面板5BにはドアノブNBが設けられている。また、この扉10Eにおける板5F,5D,6U,6D,7L,7Rに囲まれた空間は9つの空洞1−k(k=1〜9)に区画されている。さらに、これらの空洞1−k(k=1〜9)のうちの空洞1−3は、板5F及び5Bと平行な中板10Cを間に挟んで板5F側の空洞1’−3と板5B側の空洞1”−3とに区画されている。板5Fには、空洞1−1,1−2,1’−3,1−4,1−9を外部と連通させる開口部2−1,2−2,2’−3,2−4,2−9が設けられている。板5Bには、空洞1”−3,1−5,1−6,1−7,1−8を外部と連通させる開口部2”−3,2−5,2−6,2−7,2−8が設けられている。この扉10Eでは、空洞1’−3には吸音素材3’が装填されており、この吸音素材3’が開口部2’−3を介して外部に露出している。また、空洞1”−3には吸音素材3”が装填されており、この吸音素材3”が開口部2”−3を介して外部に露出している。この調音パネル機能付き扉10Eによると、当該扉10Eを挟んで隔てられた2つの音響空間の各々において、吸音効果および散乱効果を発生させることができる。また、この実施形態において、吸音素材3’及び3”と板5Cは光を通すように透明乃至半透明な素材により形成されていてもよい。
10,10A,10B,10C…音響構造体、10E…調音パネル機能付き扉、11,18,19,20,21,58,59,60,61,62,63,64,65,66,67,68,69,70,71…板、21,71…開口部、22,72…空洞、30,31,32,33,34,35,36,37,80…吸音素材。

Claims (4)

  1. 内部に空洞が形成され前記空洞を包囲する板に開口部が設けられた音響構造体であって、前記板の前記空洞を向いていない側の面における前記開口部の周囲に散乱領域を発生させるように前記開口部およびその近傍の外側の領域に吸音素材を配置したことを特徴とする音響構造体。
  2. 前記吸音素材を前記領域に貼付したことを特徴とする請求項1に記載の音響構造体。
  3. 複数の前記吸音素材を各々の間に間隔を空けて前記領域に配置したことを特徴とする請求項1または2に記載の音響構造体。
  4. 前記吸音素材として、多孔質素材が用いられていることを特徴とする請求項1乃至3のいずれか1の請求項に記載の音響構造体。
JP2010279660A 2010-05-17 2010-12-15 音響構造体 Expired - Fee Related JP5771973B2 (ja)

Priority Applications (7)

Application Number Priority Date Filing Date Title
JP2010279660A JP5771973B2 (ja) 2010-05-17 2010-12-15 音響構造体
US13/106,648 US8631901B2 (en) 2010-05-17 2011-05-12 Acoustic structure
EP11003932.8A EP2402936B1 (en) 2010-05-17 2011-05-12 Acoustic structure
CN201310058565.0A CN103325369B (zh) 2010-05-17 2011-05-17 声学结构
CN2011101279494A CN102347025A (zh) 2010-05-17 2011-05-17 声学结构
KR1020137006388A KR101452662B1 (ko) 2010-12-15 2011-12-15 음향 구조체
PCT/JP2011/079062 WO2012081672A1 (ja) 2010-12-15 2011-12-15 音響構造体

Applications Claiming Priority (3)

Application Number Priority Date Filing Date Title
JP2010113690 2010-05-17
JP2010113690 2010-05-17
JP2010279660A JP5771973B2 (ja) 2010-05-17 2010-12-15 音響構造体

Related Child Applications (1)

Application Number Title Priority Date Filing Date
JP2014236504A Division JP5958523B2 (ja) 2010-05-17 2014-11-21 音響構造体

Publications (2)

Publication Number Publication Date
JP2012003226A JP2012003226A (ja) 2012-01-05
JP5771973B2 true JP5771973B2 (ja) 2015-09-02

Family

ID=44712945

Family Applications (1)

Application Number Title Priority Date Filing Date
JP2010279660A Expired - Fee Related JP5771973B2 (ja) 2010-05-17 2010-12-15 音響構造体

Country Status (4)

Country Link
US (1) US8631901B2 (ja)
EP (1) EP2402936B1 (ja)
JP (1) JP5771973B2 (ja)
CN (2) CN103325369B (ja)

Families Citing this family (11)

* Cited by examiner, † Cited by third party
Publication number Priority date Publication date Assignee Title
JP5834816B2 (ja) * 2011-11-22 2015-12-24 ヤマハ株式会社 音響構造体
JP5761136B2 (ja) 2012-07-31 2015-08-12 ヤマハ株式会社 音響構造体
US9378721B2 (en) * 2013-11-06 2016-06-28 Zin Technologies, Inc. Low frequency acoustic attenuator and process for making same
US9697817B2 (en) 2015-05-14 2017-07-04 Zin Technologies, Inc. Tunable acoustic attenuation
CN105913837B (zh) * 2016-04-15 2019-09-13 南京大学 一种超薄的施罗德散射体
US10657947B2 (en) * 2017-08-10 2020-05-19 Zin Technologies, Inc. Integrated broadband acoustic attenuator
US11905703B2 (en) * 2018-12-21 2024-02-20 The Hong Kong University Of Science And Technology Soft acoustic boundary plate
US12006643B2 (en) * 2020-05-27 2024-06-11 Mute Wall Systems, Inc. Sound dampening barrier wall
CN113432832B (zh) * 2021-06-24 2023-01-03 哈尔滨工程大学 一种测量海洋管道流激噪声和涡激噪声的试验装置
CN113432696B (zh) * 2021-06-24 2023-01-03 哈尔滨工程大学 一种测量浅海中海洋管道声散射强度的装置及方法
US12397593B2 (en) * 2023-02-22 2025-08-26 Toyota Motor Engineering & Manufacturing North America, Inc. Sound-absorbing device for a vehicle wheel

Family Cites Families (18)

* Cited by examiner, † Cited by third party
Publication number Priority date Publication date Assignee Title
US2350513A (en) * 1940-12-30 1944-06-06 Burgess Manning Co Sound barrier wall or door construction
FR1149040A (fr) 1956-06-26 1957-12-19 Procédé et dispositif pour la fabrication d'éléments (corps) absorbant le bruit dans des pièces
US2887173A (en) * 1957-05-22 1959-05-19 G A Societa Per Azioni Sa Sound absorbing and insulating panel
US2989136A (en) * 1959-04-14 1961-06-20 Wohlberg George Sound attenuation
US3837426A (en) * 1974-01-04 1974-09-24 Junger M Sound absorbing structural block
US4821841A (en) * 1987-06-16 1989-04-18 Bruce Woodward Sound absorbing structures
JPH01156797A (ja) * 1987-12-15 1989-06-20 Matsushita Electric Works Ltd 吸音装置
US4989688A (en) * 1989-02-16 1991-02-05 Soltech, Inc. Acoustical wall panel and method of assembly
JPH06158751A (ja) * 1992-11-25 1994-06-07 Matsushita Electric Ind Co Ltd 音響吸音体
JP2785687B2 (ja) * 1994-05-02 1998-08-13 ヤマハ株式会社 吸音構造体
CH690143A5 (de) * 1995-01-27 2000-05-15 Rieter Automotive Int Ag Lambda/4-Schallabsorber.
US6021612A (en) * 1995-09-08 2000-02-08 C&D Technologies, Inc. Sound absorptive hollow core structural panel
JP3475917B2 (ja) 2000-07-13 2003-12-10 ヤマハ株式会社 音響放射構造体および音響室
CA2479258A1 (en) * 2002-03-14 2003-09-18 Wienerberger Bricks N.V. Acoustic construction element
US20060059801A1 (en) 2004-09-15 2006-03-23 Quality Research Development & Consulting, Inc. Acoustically intelligent structures with resonators
JP5326946B2 (ja) * 2008-09-02 2013-10-30 ヤマハ株式会社 音響構造体および音響室
JP2010085989A (ja) * 2008-09-02 2010-04-15 Yamaha Corp 音響構造体および音響室
CN101404159A (zh) 2008-10-14 2009-04-08 江苏中能电力设备有限公司 大噪音设备隔音装置上的一种隔音模块

Also Published As

Publication number Publication date
CN103325369B (zh) 2016-05-25
EP2402936A1 (en) 2012-01-04
US20110278091A1 (en) 2011-11-17
EP2402936B1 (en) 2016-12-21
CN103325369A (zh) 2013-09-25
US8631901B2 (en) 2014-01-21
JP2012003226A (ja) 2012-01-05
CN102347025A (zh) 2012-02-08

Similar Documents

Publication Publication Date Title
JP5771973B2 (ja) 音響構造体
JP5326946B2 (ja) 音響構造体および音響室
JP3763682B2 (ja) スピーカ装置
JP2815542B2 (ja) 多孔質構造体を用いた吸音機構
US11493232B2 (en) Silencing system
JP4417489B2 (ja) 導波管による電気音響的変換
JP5920418B2 (ja) 音響構造体
CN111164672B (zh) 隔音结构体
US12067963B2 (en) Soundproof structure body
JP2016170194A (ja) 吸音体、吸音構造
JP5958523B2 (ja) 音響構造体
WO2012081672A1 (ja) 音響構造体
JP6275608B2 (ja) 吸音構造および防音室
JP7737444B2 (ja) 防音構造付き通気路
JP5672765B2 (ja) 音響構造体
JP6044070B2 (ja) 音響構造体
JP4114463B2 (ja) 吸音構造及び吸遮音構造体
WO2019181614A1 (ja) 防音セル、及びこれを用いる防音構造
CN119007699B (zh) 一种深亚波长低频吸声单元、吸声结构及吸声方法
JP5923965B2 (ja) 音響構造体
JP2018124020A (ja) 換気用開口部

Legal Events

Date Code Title Description
A621 Written request for application examination

Free format text: JAPANESE INTERMEDIATE CODE: A621

Effective date: 20131022

A131 Notification of reasons for refusal

Free format text: JAPANESE INTERMEDIATE CODE: A131

Effective date: 20140930

A521 Request for written amendment filed

Free format text: JAPANESE INTERMEDIATE CODE: A523

Effective date: 20141121

TRDD Decision of grant or rejection written
A01 Written decision to grant a patent or to grant a registration (utility model)

Free format text: JAPANESE INTERMEDIATE CODE: A01

Effective date: 20150602

A61 First payment of annual fees (during grant procedure)

Free format text: JAPANESE INTERMEDIATE CODE: A61

Effective date: 20150615

LAPS Cancellation because of no payment of annual fees