JP5677603B2 - 基板洗浄システム、基板洗浄方法および記憶媒体 - Google Patents

基板洗浄システム、基板洗浄方法および記憶媒体 Download PDF

Info

Publication number
JP5677603B2
JP5677603B2 JP2014096437A JP2014096437A JP5677603B2 JP 5677603 B2 JP5677603 B2 JP 5677603B2 JP 2014096437 A JP2014096437 A JP 2014096437A JP 2014096437 A JP2014096437 A JP 2014096437A JP 5677603 B2 JP5677603 B2 JP 5677603B2
Authority
JP
Japan
Prior art keywords
substrate
liquid
unit
holding
wafer
Prior art date
Legal status (The legal status is an assumption and is not a legal conclusion. Google has not performed a legal analysis and makes no representation as to the accuracy of the status listed.)
Active
Application number
JP2014096437A
Other languages
English (en)
Other versions
JP2014140085A (ja
Inventor
都 金子
都 金子
折居 武彦
武彦 折居
菅野 至
至 菅野
Current Assignee (The listed assignees may be inaccurate. Google has not performed a legal analysis and makes no representation or warranty as to the accuracy of the list.)
Tokyo Electron Ltd
Original Assignee
Tokyo Electron Ltd
Priority date (The priority date is an assumption and is not a legal conclusion. Google has not performed a legal analysis and makes no representation as to the accuracy of the date listed.)
Filing date
Publication date
Application filed by Tokyo Electron Ltd filed Critical Tokyo Electron Ltd
Priority to JP2014096437A priority Critical patent/JP5677603B2/ja
Publication of JP2014140085A publication Critical patent/JP2014140085A/ja
Application granted granted Critical
Publication of JP5677603B2 publication Critical patent/JP5677603B2/ja
Active legal-status Critical Current
Anticipated expiration legal-status Critical

Links

Images

Landscapes

  • Cleaning Or Drying Semiconductors (AREA)

Description

開示の実施形態は、基板洗浄システム、基板洗浄方法および記憶媒体に関する。
従来、シリコンウェハや化合物半導体ウェハ等の基板に付着したパーティクルの除去を行う基板洗浄装置が知られている。
この種の基板洗浄装置としては、基板の主面に液体や気体等の流体を供給することによって生じる物理力を利用してパーティクルを除去するものがある(特許文献1参照)。また、基板の主面にSC1等の薬液を供給し、供給した薬液が持つ化学的作用(たとえば、エッチング作用)を利用してパーティクルを除去する基板洗浄装置も知られている(特許文献2参照)。
特開平8−318181号公報 特開2007−258462号公報
しかしながら、特許文献1に記載の技術のように物理力を利用してパーティクルを除去する手法では、基板の主面に形成されたパターンが物理力によって倒壊するおそれがあった。
また、特許文献2に記載の技術のように、薬液の化学的作用を利用してパーティクルを除去する手法では、たとえばエッチング作用等によって基板の下地膜が侵食されるおそれがあった。
実施形態の一態様は、パターン倒れや下地膜の侵食を抑えつつ、基板に付着したパーティクルを除去することのできる基板洗浄システム、基板洗浄方法および記憶媒体を提供することを目的とする。
実施形態の一態様に係る基板洗浄システムは、第1処理部と、第2処理部と、裏面洗浄部とを備える。第1処理部は、基板を保持する第1保持部と、揮発成分を含み基板の主面全面に膜を形成するための処理液を基板へ供給する第1供給部とを含む。第2処理部は、基板を保持する第2保持部と、第1供給部によって基板に供給された処理液から揮発成分が揮発することによって基板上で固化または硬化して形成された膜の全てを溶解させる除去液を基板へ供給し、基板上に残存する溶解した膜及び除去液を基板上から除去するリンス液を基板へ供給する第2供給部とを含む。裏面洗浄部は、第2保持部に保持された基板の裏面中心に洗浄液を供給する。
実施形態の一態様によれば、パターン倒れや下地膜の侵食を抑えつつ、基板に付着したパーティクルを除去することができる。また、基板に処理液を供給する場合と基板に除去液を供給する場合とで異なる保持部を用いることとしたため、除去液を供給する場合に基板を保持する第2保持部に処理液が付着することを防止することができる。
図1は、第1の実施形態に係る基板洗浄システムの概略構成を示す模式図である。 図2Aは、基板洗浄方法の説明図である。 図2Bは、基板洗浄方法の説明図である。 図2Cは、基板洗浄方法の説明図である。 図3は、第1処理部の構成を示す模式図である。 図4は、第2処理部の構成を示す模式図である。 図5は、基板洗浄装置が実行する基板洗浄処理の処理手順を示すフローチャートである。 図6Aは、第1処理部の動作説明図である。 図6Bは、第1処理部の動作説明図である。 図6Cは、第1処理部の動作説明図である。 図7Aは、第2処理部の動作説明図である。 図7Bは、第2処理部の動作説明図である。 図8Aは、第2処理部の動作説明図である。 図8Bは、第2処理部の動作説明図である。 図8Cは、第2処理部の動作説明図である。 図9は、第2の実施形態に係る第2処理部の構成を示す模式図である。 図10Aは、第2処理部が備える回転保持機構の変形例を示す模式図である。 図10Bは、第2処理部が備える回転保持機構の変形例を示す模式図である。 図11Aは、ウェハの持ち替えタイミングを示す図である。 図11Bは、ウェハの持ち替えタイミングの他の例を示す図である。 図11Cは、ウェハの持ち替えタイミングの他の例を示す図である。 図12Aは、第1処理部に揮発促進機能を設ける場合の変形例を示す図である。 図12Bは、第1処理部に揮発促進機能を設ける場合の変形例を示す図である。 図13は、第5の実施形態に係る基板洗浄システムの概略構成を示す模式図である。 図14は、第3処理部の構成の一例を示す模式図である。 図15Aは、本洗浄方法と2流体洗浄との比較条件の説明図である。 図15Bは、本洗浄方法と2流体洗浄との比較条件の説明図である。 図16は、本洗浄方法と2流体洗浄との比較結果を示す図である。 図17は、本洗浄方法と薬液洗浄との比較結果を示す図である。 図18は、本洗浄方法と薬液洗浄との比較結果を示す図である。
以下、添付図面を参照して、本願の開示する基板洗浄システム、基板洗浄方法および記憶媒体の実施形態を詳細に説明する。なお、以下に示す実施形態によりこの発明が限定されるものではない。
(第1の実施形態)
<基板洗浄システムの概略構成>
まず、第1の実施形態に係る基板洗浄システムの概略構成について図1を参照して説明する。図1は、第1の実施形態に係る基板洗浄システムの概略構成を示す図である。なお、以下においては、位置関係を明確にするために、互いに直交するX軸、Y軸およびZ軸を規定し、Z軸正方向を鉛直上向き方向とする。また、以下では、X軸負方向側を基板洗浄システムの前方、X軸正方向側を基板洗浄システムの後方と規定する。
図1に示すように、基板洗浄システム100は、搬入出ステーション1と、搬送ステーション2と、処理ステーション3とを備える。これら搬入出ステーション1、搬送ステーション2および処理ステーション3は、基板洗浄システム100の前方から後方へ、搬入出ステーション1、搬送ステーション2および処理ステーション3の順で配置される。
搬入出ステーション1は、複数枚(たとえば、25枚)のウェハWを水平状態で収容するキャリアCが載置される場所であり、たとえば4個のキャリアCが搬送ステーション2の前壁に密着させた状態で左右に並べて載置される。
搬送ステーション2は、搬入出ステーション1の後方に配置され、内部に基板搬送装置21と基板受渡台22とを備える。かかる搬送ステーション2では、基板搬送装置21が、搬入出ステーション1に載置されたキャリアCと基板受渡台22との間でウェハWの受け渡しを行う。
処理ステーション3は、搬送ステーション2の後方に配置される。かかる処理ステーション3には、中央部に基板搬送装置31が配置される。
また、処理ステーション3には、基板洗浄装置7が配置される。かかる基板洗浄装置7は、第1処理部5と、この第1処理部5と異なる処理部を構成する第2処理部6とを備える。
第1処理部5および第2処理部6は、基板搬送装置31の左右両側にそれぞれ配置される。処理ステーション3には、かかる第1処理部5および第2処理部6のペアが、前後方向に並べて合計6個配置される。なお、第1処理部5および第2処理部6の配置は、図示のものに限定されない。
かかる処理ステーション3では、基板搬送装置31が、搬送ステーション2の基板受渡台22、第1処理部5および第2処理部6間でウェハWを1枚ずつ搬送し、各基板洗浄装置7の第1処理部5および第2処理部6が、ウェハWに対して1枚ずつ基板洗浄処理を行う。
また、基板洗浄システム100は、制御装置8を備える。制御装置8は、基板洗浄システム100の動作を制御する装置である。かかる制御装置8は、たとえばコンピュータであり、図示しない制御部と記憶部とを備える。記憶部には、基板洗浄処理等の各種の処理を制御するプログラムが格納される。制御部は記憶部に記憶されたプログラムを読み出して実行することによって基板洗浄システム100の動作を制御する。
なお、かかるプログラムは、コンピュータによって読み取り可能な記録媒体に記録されていたものであって、その記録媒体から制御装置8の記憶部にインストールされたものであってもよい。コンピュータによって読み取り可能な記録媒体としては、たとえばハードディスク(HD)、フレキシブルディスク(FD)、コンパクトディスク(CD)、マグネットオプティカルディスク(MO)、メモリカードなどがある。
なお、図1では、便宜上、制御装置8が、基板洗浄システム100の外部に設けられる場合を示しているが、制御装置8は、基板洗浄システム100の内部に設けられてもよい。たとえば、制御装置8は、第1処理部5または第2処理部6の上部スペースに収容することができる。
このように構成された基板洗浄システム100では、まず、搬送ステーション2の基板搬送装置21が、搬入出ステーション1に載置されたキャリアCから1枚のウェハWを取り出し、取り出したウェハWを基板受渡台22に載置する。基板受渡台22に載置されたウェハWは、処理ステーション3の基板搬送装置31によって第1処理部5へ搬入され、その後、第2処理部6へ搬入される。これら第1処理部5および第2処理部6において行われる基板洗浄処理の詳細については、後述する。
第1処理部5および第2処理部6によって洗浄されたウェハWは、基板搬送装置31により第2処理部6から搬出され、基板受渡台22に再び載置される。そして、基板受渡台22に載置された処理済のウェハWは、基板搬送装置21によってキャリアCに戻される。
ここで、従来の基板洗浄装置においては、物理力を利用したパーティクル除去や薬液の化学的作用を利用したパーティクル除去を行っていた。しかしながら、これらの手法では、ウェハの主面に形成されたパターンが物理力によって倒壊したり、エッチング作用等によってウェハの下地膜が侵食されたりするおそれがあった。
そこで、第1の実施形態に係る基板洗浄装置7では、これらの手法に代えて、処理液の体積変化を利用したパーティクル除去を行うことで、パターン倒れや下地膜の侵食を抑えつつ、ウェハWに付着したパーティクルを除去することとした。
<基板洗浄方法の内容>
次に、第1の実施形態に係る基板洗浄装置7が行う基板洗浄方法の内容について図2A〜図2Cを参照して説明する。図2A〜図2Cは、基板洗浄方法の説明図である。なお、以下においては、ウェハWの回路形成面を「主面」とし、主面と反対側の面を「裏面」とする。
図2Aに示すように、第1の実施形態では、処理液として、揮発成分を含みウェハWの主面全面に膜を形成するための処理液(以下、「成膜用処理液」と記載する)を用いる。具体的には、ウェハW上にトップコート膜を形成するための成膜用処理液(以下、「トップコート液」と記載する)を用いることとした。なお、トップコート膜とは、レジスト膜への液浸液の浸み込みを防ぐためにレジスト膜の表面に塗布される保護膜である。液浸液は、たとえばリソグラフィ工程における液浸露光に用いられる液体である。
図2Aに示すように、基板洗浄装置7は、トップコート液をウェハW上に供給する。ウェハW上に供給されたトップコート液は、その内部に含まれる揮発成分が揮発することによって体積収縮を起こす。さらに、トップコート液には、固化または硬化する際に体積が収縮する性質を有するアクリル樹脂が含まれており、かかるアクリル樹脂の硬化収縮によってもトップコート液の体積収縮が引き起こされる。なお、ここでいう「固化」とは、固体化することを意味し、「硬化」とは、分子同士が連結して高分子化すること(たとえば架橋や重合等)を意味する。
そして、トップコート液は、体積収縮を起こしながら固化または硬化していき、トップコート膜となる。このとき、トップコート液の体積収縮により生じる歪み(引っ張り力)によって、パターン等に付着したパーティクルは、パターン等から引き離される(図2B参照)。
トップコート液は、揮発成分の揮発およびアクリル樹脂の硬化収縮によって体積収縮が引き起こされるため、揮発成分のみを含む成膜用処理液と比べて体積収縮率が大きく、パーティクルを強力に引き離すことができる。特に、アクリル樹脂は、エポキシ樹脂等の他の樹脂と比較して硬化収縮が大きいため、パーティクルに引っ張り力を与えるという点で有効である。
その後、基板洗浄装置7は、トップコート膜を溶解させる除去液をトップコート膜上に供給することによってトップコート膜を溶解させて、ウェハWからトップコート膜を全て除去する。これにより、パーティクルは、トップコート膜とともにウェハWから除去される。
トップコート膜は、除去液によって溶解される際に膨潤する。このため、第1の実施形態に係る基板洗浄方法によれば、トップコート膜の揮発による体積収縮に加え、トップコート膜の膨潤による体積膨張によっても、パーティクルをパターン等から強力に引き離すことができる。
このように、第1の実施形態では、成膜用処理液の体積変化を利用してパーティクルの除去を行う。これにより、従来の物理力を利用したパーティクル除去と比較して、弱い力でパーティクルを除去することができるため、パターン倒れを抑制することができる。また、化学的作用を利用することなくパーティクル除去を行うため、エッチング作用等による下地膜の侵食を抑えることもできる。したがって、第1の実施形態に係る基板洗浄方法によれば、パターン倒れや下地膜の侵食を抑えつつ、ウェハWに付着したパーティクルを除去することができる。なお、トップコート膜は、ウェハWに成膜された後、パターン露光を行うことなくウェハWから全て除去される。
また、第1の実施形態に係る基板洗浄方法によれば、物理力を利用した基板洗浄方法では除去が困難であった、粒子径が小さいパーティクルやパターンの隙間に入り込んだパーティクルも容易に除去することができる。
また、第1の実施形態では、除去液としてアルカリ性を有するものを用いることで、パーティクルの除去効率を高めることとしている。具体的には、アルカリ現像液を除去液として用いることとしている。アルカリ現像液としては、たとえばアンモニア、テトラメチルアンモニウムヒドロキシド(TMAH:Tetra Methyl Ammonium Hydroxide)、コリン水溶液の少なくとも一つを含んでいればよい。
アルカリ現像液を供給することにより、ウェハWやパターンの表面とパーティクルの表面とには、図2Cに示すように、同一極性(ここでは、マイナス)のゼータ電位が生じる。トップコート液の体積変化によってウェハW等から引き離されたパーティクルは、ウェハW等と同一極性のゼータ電位に帯電することで、ウェハW等と反発し合うようになる。これにより、パーティクルのウェハW等への再付着が防止される。
このように、トップコート液の体積収縮を利用してウェハW等からパーティクルを引き離した後、アルカリ現像液を供給して、トップコート膜を溶解しつつウェハW等とパーティクルとに同一極性のゼータ電位を生じさせる。これにより、パーティクルの再付着が防止されるため、パーティクルの除去効率をより高めることができる。
なお、ここではトップコート液の体積収縮を利用する場合の例について説明したが、パーティクルを除去するためには、処理液の体積変化によって歪み(引っ張り力)が生じればよく、体積収縮に限定されない。すなわち、トップコート液に含まれる樹脂が固化または硬化する際に体積が膨張する性質を有する場合には、固化または硬化する際にトップコート液の体積膨張が起こり、これにより生じる歪み(引っ張り力)によってパーティクルを除去することができる。
ウェハWに対して供給されるトップコート液等の成膜用処理液は、最終的にはウェハWから全て取り除かれる。したがって、洗浄後のウェハWは、トップコート液を塗布する前の状態、具体的には、回路形成面が露出した状態となる。
<基板洗浄装置の構成および動作>
次に、基板洗浄装置7の構成および動作について具体的に説明する。まず、第1処理部5の構成について図3を参照して説明する。図3は、第1処理部5の構成を示す模式図である。なお、図3では、第1処理部5の特徴を説明するために必要な構成要素のみを示しており、一般的な構成要素についての記載を省略している。
図3に示すように、第1処理部5は、第1チャンバ51内に、第1基板保持部52と、液供給部53,54,55と、回収カップ56とを備える。
第1基板保持部52は、ウェハWを吸着保持する吸着保持部521と、吸着保持部521を支持する支柱部材522と、支柱部材522を回転させる駆動部523を備える。
吸着保持部521は、真空ポンプなどの吸気装置に接続され、かかる吸気装置の吸気によって発生する負圧を利用してウェハWの裏面を吸着することによってウェハWを水平に保持する。かかる吸着保持部521としては、たとえばポーラスチャックを用いることができる。
支柱部材522は、吸着保持部521の下部に設けられており、軸受524を介して第1チャンバ51および回収カップ56に回転可能に支持される。
駆動部523は、支柱部材522の下部に設けられ、支柱部材522を鉛直軸まわりに回転させる。これにより、吸着保持部521に吸着保持されたウェハWが回転する。
液供給部53,54は、ウェハWの外方からウェハWの上方に移動し、第1基板保持部52によって保持されたウェハWの主面へ向けて処理液を供給する。液供給部53は、ノズル531,534,535と、ノズル531,534,535を水平に支持するアーム532と、アーム532を旋回および昇降させる旋回昇降機構533とを備える。また、液供給部54は、ノズル541,544と、ノズル541,544を水平に支持するアーム542と、アーム542を旋回および昇降させる旋回昇降機構543とを備える。
液供給部53は、ウェハWに対し、所定の薬液(ここでは、DHFとする)をノズル531から供給し、リンス液の一種であるDIW(純水)をノズル534から供給し、乾燥溶媒の一種であるIPA(イソプロピルアルコール)をノズル535から供給する。DHFは希フッ酸である。
具体的には、ノズル531には、バルブ121を介してDHF供給源111が接続され、かかるDHF供給源111から供給されるDHFがノズル531からウェハW上に供給される。また、ノズル534には、バルブ122を介してDIW供給源112が接続され、かかるDIW供給源112から供給されるDIWがノズル534からウェハW上に供給される。また、ノズル535には、バルブ123を介してIPA供給源113がそれぞれ接続され、かかるIPA供給源113から供給されるIPAがノズル535からウェハW上に供給される。このように、液供給部53は、基板へ所定の薬液を供給する薬液供給部および基板へ純水を供給する純水供給部の一例である。
液供給部54は、ウェハWに対し、成膜用処理液であるトップコート液をノズル541から供給し、トップコート液と親和性のある溶剤としてMIBC(4−メチル−2−ペンタノール)をノズル544から供給する。具体的には、ノズル541には、バルブ124を介して成膜用処理液供給源114が接続され、かかる成膜用処理液供給源114から供給されるトップコート液がノズル541からウェハW上に供給される。また、ノズル544(「溶剤供給部」に相当)には、バルブ131を介して溶剤供給源132が接続され、かかる溶剤供給源132から供給されるMIBCがノズル544からウェハW上に供給される。
MIBCは、トップコート液に含有される成分であり、トップコート液と親和性を有する。なお、MIBC以外のトップコート液と親和性のある溶剤としては、たとえばPGME(プロピレングリコールモノメチルエーテル)、PGMEA(プロピレングリコールモノメチルエーテルアセテート)などを用いてもよい。
なお、ここでは、処理液ごとに専用のノズル531,534,535,541,544を設けることとしたが、複数の処理液でノズルを共用してもよい。たとえば、アーム532に1つのノズルを設け、かかるノズルからDHF,DIW,IPAを選択的に供給してもよい。同様に、アーム542に1つのノズルを設け、かかるノズルからトップコート液およびMIBCを選択的に供給してもよい。ただし、ノズルを共用化すると、たとえば処理液同士を混ぜたくない場合等に、ノズルや配管に残存する処理液を一旦排出する工程が必要となり、処理液が無駄に消費されることとなる。これに対し、専用のノズル531,534,535,541,544を設けることとすれば、上記のように処理液を排出する工程が必要とならないため、処理液を無駄に消費することもない。
液供給部55は、たとえば回収カップ56の底部に設けられ、ウェハWの裏面側の周縁部に対してアルカリ現像液を供給する。具体的には、液供給部55には、バルブ125を介して除去液供給源115が接続され、かかる除去液供給源115から供給されるアルカリ現像液をウェハWの裏面側の周縁部に供給する。かかる液供給部55は、ウェハWのベベル部や周縁部に付着したトップコート液あるいはトップコート膜を除去するために用いられる。かかる点については後述する。
回収カップ56は、処理液の周囲への飛散を防止するために、第1基板保持部52を取り囲むように配置される。かかる回収カップ56の底部には、排液口561が形成されており、回収カップ56によって捕集された処理液は、かかる排液口561から第1処理部5の外部に排出される。
つづいて、第2処理部6の構成について図4を参照して説明する。図4は、第2処理部6の構成を示す模式図である。
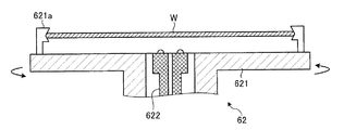
図4に示すように、第2処理部6は、第2チャンバ61内に、第2基板保持部62と、液供給部63と、回収カップ64と、気流形成ユニット65とを備える。
第2基板保持部62は、ウェハWを回転可能に保持する回転保持機構621と、かかる回転保持機構621の中空部621dに挿通され、ウェハWの裏面に気体を供給する流体供給部622とを備える。
回転保持機構621は、第2チャンバ61の略中央に設けられる。かかる回転保持機構621の上面には、ウェハWの周縁部を把持する把持部621aが設けられており、ウェハWは、かかる把持部621aによって回転保持機構621の上面からわずかに離間した状態で水平に保持される。
また、回転保持機構621は、駆動機構621bを備え、かかる駆動機構621bによって鉛直軸まわりに回転する。具体的には、駆動機構621bは、モータ621b1と、モータ621b1の出力軸に取り付けられたプーリ621b2と、プーリ621b2および回転保持機構621の外周部に捲回されたベルト621b3とを備える。
かかる駆動機構621bは、モータ621b1の回転によってプーリ621b2を回転させ、かかるプーリ621b2の回転をベルト621b3によって回転保持機構621へ伝達することで、回転保持機構621を鉛直軸まわりに回転させる。そして、回転保持機構621が回転することによって、回転保持機構621に保持されたウェハWが回転保持機構621と一体に回転する。なお、回転保持機構621は、軸受621cを介して第2チャンバ61および回収カップ64に回転可能に支持される。
流体供給部622は、回転保持機構621の中央に形成された中空部621dに挿通された長尺状の部材である。流体供給部622の内部には、流路622aが形成される。かかる流路622aには、バルブ128を介してN2供給源118が、バルブ129を介してSC1供給源119がそれぞれ接続されている。流体供給部622は、これらN2供給源118およびSC1供給源119から供給されるN2ガスおよびSC1(アンモニア過水)を流路622aを介してウェハWの裏面へ供給する。
ここで、バルブ128を介して供給されるN2ガスは、高温(たとえば、90℃程度)のN2ガスであり、後述する揮発促進処理に用いられる。
流体供給部622は、ウェハWの受け渡しを行う際にも用いられる。具体的には、流体供給部622の基端部には、流体供給部622を鉛直方向に移動させる昇降機構622bが設けられる。また、流体供給部622の上面には、ウェハWを支持するための支持ピン622cが設けられる。
第2基板保持部62は、基板搬送装置31(図1参照)からウェハWを受け取る場合には、昇降機構622bを用いて流体供給部622を上昇させた状態で、支持ピン622cの上部にウェハWを載置させる。その後、第2基板保持部62は、流体供給部622を所定の位置まで降下させた後、回転保持機構621の把持部621aにウェハWを渡す。また、第2基板保持部62は、処理済みのウェハWを基板搬送装置31へ渡す場合には、昇降機構622bを用いて流体供給部622を上昇させ、把持部621aに把持されたウェハWを支持ピン622c上に載置させる。そして、第2基板保持部62は、支持ピン622c上に載置させたウェハWを基板搬送装置31へ渡す。
液供給部63は、ウェハWの外方からウェハWの上方に移動し、第2基板保持部62によって保持されたウェハWの主面へ向けて処理液を供給する。液供給部63は、ノズル631,635と、ノズル631,635を水平に支持するアーム632と、アーム632を旋回および昇降させる旋回昇降機構633とを備える。
かかる液供給部63は、ウェハWに対し、除去液であるアルカリ現像液をノズル631から供給し、リンス液の一種であるDIWをノズル635から供給する。具体的には、ノズル631には、バルブ126を介して除去液供給源116が接続され、かかる除去液供給源116から供給されるアルカリ現像液がノズル631からウェハW上に供給される。また、ノズル635には、バルブ127を介してDIW供給源117が接続され、かかるDIW供給源117から供給されるDIWがウェハW上に供給される。
回収カップ64は、処理液の周囲への飛散を防止するために、回転保持機構621を取り囲むように配置される。かかる回収カップ64の底部には、排液口641が形成されており、回収カップ64によって捕集された処理液は、かかる排液口641から第2処理部6の外部に排出される。また、回収カップ64の底部には、排気口642が形成されており、流体供給部622によって供給されるN2ガスあるいは後述する気流形成ユニット65から第2処理部6内に供給される気体が、かかる排気口642から第2処理部6の外部に排出される。
また、第2チャンバ61の底部には、排気口611が形成されており、かかる排気口611には、減圧装置66が接続される。減圧装置66は、たとえば真空ポンプであり、第2チャンバ61内を吸気により減圧状態にする。
気流形成ユニット65は、第2チャンバ61の天井部に取り付けられており、第2チャンバ61内にダウンフローを形成する気流発生部である。具体的には、気流形成ユニット65は、ダウンフローガス供給管651と、かかるダウンフローガス供給管651に連通するバッファ室652とを備える。ダウンフローガス供給管651は、図示しないダウンフローガス供給源と接続する。また、バッファ室652の底部には、バッファ室652と第2チャンバ61内とを連通する複数の連通口652aが形成される。
かかる気流形成ユニット65は、ダウンフローガス供給管651を介してダウンフローガス(たとえば、清浄気体やドライエアなど)をバッファ室652へ供給する。そして、気流形成ユニット65は、バッファ室652に供給されたダウンフローガスを複数の連通口652aを介して第2チャンバ61内に供給する。これにより、第2チャンバ61内には、ダウンフローが形成される。第2チャンバ61内に形成されたダウンフローは、排気口642および排気口611から第2処理部6の外部に排出される。
次に、基板洗浄装置7の具体的動作について説明する。図5は、基板洗浄装置7が実行する基板洗浄処理の処理手順を示すフローチャートである。また、図6A〜図6Cは、第1処理部5の動作説明図であり、図7A,図7Bおよび図8A〜8Cは、第2処理部6の動作説明図である。より詳細には、図6A〜図6Cは、図5における成膜用処理液供給処理(ステップS106)の動作例を、図7Aには、図5における揮発促進処理(ステップS109)の動作例を、図7Bには、図5における裏面洗浄処理(ステップS110)の動作例を示している。
また、図8Aには、図5における除去液供給処理(ステップS111)の動作例を、図8Bには、図5におけるリンス処理(ステップS112)の動作例を、図8Cには、図5における乾燥処理(ステップS113)の動作例を示している。なお、図5に示す各処理手順は、制御装置8の制御に基づいて行われる。
第1の実施形態に係る基板洗浄装置7では、第1処理部5において第1搬入処理(ステップS101)から第1搬出処理(ステップS107)までの処理が行われ、第2処理部6において第2搬入処理(ステップS108)から第2搬出処理(ステップS114)までの処理が行われる。
図5に示すように、第1処理部5では、まず、第1搬入処理が行われる(ステップS101)。かかる第1搬入処理では、回収カップ56が降下し、基板搬送装置31が吸着保持部521上にウェハWを載置した後、かかるウェハWを吸着保持部521が吸着保持する。このときウェハWは、回路形成面が上向きの状態で吸着保持部521に保持される。その後、駆動部523によって第1基板保持部52が回転する。これにより、ウェハWは、第1基板保持部52に水平保持された状態で第1基板保持部52とともに回転する。
つづいて、第1処理部5では、薬液処理が行われる(ステップS102)。かかる薬液処理では、液供給部53のノズル531がウェハWの中央上方に位置する。その後、ノズル531からウェハWの主面へ洗浄液であるDHFが供給される。ウェハWの主面へ供給されたDHFは、ウェハWの回転に伴う遠心力によってウェハWの主面に広がる。これにより、ウェハWの主面全体の不要な膜がDHFにより溶解される。すなわち、ウェハW主面の下地膜の表面やパーティクルの表面がDHFによって溶解されることにより、パーティクルの付着力が弱まるため、パーティクルを除去し易い状態にすることができる。
ステップS102の薬液処理に用いられる薬液(ここでは、DHF)は、化学的作用を用いて洗浄を行う通常の薬液洗浄における薬液と比較してエッチング量の少ない条件で使用される。このため、通常の薬液洗浄と比較して下地膜への侵食を抑えつつ、より効果的なパーティクル除去を行うことができる。
このように、ステップS102の薬液処理を行うことにより、ステップS102の薬液処理を行わない場合と比較してより効果的にパーティクルを除去することができる。なお、ステップS102の薬液処理は、必ずしも実施される必要はない。
なお、ステップS102の薬液処理に用いられる薬液は、ウェハWやウェハW上に構成される材料あるいはウェハW上に付着する異物を溶解する薬液であればよく、DHFに限定されない。ここで、「ウェハW上に構成される材料」とは、たとえばウェハWの下地膜であり、「ウェハW上に付着する異物」とは、たとえば粒子状の金属系汚染物(パーティクル)である。このような薬液としては、DHF以外に、たとえばフッ化アンモニウム、塩酸、硫酸、過酸化水素水、リン酸、酢酸、硝酸、水酸化アンモニウム等がある。
つづいて、第1処理部5では、ウェハWの主面をDIWですすぐリンス処理が行われる(ステップS103)。かかるリンス処理では、ノズル534がウェハWの中央上方に位置する。その後、バルブ122(図3参照)が所定時間開放されることによって、液供給部53のノズル534から回転するウェハWの主面へDIWが供給され、ウェハW上に残存するDHFが洗い流される。
つづいて、第1処理部5では、置換処理が行われる(ステップS104)。かかる置換処理では、ノズル535がウェハWの中央上方に位置する。その後、バルブ123(図3参照)が所定時間開放されることによって、液供給部53のノズル535から回転するウェハWの主面へIPAが供給され、ウェハW上のDIWがIPAに置換される。その後、ウェハW上にIPAが残存した状態でウェハWの回転が停止する。置換処理が完了すると、ノズル535がウェハWの外方へ移動する。
つづいて、第1処理部5では、溶剤供給処理が行われる(ステップS105)。溶剤供給処理は、成膜用処理液であるトップコート液をウェハWに供給する前に、かかるトップコート液と親和性のあるMIBCをウェハWに供給する処理である。
具体的には、液供給部54のノズル544がウェハWの中央上方に位置し、その後、ノズル544からウェハWの主面へMIBCが供給される。ウェハWの主面へ供給されたMIBCは、ウェハWの回転に伴う遠心力によってウェハWの主面に塗り広げられる。
このように、トップコート液と親和性のあるMIBCを事前にウェハWに塗り広げておくことで、後述する成膜用処理液供給処理において、トップコート液がウェハWの主面に広がり易くなるとともに、パターンの隙間にも入り込み易くなる。したがって、トップコート液の消費量を抑えることができるとともに、パターンの隙間に入り込んだパーティクルをより確実に除去することが可能となる。
MIBCは、トップコート液との親和性はあるが、DIWに対してはほとんど混ざらず親和性が低い。これに対し、第1処理部5では、MIBCを供給する前に、DIWと比べてMIBCとの親和性が高いIPAでDIWを置換することとしている。これにより、リンス処理(ステップS103)の直後に溶剤供給処理(ステップS105)を行った場合と比較し、MIBCがウェハWの主面に広がり易くなり、MIBCの消費量を抑えることができる。
なお、成膜用処理液と親和性のある溶剤が、成膜用処理液だけでなくDIWとの親和性も有する場合には、ステップS104の置換処理を省略してもよい。
このように、トップコート膜をウェハWの上面に短時間で効率的に塗り広げたい場合等には、上述した溶剤供給処理を行うことが好ましい。なお、溶剤供給処理は、必ずしも実施される必要はない。
溶剤供給処理では、回収カップ56(図3参照)の排液口561が図示しない切替バルブ15を介して回収ラインへ接続される。これにより、遠心力によってウェハW上から飛散したMIBCは、回収カップ56の排液口561から切替バルブを介して回収ラインへ排出される。
つづいて、第1処理部5では、成膜用処理液供給処理が行われる(ステップS106)。かかる成膜用処理液供給処理では、液供給部54のノズル541がウェハWの中央上方に位置する。その後、図6Aに示すように、成膜用処理液であるトップコート液が、レジスト膜が形成されていない回路形成面であるウェハWの主面へノズル531から供給される。
ウェハWの主面へ供給されたトップコート液は、ウェハWの回転に伴う遠心力によってウェハWの主面に広がる。これにより、図6Bに示すように、ウェハWの主面全体にトップコート液の液膜が形成される。このとき、ウェハWの主面は、ステップS105においてウェハW上に供給されたMIBCによって濡れ性が高められた状態となっている。これにより、トップコート液がウェハWの主面に広がり易くなるとともに、パターンの隙間にも入り込み易くなる。したがって、トップコート液の使用量を削減することができるとともに、パターンの隙間に入り込んだパーティクルをより確実に除去することが可能となる。また、成膜用処理液供給処理の処理時間の短縮化を図ることもできる。
そして、ウェハWの回転によって揮発成分が揮発することにより、トップコート液が固化する。これにより、ウェハWの主面全体にトップコート膜が形成される。成膜用処理液供給処理が完了すると、ノズル531がウェハWの外方へ移動する。
ところで、ウェハWの主面に供給されたトップコート液は、図6Bに示すように、ウェハWの周縁部からウェハWの裏面へわずかに回り込む。このため、ウェハWのベベル部や裏面側の周縁部にもトップコート膜が形成された状態となる。
そこで、第1処理部5では、ノズル531からウェハWの主面にトップコート液を供給した後、図6Cに示すように、液供給部55からウェハWの裏面側の周縁部に対して除去液(ここでは、アルカリ現像液)が供給される。かかるアルカリ現像液は、ウェハWの裏面側の周縁部に供給された後、ウェハWのベベル部から主面側の周縁部へ回り込む。これにより、ウェハWの裏面側の周縁部、ベベル部および主面側の周縁部に付着したトップコート膜あるいはトップコート液が除去される。その後、ウェハWの回転が停止する。
つづいて、第1処理部5では、第1搬出処理が行われる(ステップS107)。かかる第1搬出処理では、回収カップ56が降下し、第1基板保持部52に保持されたウェハWが基板搬送装置31へ渡される。ウェハWは、回路形成面上でトップコート液が固化してトップコート膜が形成された状態で第1処理部5から搬出される。
つづいて、第2処理部6では、第2搬入処理が行われる(ステップS108)。かかる第2搬入処理では、基板搬送装置31が流体供給部622の支持ピン622c上にウェハWを載置した後、かかるウェハWを回転保持機構621の把持部621aが把持する。このときウェハWは、回路形成面が上向きの状態で把持部621aに把持される。その後、駆動機構621bによって回転保持機構621が回転する。これにより、ウェハWは、回転保持機構621に水平保持された状態で回転保持機構621とともに回転する。
つづいて、第2処理部6では、揮発促進処理が行われる(ステップS109)。かかる揮発促進処理は、ウェハWの主面全体に膜を形成するトップコート液に含まれる揮発成分のさらなる揮発を促進させる処理である。具体的には、図7Aに示すように、バルブ128(図4参照)が所定時間開放されることによって、高温のN2ガスが流体供給部622から回転するウェハWの裏面へ供給される。これにより、ウェハWとともにトップコート液が加熱されて揮発成分の揮発が促進される。
また、減圧装置66(図4参照)によって第2チャンバ61内が減圧状態となる。これによっても、揮発成分の揮発を促進させることができる。さらに、基板洗浄処理中においては、気流形成ユニット65からダウンフローガスが供給される。かかるダウンフローガスによって気流形成ユニット65内の湿度を低下させることによっても、揮発成分の揮発を促進させることができる。
揮発成分が揮発すると、トップコート液は体積収縮しながら固化または硬化し、トップコート膜を形成する。これにより、ウェハW等に付着したパーティクルがウェハW等から引き離される。
このように、基板洗浄装置7では、成膜用処理液に含まれる揮発成分の揮発を促進させることによって、成膜用処理液が固化または硬化するまでの時間を短縮することができる。また、ウェハWを加熱することにより、成膜用処理液に含まれる合成樹脂の収縮硬化が助長されるため、ウェハWを加熱しない場合と比較して、成膜用処理液の収縮率を更に高めることができる。
なお、流体供給部622、減圧装置66、気流形成ユニット65は、「揮発促進部」の一例である。ここでは、第2処理部6が、揮発促進部として流体供給部622、減圧装置66、気流形成ユニット65を備えることとしたが、第2処理部6は、これらのうちのいずれかを備える構成であってもよい。
また、ここでは、第2処理部6が揮発促進処理を行う場合の例について示したが、揮発促進処理は省略可能である。すなわち、トップコート液が自然に固化または硬化するまで第2処理部6を待機させておくこととしてもよい。また、ウェハWの回転を停止させたり、トップコート液が振り切られてウェハWの主面が露出することがない程度の回転数でウェハWを回転させたりすることによって、トップコート液の揮発を促進させてもよい。
つづいて、第2処理部6では、裏面洗浄処理が行われる(ステップS110)。かかる裏面洗浄処理では、バルブ129(図4参照)が所定時間開放されることによって、流体供給部622から回転するウェハWの裏面へSC1が供給される(図7B参照)。これにより、ウェハWの裏面が洗浄される。ウェハWの裏面へ供給されたSC1は、回収カップ64の排液口641から図示しない切替バルブを介して廃液ラインへ排出される。流体供給部622は、把持部621aによって把持されたウェハWの裏面中心に洗浄液を供給する裏面洗浄部の一例でもある。
このように、第1の実施形態に係る基板洗浄装置7では、ウェハWの裏面を吸着保持する吸着保持部521を備える第1処理部5において成膜用処理液供給処理を行うこととした。したがって、たとえば第2処理部6が備える第2基板保持部62のようにウェハWの周縁部を把持するタイプの基板保持部を用いた場合と比較して、ウェハWの周縁部分にトップコート液の塗布漏れが生じることがない。また、基板保持部にトップコート液が付着しないので、トップコート液が付着した基板保持部でウェハWを把持することによってウェハWを汚すおそれもない。
また、第1の実施形態に係る基板洗浄装置7では、ウェハWの周縁部を把持する回転保持機構621を備える第2処理部6において裏面洗浄処理を行うこととした。したがって、ウェハWの裏面の汚れ、特に、第1処理部5の吸着保持部521による汚れを除去することができる。
また、第1の実施形態に係る基板洗浄装置7では、固化または硬化したトップコート液によってウェハWの主面が覆われた状態で、ウェハWの裏面を洗浄することとした。このため、仮に、裏面洗浄処理中に洗浄液が飛散したとしても、ウェハWの主面に洗浄液が付着してウェハWの主面が汚染されることを防止することができる。また、洗浄液の回り込みによるウェハWの主面の汚染を防止することができる。
なお、ここでは、揮発促進処理後に裏面洗浄処理を行う場合の例を示したが、裏面洗浄処理は、第2搬入処理後かつ揮発促進処理前に行ってもよい。
つづいて、第2処理部6では、除去液供給処理が行われる(ステップS111)。かかる除去液供給処理では、図8Aに示すように、ノズル631がウェハWの中央上方に位置する。その後、バルブ126(図4参照)が所定時間開放されることによって、除去液であるアルカリ現像液がノズル631から回転するウェハW上に供給される。これにより、ウェハW上に形成されたトップコート膜が溶解し、除去される。
また、このとき、ウェハW等およびパーティクルに同一極性のゼータ電位が生じるため、ウェハW等およびパーティクルが反発してパーティクルのウェハW等への再付着が防止される。
遠心力によってウェハW上から飛散した除去液は、回収カップ64の排液口641から図示しない切替バルブを介して回収ラインへ排出される。回収ラインへ排出された除去液は、再利用される。
なお、除去液の供給を開始してからトップコート膜が十分に除去されるまでの所定時間は排液口641を廃液ラインに接続しておき、その後、排液口641を回収ラインに接続するようにしてもよい。これにより、再利用する除去液にトップコート膜が混入することを防止することができる。
つづいて、第2処理部6では、ウェハWの主面をDIWですすぐリンス処理が行われる(ステップS112)。かかるリンス処理では、図8Bに示すように、ノズル635がウェハWの中央上方に位置する。その後、バルブ127(図4参照)が所定時間開放されることによって、液供給部63のノズル635から回転するウェハWの主面へDIWが供給され、ウェハW上に残存するトップコート膜やアルカリ現像液が洗い流される。
具体的には、ウェハW上に供給されたDIWは、ウェハWの回転によってウェハW上に拡散しながら、ウェハWの外方へ飛散する。かかるリンス処理によって、溶解したトップコート膜やアルカリ現像液中に浮遊するパーティクルは、DIWとともにウェハWから除去される。なお、このとき、気流形成ユニット65によって形成されるダウンフローによって第2チャンバ61内を速やかに排気することができる。リンス処理が完了すると、ノズル635がウェハWの外方へ移動する。
つづいて、第2処理部6では、乾燥処理が行われる(ステップS113)。かかる乾燥処理では、ウェハWの回転速度を所定時間増加させることによってウェハWの主面に残存するDIWが振り切られて、ウェハWが乾燥する(図8C参照)。その後、ウェハWの回転が停止する。
そして、第2処理部6では、第2搬出処理が行われる(ステップS114)。かかる基板搬出処理では、昇降機構622b(図4参照)によって流体供給部622が上昇して、把持部621aによって保持されたウェハWが支持ピン622c上に載置される。そして、支持ピン622c上に載置させたウェハWが基板搬送装置31へ渡される。かかる基板搬出処理が完了すると、1枚のウェハWについての基板洗浄処理が完了する。なお、ウェハWは、回路形成面が露出した状態で第2処理部6から搬出される。
上述してきたように、第1の実施形態に係る基板洗浄システム100は、第1処理部5と、第2処理部6とを備える。第1処理部5は、ウェハWを保持する第1基板保持部52(第1保持部の一例)と、揮発成分を含み基板の主面全面に膜を形成するための処理液をウェハWへ供給する液供給部54(第1供給部の一例)とを含む。第2処理部6は、第1処理部5と異なる処理部を構成し、ウェハWを保持する第2基板保持部62(第2保持部の一例)と、液供給部53によって基板に供給された処理液から揮発成分が揮発することによって基板上で固化または硬化して形成された膜の全てを溶解させる除去液をウェハWへ供給する液供給部63(第2供給部の一例)とを含む。
したがって、第1の実施形態によれば、パターン倒れや下地膜の侵食を抑えつつ、ウェハWに付着したパーティクルを除去することができる。
また、第1の実施形態に係る基板洗浄システム100では、成膜用処理液供給処理と除去液供給処理とでそれぞれ異なる基板保持部を用いることとした。具体的には、成膜用処理液供給処理については、ウェハWの裏面を吸着保持する吸着保持部521を備える第1処理部5において行うこととしたため、ウェハWの周縁部分へのトップコート液の塗布漏れや基板保持部へのトップコート液の付着を防止することができる。また、除去液供給処理については、ウェハWの周縁部を把持する回転保持機構621を備える第2処理部6において行うこととしたため、除去液供給処理前にウェハWの裏面を洗浄することができ、第1処理部5の吸着保持部521による汚れを除去することができる。また、第2保持部にトップコート液が付着することを防止することができる。
また、第1の実施形態に係る基板洗浄システム100は、アルカリ性を有する除去液を用いることとした。これにより、ウェハW等とパーティクルとに同一極性のゼータ電位が生じてパーティクルの再付着が防止されるため、パーティクルの除去効率を高めることができる。
<物理力を用いた洗浄方法との比較>
ここで、物理力を用いた洗浄方法である2流体洗浄と、第1の実施形態に係る基板洗浄方法(以下、「本洗浄方法」と記載する)との比較結果について説明する。まず、比較条件について図15Aおよび図15Bを参照して説明する。図15Aおよび図15Bは、本洗浄方法と2流体洗浄との比較条件の説明図である。
図15Aおよび図15Bに示すように、パターン無しのウェハ(図15A参照)と、高さ0.5μm、幅0.5μmのパターンが1.0μm間隔で形成されたパターン有りのウェハ(図15B参照)とに対し、2流体洗浄と本洗浄方法とをそれぞれ行った場合における、各洗浄方法によるパーティクル除去率を比較した。パーティクルの粒径は、200nmである。
それぞれの洗浄方法は、「ダメージ無し条件」および「ダメージ有り条件」の2つの条件で実施した。「ダメージ無し条件」とは、ウェハ上に厚さ2nmの熱酸化膜を形成するとともに、かかる熱酸化膜上に、高さ100nm、幅45nmのサンプルパターンを形成し、かかるサンプルパターンを倒壊させない所定の力で洗浄を行った条件のことである。また、「ダメージ有り条件」とは、上記のサンプルパターンを倒壊させる所定の力で洗浄を行った条件のことである。
次に、比較結果を図16に示す。図16は、本洗浄方法と2流体洗浄との比較結果を示す図である。図16においては、パターン無しウェハについてのパーティクル除去率を左下がり斜線のハッチングで示し、パターン有りウェハについてのパーティクル除去率を右下がり斜線のハッチングで示している。なお、本洗浄方法については、サンプルパターンの倒壊が発生しなかった。このため、本洗浄方法については、「ダメージ無し条件」の結果のみを示す。
図16に示すように、パターン無しウェハに対する本洗浄方法、2流体洗浄(ダメージ無し条件)および2流体洗浄(ダメージ有り条件)のパーティクル除去率は、いずれも100%に近い値であり、両洗浄方法に大きな違いは見られなかった。
一方、パターン有りウェハに対する2流体洗浄のパーティクル除去率は、ダメージ無し条件で約17%程度、ダメージ有り条件でも約32%とパターン無しウェハと比べて大幅に減少した。このように、パターン有りウェハのパーティクル除去率がパターン無しウェハの場合と比べて大幅に減少したことから、2流体洗浄では、パターンの隙間に入り込んだパーティクルが除去され難いことがわかる。
これに対し、本洗浄方法は、パターン有りウェハに対しても、パターン無しウェハの場合と同様、100%に近い値を示した。このように、パターン無しウェハとパターン有りウェハとで、パーティクル除去率にほとんど変化がなかったことから、本洗浄方法によって、パターンの隙間に入り込んだパーティクルが適切に除去されたことがわかる。
このように、本洗浄方法によれば、2流体洗浄と比較して、パターンを倒壊させにくいばかりでなく、パターン間に入り込んだパーティクルを適切に除去することができる。
<化学的作用を用いた洗浄方法との比較について>
次に、化学的作用を用いた洗浄方法であるSC1(アンモニア過水)による薬液洗浄と、本洗浄方法との比較について説明する。図1および図1は、本洗浄方法と薬液洗浄との比較結果を示す図である。図1にはパーティクル除去率の比較結果を、図1にはフィルムロスの比較結果をそれぞれ示している。フィルムロスとは、ウェハ上に形成された下地膜である熱酸化膜の侵食深さのことである。
なお、薬液洗浄については、アンモニアと水と過酸化水素水とをそれぞれ1:2:40の割合で混合したSC1を使用し、温度60℃、供給時間600秒の条件で洗浄を行った。また、本洗浄方法については、トップコート液の供給後、揮発促進処理を行ったうえで、アルカリ現像液の供給を10秒間行った。ウェハには、図15Bに示すパターン有りウェハを用いた。
図17に示すように、薬液洗浄によるパーティクル除去率は、97.5%であり、本洗浄方法のパーティクル除去率(98.9%)と比べて僅かに低いものの、上述した2流体洗浄とは異なり、パターンの隙間に入り込んだパーティクルが適切に除去されていることがわかる。
一方、図1に示すように、薬液洗浄を行った結果、7A(オングストローム)のフィルムロスが生じたが、本洗浄方法を行ってもフィルムロスは生じなかった。このように、本洗浄方法は、下地膜を侵食することなく、パターンの隙間に入り込んだパーティクルを除去することが可能であることがわかる。
以上のように、本洗浄方法によれば、パターン倒れおよび下地膜の侵食を防止しつつ、パターンの隙間に入り込んだパーティクルを適切に除去することができるという点で、物理力を用いた洗浄方法や化学的作用を用いた洗浄方法よりも有効である。
上述した第1の実施形態では、第1処理部5が備える第1保持部が、ウェハWを吸着保持するバキュームチャックである場合の例を示したが、第1処理部5が備える第1保持部は、バキュームチャックに限定されない。たとえば、第1保持部は、第2処理部6が備える第2基板保持部62と同様、ウェハWの周縁部を把持するメカニカルチャックであってもよいし、ウェハWの裏面側の周縁部を支持する(すなわち、ウェハWを載置するだけの)保持部であってもよい。
また、上述した第1の実施形態では、薬液処理(図5のステップS102)後に、リンス処理、置換処理および溶剤供給処理(図5のステップS103〜S105)を行って成膜用処理液供給処理(図5のステップS106)を行うこととした。しかし、第1処理部5は、薬液処理後、リンス処理、置換処理および溶剤供給処理を行わずに成膜用処理液供給処理を行なってもよい。
また、第1の実施形態では、ウェハWの裏面に対してSC1を供給する処理を裏面洗浄処理として行う場合の例を示したが、裏面洗浄処理は、上記の処理に限定されるものではない。たとえば、ブラシを用いたブラシ洗浄、洗浄液をガスによってミスト化してウェハWの裏面に吹き付ける2流体ノズルを用いた2流体洗浄、あるいは、超音波振動子等を用いた超音波洗浄等を裏面洗浄処理として行なってもよい。
また、第1の実施形態では、トップコート膜によってウェハWの主面が覆われた状態で、裏面洗浄処理を行う場合の例について説明した。しかし、かかる状態で行う処理は、裏面洗浄処理に限定されるものではなく、たとえば、研磨ブラシを用いてウェハWの裏面やベベル部を研磨する研磨処理や、薬液を用いてウェハWの裏面やベベル部をエッチングするエッチング処理等であってもよい。エッチング処理とは、たとえばフッ酸(HF)等を用いて酸化膜を除去する処理のことである。
このように、トップコート膜によってウェハWの主面全面が覆われた状態で、ウェハWの他の面を処理することにより、ウェハWの主面の汚染を防止しつつ、ウェハWの他の面を処理することができる。また、トップコート膜によってウェハWの主面が覆われた状態でエッチング処理を行うことで、ウェハWの裏面側から主面側へ薬液が回り込んだとしても、ウェハWの主面はトップコート膜によって保護された状態であるためエッチングされない。このように、トップコート膜によってエッチング領域が決定されるため、エッチングを精度良く行うことができる。
(第2の実施形態)
基板洗浄装置の構成は、第1の実施形態において示した構成に限定されない。そこで、以下では、基板洗浄装置の他の構成について図9を参照して説明する。図9は、第2の実施形態に係る基板洗浄装置の構成を示す模式図である。なお、以下の説明では、既に説明した部分と同様の部分については、既に説明した部分と同一の符号を付し、重複する説明を省略する。
図9に示すように、第2の実施形態に係る第2処理部は、第1の実施形態に係る第2処理部6(図4参照)が備える液供給部63に代えて、液供給部63Aを備える。
液供給部63Aは、ノズル631,635に加え、ノズル634をさらに備える。ノズル634は、アーム632に対して斜めに支持されており、ノズル631がウェハWの中央上方に位置した場合に、吐出口がウェハWの周縁方向を向くように構成される。なお、ノズル634は、第3供給部の一例である。
ノズル634には、図示しないバルブを介して除去液供給源116(図4参照)が接続される。そして、ノズル634は、除去液供給源116から供給されるアルカリ現像液をウェハWの周縁方向へ吐出する。これにより、把持部621aを洗浄するのに十分な流量・流速のアルカリ現像液が把持部621aに供給される。
なお、ノズル634に接続されるバルブは、ノズル631に接続されるバルブ126(図4参照)とは異なるバルブである。したがって、アルカリ現像液の供給開始タイミングおよび供給停止タイミングをノズル631とノズル634とで個別に制御することができる。その他の構成は、第1の実施形態に係る第2処理部6と同じであるため、ここでの説明は省略する。
第2の実施形態に係る第2処理部は、制御装置8による制御に従い、液供給部63Aを用いて把持部621aの洗浄処理を行う。具体的には、上述した除去液供給処理(図5のステップS111)において、ノズル631がウェハWの中央上方に位置した後、ノズル634に接続される図示しないバルブとバルブ126(図4参照)とが所定時間開放されることにより、除去液であるアルカリ現像液が、ノズル631から回転するウェハW上に供給されるとともにノズル634からウェハWの周縁に供給される。
これにより、把持部621aに付着したトップコート膜が溶解し、把持部621aから除去される。すなわち、把持部621aが洗浄される。
ノズル634に接続されるバルブは、バルブ126(図4参照)よりも先に閉鎖される。これにより、ノズル634から把持部621aへのアルカリ現像液の供給が、ノズル631からウェハWへのアルカリ現像液の供給よりも先に停止する。
これにより、把持部621aに付着したトップコート膜がノズル634から供給されるアルカリ現像液によって除去され、ウェハW側に飛散したとしても、ノズル631から供給されるアルカリ現像液によってウェハWへの付着を防止するとともに、洗い流すことができる。
このように、第2の実施形態に係る基板洗浄装置によれば、把持部621aに対してアルカリ現像液を供給するノズル634をさらに備えることとしたため、把持部621aに付着したトップコート膜を除去することができ、ウェハWの汚損や発塵等を防止することができる。
なお、ここでは、ノズル631からウェハWへのアルカリ現像液の供給が停止される前に、ノズル634から把持部621aへのアルカリ現像液の供給を停止する場合の例を示したが、ノズル634の停止タイミングは、これに限ったものではない。たとえば、ノズル634から把持部621aへのアルカリ現像液の供給は、リンス処理が終了する前、つまり、ノズル631からウェハWへのDIWの供給が停止される前に停止してもよい。かかる場合であっても、ノズル631から供給されるDIWによって把持部621aから除去されたトップコート膜を洗い流すことができ、ウェハWに付着することを防止することができる。
このように、ノズル634から把持部621aへのアルカリ現像液の供給は、ノズル631からウェハWへの処理液(アルカリ現像液またはDIW)の供給が停止される前に停止すればよい。
(第3の実施形態)
次に、第3の実施形態に係る基板洗浄装置について説明する。図10Aおよび図10Bは、第2処理部が備える回転保持機構の変形例を示す模式図である。
図10Aに示すように、第3の実施形態に係る第2処理部は、第1の実施形態に係る第2処理部6(図4参照)が備える回転保持機構621に代えて、回転保持機構621’を備える。その他の構成は、第2処理部6と同じであるためここでの説明は省略する。
回転保持機構621’は、回転保持機構621が備える把持部621aに代えて、ウェハWを保持する第1の把持部621eと、第1の把持部621eと独立して動作可能な第2の把持部621fとを備える。
第1の把持部621eは、ウェハWの周方向に沿って等間隔で複数個、ここでは、120度間隔で3つ設けられており、ウェハWの径方向に沿って移動可能に構成される。また、第2の把持部621fは、第1の把持部621e間に等間隔で配置されており、第1の把持部621eと同様にウェハWの径方向に沿って移動可能に構成される。
このように、第3の実施形態に係る第2処理部は、独立して動作可能な2つの把持部を備えており、これらを用いてウェハWの持ち替えを行うことができる。
たとえば、図10Aには、ウェハWが第1の把持部621eによって保持された状態を示している。かかる状態において、第2の把持部621fをウェハWに近づく方向へ移動させた後、第1の把持部621eをウェハWから遠ざかる方向へ移動させることにより、図10Bに示すように、ウェハWを第1の把持部621eから第2の把持部621fに持ち替えることができる。
つづいて、ウェハWの持ち替えを行うタイミングについて図11A〜図11Cを参照して説明する。図11Aは、ウェハWの持ち替えタイミングを示す図である。また、図11Bおよび図11Cは、ウェハWの持ち替えタイミングの他の例を示す図である。
図11Aに示すように、第1の把持部621eおよび第2の把持部621f間でのウェハWの持ち替えは、除去液供給処理(図5のステップS110)中の所定のタイミングで行われる。具体的には、除去液供給処理の開始後、アルカリ現像液によってトップコート膜がある程度洗い流され、第2の把持部621fにトップコート膜が付着するおそれがなくなったタイミングで、第2の把持部621fをウェハWに近づく方向へ移動させ、その後、第1の把持部621eをウェハWから遠ざかる方向へ移動させる。
このように、第3の実施形態では、第1の把持部621eおよび第2の把持部621f間でウェハWの持ち替えを行う。このため、仮に、第1の把持部621eにトップコート膜が付着していたとしても、第2の把持部621fへの持ち替えを行うことにより、ウェハWの汚損や発塵等を防止することができる。
なお、第1の把持部621eから第2の把持部621fへの持ち替えは、図11Bに示すように、裏面洗浄処理の終了直後に行ってもよいし、図11Cに示すように、揮発促進処理の終了直後に行なってもよい。トップコート液は、固体化することによって第2の把持部621fに付着し難くなるため、揮発促進処理の完了直後に行ったとしても、ウェハWの汚損や発塵等を防止することができる。
また、第3の実施形態に係る第2処理部は、第2の実施形態に係る第2処理部のように、第1の把持部621eにアルカリ除去液を供給するノズルを備えていてもよく、かかるノズルを用いて第1の把持部621eを定期的に洗浄することとしてもよい。なお、かかる洗浄処理は、第2チャンバ61内にウェハWが存在しない状態で行うことが好ましい。
(第4の実施形態)
上述してきた各実施形態では、成膜用処理液供給処理を第1処理部において行い、揮発促進処理および除去液供給処理を第2処理部において行う場合の例について説明した。しかし、揮発促進処理は、第1処理部において行なってもよい。そこで、以下では、第1処理部に揮発促進機能を設ける場合の変形例について図12Aおよび図12Bを参照して説明する。図12Aおよび図12Bは、第1処理部に揮発促進機能を設ける場合の変形例を示す図である。
図12Aに示すように、たとえば、第1処理部は、第1基板保持部52に代えて第1基板保持部52Aを備える。第1基板保持部52Aが備える吸着保持部521Aには、加熱部521A1が設けられており、かかる加熱部521A1によって揮発促進処理が行われる。すなわち、加熱部521A1によってトップコート液が加熱される。このときの加熱温度は、たとえば90℃である。これにより、トップコート液に含まれる揮発成分の揮発が促進される。
このように、吸着保持部521Aに加熱部521A1を設けることにより、吸着保持したウェハWを直接的に加熱することができるため、トップコート液に含まれる揮発成分の揮発をより効果的に促進させることができる。なお、加熱部521A1は、揮発促進部の一例である。
また、図12Bに示すように、第1処理部は、揮発促進部として紫外線照射部57をさらに備えてもよい。紫外線照射部57は、たとえばUV(Ultra Violet)ランプであり、ウェハWの上方に配置され、ウェハWの上方からウェハWの主面へ向けて紫外線を照射する。これにより、トップコート液が活性化して揮発成分の揮発が促進される。
なお、紫外線照射部57は、液供給部53,54による処理を阻害しないように、液供給部53,54のノズル531,541よりも高い位置に配置することが好ましい。もしくは、揮発促進処理を行う場合にのみウェハWの上方に位置させるべく、紫外線照射部57を移動可能に構成してもよい。
また、第1処理部は、第2処理部6と同様に、揮発促進部として気流形成ユニットや減圧装置を備えてもよい。また、第1処理部は、ウェハWの上方からウェハWの主面に高温のN2ガスを供給するノズルを備えてもよいし、ヒータ等の加熱部をウェハWの上方に配置してもよい。
(第5の実施形態)
また、上述してきた各実施形態では、揮発促進処理を第1処理部および第2処理部のいずれかにおいて行うこととしたが、基板洗浄装置は、揮発促進処理用の処理ユニットをさらに備えてもよい。かかる場合の例について図13を参照して説明する。図13は、第5の実施形態に係る基板洗浄システムの概略構成を示す模式図である。
図13に示すように、第5の実施形態に係る基板洗浄システム100’は、処理ステーション3(図1参照)に代えて処理ステーション3’を備える。そして、かかる処理ステーション3’には、基板洗浄装置7に代えて基板洗浄装置7’が配置される。なお、その他の構成については、基板洗浄システム100と同様である。
基板洗浄装置7’は、第1処理部5’、第2処理部6’および第3処理部9の3つの処理ユニットを備える。これら第1処理部5’、第2処理部6’および第3処理部9は、第1処理部5’、第3処理部9および第2処理部6’の順で、基板洗浄システム100’の前後方向に並べて配置される。ただし、第1処理部5’、第2処理部6’および第3処理部9の配置は、図示のものに限定されない。
第1処理部5’は、たとえば第1の実施形態に係る第1処理部5と同様の構成を有する。また、第2処理部6’は、たとえば第1の実施形態に係る第2処理部6から揮発促進処理に関する構成(N2供給源118、バルブ128、気流形成ユニット65、減圧装置66など)を除外した構成を有する。
第3処理部9は、揮発促進処理用の処理ユニットである。かかる第3処理部9の構成の一例について図14を参照して説明する。図14は、第3処理部9の構成の一例を示す模式図である。
図14に示すように、第3処理部9は、第3チャンバ91内に、基台92と、ホットプレート93とを備える。基台92は、第3チャンバ91の底部に設置され、ホットプレート93を所定の高さに支持する。
ホットプレート93は、内部に加熱部931を備える。また、加熱部931の上面には、ウェハWを支持するための支持ピン932が設けられている。
第5の実施形態に係る基板洗浄装置7’では、図5のステップS106に示す第1搬出処理の後、ウェハWが、基板搬送装置31によって第3処理部9へ搬入されて、ホットプレート93の支持ピン932上に載置される。その後、第3処理部9では、ホットプレート93がウェハWを加熱する。これにより、ウェハWとともにトップコート液が加熱されて揮発成分の揮発が促進される。
このように、基板洗浄装置は、成膜用処理液供給処理を行う第1処理部、除去液供給処理を行う第2処理部および揮発促進処理を行う第3処理部を備える構成であってもよい。
なお、第3処理部9の構成は、図14に示したものに限定されない。たとえば、第3処理部9は、第2処理部6が備える第2基板保持部62と同様の基板保持部を備え、気体供給部からウェハWの裏面に高温のN2ガスを供給することによって、ウェハWを加熱する構成であってもよい。また、第3処理部9は、揮発促進部として気流形成ユニット、減圧装置あるいは紫外線照射部等を備える構成であってもよい。
また、上述してきた各実施形態では、薬液処理と成膜用処理液供給処理とを第1処理部において行うこととしたが、薬液処理は、第1処理部と別体に構成された他のユニットで行うこととしてもよい。また、薬液処理は、第2処理部において行うこととしてもよい。かかる場合には、液供給部53等を第2処理部に設ければよい。
また、上述してきた各実施形態では、トップコート液およびアルカリ現像液をウェハWの主面に対して供給する場合の例を示したが、第1処理部および第2処理部は、ウェハWの両面にトップコート液およびアルカリ現像液を供給してもよい。かかる場合、第1処理部および第2処理部は、第2基板保持部62のようなメカニカルチャックを備えるものとし、流体供給部からそれぞれトップコート液およびアルカリ現像液を供給すればよい。
なお、ウェハWの下面を覆うアンダープレートを設けることにより、ウェハWとアンダープレートとの間に形成された隙間をトップコート液やアルカリ現像液で満たすことができ、トップコート液やアルカリ現像液をウェハWの裏面に効率的に広げることができる。また、第1処理部5にアンダープレートを設ける場合には、アンダープレートに加熱部を設け、かかる加熱部を用いて揮発促進処理を行なってもよい。
(その他の実施形態)
上述してきた各実施形態では、成膜用処理液としてトップコート液を用いる場合の例について説明したが、成膜用処理液は、トップコート液に限定されない。
たとえば、成膜用処理液は、フェノール樹脂を含む処理液であってもよい。かかるフェノール樹脂も上述したアクリル樹脂と同様に硬化収縮を引き起こすため、トップコート液と同様、パーティクルに引っ張り力を与えるという点で有効である。
フェノール樹脂を含む成膜用処理液としては、たとえばレジスト液がある。レジスト液は、ウェハW上にレジスト膜を形成するための成膜用処理液である。具体的には、レジスト液には、ノボラック型フェノール樹脂が含まれる。
なお、レジスト液を成膜用処理液として用いる場合には、レジスト液を溶解させることのできるシンナーを除去液として用いればよい。除去液としてシンナーを用いる場合、除去液供給処理後のリンス処理を省略することが可能である。また、レジスト液を成膜用処理液として用いる場合には、ウェハW上に形成されたレジスト膜に対して全面露光等の露光処理を行った後に除去液を供給することとしてもよい。かかる場合、除去液は、現像液でもシンナーでもよい。
成膜用処理液に含まれる合成樹脂は、硬化収縮するものであればよく、上記のアクリル樹脂やフェノール樹脂に限定されない。たとえば、成膜用処理液に含まれる合成樹脂は、エポキシ樹脂、メラニン樹脂、尿素樹脂、不飽和ポリエステル樹脂、アルキド樹脂、ポリウレタン、ポリイミド、ポリエチレン、ポリプロピレン、ポリ塩化ビニル、ポリスチレン、ポリ酢酸ビニル、ポリテトラフルオロエチレン、アクリロニトリルブタジエンスチレン樹脂、アクリロニトリルスチレン樹脂、ポリアミド、ナイロン、ポリアセタール、ポリカーボネート、変性ポリフェニレンエーテル、ポリブチレンテレフタレート、ポリエチレンテレフタレート、ポリフェニレンスルファイド、ポリスルホン、ポリエーテルエーテルケトン、ポリアミドイミド等であってもよい。
また、成膜用処理液として、反射防止膜液を用いてもよい。反射防止膜液とは、ウェハW上に反射防止膜を形成するための成膜用処理液である。なお、反射防止膜とは、ウェハWの主面反射を軽減し、透過率を増加させるための保護膜である。かかる反射防止膜液を成膜用処理液として用いる場合には、反射防止膜液を溶解させることのできるDIWを除去液として用いることができる。
また、成膜用処理液は、揮発成分および合成樹脂に加え、ウェハWやウェハW上に構成される材料あるいはウェハW上に付着する異物を溶解する所定の薬液をさらに含んでいてもよい。上述したように、「ウェハW上に構成される材料」とは、たとえばウェハWの下地膜であり、「ウェハW上に付着する異物」とは、たとえば粒子状の金属系汚染物(パーティクル)である。また、「所定の薬液」としては、たとえばフッ化水素、フッ化アンモニウム、塩酸、硫酸、過酸化水素水、リン酸、酢酸、硝酸、水酸化アンモニウム等がある。これらの薬液によって下地膜やパーティクルの表面が溶解されることにより、パーティクルの付着力が弱まるため、パーティクルを除去し易い状態にすることができる。
「所定の薬液」は、薬液の化学的作用のみを用いて洗浄を行う通常の薬液洗浄における薬液と比較してエッチング量の少ない条件で使用される。このため、一般的な薬液洗浄と比較して下地膜への侵食を抑えつつ、より効果的なパーティクル除去を行うことができる。
また、上述してきた各実施形態では、除去液としてアルカリ現像液を用いた場合の例について説明してきたが、除去液は、アルカリ現像液に過酸化水素水を加えたものであってもよい。このように、アルカリ現像液に過酸化水素水を加えることによって、アルカリ現像液によるウェハ主面の面荒れを抑制することができる。
また、除去液は、シンナー、トルエン、酢酸エステル類、アルコール類、グリコール類(プロピレングリコールモノメチルエーテル)等の有機溶剤であってもよいし、酢酸、蟻酸、ヒドロキシ酢酸等の酸性現像液であってもよい。
さらに、除去液は、界面活性剤をさらに含んでいてもよい。界面活性剤には表面張力を弱める働きがあるため、パーティクルのウェハW等への再付着を抑制することができる。
また、上述してきた各実施形態では、第1処理部5と第2処理部6とがそれぞれ異なるチャンバ(第1チャンバ51および第2チャンバ61)に収容される場合の例について説明したが、第1処理部5および第2処理部6は、1つのチャンバ内に収容されてもよい。
また、上述してきた各実施形態では、ウェハWを回転可能に保持する基板保持部を用いてウェハWを回転させ、回転に伴う遠心力によってトップコート等の処理液をウェハW上に塗り広げることとした。しかし、これに限ったものではなく、たとえばスリットノズルを用いて、ウェハWを回転させることなく処理液をウェハW上に塗り広げてもよい。かかる場合、基板保持部は回転機構を備えなくてもよい。
さらなる効果や変形例は、当業者によって容易に導き出すことができる。このため、本発明のより広範な態様は、以上のように表しかつ記述した特定の詳細および代表的な実施形態に限定されるものではない。したがって、添付の特許請求の範囲およびその均等物によって定義される総括的な発明の概念の精神または範囲から逸脱することなく、様々な変更が可能である。
W ウェハ
5 第1処理部
6 第2処理部
7 基板洗浄装置
8 制御装置
9 第3処理部
52 第1基板保持部
521 吸着保持部
53,54,55 液供給部
62 第2基板保持部
621 回転保持機構
621a 把持部
622 流体供給部
63 液供給部
100 基板洗浄システム

Claims (26)

  1. 基板を保持する第1保持部と、揮発成分を含み前記基板の主面全面に膜を形成するための処理液を前記基板へ供給する第1供給部とを含む第1処理部と、
    前記基板を保持する第2保持部と、前記第1供給部によって前記基板に供給された前記処理液から前記揮発成分が揮発することによって前記基板上で固化または硬化して形成された膜の全てを溶解させる除去液を前記基板へ供給し、前記基板上に残存する前記溶解した膜及び前記除去液を前記基板上から除去するリンス液を前記基板へ供給する第2供給部とを含む第2処理部と、
    前記第2保持部に保持された前記基板の裏面中心に洗浄液を供給する裏面洗浄部と
    を備えることを特徴とする基板洗浄システム。
  2. 前記第2処理部は、前記第2処理部により前記リンス液が供給された後、前記基板の乾燥処理を行うこと
    を特徴とする請求項1に記載の基板洗浄システム。
  3. 前記第2保持部は、基板を回転可能に保持する回転保持機構を有し、
    前記第2処理部は、前記回転保持機構を回転させて前記基板に残存する前記リンス液を振り切ることにより、前記乾燥処理を行うこと
    を特徴とする請求項2に記載の基板洗浄システム。
  4. 前記第2供給部は、前記除去液を前記基板へ供給する除去液供給ノズルと、前記リンス液を前記基板へ供給するリンス液供給ノズルと、をそれぞれ有すること
    を特徴とする請求項1〜3のいずれか一つに記載の基板洗浄システム。
  5. 前記リンス液は、純水であること
    を特徴とする請求項1〜4のいずれか一つに記載の基板洗浄システム。
  6. 前記膜によって前記基板の主面全面が覆われた状態で、前記基板の裏面が前記裏面洗浄部によって洗浄されること
    を特徴とする請求項1〜5のいずれか一つに記載の基板洗浄システム。
  7. 基板を保持する第1保持部と、揮発成分を含み前記基板の主面全面に膜を形成するための処理液を前記基板へ供給する第1供給部とを含む第1処理部と、
    前記基板を保持する第2保持部と、前記第1供給部によって前記基板に供給された前記処理液から前記揮発成分が揮発することによって前記基板上で固化または硬化して形成された膜の全てを溶解させる除去液を前記基板へ供給し、前記基板上に残存する前記溶解した膜及び前記除去液を前記基板上から除去するリンス液を前記基板へ供給する第2供給部とを含む第2処理部とを備え、
    前記第1保持部は、前記基板を吸着保持する吸着保持部を備え、
    前記第2保持部は、前記基板の周縁部を把持する把持部を備えること
    を特徴とする基板洗浄システム。
  8. 前記第2保持部に保持された前記基板の裏面中心に洗浄液を供給する裏面洗浄部
    をさらに備えることを特徴とする請求項7に記載の基板洗浄システム。
  9. 前記第2処理部は、
    前記第2保持部が備える前記把持部に対して前記除去液を供給する第3供給部
    をさらに備えることを特徴とする請求項7または8に記載の基板洗浄システム。
  10. 前記第2保持部は、
    前記基板の周縁部を把持する第1の把持部と、前記第1の把持部と独立して動作可能な第2の把持部とを備えることを特徴とする請求項7に記載の基板洗浄システム。
  11. 前記第1処理部と前記第2処理部とがそれぞれ異なるチャンバに収容されること
    を特徴とする請求項7〜10のいずれか一つに記載の基板洗浄システム。
  12. 基板を保持する第1保持部と、揮発成分を含み前記基板の主面全面に膜を形成するための処理液を前記基板へ供給する第1供給部とを含む第1処理部と、
    前記基板を保持する第2保持部と、前記第1供給部によって前記基板に供給された前記処理液から前記揮発成分が揮発することによって前記基板上で固化または硬化して形成された膜の全てを溶解させる除去液を前記基板へ供給し、前記基板上に残存する前記溶解した膜及び前記除去液を前記基板上から除去するリンス液を前記基板へ供給する第2供給部とを含む第2処理部とを備え、
    前記第1処理部は、
    前記基板へ所定の薬液を供給する薬液供給部と
    前記基板へ純水を供給する純水供給部と
    をさらに備えることを特徴とする基板洗浄システム。
  13. 前記第1保持部は、前記基板を吸着保持する吸着保持部を備え、
    前記第2保持部は、前記基板の周縁部を把持する把持部を備えること
    を特徴とする請求項12に記載の基板洗浄システム。
  14. 前記第2保持部に保持された前記基板の裏面中心に洗浄液を供給する裏面洗浄部
    をさらに備えることを特徴とする請求項12または13に記載の基板洗浄システム。
  15. 基板を保持する第1保持部を用いて、前記基板を保持する第1保持工程と、
    前記第1保持部に保持された前記基板に対して、揮発成分を含み前記基板の主面全面に膜を形成するための処理液を供給する第1供給工程と、
    前記基板を保持する第2保持部を用いて、前記第1供給工程後の前記基板を保持する第2保持工程と、
    前記処理液から前記揮発成分が揮発することによって前記基板上で固化または硬化して形成された膜の全てを溶解させる除去液を前記基板へ供給し、前記基板上に残存する前記溶解した膜及び前記除去液を前記基板上から除去するリンス液を前記基板へ供給する第2供給工程と、
    前記第2保持部に保持された前記基板の裏面中心に洗浄液を供給する裏面洗浄工程と
    を含むことを特徴とする基板洗浄方法。
  16. 前記第2供給工程により前記リンス液が供給された後、前記基板の乾燥処理を行うこと
    を特徴とする請求項15に記載の基板洗浄方法。
  17. 前記基板を回転させて前記基板に残存する前記リンス液を振り切ることにより、前記乾燥処理を行うこと
    を特徴とする請求項16に記載の基板洗浄方法。
  18. 前記第2供給工程は、除去液供給ノズルを用いて前記除去液を前記基板へ供給し、リンス液供給ノズルを用いて前記リンス液を前記基板へ供給すること
    を特徴とする請求項15〜17のいずれか一つに記載の基板洗浄方法。
  19. 前記リンス液は、純水であること
    を特徴とする請求項15〜18のいずれか一つに記載の基板洗浄方法。
  20. 前記裏面洗浄工程は、前記膜によって前記基板の主面全面が覆われた状態で行われること
    を特徴とする請求項15〜19のいずれか一つに記載の基板洗浄方法。
  21. 基板を保持する第1保持部を用いて、前記基板を保持する第1保持工程と、
    前記第1保持部に保持された前記基板に対して、揮発成分を含み前記基板の主面全面に膜を形成するための処理液を供給する第1供給工程と、
    前記基板を保持する第2保持部を用いて、前記第1供給工程後の前記基板を保持する第2保持工程と、
    前記処理液から前記揮発成分が揮発することによって前記基板上で固化または硬化して形成された膜の全てを溶解させる除去液を前記基板へ供給し、前記基板上に残存する前記溶解した膜及び前記除去液を前記基板上から除去するリンス液を前記基板へ供給する第2供給工程とを含み、
    前記第1保持工程において、前記第1保持部を用いて前記基板を吸着保持し、
    前記第2保持工程において、前記第2保持部を用いて前記基板の周縁部を把持すること
    を特徴とする基板洗浄方法。
  22. 前記第2保持部に保持された前記基板の裏面中心に洗浄液を供給する裏面洗浄工程
    をさらに含むことを特徴とする請求項21に記載の基板洗浄方法。
  23. 基板を保持する第1保持部を用いて、前記基板を保持する第1保持工程と、
    前記第1保持部に保持された前記基板に対して、揮発成分を含み前記基板の主面全面に膜を形成するための処理液を供給する第1供給工程と、
    前記基板を保持する第2保持部を用いて、前記第1供給工程後の前記基板を保持する第2保持工程と、
    前記処理液から前記揮発成分が揮発することによって前記基板上で固化または硬化して形成された膜の全てを溶解させる除去液を前記基板へ供給し、前記基板上に残存する前記溶解した膜及び前記除去液を前記基板上から除去するリンス液を前記基板へ供給する第2供給工程とを含み、
    前記第1供給工程前に、前記基板上に構成される材料または前記基板上に付着する異物を溶解する所定の薬液を前記基板へ供給する薬液工程と、
    前記薬液工程後の前記基板に対して純水を供給する純水供給工程と
    をさらに含むことを特徴とする基板洗浄方法。
  24. 前記第1保持工程において、前記第1保持部を用いて前記基板を吸着保持し、
    前記第2保持工程において、前記第2保持部を用いて前記基板の周縁部を把持すること
    を特徴とする請求項23に記載の基板洗浄方法。
  25. 前記第2保持部に保持された前記基板の裏面中心に洗浄液を供給する裏面洗浄工程
    をさらに含むことを特徴とする請求項23または24に記載の基板洗浄方法。
  26. コンピュータ上で動作し、基板洗浄装置を制御するプログラムが記憶されたコンピュータ読取可能な記憶媒体であって、
    前記プログラムは、実行時に、請求項15〜25のいずれか一つに記載の基板洗浄方法が行われるように、コンピュータに前記基板洗浄装置を制御させること
    を特徴とする記憶媒体。
JP2014096437A 2012-11-26 2014-05-08 基板洗浄システム、基板洗浄方法および記憶媒体 Active JP5677603B2 (ja)

Priority Applications (1)

Application Number Priority Date Filing Date Title
JP2014096437A JP5677603B2 (ja) 2012-11-26 2014-05-08 基板洗浄システム、基板洗浄方法および記憶媒体

Applications Claiming Priority (3)

Application Number Priority Date Filing Date Title
JP2012257080 2012-11-26
JP2012257080 2012-11-26
JP2014096437A JP5677603B2 (ja) 2012-11-26 2014-05-08 基板洗浄システム、基板洗浄方法および記憶媒体

Related Parent Applications (1)

Application Number Title Priority Date Filing Date
JP2013095997A Division JP5543633B2 (ja) 2012-11-26 2013-04-30 基板洗浄システム、基板洗浄方法および記憶媒体

Related Child Applications (1)

Application Number Title Priority Date Filing Date
JP2014265882A Division JP2015062259A (ja) 2012-11-26 2014-12-26 基板洗浄システム

Publications (2)

Publication Number Publication Date
JP2014140085A JP2014140085A (ja) 2014-07-31
JP5677603B2 true JP5677603B2 (ja) 2015-02-25

Family

ID=51416600

Family Applications (3)

Application Number Title Priority Date Filing Date
JP2014096437A Active JP5677603B2 (ja) 2012-11-26 2014-05-08 基板洗浄システム、基板洗浄方法および記憶媒体
JP2014265882A Pending JP2015062259A (ja) 2012-11-26 2014-12-26 基板洗浄システム
JP2017052105A Active JP6356295B2 (ja) 2012-11-26 2017-03-17 基板洗浄装置、基板洗浄方法および記憶媒体

Family Applications After (2)

Application Number Title Priority Date Filing Date
JP2014265882A Pending JP2015062259A (ja) 2012-11-26 2014-12-26 基板洗浄システム
JP2017052105A Active JP6356295B2 (ja) 2012-11-26 2017-03-17 基板洗浄装置、基板洗浄方法および記憶媒体

Country Status (1)

Country Link
JP (3) JP5677603B2 (ja)

Families Citing this family (12)

* Cited by examiner, † Cited by third party
Publication number Priority date Publication date Assignee Title
FR2769696B1 (fr) 1997-10-15 1999-12-31 Stein Heurtey Systeme de securite pour fours a refroidissement rapide de bandes metalliques
FR2769695B1 (fr) 1997-10-15 1999-12-31 Stein Heurtey Perfectionnements apportes aux fours a refroidissement rapide pour bandes metalliques
JP6612632B2 (ja) 2016-01-26 2019-11-27 株式会社Screenホールディングス 基板処理装置および基板処理方法
JP6994307B2 (ja) * 2017-03-27 2022-01-14 株式会社Screenホールディングス 基板処理装置および基板処理方法
US11302525B2 (en) 2017-09-22 2022-04-12 SCREEN Holdings Co., Ltd. Substrate processing method and substrate processing apparatus
TWI755609B (zh) 2017-09-22 2022-02-21 日商斯庫林集團股份有限公司 基板洗淨方法及基板洗淨裝置
JP7013221B2 (ja) * 2017-12-11 2022-01-31 株式会社Screenホールディングス 基板処理方法および基板処理装置
JP7085392B2 (ja) * 2018-04-11 2022-06-16 東京エレクトロン株式会社 基板処理装置、基板処理方法及びコンピュータ読み取り可能な記録媒体
EP3576133B1 (en) 2018-05-31 2023-11-22 SCREEN Holdings Co., Ltd. Substrate processing method
JP7227758B2 (ja) 2018-05-31 2023-02-22 株式会社Screenホールディングス 基板処理方法および基板処理装置
JP7227757B2 (ja) 2018-05-31 2023-02-22 株式会社Screenホールディングス 基板処理方法および基板処理装置
JP7355535B2 (ja) * 2019-06-28 2023-10-03 株式会社Screenホールディングス 基板処理方法および基板処理装置

Family Cites Families (16)

* Cited by examiner, † Cited by third party
Publication number Priority date Publication date Assignee Title
JPS62193248A (ja) * 1986-02-20 1987-08-25 Fujitsu Ltd レジスト塗布・ベ−ク装置
JPS62285423A (ja) * 1986-06-03 1987-12-11 Nec Corp レジスト塗布法
JPH02246332A (ja) * 1989-03-20 1990-10-02 Fujitsu Ltd 半導体装置の製造方法
JPH0774137A (ja) * 1993-07-05 1995-03-17 Dainippon Screen Mfg Co Ltd 基板表面のパーティクル除去方法及びその装置
JP4565433B2 (ja) * 2001-11-27 2010-10-20 東京エレクトロン株式会社 液処理装置および液処理方法
JP4004318B2 (ja) * 2002-03-25 2007-11-07 野村マイクロ・サイエンス株式会社 有機被膜の除去方法および除去剤
JP2004186633A (ja) * 2002-12-06 2004-07-02 Shimada Phys & Chem Ind Co Ltd 平板状被処理物の処理装置および処理方法
JP2008060368A (ja) * 2006-08-31 2008-03-13 Dainippon Screen Mfg Co Ltd 基板処理方法および基板処理装置
JP2009170554A (ja) * 2008-01-11 2009-07-30 Panasonic Corp 半導体装置の製造方法
JP2008124503A (ja) * 2008-02-01 2008-05-29 Tokyo Electron Ltd 液処理装置
JP5139844B2 (ja) * 2008-03-04 2013-02-06 大日本スクリーン製造株式会社 基板処理方法および基板処理装置
JP2010103366A (ja) * 2008-10-24 2010-05-06 Tokyo Electron Ltd 基板洗浄装置
JP5701068B2 (ja) * 2011-01-06 2015-04-15 株式会社Screenホールディングス 基板処理装置および基板処理方法
JP5817139B2 (ja) * 2011-02-18 2015-11-18 富士通株式会社 化合物半導体装置の製造方法及び洗浄剤
JP2012227318A (ja) * 2011-04-19 2012-11-15 Tokyo Electron Ltd 基板処理方法、プログラム、コンピュータ記憶媒体、基板処理装置及びインプリントシステム
JP5655690B2 (ja) * 2011-04-22 2015-01-21 東京エレクトロン株式会社 塗布装置、塗布方法及び記憶媒体

Also Published As

Publication number Publication date
JP2014140085A (ja) 2014-07-31
JP2017108188A (ja) 2017-06-15
JP6356295B2 (ja) 2018-07-11
JP2015062259A (ja) 2015-04-02

Similar Documents

Publication Publication Date Title
JP5543633B2 (ja) 基板洗浄システム、基板洗浄方法および記憶媒体
JP6000822B2 (ja) 基板洗浄方法および基板洗浄システム
JP6356295B2 (ja) 基板洗浄装置、基板洗浄方法および記憶媒体
JP5586734B2 (ja) 基板洗浄装置、基板洗浄システム、基板洗浄方法および記憶媒体
JP6585242B2 (ja) 基板洗浄装置、基板洗浄方法および記憶媒体
JP5977727B2 (ja) 基板洗浄方法、基板洗浄システムおよび記憶媒体
JP6142059B2 (ja) 基板処理方法、基板処理システムおよび記憶媒体
JP6279037B2 (ja) 基板洗浄方法および基板洗浄システム
JP2021073739A (ja) 基板洗浄方法
CN209747470U (zh) 基板清洗系统

Legal Events

Date Code Title Description
A621 Written request for application examination

Free format text: JAPANESE INTERMEDIATE CODE: A621

Effective date: 20140508

A871 Explanation of circumstances concerning accelerated examination

Free format text: JAPANESE INTERMEDIATE CODE: A871

Effective date: 20140508

A975 Report on accelerated examination

Free format text: JAPANESE INTERMEDIATE CODE: A971005

Effective date: 20140618

A131 Notification of reasons for refusal

Free format text: JAPANESE INTERMEDIATE CODE: A131

Effective date: 20140624

A521 Request for written amendment filed

Free format text: JAPANESE INTERMEDIATE CODE: A523

Effective date: 20140730

A131 Notification of reasons for refusal

Free format text: JAPANESE INTERMEDIATE CODE: A131

Effective date: 20140819

A521 Request for written amendment filed

Free format text: JAPANESE INTERMEDIATE CODE: A523

Effective date: 20140924

TRDD Decision of grant or rejection written
A01 Written decision to grant a patent or to grant a registration (utility model)

Free format text: JAPANESE INTERMEDIATE CODE: A01

Effective date: 20141209

A61 First payment of annual fees (during grant procedure)

Free format text: JAPANESE INTERMEDIATE CODE: A61

Effective date: 20141226

R150 Certificate of patent or registration of utility model

Ref document number: 5677603

Country of ref document: JP

Free format text: JAPANESE INTERMEDIATE CODE: R150

R250 Receipt of annual fees

Free format text: JAPANESE INTERMEDIATE CODE: R250

R250 Receipt of annual fees

Free format text: JAPANESE INTERMEDIATE CODE: R250

R250 Receipt of annual fees

Free format text: JAPANESE INTERMEDIATE CODE: R250

R250 Receipt of annual fees

Free format text: JAPANESE INTERMEDIATE CODE: R250

R250 Receipt of annual fees

Free format text: JAPANESE INTERMEDIATE CODE: R250

R250 Receipt of annual fees

Free format text: JAPANESE INTERMEDIATE CODE: R250

R250 Receipt of annual fees

Free format text: JAPANESE INTERMEDIATE CODE: R250