JP5639733B2 - 粘着テープ - Google Patents
粘着テープ Download PDFInfo
- Publication number
- JP5639733B2 JP5639733B2 JP2014503814A JP2014503814A JP5639733B2 JP 5639733 B2 JP5639733 B2 JP 5639733B2 JP 2014503814 A JP2014503814 A JP 2014503814A JP 2014503814 A JP2014503814 A JP 2014503814A JP 5639733 B2 JP5639733 B2 JP 5639733B2
- Authority
- JP
- Japan
- Prior art keywords
- acrylic
- sensitive adhesive
- weight
- pressure
- monomer
- Prior art date
- Legal status (The legal status is an assumption and is not a legal conclusion. Google has not performed a legal analysis and makes no representation as to the accuracy of the status listed.)
- Active
Links
Images
Classifications
-
- C—CHEMISTRY; METALLURGY
- C09—DYES; PAINTS; POLISHES; NATURAL RESINS; ADHESIVES; COMPOSITIONS NOT OTHERWISE PROVIDED FOR; APPLICATIONS OF MATERIALS NOT OTHERWISE PROVIDED FOR
- C09J—ADHESIVES; NON-MECHANICAL ASPECTS OF ADHESIVE PROCESSES IN GENERAL; ADHESIVE PROCESSES NOT PROVIDED FOR ELSEWHERE; USE OF MATERIALS AS ADHESIVES
- C09J7/00—Adhesives in the form of films or foils
- C09J7/30—Adhesives in the form of films or foils characterised by the adhesive composition
- C09J7/38—Pressure-sensitive adhesives [PSA]
- C09J7/381—Pressure-sensitive adhesives [PSA] based on macromolecular compounds obtained by reactions involving only carbon-to-carbon unsaturated bonds
- C09J7/385—Acrylic polymers
-
- H—ELECTRICITY
- H01—ELECTRIC ELEMENTS
- H01M—PROCESSES OR MEANS, e.g. BATTERIES, FOR THE DIRECT CONVERSION OF CHEMICAL ENERGY INTO ELECTRICAL ENERGY
- H01M10/00—Secondary cells; Manufacture thereof
- H01M10/04—Construction or manufacture in general
- H01M10/0431—Cells with wound or folded electrodes
-
- C—CHEMISTRY; METALLURGY
- C08—ORGANIC MACROMOLECULAR COMPOUNDS; THEIR PREPARATION OR CHEMICAL WORKING-UP; COMPOSITIONS BASED THEREON
- C08G—MACROMOLECULAR COMPOUNDS OBTAINED OTHERWISE THAN BY REACTIONS ONLY INVOLVING UNSATURATED CARBON-TO-CARBON BONDS
- C08G18/00—Polymeric products of isocyanates or isothiocyanates
- C08G18/06—Polymeric products of isocyanates or isothiocyanates with compounds having active hydrogen
- C08G18/28—Polymeric products of isocyanates or isothiocyanates with compounds having active hydrogen characterised by the compounds used containing active hydrogen
- C08G18/40—High-molecular-weight compounds
- C08G18/62—Polymers of compounds having carbon-to-carbon double bonds
- C08G18/6216—Polymers of alpha-beta ethylenically unsaturated carboxylic acids or of derivatives thereof
- C08G18/625—Polymers of alpha-beta ethylenically unsaturated carboxylic acids; hydrolyzed polymers of esters of these acids
- C08G18/6254—Polymers of alpha-beta ethylenically unsaturated carboxylic acids and of esters of these acids containing hydroxy groups
-
- C—CHEMISTRY; METALLURGY
- C08—ORGANIC MACROMOLECULAR COMPOUNDS; THEIR PREPARATION OR CHEMICAL WORKING-UP; COMPOSITIONS BASED THEREON
- C08G—MACROMOLECULAR COMPOUNDS OBTAINED OTHERWISE THAN BY REACTIONS ONLY INVOLVING UNSATURATED CARBON-TO-CARBON BONDS
- C08G18/00—Polymeric products of isocyanates or isothiocyanates
- C08G18/06—Polymeric products of isocyanates or isothiocyanates with compounds having active hydrogen
- C08G18/70—Polymeric products of isocyanates or isothiocyanates with compounds having active hydrogen characterised by the isocyanates or isothiocyanates used
- C08G18/72—Polyisocyanates or polyisothiocyanates
- C08G18/80—Masked polyisocyanates
- C08G18/8003—Masked polyisocyanates masked with compounds having at least two groups containing active hydrogen
- C08G18/8006—Masked polyisocyanates masked with compounds having at least two groups containing active hydrogen with compounds of C08G18/32
- C08G18/8009—Masked polyisocyanates masked with compounds having at least two groups containing active hydrogen with compounds of C08G18/32 with compounds of C08G18/3203
- C08G18/8022—Masked polyisocyanates masked with compounds having at least two groups containing active hydrogen with compounds of C08G18/32 with compounds of C08G18/3203 with polyols having at least three hydroxy groups
- C08G18/8029—Masked aromatic polyisocyanates
-
- C—CHEMISTRY; METALLURGY
- C09—DYES; PAINTS; POLISHES; NATURAL RESINS; ADHESIVES; COMPOSITIONS NOT OTHERWISE PROVIDED FOR; APPLICATIONS OF MATERIALS NOT OTHERWISE PROVIDED FOR
- C09J—ADHESIVES; NON-MECHANICAL ASPECTS OF ADHESIVE PROCESSES IN GENERAL; ADHESIVE PROCESSES NOT PROVIDED FOR ELSEWHERE; USE OF MATERIALS AS ADHESIVES
- C09J133/00—Adhesives based on homopolymers or copolymers of compounds having one or more unsaturated aliphatic radicals, each having only one carbon-to-carbon double bond, and at least one being terminated by only one carboxyl radical, or of salts, anhydrides, esters, amides, imides, or nitriles thereof; Adhesives based on derivatives of such polymers
- C09J133/04—Homopolymers or copolymers of esters
- C09J133/06—Homopolymers or copolymers of esters of esters containing only carbon, hydrogen and oxygen, the oxygen atom being present only as part of the carboxyl radical
- C09J133/062—Copolymers with monomers not covered by C09J133/06
- C09J133/066—Copolymers with monomers not covered by C09J133/06 containing -OH groups
-
- C—CHEMISTRY; METALLURGY
- C09—DYES; PAINTS; POLISHES; NATURAL RESINS; ADHESIVES; COMPOSITIONS NOT OTHERWISE PROVIDED FOR; APPLICATIONS OF MATERIALS NOT OTHERWISE PROVIDED FOR
- C09J—ADHESIVES; NON-MECHANICAL ASPECTS OF ADHESIVE PROCESSES IN GENERAL; ADHESIVE PROCESSES NOT PROVIDED FOR ELSEWHERE; USE OF MATERIALS AS ADHESIVES
- C09J175/00—Adhesives based on polyureas or polyurethanes; Adhesives based on derivatives of such polymers
- C09J175/04—Polyurethanes
-
- C—CHEMISTRY; METALLURGY
- C09—DYES; PAINTS; POLISHES; NATURAL RESINS; ADHESIVES; COMPOSITIONS NOT OTHERWISE PROVIDED FOR; APPLICATIONS OF MATERIALS NOT OTHERWISE PROVIDED FOR
- C09J—ADHESIVES; NON-MECHANICAL ASPECTS OF ADHESIVE PROCESSES IN GENERAL; ADHESIVE PROCESSES NOT PROVIDED FOR ELSEWHERE; USE OF MATERIALS AS ADHESIVES
- C09J7/00—Adhesives in the form of films or foils
- C09J7/20—Adhesives in the form of films or foils characterised by their carriers
- C09J7/22—Plastics; Metallised plastics
-
- C—CHEMISTRY; METALLURGY
- C09—DYES; PAINTS; POLISHES; NATURAL RESINS; ADHESIVES; COMPOSITIONS NOT OTHERWISE PROVIDED FOR; APPLICATIONS OF MATERIALS NOT OTHERWISE PROVIDED FOR
- C09J—ADHESIVES; NON-MECHANICAL ASPECTS OF ADHESIVE PROCESSES IN GENERAL; ADHESIVE PROCESSES NOT PROVIDED FOR ELSEWHERE; USE OF MATERIALS AS ADHESIVES
- C09J7/00—Adhesives in the form of films or foils
- C09J7/30—Adhesives in the form of films or foils characterised by the adhesive composition
- C09J7/38—Pressure-sensitive adhesives [PSA]
-
- H—ELECTRICITY
- H01—ELECTRIC ELEMENTS
- H01M—PROCESSES OR MEANS, e.g. BATTERIES, FOR THE DIRECT CONVERSION OF CHEMICAL ENERGY INTO ELECTRICAL ENERGY
- H01M10/00—Secondary cells; Manufacture thereof
- H01M10/05—Accumulators with non-aqueous electrolyte
- H01M10/058—Construction or manufacture
- H01M10/0587—Construction or manufacture of accumulators having only wound construction elements, i.e. wound positive electrodes, wound negative electrodes and wound separators
-
- C—CHEMISTRY; METALLURGY
- C09—DYES; PAINTS; POLISHES; NATURAL RESINS; ADHESIVES; COMPOSITIONS NOT OTHERWISE PROVIDED FOR; APPLICATIONS OF MATERIALS NOT OTHERWISE PROVIDED FOR
- C09J—ADHESIVES; NON-MECHANICAL ASPECTS OF ADHESIVE PROCESSES IN GENERAL; ADHESIVE PROCESSES NOT PROVIDED FOR ELSEWHERE; USE OF MATERIALS AS ADHESIVES
- C09J2203/00—Applications of adhesives in processes or use of adhesives in the form of films or foils
- C09J2203/33—Applications of adhesives in processes or use of adhesives in the form of films or foils for batteries or fuel cells
-
- C—CHEMISTRY; METALLURGY
- C09—DYES; PAINTS; POLISHES; NATURAL RESINS; ADHESIVES; COMPOSITIONS NOT OTHERWISE PROVIDED FOR; APPLICATIONS OF MATERIALS NOT OTHERWISE PROVIDED FOR
- C09J—ADHESIVES; NON-MECHANICAL ASPECTS OF ADHESIVE PROCESSES IN GENERAL; ADHESIVE PROCESSES NOT PROVIDED FOR ELSEWHERE; USE OF MATERIALS AS ADHESIVES
- C09J2423/00—Presence of polyolefin
- C09J2423/10—Presence of homo or copolymers of propene
- C09J2423/106—Presence of homo or copolymers of propene in the substrate
-
- C—CHEMISTRY; METALLURGY
- C09—DYES; PAINTS; POLISHES; NATURAL RESINS; ADHESIVES; COMPOSITIONS NOT OTHERWISE PROVIDED FOR; APPLICATIONS OF MATERIALS NOT OTHERWISE PROVIDED FOR
- C09J—ADHESIVES; NON-MECHANICAL ASPECTS OF ADHESIVE PROCESSES IN GENERAL; ADHESIVE PROCESSES NOT PROVIDED FOR ELSEWHERE; USE OF MATERIALS AS ADHESIVES
- C09J2433/00—Presence of (meth)acrylic polymer
-
- C—CHEMISTRY; METALLURGY
- C09—DYES; PAINTS; POLISHES; NATURAL RESINS; ADHESIVES; COMPOSITIONS NOT OTHERWISE PROVIDED FOR; APPLICATIONS OF MATERIALS NOT OTHERWISE PROVIDED FOR
- C09J—ADHESIVES; NON-MECHANICAL ASPECTS OF ADHESIVE PROCESSES IN GENERAL; ADHESIVE PROCESSES NOT PROVIDED FOR ELSEWHERE; USE OF MATERIALS AS ADHESIVES
- C09J2467/00—Presence of polyester
- C09J2467/006—Presence of polyester in the substrate
-
- C—CHEMISTRY; METALLURGY
- C09—DYES; PAINTS; POLISHES; NATURAL RESINS; ADHESIVES; COMPOSITIONS NOT OTHERWISE PROVIDED FOR; APPLICATIONS OF MATERIALS NOT OTHERWISE PROVIDED FOR
- C09J—ADHESIVES; NON-MECHANICAL ASPECTS OF ADHESIVE PROCESSES IN GENERAL; ADHESIVE PROCESSES NOT PROVIDED FOR ELSEWHERE; USE OF MATERIALS AS ADHESIVES
- C09J2471/00—Presence of polyether
- C09J2471/006—Presence of polyether in the substrate
-
- C—CHEMISTRY; METALLURGY
- C09—DYES; PAINTS; POLISHES; NATURAL RESINS; ADHESIVES; COMPOSITIONS NOT OTHERWISE PROVIDED FOR; APPLICATIONS OF MATERIALS NOT OTHERWISE PROVIDED FOR
- C09J—ADHESIVES; NON-MECHANICAL ASPECTS OF ADHESIVE PROCESSES IN GENERAL; ADHESIVE PROCESSES NOT PROVIDED FOR ELSEWHERE; USE OF MATERIALS AS ADHESIVES
- C09J2475/00—Presence of polyurethane
-
- C—CHEMISTRY; METALLURGY
- C09—DYES; PAINTS; POLISHES; NATURAL RESINS; ADHESIVES; COMPOSITIONS NOT OTHERWISE PROVIDED FOR; APPLICATIONS OF MATERIALS NOT OTHERWISE PROVIDED FOR
- C09J—ADHESIVES; NON-MECHANICAL ASPECTS OF ADHESIVE PROCESSES IN GENERAL; ADHESIVE PROCESSES NOT PROVIDED FOR ELSEWHERE; USE OF MATERIALS AS ADHESIVES
- C09J2479/00—Presence of polyamine or polyimide
- C09J2479/08—Presence of polyamine or polyimide polyimide
- C09J2479/086—Presence of polyamine or polyimide polyimide in the substrate
-
- C—CHEMISTRY; METALLURGY
- C09—DYES; PAINTS; POLISHES; NATURAL RESINS; ADHESIVES; COMPOSITIONS NOT OTHERWISE PROVIDED FOR; APPLICATIONS OF MATERIALS NOT OTHERWISE PROVIDED FOR
- C09J—ADHESIVES; NON-MECHANICAL ASPECTS OF ADHESIVE PROCESSES IN GENERAL; ADHESIVE PROCESSES NOT PROVIDED FOR ELSEWHERE; USE OF MATERIALS AS ADHESIVES
- C09J2481/00—Presence of sulfur containing polymers
- C09J2481/006—Presence of sulfur containing polymers in the substrate
-
- Y—GENERAL TAGGING OF NEW TECHNOLOGICAL DEVELOPMENTS; GENERAL TAGGING OF CROSS-SECTIONAL TECHNOLOGIES SPANNING OVER SEVERAL SECTIONS OF THE IPC; TECHNICAL SUBJECTS COVERED BY FORMER USPC CROSS-REFERENCE ART COLLECTIONS [XRACs] AND DIGESTS
- Y02—TECHNOLOGIES OR APPLICATIONS FOR MITIGATION OR ADAPTATION AGAINST CLIMATE CHANGE
- Y02E—REDUCTION OF GREENHOUSE GAS [GHG] EMISSIONS, RELATED TO ENERGY GENERATION, TRANSMISSION OR DISTRIBUTION
- Y02E60/00—Enabling technologies; Technologies with a potential or indirect contribution to GHG emissions mitigation
- Y02E60/10—Energy storage using batteries
-
- Y—GENERAL TAGGING OF NEW TECHNOLOGICAL DEVELOPMENTS; GENERAL TAGGING OF CROSS-SECTIONAL TECHNOLOGIES SPANNING OVER SEVERAL SECTIONS OF THE IPC; TECHNICAL SUBJECTS COVERED BY FORMER USPC CROSS-REFERENCE ART COLLECTIONS [XRACs] AND DIGESTS
- Y02—TECHNOLOGIES OR APPLICATIONS FOR MITIGATION OR ADAPTATION AGAINST CLIMATE CHANGE
- Y02P—CLIMATE CHANGE MITIGATION TECHNOLOGIES IN THE PRODUCTION OR PROCESSING OF GOODS
- Y02P70/00—Climate change mitigation technologies in the production process for final industrial or consumer products
- Y02P70/50—Manufacturing or production processes characterised by the final manufactured product
Landscapes
- Chemical & Material Sciences (AREA)
- Organic Chemistry (AREA)
- Chemical Kinetics & Catalysis (AREA)
- Engineering & Computer Science (AREA)
- Polymers & Plastics (AREA)
- Medicinal Chemistry (AREA)
- Health & Medical Sciences (AREA)
- Manufacturing & Machinery (AREA)
- Electrochemistry (AREA)
- General Chemical & Material Sciences (AREA)
- Adhesives Or Adhesive Processes (AREA)
- Adhesive Tapes (AREA)
- Secondary Cells (AREA)
Description
アクリル系粘着剤:アクリルウレタンポリマーを少なくとも含み、且つアクリル系粘着剤を構成する全モノマー成分に対する酸基含有モノマーの割合が0.5重量%以上である
(1) 酸基含有モノマーとヒドロキシル基含有モノマーを少なくとも含むモノマー成分を重合して得られるアクリル系ポリマー(A1)に、ポリイソシアネートを混合し反応させることにより得られるアクリルウレタンポリマー(B1)を含むか、
(2) ヒドロキシル基含有モノマーを少なくとも含むモノマー成分を重合して得られるアクリル系ポリマー(A2)と酸基含有モノマーを少なくとも含むモノマー成分を重合して得られるアクリル系ポリマー(A3)の混合物に、ポリイソシアネートを混合し反応させることにより得られるアクリルウレタンポリマー(B2)を含むか、又は
(3) ヒドロキシル基含有モノマーを少なくとも含むモノマー成分を重合して得られるアクリル系ポリマー(A2)と酸基含有ポリマー(C1)の混合物に、ポリイソシアネートを混合し反応させることにより得られるアクリルウレタンポリマー(B3)を含むことが好ましい。
アクリル系粘着剤:アクリルウレタンポリマーを少なくとも含み、且つアクリル系粘着剤を構成する全モノマー成分に対する酸基含有モノマーの割合が0.5重量%以上である
本発明の粘着剤層には、アクリルウレタンポリマーを少なくとも含み、且つアクリル系粘着剤を構成する全モノマー成分に対する酸基含有モノマーの割合が0.5重量%以上であるアクリル系粘着剤を少なくとも含有する。
(1) 酸基含有モノマーとヒドロキシル基含有モノマーを少なくとも含むモノマー成分を重合して得られるアクリル系ポリマー(A1)に、ポリイソシアネートを混合し反応させることにより得られるアクリルウレタンポリマー(B1)
(2) ヒドロキシル基含有モノマーを少なくとも含むモノマー成分を重合して得られるアクリル系ポリマー(A2)と酸基含有モノマーを少なくとも含むモノマー成分を重合して得られるアクリル系ポリマー(A3)の混合物に、ポリイソシアネートを混合し反応させることにより得られるアクリルウレタンポリマー(B2)
(3) ヒドロキシル基含有モノマーを少なくとも含むモノマー成分を重合して得られるアクリル系ポリマー(A2)と酸基含有ポリマー(C1)の混合物に、ポリイソシアネートを混合し反応させることにより得られるアクリルウレタンポリマー(B3)
測定条件
装置:商品名「HLC−8120GPC」((株)TOSHO製)
カラム:TSKgel Super HZM−H/HZ4000/HZ3000/HZ2000
カラムサイズ:6.0mmI.D.×150mm
溶離液:テトラヒドロフラン
検出器:RI
測定:せん断モード
温度範囲:−70℃〜150℃
昇温速度:5℃/min
周波数:1Hz
基材としては、特に限定されず、各種基材を用いることが可能であり、例えば、布、不織布、フェルト、ネット等の繊維系基材;各種の紙等の紙系基材;金属箔、金属板等の金属系基材;各種樹脂によるフィルムやシート等のプラスチック系基材;ゴムシート等のゴム系基材;発泡シート等の発泡体や、これらの積層体等の適宜な薄葉体を用いることができる。本発明においては、なかでも、プラスチック系基材を使用することが好ましい。
本発明の粘着テープは、基材の少なくとも一方の面に粘着剤層を積層して得られる。図1、2は本発明の粘着テープの一例を示す概略断面図である。粘着テープ31は、基材1の一方の面に粘着剤層2が設けられており、粘着テープ32は、基材1の一方の面に粘着剤層21が設けられ、他の面に粘着剤層22が設けられている。
本発明の非水系電池は、リチウムイオン電池等の非水系電解液が封入された電池であって、異物やバリ等によるセパレータの貫通を防止する目的や、電池ケース内への電極の詰め込み適性を改善する目的(例えば、巻回型電池の巻末部を巻き止めする目的、活物質の剥がれを防止する目的)で、上記粘着テープを電池構成部材に貼着して得られる電池である。
n−ブチルアクリレート(BA)/アクリル酸(AA)/2−ヒドロキシエチルアクリレート(HEA)共重合体(100重量部/5重量部/0.07重量部、Mw:220万)にポリイソシアネート(商品名「コロネートL」(日本ポリウレタン(株)製)を2重量部加え、粘着剤(1)を調製した。
得られた粘着剤(1)を基材(1)(ポリプロピレンフィルム、商品名「トレファン」、東レ(株)製、厚さ:20μm)上に乾燥後の厚みが10μmになる様に塗布、乾燥し、粘着テープ(1)を作製した。
2−エチルヘキシルアクリレート(2EHA)/2−ヒドロキシエチルアクリレート共重合体(100重量部/4重量部、Mw:55万)75重量部に2−エチルヘキシルアクリレート/アクリル酸共重合体(100重量部/5重量部、Mw:130万)25重量部を加え(ブレンド)、更にポリイソシアネート(商品名「コロネートL」(日本ポリウレタン(株)製)を2重量部加え、粘着剤(2)を調製した。
粘着剤(1)に代えて粘着剤(2)を使用した以外は実施例1と同様にして、粘着テープ(2)を作製した。
2−エチルヘキシルアクリレート/2−ヒドロキシエチルアクリレート共重合体(100重量部/4重量部、Mw:55万)85重量部に2−エチルヘキシルアクリレート/アクリル酸共重合体(100重量部/5重量部、Mw:130万)15重量部を加え(ブレンド)、更にポリイソシアネート(商品名「コロネートL」(日本ポリウレタン(株)製)を2重量部加え、粘着剤(3)を調製した。
粘着剤(1)に代えて粘着剤(3)を使用した以外は実施例1と同様にして、粘着テープ(3)を作製した。
2−エチルヘキシルアクリレート/アクリル酸/4−ヒドロキシブチルアクリレート(4HBA)共重合体(95重量部/5重量部/0.1重量部、Mw:50万)にポリイソシアネート(商品名「コロネートL」(日本ポリウレタン(株)製)を2重量部加え、粘着剤(4)を調製した。
粘着剤(1)に代えて粘着剤(4)を使用した以外は実施例1と同様にして、粘着テープ(4)を作製した。
n−ブチルアクリレート/アクリル酸/4−ヒドロキシブチルアクリレート共重合体(95重量部/5重量部/1重量部、Mw:85万)にポリイソシアネート(商品名「コロネートL」(日本ポリウレタン(株)製)を2重量部加え、粘着剤(5)を調製した。
粘着剤(1)に代えて粘着剤(5)を使用した以外は実施例1と同様にして、粘着テープ(5)を作製した。
2−エチルヘキシルアクリレート/n−ブチルアクリレート/アクリル酸/4−ヒドロキシブチルアクリレート共重合体(45重量部/45重量部/5重量部/0.1重量部、Mw:32万)にポリイソシアネート(商品名「コロネートL」(日本ポリウレタン(株)製)を2重量部加え、粘着剤(6)を調製した。
粘着剤(1)に代えて粘着剤(6)を使用した以外は実施例1と同様にして、粘着テープ(6)を作製した。
2−エチルヘキシルアクリレート/2−ヒドロキシエチルアクリレート共重合体(100重量部/4重量部、Mw:55万)75重量部に2−エチルヘキシルアクリレート/アクリル酸共重合体(100重量部/5重量部、Mw:130万)25重量部を加え(ブレンド)、更にポリイソシアネート(商品名「コロネートL」(日本ポリウレタン(株)製)を3重量部加え、粘着剤(7)を調製した。
粘着剤(1)に代えて粘着剤(7)を使用した以外は実施例1と同様にして、粘着テープ(7)を作製した。
n−ブチルアクリレート/アクリル酸/2−ヒドロキシエチルアクリレート共重合体(100重量部/5重量部/0.07重量部、Mw:220万)にポリイソシアネート(商品名「コロネートL」(日本ポリウレタン(株)製)を1重量部加え、粘着剤(8)を調製した。
粘着剤(1)に代えて粘着剤(8)を使用した以外は実施例1と同様にして、粘着テープ(8)を作製した。
基材(1)に代えて基材(2)(ポリイミドフィルム、商品名「カプトン100H」、東レ・デュポン(株)製、厚さ:25μm)を使用した以外は実施例4と同様にして、粘着テープ(9)を作製した。
基材(1)に代えて基材(3)(ポリエステルフィルム、商品名「ルミラー」、東レ・(株)製、厚さ:12μm)を使用した以外は実施例1と同様にして、粘着テープ(10)を作製した。
2−エチルヘキシルアクリレート/2−ヒドロキシエチルアクリレート共重合体(100重量部/4重量部、Mw:55万)100量部にポリイソシアネート(商品名「コロネートL」(日本ポリウレタン(株)製)を2重量部加え粘着剤(9)を調製した。
粘着剤(1)に代えて粘着剤(9)を使用した以外は実施例1と同様にして、粘着テープ(11)を作製した。
2−エチルヘキシルアクリレート/2−ヒドロキシエチルアクリレート共重合体(100重量部/4重量部、Mw:55万)95重量部に2−エチルヘキシルアクリレート/アクリル酸共重合体(100重量部/5重量部、Mw:130万)5重量部を加え(ブレンド)、更にポリイソシアネート(商品名「コロネートL」(日本ポリウレタン(株)製)を2重量部加え、粘着剤(10)を調製した。
粘着剤(1)に代えて粘着剤(10)を使用した以外は実施例1と同様にして、粘着テープ(12)を作製した。
エチルアクリレート(EA)/2−エチルヘキシルアクリレート/メチルメタクリレート(MMA)/アクリル酸/2−ヒドロキシエチルアクリレート共重合体(70重量部/30重量部/5重量部/0.2重量部/0.8重量部、Mw:42万)にポリイソシアネート(商品名「コロネートL」(日本ポリウレタン(株)製)を2重量部加え、粘着剤(11)を調製した。
粘着剤(1)に代えて粘着剤(11)を使用した以外は実施例1と同様にして、粘着テープ(13)を作製した。
精密万能試験機オートグラフ((株)島津製作所製)を使用し、下記条件下で剥離力を測定した。尚、被着体はアルミ箔を使用し、2kgローラーで1往復して貼り合せ、室温で20分静置後に接着力を測定した。
測定条件
剥離速度:300mm/min
剥離角度:180°
剥離温度:常温(25℃)
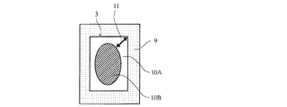
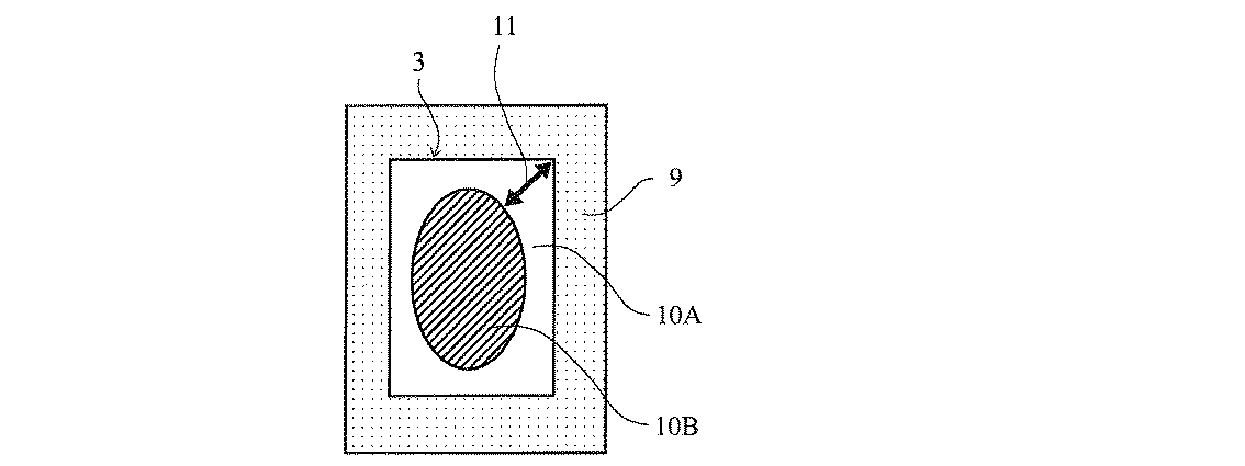
実施例及び比較例で得られた粘着テープをアルミ箔に2kgローラーで1往復して貼り合わせ、室温で20分静置した後、電解液(エチレンカーボネート/ジエチルカーボネート=1/1[v/v])中に浸漬させ、60℃で24時間静置後の粘着テープの剥がれ部分の有無及び、剥がれ部分がある場合はその剥がれ量を測定することにより評価した。尚、剥がれ量は、剥がれ部分の最大長さ(mm)で示す(図4参照)。
2、21、22 粘着剤層
3、31、32 粘着テープ
4 電極端子
5 正極板
6 負極板
7 セパレータ
8 活物質
9 アルミ箔
10A 粘着テープ剥がれ部分
10B 粘着テープ密着部分
11 剥がれ部分の最大長さ
Claims (7)
- 基材の少なくとも一方の面に、下記アクリル系粘着剤を含む粘着剤層を有する非水系電池内部の電解液に浸漬する又は電解液に接触する可能性のある部位に貼着するための粘着テープ。
アクリル系粘着剤:アクリルウレタンポリマーを少なくとも含み、且つアクリル系粘着剤を構成する全モノマー成分に対する酸基含有モノマーの割合が0.5重量%以上である - 前記アクリル系粘着剤が、
(1) 酸基含有モノマーとヒドロキシル基含有モノマーを少なくとも含むモノマー成分を重合して得られるアクリル系ポリマー(A1)に、ポリイソシアネートを混合し反応させることにより得られるアクリルウレタンポリマー(B1)を含むか、
(2) ヒドロキシル基含有モノマーを少なくとも含むモノマー成分を重合して得られるアクリル系ポリマー(A2)と酸基含有モノマーを少なくとも含むモノマー成分を重合して得られるアクリル系ポリマー(A3)の混合物に、ポリイソシアネートを混合し反応させることにより得られるアクリルウレタンポリマー(B2)を含むか、又は
(3) ヒドロキシル基含有モノマーを少なくとも含むモノマー成分を重合して得られるアクリル系ポリマー(A2)と酸基含有ポリマー(C1)の混合物に、ポリイソシアネートを混合し反応させることにより得られるアクリルウレタンポリマー(B3)を含む請求項1に記載の非水系電池内部の電解液に浸漬する又は電解液に接触する可能性のある部位に貼着するための粘着テープ。 - アクリル系粘着剤のガラス転移温度(Tg)が25℃以下である請求項1又は2に記載の非水系電池内部の電解液に浸漬する又は電解液に接触する可能性のある部位に貼着するための粘着テープ。
- アクリル系粘着剤を構成するモノマー成分として、更に炭素数4以上のアルキル基含有モノマーをアクリル系粘着剤を構成する全モノマー成分に対して50〜97重量%含む請求項1〜3の何れか1項に記載の非水系電池内部の電解液に浸漬する又は電解液に接触する可能性のある部位に貼着するための粘着テープ。
- 基材が、ポリプロピレン、ポリエチレンテレフタレート、ポリフェニレンサルファイド、ポリイミド、及びポリエーテルイミドから選択される素材で構成されるプラスチック系基材である請求項1〜4の何れか1項に記載の非水系電池内部の電解液に浸漬する又は電解液に接触する可能性のある部位に貼着するための粘着テープ。
- 前記アクリル系粘着剤がアクリルウレタンポリマー(B1)を含む場合、アクリル系粘着剤を構成する全モノマー成分に対する酸基含有モノマーの割合が0.5〜20重量%、ヒドロキシル基含有モノマーの割合が0.01〜5重量%であり、前記アクリル系粘着剤がアクリルウレタンポリマー(B2)又は(B3)を含む場合、アクリル系粘着剤を構成する全モノマー成分に対する酸基含有モノマーの割合が0.5〜10重量%、ヒドロキシル基含有モノマーの割合が0.01〜5重量%である請求項2〜5の何れか1項に記載の非水系電池内部の電解液に浸漬する又は電解液に接触する可能性のある部位に貼着するための粘着テープ。
- 請求項1〜6の何れか1項に記載の粘着テープを非水系電池内部の電解液に浸漬する又は電解液に接触する可能性のある部位に貼着して得られる非水系電池。
Priority Applications (1)
| Application Number | Priority Date | Filing Date | Title |
|---|---|---|---|
| JP2014503814A JP5639733B2 (ja) | 2012-03-09 | 2013-03-01 | 粘着テープ |
Applications Claiming Priority (4)
| Application Number | Priority Date | Filing Date | Title |
|---|---|---|---|
| JP2012052756 | 2012-03-09 | ||
| JP2012052756 | 2012-03-09 | ||
| JP2014503814A JP5639733B2 (ja) | 2012-03-09 | 2013-03-01 | 粘着テープ |
| PCT/JP2013/055685 WO2013133167A1 (ja) | 2012-03-09 | 2013-03-01 | 粘着テープ |
Publications (2)
| Publication Number | Publication Date |
|---|---|
| JP5639733B2 true JP5639733B2 (ja) | 2014-12-10 |
| JPWO2013133167A1 JPWO2013133167A1 (ja) | 2015-07-30 |
Family
ID=49116647
Family Applications (1)
| Application Number | Title | Priority Date | Filing Date |
|---|---|---|---|
| JP2014503814A Active JP5639733B2 (ja) | 2012-03-09 | 2013-03-01 | 粘着テープ |
Country Status (5)
| Country | Link |
|---|---|
| JP (1) | JP5639733B2 (ja) |
| KR (1) | KR101544685B1 (ja) |
| CN (1) | CN104159987B (ja) |
| TW (1) | TWI488938B (ja) |
| WO (1) | WO2013133167A1 (ja) |
Cited By (6)
| Publication number | Priority date | Publication date | Assignee | Title |
|---|---|---|---|---|
| WO2016194093A1 (ja) * | 2015-05-29 | 2016-12-08 | リンテック株式会社 | 粘着シート |
| KR20190027527A (ko) * | 2017-09-07 | 2019-03-15 | 주식회사 엘지화학 | 전극 조립체 |
| US10550290B2 (en) | 2016-12-07 | 2020-02-04 | Lintec Corporation | Pressure sensitive adhesive sheet for batteries and lithium-ion battery |
| US11279857B2 (en) | 2017-05-23 | 2022-03-22 | Teraoka Seisakusho Co., Ltd. | Adhesive tape |
| US11840651B2 (en) | 2018-09-19 | 2023-12-12 | Lintec Corporation | Pressure sensitive adhesive sheet for batteries and lithium-ion battery |
| KR102834769B1 (ko) * | 2020-05-14 | 2025-07-17 | 주식회사 엘지에너지솔루션 | 전극 조립체 |
Families Citing this family (13)
| Publication number | Priority date | Publication date | Assignee | Title |
|---|---|---|---|---|
| JP2016042446A (ja) * | 2014-08-19 | 2016-03-31 | 東レバッテリーセパレータフィルム株式会社 | ポリオレフィン微多孔膜捲回体 |
| CN105742712A (zh) * | 2014-12-08 | 2016-07-06 | 东莞新能源科技有限公司 | 电化学储能装置 |
| JP6861367B2 (ja) * | 2015-08-31 | 2021-04-21 | パナソニックIpマネジメント株式会社 | 非水電解質二次電池 |
| CN105514470A (zh) * | 2015-12-14 | 2016-04-20 | 东莞新能源科技有限公司 | 阴极极片及采用该极片的锂离子电芯 |
| JP6818533B2 (ja) * | 2016-12-07 | 2021-01-20 | リンテック株式会社 | 電池用粘着シート、電池用粘着シートの製造方法およびリチウムイオン電池 |
| PL3628717T3 (pl) * | 2017-11-16 | 2022-04-19 | Showa Denko K.K. | Klej, laminat, materiał opakowaniowy do obudowy baterii, obudowa baterii i sposób wytwarzania obudowy baterii |
| WO2020218364A1 (ja) * | 2019-04-26 | 2020-10-29 | 日東電工株式会社 | 非水系電池用粘着テープ |
| WO2020218363A1 (ja) * | 2019-04-26 | 2020-10-29 | 日東電工株式会社 | 非水系電池用粘着テープ |
| US20220213359A1 (en) * | 2019-04-26 | 2022-07-07 | Nitto Denko Corporation | Adhesive for nonaqueous batteries and adhesive tape for nonaqueous batteries |
| WO2021199359A1 (ja) | 2020-03-31 | 2021-10-07 | 株式会社寺岡製作所 | 架橋型粘着剤組成物および粘着テープ |
| WO2022202958A1 (ja) * | 2021-03-24 | 2022-09-29 | 旭化成株式会社 | 非水系二次電池用重合体組成物及び非水系二次電池 |
| CN114262574A (zh) * | 2021-12-17 | 2022-04-01 | 宁德新能源科技有限公司 | 胶带及包括该胶带的电化学装置 |
| CN119081568A (zh) * | 2024-08-28 | 2024-12-06 | 皇冠新材料科技股份有限公司 | 一种耐电解液的锂电池包裹胶带及其制备工艺 |
Citations (5)
| Publication number | Priority date | Publication date | Assignee | Title |
|---|---|---|---|---|
| JPS57182373A (en) * | 1981-05-06 | 1982-11-10 | Hitachi Chem Co Ltd | Self-adhesive for surface-protective film |
| JP2001006646A (ja) * | 1999-06-23 | 2001-01-12 | Sony Computer Entertainment Inc | 電池絶縁・表示面保護用シートおよび電池絶縁・表示面保護用シート付き携帯情報端末 |
| JP2002260667A (ja) * | 2001-03-01 | 2002-09-13 | Nitto Denko Corp | リチウム二次電池用アクリル系接着剤又は粘着剤 |
| JP2004247159A (ja) * | 2003-02-13 | 2004-09-02 | Sanyo Gs Soft Energy Co Ltd | 電池パックおよびその製造方法 |
| JP2011095468A (ja) * | 2009-10-29 | 2011-05-12 | Shin Etsu Polymer Co Ltd | ラベル用フィルム基材、粘着フィルムおよび積層フィルム |
Family Cites Families (4)
| Publication number | Priority date | Publication date | Assignee | Title |
|---|---|---|---|---|
| JP4140736B2 (ja) * | 2006-03-15 | 2008-08-27 | 日東電工株式会社 | 粘着型光学フィルム、積層光学フィルムおよび画像表示装置 |
| CA2770285C (en) * | 2009-08-07 | 2014-03-25 | Jsr Corporation | Electrochemical device and binder composition |
| JP5595034B2 (ja) * | 2009-12-28 | 2014-09-24 | リンテック株式会社 | 粘着性組成物、粘着剤および粘着シート |
| JP5798404B2 (ja) * | 2010-08-31 | 2015-10-21 | 日東電工株式会社 | 極板保護用粘着テープ |
-
2013
- 2013-03-01 WO PCT/JP2013/055685 patent/WO2013133167A1/ja not_active Ceased
- 2013-03-01 CN CN201380012584.8A patent/CN104159987B/zh active Active
- 2013-03-01 JP JP2014503814A patent/JP5639733B2/ja active Active
- 2013-03-01 KR KR1020147022484A patent/KR101544685B1/ko active Active
- 2013-03-08 TW TW102108350A patent/TWI488938B/zh active
Patent Citations (5)
| Publication number | Priority date | Publication date | Assignee | Title |
|---|---|---|---|---|
| JPS57182373A (en) * | 1981-05-06 | 1982-11-10 | Hitachi Chem Co Ltd | Self-adhesive for surface-protective film |
| JP2001006646A (ja) * | 1999-06-23 | 2001-01-12 | Sony Computer Entertainment Inc | 電池絶縁・表示面保護用シートおよび電池絶縁・表示面保護用シート付き携帯情報端末 |
| JP2002260667A (ja) * | 2001-03-01 | 2002-09-13 | Nitto Denko Corp | リチウム二次電池用アクリル系接着剤又は粘着剤 |
| JP2004247159A (ja) * | 2003-02-13 | 2004-09-02 | Sanyo Gs Soft Energy Co Ltd | 電池パックおよびその製造方法 |
| JP2011095468A (ja) * | 2009-10-29 | 2011-05-12 | Shin Etsu Polymer Co Ltd | ラベル用フィルム基材、粘着フィルムおよび積層フィルム |
Cited By (8)
| Publication number | Priority date | Publication date | Assignee | Title |
|---|---|---|---|---|
| WO2016194093A1 (ja) * | 2015-05-29 | 2016-12-08 | リンテック株式会社 | 粘着シート |
| JPWO2016194093A1 (ja) * | 2015-05-29 | 2017-06-15 | リンテック株式会社 | 粘着シート |
| US10550290B2 (en) | 2016-12-07 | 2020-02-04 | Lintec Corporation | Pressure sensitive adhesive sheet for batteries and lithium-ion battery |
| US11279857B2 (en) | 2017-05-23 | 2022-03-22 | Teraoka Seisakusho Co., Ltd. | Adhesive tape |
| KR20190027527A (ko) * | 2017-09-07 | 2019-03-15 | 주식회사 엘지화학 | 전극 조립체 |
| KR102345308B1 (ko) * | 2017-09-07 | 2021-12-31 | 주식회사 엘지에너지솔루션 | 전극 조립체 |
| US11840651B2 (en) | 2018-09-19 | 2023-12-12 | Lintec Corporation | Pressure sensitive adhesive sheet for batteries and lithium-ion battery |
| KR102834769B1 (ko) * | 2020-05-14 | 2025-07-17 | 주식회사 엘지에너지솔루션 | 전극 조립체 |
Also Published As
| Publication number | Publication date |
|---|---|
| CN104159987B (zh) | 2015-12-09 |
| TWI488938B (zh) | 2015-06-21 |
| KR20140138127A (ko) | 2014-12-03 |
| CN104159987A (zh) | 2014-11-19 |
| TW201343865A (zh) | 2013-11-01 |
| WO2013133167A1 (ja) | 2013-09-12 |
| KR101544685B1 (ko) | 2015-08-13 |
| JPWO2013133167A1 (ja) | 2015-07-30 |
Similar Documents
| Publication | Publication Date | Title |
|---|---|---|
| JP5639733B2 (ja) | 粘着テープ | |
| US11236253B2 (en) | Pressure-sensitive adhesive sheet | |
| KR101299741B1 (ko) | 접착제 조성물, 양면 코팅 접착 시트, 접착 방법 및 휴대용전자 장치 | |
| JP5982131B2 (ja) | 電池用粘着テープ、及び該粘着テープを使用した電池 | |
| US20190071589A1 (en) | Pressure-sensitive adhesive sheet | |
| KR101884944B1 (ko) | 양면 점착 테이프 및 터치패널 부착 표시장치 | |
| JP2019070102A (ja) | アクリル系粘着剤組成物および粘着シート | |
| KR20180087234A (ko) | 점착 시트 | |
| JP2013064086A (ja) | 電池用粘着テープ | |
| JP7147559B2 (ja) | 粘着剤組成物、粘着剤、粘着テープ並びに気密防水用粘着テープ | |
| KR20120021291A (ko) | 극판 보호용 점착 테이프 | |
| JP2014198830A (ja) | 電気化学装置用粘着テープ | |
| JP2019065254A (ja) | 粘着テープ | |
| WO2011059043A1 (ja) | アクリル系粘着シートの製造方法 | |
| JP2012226992A (ja) | 電気化学デバイス用粘着テープ | |
| JP2019070103A (ja) | 粘着シート | |
| JP6471573B2 (ja) | 封止用粘着剤、および封止用粘着テープ | |
| JP2019099635A (ja) | 粘着シート | |
| JP6666748B2 (ja) | 防水用両面粘着テープ及び携帯情報端末機器 | |
| JP6432063B2 (ja) | 防水用両面粘着テープ及び携帯情報端末機器 | |
| KR20200018312A (ko) | 점착 시트 | |
| JP7312299B2 (ja) | 粘着テープ | |
| JP2024120642A (ja) | 両面粘着シート | |
| JP7063689B2 (ja) | アクリル系粘着剤組成物および粘着シート | |
| KR20200018313A (ko) | 점착 시트 |
Legal Events
| Date | Code | Title | Description |
|---|---|---|---|
| A521 | Request for written amendment filed |
Free format text: JAPANESE INTERMEDIATE CODE: A523 Effective date: 20140924 |
|
| TRDD | Decision of grant or rejection written | ||
| A01 | Written decision to grant a patent or to grant a registration (utility model) |
Free format text: JAPANESE INTERMEDIATE CODE: A01 Effective date: 20141021 |
|
| A61 | First payment of annual fees (during grant procedure) |
Free format text: JAPANESE INTERMEDIATE CODE: A61 Effective date: 20141024 |
|
| R150 | Certificate of patent or registration of utility model |
Ref document number: 5639733 Country of ref document: JP Free format text: JAPANESE INTERMEDIATE CODE: R150 |
|
| R250 | Receipt of annual fees |
Free format text: JAPANESE INTERMEDIATE CODE: R250 |
|
| R250 | Receipt of annual fees |
Free format text: JAPANESE INTERMEDIATE CODE: R250 |
|
| R250 | Receipt of annual fees |
Free format text: JAPANESE INTERMEDIATE CODE: R250 |
|
| R250 | Receipt of annual fees |
Free format text: JAPANESE INTERMEDIATE CODE: R250 |
|
| R250 | Receipt of annual fees |
Free format text: JAPANESE INTERMEDIATE CODE: R250 |
|
| R250 | Receipt of annual fees |
Free format text: JAPANESE INTERMEDIATE CODE: R250 |
|
| R250 | Receipt of annual fees |
Free format text: JAPANESE INTERMEDIATE CODE: R250 |
|
| R250 | Receipt of annual fees |
Free format text: JAPANESE INTERMEDIATE CODE: R250 |
|
| R250 | Receipt of annual fees |
Free format text: JAPANESE INTERMEDIATE CODE: R250 |
