JP5574591B2 - 加圧機構、タイヤ加硫装置及びタイヤ製造方法 - Google Patents

加圧機構、タイヤ加硫装置及びタイヤ製造方法 Download PDF

Info

Publication number
JP5574591B2
JP5574591B2 JP2008224992A JP2008224992A JP5574591B2 JP 5574591 B2 JP5574591 B2 JP 5574591B2 JP 2008224992 A JP2008224992 A JP 2008224992A JP 2008224992 A JP2008224992 A JP 2008224992A JP 5574591 B2 JP5574591 B2 JP 5574591B2
Authority
JP
Japan
Prior art keywords
tire
pressure
pressurizing
contact
mold
Prior art date
Legal status (The legal status is an assumption and is not a legal conclusion. Google has not performed a legal analysis and makes no representation as to the accuracy of the status listed.)
Expired - Fee Related
Application number
JP2008224992A
Other languages
English (en)
Other versions
JP2010058334A (ja
Inventor
正之 一ノ瀬
Current Assignee (The listed assignees may be inaccurate. Google has not performed a legal analysis and makes no representation or warranty as to the accuracy of the list.)
Bridgestone Corp
Original Assignee
Bridgestone Corp
Priority date (The priority date is an assumption and is not a legal conclusion. Google has not performed a legal analysis and makes no representation as to the accuracy of the date listed.)
Filing date
Publication date
Application filed by Bridgestone Corp filed Critical Bridgestone Corp
Priority to JP2008224992A priority Critical patent/JP5574591B2/ja
Publication of JP2010058334A publication Critical patent/JP2010058334A/ja
Application granted granted Critical
Publication of JP5574591B2 publication Critical patent/JP5574591B2/ja
Expired - Fee Related legal-status Critical Current
Anticipated expiration legal-status Critical

Links

Images

Landscapes

  • Moulds For Moulding Plastics Or The Like (AREA)
  • Heating, Cooling, Or Curing Plastics Or The Like In General (AREA)
  • Reciprocating Pumps (AREA)

Description

本発明は、ピストン・シリンダ機構を作動させて被加圧体を加圧する加圧機構と、この加圧機構を使用して生タイヤ(グリーンタイヤ)を収納する加硫モールドを型締め方向に加圧して生タイヤを加硫するタイヤ加硫装置、及びタイヤ製造方法に関する。
空気入りタイヤは、一般に、未加硫ゴム等からなる各種のタイヤ構成部材により生タイヤを成形した後、タイヤ加硫装置の加硫モールド内に収納されて加硫成型して製造される。また、このタイヤ加硫装置として、従来、装置のベース部と、加硫モールドが取り付けられたプレートとの間に、ピストン・シリンダ機構からなる複数の加圧機構を設け、これにより、当接するプレートを介して加硫モールドを加圧して所定圧力で締め付けつつ、生タイヤを加硫する装置が知られている(特許文献1参照)。
ところで、このように使用される加圧機構は、プレートの当接面の傾きや重心の偏り等により加圧時に荷重が偏芯して付加され、この偏芯荷重が生じた状態でピストンが昇降変位してシリンダの内周面に対して摺動等することで、ピストン外周面やシリンダ内周面に摩耗や傷が生じることがある。同時に、この傷で加圧機構内に設けられたOリング等のパッキンが傷つき、或いは、シリンダとピストン間の隙間寸法に対して摩耗が所定量進行した段階で、作動時の圧力によりパッキンが摩耗部からはみ出して切れる等、パッキンが破損する要因になることもある。その結果、従来の加圧機構では、ピストンやシリンダ、又はパッキン等の部品の耐久性が低下して、それらの寿命が短くなる恐れがあり、特に、加圧力の最大値が大きい大型サイズでは、寿命がより短くなる傾向がある。
また、タイヤ加硫装置では、複数の加圧機構により、同じ加硫モールドを同時に加圧して締め付けるのが一般的である。しかしながら、このような複数の加圧機構を全て同じように動作させるのは極めて困難であり、互いの動作やタイミングのずれ等により各々偏芯荷重が生じ易く、偏芯荷重や、それに伴う問題を回避するのは難しい。
特開2007−190850号公報
本発明は、前記従来の問題に鑑みなされたものであって、その目的は、ピストン・シリンダ機構により被加圧体を加圧する加圧機構に発生する偏芯荷重を低減し、シリンダやピストンに摩耗や傷が生じ、或いは、パッキンが損傷等するのを抑制して、各部品の耐久性を高めて寿命を延長することである。
本発明は、ピストン・シリンダ機構により被加圧体を加圧する加圧機構であって、ピストン・シリンダ機構のピストンと一体に変位してシリンダから進退し、被加圧体に圧力を伝達する圧力伝達体を備え、圧力伝達体は、圧力伝達体に形成された環状の周壁との間に隙間ができるように周壁内の凹所に収容され、被加圧体と当接しその傾きに応じて傾斜可能な当接部材と、当接部材と接する凹所の底面に形成されて当接部材を傾斜可能に支承するとともに、面接触可能な当接部材の被支承面を摺動させて当接部材を周壁内で変位させて傾斜させる支承面を有し、圧力伝達体の当接部材を当接する被加圧体の傾きに応じて傾斜させ、圧力伝達体及び当接部材を介して、ピストン・シリンダ機構から被加圧体に圧力を作用させて加圧することを特徴とする。
また、本発明は、生タイヤを収納する加硫モールドを加圧して型締めし、生タイヤを加硫するタイヤ加硫装置であって、加圧機構を備え、加圧機構により被加圧体である加硫モールドの圧力作用面を加硫モールドの型締め方向に加圧することを特徴とする。
更に、本発明は、生タイヤを収納する加硫モールドを加圧して型締めし、生タイヤを加硫してタイヤを製造するタイヤ製造方法であって、加圧機構により被加圧体である加硫モールドの圧力作用面を加硫モールドの型締め方向に加圧する工程と、該加圧により加硫モールドを加圧して型締めし、加硫モールドに収納された生タイヤを加硫する工程と、を有することを特徴とする。
本発明によれば、ピストン・シリンダ機構により被加圧体を加圧する加圧機構に発生する偏芯荷重を低減でき、シリンダやピストンに摩耗や傷が生じ、或いは、パッキンが損傷等するのを抑制して、各部品の耐久性を高めて寿命を延長することができる。
以下、本発明の加圧機構と、この加圧機構を備えたタイヤ加硫装置、及び加圧機構を使用してタイヤを製造するタイヤ製造方法の一実施形態について、図面を参照して説明する。
本実施形態の加圧機構は、ピストン・シリンダ機構により加圧対象物である被加圧体を所定圧力で加圧する加圧装置を構成し、ここでは、生タイヤを加硫するタイヤ加硫装置に設けられ、その生タイヤを収納する加硫モールド等を加圧する場合を例に採り説明する。
図1は、本実施形態のタイヤ加硫装置の要部を模式的に示す側面図であり、各構成を組み合わせて加硫モールドを閉じた状態を示している。
タイヤ加硫装置1は、図示のように、生タイヤ(図示せず)を収納する加硫モールド2と、その上下面にそれぞれ当接して配置された上プラテン3及び下プラテン4と、を備えている。
加硫モールド2は、例えば上下に対向する一対のサイドモールド及び、それらに挟まれた周方向に複数に分割された略環状のトレッドモールド等、複数に分割され、それらが組み合わされて生タイヤを収納するキャビティを区画する。また、加硫モールド2は、分割された各部を相対的に接近及び離反する方向に各々移動させて型締め及び型開きさせる移動機構を備え、これにより、キャビティを開放及び閉鎖して、生タイヤの内部への収納と、加硫後のタイヤの取り出しとが行われる。その際、加硫モールド2内には、内面側に膨張可能なブラダが配置される生タイヤが、又は、剛体コア上に形成された生タイヤが収納される。
上下のプラテン3、4は、この生タイヤを収納する加硫モールド2を加熱する加熱部材(熱板)であり、それぞれ加硫モールド2を挟んで、その上下面の略全体に亘って当接する板状に形成されている。各プラテン3、4は、例えば内部に形成された循環通路に供給手段から加熱媒体が供給され、この循環する加熱媒体により加熱されて当接する加硫モールド2に伝熱し、加硫モールド2を所定の加硫温度まで加熱して内部の生タイヤの加硫を進行させる。
また、タイヤ加硫装置1は、これら上下のプラテン3、4にそれぞれ当接させて上下の断熱板5、6を配置するとともに、下断熱板6の下面に加圧プレート7を当接させ、かつ、それらの全体を挟んで上方にトッププレート8を、下方に下部プレート9を各々配置している。このトッププレート8と下部プレート9は、それらの間の各部よりも大きい板状に形成され、その外縁側に設けられた締結手段10により互いに締結され、間に位置する加硫モールド2、プラテン3、4、断熱板5、6、及び加圧プレート7の全体を挟み込んで固定する。更に、タイヤ加硫装置1は、この各プレート8、9を、加硫モールド2等を挟み込んだ状態で固定して保持する、左右に設置された保持装置11や、下部プレート9の下側に配置されたバグ調整装置12を備えている。
タイヤ加硫装置1は、以上のように、生タイヤを加硫モールド2に収納して、上下のプラテン3、4等を挟んで各プレート8、9間に配置し、プラテン3、4を介して加硫モールド2を加熱して、生タイヤを加硫しつつ製品形状に成型する。その際、本実施形態では、生タイヤを収納する加硫モールド2を所定のタイミングで加圧して型締めし、加硫モールド2を締め付けながら、或いは、その内部の生タイヤに作用する圧力を調整等しながら加硫成型を進行させてタイヤを製造する。
そのため、このタイヤ加硫装置1は、加硫モールド2を型締め方向に加圧するための加圧機構20を備えており、ここでは、複数の加圧機構20を、下部プレート9の上面側に形成した凹部内に収納して取り付けている。タイヤ加硫装置1は、この加圧機構20により、上端部に当接する加圧プレート7を上方に向けて押圧し、その上方に配置された加硫モールド2の分割部を、他の分割部に向けて押圧して圧力を作用させる。このように、タイヤ加硫装置1は、下部プレート9と加圧プレート7との間に加圧機構20を設け、これにより、加圧プレート7等を介して、加硫モールド2又は内部の生タイヤを加圧する。
図2は、この加圧機構20の配置状態を示す模式図であり、上方から見た下部プレート9と加圧機構20とを抜き出して平面図で示している。
加圧機構20は、図示のように、円盤状の下部プレート9と同芯状に複数(ここでは3つ)、その周方向に沿って互いに等間隔に配置されている。また、加圧機構20は、上記したようにピストン・シリンダ機構からなり、それぞれシリンダ内で、油や気体等の作動媒体からの圧力(ここでは油圧)によりピストンを往復摺動させて所定方向に変位(移動)させることで、互いに同期して作動する。以下、この加圧機構20について、より詳細に説明する。
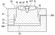
図3は、この加圧機構20の要部を模式的に示す側断面図である。
加圧機構20は、図示のように、一方(図では下方)の端部が閉鎖された略円筒状のシリンダ31と、その内周面を摺動して上下方向に変位する略円盤状のピストン32とを備え、それらによりピストン・シリンダ機構30を構成している。また、ピストン32と一体に形成された略円柱状の圧力伝達体40を備え、圧力伝達体40を、シリンダ31の端部(図では上端部)から、その内外に出入りさせてシリンダ31から進退させる。更に、加圧機構20は、ピストン32の外周部に環状のパッキン33(例えば、Oリング)を取り付けて、シリンダ31の内周面との間をシールしている。
加圧機構20は、ピストン32を挟んでシリンダ31内に形成された各圧力室35、36へ、それぞれ上下の端部付近に連通する給排孔35K、36Kを介して、油圧ユニット(図示せず)から所定圧力の油を供給及び排出することで、ピストン32を所定方向(図では上下方向)へ変位させる。同時に、圧力伝達体40を、ピストン32と一体に変位させてシリンダ31から進退させ、そのシリンダ31から突出する上端部を、被加圧体である加圧プレート7の下面に当接させて、ピストン・シリンダ機構30からの圧力を伝達する。これにより、加圧プレート7及び加硫モールド2を上記したように加圧する。
また、本実施形態の圧力伝達体40は、被加圧体と当接し、その傾きに応じて傾斜可能な当接部材41を有し、その被加圧体との当接面41T(ここでは、上端面)を、被加圧体に合わせて任意の方向に傾斜させる。この当接部材41により、圧力伝達体40は、当接面41Tを、当接する被加圧体の当接部(ここでは、対向する加圧プレート7の下面)の傾きに応じて、それと同じ方向及び角度に傾くように傾斜させて互いに当接させる。このようにして、加圧機構20は、加圧時に、圧力伝達体40の当接部材41(当接面41T)を、加圧プレート7の下面に合わせて傾斜させ、それらを全体に亘って当接させた状態で、圧力伝達体40及び当接部材41を介して、ピストン・シリンダ機構30から加圧プレート7に圧力を作用させて加圧する。また、ここでは、圧力伝達体40は、当接部材41を傾斜可能に支承する支承面42を有し、これにより、当接部材41を支承しつつ、当接面41Tを当接する加圧プレート7の下面の傾きに応じて傾斜させる。
図4は、この当接部材41付近の圧力伝達体40を拡大して模式的に示す側断面図であり、図4Aは当接部材41が傾斜していない状態を、図4Bは当接部材41が傾斜した状態を、それぞれ示している。
具体的には、この圧力伝達体40は、図示のように、上端面の縁部に沿って環状の周壁43が形成され、周壁43内に当接部材41を収容する凹所Pを設けている。一方、当接部材41は、周壁43内(凹所P)に収容され、かつ、平面状の当接面41Tが周壁43の外側(図では上側)に位置する形状及び大きさの略円盤状に形成されている。加えて、この当接部材41は、凹所Pの中央(図4A参照)に収容された状態で、外周面と周壁43の内周面との間に所定寸法の隙間Sが全周に亘ってできるように、その外径形状と径とが設定されている。
また、当接部材41と接する凹所Pの底面に、滑らかに湾曲する凹状又は凸状の曲面からなる支承面42が、ここでは、中央部が最も深く、そこから周縁部の周壁43へ向かって連続して徐々に浅くなる凹曲面状の曲面座に形成されている。これに対し、支承面42と接して支承される当接部材41の被支承面(接触面)41Hは、支承面42に面接触可能な、その曲面に対応した形状の曲面(ここでは、中央部が最も突出して周縁部へ向かって連続して変化する凸曲面)に形成され、支承面42上を摺動可能な摺動部になっている。圧力伝達体40は、この当接部材41と対向する支承面42により、被支承面41Hを受けて当接部材41を支承する。併せて、当接部材41の被支承面41Hを支承面42上で摺動(図4B参照)させて、当接部材41を周壁43内の範囲で任意に変位させ、当接部材41(当接面41T)を、被支承面41Hが当接する位置の支承面42の曲面に応じて傾斜させる。
このように、圧力伝達体40は、加圧時の圧力により、当接面41Tが当接する加圧プレート7の下面に一致するように、その傾きに合わせて当接部材41を周壁43内で変位させ、当接部材41(当接面41T)を、支承面42に対する位置や変位方向又は変位量等に応じた角度や方向で傾斜させる。その際、この加圧機構20では、圧力伝達体40の支承面42を、凹状又は凸状(ここでは、凹状)の所定の曲率を有する球面座に形成し、当接部材41の被支承面41Hを、この球面座に一致した曲率の曲面(球面状)に形成し、それらが全体に亘って接触した状態に維持して変位等させる。
更に、ここでは、当接部材41の中心部を貫通させて係止孔41Kを形成し、その中に挿入したボルト45を支承面42に形成したタップ穴にねじ込んで、当接部材41を係止している。ただし、係止孔41Kを、ボルト45の外形形状に合わせて段付き形状に、かつ、ボルト45との間の全体に亘って隙間ができるように形成することで、当接部材41を、係止孔41Kの周面とボルト45とが接触する範囲内で変位させる。これにより、当接部材41を凹所P内に係止するとともに、当接部材41を支承面42に摺動可能に係止し、周壁43と同様に、当接部材41の摺動(変位)範囲を規制して当接面41Tの傾斜角度を所定範囲に維持する。併せて、このボルト45を、当接部材41に対する外れ止め部材とし、当接部材41が支承面42から外れるのを防止している。
以上説明したように、この加圧機構20では、圧力伝達体40の当接部材41を当接する被加圧体の傾きに応じて傾斜させ、当接面41Tを被加圧体に全体に亘って略均一に当接させるようにして加圧する。そのため、ピストン・シリンダ機構30からの圧力を、圧力伝達体40により、被加圧体に偏芯を抑制しつつ伝達して、加圧及び減圧動作を実行させることができる。これに伴い、加圧時に、圧力伝達体40を介して、ピストン32等に荷重が偏芯して付加されるのを抑制して偏芯荷重を低減(又は解消)でき、ピストン32が昇降変位する際に、その外周面が、シリンダ31の内周面に対して部分的な大きな負荷や偏りがある状態で摺動等するのを防止することができる。その結果、ピストン32の外周面やシリンダ31の内周面に摩耗や傷が生じるのを抑制でき、これにより加圧機構20内のパッキン33が傷つき、或いは、摩耗部からはみ出して切れるのを抑制することもできる。
従って、本実施形態によれば、ピストン・シリンダ機構30により被加圧体を加圧する加圧機構20に発生する偏芯荷重を低減でき、シリンダ31やピストン32に摩耗や傷が生じ、或いは、パッキン33が損傷等するのを抑制して、各部品の耐久性を高めて寿命を延長することができる。また、この加圧機構20により加圧プレート7を加硫モールド2の型締め方向に加圧し、これらを介して加硫モールド2を加圧して型締めすることで、タイヤ加硫装置1の加圧動作の信頼性を向上させて、確実に加硫モールド2を加圧・型締めした状態で、生タイヤを加硫してタイヤを製造することができる。特に、このタイヤ加硫装置1のように、複数の加圧機構20(図2参照)により同時に加圧する場合には、それらの動作に多少ずれ等が生じても偏芯荷重が生じ難くなるため、それに伴う問題をより確実に回避して大きな効果が得られる。
ここで、上記したように、当接部材41を支承面42により傾斜可能に支承することで、当接部材41の支承と、加圧毎の当接部材41の動作とを安定させて円滑に傾斜させ、かつ、加圧の間を通して、その傾斜状態を安定して維持することができる。また、支承面42を曲面に、当接部材41の被支承面41Hを支承面42に面接触して摺動可能な曲面に各々形成したときには、それらの間に作用する圧力の偏りをより抑制して、偏芯荷重を一層確実に低減できる。同時に、当接部材41を、比較的簡単な構成で円滑に動作させて、当接面41Tを確実かつ安定して傾斜させることもできる。その際、支承面42を球面座に、被支承面41Hを球面座に一致した曲率の曲面に形成すると、摺動変位する当接部材41を支承面42に全体に亘って接触した状態に維持できる。これにより、当接部材41を安定して支承できるとともに、当接部材41をより一層円滑、確実に摺動させることもできる。ただし、被支承面41Hは、球面座に実質的に一致すれば同等の効果が得られるため、そのように形成されていればよく、従って、本発明で一致した曲率の曲面というときには、実質的に一致した曲率の曲面を含む。更に、当接部材41の支承面42に対する外れ止め部材を設けた場合には、当接部材41が外れて脱落等するのを防止でき、確実、円滑な加圧動作を確保できる。
なお、本実施形態では、支承面42を凹曲面に、被支承面41Hを凸曲面に形成したが、それらを逆に形成して、当接部材41を、凸曲面の支承面42上で摺動変位させて傾斜させるようにしてもよい。また、当接部材41を、圧力伝達体40の端部に、ボールジョイントや他の自在継ぎ手等を介して傾斜可能に連結し、これにより、当接部材41及び当接面41Tを傾斜させるようにしてもよい。
加えて、このタイヤ加硫装置1では、加圧機構20により加圧プレート7を加圧したが、加硫時には、加圧機構20により、同様に加硫モールド2との間に配置され、生タイヤを収納する加硫モールド2へ圧力を作用させて加圧及び型締め可能な他の部材の当接面(被加圧体)を加圧してもよい。即ち、各タイヤ加硫装置の構成等に応じて、加圧機構20により、被加圧体である加硫モールド2の圧力作用面を加硫モールド2の型締め方向に加圧することで、加硫モールド2を加圧して型締めして生タイヤを加硫すればよい。このように、タイヤ加硫装置1により、その加圧機構20の加圧による圧力を作用させて、加硫モールド2を加圧して型締めし、加硫モールド2に収納された生タイヤを加硫して、タイヤ(加硫タイヤ)を製造する。
本実施形態のタイヤ加硫装置の要部を模式的に示す側面図である。 本実施形態の加圧機構の配置状態を示す模式図である。 本実施形態の加圧機構の要部を模式的に示す側断面図である。 当接部材付近の圧力伝達体を拡大して模式的に示す側断面図である。
符号の説明
1・・・タイヤ加硫装置、2・・・加硫モールド、3・・・上プラテン、4・・・下プラテン、5・・・上断熱板、6・・・下断熱板、7・・・加圧プレート、8・・・トッププレート、9・・・下部プレート、10・・・締結手段、11・・・保持装置、12・・・バグ調整装置、20・・・加圧機構、30・・・ピストン・シリンダ機構、31・・・シリンダ、32・・・ピストン、33・・・パッキン、40・・・圧力伝達体、41・・・当接部材、41T・・・当接面、42・・・支承面、43・・・周壁。

Claims (6)

  1. ピストン・シリンダ機構により被加圧体を加圧する加圧機構であって、
    ピストン・シリンダ機構のピストンと一体に変位してシリンダから進退し、被加圧体に圧力を伝達する圧力伝達体を備え、
    圧力伝達体は、圧力伝達体に形成された環状の周壁との間に隙間ができるように周壁内の凹所に収容され、被加圧体と当接しその傾きに応じて傾斜可能な当接部材と、当接部材と接する凹所の底面に形成されて当接部材を傾斜可能に支承するとともに、面接触可能な当接部材の被支承面を摺動させて当接部材を周壁内で変位させて傾斜させる支承面を有し、
    圧力伝達体の当接部材を当接する被加圧体の傾きに応じて傾斜させ、圧力伝達体及び当接部材を介して、ピストン・シリンダ機構から被加圧体に圧力を作用させて加圧することを特徴とする加圧機構。
  2. 請求項1に記載された加圧機構において、
    圧力伝達体の支承面が曲面からなり、
    当接部材の被支承面が支承面に面接触して摺動可能な曲面に形成されていることを特徴とする加圧機構。
  3. 請求項2に記載された加圧機構において、
    圧力伝達体の支承面が凹状又は凸状の球面座に形成され、
    当接部材の被支承面が球面座に一致した曲率の曲面に形成されていることを特徴とする加圧機構。
  4. 請求項1ないし3のいずれかに記載された加圧機構において、
    圧力伝達体は、当接部材が支承面から外れるのを防止する外れ止め部材を有することを特徴とする加圧機構。
  5. 生タイヤを収納する加硫モールドを加圧して型締めし、生タイヤを加硫するタイヤ加硫装置であって、
    請求項1ないし4のいずれかに記載された加圧機構を備え、加圧機構により被加圧体である加硫モールドの圧力作用面を加硫モールドの型締め方向に加圧することを特徴とするタイヤ加硫装置。
  6. 生タイヤを収納する加硫モールドを加圧して型締めし、生タイヤを加硫してタイヤを製造するタイヤ製造方法であって、
    請求項1ないし4のいずれかに記載された加圧機構により被加圧体である加硫モールドの圧力作用面を加硫モールドの型締め方向に加圧する工程と、
    該加圧により加硫モールドを加圧して型締めし、加硫モールドに収納された生タイヤを加硫する工程と、
    を有することを特徴とするタイヤ製造方法。
JP2008224992A 2008-09-02 2008-09-02 加圧機構、タイヤ加硫装置及びタイヤ製造方法 Expired - Fee Related JP5574591B2 (ja)

Priority Applications (1)

Application Number Priority Date Filing Date Title
JP2008224992A JP5574591B2 (ja) 2008-09-02 2008-09-02 加圧機構、タイヤ加硫装置及びタイヤ製造方法

Applications Claiming Priority (1)

Application Number Priority Date Filing Date Title
JP2008224992A JP5574591B2 (ja) 2008-09-02 2008-09-02 加圧機構、タイヤ加硫装置及びタイヤ製造方法

Publications (2)

Publication Number Publication Date
JP2010058334A JP2010058334A (ja) 2010-03-18
JP5574591B2 true JP5574591B2 (ja) 2014-08-20

Family

ID=42185704

Family Applications (1)

Application Number Title Priority Date Filing Date
JP2008224992A Expired - Fee Related JP5574591B2 (ja) 2008-09-02 2008-09-02 加圧機構、タイヤ加硫装置及びタイヤ製造方法

Country Status (1)

Country Link
JP (1) JP5574591B2 (ja)

Families Citing this family (2)

* Cited by examiner, † Cited by third party
Publication number Priority date Publication date Assignee Title
DE102016003071A1 (de) * 2015-05-28 2016-12-01 Harburg-Freudenberger Maschinenbau Gmbh Schließkrafteinheit
JP6785896B2 (ja) * 2019-01-28 2020-11-18 Towa株式会社 樹脂成形装置、及び樹脂成形品の製造方法

Family Cites Families (10)

* Cited by examiner, † Cited by third party
Publication number Priority date Publication date Assignee Title
JPS5871143A (ja) * 1981-10-23 1983-04-27 Mitsubishi Heavy Ind Ltd タイヤ加硫プレス
JPS6061216A (ja) * 1983-09-13 1985-04-09 株式会社神戸製鋼所 タイヤ加硫プレス
JPH0527278Y2 (ja) * 1988-01-25 1993-07-12
US5490446A (en) * 1994-03-22 1996-02-13 Caterpillar Inc. Apparatus and method for a piston assembly
JPH08197299A (ja) * 1995-01-27 1996-08-06 Komatsu Ltd 油圧プレスの球面ポイント装置
JPH10337733A (ja) * 1997-06-10 1998-12-22 Bridgestone Cycle Co タイヤ加硫機における上モ−ルド傾斜自動修正方法
JP4312588B2 (ja) * 2003-12-22 2009-08-12 住友重機械工業株式会社 プレス成形装置
JP2005191385A (ja) * 2003-12-26 2005-07-14 Optrex Corp 圧着装置
JP2007190850A (ja) * 2006-01-20 2007-08-02 Bridgestone Corp タイヤの加硫方法
JP4700550B2 (ja) * 2006-04-26 2011-06-15 株式会社神戸製鋼所 タイヤ加硫機

Also Published As

Publication number Publication date
JP2010058334A (ja) 2010-03-18

Similar Documents

Publication Publication Date Title
JP4056290B2 (ja) 空気入りタイヤの製造方法および装置
US7354261B1 (en) Tire vulcanizing apparatus
US11752717B2 (en) Tire vulcanization device and method
JP5574591B2 (ja) 加圧機構、タイヤ加硫装置及びタイヤ製造方法
JP5036419B2 (ja) タイヤ加硫モールドの予熱装置及びタイヤ製造装置
JP6817342B2 (ja) タイヤ加硫装置
JP2017081041A (ja) 空気入りタイヤの加硫装置および方法
JP5068131B2 (ja) 加硫モールドの予熱方法
JP5682019B1 (ja) タイヤ加硫装置及びタイヤ加硫方法
JP4998987B2 (ja) タイヤ加硫成型装置及び加硫成型方法
KR102179633B1 (ko) 밀폐 하중 유닛
JPH0976237A (ja) タイヤ加硫装置
JP7428875B2 (ja) タイヤ加硫装置および方法
US7661944B2 (en) Tire vulcanizing device
US20180272636A1 (en) Pressurization apparatus for preventing faulty formation pattern of tire
JP4261313B2 (ja) 流体供給装置及びタイヤ加硫装置
US11192318B2 (en) Tire vulcanizing apparatus and method
JP2006321080A (ja) 空気入りタイヤの製造方法および装置
WO2015163351A1 (ja) 空気入りタイヤの製造方法および製造装置
JP2010155356A (ja) タイヤ加硫用金型
CN120396204A (zh) 轮胎硫化装置
JP2021178444A (ja) タイヤ加硫装置および方法
JP2016112776A (ja) 空気入りタイヤの製造方法および製造装置
JP2004255633A (ja) 予備成形用金型装置及びこの予備成形用金型装置を使用した空気入りタイヤの製造方法
JP2005231278A (ja) 熱変位対応支持装置

Legal Events

Date Code Title Description
A621 Written request for application examination

Free format text: JAPANESE INTERMEDIATE CODE: A621

Effective date: 20110802

A977 Report on retrieval

Free format text: JAPANESE INTERMEDIATE CODE: A971007

Effective date: 20121015

A131 Notification of reasons for refusal

Free format text: JAPANESE INTERMEDIATE CODE: A131

Effective date: 20121017

A521 Request for written amendment filed

Free format text: JAPANESE INTERMEDIATE CODE: A523

Effective date: 20121217

A131 Notification of reasons for refusal

Free format text: JAPANESE INTERMEDIATE CODE: A131

Effective date: 20130924

A521 Request for written amendment filed

Free format text: JAPANESE INTERMEDIATE CODE: A523

Effective date: 20131114

TRDD Decision of grant or rejection written
A01 Written decision to grant a patent or to grant a registration (utility model)

Free format text: JAPANESE INTERMEDIATE CODE: A01

Effective date: 20140701

A61 First payment of annual fees (during grant procedure)

Free format text: JAPANESE INTERMEDIATE CODE: A61

Effective date: 20140701

R150 Certificate of patent or registration of utility model

Ref document number: 5574591

Country of ref document: JP

Free format text: JAPANESE INTERMEDIATE CODE: R150

R250 Receipt of annual fees

Free format text: JAPANESE INTERMEDIATE CODE: R250

R250 Receipt of annual fees

Free format text: JAPANESE INTERMEDIATE CODE: R250

R250 Receipt of annual fees

Free format text: JAPANESE INTERMEDIATE CODE: R250

R250 Receipt of annual fees

Free format text: JAPANESE INTERMEDIATE CODE: R250

LAPS Cancellation because of no payment of annual fees