JP5534412B2 - 現像装置並びにこれを備える画像形成装置及びプロセスカートリッジ - Google Patents

現像装置並びにこれを備える画像形成装置及びプロセスカートリッジ Download PDF

Info

Publication number
JP5534412B2
JP5534412B2 JP2010027208A JP2010027208A JP5534412B2 JP 5534412 B2 JP5534412 B2 JP 5534412B2 JP 2010027208 A JP2010027208 A JP 2010027208A JP 2010027208 A JP2010027208 A JP 2010027208A JP 5534412 B2 JP5534412 B2 JP 5534412B2
Authority
JP
Japan
Prior art keywords
developer
carrier
magnetic
developing sleeve
magnetic field
Prior art date
Legal status (The legal status is an assumption and is not a legal conclusion. Google has not performed a legal analysis and makes no representation as to the accuracy of the status listed.)
Expired - Fee Related
Application number
JP2010027208A
Other languages
English (en)
Other versions
JP2011164366A (ja
Inventor
克己 増田
孝将 尾関
信幸 田口
裕貴 佐藤
俊樹 林
恭太 肥塚
敏男 小島
正幸 大澤
紀行 神谷
巧 寺坂
Current Assignee (The listed assignees may be inaccurate. Google has not performed a legal analysis and makes no representation or warranty as to the accuracy of the list.)
Ricoh Co Ltd
Original Assignee
Ricoh Co Ltd
Priority date (The priority date is an assumption and is not a legal conclusion. Google has not performed a legal analysis and makes no representation as to the accuracy of the date listed.)
Filing date
Publication date
Application filed by Ricoh Co Ltd filed Critical Ricoh Co Ltd
Priority to JP2010027208A priority Critical patent/JP5534412B2/ja
Priority to US13/019,610 priority patent/US8824932B2/en
Priority to EP11153464.0A priority patent/EP2363756B1/en
Priority to CN201110035563.0A priority patent/CN102147582B/zh
Publication of JP2011164366A publication Critical patent/JP2011164366A/ja
Application granted granted Critical
Publication of JP5534412B2 publication Critical patent/JP5534412B2/ja
Expired - Fee Related legal-status Critical Current
Anticipated expiration legal-status Critical

Links

Images

Landscapes

  • Magnetic Brush Developing In Electrophotography (AREA)
  • Dry Development In Electrophotography (AREA)

Description

本発明は、トナーを含む現像剤を使用して像担持体上の潜像を現像する現像装置、並びに、これを備えた複写機、ファクシミリ、プリンタ等の画像形成装置及びプロセスカートリッジに関するものである。
従来、この種の画像形成装置として、二成分磁気ブラシ現像を用いるものが知られている。二成分磁気ブラシ現像は、トナーが磁性粉からなるキャリアに静電気力で吸着した現像剤を像担持体と対向する現像領域に搬送し、像担持体上に形成された静電潜像を現像してトナー像化するための現像剤担持体を用いる。
この現像剤担持体は、例えば、円筒状の現像スリーブを有し、この現像スリーブ表面に現像剤の穂立ちを生じさせるように磁界を形成する磁界発生手段(例えば、マグネットローラ)を現像スリーブ内部に有している。現像剤の穂立ちの際には、現像剤を構成するキャリアがマグネットローラで生じる磁力線に沿うように現像スリーブ上に穂立ちしており、このキャリアに対して帯電トナーが付着している。マグネットローラは、複数の磁極を有しているが、それぞれの磁極を形成する磁石は、棒状など成形体に形成され、特に、現像スリーブ表面の現像領域部分に対応する部分には、現像剤を穂立ちさせる現像主磁極を有している。この穂立ちを起こした現像剤は、現像スリーブ及びマグネットローラの少なくとも一方を回転させることにより、周方向に移動させることができる。一般的には、現像剤を搬送しやすくするために、現像スリーブの表面に、溝や不規則な凹凸(サンドブラストやビーズブラストなどによる凹凸)を設けている。特に、カラー複写機や、プリンタでは、画像品質面の優位性から、サンドブラストやビーズブラストなどによる不規則な凹凸を設けた現像スリーブが主流となっている。このような溝加工、サンドブラスト加工等の荒らし加工は、高速で回転する現像スリーブの表面で現像剤がスリップして停滞することにより生じる画像濃度の低下の発生を防止するために行われる。
図19は、従来の一般的な現像装置の例を示す概略構成図である。この現像装置は、二成分現像剤を現像剤担持体と像担持体それぞれが対向する現像領域に搬送し、像担持体の表面に形成された静電潜像を現像してトナー像を形成する現像剤担持体を備えている。この現像剤担持体は、円筒状に形成された現像スリーブ241と、この現像スリーブ241内に収容され現像スリーブ241の表面に現像剤の穂立ちを生じさせるように磁界を形成するマグネットローラ247と、を備えている。この現像剤担持体においては、現像剤の穂立ちの際に、現像剤を構成する磁性キャリアがマグネットローラ247で生じる磁力線に沿うように現像スリーブ241上に穂立ちすると共に、この穂立ちした磁性キャリアに現像剤を構成するトナーが付着する。
また、この現像装置は、上記現像剤を収容する現像剤収容槽と、この現像剤収容槽内の現像剤を攪拌するスクリュー形状の攪拌搬送部材と、現像剤担持体に汲み上げられた現像剤の量を均一にする現像剤規制部材とを備えている。図19に示される現像装置においては、現像剤収容槽と攪拌部材とをそれぞれ一対備え、現像剤収容槽内を攪拌部材の軸方向に現像剤が移動する。現像剤担持体から離れた側の一方の現像剤収容槽249Bの一端部から補給されたトナーは、一方の攪拌部材242により、現像剤収容槽249Bの他端部まで攪拌部材242の軸方向に沿って搬送されながら現像剤と攪拌される。そして、現像剤は、上記一方の現像剤収容槽249Bの他端部から現像剤担持体寄りの他方の現像剤収容槽内249Aに移動する。現像剤担持体寄りの他方の現像剤収容槽249Aに移った現像剤は、マグネットローラ247の磁力により現像スリーブ241の表面に汲み上げられ、現像スリーブ表面に付着する。その後、現像剤担持体上の現像剤は、その量が現像剤規制部材146で均一にされ、続いて、像担持体12と現像剤担持体とが間隔をあけて対向する現像領域へ搬送される。現像剤は、像担持体12上に形成された静電潜像を現像してトナー像を形成する。
マグネットローラ247には、複数の固定磁極、例えば、S1(現像極),N1(現像剤搬送極)、S2(剤離れ上流極)、S3(汲み上げ極=剤離れ下流極)、N2(現像剤搬送極)がそれぞれ設けられている。現像スリーブ241は、矢印方向に回転するので、現像剤は、現像スリーブ241の表面を固定磁極S3→N2→S1→N1→S2→剤離れの順に移行する。このマグネットローラ247においては、固定磁極N1(現像剤搬送極)及び固定磁極N2(現像剤搬送極)を同極のN極性とし、固定磁極S2と固定磁極S3との間にS極性の磁極pを設けると、トナー濃度の薄くなった現像済みの現像剤は、固定磁極S2と固定磁極S3との反発力に加えて磁極pの反発力によって、現像剤収容槽249Aの中に落とされる。このような磁極p(P)を「剤離れ極」と呼ばれ、磁極p(P)の反発力によって現像済みの現像剤が現像剤収容槽249Aの中に落とされる。このように現像スリーブ241の表面から剤離れして現像剤収容槽249Aの中に落とされたトナー濃度の薄くなった現像済みの現像剤は、現像剤攪拌槽249Aにおいて、現像剤攪拌槽249Bから送られてきたトナー濃度の濃い新しい現像剤と共に攪拌される。その後、固定磁極S3(現像剤汲み上げ極)によってトナー濃度の濃くなった現像剤は、現像スリーブ241上に汲み上げられて引き付けられ、固定磁極N1(現像剤搬送極)に移行される。この固定磁極N1に移行されたトナー濃度の濃くなった現像剤は現像剤規制部材で一定量にして固定磁極S1(現像極)に移行される。
また、特許文献1には、図20に示すように、図19において説明した汲み上げ極(S3極)と現像剤搬送極(N2極)との2つの極を1つの極で構成(図20の例ではN3極)して、現像剤の低ストレス化および現像剤担持体そのものの確実な剤離れ性確保を目的とした現像装置が開示されている。
さらに、特許文献2には、磁極配置によって剤離れ性の更なる向上を図るために、現像領域を通過した後の現像剤を現像剤担持体から離脱させるための剤離れ部における磁気力に着目し、現像剤規制部材に対して現像剤担持体による現像剤搬送方向上流側の現像剤担持体外周面外方に磁石を配置し、その磁石の配置位置や磁力の大きさを規定することで現像剤の現像剤担持体への再吸着を防止する現像装置が開示されている。
しかし、現像剤担持体からの現像剤の剤離れについては、現像剤担持体の回転軸方向両端部側において下記のような課題がある。図21及び図22は、この課題を説明するための図であって、図20で示した現像装置における現像スリーブ241の表面上の現像剤の挙動を示す説明図である。図21(a)は現像スリーブの表面上における法線方向磁束密度(絶対値)の分布を示した説明図、同図(b)は現像スリーブ中央部(作像領域部)における現像剤の挙動を断面方向から見た説明図、同図(c)は現像スリーブ端部(作像領域外)における現像剤の挙動を断面方向から見た説明図である。また、図22は現像スリーブ端部(作像領域外)における現像剤の挙動を側面方向から見た説明図である。
図22において、像担持体12上に潜像が形成され得る作像領域に対向する現像スリーブ241の表面上の現像有効領域の幅(以下「現像有効幅」という。)内においては、剤離れ部で剤離れ上流極(N2)による剥離力が現像剤に有効に作用し、現像剤が現像スリーブ241の表面から離脱し、図21(b)に示すように、現像剤収容槽249Aに落下する。現像剤収容槽249Aに落下した現像剤は現像剤収容槽内の現像剤と攪拌混合され、再度汲み上げ極(N3)によって現像スリーブ241に汲み上げられる。これに対し、マグネットローラ247に対応する現像スリーブ上の領域のうち現像有効幅よりも現像スリーブ軸方向外側部分(以下「マグネットローラ端部領域」という。)においては、図22に示すように現像剤が現像スリーブ表面に付着し、現像スリーブ241の表面から離脱せずに残存する現像剤が存在する。つまり、マグネットローラ端部領域においては、剤離れ上流極(N2)で離した現像剤が、マグネットローラの外側(磁力の無い部分)を通り、剤離れ下流極(N3)に向かってしまう。すると、図21(c)に示すように、現像剤は現像スリーブ表面からほとんど離れず、剤離れ下流極(N3)に汲み上げられてしまう。すなわち、マグネットローラ端部領域では、現像剤の連れ回りが発生する。
マグネットローラ247に設けられている磁極は、剤離れ部では剤離れ上流極(N2)と剤離れ下流極(N3)との同極(N極)が隣接しているのに対し、剤離れ部以外の部分ではN極とS極との異極が隣接している。剤離れ部以外の部分では隣接する異極同士が現像剤搬送を行っている為に、SからNへ、またNからSへ現像剤は引き付けられ端部に膨れることなく流れていく。これに対し、剤離れ部ではこの部分が同極であるため反発しあい、特にマグネットローラ端部領域では、回転軸方向の外側へむかう磁気成分が強くなるために、図21(c)、図22に示すように現像剤が挙動し、現像剤の連れ回りが生じる。このような現像剤の連れ回りが発生しているマグネットローラ端部領域も現像有効幅内となるように構成すると、現像スリーブ軸方向における画像両端部分で、現像剤の連れ回りによって、現像剤収容槽からのトナーが補充されないために画像濃度の低下が生じ、画像濃度ムラが発生してしまう。
そのため従来では、マグネットローラ端部領域における現像剤の連れ廻りを許容し、現像剤担持体の回転軸方向を長くして現像スリーブ表面における現像に用いられる現像有効幅(画像保証領域)の外側で連れ回りを発生させる構成が主流であった。この構成では、現像剤担持体を長くする分だけ装置のサイズが大きくなってしまう。
他の対応策としては、マグネットローラを固定する固定軸を非磁性部材にすることにより、マグネットローラの磁極から固定軸へ磁力線が向かわないようにすることが考えられる。これにより、固定軸の非磁性部材としては、ステンレスやアルムニウムが考えられるが、ステンレスを用いるとコスト高になり、アルミニウムを用いると強度不足になってしまう。
特許文献3には、表面にサンドブラスト等による不規則な凹凸が設けられた現像スリーブと同じような現像スリーブ上の剤密度を保ち、表面に溝が設けられた現像スリーブと同じような現像剤搬送力を保つ現像スリーブが開示されている。図23は、この現像スリーブ表面を側面より見て拡大したもので、概ね2〜3cmの拡大図である。同図において、現像スリーブ表面には楕円状の凹部が現像スリーブ回転軸方向に対して左上がりの角度を有するように設けられている。現像スリーブは切削機によりバイト回転数、バイト送り速度、スリーブ回転速度により細かい溝を密に形成するものである。表面に設けられた凹みの溝形状が斜めになるため、この現像スリーブが図中下方向に回転すると、現像剤の剤離れ部では図中矢印の方向に現像剤が飛ばされ、現像剤担持体回転軸方向の一方の端部側(図中左側)に現像剤の搬送力が生じる。この現像剤担持体による搬送力の生じる方向が、攪拌搬送部材で現像剤を攪拌搬送する方向と同じであれば、攪拌搬送部材の回転数抑制によるエネルギー低減が可能となる。また、攪拌搬送部材の回転数を維持すれば濃度ムラを低減できるという利点を有する。
しかしながら、上記特許文献3で開示された現像スリーブでは、現像スリーブの回転軸方向における一方の端部側(図23中の左側)、つまり現像スリーブの回転軸方向における上記楕円状の凹みにより現像剤に生じる搬送力の搬送方向下流側は、現像剤が多く溜まる方向となる。また、剤離れ部で現像剤が現像スリーブの一方の端部側(左端部側)に向けて離脱するので、離脱した現像剤がその端部側に回り込み現像剤の連れ回りが発生しやすくなり、現像剤の連れ回りによる画像濃度ムラが生じる虞がある。
本発明は以上の問題点に鑑みなされたものであり、その目的は、外周面に斜めに形成した長円状又は楕円状の複数の凹部によって回転軸方向に二成分現像剤の搬送力が生じる現像剤担持体を用いた場合に、装置の大型化を抑制するとともに、現像剤担持体の表面における二成分現像剤の連れ回りによる画像濃度ムラを防ぐことができる現像装置並びにこれを備える画像形成装置及びプロセスカートリッジを提供することである。
上記目的を達成するために、請求項1の発明は、非磁性部材からなる回転駆動可能なスリーブ状の中空体の内部に磁界発生手段が配置され該磁界発生手段の磁力により該中空体の外周面上に磁性キャリアとトナーとを含む二成分現像剤を担持して搬送する現像剤担持体と、該現像剤担持体上に担持される二成分現像剤を収容する現像剤収容部と、二成分現像剤を攪拌しながら該現像剤担持体の回転軸方向に沿って搬送する攪拌搬送部材と、該現像剤担持体に担持された二成分現像剤の層厚を規制する現像剤規制部材とを備え、上記現像剤収容部内から上記磁界発生手段の磁力により上記現像剤担持体上に担持した二成分現像剤を、上記現像剤規制部材により規制した後に潜像担持体と対向する現像領域を通過させ、再び現像剤収容部内に戻す現像装置であって、上記磁界発生手段は、上記現像領域を通過した後の二成分現像剤を上記現像剤担持体から離脱させるための磁力を発生させるための剤離れ用磁極を有する磁界発生部材を有し、上記現像剤担持体の中空体は、その外周面に、長円状又は楕円状の凹部を、その凹部の長手方向が該現像剤担持体の回転軸方向に対して斜めに角度を有し互いに間隔をあけて分布するように複数設けたものであり、上記二成分現像剤を上記現像剤担持体から離脱させる位置で上記中空体の上記凹部を有する外周面の移動によって発生する該現像剤担持体の回転軸方向の一方の端部側への該二成分現像剤の移動を抑制する手段を備え、上記磁界発生部材の長手方向両端部に、その磁界発生部材の本体部分から長手方向外側に延在する磁性体からなる支持軸を有し、上記磁界発生部材の両端部にある上記支持軸は、長手方向の長さが互いに異なり、上記二成分現像剤を上記現像剤担持体から離脱させる位置で上記中空体の上記凹部を有する外周面の移動によって発生する該現像剤担持体の回転軸方向における該二成分現像剤の移動方向下流側にある上記磁界発生部材の一方の支持軸の長さが、該磁界発生部材の他方の支持軸よりも短いことを特徴とするものである。
また、請求項の発明は、請求項1の現像装置において、上記二成分現像剤を上記現像剤担持体から離脱させる位置で上記中空体の上記凹部を有する外周面の移動によって発生する該現像剤担持体の回転軸方向における該二成分現像剤の移動方向下流側の該磁界発生部材の端部において上記剤離れ極に該中空体を介して対向するように、該剤離れ極と同極の磁極を有する磁界発生手段を設けたことを特徴とするものである。
また、請求項の発明は、非磁性部材からなる回転駆動可能なスリーブ状の中空体の内部に磁界発生手段が配置され該磁界発生手段の磁力により該中空体の外周面上に磁性キャリアとトナーとを含む二成分現像剤を担持して搬送する現像剤担持体と、該現像剤担持体上に担持される二成分現像剤を収容する現像剤収容部と、二成分現像剤を攪拌しながら該現像剤担持体の回転軸方向に沿って搬送する攪拌搬送部材と、該現像剤担持体に担持された二成分現像剤の層厚を規制する現像剤規制部材とを備え、上記現像剤収容部内から上記磁界発生手段の磁力により上記現像剤担持体上に担持した二成分現像剤を、上記現像剤規制部材により規制した後に潜像担持体と対向する現像領域を通過させ、再び現像剤収容部内に戻す現像装置であって、上記磁界発生手段は、上記現像領域を通過した後の二成分現像剤を上記現像剤担持体から離脱させるための磁力を発生させるための剤離れ用磁極を有する磁界発生部材を有し、上記現像剤担持体の中空体は、その外周面に、長円状又は楕円状の凹部を、その凹部の長手方向が該現像剤担持体の回転軸方向に対して斜めに角度を有し互いに間隔をあけて分布するように複数設けたものであり、上記二成分現像剤を上記現像剤担持体から離脱させる位置で上記中空体の上記凹部を有する外周面の移動によって発生する該現像剤担持体の回転軸方向の一方の端部側への該二成分現像剤の移動を抑制する手段を備え、上記二成分現像剤を上記現像剤担持体から離脱させる位置で上記中空体の上記凹部を有する外周面の移動によって発生する該現像剤担持体の回転軸方向における該二成分現像剤の移動方向下流側の該磁界発生部材の端部において上記剤離れ極に該中空体を介して対向するように、該剤離れ極と同極の磁極を有する磁界発生手段を設け、上記剤離れ極と同極の磁極を有する磁界発生手段を、上記現像剤担持体の回転軸方向における上記磁界発生部材の両端部において該剤離れ極に上記中空体を介して対向するようにそれぞれ設け、上記中空体の上記凹部を有する外周面の移動によって発生する上記現像剤担持体の回転軸方向における二成分現像剤の移動方向下流側にある該磁界発生手段で発生する該中空体の外周面上の磁力が、該二成分現像剤の移動方向上流側にある該磁界発生手段で発生する磁力よりも強いことを特徴とするものである。
また、請求項の発明は、請求項1乃至3のいずれかの現像装置において、上記剤離れ磁極は、互いに隣接した同極の第1磁極及び第2磁極で構成されていることを特徴とするものである。
また、請求項の発明は、潜像担持体と、該潜像担持体と対向する現像領域に磁性キャリアとトナーとを含む二成分現像剤を搬送して該潜像担持体上の潜像に該トナーを付着させて現像する現像装置とを一体的に支持し、該現像装置による現像によって得られるトナー像を該潜像担持体上から最終的に記録材上へ転移させることで該記録材上に画像を形成する画像形成装置に対して着脱自在なプロセスカートリッジにおいて、上記現像装置は、請求項1乃至のいずれかの現像装置であることを特徴とするものである。
また、請求項の発明は、潜像担持体と、該潜像担持体と対向する現像領域に磁性キャリアとトナーとを含む二成分現像剤を搬送して該潜像担持体上の潜像に該トナーを付着させて現像する現像装置とを一体的に支持し、該現像装置による現像によって得られるトナー像を該潜像担持体上から最終的に記録材上へ転移させることで該記録材上に画像を形成する画像形成装置に対して着脱自在なプロセスカートリッジを備えた画像形成装置において、上記プロセスカートリッジは、請求項のプロセスカートリッジであることを特徴とするものである。
また、請求項の発明は、請求項の画像形成装置において、上記プロセスカートリッジを複数備えたことを特徴とするものである。
また、請求項の発明は、請求項6又は7の画像形成装置において、上記トナーは、体積平均粒径が3μm以上8μm以下であり、体積平均粒径(Dv)と個数平均粒径(Dn)との比(Dv/Dn)が1.00〜1.40の範囲にあるトナーであることを特徴とするものである。
また、請求項の発明は、請求項6、7又は8の画像形成装置において、上記トナーは、形状係数SF−1が100〜180の範囲にあり、形状係数SF−2が100〜180の範囲にあるトナーであることを特徴とするものである。
本発明において、現像剤担持体は、その非磁性部材からなる回転駆動可能なスリーブ状の中空体の外周面に、長円状又は楕円状の凹部が、その長手方向が現像剤担持体の回転軸方向に対して斜めに角度を有し互いに間隔をあけて分布するように複数設けられている。この長円状又は楕円状の凹部が外周面に形成された中空体が回転することにより、現像剤担持体の回転軸方向の一方の端部側へ二成分現像剤を移動させる搬送力が生じる。ここで、二成分現像剤を現像剤担持体から離脱させる位置で、上記現像剤担持体の回転軸方向の一方の端部側への二成分現像剤の移動を抑制する。これにより、上記現像剤担持体の回転軸方向の一方の端部側において二成分現像剤が現像剤担持体の中空体の外周面と一緒に移動しようとする二成分現像剤の連れ回りが発生しにくくなるので、現像剤担持体の表面における二成分現像剤の連れ回りによる画像濃度ムラを防ぐことができる。しかも、二成分現像剤の連れ回りが発生しにくくなるので、現像剤担持体の回転軸方向の両端部に二成分現像剤の連れ回り用の領域を確保するために現像剤担持体の回転軸方向に長くする必要もなくなり、装置の大型化を抑制することができる。
本発明によれば、外周面に斜めに形成した長円状又は楕円状の複数の凹部によって回転軸方向に二成分現像剤の搬送力が生じる現像剤担持体を用いた場合に、装置の大型化を抑制するとともに、現像剤担持体の表面における二成分現像剤の連れ回りによる画像濃度ムラを防ぐことができるという優れた効果がある。
本発明の一実施形態に係る画像形成装置の構成を正面からみた説明図。 図1の画像形成装置に用いるプロセスカートリッジの断面図。 図2中のIII−III線に沿う断面図。 図1の画像形成装置の現像スリーブの斜視図。 図4の現像スリーブの外表面を展開して模式的に示す説明図。 (a)は、図5の現像スリーブの外表面の一部を模式的に拡大して示す説明図。(b)は、図6(a)中のVIB−VIB線に沿う断面図。(c)は、図6(a)中のVIC−VIC線に沿う断面図。 図4の現像スリーブの外表面の一部を拡大して示す説明図。 (a)は、図4の現像スリーブの外表面に切削加工を施す表面処理装置の概略の構成を示す側面図。(b)は、図8(a)中のVIIIB−VIIIB線に沿う断面図。(c)は、図8(b)のエンドミルを拡大して示す側面図。(d)は、図8(c)のエンドミルの先端の正面図。 (a)は、図6(a)の現像スリーブの変形例の外表面の一部を模式的に拡大して示す説明図。(b)は、図9(a)中のIXB−IXB線に沿う断面図。(c)は、図9(a)中のIXC−IXC線に沿う断面図。 図9(b)の一部を拡大して示す断面図。 図9の現像スリーブの外表面に設けられた凹みを形成するためのエンドミルを拡大して示す側面図。 図6(b)の現像スリーブの外表面に形成された凹みの変形例を示す断面図。 図6(b)の現像スリーブの外表面に形成された凹みの他の変形例を示す断面図。 図5の現像スリーブの変形例の外表面を展開して模式的に示す説明図。 図5の現像スリーブの他の変形例の外表面を展開して模式的に示す説明図。 (a)は、図5の現像スリーブの更に他の変形例の外表面を展開して模式的に示す説明図。(b)は図16(a)に示された凹みを形成するためのエンドミルを拡大して示す側面図。 形状係数SF−1を説明するためにトナーの形状を模式的に表した説明図。 形状係数SF−2を説明するためにトナーの形状を模式的に表した説明図。 従来の一般的な現像装置の例を示す概略構成図。 従来の他の現像装置の例を示す概略構成図。 現像スリーブ表面の現像剤の挙動を示す説明図。(a)は現像スリーブの表面上における法線方向磁束密度(絶対値)の分布を示した説明図。(b)は現像スリーブ中央部(作像領域部)における現像剤の挙動を断面方向から見た説明図。(c)は現像スリーブ端部(作像領域外)における現像剤の挙動を断面方向から見た説明図。 現像スリーブ端部(作像領域外)における現像剤の挙動を側面方向から見た説明図。 楕円形状の凹部(窪み)が長手方向に対して左上がりの傾斜角を有するように設けられている現像スリーブ表面の拡大図。 (a)は現像ローラを側面から見た断面図。(b)は現像スリーブ表面の拡大図。 磁石を配置した現像装置の説明図。 (a)は現像スリーブ回転軸方向に関して磁石の配置を説明するための図。(b)は現像スリーブ表面の拡大図。 断面の磁力分布における磁石の設置範囲を示す図。 磁石による現像スリーブ左端部側の現像剤の流れを示す現像ローラの側面図。 (a)は現像スリーブ回転軸方向に関して追加して配置した磁石の位置を説明するための図。(b)は現像スリーブ表面の拡大図。 他の実施形態に係る現像装置の説明図。
以下、図面に基づいて本発明の実施形態を説明する。
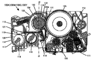
図1は、本発明の一実施形態に係る画像形成装置の構成を正面からみた説明図である。図2は、図1に示された画像形成装置の本発明の一実施形態にかかる現像装置の断面図である。図3は、図2中のIII−III線に沿う断面図である。図4は、図1に示された現像装置の現像スリーブの斜視図である。図5は、図4に示された現像スリーブの外表面の展開図である。
画像形成装置101は、イエロー(Y)、マゼンダ(M)、シアン(C)、黒(K)の各色の画像則ちカラー画像を、一枚の転写材としての記録紙107(図1に示す)に形成する中間転写ベルト129を用いたタンデム型のカラー複写機の作像部分である。なお、イエロー、マゼンダ、シアン、黒の各色に対応するユニットなどを、以下、符号の末尾に各々Y,M,C,Kを付けて示す。
画像形成装置101は、図1に示すように、装置本体102と、給紙ユニット103と、レジストローラ対110と、中間転写ユニット104と、紙転写ローラ126、定着ユニット105と、複数のレーザ書き込みユニット122(122Y,122M,122C,122K)と、複数のプロセスカートリッジ106Y,106M,106C,106Kとを備えている。
装置本体102は、例えば、箱状に形成され、フロア上などに設置される。装置本体102は、給紙ユニット103と、レジストローラ対110と、転写ユニット104と、定着ユニット105と、複数のレーザ書き込みユニット122Y,122M,122C,122Kと、複数のプロセスカートリッジ106Y,106M,106C,106Kとを収容している。
給紙ユニット103は、装置本体102の下部に複数設けられている。給紙ユニット103は、前述した記録紙107を重ねて収容するとともに装置本体102に出し入れ自在な給紙カセット123と、給紙ローラ124とを備えている。給紙ローラ124は、給紙カセット123内の一番上の記録紙107に押し当てられている。給紙ローラ124は、前述した一番上の記録紙107を、レジストローラ対110へ送り出す。
レジストローラ対110は、給紙ユニット103から紙転写ローラ126に搬送される記録紙107の搬送経路に設けられており、一対のローラ110a,110bを備えている。レジストローラ対110は、一対のローラ110a,110b間に記録紙107を挟み込み、該挟み込んだ記録紙107を転写紙に転写させ得るタイミングで送り出す。
中間転写ユニット104は、プロセスカートリッジ106Y,106M,106C,106Kの上方に設けられている。中間転写ユニット104は、駆動ローラ128と、従動ローラ127と、中間転写体としての中間転写ベルト129と、中間転写ローラ130Y,130M,130C,130Kとを備えている。駆動ローラ128は、紙転写ローラ126の対向位置に配置されており、駆動源としてのモータなどによって回転駆動される。従動ローラ127は、装置本体102に回転自在に支持されている。中間転写ベルト129は、無端環状に形成されており、前述した駆動ローラ128と従動ローラ127との双方に掛け渡されている。中間転写ベルト129は、駆動ローラ128が回転駆動されることで、前述した駆動ローラ128と従動ローラ127との回りを図中半時計回りに循環(無端走行)している。
中間転写ローラ130Y,130M,130C,130Kは、それぞれ、プロセスカートリッジ106Y,106M,106C,106Kの感光体ドラム108の対向位置に中間転写ベルトを挟むように配置されている。中間転写ユニット104はプロセスカートリッジ106Y,106M,106C,106Kにて形成された各色トナー像を転写ローラ130Y,130M,130C,130Kにて中間転写ベルト129上でカラーのトナー像として重ね合わせ、紙転写ローラ126部へカラートナー像を搬送し、紙転写ローラにて記録紙107へ転写させる。紙転写ローラ126はトナー像が転写した記録紙107を定着ユニット105に向けて送り出す。
定着ユニット105は、紙転写ローラ126にて転写された記録紙107の搬送方向の下流に設けられ、互いの間に記録紙107を挟む一対のローラ105a,105bを備えている。定着ユニット105は、一対のローラ105a,105b間に紙転写ローラ126から送り出されてきた記録紙107を押圧加熱することで、記録紙107上に転写されたトナー像を、該記録紙107に定着させる。
レーザ書き込みユニット122(122Y,122M,122C,122K)は、プロセスカートリッジ106Y,106M,106C,106Kの下部に取り付けられている。レーザ書き込みユニット122(122Y,122M,122C,122K)は、それぞれ、一つのプロセスカートリッジ106Y,106M,106C,106Kに対応している。レーザ書き込みユニット122(122Y,122M,122C,122K)は、プロセスカートリッジ106Y,106M,106C,106Kの後述の帯電ローラ109により一様に帯電された感光体ドラム108の外表面にレーザ光を照射して、静電潜像を形成する。
プロセスカートリッジ106Y,106M,106C,106Kは、それぞれ、中間転写ユニット104と、レーザ書き込みユニット122(122Y,122M,122C,122K)との間に設けられている。プロセスカートリッジ106Y,106M,106C,106Kは、装置本体102に着脱自在である。プロセスカートリッジ106Y,106M,106C,106Kは、中間転写ベルト129の搬送方向に沿って、互いに並設されている。
プロセスカートリッジ106Y,106M,106C,106Kは、図2に示すように、カートリッジケース111と、帯電手段としての帯電ローラ109と、像担持体としての感光体ドラム108と、クリーニング装置としてのクリーニングブレード112と、現像装置113とを備えている。
カートリッジケース111は、装置本体102に着脱自在であり、帯電ローラ109と、感光体ドラム108と、クリーニングブレード112と、現像装置113とを収容している。帯電ローラ109は、感光体ドラム108の外表面を一様に帯電する。感光体ドラム108は、現像装置113の後述する現像ローラ115と間隔をあけて配置されている。感光体ドラム108は、軸芯を中心として回転自在な円柱状に形成されている。感光体ドラム108は、対応するレーザ書き込みユニット122(122Y,122M,122C,122K)により、外表面上に静電潜像が形成される。感光体ドラム108は、外表面上に形成されかつ担持する静電潜像にトナーが吸着して現像し、こうして得られたトナー像を中間転写ベルト129上へ転写する。クリーニングブレード112は、中間転写ベルト129にトナー像を転写した後に、感光体ドラム108の外表面に残留した転写残トナーを除去する。
現像装置113は、図2に示すように、現像剤供給部114と、ケース125と、現像剤担持体としての現像ローラ115と、現像剤規制部材としてのドクタブレード116とを少なくとも備えている。
現像剤供給部114は、現像剤収容部としての現像剤収容槽117と、攪拌搬送部材としての一対の攪拌スクリュー118とを備えている。現像剤収容槽117は、感光体ドラム108と長さが略等しい箱状に形成されている。また、現像剤収容槽117内には、その現像剤収容槽117の長手方向に沿って延びた仕切壁119が設けられている。仕切壁119は、現像剤収容槽117内を第1空間120と第2空間121とに区画している。また、第1空間120と第2空間121とは、両端部が互いに連通している。
現像剤収容槽117は、第1空間120と第2空間121との双方に二成分現像剤(以下、単に「現像剤」という。)を収容する。現像剤は、トナーと磁性粒子としての磁性キャリア(磁性紛)とを含んでいる。トナーは第1空間120と第2空間121とのうち現像ローラ115から離れた側の第1空間120の一端部に、トナー補給装置136によって適宜供給される。トナーは、例えば乳化重合法又は懸濁重合法により製造された球状の微粒子である。
本実施形態のトナーとしては、600dpi以上の微少ドットを再現するために、トナーの体積平均粒径は3〜8μmが好ましい。体積平均粒径(Dv)と個数平均粒径(Dn)との比(Dv/Dn)は1.00〜1.40の範囲にあることが好ましい。この比(Dv/Dn)が1.00に近いほど粒径分布がシャープであることを示す。このような小粒径で粒径分布の狭いトナーでは、トナーの帯電量分布が均一になり、地肌かぶりの少ない高品位な画像を得ることができ、また、静電転写方式では転写率を高くすることができる。
また、本実施形態のトナーとしては、形状係数SF−1は100〜180、形状係数SF−2は100〜180の範囲にあることが好ましい。図17及び18はそれぞれ形状係数SF−1、形状係数SF−2を説明するためにトナーの形状を模式的に表した図である。形状係数SF−1は、トナー形状の丸さの割合を示すものであり、下記式(1)で表される。トナーを2次元平面に投影してできる形状の最大長MXLNGの二乗を図形面積AREAで除して、100π/4を乗じた値である。SF−1の値が100の場合トナーの形状は真球となり、SF−1の値が大きくなるほど不定形になる。
SF−1={(MXLNG)2/AREA}×(100π/4)・・・式(1)
また、形状係数SF−2は、トナー形状の凹凸の割合を示すものであり、下記式(2)で表される。トナーを2次元平面に投影してできる図形の周長PERIの二乗を図形面積AREAで除して、100π/4を乗じた値である。SF−2の値が100の場合トナー表面に凹凸が存在しなくなり、SF−2の値が大きくなるほどトナー表面の凹凸が顕著になる。
SF−2={(PERI)2/AREA}×(100π/4)・・・式(2)
形状係数の測定は、具体的には、走査型電子顕微鏡(S−800:日立製作所製)でトナーの写真を撮り、これを画像解析装置(LUSEX3:ニレコ社製)に導入して解析して計算した。
トナーの形状が球形に近くなると、トナーとトナーあるいはトナーと感光体との接触状態が点接触になるために、トナー同士の吸着力は弱くなり従って流動性が高くなり、また、トナーと感光体との吸着力も弱くなって、転写率は高くなる。形状係数SF−1、SF−2のいずれかが180を超えると、転写率が低下するため好ましくない。
磁性キャリアは、第1空間120と第2空間121との双方に収容されている。磁性キャリアの平均粒径は、20μm以上でかつ50μm以下である。
攪拌スクリュー118は、第1空間120と第2空間121それぞれに収容されている。攪拌スクリュー118の長手方向は、現像剤収容槽117、現像ローラ115及び感光体ドラム108の長手方向と平行である。攪拌スクリュー118は、軸芯周りに回転自在に設けられており、軸芯周りに回転することで、トナーと磁性キャリアとを攪拌するとともに、軸芯に沿って現像剤を搬送する。
図示例では、第1空間120内の攪拌スクリュー118は、現像剤を前述した一端部から他端部に向けて搬送する。第2空間121内の攪拌スクリュー118は、現像剤を他端部から一端部に向けて搬送する。
上記構成によれば、現像剤供給部114は、第1空間120の一端部に供給されたトナーを、磁性キャリアと攪拌しながら、他端部に搬送し、この他端部から第2空間121の他端部に搬送する。そして、現像剤供給部114は、第2空間121内でトナーと磁性キャリアとを攪拌し、軸芯方向に搬送しながら、現像ローラ115の外表面に供給する。
ケース125は、箱状に形成され、前述した現像剤供給部114の現像剤収容槽117に取り付けられて、現像剤収容槽117とともに現像ローラ115などを覆う。また、ケース125の感光体ドラム108と相対する部分には、開口部125aが設けられている。
現像ローラ115は、円柱状に形成され、第2空間121と、感光体ドラム108との間でかつ前述した開口部125aの近傍に設けられている。現像ローラ115は、感光体ドラム108と現像剤収容槽117との双方と平行である。現像ローラ115は、感光体ドラム108と間隔をあけて配されている。現像ローラ115と感光体ドラム108との間の空間は、現像剤のトナーを感光体ドラム108に吸着させて、静電潜像を現像してトナー像を得る現像領域131をなしている。現像領域131では、現像ローラ115と感光体ドラム108とが相対する。
現像ローラ115は、図2及び図3に示すように、支持軸としてマグネットローラ軸(芯金)134と、円筒状の磁石体である磁界発生部材としてのマグネットローラ133と、スリーブ状(円筒状)の中空体としての現像スリーブ132とを備えている。マグネットローラ軸134は、その軸方向(長手方向)が感光体ドラム108の長手方向と平行に配され、前述したケース125に回転することなく固定されている固定軸である。
マグネットローラ133は、磁性材料で構成されかつ円筒状に形成されているとともに、図示しない複数の固定磁極が取り付けられている。マグネットローラ133は、マグネットローラ軸134の外周に軸芯回りに回転することなく固定されている。
固定磁極は、長尺で棒状の磁石であり、マグネットローラ133に取り付けられている。固定磁極は、マグネットローラ133すなわち現像ローラ115の回転軸方向(長手方向)に沿って延びており、マグネットローラ133の全長に亘って設けられている。マグネットローラ133は、現像スリーブ132内に収容されている(内包されている)。
一つの固定磁極は、前述した攪拌スクリュー118と相対している。この固定磁極は、汲み上げ磁極をなしており、現像スリーブ132即ち現像ローラ115の外表面上に磁気力を生じて、現像剤収容槽117の第2空間121内の現像剤を現像スリーブ132の外表面に吸着する。
他の一つの固定磁極は、前述した感光体ドラム108と相対している。この固定磁極は、現像磁極をなしており、現像スリーブ132即ち現像ローラ115の外表面上に磁気力を生じて、現像スリーブ132と感光体ドラム108との間に磁界を形成する。この固定磁極は、磁界によって磁気ブラシを形成することで、現像スリーブ132の外表面に吸着された現像剤のトナーを感光体ドラム108に受け渡すようになっている。
前述した汲み上げ磁極と現像磁極との間には、少なくとも一つの固定磁極が設けられている。この少なくとも一つの固定磁極は、現像スリーブ132即ち現像ローラ115の外表面上に磁気力を生じて、現像前の現像剤を感光体ドラム108に向けて搬送するとともに、現像済みの現像剤を感光体ドラム108から現像剤収容槽117内まで搬送する。
前述した固定磁極は、現像スリーブ132の外表面に現像剤を吸着すると、現像剤の磁性キャリアが固定磁極が生じる磁力線に沿って複数重ねさせて、現像スリーブ132の外表面上に立設(穂立ち)させる。このように、磁性キャリアが磁力線に沿って複数重なって現像スリーブ132の外表面上に立設する状態を、磁性キャリアが現像スリーブ132の外表面上に穂立ちするという。すると、この穂立ちした磁性キャリアに前述したトナーが吸着する。則ち、現像スリーブ132は、マグネットローラ133の磁力により外表面に現像剤を吸着する。
現像スリーブ132は、図4に示すように円筒状に形成されている。現像スリーブ132は、マグネットローラ133を内包し(収容し)て、軸芯回りに回転自在に設けられている。現像スリーブ132は、その内周面が固定磁極に順に相対するように回転される。現像スリーブ132は、アルミニウム合金、真鍮、ステンレス鋼(SUS)、導電性の樹脂などの非磁性材料で構成されている。現像スリーブ132は、例えば図8に示す表面処理装置1によって外表面に粗面化処理が施されている。
アルミニウム合金は、加工性、軽さの面で優れている。アルミニウム合金を用いる場合には、A6063、A5056及びA3003を用いるのが好ましい。SUSを用いる場合には、SUS303、SUS304及びSUS316を用いるのが好ましい。なお、図示例では、現像スリーブ132は、アルミニウム合金で構成されている。
現像スリーブ132の外径は、例えば18mm程度である。現像スリーブ132の軸(軸芯)方向の長さは、画像形成装置の最大紙サイズがA3の場合、例えば300mm〜350mm程度であるのが望ましい。
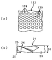
また、現像スリーブ132の外周面には、図4、図5、図6(a)及び図7に示すように、平面視が楕円形状の凹部である凹み139が多数設けられている。凹み139は、勿論、現像スリーブ132の外表面に凹状に形成され、その現像スリーブ132の外表面に互いに重ならないように規則的に多数(複数)配置されている。なお、本実施形態では、現像スリーブ132の周方向及び回転軸方向に互いに隣り合う凹み139間の間隔が一定となるように配置されていることを、凹み139が規則的に配置されているという。即ち、現像スリーブ132の周方向及び回転軸方向に互いに隣り合う凹み139間の間隔は、一定となっている。
また、凹み139は、その長手方向が現像スリーブ132の回転軸方向に沿った状態で配置されている。即ち、凹み139は、その長手方向が現像スリーブ132の回転軸方向と平行又は略平行に配置されている。なお、図示例では、凹み139の長手方向は、現像スリーブ132の回転軸方向に対して若干傾いて、略平行に配置されている。このように、本実施形態では、凹み139の長手方向が現像スリーブ132の回転軸方向と平行又は略平行に配置されていることを、凹み139の長手方向が現像スリーブ132の回転軸方向と平行に配置されているという。
さらに、凹み139は、図5、図6(a)及び図7に示すように、現像スリーブ132の回転軸方向に沿って複数並べられて配置されているとともに、現像スリーブ132の周方向に互いに隣り合うもの同士は、その凹み139の長さの約半分程度位置ずれして配置されている。さらに、凹み139は、図8(a)に示す表面処理装置1により現像スリーブ132の外表面に形成されるため、現像スリーブ132の外表面上に図5中の一点鎖線で示す螺旋上に並べられて配置されている。
また、凹み139は、図6(b)に示すように、その幅方向(即ち、現像スリーブ132の周方向)の断面形状がV字状に形成され、図6(c)に示すように、その長手方向(即ち、現像スリーブ132の回転軸方向)の断面形状が円弧状の曲面に形成されている。さらに、凹み139は、図8(a)に示す表面処理装置1により現像スリーブ132の外表面に形成されるため、図7に示すように、その長手方向が若干弓状に湾曲している。なお、本実施形態では、その長さが幅よりも長く、外縁が曲線で形成されていれば、その長手方向や直線であっても若干湾曲していても、総称して楕円形状とする。
さらに、凹み139の長手方向の長さ(長径)は、1.0mm以上でかつ2.3mm以下となっており、幅方向の幅(短径)は、0.3mm以上でかつ0.7mm以下となっているとともに、その深さは、0.05mm以上でかつ0.15mm以下となっている。さらに、凹み139は、現像スリーブ132の外表面100mm当たり50〜250個程度設けられている。即ち、複数(多数)の凹み139の総容量が、現像スリーブ132の外表面100mm当たり0.5mm以上でかつ7.0mm以下となっている。さらに、凹み139は、現像スリーブ132とともに回転する感光体ドラム108の周方向に1mm当たり1.0個以上でかつ3.0個以下設けられている。なお、図5、図6(a)及び図7では、図中の左右方向が現像スリーブ132の回転軸方向となっている。
一般に凹み139が深いほど現像剤の搬送性能は向上するが溝を外表面に設けた従来の現像スリーブと同様に周期的なピッチムラが発生しやすくなる。一方、凹み139が浅いほどピッチムラは発生しにくくなるが現像剤の搬送性能が低下する。特に近年では、小粒径のトナーや磁性キャリアの画像形成技術の進歩及び近接現像の画像形成技術の進歩等により画像再現性が向上しているため、ピッチムラが発生しやすくなっている。そこで、前述した現像スリーブ132では、凹み139の深さを浅めに設定し、当該凹み139の分布密度を増やすことで現像剤搬送性能とピッチムラ防止の両立を図っている。
ドクタブレード116は、現像装置113の感光体ドラム108寄りの端部に設けられている。ドクタブレード116は、現像スリーブ132の外表面と間隔をあけた状態で、前述したケース125に取り付けられている。ドクタブレード116は、所望の厚さを越える現像スリーブ132の外表面上の現像剤を現像剤収容槽117内にそぎ落として、現像領域131に搬送される現像スリーブ132の外表面上の現像剤を所望の厚さにする。
上記構成の現像装置113は、現像剤供給部114でトナーと磁性キャリアとを十分に攪拌し、この攪拌した現像剤を固定磁極により現像スリーブ132の外表面に吸着する。そして、現像装置113は、現像スリーブ132が回転して、複数の固定磁極により吸着した現像剤を現像領域131に向かって搬送する。現像装置113は、ドクタブレード116で所望の厚さになった現像剤を感光体ドラム108に吸着させる。こうして、現像装置113は、現像剤を現像ローラ115に担持し、現像領域131に搬送して、感光体ドラム108上の静電潜像を現像してトナー像を形成する。
そして、現像装置113は、現像済みの現像剤を、現像剤収容槽117に向かって離脱させる。さらに、そして、現像剤収容槽117内に収容された現像済みの現像剤は、再度、第2空間121内で他の現像剤と十分に攪拌されて、感光体ドラム108の静電潜像の現像に用いられる。なお、現像装置113は、現像剤供給部114が例えば感光体ドラム108に供給されるトナーの濃度が低下したことを後述するトナー濃度センサが検知すると、トナー補給装置136の動作により現像装置113へトナーを排出するようになっている。
上記構成の画像形成装置101は、一例として以下に示すように、記録紙107に画像を形成する。まず、画像形成装置101は、感光体ドラム108を回転して、この感光体ドラム108の外表面を一様に帯電ローラ109により−700Vに帯電する。感光体ドラム108の外表面にレーザ光を照射して、感光体ドラム108を露光して、画像部分を−150Vに減衰させて、該感光体ドラム108の外表面に静電潜像を形成する。そして、静電潜像が現像領域131に位置付けられると、この静電潜像に−550Vの現像バイアス電圧を印加して、現像装置113の現像スリーブ132の外表面に吸着した現像剤が感光体ドラム108の外表面に吸着して静電潜像を現像し、トナー像を感光体ドラム108の外表面に形成する。そして各プロセスカートリッジ106Y,106M,106C,106Kの感光体ドラム108上に形成されたカラートナー像は各中間転写ローラにより中間転写ベルト129へ転写され、カラートナー像を形成する。
そして、画像形成装置101は、給紙ユニット103の給紙ローラ124などにより搬送されてきた記録紙107が、中間転写ユニット104の中間転写ベルト129が紙転写ローラ126の対向位置に来た際、中間転写ベルト上に形成されたカラートナー像を記録紙107に転写する。画像形成装置101は、定着ユニット105で、記録紙107にトナー像を定着する。こうして、画像形成装置101は、記録紙107にカラー画像を形成する。
一方、転写されずに感光体ドラム108上に残ったトナーはクリーニングブレード112によって回収される。残留トナーを除去された感光体ドラム108は次回の画像形成プロセスに供される。
また、上記構成の画像形成装置101では、環境変動や経時変動による画質の変動を抑えるために、プロセスコントロールを行なっている。具体的には、まず現像装置113における現像能力を検出する。例えば、あるトナーパターンの画像を、現像バイアス電圧を一定にした条件下で感光体ドラム108、又は中間転写ベルト上129に形成し、その画像濃度を図示しない光センサで検出し、濃度変化から現像能力を把握する。そして、この現像能力が所定の目標現像能力になるように、トナー濃度の目標値を変更することで、画質を一定に保つことができる。例えば、光センサで検出したトナーパターンの画像濃度が、目標現像濃度よりも薄い場合には、トナー濃度を高くするように、図示しない制御手段としてのCPUがトナー補給装置136を制御し、目標トナー濃度になるように制御する。一方、光センサで検出したトナーパターンの画像濃度が、目標現像濃度よりも濃い場合には、トナー濃度を低くするように、CPUが故意に現像させ、現像装置113のトナー濃度を低下させるよう制御する。ここで、上記トナー濃度は図示しないトナー濃度センサで検知される。
次に、現像スリーブ132の外表面に凹み139を形成する表面処理装置1について説明する。表面処理装置1は、図8(a)に示すように、ベース3と、保持部4と、回転駆動部としてのモータ2と、移動手段としての工具移動部5と、工具6と、制御手段としての図示しない制御装置とを備えている。
ベース3は、平板状に形成されて、工場のフロアやテーブル上等に設置される。ベース3の上面は、水平方向と平行に保たれる。ベース3の平面形状は、矩形状に形成されている。
保持部4は、固定保持部7と、スライド保持部8とを備えている。固定保持部7は、ベース3の長手方向の一端部から立設した固定柱9と、この固定柱9の上端部に設けられた回転チャック10とを備えている。回転チャック10は、厚手の円板状に形成され、固定柱9の上端部にその中心を中心として回転自在に支持されている。回転チャック10の回転中心は、ベース3の表面と平行に配置されており、回転チャック10の中心部には円柱状のチャックピン11が立設している。勿論、チャックピン11は、回転チャック10と同軸に配置されている。
スライド保持部8は、スライダ12と、スライド柱13と、このスライド柱13の上端部に設けられた回転チャック14とを備えている。スライダ12は、ベース3の表面即ち回転チャック10のチャックピン11の軸芯に沿ってスライド自在に設けられている。また、スライダ12は、回転チャック10のチャックピン11軸芯方向の位置が適宜固定される構成となっている。
スライド柱13は、スライダ12から立設している。回転チャック14は、厚手の円板状に形成され、スライド柱13の上端部に取り付けられたモータ2の出力軸に取り付けられている。回転チャック14の回転中心は、固定保持部7の回転チャック10のチャックピン11と同軸に配置されている。回転チャック14の中心部には円柱状のチャックピン15が立設している。勿論、チャックピン15は、回転チャック14と同軸に配置されている。
前述した保持部4は、スライド保持部8が固定保持部7から離れた状態で、チャックピン11,15間に凹み139が形成される前の現像スリーブ132が位置付けられて、そして、保持部4は、スライド保持部8が固定保持部7に近づけられて、チャックピン11,15の先端が現像スリーブ132の端部内に侵入して、当該チャックピン11,15間に現像スリーブ132を挟んだ状態で、スライダ12が固定される。こうして、保持部4は、チャックピン11,15間に現像スリーブ132を挟んで、当該現像スリーブ132を保持する。
モータ2は、スライド保持部8のスライド柱13の上端部に取り付けられている。モータ2は、回転チャック14をその中心回りに回転駆動する。モータ2は、回転チャック14を回転駆動することで、チャックピン11,15間に挟まれた現像スリーブ132をその軸芯回りに回転させる。
工具移動部5は、リニアガイド16と、図示しない移動用アクチュエータと、を備えている。リニアガイド16は、レール17と、スライダ18とを備えている。レール17は、ベース3上に設置されている。レール17は、直線状に形成されているとともに、その長手方向がベース3の長手方向、チャックピン11,15即ちチャックピン11,15間に挟まれた現像スリーブ132の軸芯と平行に配されている。スライダ18は、レール17に該レール17の長手方向に沿って移動自在に支持されている。
移動用アクチュエータは、ベース3に取り付けられているとともに、前述したスライダ18をベース3の長手方向、チャックピン11,15即ちチャックピン11,15間に挟まれた現像スリーブ132の軸芯に沿って、スライド移動させる。
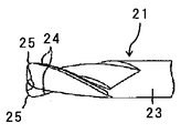
工具6は、工具本体19と、工具回転部としての工具回転用モータ20と、回転工具としてのエンドミル21と、を備えている。工具本体19は、スライダ18から立設した柱状に形成されている。
工具回転用モータ20は、工具本体19の上端部に取り付けられている。工具回転用モータ20は、図8(b)に示すように、その出力軸22が工具本体19の上端部からチャックピン11,15間に挟まれた現像スリーブ132に向かって突出した状態に配置されている。工具回転用モータ20の出力軸22は、その軸芯がベース3の表面と平行でかつチャックピン11,15間に挟まれた現像スリーブ132の軸芯と交差(図示例では直交)する状態で配置されている。
エンドミル21は、全体として円柱状に形成され、工具回転用モータ20の出力軸22の先端部に取り付けられている。このため、エンドミル21は、その軸芯がベース3の表面と平行でかつチャックピン11,15間に挟まれた現像スリーブ132の軸芯と交差(図示例では直交)する状態で配置されている。また、エンドミル21は、工具本体19の上端部からチャックピン11,15間に挟まれた現像スリーブ132に向かって突出した状態に配置されている。
エンドミル21は、図8(c)に示すように、円柱状の本体部23と、二つの切削刃24とを備えている。本体部23は、工具本体19に取り付けられる。切削刃24は、本体部23の現像スリーブ132寄りの先端部に周方向に間隔をあけて設けられている。切削刃24は、図8(d)に示すように、本体部23の先端部の外縁よりも当該本体部23即ちエンドミル21の外周方向に突出して設けられ、螺旋状に延在して形成されている。また、本実施形態では、エンドミル21の切削刃24先端の外縁25の断面は、図8(c)に示すように、鋭角をなすように形成されている。
前述した工具6は、工具回転用モータ20がエンドミル21をその軸芯回りに回転することで、現像スリーブ132の外表面に凹み139を形成する。
制御装置は、周知のRAM、ROM、CPUなどを備えたコンピュータである。制御装置は、回転駆動部としてのモータ2と、工具移動部5の移動用アクチュエータと、工具6の工具回転用モータ20などと接続しており、これらを制御して、表面処理装置1全体の制御を司る。
制御装置は、現像スリーブ132の外表面に凹み139を多数形成する際には、回転駆動部としてのモータ2で現像スリーブ132をその軸芯回りに回転させて、工具回転用モータ20でエンドミル21をその軸芯回りに回転させながら、移動用アクチュエータにより工具を現像スリーブ132の回転軸方向(長手方向)に沿って移動させる。そして、制御装置は、切削刃24がエンドミル21の回転に伴い断続的に現像スリーブ132の外表面に切削加工を施して、凹み139を多数形成する。
このとき、切削刃24の外縁の曲率半径により現像スリーブ132の回転軸方向の凹み139の円弧の曲率半径を定め、切削刃24の切り込み量により凹み139の深さを定め、工具6の移動速度により凹み139の現像スリーブ132回転軸方向の間隔を定める。また、現像スリーブ132の外表面に周方向に設ける凹み139の数をnとし、回転駆動部としてのモータ2の回転数即ち現像スリーブ132の回転数をN1とし、エンドミル21の切削刃24の数をmとし、エンドミル21の回転数をN2とすると、制御装置は、以下の式(3)を満たすように、回転駆動部としてのモータ2と、工具移動部5の移動用アクチュエータと、工具6の工具回転用モータ20を制御する。
N2=N1×〔m/[(n/2)−0.5]〕・・・式(3)
制御装置は、これらの各要件を適宜変更することで、凹み139の大きさや密度を任意に変更して、現像スリーブ132の外表面を加工することができる。
さらに、制御装置には、キーボードなどの各種の入力装置や、ディスプレイなどの各種の表示装置が接続している。
次に、前述した構成の表面処理装置1を用いて現像スリーブ132の外表面に切削加工を施して、現像スリーブ132を製造する工程を説明する。
まず、制御装置に入力装置から現像スリーブ132の品番などを入力する。そして、制御装置が、工具6の回転工具としてのエンドミル21を加工開始位置即ち現像スリーブ132の一方の端部に位置付けた後、凹み139が形成される前の現像スリーブ132を保持部4に保持する。このとき、現像スリーブ132とチャックピン11,15などが同軸になる。
そして、入力装置から作業開始命令を入力すると、前述した式1に基づいて、制御装置が、回転駆動部としてのモータ2と、工具移動部5の移動用アクチュエータと、工具6の工具回転用モータ20を駆動する。すると、軸芯回りに回転するエンドミル21の切削刃24が、断続的に現像スリーブ132の外表面に切削加工を施すことで、凹み139が形成される。即ち、凹み139は、軸芯回りに回転される回転工具6によって、現像スリーブ132の外表面に切削加工が施されて形成される。
また、回転駆動部としてのモータ2と、工具移動部5の移動用アクチュエータと、工具6の工具回転用モータ20が同時に駆動するので、凹み139が軸芯回りに回転される回転工具6によって現像スリーブ132の外表面に切削加工が施されて形成される際に、エンドミル21と交差(図示例では直交)する状態に配置された現像スリーブ132がその軸芯回りに回転されながら、エンドミル21と現像スリーブ132とが当該現像スリーブ132の回転軸方向に相対的に移動されて、凹み139が、形成される。
エンドミル21が、現像スリーブ132の加工終了位置即ち現像スリーブ132の他方の端部に位置付けられて、前述した現像スリーブ132の外表面の切削加工が終了すると、回転駆動部としてのモータ2と、工具移動部5の移動用アクチュエータと、工具6の工具回転用モータ20を停止する。そして、スライド保持部8を固定保持部7から離して、保持部7,8のチャックピン11,15間から外表面に凹み139が多数形成された現像スリーブ132を取り出して、新たな現像スリーブ132を保持部4に保持させる。こうして、現像スリーブ132の外表面に切削加工を施して、外表面に凹み139を多数形成して、前述した現像スリーブ132(図4に示す)が得られる。
本実施形態によれば、外表面に従来のサンドブラスト加工により形成されるような凸部が無く、凹み139はより大きな凹み139に形成されているので、経年変化によっても、凹み139が摩耗しにくくなり、よって、経年変化による現像剤の搬送量の低下を抑制できる。
また、現像スリーブ132は、外表面に形成された凹み139が重ならないように規則的に配置されているので、現像剤が凹み139内に溜まるので、該現像剤の溜まる箇所が外表面に規則的に配置されることとなり、よって、画像のムラが生じることを防止できる。更に、今後の高速機での高画質維持の為に更に汲み上げ量を増加させることに対応できる。
さらに、凹み139を規則的に配置するので、最適な現像剤のくみ上げ量を確保しながら長寿命化を図ることができる加工条件を設定することが容易で、かつ、設定された条件で確実に凹み139を形成でき、加工性に優れるという効果を奏でる。
さらに、現像スリーブ132の外表面に回転軸方向に長い複数個の凹み139が規則的に配置され、この凹み139の総容積を該現像スリーブ132の外表面の面積100mm当たり0.5mm以上にしているので、現像剤の十分な搬送力が得られる。
また、現像スリーブ132の周方向に互いに隣り合う凹み139同士が現像スリーブ132の回転軸方向に位置ずれしているので、現像スリーブ132の外表面に凹み139が形成されていない箇所や凹み139が多く形成されている箇所などが生じることを防止できる。したがって、現像スリーブ132の外表面に吸着する現像剤にムラが生じること即ち現像スリーブ132の外表面に一様に現像剤を吸着することができる。したがって、画像のムラが生じることを防止できる。
なお、前述した現像スリーブ132の例では、凹み139の現像スリーブ132周方向の断面をV字状に形成しているが、図9(a)乃至図9(c)に示すように、凹み139の現像スリーブ132の周方向の断面を円弧状に形成してもよい。図示例では、凹み139の現像スリーブ132の周方向と回転軸方向の双方の断面を円弧状に形成している。この場合、図11に示すように、エンドミル21の切削刃24の外縁25を円弧状に形成することで、凹み139の現像スリーブ132の周方向の断面を円弧状に形成している。また、この場合に限らず、現像スリーブ132の周方向の断面における凹み139の内面と現像スリーブ132の外表面とのなす角度θ(図10に示す)は、前述した現像磁極の影響で発生する現像濃度差を避けるために60度以下であるのが好ましい。なお、これらの図9乃至図11において、前述した実施形態と同一部分には、同一符号を付して説明する。
これらの図9乃至図11に示す場合によれば、凹み139の現像スリーブ132の回転軸方向と周方向の双方の断面が円弧状に形成されているので、凹み139内に収容できる現像剤の量を多くすることができる、十分な量の現像剤を搬送することができる。
また、前述した現像スリーブ132の例では、凹み139の現像スリーブ132周方向の断面をV字状に形成しているが、切削刃24の外縁25の形状を適宜変更することで、図12及び図13に示すように、凹み139の現像スリーブ132の周方向の断面形状を適宜変更してもよい。図12は、V字状の凹み139の底が平坦に形成された場合を示し、図13は、V字状の凹み139の底が円弧状に形成された場合を示している。なお、図12及び図13において、前述した実施形態と同一部分には、同一符号を付して説明を省略する。
また、前述した現像スリーブ132の凹み139の形成例では、モータ2,20やアクチュエータを同時に連続して動作させて、凹み139を現像スリーブ132の外表面に螺旋上に配置し、かつ各々の凹み139を若干弓状に湾曲して形成しているが、図14及び図15に示すように、モータ2,20やアクチュエータを適宜完結的に動作させて、凹み139を現像スリーブ132の回転軸方向に沿って直線状に形成してもよいとともに、複数の凹み139を現像スリーブ132の周方向に沿って直線上に配置してもよい。
さらに、前述した現像スリーブ132の例では、凹み139を楕円形状に形成しているが、前述した実施形態よりも外径D1の小さいエンドミル21(図16(b)に示す)を用いて、凹み139を、図16(a)に示すように、平面視を円形に形成してもよい。
なお、上記画像形成装置101では、プロセスカートリッジ106Y,106M,106C,106Kはカートリッジケース111と帯電ローラ109と感光体ドラム108とクリーニングブレード112と現像装置113とを備えている。しかしながら、画像形成装置は、プロセスカートリッジ106Y,106M,106C,106Kは少なくとも現像装置113を備えていればよく、カートリッジケース111と帯電ローラ109と感光体ドラム108とクリーニングブレード112を必ずしも備えていなくてもよい。また、上記画像形成装置101は装置本体102に着脱自在なプロセスカートリッジ106Y,106M,106C,106Kを備えている。しかしながら、画像形成装置101は現像装置113を備えていればよく、プロセスカートリッジ106Y,106M,106C,106Kを必ずしも備えていなくてもよい。
次に、上記現像ローラ115について更に詳細に説明する。
図24(a)は現像ローラを側面から見た断面図であり、図24(b)は現像スリーブ表面の拡大図である。図示の現像ローラは、二成分現像方式では一般的で安価な現像ローラである。
図24(a)において、前述したように、現像ローラ115の軸部材であるマグネットローラ軸134は、マグネットローラ133をその外周に軸芯回りに回転することなく固定した状態で、ケース125(不図示)に回転することなく固定されている。マグネットローラ133には、複数の固定磁極、例えば、磁極S1、磁極N1、磁極S2、第1磁極としての磁極N2及び第2磁極としての磁極N3がそれぞれ設けられている。第1磁極N2及び第2磁極N3は、現像領域を通過した後の現像剤を現像スリーブ132から離脱させる磁力を発生させるための剤離れ用磁極である。そして、マグネットローラ軸134の軸芯回りの角度を規制してケース125に固定することで、現像ユニットに対する回転方向角度を決め、現像ニップ部における主極位置などを決めることができる。
上記マグネットローラ軸134の右端部134aと左端部134bにはそれぞれ軸受135a、135bが配設されており、これらの軸受はそれぞれ右フランジ132a,左フランジ132bを回転可能に支持している。右フランジ132a、左フランジ132bは現像スリーブ132の両端部側の内側に固設されているので、現像スリーブ132は左フランジ132bの回転軸132cを回転させることによりマグネットローラ軸134の軸芯回りに回転自在となる。
上記マグネットローラ軸134は、右端部134aの先端部がケース125(不図示)に固定されているため、マグネットローラ133の両端部より外側に存するマグネットローラ軸134の長さは、右端部134aの長さL1に比べて、左端部134bの長さL2が短くなっている。
マグネットローラ軸134は磁性体(磁性部材)からなる金属材料で形成されている。このマグネットローラ軸134のマグネットローラ133の本体部分の軸方向(長手方向)の端面より外側に延在している右端部134a及び左端部134bは、互いに軸方向の長さが異なる。図示の例では、右端部134aの長さが左端部134bよりも長い。このようにマグネットローラ133の右端部134a及び左端部134bで長さが異なることにより、マグネットローラ133の両端部におけるN2極(剤離れ上流極)やN3極(汲み上げ極=剤離れ下流極)に対向する現像スリーブ132上の領域で磁界の分布が互いに異なる。このため、右端部134aの側に形成される右端部磁界T1が、左端部134bの側に形成される左端部磁界T2に比べて、流れ込み磁界を含めて大きく円弧を描くように形成される。従って、現像剤の連れ回りが発生するまでの余裕を示す連れ回り余裕度は、現像スリーブ132の右端部側が低く、左端部側が高くなる。
本実施形態の現像スリーブ132では、上記右端部磁界T1と左端部磁界T2との影響を考慮して、現像スリーブ132の回転軸方向に対して斜めに角度を付けて楕円状の凹み139を、現像スリーブ132の表面に設けている。つまり、図24(b)に示すように、現像剤を現像スリーブ表面から離脱させる剤離れ部で、マグネットローラ133の長手方向両端部より外側に存するマグネットローラ軸134の長さが短い方の左端部側に向けて現像剤を離脱させるように、凹み139の楕円の短手方向の角度を設定している。このような構成にすることで、左端部134b側では、現像剤は、左端部134bの磁界T2の影響を受けて、作像領域の内側(右側)に向くように軌道が修正されて落下する。一方、右端部134aの磁界T1の影響により現像剤の連れ回り余裕度の低い右端部134a側では、現像剤が、同図(b)中の矢印方向に離れ、作像領域の内側(左側)に向けて落下する。従って、現像スリーブ132の両端部側で現像剤の連れ回り状況を最小にすることができ、現像ローラ115の長手寸法幅を抑えることが可能となる。
なお、本実施形態に係る現像装置では、図25に示すように、現像剤を現像スリーブ132から離脱させる位置にある剤離れ部に対向するように磁界発生手段としての磁石149を配置してもよい。図示の例は、汲み上げ・現像ドクタ極を1極構成とした低ストレス型現像装置の例であるが、汲み上げ、ドクタ極が別極である従来の現像装置(図19参照)においても同様の位置に磁石149を配置することでも同様の効果が得られるものである。
磁石149は、剤離れ磁極(剤離れ対向極)であるN2極及びN3極に現像スリーブ132を介して対向する対向位置に、その磁石149のN極が現像ローラ115側に向くように配置されている。また、この磁石149は、図26(a)に示すように、現像スリーブ回転軸方向に関する位置がマグネットローラ133の長手方向の左側端部よりも外側となる位置に配置されている。この磁石149が配置された現像スリーブ回転軸方向に関する位置は、図26(b)に示すように、現像スリーブ132の回転軸方向両端部側のうち、剤離れ部に対向する位置であって、現像スリーブ回転軸方向に対して上記凹み139による現像剤搬送力が生じる側の端部側の位置である。
図27は、現像スリーブ132の表面上の磁力分布と磁石149の設置範囲との関係を示す図である。磁石149の設置範囲は、現像スリーブ132による現像剤搬送方向に関する位置が、現像スリーブ上におけるN2極による法線方向磁束密度の最大地点の法線H1から、現像スリーブ上におけるN3極による法線方向磁束密度の最大地点の法線H2までの間である。なお、汲み上げ、ドクタ極が別極である従来の現像装置(図19参照)においては、磁石149の設置範囲は、現像スリーブ上におけるS2極による法線方向磁束密度の最大地点の法線から、現像スリーブ上におけるS3極による法線方向磁束密度の最大地点の法線までの間である。
上記磁石149は、剤離れ磁極としてのN2極及びN3極の磁力により現像スリーブ上の現像剤に現像スリーブ132から離れる方向へ向かう剥離力を作用させる現像スリーブ132上の剤離れ領域内の回転軸方向端部領域を通過する磁力線を、回転軸方向内側へ変位させる磁界を発生させるものである。具体的には、N2極及びN3極と同極(N極)の磁極面の位置が、現像スリーブによる現像剤搬送方向に関しては現像スリーブ132上におけるN2極による法線方向磁束密度の最大地点の法線H1から、現像スリーブ132上におけるN3磁極による法線方向磁束密度の最大地点の法線H2までの間となり、現像スリーブ132の回転軸方向に関しては、マグネットローラ133の本体部分の長手方向端部よりも外側となるように、磁石149を配置している。これにより、上述したとおり、マグネットローラ133の対向領域のうち現像スリーブ132上の剤離れ領域内における現像スリーブ回転軸方向端部領域での磁力線の向きを、現像スリーブ回転軸方向に対して直交する方向へ近づけることができる。これにより、この端部領域における剥離力が向上するので、この端部領域でも現像剤に剥離力を有効に作用させ、現像スリーブ132の外周面から現像剤を効率よく離脱させることができる。その結果、マグネットローラ133の対向領域のうち現像剤の連れ回りが生じる幅(現像スリーブ回転軸方向の長さ)を狭くすることができる。よって、マグネットローラ133の対向領域の幅を短くしても、現像剤の連れ回りによる画像濃度ムラを発生させることなく、従来と同じ現像有効幅を実現でき、現像スリーブ回転軸方向における現像装置の小型化を達成できる。
また、本実施形態においては、磁石149のN極の磁極面と現像スリーブ132の外周面との最短距離X(図27参照)が、その最短距離となる現像スリーブ外周面部分に担持される現像剤の高さよりも大きくなるように構成されている。このような構成とすることで、現像スリーブ132が回転しているときに現像スリーブ上の現像剤が磁石149の磁力により蹴られることがなくなり、弊害なく剤離れ等の狙った効果が得られる。
図28は、現像ローラ115の側面図であって、磁石149による現像スリーブ左端部側の現像剤の流れを示す図である。上記磁石149の磁力により、マグネットローラ左端部より外側の位置に対応する現像スリーブ表面を回っていた現像剤TCを直下もしくは作像領域の内側へ寄せ、さらに、剤離れ上流極及び剤離れ下流極の法線磁力により、現像スリーブ132から現像剤TCを離し、現像剤収容槽へ落下させるので、現像剤の連れ回りを解消することができる。
なお、上記磁石149は、現像スリーブ回転軸方向の左端部側に加えて右端部側に配置してもよい。
図29(a)は、現像スリーブ回転軸方向に関する位置がマグネットローラ133の長手方向の右側端部よりも外側となる位置に、さらに第2の磁界発生手段としての磁石150を配置した説明図であり、同図(b)は現像スリーブ表面の拡大図である。左端部側の磁石149に加えて右端部側に第2の磁界発生手段としての磁石150を配置することにより、現像スリーブ右端部側の現像剤の連れ回りも解消することができる。
ここで、左端部側の磁石149の磁力を右端部側の磁石150の磁力よりも強くしてもよい。左端部側では現像スリーブ132の表面に設けられた凹み139により、剤離れ部で現像剤に左端部側方向の搬送力が生じるので、左端部側の磁石149の磁力を強くすることで、左側に搬送されようとする現像剤を規制し、両端部側の剤離れ性を略均等に良くすることが可能となる。
なお、本発明は、上記構成の現像装置に限らず他の構成の現像装置に適用することもできる。
図30は本発明の他の実施形態に係る現像装置の一例である。
図示例の現像装置は、内部に配置した磁界発生手段347により周囲に複数の磁極が形成された現像剤担持体341と、この現像剤担持体341の下方に対向するように配設されるとともに、現像剤担持体341に担持された現像剤の量を規制する現像剤規制部材346と、装置内に収容された現像剤を長手方向に搬送して循環経路を形成する2つの搬送部材とを備えている。また、複数の搬送部材は、現像剤担持体341に略下方に対向配置され、現像剤を長手方向に搬送しながら現像剤担持体341に現像剤を供給する第一の現像剤搬送部材342と、現像剤担持体341に対向し、現像担持体341から離脱した現像剤と補給トナーと混合攪拌する第二の現像剤搬送部材343とを有して現像剤を一方向に循環搬送させ、第一の現像剤搬送部材342と第二の現像剤搬送部材343との間に現像剤の往来を規制する仕切り部材344を有する現像装置である。このような構成の現像装置にも本発明を適用することで、現像剤回収側の剤嵩が高い側での端部連れ廻り余裕度を向上させ、より大きな効果を発揮することができる。
以上、本実施形態によれば、マグネットローラ133の長手方向両端部に、そのマグネットローラ133の本体部分から長手方向外側に延在する磁性体からなる支持軸としてのマグネットローラ軸134を有し、そのマグネットローラ軸134は長手方向の長さが互いに異なる。そして、現像剤を現像ローラ115から離脱させる剤離れ部の位置で現像スリーブ132の凹み139を有する外周面の移動によって発生する現像ローラ回転軸方向における現像剤移動方向下流側にある一方のマグネットローラ軸134bの長さが他方のマグネットローラ軸134aよりも短い。この構成により、一方のマグネットローラ軸134b側では、現像剤は、マグネットローラ軸134bの磁界T2の影響を受けて、作像領域の内側に向くように軌道が修正されて落下する。一方、他方のマグネットローラ軸134aの磁界T1の影響により、現像剤の連れ回り余裕度の低い他方のマグネットローラ軸134a側では、現像剤が、作像領域の内側に向けて落下する。従って、現像スリーブ132の両端部側で現像剤の連れ回り状況を最小にすることができるとともに、現像ローラ115の長手寸法幅を抑えることが可能となる。
また、本実施形態によれば、現像剤を現像ローラ115から離脱させる位置で現像スリーブ132の凹み139を有する外周面の移動によって発生する現像ローラ回転軸方向における現像剤移動方向下流側のマグネットローラ133の端部において剤離れ極(N2極,N3極)に現像スリーブ132を介して対向するように、剤離れ極(N2極,N3極)と同極の磁極を有する磁界発生手段としての磁石149を設けてもよい。この磁石149は、N2極及びN3極の磁力により現像スリーブ132上の現像剤に現像スリーブ132から離れる方向へ向かう剥離力を作用させる現像スリーブ上の剤離れ領域内の回転軸方向端部領域を通過する磁力線を、回転軸方向内側へ変位させる磁界を発生させるものである。具体的には、N2極及びN3極と同極(N極)の磁極面の位置が、現像スリーブ132による現像剤搬送方向(スリーブ表面移動方向)に関しては現像スリーブ132上におけるN2極による法線方向磁束密度の最大地点の法線H1から、現像スリーブ132上におけるN3磁極による法線方向磁束密度の最大地点の法線H2までの間となり、現像スリーブ回転軸方向に関しては、マグネットローラ133の本体部分の長手方向端部よりも外側となるように、磁石149を配置している。これにより、上述したとおり、マグネットローラ133の対向領域のうち現像スリーブ132上の剤離れ領域内における現像スリーブ回転軸方向端部領域での磁力線の向きを、現像スリーブ回転軸方向に対して直交する方向へ近づけることができる。従って、この端部領域における剥離力が向上するので、この端部領域でも現像剤に剥離力を有効に作用させ、現像スリーブ132の外周面から現像剤を効率よく離脱させることができる。その結果、マグネットローラ133の対向領域のうち現像剤の連れ回りが生じる幅(現像ローラ回転軸方向の長さ)を狭くすることができる。よって、マグネットローラ133の対向領域の幅を短くしても、現像剤の連れ回りによる画像濃度ムラを発生させることなく、従来と同じ現像有効幅を実現でき、現像スリーブ回転軸方向における現像装置の小型化を達成できる。
また、上記実施形態によれば、ドクタブレード116に対して現像スリーブ132による現像剤搬送方向上流側の現像スリーブ外周面外方であって、現像スリーブ132の回転軸方向両端部側の他端部側の位置に、剤離れ極(N2極,N3極)とに対向するように剤離れ極(N2極,N3極)と同極の第2の磁界発生手段としての磁石150を更に設けてもよい。現像ローラ回転軸方向における現像剤移動方向下流側のマグネットローラ133の一方の端部側だけでなく他方の端部側に磁石150を設けることにより、当該他方の端部側での現像剤の連れ回りも防ぐことができる。ここで、磁石149の磁力は記磁石150の磁力よりも強くするのが好ましい。この場合は、現像スリーブ132の楕円状の凹み139から現像剤が離れるときに、その凹み139によって現像ローラ回転軸方向における上記一方の端部側へ搬送されようとする現像剤の移動を規制し、両端部側の剤離れ性を略均等に良くすることが可能となる。
また、上記実施形態によれば、現像剤を構成するトナーの体積平均粒径は3〜8μmである。また、体積平均粒径(Dv)と個数平均粒径(Dn)との比(Dv/Dn)は1.00〜1.40の範囲にある。600dpi以上の微少ドットを再現するために、(Dv/Dn)が1.00に近いほど粒径分布がシャープであることを示す。このような小粒径で粒径分布の狭いトナーでは、トナーの帯電量分布が均一になり、地肌かぶりの少ない高品位な画像を得ることができ、また、静電転写方式では転写率を高くすることができる。
また、上記実施形態によれば、現像剤を構成するトナーの形状係数SF−1は100〜180、形状係数SF−2は100〜180の範囲にある。SF−1の値が100の場合、トナーの形状は真球となり、SF−1の値が大きくなるほど不定形になる。SF−2の値が100の場合、トナー表面に凹凸が存在しなくなり、SF−2の値が大きくなるほどトナー表面の凹凸が顕著になる。形状係数SF−1、SF−2のいずれかが180を超えると、転写率が低下するため好ましくない。
101 画像形成装置
106Y,106M,106C,106K プロセスカートリッジ
108 感光体ドラム
109 帯電ローラ
113 現像装置
114 現像剤供給部
115 現像ローラ
116 ドクタブレード
117 現像剤収容槽
118 攪拌スクリュー
125 ケース
131 現像領域
132 現像スリーブ
133 マグネットローラ
134(134a,134b) マグネットローラ軸
139 凹み
149,150 磁石
TC 現像剤
特開2007−183533号公報 特開2009−251036号公報 特開2009−80447号公報

Claims (9)

  1. 非磁性部材からなる回転駆動可能なスリーブ状の中空体の内部に磁界発生手段が配置され該磁界発生手段の磁力により該中空体の外周面上に磁性キャリアとトナーとを含む二成分現像剤を担持して搬送する現像剤担持体と、
    該現像剤担持体上に担持される二成分現像剤を収容する現像剤収容部と、
    二成分現像剤を攪拌しながら該現像剤担持体の回転軸方向に沿って搬送する攪拌搬送部材と、
    該現像剤担持体に担持された二成分現像剤の層厚を規制する現像剤規制部材とを備え、
    上記現像剤収容部内から上記磁界発生手段の磁力により上記現像剤担持体上に担持した二成分現像剤を、上記現像剤規制部材により規制した後に潜像担持体と対向する現像領域を通過させ、再び現像剤収容部内に戻す現像装置であって、
    上記磁界発生手段は、上記現像領域を通過した後の二成分現像剤を上記現像剤担持体から離脱させるための磁力を発生させるための剤離れ用磁極を有する磁界発生部材を有し、
    上記現像剤担持体の中空体は、その外周面に、長円状又は楕円状の凹部を、その凹部の長手方向が該現像剤担持体の回転軸方向に対して斜めに角度を有し互いに間隔をあけて分布するように複数設けたものであり、
    上記二成分現像剤を上記現像剤担持体から離脱させる位置で上記中空体の上記凹部を有する外周面の移動によって発生する該現像剤担持体の回転軸方向の一方の端部側への該二成分現像剤の移動を抑制する手段を備え、
    上記磁界発生部材の長手方向両端部に、その磁界発生部材の本体部分から長手方向外側に延在する磁性体からなる支持軸を有し、
    上記磁界発生部材の両端部にある上記支持軸は、長手方向の長さが互いに異なり、
    上記二成分現像剤を上記現像剤担持体から離脱させる位置で上記中空体の上記凹部を有する外周面の移動によって発生する該現像剤担持体の回転軸方向における該二成分現像剤の移動方向下流側にある上記磁界発生部材の一方の支持軸の長さが、該磁界発生部材の他方の支持軸よりも短いことを特徴とする現像装置。
  2. 請求項1の現像装置において、
    上記二成分現像剤を上記現像剤担持体から離脱させる位置で上記中空体の上記凹部を有する外周面の移動によって発生する該現像剤担持体の回転軸方向における該二成分現像剤の移動方向下流側の該磁界発生部材の端部において上記剤離れ極に該中空体を介して対向するように、該剤離れ極と同極の磁極を有する磁界発生手段を設けたことを特徴とする現像装置。
  3. 非磁性部材からなる回転駆動可能なスリーブ状の中空体の内部に磁界発生手段が配置され該磁界発生手段の磁力により該中空体の外周面上に磁性キャリアとトナーとを含む二成分現像剤を担持して搬送する現像剤担持体と、
    該現像剤担持体上に担持される二成分現像剤を収容する現像剤収容部と、
    二成分現像剤を攪拌しながら該現像剤担持体の回転軸方向に沿って搬送する攪拌搬送部材と、
    該現像剤担持体に担持された二成分現像剤の層厚を規制する現像剤規制部材とを備え、
    上記現像剤収容部内から上記磁界発生手段の磁力により上記現像剤担持体上に担持した二成分現像剤を、上記現像剤規制部材により規制した後に潜像担持体と対向する現像領域を通過させ、再び現像剤収容部内に戻す現像装置であって、
    上記磁界発生手段は、上記現像領域を通過した後の二成分現像剤を上記現像剤担持体から離脱させるための磁力を発生させるための剤離れ用磁極を有する磁界発生部材を有し、
    上記現像剤担持体の中空体は、その外周面に、長円状又は楕円状の凹部を、その凹部の長手方向が該現像剤担持体の回転軸方向に対して斜めに角度を有し互いに間隔をあけて分布するように複数設けたものであり、
    上記二成分現像剤を上記現像剤担持体から離脱させる位置で上記中空体の上記凹部を有する外周面の移動によって発生する該現像剤担持体の回転軸方向の一方の端部側への該二成分現像剤の移動を抑制する手段を備え、
    上記二成分現像剤を上記現像剤担持体から離脱させる位置で上記中空体の上記凹部を有する外周面の移動によって発生する該現像剤担持体の回転軸方向における該二成分現像剤の移動方向下流側の該磁界発生部材の端部において上記剤離れ極に該中空体を介して対向するように、該剤離れ極と同極の磁極を有する磁界発生手段を設け、
    上記剤離れ極と同極の磁極を有する磁界発生手段を、上記現像剤担持体の回転軸方向における上記磁界発生部材の両端部において該剤離れ極に上記中空体を介して対向するようにそれぞれ設け、
    上記中空体の上記凹部を有する外周面の移動によって発生する上記現像剤担持体の回転軸方向における二成分現像剤の移動方向下流側にある該磁界発生手段で発生する該中空体の外周面上の磁力が、該二成分現像剤の移動方向上流側にある該磁界発生手段で発生する磁力よりも強いことを特徴とする現像装置。
  4. 請求項1乃至3のいずれかの現像装置において、
    上記剤離れ磁極は、互いに隣接した同極の第1磁極及び第2磁極で構成されていることを特徴とする現像装置。
  5. 潜像担持体と、該潜像担持体と対向する現像領域に磁性キャリアとトナーとを含む二成分現像剤を搬送して該潜像担持体上の潜像に該トナーを付着させて現像する現像装置とを一体的に支持し、該現像装置による現像によって得られるトナー像を該潜像担持体上から最終的に記録材上へ転移させることで該記録材上に画像を形成する画像形成装置に対して着脱自在なプロセスカートリッジにおいて、
    上記現像装置は、請求項1乃至のいずれかの現像装置であることを特徴とするプロセスカートリッジ。
  6. 潜像担持体と、該潜像担持体と対向する現像領域に磁性キャリアとトナーとを含む二成分現像剤を搬送して該潜像担持体上の潜像に該トナーを付着させて現像する現像装置とを一体的に支持し、該現像装置による現像によって得られるトナー像を該潜像担持体上から最終的に記録材上へ転移させることで該記録材上に画像を形成する画像形成装置に対して着脱自在なプロセスカートリッジを備えた画像形成装置において、
    上記プロセスカートリッジは、請求項のプロセスカートリッジであることを特徴とする画像形成装置。
  7. 請求項の画像形成装置において、
    上記プロセスカートリッジを複数備えたことを特徴とする画像形成装置。
  8. 請求項6又は7の画像形成装置において、
    上記トナーは、体積平均粒径が3μm以上8μm以下であり、体積平均粒径(Dv)と個数平均粒径(Dn)との比(Dv/Dn)が1.00〜1.40の範囲にあるトナーであることを特徴とする画像形成装置。
  9. 請求項6、7又は8の画像形成装置において、
    上記トナーは、形状係数SF−1が100〜180の範囲にあり、形状係数SF−2が100〜180の範囲にあるトナーであることを特徴とする画像形成装置。
JP2010027208A 2010-02-10 2010-02-10 現像装置並びにこれを備える画像形成装置及びプロセスカートリッジ Expired - Fee Related JP5534412B2 (ja)

Priority Applications (4)

Application Number Priority Date Filing Date Title
JP2010027208A JP5534412B2 (ja) 2010-02-10 2010-02-10 現像装置並びにこれを備える画像形成装置及びプロセスカートリッジ
US13/019,610 US8824932B2 (en) 2010-02-10 2011-02-02 Development device, and process cartridge and image forming apparatus incorporating same
EP11153464.0A EP2363756B1 (en) 2010-02-10 2011-02-07 Development device, and process cartridge and image forming apparatus incorporating same
CN201110035563.0A CN102147582B (zh) 2010-02-10 2011-02-10 显影装置以及包含该显影装置的处理盒和成像设备

Applications Claiming Priority (1)

Application Number Priority Date Filing Date Title
JP2010027208A JP5534412B2 (ja) 2010-02-10 2010-02-10 現像装置並びにこれを備える画像形成装置及びプロセスカートリッジ

Publications (2)

Publication Number Publication Date
JP2011164366A JP2011164366A (ja) 2011-08-25
JP5534412B2 true JP5534412B2 (ja) 2014-07-02

Family

ID=44595111

Family Applications (1)

Application Number Title Priority Date Filing Date
JP2010027208A Expired - Fee Related JP5534412B2 (ja) 2010-02-10 2010-02-10 現像装置並びにこれを備える画像形成装置及びプロセスカートリッジ

Country Status (1)

Country Link
JP (1) JP5534412B2 (ja)

Cited By (1)

* Cited by examiner, † Cited by third party
Publication number Priority date Publication date Assignee Title
JP2565397B2 (ja) 1989-03-31 1996-12-18 キヤノン株式会社 原稿取扱装置

Families Citing this family (3)

* Cited by examiner, † Cited by third party
Publication number Priority date Publication date Assignee Title
CN102385290B (zh) * 2010-09-03 2014-09-03 株式会社理光 显影装置,处理卡盒以及图像形成装置
US9454103B2 (en) * 2014-02-12 2016-09-27 Canon Kabushiki Kaisha Image forming apparatus
JP6398676B2 (ja) * 2014-12-11 2018-10-03 富士ゼロックス株式会社 画像形成装置

Family Cites Families (7)

* Cited by examiner, † Cited by third party
Publication number Priority date Publication date Assignee Title
JP3507294B2 (ja) * 1997-08-01 2004-03-15 キヤノン株式会社 現像装置
JP2001291628A (ja) * 2000-04-11 2001-10-19 Kanegafuchi Chem Ind Co Ltd マグネットローラ及びマグネットローラの製造方法
JP4617949B2 (ja) * 2005-03-23 2011-01-26 Tdk株式会社 マグネットロール及びその製造方法、及び現像ロール
JP2007094094A (ja) * 2005-09-29 2007-04-12 Tdk Corp 現像ローラ及びそれに用いるフランジ
JP4770482B2 (ja) * 2006-01-26 2011-09-14 セイコーエプソン株式会社 現像装置、画像形成装置、及び、画像形成システム
JP5217510B2 (ja) * 2007-09-04 2013-06-19 株式会社リコー 現像ローラ、現像装置、プロセスカートリッジ及び画像形成装置
JP5240550B2 (ja) * 2008-03-31 2013-07-17 株式会社リコー 現像装置並びにこれを備える画像形成装置及びプロセスカートリッジ

Cited By (1)

* Cited by examiner, † Cited by third party
Publication number Priority date Publication date Assignee Title
JP2565397B2 (ja) 1989-03-31 1996-12-18 キヤノン株式会社 原稿取扱装置

Also Published As

Publication number Publication date
JP2011164366A (ja) 2011-08-25

Similar Documents

Publication Publication Date Title
JP5217510B2 (ja) 現像ローラ、現像装置、プロセスカートリッジ及び画像形成装置
US8824932B2 (en) Development device, and process cartridge and image forming apparatus incorporating same
JP5638033B2 (ja) 現像装置及びそれを備えた画像形成装置
US8682230B2 (en) Development device, process cartridge, and image forming apparatus including same having multiple recesses formed on a developer bearer
US7466944B2 (en) Developing device for developing images by adhering developer onto electrostatic images
JP2012155144A (ja) 現像装置及びそれを備えた画像形成装置
CN102236303B (zh) 显影辊、显影单元、处理盒和图像形成设备
JP5534412B2 (ja) 現像装置並びにこれを備える画像形成装置及びプロセスカートリッジ
JP2009244596A (ja) 現像装置、画像形成装置
JP2018005030A (ja) 現像装置及びそれを備えた画像形成装置
JP5284002B2 (ja) 現像装置及びこれを用いる画像形成装置
JP2015007810A (ja) 現像装置及びそれを備えた画像形成装置
JP5585866B2 (ja) 現像装置並びにこれを備える画像形成装置及びプロセスカートリッジ
JP5605092B2 (ja) 現像装置、プロセスカートリッジおよび画像形成装置
JP5609447B2 (ja) 現像装置、プロセスカートリッジ及び画像形成装置
JP5640582B2 (ja) 現像装置、プロセスカートリッジ及び画像形成装置
JP4871780B2 (ja) 磁性粒子担持体、現像装置、プロセスカートリッジ、画像形成装置および表面処理方法
JP2009288581A (ja) 現像装置及びそれを備えた画像形成装置
JP2012058282A (ja) 現像装置、プロセスカートリッジ及び画像形成装置
JP6565829B2 (ja) 現像装置及びそれを備えた画像形成装置
JP2016031435A (ja) 現像装置及びプロセスカートリッジ及び画像形成装置
JP2005338542A (ja) 現像装置及び画像形成装置
JP4682093B2 (ja) 現像ローラ、現像装置、プロセスカートリッジ及び画像形成装置
JP2009047821A (ja) 現像剤担持体と現像装置とプロセスカートリッジと画像形成装置およびカラー画像形成装置
JP2005164999A (ja) 現像装置及び画像形成装置

Legal Events

Date Code Title Description
A621 Written request for application examination

Free format text: JAPANESE INTERMEDIATE CODE: A621

Effective date: 20121107

A977 Report on retrieval

Free format text: JAPANESE INTERMEDIATE CODE: A971007

Effective date: 20131023

A131 Notification of reasons for refusal

Free format text: JAPANESE INTERMEDIATE CODE: A131

Effective date: 20131025

A521 Request for written amendment filed

Free format text: JAPANESE INTERMEDIATE CODE: A523

Effective date: 20131219

TRDD Decision of grant or rejection written
A01 Written decision to grant a patent or to grant a registration (utility model)

Free format text: JAPANESE INTERMEDIATE CODE: A01

Effective date: 20140404

R151 Written notification of patent or utility model registration

Ref document number: 5534412

Country of ref document: JP

Free format text: JAPANESE INTERMEDIATE CODE: R151

A61 First payment of annual fees (during grant procedure)

Free format text: JAPANESE INTERMEDIATE CODE: A61

Effective date: 20140417

LAPS Cancellation because of no payment of annual fees