JP5521080B2 - 光ファイバコネクタ - Google Patents

光ファイバコネクタ Download PDF

Info

Publication number
JP5521080B2
JP5521080B2 JP2013080994A JP2013080994A JP5521080B2 JP 5521080 B2 JP5521080 B2 JP 5521080B2 JP 2013080994 A JP2013080994 A JP 2013080994A JP 2013080994 A JP2013080994 A JP 2013080994A JP 5521080 B2 JP5521080 B2 JP 5521080B2
Authority
JP
Japan
Prior art keywords
optical fiber
clamping member
fiber connector
ferrule
groove
Prior art date
Legal status (The legal status is an assumption and is not a legal conclusion. Google has not performed a legal analysis and makes no representation as to the accuracy of the status listed.)
Expired - Fee Related
Application number
JP2013080994A
Other languages
English (en)
Other versions
JP2013218334A (ja
Inventor
志明 栗
楽朋 衛
Current Assignee (The listed assignees may be inaccurate. Google has not performed a legal analysis and makes no representation or warranty as to the accuracy of the list.)
Hongfujin Precision Industry Shenzhen Co Ltd
Hon Hai Precision Industry Co Ltd
Original Assignee
Hongfujin Precision Industry Shenzhen Co Ltd
Hon Hai Precision Industry Co Ltd
Priority date (The priority date is an assumption and is not a legal conclusion. Google has not performed a legal analysis and makes no representation as to the accuracy of the date listed.)
Filing date
Publication date
Application filed by Hongfujin Precision Industry Shenzhen Co Ltd, Hon Hai Precision Industry Co Ltd filed Critical Hongfujin Precision Industry Shenzhen Co Ltd
Publication of JP2013218334A publication Critical patent/JP2013218334A/ja
Application granted granted Critical
Publication of JP5521080B2 publication Critical patent/JP5521080B2/ja
Expired - Fee Related legal-status Critical Current
Anticipated expiration legal-status Critical

Links

Images

Classifications

    • GPHYSICS
    • G02OPTICS
    • G02BOPTICAL ELEMENTS, SYSTEMS OR APPARATUS
    • G02B6/00Light guides; Structural details of arrangements comprising light guides and other optical elements, e.g. couplings
    • G02B6/24Coupling light guides
    • G02B6/36Mechanical coupling means
    • G02B6/38Mechanical coupling means having fibre to fibre mating means
    • G02B6/3807Dismountable connectors, i.e. comprising plugs
    • G02B6/3887Anchoring optical cables to connector housings, e.g. strain relief features
    • G02B6/3888Protection from over-extension or over-compression
    • GPHYSICS
    • G02OPTICS
    • G02BOPTICAL ELEMENTS, SYSTEMS OR APPARATUS
    • G02B6/00Light guides; Structural details of arrangements comprising light guides and other optical elements, e.g. couplings
    • G02B6/24Coupling light guides
    • G02B6/36Mechanical coupling means
    • GPHYSICS
    • G02OPTICS
    • G02BOPTICAL ELEMENTS, SYSTEMS OR APPARATUS
    • G02B6/00Light guides; Structural details of arrangements comprising light guides and other optical elements, e.g. couplings
    • G02B6/24Coupling light guides
    • G02B6/36Mechanical coupling means
    • G02B6/38Mechanical coupling means having fibre to fibre mating means
    • G02B6/3807Dismountable connectors, i.e. comprising plugs
    • G02B6/381Dismountable connectors, i.e. comprising plugs of the ferrule type, e.g. fibre ends embedded in ferrules, connecting a pair of fibres
    • G02B6/3823Dismountable connectors, i.e. comprising plugs of the ferrule type, e.g. fibre ends embedded in ferrules, connecting a pair of fibres containing surplus lengths, internal fibre loops
    • GPHYSICS
    • G02OPTICS
    • G02BOPTICAL ELEMENTS, SYSTEMS OR APPARATUS
    • G02B6/00Light guides; Structural details of arrangements comprising light guides and other optical elements, e.g. couplings
    • G02B6/24Coupling light guides
    • G02B6/36Mechanical coupling means
    • G02B6/38Mechanical coupling means having fibre to fibre mating means
    • G02B6/3807Dismountable connectors, i.e. comprising plugs
    • G02B6/3833Details of mounting fibres in ferrules; Assembly methods; Manufacture
    • G02B6/3855Details of mounting fibres in ferrules; Assembly methods; Manufacture characterised by the method of anchoring or fixing the fibre within the ferrule
    • G02B6/3858Clamping, i.e. with only elastic deformation
    • GPHYSICS
    • G02OPTICS
    • G02BOPTICAL ELEMENTS, SYSTEMS OR APPARATUS
    • G02B6/00Light guides; Structural details of arrangements comprising light guides and other optical elements, e.g. couplings
    • G02B6/24Coupling light guides
    • G02B6/36Mechanical coupling means
    • G02B6/38Mechanical coupling means having fibre to fibre mating means
    • G02B6/3807Dismountable connectors, i.e. comprising plugs
    • G02B6/3869Mounting ferrules to connector body, i.e. plugs
    • GPHYSICS
    • G02OPTICS
    • G02BOPTICAL ELEMENTS, SYSTEMS OR APPARATUS
    • G02B6/00Light guides; Structural details of arrangements comprising light guides and other optical elements, e.g. couplings
    • G02B6/24Coupling light guides
    • G02B6/255Splicing of light guides, e.g. by fusion or bonding
    • G02B6/2552Splicing of light guides, e.g. by fusion or bonding reshaping or reforming of light guides for coupling using thermal heating, e.g. tapering, forming of a lens on light guide ends
    • GPHYSICS
    • G02OPTICS
    • G02BOPTICAL ELEMENTS, SYSTEMS OR APPARATUS
    • G02B6/00Light guides; Structural details of arrangements comprising light guides and other optical elements, e.g. couplings
    • G02B6/24Coupling light guides
    • G02B6/36Mechanical coupling means
    • G02B6/38Mechanical coupling means having fibre to fibre mating means
    • G02B6/3807Dismountable connectors, i.e. comprising plugs
    • G02B6/3898Tools, e.g. handheld; Tuning wrenches; Jigs used with connectors, e.g. for extracting, removing or inserting in a panel, for engaging or coupling connectors, for assembling or disassembling components within the connector, for applying clips to hold two connectors together or for crimping

Landscapes

  • Physics & Mathematics (AREA)
  • General Physics & Mathematics (AREA)
  • Optics & Photonics (AREA)
  • Mechanical Coupling Of Light Guides (AREA)

Description

本発明は、光ファイバコネクタに関し、特に現場で組み立てることが出来る光ファイバコネクタに関するものである。
現在、FTTHの普及に従って、大量の現場組み立て用コネクタが必要である。従来の現場組み立て用光ファイバコネクタは、そのフェルール内に内蔵ファイバが設けられており、この内蔵ファイバの接続端面とフェルールの接続端面とは同一平面上に位置し、搬送又は組み立て過程において、内蔵ファイバの接続端面が損傷されて光の伝送性能に影響を与えることを防止する。
しかし、従来の光ファイバコネクタを他の光学接続装置と接続する時、内蔵ファイバの接続端面とフェルールの接続端面とは同一平面上に位置するので、内蔵ファイバと他の光学接続装置の光ファイバとの間に間隙が発生する可能性がある。また、ファイバ同士の間に押圧力が存在しないので、ファイバ同士の接続は弛み、光の伝送性能を低下させる可能性がある。
以上の問題点に鑑みて、本発明は、現場での組み立てに便利で、且つファイバ同士を強固に接続できる光ファイバコネクタを提供することを目的とする。
前記課題を解決するために、本発明に係る光ファイバコネクタは、フェルールと、光ファイバを挟持するためのクランプ機構と、内部に前記フェルール及び前記クランプ機構が装着されるハウジングと、を備える。前記光ファイバは、前記フェルールに変形可能に設けられ、且つ前記フェルールから部分的に露出され、前記光ファイバコネクタが他の光学接続装置と接続された時、前記他の光学接続装置の押圧によって、前記フェルールの露出された部分は、前記フェルール内に後退されて湾曲構造を形成し、前記湾曲構造は、復元変形力を付与して、前記光ファイバは、前記他の光学接続装置に緊密に接続され、前記クランプ機構は、第一挟持部材及び前記第一挟持部材の一側に結合される第二挟持部材を備え、前記第二挟持部材は、第一当接部及び前記第一当接部に対して傾斜して連接されている第二当接部を備え、前記第一当接部は、前記フェルールに近接し、前記第一当接部の前記第一挟持部材に対向する面には、第一当接面が形成され、前記第二当接部の前記第一挟持部材に対向する面には、前記第一当接面に傾斜して接続されている第二当接面が形成され、前記第二当接面には、前記光ファイバの挿入を容易にするガイド溝が設けられ、前記クランプ機構は、前記第二挟持部材に沿って移動しながら前記第二挟持部材を押圧するクランプ部材をさらに備え、前記クランプ部材が前記第二挟持部材に沿って移動する過程において、前記第一当接面及び前記第二当接面は、前記第一挟持部材に交互に当接され、前記第一挟持部材には、収容溝が凹設され、前記第二挟持部材が、前記収容溝に収納される。
本発明に係る光ファイバコネクタを現場で組み立てる場合、まず光ファイバの芯線を直接クランプ機構に保持させ、且つフェルール内に変形可能に装着する。芯線のフェルールの接続端から伸出された部分の長さは、2マイクロメートル〜4マイクロメートルである。光ファイバコネクタが対応する光学接続装置に接続された時、光ファイバの芯線は、フェルール内で湾曲構造を形成し、且つ該湾曲構造の復元変形力によって、光ファイバの端部の端面は、他の光学接続装置に確実に接続できるため、ファイバ同士間において間隙、弛みなどの問題は発生しない。また、光ファイバの芯線の端部に対する電極の加熱溶融処理によって、切断及び組み立て過程に形成された欠陥(例えば、端部のバリ等)を除去するため、端部の端面の質は向上し、接続時の端部の光の拡散、屈折及び反射等の光の損失を防止することができる。
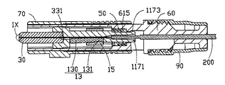
本発明に係る光ファイバコネクタの斜視図である。 図1に示した光ファイバコネクタの分解図である。 図2に示したクランプ機構の分解図である。 図2に示したクランプ機構を別の視覚から見た分解図である。 図3に示した第二挟持部材の拡大図である。 図1に示した光ファイバコネクタの第一状態のVI−VI線に沿った断面図である。 図1に示した光ファイバコネクタの第二状態のVI−VI線に沿った断面図である。 図6に示した光ファイバコネクタのIX部分の拡大図である。 本発明に係る光ファイバコネクタに組み立て工具を結合させた時の斜視図である。 本発明に係る光ファイバコネクタのクランプ機構と現場用組み立て工具との結合図である。 光ファイバコネクタが接続された時の光ファイバコネクタ内部の芯線の湾曲構造を示す拡大図である。
以下、図面に基づいて、本発明に係る光ファイバコネクタについて詳細に説明する。
図1及び図2を参照すると、本発明に係る光ファイバコネクタ100は、光ファイバ200の先端に装着される。本実施形態において、光ファイバコネクタ100は、SC型の光ファイバコネクタである。光ファイバコネクタ100は、クランプ機構10、フェルール30、弾性部材50、内部ハウジング60、外部ハウジング70及びブーツ90を備える。クランプ機構10、フェルール30及び弾性部材50は、内部ハウジング60内に装着される。この時、フェルール30の一端は、クランプ機構10に固定され、フェルール30の他端は、内部ハウジング60から伸出され、弾性部材50の一端は、クランプ機構10のフェルール30から離れている一端に当接され、弾性部材50の他端は、内部ハウジング60のフェルール30から離れている一端の内壁に当接される。外部ハウジング70は、フェルール30に近接する内部ハウジング60の外周に装着される。ブーツ90は、内部ハウジング60のフェルール30から離れている一端に固定される。光ファイバ200は、ブーツ90、クランプ機構10及びフェルール30に挿設される。
図3及び図4を参照すると、クランプ機構10は、第一挟持部材11と、第一挟持部材11の一側に結合される第二挟持部材13と、第一挟持部材11と第二挟持部材13との外周にスライド可能に装着されるクランプ部材15と、を備える。
第一挟持部材11は、固定部113、固定部113の両端からそれぞれ延在して形成されている第一装着部115及び第二装着部117を備える。固定部113は、略直方体である。固定部113の一側面(図4において上面)には、その長手方向に沿って矩形の収容溝1131が凹設されている。収容溝1131には、第二挟持部材13が収納される。収容溝1131の底面には、光ファイバ200を収納するためのV形の第一位置決め溝1133が凹設されている。V形の第一位置決め溝1133は、弧形などの他の形状の溝であっても良い。固定部113において第一位置決め溝1133を区画する一対の側壁の外側面のうち第一装着部115に近接する箇所には、2つの係合突起1135が対称に突設されている。固定部113の係合突起1135から離れている一端には、固定部113の長手方向に沿って平行に延在する2つのストッパー部1137が上方に突設されている。ストッパー部1137は、クランプ部材15の移動を規制する。収容溝1131のストッパー部1137に近接する一端の端壁には、第一位置決め溝1133と連通するガイド孔1138(図7を参照)が形成されている。ガイド孔1138は、第一位置決め溝1133から離れる方向に沿ってその内径が大きくなるテーパー状を呈している。これにより、光ファイバ200を挿入する過程において、光ファイバ200の先端が折れる或いは損傷することを防止することができる。第一装着部115は、略円筒状を呈し、その直径は、固定部113の幅より大きい。第一装着部115には、軸方向に沿って装着孔1151が凹設されている。装着孔1151は、収容溝1131及び第一位置決め溝1133と連通する。装着孔1151の底部の略中央位置には、収容溝1131及び第一位置決め溝1133に連通するガイド溝1153(図7を参照)が形成されている。このガイド溝1153の作用は、上述したガイド孔1138の作用と同じである。ガイド溝1153の装着孔1151側の幅は、ガイド溝1153の固定部113側の幅より大きい。第二装着部117は、固定部113のうち第一装着部115とは反対側の一端に形成され、且つ円筒状を呈する。第二装着部117の直径は、固定部113の幅より小さい。第二装着部117には、ガイド孔1138と連通する貫通孔1171が設けられている。貫通孔1171の直径は、第二装着部117の固定部113から離れている一端からガイド孔1138へ徐々に小さくなるため、光ファイバ200の挿入に便利である。第二装着部117の固定部113から離れている一端の外周には、フランジ部1173が突設されている。
図5を併せて参照すると、第二挟持部材13は、第一挟持部材11の収容溝1131に収容される。第二挟持部材13は、第一当接部130及び第一当接部130に対して傾斜して連接されている第二当接部131を備える。第一当接部130の第一位置決め溝1133に対向する面には、第一当接面1301が形成されている。第二当接部131は、収容溝1131のストッパー部1137側に位置し、第二当接部131の第一位置決め溝1133に対向する面には、第二当接面1313が形成されている。第一当接面1301には、第一位置決め溝1133に対応する第二位置決め溝1305が設けられ、第二当接面1313には、第二位置決め溝1305と同じ方向に沿って第二位置決め溝1305と連通するガイド溝1315が設けられている。第二位置決め溝1305及びガイド溝1315の底面は、下方へやや傾斜している傾斜面であり、ガイド溝1315の深さは、第二位置決め溝1305の深さより深い。即ち、ガイド溝1315の深さは、ガイド溝1315の第二位置決め溝1305に連接されている一端から他端へ徐々に深くなる。該ガイド溝1315の作用も、上述したガイド孔1138の作用と同じである。第一当接面1301と第二当接面1313とが接続する箇所には接続部137が形成されている。本実施形態において、接続部137は、接続線であり、屈曲面を形成している。また、他の実施形態において、該接続部137は、円滑な弧面であっても良い。
クランプ部材15は、円筒状を呈し、且つ第一挟持部材11の固定部113と第二挟持部材13との外周にスライド可能に装着される。クランプ部材15には、その軸方向に沿って矩形孔151が設けられている。この矩形孔151は、第一挟持部材11の固定部113の縦断面の輪郭に対応する。矩形孔151の内壁に傾斜するスライド面1513が形成されることによって、矩形孔151のサイズは、その一端から他端へ徐々に小さくなり、矩形孔151のサイズが大きい端は、第一装着部115側に位置する。クランプ部材15の対向する2つの側壁(図3において左右両側壁)それぞれの外側面には、互いに平行である平坦面153が設けられ、各平坦面153の中央部には、円弧部1531が突設されている。即ち、各平坦面153が対応する円弧部1531によって2つの部分に分割される。各平坦面153の第一装着部115に近接する部分には、固定部113の対応する係合突起1135に係合するための係合孔1535が設けられている。固定部113の係合突起1135が係合孔1535に係合されることによって、クランプ部材15は固定部113に固定される。
フェルール30は、略円柱状を呈し、且つ固定端31及び固定端31から離れている接続端33を備える。固定端31が第一挟持部材11の装着孔1151に挿入されて固定されることによって、フェルール30は第一挟持部材11に固定される。接続端33は、光ファイバコネクタ100に対応するプラグ又はアダプタに対向して当接される。フェルール30には、その軸方向に沿って光ファイバ200を挿入するための挿入孔331(図6を参照)が設けられている。挿入孔331の固定端31側の装着孔1151に連通される部分は、テーパー状に形成される。テーパー状部分は、接続端33から固定端31に向かうに従って直径が大きくなる。該テーパー状部分の作用も、上述したガイド孔1138の作用と同じである。
弾性部材50の中空部内には、第一挟持部材11の第二装着部117が挿入される。本実施形態において、弾性部材50は、圧縮スプリングである。
内部ハウジング60は、中空の直方体状を呈し、且つクランプ機構10の外周に装着される。内部ハウジング60は、内部に段差孔613を有する先端部61及び外周に外ネジ部631が形成されている後端部63を備える。先端部61には、クランプ機構10、フェルール30及び弾性部材50が収容され、フェルール30の一部は、段差孔613から外部に伸出される。段差孔613の内壁には、第一挟持部材11のフランジ部1173と係合するためのロッキング部615が突設されている。弾性部材50の一端は、固定部113の一端に当接され、弾性部材50の他端は、ロッキング部615に当接される。内部ハウジング60の側壁には、クランプ部材15の平坦面153と同一平面に位置(即ち、図2に示したように、垂直方向に沿って連通される)し且つ互いに平行な2つの第一スライド溝65が設けられている。
外部ハウジング70は、内部ハウジング60の先端部61の外周に装着され、且つアダプタ形ハウジングである。外部ハウジング70の側壁には、内部ハウジング60の2つの第一スライド溝65にそれぞれ対応して連通される第二スライド溝75が設けられている。本実施形態において、外部ハウジング70は、SC型アダプタ(図示せず)に対応する。また、外部ハウジング70を取り替えることによって、光ファイバコネクタ100は、FC型、LC型の光ファイバコネクタになることもできる。
ブーツ90は、円筒状を呈し、且つ内部ハウジング60の後端部63に固定される。ブーツ90の一端の内周壁には、内部ハウジング60の後端部63の外ネジ部631と螺合するための内ネジ部91が形成されている。外ネジ部631と内ネジ部91との螺合によって、ブーツ90は内部ハウジング60に固定される。
光ファイバ200は、芯線203及び芯線203の外周を被覆する被覆層205を備える。芯線203の端部2031には、面取り2033(図8を参照)が形成されている。光ファイバ200の一部の被覆層205が除去されて露出された芯線203は、ブーツ90、第一位置決め溝1133と第二位置決め溝1305とからなる収容孔(図示せず)及びフェルール30の挿入孔331に順に挿入され、且つフェルール30の接続端33から伸出される。本実施形態において、フェルール30の接続端33から伸出される芯線203の長さは、2マイクロメートル〜4マイクロメートルであり、3マイクロメートルであることが好ましい。光ファイバコネクタ100に光ファイバ200が装着された時、電極(図示せず)を利用して光ファイバ200の端部2031に対して加熱溶融処理を行って、端部2031の角部、バリ等の欠陥を除去する。具体的には、2つの電極のアーク放電によって、光ファイバ200の端部2031の縁部は溶融されて面取り2033が形成される。本実施形態において、面取り2033は、円滑な弧面である。光ファイバ200の端部2031が加熱されることによって、その内部応力は一定程度取り除かれる。また、光ファイバ200の端部2031に面取り2033が形成されているため、光ファイバ200の端部2031が破損する可能性が低減される。光ファイバコネクタ100が相手コネクタと接続される時、芯線203のフェルール30の接続端33から伸出されている部分は、対応する光学接続装置(プラグ又はアダプタ)の押圧によって、フェルール30内に後退されて湾曲構造2035(図11を参照)を形成する。
図6及び図7を併せて参照すると、光ファイバコネクタ100を組み立てる場合、まず、第一位置決め溝1133と第二位置決め溝1305とが対応するように、第二挟持部材13を第一挟持部材11の収容溝1131内に収容させ、クランプ部材15を第一挟持部材11の固定部113と第二挟持部材13との外周に装着させて、クランプ機構10の組み立てを完成する。続いて、フェルール30の固定端31を装着孔1151内に挿入して固定する。続いて、第一挟持部材11の第二装着部117を弾性部材50の中空部内に挿入する。続いて、第一挟持部材11のフランジ部1173が内部ハウジング60のロッキング部615と係合されるように、上述した弾性部材50とクランプ機構10とフェルール30との組立体を内部ハウジング60の段差孔613内に装着させる。最後に、ブーツ90を、内部ハウジング60の外ネジ部631に螺合させる。以上により、光ファイバコネクタ100の組み立ては完了する。
図9及び図10を参照すると、光ファイバ200を光ファイバコネクタ100に取り付ける時には、まず、組み立て工具80を利用して、クランプ部材15を推進させる。組み立て工具80は、略U字形を呈し、且つ主体81及び主体81の互いに反対側に位置する両側から対称に延伸して形成された2つの係合部83を備える。各係合部83の主体3031から離れている一端には、係合溝831が設けられている。組み立て工具80を光ファイバコネクタ100に挿入すると、組み立て工具80の2つの係合部83が外部ハウジング70の第二スライド溝75及び内部ハウジング60の第一スライド溝65を通ることで、係合溝831とクランプ部材15の円弧部1531とが係合される。
続いて、ブーツ90を内部ハウジング60から取り外し、組み立て工具80を第二スライド溝75及び第一スライド溝65に沿って後端部63へスライドさせると、クランプ部材15は、組み立て工具80の連動によって固定部113に沿ってストッパー部1137側へ移動する。クランプ部材15が固定部113のストッパー部1137に当接される(第一状態)と、クランプ部材15は、第二挟持部材13の第二当接面1313に対応する表面、すなわち第二挟持部材13のうち第二当接面1313が形成された面とは反対側の面における第二当接面1313に対応する部分を押圧し、第二挟持部材13の第二当接面1313は、固定部113の収容溝1131の底面まで移動して当接され、第二挟持部材13の第一当接面1301は、固定部113の収容溝1131の底面に対して傾斜する。次に、光ファイバ200を、ブーツ90及び内部ハウジング60の後端部63から挿入する。この挿入過程において、被覆層205が除去されて露出された芯線203は、クランプ機構10及びフェルール30を順に通って、フェルール30の接続端33から伸出される。
最後に、組み立て工具80を第二スライド溝75及び第一スライド溝65に沿って先端部61へスライドさせると、クランプ部材15は、組み立て工具80の連動によって固定部113に沿って第一装着部115側へ移動する。クランプ部材15が第一装着部115に当接する(第二状態)と、クランプ部材15の係合孔1535は、固定部113の係合突起1135に係合され、クランプ部材15が第二挟持部材13のうち第一当接面1301が形成された面とは反対側の面における第一当接面1301に対応する部分を押圧することによって、第二挟持部材13の第一当接面1301は、固定部113の収容溝1131の底面まで移動して当接されて、光ファイバ200の芯線203を第一挟持部材11と第二挟持部材13との間に強固に挟持し、且つ第二当接面1313は、第一挟持部材11の収容溝1131の底面から離れる。最後に、ブーツ90を内部ハウジング60の後端部63に螺合させて、光ファイバ200をより強固に保持する。光ファイバ200を光ファイバコネクタ100から分離させる場合、組み立て工具80を利用して光ファイバコネクタ100を第一状態にする。即ち、クランプ部材15が組み立て工具80の連動によってストッパー部1137に当接される。この時、クランプ機構10は弛む、すなわち、ガイド溝1315が第二位置決め溝1305よりも深いことにより、第一挟持部材11と第二挟持部材13との間に間隙が形成される。次に、ブーツ90を内部ハウジング60から取り外した後、光ファイバ200を光ファイバコネクタ100から引き出す。
光ファイバコネクタ100を他の光学接続装置(図示せず)に接続させる時、フェルール30の接続端33から伸出されている芯線203は、光学接続装置の押圧によってフェルール30内に後退するように弾性変形されて湾曲構造2035を形成する。該湾曲構造2035は、元の状態に復帰できる復元変形力を有することによって、光ファイバ200の端部2031の端面は他の光学接続装置に緊密に接続できるため、良好な光学性能を確保することができる。
本発明に係る光ファイバコネクタ100を現場で組み立てる場合、まず光ファイバ200の芯線203を直接クランプ機構10に保持させ、且つフェルール30内に変形可能に装着する。芯線203のフェルール30の接続端33から伸出された部分の長さは、2マイクロメートル〜4マイクロメートルである。光ファイバコネクタ100が対応する光学接続装置に接続された時、光ファイバ200の芯線203は、フェルール30内で湾曲構造2035を形成し、且つ該湾曲構造2035の復元変形力によって、光ファイバ200の端部2031の端面は、他の光学接続装置に確実に接続できるため、ファイバ同士間において間隙、弛みなどの問題は発生しない。また、光ファイバ200の芯線203の端部2031に対する電極の加熱溶融処理によって、切断及び組み立て過程に形成された欠陥(例えば、端部2031のバリ等)を除去するため、端部2031の端面の質は向上し、接続時の端部2031の光の拡散、屈折及び反射等の光の損失を防止することができる。
また、クランプ部材15は、内部ハウジング60に移動可能に装着される可動部材であり、且つ該可動部材が第二挟持部材13を押圧することができれば、円筒状の部材でなくても良い。前記可動部材を移動させてストッパー部1137に当接させると、この可動部材は、第二挟持部材13のうち第二当接面1313が形成された面とは反対側の面における第二当接面1313に対応する部分を押圧して、第二挟持部材13の第一当接面1301が固定部113の収容溝1131の底面に対して傾斜する。また、反対の動作をさせると、可動部材は移動して、第二挟持部材13のうち第一当接面1301が形成された面とは反対側の面における第一当接面1301に対応する部分を押圧し、第二挟持部材13の第二当接面1313は、第一挟持部材11の収容溝1131の底面から離れる。
以上、本発明の好適な実施形態について詳細に説明したが、本発明は前記実施形態に限定されるものではなく、本発明の範囲内で種々の変形又は修正が可能であり、該変形又は修正もまた本発明の特許請求の範囲内に含まれるものであることは、言うまでもない。
100 光ファイバコネクタ
200 光ファイバ
203 芯線
2031 端部
2033 面取り
2035 湾曲構造
205 被覆層
10 クランプ機構
11 第一挟持部材
113 固定部
1131 収容溝
1133 第一位置決め溝
1135 係合突起
1137 ストッパー部
1138 ガイド孔
115 第一装着部
1151 装着孔
117 第二装着部
1171 貫通孔
1173 フランジ部
13 第二挟持部材
130 第一当接部
1301 第一当接面
1305 第二位置決め溝
131 第二当接部
1313 第二当接面
1153、1315 ガイド溝
137 接続部
15 クランプ部材
151 矩形孔
1513 スライド面
153 平坦面
1531 円弧部
1535 係合孔
30 フェルール
31 固定端
33 接続端
331 挿入孔
50 弾性部材
60 内部ハウジング
61 先端部
613 段差孔
615 ロッキング部
63 後端部
631 外ネジ部
65 第一スライド溝
70 外部ハウジング
75 第二スライド溝
80 組み立て工具
81 主体
83 係合部
831 係合溝
90 ブーツ

Claims (8)

  1. フェルールと、光ファイバを挟持するためのクランプ機構と、内部に前記フェルール及び前記クランプ機構が装着されるハウジングと、を備える光ファイバコネクタにおいて、
    前記光ファイバは、前記フェルールに変形可能に設けられ、且つ前記フェルールから部分的に露出され、前記光ファイバコネクタが他の光学接続装置と接続された時、前記他の光学接続装置の押圧によって前記フェルールの露出された部分は、前記フェルール内に後退されて湾曲構造を形成し、前記湾曲構造は復元変形力を付与して、前記光ファイバが前記他の光学接続装置に緊密に接続され、前記クランプ機構は、第一挟持部材及び前記第一挟持部材の一側に結合される第二挟持部材を備え、前記第二挟持部材は、第一当接部及び前記第一当接部に対して傾斜して連接されている第二当接部を備え、前記第一当接部は、前記フェルールに近接し、前記第一当接部の前記第一挟持部材に対向する面には、第一当接面が形成され、前記第二当接部の前記第一挟持部材に対向する面には、前記第一当接面に傾斜して接続されている第二当接面が形成され、前記第二当接面には、前記光ファイバの挿入を容易にするガイド溝が設けられ、前記クランプ機構は、前記第二挟持部材に沿って移動しながら前記第二挟持部材を押圧するクランプ部材をさらに備え、前記クランプ部材が前記第二挟持部材に沿って移動する過程において、前記第一当接面及び前記第二当接面は、前記第一挟持部材に交互に当接され、前記第一挟持部材には、収容溝が凹設され、前記第二挟持部材が、前記収容溝に収納されることを特徴とする光ファイバコネクタ。
  2. 前記光ファイバの露出された部分の長さは、2マイクロメートル〜4マイクロメートルであることを特徴とする請求項1に記載の光ファイバコネクタ。
  3. 前記光ファイバの露出された部分の長さは、3マイクロメートルであることを特徴とする請求項1又は2に記載の光ファイバコネクタ。
  4. 前記光ファイバの露出された部分の端部には、電極の加熱溶融処理によって面取りが形成されることを特徴とする請求項1から3のいずれか一項に記載の光ファイバコネクタ。
  5. 前記クランプ部材は、前記第一挟持部材と前記第二挟持部材との外周に移動可能に装着されることを特徴とする請求項1から4のいずれか一項に記載の光ファイバコネクタ。
  6. 前記クランプ部材には、矩形孔が設けられ、前記クランプ部材は、前記矩形孔を介して前記第一挟持部材と前記第二挟持部材との外周に移動可能に装着され、前記矩形孔のサイズは、前記第一当接部から前記第二当接部に向かうに従って小さくなることを特徴とする請求項1から5のいずれか一項に記載の光ファイバコネクタ。
  7. 前記第一挟持部材の前記フェルールに近接する箇所には、係合突起が突設され、前記クランプ部材には、前記係合突起に対応する係合孔が設けられ、前記クランプ部材が前記第一当接部に移動した時、前記係合孔は、前記係合突起に係合されることを特徴とする請求項からのいずれか一項に記載の光ファイバコネクタ。
  8. 前記第一当接面には、前記ガイド溝と連通される位置決め溝が設けられ、前記位置決め溝の深さは、前記ガイド溝の深さより浅く、前記ガイド溝の深さは、前記位置決め溝から離れる方向に沿って深くなることを特徴とする請求項からのいずれか一項に記載の光ファイバコネクタ。
JP2013080994A 2012-04-09 2013-04-09 光ファイバコネクタ Expired - Fee Related JP5521080B2 (ja)

Applications Claiming Priority (2)

Application Number Priority Date Filing Date Title
CN201210100978.6 2012-04-09
CN201210100978.6A CN103364887B (zh) 2012-04-09 2012-04-09 光纤连接器

Publications (2)

Publication Number Publication Date
JP2013218334A JP2013218334A (ja) 2013-10-24
JP5521080B2 true JP5521080B2 (ja) 2014-06-11

Family

ID=49292368

Family Applications (1)

Application Number Title Priority Date Filing Date
JP2013080994A Expired - Fee Related JP5521080B2 (ja) 2012-04-09 2013-04-09 光ファイバコネクタ

Country Status (4)

Country Link
US (1) US9116306B2 (ja)
JP (1) JP5521080B2 (ja)
CN (1) CN103364887B (ja)
TW (1) TWI476465B (ja)

Families Citing this family (11)

* Cited by examiner, † Cited by third party
Publication number Priority date Publication date Assignee Title
CN102565963B (zh) * 2012-02-27 2017-04-26 深圳日海通讯技术股份有限公司 一种高密度光纤连接器及其装配方法
CN103364885B (zh) * 2012-04-09 2015-05-20 鸿富锦精密工业(深圳)有限公司 光纤夹持机构及采用该光纤夹持机构的光纤连接器
CN103364883B (zh) * 2012-04-09 2015-04-15 鸿富锦精密工业(深圳)有限公司 光纤连接器
DE102014105523A1 (de) * 2014-04-17 2015-10-22 Reichle & De-Massari Ag Steckverbindervorrichtung
WO2016110247A1 (zh) * 2015-01-06 2016-07-14 泰科电子(上海)有限公司 光纤连接器及其组装和拆卸方法
CN109283627A (zh) * 2018-11-02 2019-01-29 沈共芳 一种光纤连接器端子结构及其操作方法
US12523821B2 (en) 2021-04-08 2026-01-13 Commscope Technologies Llc Telecommunications connector with latch release mechanism
USD1013638S1 (en) * 2021-08-27 2024-02-06 A.J.World Co., Ltd. Optical fiber connector
CN114488417B (zh) * 2022-01-28 2024-03-01 华为技术有限公司 光纤连接头以及光纤连接器
USD1065095S1 (en) * 2022-09-06 2025-03-04 A.J.World Co., Ltd. Optical fiber connector
CN121165254A (zh) * 2025-10-29 2025-12-19 上海雍邑光电科技有限公司 光纤对接装置

Family Cites Families (10)

* Cited by examiner, † Cited by third party
Publication number Priority date Publication date Assignee Title
JP4059606B2 (ja) * 2000-03-03 2008-03-12 パイロットプレシジョン株式会社 光コネクタ
JP2002072011A (ja) * 2000-06-15 2002-03-12 Pilot Precision Co Ltd 光ファイバー保持装置
JP3830102B2 (ja) * 2003-09-01 2006-10-04 日本航空電子工業株式会社 光コネクタ
US20060024001A1 (en) * 2004-07-28 2006-02-02 Kyocera Corporation Optical fiber connected body with mutually coaxial and inclined cores, optical connector for forming the same, and mode conditioner and optical transmitter using the same
US7241056B1 (en) * 2006-06-13 2007-07-10 Panduit Corp. Reversible fiber optic connector
US8814444B2 (en) * 2008-05-13 2014-08-26 Fujikura Ltd. Optical connector
WO2010118106A1 (en) * 2009-04-07 2010-10-14 Afl Telecommunications Llc Method and apparatus for cleaving and chamfering optical fiber
WO2011031107A2 (ko) * 2009-09-11 2011-03-17 고려오트론(주) 현장조립형 광커넥터
JP2012037624A (ja) * 2010-08-04 2012-02-23 Nippon Telegr & Teleph Corp <Ntt> 光コネクタおよび光コネクタ組立ツール
CN202171665U (zh) * 2011-08-12 2012-03-21 宁波明日通信器材有限公司 一种光纤快速连接器现场安装用的定位装置

Also Published As

Publication number Publication date
US9116306B2 (en) 2015-08-25
TWI476465B (zh) 2015-03-11
CN103364887A (zh) 2013-10-23
TW201341874A (zh) 2013-10-16
US20130266272A1 (en) 2013-10-10
JP2013218334A (ja) 2013-10-24
CN103364887B (zh) 2015-03-11

Similar Documents

Publication Publication Date Title
JP5521080B2 (ja) 光ファイバコネクタ
JP5521081B2 (ja) 光ファイバコネクタ
JP5596203B2 (ja) クランプ機構及びこのクランプ機構を用いた光ファイバコネクタ
JP5521079B2 (ja) 光ファイバコネクタ
CN103620462B (zh) 带有热膨胀补偿的透镜套管组件
US9606300B2 (en) Adapter and optical connector coupling system
US7534051B2 (en) Optical fiber connector, optical fiber connecting method, and connector converter
TWI459662B (zh) Photoelectric composite connector and its jack
JP5464564B2 (ja) 光ファイバ用コネクタ
US20170235054A1 (en) Base member and fusion splicer
JP6251512B2 (ja) 光コネクタ
KR101984126B1 (ko) 광섬유 블록
US20150355423A1 (en) Optical connector
CN113167979A (zh) 防止光纤弯曲的现场组装式光连接器
JP5363514B2 (ja) 光コネクタ
JP2014219591A (ja) 光コネクタプラグのガタ止め機構
JP5627009B2 (ja) プラグ及びアダプタを備えた光コネクタ並びに光コネクタの接続方法
WO2023067831A1 (ja) フェルールの保持構造
JP2005352274A (ja) 光ファイバ接続部材
JP3939689B2 (ja) 光ファイバ保持機構を有する光コネクタ
JP2005265987A (ja) 光ファイバコネクタ
JP6647733B2 (ja) 光コネクタ、及び、光コネクタの接続方法
JP2009020236A (ja) 接続保持具ならびにこの接続保持具を用いた光ファイバコネクタと光電子部品との接続構造
JP4087856B2 (ja) メカニカルスプライス
JP2008175947A (ja) メカニカルスプライス

Legal Events

Date Code Title Description
A131 Notification of reasons for refusal

Free format text: JAPANESE INTERMEDIATE CODE: A131

Effective date: 20131203

A521 Request for written amendment filed

Free format text: JAPANESE INTERMEDIATE CODE: A523

Effective date: 20140221

TRDD Decision of grant or rejection written
A01 Written decision to grant a patent or to grant a registration (utility model)

Free format text: JAPANESE INTERMEDIATE CODE: A01

Effective date: 20140310

A61 First payment of annual fees (during grant procedure)

Free format text: JAPANESE INTERMEDIATE CODE: A61

Effective date: 20140407

R150 Certificate of patent or registration of utility model

Ref document number: 5521080

Country of ref document: JP

Free format text: JAPANESE INTERMEDIATE CODE: R150

R250 Receipt of annual fees

Free format text: JAPANESE INTERMEDIATE CODE: R250

R250 Receipt of annual fees

Free format text: JAPANESE INTERMEDIATE CODE: R250

R250 Receipt of annual fees

Free format text: JAPANESE INTERMEDIATE CODE: R250

R250 Receipt of annual fees

Free format text: JAPANESE INTERMEDIATE CODE: R250

R250 Receipt of annual fees

Free format text: JAPANESE INTERMEDIATE CODE: R250

R250 Receipt of annual fees

Free format text: JAPANESE INTERMEDIATE CODE: R250

R250 Receipt of annual fees

Free format text: JAPANESE INTERMEDIATE CODE: R250

LAPS Cancellation because of no payment of annual fees