JP5508317B2 - 遊技機 - Google Patents

遊技機 Download PDF

Info

Publication number
JP5508317B2
JP5508317B2 JP2011048368A JP2011048368A JP5508317B2 JP 5508317 B2 JP5508317 B2 JP 5508317B2 JP 2011048368 A JP2011048368 A JP 2011048368A JP 2011048368 A JP2011048368 A JP 2011048368A JP 5508317 B2 JP5508317 B2 JP 5508317B2
Authority
JP
Japan
Prior art keywords
light
passage
light guide
light emitting
led
Prior art date
Legal status (The legal status is an assumption and is not a legal conclusion. Google has not performed a legal analysis and makes no representation as to the accuracy of the status listed.)
Active
Application number
JP2011048368A
Other languages
English (en)
Other versions
JP2012183198A (ja
Inventor
光紀 太田
真也 中根
Current Assignee (The listed assignees may be inaccurate. Google has not performed a legal analysis and makes no representation or warranty as to the accuracy of the list.)
Newgin Co Ltd
Original Assignee
Newgin Co Ltd
Priority date (The priority date is an assumption and is not a legal conclusion. Google has not performed a legal analysis and makes no representation as to the accuracy of the date listed.)
Filing date
Publication date
Application filed by Newgin Co Ltd filed Critical Newgin Co Ltd
Priority to JP2011048368A priority Critical patent/JP5508317B2/ja
Publication of JP2012183198A publication Critical patent/JP2012183198A/ja
Application granted granted Critical
Publication of JP5508317B2 publication Critical patent/JP5508317B2/ja
Active legal-status Critical Current
Anticipated expiration legal-status Critical

Links

Images

Landscapes

  • Pinball Game Machines (AREA)

Description

この発明は、発光体の発光により演出を行なう発光装置を備えた遊技機に関するものである。
代表的な遊技機であるパチンコ機は、遊技盤の盤面に画成した遊技領域の略中央位置に枠状の装飾体(所謂センター役物)が配設されており、この枠状装飾体の開口部を介して複数の図柄を変動表示して図柄変動ゲームを行なう液晶式やドラム式等の図柄表示装置を後方から臨ませると共に、該遊技盤における枠状装飾体の下方位置に、パチンコ球(遊技球)の入賞により図柄表示装置での変動を開始させる始動入賞装置や大当り時等に開放する特別入賞装置を配設するよう構成されたものが多数提案されている。このようなパチンコ機では、前記遊技領域に打ち出されたパチンコ球が遊技領域内に植設された遊技釘等との接触により跳ね返りながら次第に自重により流下し、該遊技領域を流下する過程で前記始動入賞装置に入賞することにより、前記図柄表示装置で図柄変動演出に伴うリーチ演出等の各種の遊技演出がなされ、該図柄表示装置に図柄が所定の組み合わせで停止することにより所謂大当りが発生し、遊技盤に設けられた特別入賞装置が開放して多数の賞球を獲得し得るよう構成される。一方で、遊技領域を流下する過程で遊技盤に設けられた始動入賞装置等の各種入賞装置に入賞せず遊技領域の最下部まで流下したパチンコ球は、遊技領域の最下部に設けられたアウト口を介してパチンコ機裏側の球回収部に回収されるようになっている(例えば、特許文献1参照)。
特開2001−170282号公報
ところで、近年のパチンコ機では、LED等の発光体を備えた発光体基板の前側に、該発光体の光が照射されることで発光するカバー部材を備えた発光装置が配設されており、前記図柄表示装置で行なわれる演出等に合わせて発光装置の発光体を発光させることで、パチンコ機の装飾や演出を行なっている。また、パチンコ機には、前記遊技盤の遊技領域に打ち出されて各種入賞口に入賞したパチンコ球を排出処理するため、遊技盤裏側の適宜位置にパチンコ球が通過可能な球通路が設けられている。ここで、前記球通路が設けられる位置に前記発光装置を設ける場合には、該球通路の前側に発光体基板が配設されることになるため、発光体とカバー部材との距離が接近しすぎ、発光体に照射される光が強くなりすぎる難点がある。また、前記パチンコ機に配設される各種部材との関係で、前記球通路の前側に発光体基板を配設不可能な場合は所望の発光演出や装飾を行なうことができず、設計上の制約を受けることに繋がっていた。
すなわち本発明は、従来の技術に係る遊技機に内在する前記課題に鑑み、これを好適に解決するべく提案されたものであって、球通路の形成位置に配設された発光装置での装飾性向上を実現可能な遊技機を提供することを目的とする。
前記課題を克服し、所期の目的を達成するため、本願の請求項1に係る発明は、
発光装置を備えた遊技機であって、
遊技球が通過可能な光透過性の球通路(122,123)と、
前記球通路(122,123)の後方に設けられ、該球通路(122,123)側へ光を照射する発光体(125a)と、
前記球通路(122,123)を画成する前壁の通路面に該球通路(122,123)を向いて設けられ、該球通路(122,123)を挟んで前記発光体(125a)の光照射方向に対向する凸レンズ部(64)と、
前記凸レンズ部(64)の前側に設けられ、前記発光体(125a)の光照射方向に延在する導光部(65)と、
前記導光部(65)の前側端部に設けられた発光部(66)とを備え、
前記凸レンズ部(64)は、前記前壁の通路面に環状に設けられた凹部により後方へ凸なレンズ状に形成されて、当該凸レンズ部(64)の突出する端部が通路面より後方へ突出しないよう構成され、
前記発光体(125a)から照射されて前記球通路(122,123)を透過した光が、前記凸レンズ部(64)で収束されると共に前記導光部(65)を透過することで、前記発光部(66)が発光するよう構成されたことを要旨とする。
請求項1の発明によれば、球通路を光透過性に形成して、該球通路の後方に発光体を配設することで、当該球通路を透過した光を前方へ照射することができ、球通路の前側に発光体を配設困難な場合でも、発光による装飾や演出を実現し得ると共に、発光部が過剰な明るさで明輝されるのを防止できる。更に、前記球通路を挟んで前記発光体の光照射方向に対向するよう凸レンズ部を設けて、該凸レンズ部で集光した光が導光部を透過して発光部を発光させることで、発光部を所定の明るさで明輝させ得るようになる。
請求項2に係る発明では、前記球通路(122,123)の前側に配設されて前記前壁を構成し、前記凸レンズ部(64)および前記導光部(65)が設けられた蓋部材(63)と、
後方へ開口する箱状に形成されて前記蓋部材(63)に前方から取り付けられ、前側に前記発光部(66)が設けられると共に、後方から収容された前記導光部(65)の周りに空間(61a)を画成する前側装飾体(62)と
前記球通路(122,123)の後方において前記発光体(125a)の周囲に設けられ、該球通路(122,123)側へ光を照射する第2の発光体(125b)とを備え、
前記第2の発光体(125b)から照射されて前記球通路(122,123)および蓋部材(63)を透過した光が、前記空間(61a)を介して前記前側装飾体(62)における前記発光部(66)の周辺部位を照明するよう構成したことを要旨とする。
請求項2の発明によれば、第2の発光体からの光が発光部の周辺部位を照明し得るので、発光装飾効果を高めることができる。
請求項3に係る発明では、前記導光部(65)は、前記凸レンズ部(64)の中心から凸レンズ部(65)の外周より外側まで放射状に延在する複数の突片を有すると共に、当該凸レンズ部(64)の中心から前記発光体(125a)の光照射方向に延在して前記発光部(66)の裏側に当接するよう形成されたことを要旨とする。
請求項3の発明によれば、複雑な形状の発光部を1つの発光体で発光させ得る。
本発明に係る遊技機によれば、球通路の形成位置に配設された発光装置での装飾性を向上することができる。
本発明の実施例に係るパチンコ機を示す正面図である。 実施例に係る遊技盤を示す正面図である。 実施例に係る遊技盤と設置部材とを分解して示す分解斜視図である。 実施例に係る枠状装飾体に設けた第2の特別入賞装置と、特別入賞球排出通路の関係を背面から視た状態で示す分解斜視図である。 実施例に係る入賞口形成部材を示す正面図である。 実施例に係る入賞口形成部材を示す斜視図であって、(a)は正面側から視た状態を示し、(b)は背面側から視た状態を示す。 実施例に係る発光装飾部を正面側から視た状態で示す分解斜視図である。 実施例に係る取着部材と、装飾透過体とを背面側から視た状態で示す分解斜視図である。 実施例に係る発光装飾部の異形導光部と発光部とを拡大して示す斜視図である。 図5におけるA−A線断面図である。 実施例に係る装飾透過体と普通入賞球排出通路部材との関係を示す図5のB−B線での断面図である。 実施例に係る遊技状態表示器の点灯表示部を正面側から視た状態で示す分解斜視図である。 実施例に係る遊技状態表示器の点灯表示部を背面側から視た状態で示す分解斜視図である。 実施例に係る遊技状態表示器を取り付けた遊技盤を、図5のC−C線で破断した断面図である。 実施例に係る下部演出装置の要部を示す分解斜視図である。 実施例に係る設置部材の左下部位置の拡大図であって、下部演出装置、側部発光装置および普通入賞球排出通路部材の関係を示す。 図16において普通入賞球排出通路部材を省略した状態を示す設置部材の要部の拡大図である。 実施例に係る下部演出装置、側部発光装置および普通入賞球排出通路部材の関係を、第2の装飾カバー体を取り外した状態で示す正面図である。 実施例に係る下部演出装置の左側板部側を示す拡大図であって、特別入賞球排出通路の第2通路、第1発光部および第2発光部の相互の位置関係を示す。 実施例に係る側部発光装置を示す分解斜視図である。 実施例に係る普通入賞球排出通路部材を示す斜視図であって、(a)は正面側から視た状態を示し、(b)は背面側から視た状態を示す。 実施例に係る普通入賞球排出通路部材を正面側から視た状態で示す分解斜視図である。 実施例に係る普通入賞球排出通路部材を背面側から視た状態で示す分解斜視図である。 実施例に係る普通入賞球排出通路部材における通路本体と、第1LED基板との関係を示す正面図である。 実施例に係る装飾導光部材を示す斜視図である。 図16におけるD−D線での断面図である。 図16におけるE−E線での断面図である。
次に、本発明に係る遊技機につき、好適な実施例を挙げて、添付図面を参照しながら以下詳細に説明する。なお、遊技機としては、一般的なパチンコ機10を例にして説明する。また、以下の説明において、「前」、「後」、「左」、「右」とは、特に断りのない限り、図1に示すようにパチンコ機10を前側(遊技者側)から見た状態で指称する。
(パチンコ機10について)
実施例に係るパチンコ機10は、図1に示すように、前後に開口する矩形枠状に形成されて遊技店の図示しない設置枠台に縦置き姿勢で設置される固定枠としての外枠11の開口前面側に、遊技盤20を着脱可能に保持する本体枠としての中枠12が開閉および着脱可能に組み付けられて、該遊技盤20の裏側に、所定条件の成立(後述する始動入賞装置30の第1始動入賞口31または第2始動入賞口32へのパチンコ球の入賞)を契機として演出用の図柄(以下演出図柄という)を変動表示させて図柄変動演出を行う図柄表示装置18が着脱可能に配設されている。また、前記中枠12の前面側には、前記遊技盤20を透視保護するガラス板や透明な合成樹脂材により形成された透視保護板(図示せず)で前後に開口する窓部を覆うよう構成された装飾枠としての前枠13が開閉可能に組み付けられると共に、該前枠13の下方にパチンコ球を貯留する下球受け皿15が開閉可能に組み付けられる。なお、実施例では、前記前枠13の下部位置に、パチンコ球を貯留する上球受け皿14が一体的に組み付けられており、前枠13の開閉に合わせて上球受け皿14も一体的に開閉するよう構成される。
また、前記中枠12の右下方位置には、該中枠12に配設された打球発射装置(図示せず)を作動する操作ハンドル17が設けられており、該操作ハンドル17の操作により打球発射装置が作動されることで、前記上球受け皿14に貯留されたパチンコ球が前記遊技盤20に向けて発射されるようになっている。なお、実施例では、前記図柄表示装置18としては、各種図柄を表示可能な液晶パネルを収容ケースに収容した液晶表示装置が採用されるが、これに限られるものではなく、ドラム式の図柄表示装置18やドットマトリックス式の図柄表示装置18等の各種図柄を停止および変動表示可能な従来公知の各種の表示装置を採用し得る。また、前記上球受け皿14は、前記前枠13と別体に形成して中枠12に対して開閉可能に組み付けるようにしてもよい。
(遊技盤20について)
前記遊技盤20は、図2、図3に示すように、略矩形状に形成されたアクリルやポリカーボネート等の透明な合成樹脂材で形成された透明板からなり、遊技盤20の裏面側に配設された設置部材81に、前記図柄表示装置18が着脱可能に組み付けられている。前記遊技盤20の前面には、略円形状に湾曲形成した案内レール21が配設されており、該案内レール21により画成される略円形の遊技領域20aに、前記中枠12に配設された図示しない打球発射装置から発射されたパチンコ球が打ち出されることで遊技が行なわれるようになっている。また、前記遊技盤20には、ルーター加工等の孔空け加工により前後に貫通する複数(実施例では3つ)の装着口22a,22b,22cが開設されて、各装着口22a,22b,22cに対して各種の遊技盤設置部品(具体的には後述する枠状装飾体40、始動入賞装置30、特別入賞装置35,45、入賞口形成部材50等)が前側から取り付けられると共に、遊技領域20aの最下部位置には、該遊技領域20aに打ち出されたパチンコ球を排出するアウト口23が開設されている。なお、前記装着口22a,22b,22cの形成数は、遊技盤20に取り付けられる各種遊技盤設置部品の個数や配設位置等により必要に応じて適宜変更される。
ここで、実施例の前記遊技盤20には、図3に示すように、前記案内レール21で囲まれた遊技領域20aの略中央の大部分が開口する第1装着口22aに、前後に開口する表示窓口40aが形成された枠状装飾体40が取り付けられ、該枠状装飾体40の表示窓口40aを介して図柄表示装置18の表示面が遊技盤20の前面側に臨むよう構成されている。また、前記遊技盤20における枠状装飾体40(第1装着口22a)の下方位置には、遊技領域20aの左右幅方向の略中央に第2装着口22bが開設されており、該第2装着口22bに、遊技領域20aを流下するパチンコ球が入賞可能な第1および第2始動入賞口31,32を有する始動入賞装置30および第1の特別入賞装置35が取り付けられている。そして、前記遊技盤20における枠状装飾体40(第2装着口22b)の左側方に第3装着口22cが開設されて、遊技領域20aを流下するパチンコ球が入賞可能な普通入賞口53を有する入賞口形成部材50が取り付けられている。なお、実施例の枠状装飾体40には、第2の特別入賞装置45が配設されている。
(始動入賞装置30について)
図2に示すように、前記始動入賞装置30は、前記遊技盤20の遊技領域20aを流下するパチンコ球が入賞可能な上方に開口する第1始動入賞口31と、該第1始動入賞口31の下方に設けられて、遊技領域20aを流下するパチンコ球が入賞可能な第2始動入賞口32(図2参照)とを備えている。前記第2始動入賞口32を挟む左右位置には、相互に近接および離間するよう揺動可能な一対の開閉部材33が設けられており、駆動手段としての図示しないソレノイドの駆動に伴って一対の開閉部材33が揺動変位して、前記第2始動入賞口32が開閉するよう構成される。ここで、前記始動入賞装置30のソレノイドは制御装置に配線接続されて、所定の開閉条件に従ってソレノイドが制御装置により駆動制御される。
また、前記始動入賞装置30は、前記第1始動入賞口31または第2始動入賞口32に入賞したパチンコ球を検出する始動入賞球検出センサ(図示せず)が設けられている。前記始動入賞球検出センサは、前記制御装置に配線接続されており、始動入賞球検出センサから制御装置への入賞検出信号の入力に伴って所定数の賞球が払い出されると共に、前記制御装置において大当り抽選(後述)が行われて、該大当り抽選の結果に基づいて前記図柄表示装置18の図柄変動演出が実行されるようになっている。そして、前記図柄表示装置18での図柄変動演出の結果、該図柄表示装置18に所定の組み合わせ(例えば同一図柄の3つ揃い等)で演出図柄が停止表示されることで所謂大当りが発生し、大当りの発生に伴って前記第1の特別入賞装置35または第2の特別入賞装置45を所定の開放条件で開放して多数の賞球を獲得し得る機会が与えられるよう構成されている。また、前記始動入賞球検出センサは、始動入賞口31,32毎に設けて入賞球を個別に検出してもよいし、各始動入賞口31,32に入賞したパチンコ球を1つのセンサで検出するよう構成してもよい。すなわち、実施例に係るパチンコ機10では、「大当り」の発生時に開放可能な2つの特別入賞装置35,45が配設されており、「大当り」の発生条件に応じて、第1の特別入賞装置35および第2の特別入賞装置45の何れかの入賞口が開放される。
(第1の特別入賞装置35について)
前記第1の特別入賞装置35は、図2に示すように、遊技領域20aに開口する第1の特別入賞口(図示せず)を開閉自在に閉成する開閉扉37を備えており、駆動手段としての図示しない第2ソレノイドの駆動に伴って開閉扉37が揺動変位することで第1の特別入賞口が開閉するようよう構成されている。また、前記第1の特別入賞装置35は、前記第1の特別入賞口に入賞したパチンコ球を検出する第1の特別入賞球検出センサ(図示せず)が設けられている。前記第1の特別入賞球検出センサは、前記制御装置に配線接続されており、該第1の特別入賞球検出センサから制御装置への入賞検出信号の入力に伴って所定数の賞球が払い出されるようになっている。
(枠状装飾体40について)
前記枠状装飾体40は、図2、図3に示すように、前記第1装着口22aに沿って延在する環状に形成されて、内側に前後に開口する前記表示窓口40aを画成している。また、前記枠状装飾体40には、上縁部から左右両縁部に亘り、遊技盤20の前面より前方に突出する庇状部41が連続的に設けられており、前記遊技領域20aに打ち出されたパチンコ球を庇状部41に沿って枠状装飾体40の左右側部へ案内することで、該パチンコ球が表示窓口40aを横切って流下するのを規制している。なお、枠状装飾体40には、前記表示窓口40aの開口下縁側にステージ42が配設されると共に、該表示窓口40aの左側部に、遊技領域20aに開口して該遊技領域20aを流下するパチンコ球を取込んでステージ42に案内する球導入部43が設けられている。
(第2の特別入賞装置45について)
また、図2〜図4に示すように、前記枠状装飾体40の左上部位置には、前記図柄表示装置18での図柄の変動結果に応じて第2の特別入賞口(図示せず)を開閉する第2の特別入賞装置(入賞装置)45が設けられている。第2の特別入賞装置45は、前記枠状装飾体40の上部位置に、左方向に開口するよう開設された第2の特別入賞口をフラップ状の開閉部材45aにより閉鎖するよう構成されており、該開閉部材45aが起立することで第2の特別入賞口が閉鎖されると共に、当該開閉部材45aが左方向に傾倒することで、第2の特別入賞口が遊技領域20a内に開口して遊技領域20aを流下するパチンコ球の入賞を許容するようになっている。なお、前記第2の特別入賞装置45は、前記第2の特別入賞口に入賞したパチンコ球を検出する第2の特別入賞球検出センサ(図示せず)が設けられている。前記第2の特別入賞球検出センサは、前記制御装置に配線接続されており、該第2の特別入賞球検出センサから制御装置への入賞検出信号の入力に伴って所定数の賞球が払い出されるようになっている。ここで、前記第2の特別入賞装置45は、枠状装飾体40の左上部位置に設けられていることから、前記第1の特別入賞装置35に較べて、遊技領域20aの左上部に打ち出されたパチンコ球が入賞し易くなっている。
また、前記枠状装飾体40の裏側には、前記設置部材81に設けられた特別入賞球排出通路111(後述)に前記第2の特別入賞口を連通接続する球誘導通路44が設けられている(図4参照)。前記球誘導通路44は、左方向へ向け前記枠状装飾体40に沿って下方傾斜するよう構成されて、該枠状装飾体40の左側端部において後方へ開口する球出口44aが形成されており、該球誘導通路44の後方開口に前記特別入賞球排出通路111の球入口112aが連通接続するようになっている。
(球通過ゲート47)
また、図2に示すように、前記遊技盤20には、前記枠状装飾体40の左側部に、遊技領域20aを流下するパチンコ球が通過可能な球通過ゲート47が設けられている。この球通過ゲート47には通過球検出センサ(図示せず)が配設されており、該球通過ゲート47を通過するパチンコ球を通過球検出センサで検出するよう構成されている。前記通過球検出センサは、パチンコ機10の裏側に配設された制御装置に配線接続されており、該通過球検出センサから制御装置への球検出信号の入力に伴って始動口開放抽選が行われるようになっている。
(制御装置について)
ここで、実施例に係るパチンコ機10の裏側(中枠12や遊技盤20の裏側)に配設された前記制御装置には、前記大当りの発生確率(大当り確率)および前記第2始動入賞口32への入賞確率(開閉条件)を特定する遊技状態が複数種類(実施例では通常状態、確変状態、時短状態の3種類の遊技状態)設定されている。前記通常状態は、パチンコ機10において通常行われる遊技の状態であって、大当りの発生確率および前記始動入賞装置30の第2始動入賞口32への入賞確率が最も低く設定された遊技状態である。また、前記確変状態は、大当りの発生確率および前記始動入賞装置30の第2始動入賞口32への入賞確率が通常状態に較べて高く設定された遊技状態である。そして、時短状態は、大当りの発生確率が通常状態と同等に設定される一方で、始動入賞装置30の第2始動入賞口32への入賞確率が通常状態に較べて高く設定された遊技状態である。
前記制御装置は、前記始動入賞球検出センサからパチンコ球の検出信号の入力(すなわち第1始動入賞口31または第2始動入賞口32への入賞)を契機として所定の大当り抽選を実行するよう設定されると共に、大当り抽選により決定された設定情報に基づいて図柄表示装置18において図柄変動演出を行わせると共に遊技状態表示器70(後述)を作動するよう設定されている。ここで、前記大当り抽選は、始動入賞球検出センサからパチンコ球の検出信号が入力された時点において、制御装置に予め設定された多数種類の乱数値(大当り判定用)の内から1つを取得する乱数抽選が行われ、該取得した乱数値(大当り判定用)に基づいて大当りを発生するか否かを決定する。そして、大当りを発生する旨の決定後には、多数種類の乱数値(大当り図柄用)の内から1つを取得する大当り判定抽選が行われて、該取得した乱数値(大当り図柄用)に基づいて図柄変動演出後の遊技状態が通常状態、確変状態、時短状態の何れかに決定されるようになっている。
また、前記制御装置は、前記通過球検出センサからのパチンコ球の検出信号の入力(すなわち球通過ゲート47へのパチンコ球の通過)を契機として前記始動入賞装置30における第2始動入賞口32を開放するか否かの始動口開放抽選が行われ、該始動口開放抽選の結果が当選の場合に、第2始動入賞口32を開放するよう始動入賞装置30が駆動制御されるようになっている。前記始動口開放抽選は、前記通過球検出センサからパチンコ球の検出信号が入力された時点において、制御装置に予め設定された多数種類の乱数値(第2始動入賞口32の開閉条件用)の内から1つを取得する乱数抽選が行われ、該乱数値毎に定められた当選・非当選に基づいて決定することで実行される。そして、前記始動口開放抽選の結果が当選であることを必須条件として、前記制御装置に設定された所定の開閉条件(開放時間や開放回数等)に基づいて、該第2始動入賞口32が開閉するようになっている。なお、前記通常状態における第2始動入賞口32へのパチンコ球の入賞確率が、確変状態や時短状態における第2始動入賞口32へのパチンコ球の入賞確率より低くなるように、各遊技状態毎の開閉条件(開放時間や開放回数等)が設定される。
(入賞口形成部材50について)
前記入賞口形成部材50は、図5〜図8に示すように、前記遊技盤20の前面に取着されて前記第3装着口22cを覆う薄板状の取着部材51と、該取着部材51に設けられて第3装着口22cを介して遊技盤20後方へ延在する複数(実施例では3つ)の球受け通路52とを備えている。前記球受け通路52の夫々は、前記取着部材51の前後に貫通するよう延在すると共に、該取着部材51の前後において上方に開口する樋形状に形成されており、各球受け通路52における取着部材51(遊技盤20の前面)から前方へ突出した突出部分の上方開口部が、前記遊技領域20aを流下するパチンコ球が入賞可能な普通入賞口53として機能している。また、前記各球受け通路52の後端部は、前記設置部材81に設けられた普通入賞球排出通路部材120(後述)に連通接続するよう構成されており、各普通入賞口53に入賞したパチンコ球を対応の球受け通路52を介して普通入賞球排出通路部材120に誘導して遊技盤20の外部に排出するよう構成されている。なお、前記球受け通路52の前端部には、前側被覆部材52aが夫々取付けられており、普通入賞口53に入賞したパチンコ球の前方移動を防止している。
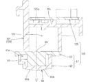
(発光装飾部60について)
また、前記入賞口形成部材50には、図7に示すように、発光により遊技盤20の盤面を装飾する発光装飾部60が設けられている。ここで、前記発光装飾部60は、前記取着部材51における前記球受け通路52の下方位置に形成された設置孔部55に配設された装飾透過体61と、該装飾透過体61の後方に配設されたLED基板(発光基板)125とを備え、該LED基板125に設けたLED(発光体)125a,125bを発光することで、装飾透過体61に設けた発光部66が発光するよう構成されている。なお、以下の説明では、発光装飾部60を構成するLED基板を第1LED基板125と指称し、該第1LED基板125に実装されたLEDを第1装飾用LED125aおよび第2装飾用LED125bと指称するものとする。
前記第1LED基板125は、図7、図22に示すように、前記普通入賞球排出通路部材120の後面側に取付けられて、該第1LED基板125の前面に複数(実施例では4つ)の第1装飾用LED125aが実装されている。ここで、前記第1LED基板125に実装された第1装飾用LED125aの内の複数(実施例では2つ)が、前記普通入賞球排出通路部材120の縦排出通路(球通路)122または横排出通路(球通路)123の後方に位置しており(図24参照)、該縦排出通路122または横排出通路123を透過した光が前記装飾透過体61へ照射されるようになっている。すなわち、前記発光装飾部60では、前記普通入賞球排出通路部材120の後方に設けられたLEDが、該球通路122,123へ光を照射するよう構成されている。
前記装飾透過体61は、図7、図8に示すように、前記設置孔部55に嵌合する前側装飾体62と、該前側装飾体62の後端部に取付けられる蓋部材63とからなり、該設置孔部55に対して後方から嵌合させた状態で装飾透過体61(蓋部材63)を取着部材51にネジ止めするよう構成されている。ここで、前記前側装飾体62は後方へ開口する箱状に形成されると共に、該前側装飾体62の後方開口が前記蓋部材63で塞がれており、該前側装飾体62および蓋部材63を取着部材51に取付けた際に、装飾透過体61内に空間61aが画成されるようになっている。また、前記前側装飾体62および蓋部材63の夫々は、全体が光透過性の合成樹脂材により形成されている。
そして、図7〜図11に示すように、前記装飾透過体61の後面(蓋部材63の後面)に複数(実施例では4つ)の凸レンズ部64が形成されると共に、該装飾透過体61の空間61a内部(蓋部材63の前面)において各凸レンズ部64と対応する位置に、前後に延在する異形導光部(導光部)65が形成されている。ここで、前記凸レンズ部64は、前記第1LED基板125に設けた第1装飾用LED125aの光照射方向前方に位置するよう設けられており、前記普通入賞球排出通路部材120を挟んで該第1装飾用LED125aの光照射方向に凸レンズ部64が対向するようになっている。すなわち、前記第1装飾用LED125aから照射されて前記普通入賞球排出通路部材120を透過した光が、対応する凸レンズ部64で集光されて、該凸レンズ部64の前側に位置する異形導光部65に導かれるようになっている。言い換えると、前記普通入賞球排出通路部材120を挟んで位置するLEDの光を、凸レンズ部64で効率的に異形導光部65へ導くよう構成されている。
そして、前記異形導光部65は、図7、図9に示すように、各対応の凸レンズ部64の前側において第1LED基板125に設けた第1装飾用LED125aの光照射方向に延在している。ここで、前記異形導光部65は、前記凸レンズ部64の中心点から凸レンズ部64の外周方向へ向けて放射状に延在する複数の突片から構成されると共に、当該異形導光部65の前端部が前記前側装飾体62の前面裏側(空間61a側の内面)に当接するよう構成されている(図10、図11参照)。すなわち、前記異形導光部65における突片が収束する中心位置は、前記凸レンズ部64の中心点と前後に整列しており、該異形導光部65の中心線上に凸レンズ部64の中心点が位置している。また、前記異形導光部65(各突片)の前端面を除く外面には、光反射加工が施されており、前記凸レンズ部64で収束されて異形導光部65を透過した光が、異形導光部65(突片)の外部に漏れ出るのを抑制して、当該異形導光部65の前端部から前方へ照射されるようになっている。なお、実施例では、前記異形導光部65の外面に多数の微小な凹凸が形成されており、異形導光部65を透過した光が異形導光部65の内部で拡散・反射することにより外部への光の漏出を抑制している。また、前記異形導光部65の突片の夫々は、前記中心位置から放射状に延出した延出端部に近づくにつれて徐々に先細り形状となる傾斜形状に形成されており、該異形導光部65内に導かれた光を内部で乱反射させるよう構成されている。すなわち、前記異形導光部65の内部で光が乱反射することで、該異形導光部65を透過した光が前端部全体から略均一な明るさで発光部66に照射されるようになっている。なお、実施例の異形導光部65は、断面十字状となるよう4つの突片が放射状に設けられている。
前記前側装飾体62の前面には、図7〜図9に示すように、前記各異形導光部65の前側端部に対応する位置に、該異形導光部65の断面形状に略整合する形状の発光部66が設けられている。すなわち、実施例の発光部66は、正面から見た状態で十字状に形成されている。また、前記各発光部66は、対応の異形導光部65の中心線に対応する位置で前方へ突出すると共に、前記凸レンズ部64の外周方向へ向かうにつれて該凸レンズ部64側に近接するよう傾斜形成されている(図11参照)。すなわち、前記各発光部66には、前記異形導光部65を透過した光を反射・拡散する光拡散面(光拡散部)66aが形成されており、前記異形導光部65を透過して発光部66に入射した光が光拡散面66aで反射・拡散することで、当該発光部66が全体的に略均一の明るさで発光するよう構成されている。
(遊技状態表示器70)
また、前記入賞口形成部材50の取着部材51には、図5、図12〜図14に示すように、大当り抽選によって決定された図柄変動演出後の遊技状態を表示する遊技状態表示器70を構成する点灯表示部71が設けられている。前記点灯表示部71は、前記取着部材51に配設され、前後方向に延在する複数の棒状導光部74,75を有する表示導光部材72と、点灯部としての貫通孔76a,77aが前後に貫通するよう複数設けられ、各貫通孔76a,77aに表示導光部材72の棒状導光部74,75が夫々対応的に嵌入する区画部材76,77とを備え、前記設置部材81に配設された表示用LED基板103(後述)の表示用LED103aからの光が、棒状導光部74,75の後端部に照射されるようになっている。すなわち、実施例のパチンコ機10では、前記遊技盤20(入賞口形成部材50)に配設された点灯表示部71と前記設置部材81に配設された表示用LED基板103とから遊技状態表示器70が構成されており、遊技盤20と設置部材81とを組付けた状態で、表示用LED基板103の各表示用LED103aが前記区画部材76,77の対応する各貫通孔76a,77aの開口後端部に臨むと共に、各表示用LED103aが棒状導光部74,75の後端部に対向するようになっている(図14参照)。このように、前記入賞口形成部材50の取着部材51は、前記遊技状態表示器70の点灯表示部71を遊技盤20に固定する固定部材としての機能を具有している。なお、前記区画部材76,77は、非光透過性の合成樹脂材等により形成されており、前記各貫通孔76a,77a(棒状導光部74,75)を透過した光が別の貫通孔76a,77a(棒状導光部74,75)へ入り込まないようになっている。
ここで、前記表示用LED103aは、前記始動入賞装置30における第1始動入賞口31または第2始動入賞口32へのパチンコ球の入賞を契機として行なわれた大当り抽選の結果に基づいて、各LEDが所定パターンで点灯・消灯する点滅変動が行われ、所定時間経過後に確定的に点灯された表示用LED103aの点灯パターン(点灯・消灯位置)を把握することで、大当りの発生の有無や、図柄変動後の遊技状態を識別し得るようになっている。すなわち、遊技状態表示器70では、前記制御装置で決定された図柄変動演出後の遊技状態に応じた点灯パターン(点灯位置)で表示用LED103aが発光され、点灯部としての貫通孔76a,77a(棒状導光部74,75)の点灯パターンにより遊技状態を表示するようになっている。なお、前記表示用LED103aは、前記図柄表示装置18での図柄変動演出の完了と同時または完了以降のタイミングで、図柄変動演出後の遊技状態に応じた点灯パターンで確定的に点灯するよう構成される。
(表示導光部材72について)
前記表示導光部材72は、図12、図13に示すように、前記取着部材51の前面に当接する平板部73の前面から複数の前側棒状導光部74が前方へ突出するよう形成されると共に、該平板部73の後面から複数の後側棒状導光部75が後方へ突出するよう形成されている。前記前側棒状導光部74および後側棒状導光部75は、前後に整列する位置に夫々形成されており、後側棒状導光部75に入射した光が該後側棒状導光部75および対応の前側棒状導光部74の夫々を透過して、前側棒状導光部74の前端部から前方へ照射されるようになっている。そして、前記取着部材51には、前記後側棒状導光部75と対応した位置に、前後に貫通する嵌合孔56が夫々形成されており、該後側棒状導光部75が取着部材51を貫通するよう嵌合孔56に前側から挿入されている。また、前記前側棒状導光部74の夫々は、前端部(突出端部)に向かうにつれて僅かに縮径するよう形成されると共に、前記後側棒状導光部75の夫々は、後端部(突出端部)に向かうにつれて僅かに縮径するよう形成されており、前記表示用LED103aから後側棒状導光部75の後端部に照射される光を集光して、少ない光量で点灯表示部71(遊技状態表示器70)の点灯部(貫通孔76a,77a)を点灯させるようになっている。
(区画部材について)
前記区画部材76,77は、図12、図13に示すように、前記表示導光部材72の各前側棒状導光部74が対応的に嵌入する前側貫通孔76aが形成されたブロック状の前側区画部材76と、前記各後側棒状導光部75が対応的に嵌入する後側貫通孔77aが形成されたブロック状の後側区画部材77とから構成されている。また、前記前側区画部材76の前面および外周を囲繞するカバー部材78を備えており、各前側棒状導光部74を対応の前側貫通孔76aに嵌入した前側区画部材76および各後側棒状導光部75を対応の後側貫通孔77aに嵌入した後側区画部材77の夫々を前記取着部材51に取付けるようになっている。ここで、前記取着部材51の前面には、前記前側区画部材76の前面および外周側面全体を囲うカバー部材78が配設されており、該カバー部材78を取着部材51にネジ止めすることで、前記表示導光部材72の平板部73および前側区画部材76がカバー部材78と取着部材51との間に挟持固定されるようになっている。なお、前記カバー部材78の前面には、前記前側区画部材76の前側貫通孔76a(すなわち前側棒状導光部74)と前後に整列する位置に、光透過孔78aが形成されており、前側棒状導光部74を透過した光が遊技盤20の前方へ照射されるようになっている。
また、前記前側区画部材76とカバー部材78との間には、図12〜図14に示すように、該区画部材76の前面全体を覆う光透過性の透過板79が介装されており、カバー部材78の光透過孔78aを介して前側区画部材76や前側棒状導光部74が直接視認されるのを防止している。前記透過板79には、前記カバー部材78の光透過孔78aと対応する位置に、前方へ突出する嵌合突部79aが形成されると共に、該嵌合突部79aの裏側(前側区画部材76側)に、前側区画部材76の前側貫通孔76aに開口する凹部79bが形成されている。すなわち、前側区画部材76の前側貫通孔76aに嵌入した前記前側棒状導光部74を透過した光が、前記透過板79の凹部79bで拡散されることで、前記カバー部材78における対応の光透過孔78aが均一に明輝するよう構成される。
前記後側区画部材77は、前記取着部材51の嵌合孔56に貫通した後側棒状導光部75を対応の後側貫通孔77aに挿入した状態で、該取着部材51の裏側にネジ止めされている(図12参照)。すなわち、前記遊技盤20に形成された前記第3装着口22cの開口内側に、前記取着部材51に固定された後側区画部材77が収容されるようになっている。このとき、前記遊技盤20の後面と、前記後側区画部材77の後面とが略同一面上に位置するよう構成されている。また、前記設置部材81に配設される表示用LED基板103は、該設置部材81の開口前面側に位置するよう設置されており、該表示用LED基板103に設けた各表示用LED103aの先端部が前記後側区画部材77の各後側貫通孔77aの開口後端部に嵌り込むよう臨んで、各表示用LED103aが後側棒状導光部75の後端部に対向するようになっている(図14参照)。すなわち、前記表示用LED103aを点灯した際には、該表示用LED103aに対応した後側棒状導光部75に対して光が集中的に照射されて、隣接する他の後側棒状導光部75へ光が至るのを防止している。すなわち、前記表示導光部材72に設けられた前記前側棒状導光部74および後側棒状導光部75の夫々が前記前側区画部材76および後側区画部材77により個別に仕切られ、表示用LED103aの光が対応の後側棒状導光部75の後端部へ個別に照射されることで個別に明確に点灯させるようになっている。
(設置部材81について)
次に、前記設置部材81に関して説明する。前記設置部材81は、前記遊技盤20に対向する略矩形状の対向面部82(図14参照)と、該対向面部82の外周縁部から前方に突出する上下左右の画壁部83とから前方に開口する箱状に形成されて、該画壁部83の開口前端部を遊技盤20の裏面に当接させた状態で、設置部材81が遊技盤20にネジ固定される。なお、上面の画壁部83および右側面の画壁部83を図3に示し、図14に左側面の画壁部を図示する。また、下面をなす画壁部については図示省略してある。そして、前記設置部材81において前記遊技盤20との間に画成される空間に、各演出装置87,88,90や発光装置100等の遊技部品が設置されて、設置部材81を基材とする単一のユニットとして扱い得るようになっている。また、前記設置部材81の対向面部82には、前記枠状装飾体40の表示窓口40aと前後に整列する位置に、略矩形状の表示開口部81aが前後に開口するよう開設されると共に、該対向面部82の裏側に前記図柄表示装置18が着脱自在に取り付けられて、該表示開口部81aおよび表示窓口40aを介して図柄表示装置18の表示部が遊技盤20の前側に臨むようになっている。
なお、前記対向面部82における表示開口部81aの下方位置に下部演出装置90が配設され、該表示開口部81aの左側方位置に左側演出装置87が配設され、当該表示開口部81aの右側方位置に右側演出装置88が配設されている(図3参照)。また、前記設置部材81には、前記左側演出装置87の前方に側部発光装置100を配設してある(図3参照)。なお、前記側部発光装置100の前面は、前記設置部材81の開口前端面と略一致するよう構成されている。また、前記設置部材81には、前記表示開口部81aの下方位置に、前記第2装着口22bに取付けられた前記始動入賞装置30が収容される収容凹部81bが前方へ開口するよう形成されている。
(下部演出装置90について)
図3、図15に示すように、前記下部演出装置90は、前記設置部材81の対向面部82に取付けられる取付ベース体91と、該取付ベース体91の後面に配設されるLED基板(以下、第2LED基板92という)と、当該取付ベース体91の前面に配設される第1の装飾カバー体93とを備えており、該第1の装飾カバー体93が取付ベース体91の略全面を覆うよう構成されている。なお、前記取付ベース体91の上部位置には、前記第1の装飾カバー体93の上縁部から露出する複数の回転可動体94が配設されており、図示しない駆動モータの駆動により各回転可動体94が連動して回転動作するようになっている。また、前記回転可動体94は、前記設置部材81の表示開口部81aの開口下縁部に沿って横並びに配置されて、前記枠状装飾体40に設けたステージ42の後方に位置するよう構成してある。ここで、前記取付ベース体91は、前記遊技盤20に配設された始動入賞装置30を収容する前記収容凹部81bの上部から左右両側部に亘り連続的に延在すると共に、対向面部82に対向する平板状に形成されており、該取付ベース体91における平板状部分の後面側に前記第2LED基板92が配設されている(図15、図26、図27参照)。図15〜図17には、前記下部演出装置90における前記収容凹部81bの左側部分のみを図示してある。そして、以下の説明では、前記取付ベース体91における前記収容凹部81bの左側部側を特に左側板部91aと指称するものとする。
ここで、図15に示すように、前記取付ベース体91における左側板部91aには、該取付ベース体91の前後に貫通する貫通孔95a,96aが形成された円筒状の筒状部95,96が形成されている。具体的には、前記取付ベース体91には、前記左側板部91aの左上部位置に設けられ、前記特別入賞球排出通路111の外方(具体的には、後述する第2通路部113の上側傾斜通路114の上方)に離間して位置する上側筒状部95と、該上側筒状部95の右下方位置に設けられ、該特別入賞球排出通路111の外方(具体的には、第2通路部113の縦通路115の右側方)に離間して位置する下側筒状部96とが設けられている。すなわち、前記上側筒状部95および下側筒状部96の夫々は、前記特別入賞球排出通路111と前後に重ならない位置に形成されている。そして、図15、図26に示すように、前記上側筒状部95および下側筒状部96の貫通孔95a,96aの開口後方に、前記取付ベース体91の後面に取付けられた前記第2LED基板92の演出用LED92aが夫々臨んでおり、該演出用LED92aからの光が対応の貫通孔95a,96aを介して取付ベース体91の前方へ照射されるようになっている。
また、前記第1の装飾カバー体93には、前記上側筒状部95および下側筒状部96の各貫通孔95a,96aと前後に整列する位置に、前後に貫通する通孔93aが形成されており(図15,図19参照)、上側筒状部95および下側筒状部96の各貫通孔95a,96aを透過した光が第1の装飾カバー体93の前方へ照射される。なお、前記取付ベース体91および第1の装飾カバー体93は、光透過性の有色合成樹脂材により形成されており、前記上側筒状部95および下側筒状部96の内部に照射された光の一部が、上側筒状部95および下側筒状部96の壁部を透過して第1の装飾カバー体93の内面へ照射されて、該第1の装飾カバー体93を透過した光が後述する装飾導光部材130の第1発光部132に対して広範囲に照射されるようになっている。
また、前記取付ベース体91の左側板部91aには、図15、図19に示すように、前記上側筒状部95および下側筒状部96の間に、前後に貫通する通孔91bが開設されており、該通孔91bが前記特別入賞球排出通路111(具体的には、第2通路部113の縦通路115)の後方に重なるよう形成されている。なお、前記左側板部91aの通孔91bは、上下および左右に離間する2箇所に形成してある。そして、前記左側板部91aに形成された通孔91bの開口後方に、前記取付ベース体91の後面に取付けられた前記第2LED基板92の演出用LED92bが臨んでおり(図19,図27参照)、該演出用LED92bからの光が対応の通孔91bを介して取付ベース体91の前方へ照射されるようになっている。ここで、前記第1の装飾カバー体93は、前記左側板部91aに形成された通孔91bに前後に重なる前記特別入賞球排出通路111(第2通路部113の縦通路115)に沿って切り欠いたように形成されており、該左側板部91aの通孔91bを透過した光が特別入賞球排出通路111(第2通路部113の縦通路115)に対して直接照射されるようになっている。なお、以下の説明では、前記上側筒状部95および下側筒状部96に対応した演出用LEDを第1演出用LED92aと指称し、左側板部91aの通孔91bに対応した演出用LEDを第2演出用LED92bと指称するものとする。
(側部発光装置100について)
前記側部発光装置100は、図4、図20に示すように、前記設置部材81に配設される非光透過性の合成樹脂製の基板ケース101と、該基板ケース101に配設され前面に複数のLED(発光体)102a,103aを実装したLED基板102,103と、当該基板ケース101の前側に取付けられる装飾板108とから構成されている。ここで、前記基板ケース101には、発光演出用のLED基板(以下、第3LED基板102という)と、前記遊技状態を表示する遊技状態表示用のLED基板(以下、表示用LED基板103という)とが設置されている。なお、前記基板ケース101は、前方に向けて対向面部82に突設された突出部(図示せず)の前端にネジ止め固定されており、該本体板105(基板ケース101)の裏面が対向面部82から前側に離間して、該基板ケース101と対向面部82との間に、前記左側演出装置87が設置されている。
前記基板ケース101は、図20に示すように、平板状の本体板105の外周縁から外周壁106が前方へ突出した前方に開口する箱状に形成されると共に、該基板ケース101の下部位置に、基板ケース101の内部空間を横切るよう左右に延在する区画壁107が前方へ突出するよう形成されており、当該基板ケース101の内部空間が区画壁107により上下に区画されている。そして、前記基板ケース101における前記区画壁107で区切られた上側の領域に、前記第3LED基板102がネジ止めされると共に、該区画壁107で区切られた下側の領域に、前記表示用LED基板103がネジ止めされている。ここで、前記基板ケース101における前記区画壁107で区切られた下側の領域は、前記遊技盤20に設けられた前記点灯表示部71の後方に位置するようになっている。
なお、前記基板ケース101において前記外周壁106および区画壁107で画成される上側の領域は、光透過性の合成樹脂材から形成された装飾板108が配設されて、前記第3LED基板102の前側を覆うよう構成されており、該第3LED基板102に設けた演出用LED102aの光により装飾板108が内部から照明されるようになっている。装飾板108には、パチンコ機10のモチーフとなる各種の図柄が描かれており、装飾板108が裏側から照明されることによって発光による演出効果を高めている。また基板ケース101は、前記演出用LED102aから照射されて装飾板108で反射した光を反射するリフレクタとしても機能し、装飾板108を効率的に照明し得るようになっている。
また、前記基板ケース101には、図16、図20に示すように、前記外周壁106および区画壁107で画成される下側の領域の前側に非光透過性の遮蔽板109が配設されており、前記表示用LED基板103を遮蔽板109で覆うよう構成されている。前記遮蔽板109には、前記表示用LED基板103の表示用LED103aと対応する位置に、前後に貫通する挿入孔109aが開設されており、該挿入孔109aにLED103aが個別に挿入されるよう構成されている。ここで、実施例では、前記表示用LED基板103には、表示用LED103aとして光の指向性が高い砲弾型のLEDが採用されており、前記遮蔽板109の挿入孔109aの内部に表示用LED103aが嵌り込むようになっている。すなわち、前記遮蔽板109の挿入孔109aが表示用LED103aを区画する遮蔽部材として機能し、前記表示用LED103aの光指向性を更に高めて、各表示用LED103aを点灯した際に、対応の後側棒状導光部75に対して個別に光を入射させ得るようになっている。ここで、前記表示用LED基板103の表示用LED103aおよび前記遮蔽板109の挿入孔109aの夫々は、前記点灯表示部71に設けられた前記後側棒状導光部75の夫々と前後に整列する位置に設けられており、表示用LED103aからの光を後側棒状導光部75に個別に照射し得るよう構成されている。
(特別入賞球排出通路111について)
また、前記基板ケース101の裏面には、図4に示すように、前記枠状装飾体40に設けられた球誘導通路44を、前記設置部材81の下面をなす図示しない画壁部に形成された第1球排出口85(図17参照)に連通接続する特別入賞球排出通路111が配設されており、前記第2の特別入賞装置45に入賞したパチンコ球を、球誘導通路44および特別入賞球排出通路111を介して遊技盤20の下方へ排出するようになっている。なお、前記特別入賞球排出通路111は、前記球誘導通路44に連通接続する第1通路部112と、該第1通路部112の下端部および第1球排出口85を連通接続する第2通路部113とから構成されている。ここで、前記第1通路部112は、前記基板ケース101の上部において左方向へ下方傾斜すると共に該基板ケース101における左側端縁(枠状装飾体40から離間する側端縁)に沿って上下方向に延在する逆L字状に形成されており、該第1通路部112(特別入賞球排出通路111)の上流端部が基板ケース101の右側方へ突出して前方へ開口するよう形成されている。そして、前記遊技盤20と設置部材81とを組み付けた際に、前記第1通路部112の上流端部の前方開口が球入口112aとして機能して、前記球誘導通路44の球出口44aに連通接続し、前記第2の特別入賞装置45に入賞したパチンコ球が第1通路部112(特別入賞球排出通路111)へ移動し得るようになっている(図4参照)。
また、前記第1通路部112の下端部には、前記第2通路部113が連通接続しており、該第1通路部112を通過したパチンコ球が第2通路部113に移動するよう構成される。ここで、前記第2通路部113は、図4、図17〜図20に示すように、前記第1通路部112との接続部から右方向(図4では左方向)へ下方傾斜しつつ前記普通入賞球排出通路部材120の右側方まで延在すると共に、該普通入賞球排出通路部材120の右側部に沿って下方へ延在して前記第1球排出口85に接続する蛇行形状に形成されている。より具体的には、前記第2通路部113は、前記第1通路部112に連通して右下方へ傾斜する上側傾斜通路114と、該上側傾斜通路114の右端部に連通して下方へ延在する縦通路115と、該縦通路115の下端部に連通して左下方へ傾斜し、前記第1球排出口85に接続する下側傾斜通路116とから構成されて、前記普通入賞球排出通路部材120の上部、右側部および下部を迂回するよう形成されている。そして、前記第2通路部113および前記設置部材81の左側面および下面をなす画壁部83で囲まれた領域に、前記普通入賞球排出通路部材120が設置されている。なお、前記縦通路115は、前記上側筒状部95よりもパチンコ球略1個分(後述する普通入賞球排出通路部材120における縦排出通路122の前後幅分)だけ後方へ変位するよう設けられており、該縦通路115が普通入賞球排出通路の縦排出通路122と部分的に前後に重なるようになっている。そして、前記下側傾斜通路116の下端開口部116aが前記設置部材81の第1球排出口85に連通するようになっている。
(普通入賞球排出通路部材120について)
前記普通入賞球排出通路部材120は、図18、図21〜図24に示すように、前記設置部材81に取付けられる通路本体121と、該通路本体121に配設される第2の装飾カバー体127と、該第2の装飾カバー体127に配設される装飾導光部材130とを備えており、該設置部材81の左下部位置に通路本体121がネジ止めされている。ここで、前記普通入賞球排出通路部材120(通路本体121)は、前記設置部材81の開口前端側に位置するよう設置部材81に取付けられて、該普通入賞球排出通路部材120の後方に前記下部演出装置90の左側板部91aおよび特別入賞球排出通路111(具体的には第2通路部113の縦通路115)が部分的に重なるよう構成されている。
前記通路本体121は、図18、図21〜図24に示すように、前記遊技盤20に取付けられた前記入賞口形成部材50の球受け通路52に対応して設けられ、上下に延在する複数(実施例では3つ)の縦排出通路122と、該縦排出通路122の下端部を相互に連通接続する右方向へ下方傾斜した横排出通路123とを備えると共に、該縦排出通路122および横排出通路123の後側に、前記入賞口形成部材50に設けた発光装飾部60を構成する前記第1LED基板125が設置される基板設置部124が設けられている。なお、前記通路本体121において右端部側の縦排出通路122の下端開口部122aが、前記設置部材81の下面をなす画壁部に形成された第2球排出口86(図16参照)に連通接続して、前記普通入賞口53に入賞して普通入賞球排出通路部材120を通過したパチンコ球を遊技盤20の外部へ排出するよう構成されている。また、前記第2球排出口86は、前記第1球排出口85の右側方に隣接して設けられている。なお、前記通路本体121を設置部材81に取付けた状態で、前記特別入賞球排出通路111における第2通路部113の上側傾斜通路114の下方に、前記基板設置部124が嵌り込むようになっている(図18参照)。
前記基板設置部124は、図22〜図24に示すように、前記通路本体121の後面側に後方へ開口する凹状に形成されて、該基板設置部124に前記第1装飾用LED125aが前方へ光を照射する姿勢で前記第1LED基板125が設置されている。なお、実施例では、前記基板設置部124に2つの第1LED基板125が設置されている。ここで、前記第1装飾用LED125aは、前述のように前記装飾透過体61(蓋部材63)に形成された前記凸レンズ部64の中心点に対して前後に略整列する位置に配置されており、該第1装飾用LED125aから凸レンズ部64に向けて光が照射されるようになっている。なお、前記第1LED基板125の前面には、前方へ向けて光を照射する第2装飾用LED125bが普通入賞球排出通路部材120を挟んで前記装飾透過体61の後方位置に対向するよう実装されており、該第2装飾用LED125bからの光が装飾透過体61における凸レンズ部64以外の領域を照明するよう構成されている。すなわち、前記第1LED基板125に実装された前記第2装飾用LED125bの光により、前記装飾透過体61の全体が発光する一方で、前記第1装飾用LED125aの光により装飾透過体61の発光部66がより強く発光するよう構成されて、遊技盤20の発光装飾効果を高めている。
前記第2の装飾カバー体127は、前記特別入賞球排出通路111における第2通路部113の略全体を覆うよう前記通路本体121の上部位置に取付けられると共に(図16、図17、図21参照)、前記下部演出装置90の第1演出用LED92aおよび第2演出用LED92bの夫々と前後に整列する位置に、前後に開口する嵌合孔128,129が複数箇所(実施例では4箇所)に形成されている。ここで、前記第2の装飾カバー体127には、前記第2通路部113の上側傾斜通路114より上方へ延出した位置および該第2通路部113の縦通路115より右側方へ延出した位置の夫々に小型嵌合孔128が形成され、当該第2通路部113における縦通路115の前方に重なる位置に、該小型嵌合孔128より大きな大型嵌合孔129が2箇所に形成されている。なお、前記小型嵌合孔128および大型嵌合孔129の夫々は、前記装飾導光部材130に形成された後述の第1発光部132および第2発光部134が嵌合する十字状に形成されている。
図21〜図23、図26、図27に示すように、前記第2の装飾カバー体127の後面には、2つの装飾導光部材130が配設されている。なお第2の装飾カバー体127に配設される2つの装飾導光部材130の基本的に同一構成とされているので、以下同一の符号を付して説明する。前記各装飾導光部材130は、図22、図23、図26、図27に示すように、前記第2の装飾カバー体127の裏面に対向する平板部131と、該平板部131から前方へ突出する第1発光部(発光部)132と、当該平板部131から後方へ突出して平板部131を介して第1発光部132に連設された第1棒状導光部(導光部)133と、該平板部131から前方へ突出する第2発光部(発光部)134と、当該平板部131から後方へ突出して平板部131を介して第2発光部134に連設された第2棒状導光部(導光部)135とを備えている。ここで、前記第1発光部132は、前記第1演出用LED92aの光照射方向前側に離間する位置に夫々設けられており、各第1発光部132から対応の第1演出用LED92aの配置方向に延在するよう前記第1棒状導光部133が夫々設けられている。また、前記第2発光部134に関しても同様に、前記第2演出用LED92bの光照射方向前側に離間する位置に夫々設けられており、各第2発光部134から対応の第2演出用LED92bの配置方向に延在するよう前記第2棒状導光部135が夫々設けられている。すなわち、前記第1発光部132および第1棒状導光部133は、前記第2通路部113の縦通路115の上方および右側方に位置して、前記第1演出用LED92aと前後に対向整列するよう構成されると共に、前記第2発光部134および第2棒状導光部135は、第2通路部113の縦通路115を挟んで前記第2演出用LED92bと前後に対向整列するよう構成されている。また、前記第1演出用LED92aの夫々は、対応する第1棒状導光部133の中心線上に位置すると共に、前記第2演出用LED92bの夫々が、対応の第2棒状導光部135の中心線上に位置するようになっている。
ここで、前記平板部131からの第1棒状導光部133の突出長さは、該平板部131からの第2棒状導光部135の突出長さより長く設定されており(図27参照)、前記第1演出用LED92aから第1棒状導光部133の後端部までの離間距離が、前記第2演出用LED92bから第2棒状導光部135の後端部までの離間距離より短くなるよう設定されている。また、前記第1棒状導光部133の後端部は、前記下部演出装置90における上側筒状部95および下側筒状部96の開口前端部の近傍に位置しており、前記第1演出用LED92aから上側筒状部95および下側筒状部96を透過した光が対応の第1棒状導光部133の後端部に入射するようになっている。
また、図27に示すように、前記各第2棒状導光部135の後端部は、前記第2通路部113の縦通路115の前面に近接位置するよう構成されて、該第2棒状導光部135が第2通路部113の前方位置を位置規制するよう構成されている。すなわち、前記第2通路部113(縦通路115)をパチンコ球が通過した際に、該第2通路部113が前方移動するのを、前記第2棒状導光部135で規制している。また、前記第2通路部113の縦通路115は、前記下部演出装置90の左側板部91aの前面に近接位置しており、該第2通路部113が後方移動するのを、左側板部91aで規制するようになっており、当該縦通路115が前記第2通路部113(縦通路115)および左側板部91aで挟まれることで所定位置に位置規制される。そして、前記第2演出用LED92bを発光することで、前記第2通路部113の縦通路115を挟んで第2演出用LED92bの光照射方向に対向するよう配置された前記第2棒状導光部135の後端部に入射するようになっている。
ここで、前記第1発光部132および第2発光部134は、前記平板部131の前側において、対応する第1演出用LED92aおよび第2演出用LED92bの光照射方向に延在している。また、前記第1発光部132および第2発光部134の夫々は、前記第1棒状導光部133および第2棒状導光部135の中心線に対して交差する方向に放射状に延出する複数(実施例では4つ)の突片から構成されて、前記第2の装飾カバー体127に形成した小型嵌合孔128の夫々に第1発光部132が後方から嵌合すると共に、大型嵌合孔129の夫々に第2発光部134が後方から嵌合している(図22参照)。すなわち、前記第1発光部132における突片が収束した中心位置が、前記第1棒状導光部133の中心点と前後に整列して、該第1棒状導光部133の中心線上に第1発光部132の中心が位置すると共に、前記第2発光部134における突片が収束した中心位置が、前記第2棒状導光部135の中心点と前後に整列して、該第2棒状導光部135の中心線上に第2発光部134の中心が位置するようになっている。また、前記第1発光部132および第2発光部134の前端面を除く外面には、光拡散加工が施されており、該第1発光部132および第2発光部134を透過する光が外部に漏れ出るのを抑制して、当該第1発光部132および第2発光部134の前端部から前方へ照射されるようになっている。
また、前記第1発光部132および第2発光部134の夫々は、前記中心位置から放射状に延出した延出端部に近づくにつれて徐々に先細り形状となる傾斜形状に形成されており、該第1発光部132および第2発光部134内に導かれた光を内部で乱反射させるよう構成されている。すなわち、前記第1発光部132および第2発光部134の内部で光が乱反射することで、該第1発光部132および第2発光部134を透過した光が前端部全体から略均一な明るさで照射されるようになっている。なお、実施例の第1発光部132および第2発光部134は、断面十字状となるよう4つの突片が放射状に設けられている。
図25〜図27に示すように、前記各第1発光部132および第2発光部134の前側端部は、対応の第1発光部132および第2発光部134の中心線に対応する位置で前方へ突出すると共に、各発光部66の延出端部へ向かうにつれて後方へ傾斜する傾斜形状に形成されている。すなわち、前記各第1発光部132および第2発光部134の前端部には、光を反射・拡散する光拡散面(光拡散部)132a,134aが形成されており、該第1発光部132および第2発光部134を透過して発光部66に入射した光を、光拡散面132a,134aで延出端部側へ反射・拡散することで、前端部が全体的に略均一の明るさで発光するよう構成されている。また、前記第1発光部132における中心点から延出端部までの長さ寸法は、前記第2発光部134における中心点から延出端部までの長さ寸法より短くなるよう設定されている。すなわち、前記第1発光部132の発光領域(光拡散面132aの面積)は、前記第2発光部134よりも発光領域(光拡散面134aの面積)が小さく形成されている。
(実施例の作用)
次に、前述のように構成された実施例に係るパチンコ機10の作用につき説明する。
前記中枠12の前面側に設けられた前記操作ハンドル17を遊技者が回転操作すると、打球発射装置から発射されたパチンコ球が前記遊技盤20に設けた案内レール21により画成された遊技領域20a内に打ち出されて、遊技釘等に接触して流下方向を変更しながら遊技領域20a内を流下する。そして、前記遊技領域20aを流下するパチンコ球が前記始動入賞装置30の第1始動入賞口31または第2始動入賞口32に入賞することで、前記図柄表示装置18での図柄変動演出が開始され、図柄変動演出の結果、図柄表示装置18に所定の図柄組み合わせで演出図柄が表示されると大当りが発生し、大当りが発生する図柄の組み合わせに応じて、前記遊技盤20に設けられた第1の特別入賞装置35または第2の特別入賞装置45が開放されると共に、図柄表示装置18において大当り演出が行われる。
また、前記遊技領域20aを流下するパチンコ球が前記始動入賞装置30の第1または第2始動入賞口31,32に入賞すると、前記図柄表示装置18での図柄変動演出と併せて前記遊技状態表示器70の各表示用LED103aが所定パターンで点灯・消灯する点滅変動が行なわれ、該図柄変動演出の終了と同時以降のタイミングで、大当り抽選によって決定された遊技状態に応じた点灯パターン(点灯位置)で前記表示用LED基板103の表示用LED103aが確定的に点灯して、当該図柄変動演出後の遊技状態が表示される。ここで、前記遊技状態表示器70は、表示導光部材72の平板部73に対して前側棒状導光部74および後側棒状導光部75が前後に整列する位置に突設されて、前側棒状導光部74および後側棒状導光部75が対応する前側区画部材76および後側区画部材77の貫通孔76a,77aに嵌入するよう構成されると共に、後側区画部材77の貫通孔77aに臨んだ後側棒状導光部75の後端部に各表示用LED103aが対向している。このように、点灯パターン(点灯位置)で表示用LED103aを点灯した際に、後側棒状導光部75に入射した各表示用LED103aの光が前後に整列する前側棒状導光部74まで透過することで、単に孔部内に光を透過させる構成と較べて、前側区画部材76の貫通孔76aの開口前端部まで光を効率的に誘導することができる。従って、前記表示用LED103aとして出力の高い発光体を採用することなく、遊技状態表示器70の点灯部(貫通孔76a,77a)を明瞭に点灯することができる。
また、前側棒状導光部74および後側棒状導光部75で光が導かれるから、貫通孔76a,77aの内部を単に光を透過させる構成に較べて貫通孔76a,77aの開口前端部まで到達した光が弱まるのを防止することができ、遊技状態表示器70の点灯部(貫通孔76a,77a)を明瞭に表示することができる。このため、遊技盤20側に遊技状態表示器70の点灯表示部71を設置すると共に、設置部材81側に表示用LED基板103を設置することが可能となり、遊技盤20に取付けられる電気部品を削減してリサイクル性の向上を高め得る。
特に、実施例に係る遊技状態表示器70のように、表示導光部材72の平板部73に対して前側棒状導光部74と後側棒状導光部75とを前後に整列する位置に形成して、後側棒状導光部75を遊技盤20に形成した第3装着口22cの内部に突出するよう構成することで、表示用LED基板103を遊技盤20から離れた位置に設置することができる。しかも、前述のように表示用LED基板103を遊技盤20から離れた位置に設置したとしても、該表示用LED103aの光が対応する前後の棒状導光部74,75を介して前側区画部材76の貫通孔76aの開口前端部まで効果的に導かれるから、遊技状態表示器70の点灯部が不明瞭になることはない。更に、前記取着部材51に形成した嵌合孔56を貫通するように後側棒状導光部75が嵌合することで、取着部材51に対する表示導光部材72の位置決めを正確に行なうことができる。このため、遊技盤20と設置部材81とを組付けた際に、各表示用LED基板103を後側区画部材77に形成された各貫通孔77aに正確に臨ませることができ、遊技状態表示器70の点灯部(貫通孔76a,77a)を所定パターンでより正確に点灯することができる。
また、前記前側棒状導光部74および後側棒状導光部75の夫々が突出端部に向かうにつれて僅かに縮径するよう形成されたことで、表示用LED103aから照射される光が前後の棒状導光部74,75の中心線上に収束され、少ない光量であっても、遊技状態表示器70の点灯部(貫通孔76a,77a)をより明瞭に点灯させることができる。しかも、前後の区画部材76,77の貫通孔76a,77aに対して前後の棒状導光部74,75を容易に挿脱し得るようになるから、遊技状態表示器70(点灯表示部71)の組付け作業性の簡略化が図られ、リサイクル性の向上に寄与することができる。
また、実施例に係るパチンコ機10では、前記図柄表示装置18で行なわれる図柄変動演出に併せて、前記入賞口形成部材50に設けた発光装飾部60の第1装飾用LED125aや、下部演出装置90における第2LED基板92の演出用LED92a,92bを発光して演出が行なわれる。この発光装飾部60では、前記普通入賞球排出通路部材120の後面に設けられた基板設置部124に第1LED基板125が設置されて、該普通入賞球排出通路部材120に形成された球通路(縦排出通路122)を挟んだ前側に位置する入賞口形成部材50に装飾透過体61が設けられて、該球通路(縦排出通路122)を透過した第1装飾用LED125aの光が装飾透過体61に照射されるようになっている。このように、球通路(縦排出通路122)の後方に第1LED基板125を設置することで、球通路(縦排出通路122)の形成箇所と重なるよう発光装飾部60を設置することが可能となる。従って、球通路(縦排出通路122)の前側に基板を配設困難な場所に対しても発光装飾部60を形成することができ、パチンコ機10において発光による装飾や演出を行なう自由度が向上する。また、球通路(縦排出通路122)の後方に第1LED基板125が設置されているから、発光部66が過剰な明るさで明輝されるのを防止できる。
また、前記装飾透過体61は、前記普通入賞球排出通路部材120を挟んで前記第1装飾用LED125aの光照射方向に対向するよう凸レンズ部64が設けられて、該凸レンズ部64で集光した光が異形導光部65を透過して発光部66を発光させるよう構成されている。すなわち、球通路(縦排出通路122)が介在して第1装飾用LED125aと発光部66とが離間する構成であっても、凸レンズ部64により光が集光されるから、発光部66を所定の明るさで明輝させることができる。また、異形導光部65が凸レンズ部64の中心から第1装飾用LED125aの光照射方向に延在すると共に、該中心から放射状に延在するよう構成したことで、1つの第1装飾用LED125aを用いて複雑な形状の発光部66を発光させ得る。更に、発光部66には、光を反射・拡散する光拡散面66aが形成されているから、前記異形導光部65を透過した光を反射することにより、発光部66を全体的に発光させることができ、装飾性向上を図り得る。
また、前記普通入賞球排出通路部材120の第2の装飾カバー体127には、前記第1棒状導光部133および第2棒状導光部135が設けられており、前記第2LED基板92に設けた第1演出用LED92aおよび第2演出用LED92bを発光することで、第1棒状導光部133および第2棒状導光部135を透過した光が対応の第1発光部132および第2発光部134を明輝させて演出が行なわれる。ここで、前記第1演出用LED92aから第1棒状導光部133の後端部までの離間距離は、前記第2演出用LED92bから第2棒状導光部135の後端部までの離間距離より短くなるよう設定されているから、該第1演出用LED92aからの光が第1棒状導光部133に到達する光よりも、第2演出用LED92bからの光が第2棒状導光部135に到達する光の方が周囲に拡がる。すなわち、第1演出用LED92aからの光は全体的に第1棒状導光部133に導かれて第1発光部132へ透過する一方、第2演出用LED92bからの光の一部は、第2棒状導光部135の後端部に入射することなく第2発光部134に対して直接照射されるようになる。このように、第1演出用LED92aからの光の照射範囲を第2演出用LED92bからの光の照射範囲より狭くすることができ、第1演出用LED92aで発光させ得る第1発光部132の範囲と、第2演出用LED92bで発光させ得る第2発光部134の範囲を変化させることができる。
また、前記各第1演出用LED92aの前側には、上側筒状部95または下側筒状部96が設けられて、該上側筒状部95および下側筒状部96の開口前端部に第1棒状導光部133の後端部が臨むよう構成されているから、各第1演出用LED92aからの光を対応の第1棒状導光部133の後端部へ集中させることができる。すなわち、第1演出用LED92aからの離間距離が短く設定された第1棒状導光部133においては、該第1演出用LED92aからの光の照射範囲が拡がる前に集光し易くなることで、第1発光部132を小さくして強く発光させ得る。
一方で、前記各第2演出用LED92bの前側には、前記普通入賞球排出通路部材120(第2通路部113の縦通路115)が位置し、該普通入賞球排出通路部材120(第2通路部113の縦通路115)を挟んで第2演出用LED92bの光照射方向に対向するよう第2棒状導光部135が配置されているから、該第2演出用LED92bの光を第2棒状導光部135に照射しつつ、当該第2棒状導光部135の周囲にも光を照射することができ、発光領域が大きく形成された第2発光部134の前端部全体を明輝させることが可能となる。
また、球通路(第2通路部113の縦通路115)を光透過性に形成し、該球通路(第2通路部113の縦通路115)の後方に第2演出用LED92bを配設することで、
球通路(第2通路部113の縦通路115)の前側に基板設置スペースの確保が困難な場所においても発光による演出や装飾が可能となり、パチンコ機10の設計の自由度を高め得ると共に装飾性の向上を図り得る。また、球通路(第2通路部113の縦通路115)の後方に第2演出用LED92bが設置されることで、第1および第2発光部132,134が過剰な明るさで明輝されるのを防止できる。そして、第2演出用LED92bからの離間距離が長く設定された第2棒状導光部135においては、該第2演出用LED92bからの光の照射範囲が拡がることで、比較的大きく形成した第2発光部134の全体を発光させ得る。従って、第1棒状導光部133および第2棒状導光部135と、夫々に対応する第1演出用LED92aおよび第2演出用LED92bとの離間距離に合わせて第1発光部132および第2発光部134の大きさ(発光領域)を設定することで、効果的な発光を実現することができる。
また、前記第1発光部132および第2発光部134の前端部には、光拡散面132a,134aが夫々形成されているから、前記第1棒状導光部133および第2棒状導光部135を透過した光を、対応した第1発光部132および第2発光部134の延出端部側へ反射して全体を発光させることができ、発光による装飾性を高めることができる。しかも、第1発光部132および第2発光部134の中心を、対応する第1棒状導光部133および第2棒状導光部135の中心線と整列するよう構成してあるから、対応して設られた1個の第1演出用LED92aおよび第2演出用LED92bで第1発光部132および第2発光部134の全体を明輝させることができるから、コスト削減を図り得ると共に、製造工程の簡略化を図ることが可能となる。
(変更例)
なお、本発明に係る遊技機の構成としては、実施例に示したものに限らず、種々の変更が可能である。
(1) 実施例では、普通入賞口に入賞した遊技球を排出する球通路(普通入賞球排出通路部材)を挟んで発光体(第1装飾用LED)と導光部(異形導光部)とが対向位置するよう構成したが、球通路はこれに限られるものではなく、遊技球が通過可能に構成された光透過性の球通路であればよい。すなわち、遊技盤に設けられた始動入賞口や特別入賞口等の入賞口に入賞した遊技球を排出する球通路や、遊技領域を流下する遊技球をステージに導く球通路(実施例の球誘導部)を挟んで発光体と導光部とが対向位置するよう構成してもよい。
(2) 実施例では、凸レンズ部、導光部および発光部を備えた装飾透過体を普通入賞口が設けられた入賞口形成部材に備えると共に、発光体を普通入賞球排出通路部材に備えるよう構成したが、これに限られるものではなく、該凸レンズ部、発光体、導光部および発光部の夫々同一の装置に設けてもよい。また、凸レンズ部、導光部、発光部および発光体が配設される対象装置・部材は、実施例のものに限られることはなく、適宜の装置・部材に配設すればよい。
(3) 実施例では、導光部および発光部を単一部材(すなわち装飾導光部材)に形成したが、これに限られるものではなく、導光部および発光部を独立した部材として形成することも可能である。
(4) 実施例では、導光部を断面十字状に形成したが、これに限らず、前記発光体の光照射方向に延在すれば任意の断面形状に形成することができる。同様に、発光部の形状に関しても実施例のものに限定されるものではない。なお、発光部の後端部の形状を導光部の断面形状に略整合するよう形成すれば、該導光部を透過した光により発光部全体を明輝させることができる。
(5) 実施例では、発光部の前端面が光拡散部として機能するよう構成されているが光拡散部を、発光部から分離独立した部材に形成することもできる。
ことを特徴とする遊技機。
(6) 実施例では、遊技盤の裏側に設置部材を設けるよう構成したが、該設置部材を本体枠としての中枠に設置する構成も採用できる。
(7) 実施例では、第1始動入賞口および第2始動入賞口を備えた始動入賞装置を用いたが、該第1始動入賞口および第2始動入賞口の夫々が独立した始動入賞装置を構成してもよい。また、第1始動入賞口を開閉式の入賞口とすることもできる。
(8) 実施例では、遊技盤を透明な板材で形成したが、これに限られるものではなく、遊技盤をベニヤ材や不透明な合成樹脂材から形成するようにしてもよい。
(9) 実施例では、遊技機としてパチンコ機を例示して説明したが、これに限られるものではなく、アレンジボール機やピンボール機、スロットマシン機等の各種遊技機を採用し得る。
60 発光装飾部(発光装置)
61a 空間
62 前側装飾体
63 蓋部材
64 凸レンズ部
65 異形導光部(導光部)
66 発光
122 縦排出通路(球通路)
123 横排出通路(球通路)
125a 第1装飾用LED(発光体)
125b 第2装飾用LED(第2の発光体)

Claims (3)

  1. 発光装置を備えた遊技機であって、
    遊技球が通過可能な光透過性の球通路と、
    前記球通路の後方に設けられ、該球通路側へ光を照射する発光体と、
    前記球通路を画成する前壁の通路面に該球通路を向いて設けられ、該球通路を挟んで前記発光体の光照射方向に対向する凸レンズ部と、
    前記凸レンズ部の前側に設けられ、前記発光体の光照射方向に延在する導光部と、
    前記導光部の前側端部に設けられた発光部とを備え、
    前記凸レンズ部は、前記前壁の通路面に環状に設けられた凹部により後方へ凸なレンズ状に形成されて、当該凸レンズ部の突出する端部が通路面より後方へ突出しないよう構成され、
    前記発光体から照射されて前記球通路を透過した光が、前記凸レンズ部で収束されると共に前記導光部を透過することで、前記発光部が発光するよう構成された
    ことを特徴とする遊技機。
  2. 前記球通路の前側に配設されて前記前壁を構成し、前記凸レンズ部および前記導光部が設けられた蓋部材と、
    後方へ開口する箱状に形成されて前記蓋部材に前方から取り付けられ、前側に前記発光部が設けられると共に、後方から収容された前記導光部の周りに空間を画成する前側装飾体と
    前記球通路の後方において前記発光体の周囲に設けられ、該球通路側へ光を照射する第2の発光体とを備え、
    前記第2の発光体から照射されて前記球通路および蓋部材を透過した光が、前記空間を介して前記前側装飾体における前記発光部の周辺部位を照明するよう構成した請求項1記載の遊技機。
  3. 前記導光部は、前記凸レンズ部の中心から凸レンズ部の外周より外側まで放射状に延在する複数の突片を有すると共に、当該凸レンズ部の中心から前記発光体の光照射方向に延在して前記発光部の裏側に当接するよう形成された請求項2記載の遊技機。
JP2011048368A 2011-03-04 2011-03-04 遊技機 Active JP5508317B2 (ja)

Priority Applications (1)

Application Number Priority Date Filing Date Title
JP2011048368A JP5508317B2 (ja) 2011-03-04 2011-03-04 遊技機

Applications Claiming Priority (1)

Application Number Priority Date Filing Date Title
JP2011048368A JP5508317B2 (ja) 2011-03-04 2011-03-04 遊技機

Publications (2)

Publication Number Publication Date
JP2012183198A JP2012183198A (ja) 2012-09-27
JP5508317B2 true JP5508317B2 (ja) 2014-05-28

Family

ID=47013866

Family Applications (1)

Application Number Title Priority Date Filing Date
JP2011048368A Active JP5508317B2 (ja) 2011-03-04 2011-03-04 遊技機

Country Status (1)

Country Link
JP (1) JP5508317B2 (ja)

Cited By (1)

* Cited by examiner, † Cited by third party
Publication number Priority date Publication date Assignee Title
JP2017047231A (ja) * 2016-10-18 2017-03-09 株式会社サンセイアールアンドディ 遊技機

Families Citing this family (8)

* Cited by examiner, † Cited by third party
Publication number Priority date Publication date Assignee Title
JP5686831B2 (ja) * 2013-02-14 2015-03-18 株式会社ユニバーサルエンターテインメント 遊技機
JP6056011B2 (ja) * 2013-07-30 2017-01-11 株式会社大都技研 遊技台
JP6368899B2 (ja) * 2016-11-07 2018-08-08 株式会社大都技研 遊技台
JP7123895B2 (ja) * 2019-10-17 2022-08-23 株式会社ユニバーサルエンターテインメント 遊技機
JP7123894B2 (ja) * 2019-10-17 2022-08-23 株式会社ユニバーサルエンターテインメント 遊技機
JP7123892B2 (ja) * 2019-10-17 2022-08-23 株式会社ユニバーサルエンターテインメント 遊技機
JP7182282B2 (ja) * 2019-10-17 2022-12-02 株式会社ユニバーサルエンターテインメント 遊技機
JP7123893B2 (ja) * 2019-10-17 2022-08-23 株式会社ユニバーサルエンターテインメント 遊技機

Family Cites Families (6)

* Cited by examiner, † Cited by third party
Publication number Priority date Publication date Assignee Title
JP3712753B2 (ja) * 1994-12-21 2005-11-02 株式会社平和 遊技機の可動電飾装置
JP4201200B2 (ja) * 2004-09-16 2008-12-24 アルゼ株式会社 遊技機
JP4901361B2 (ja) * 2006-08-11 2012-03-21 京楽産業.株式会社 電飾装置
JP2008228912A (ja) * 2007-03-19 2008-10-02 Samii Kk 遊技機
JP5273339B2 (ja) * 2007-10-30 2013-08-28 株式会社三洋物産 遊技機
JP2010017480A (ja) * 2008-07-14 2010-01-28 Sammy Corp 遊技盤および遊技盤の製造方法

Cited By (1)

* Cited by examiner, † Cited by third party
Publication number Priority date Publication date Assignee Title
JP2017047231A (ja) * 2016-10-18 2017-03-09 株式会社サンセイアールアンドディ 遊技機

Also Published As

Publication number Publication date
JP2012183198A (ja) 2012-09-27

Similar Documents

Publication Publication Date Title
JP5508316B2 (ja) 遊技機
JP5508317B2 (ja) 遊技機
JP6302444B2 (ja) 遊技機
JP5848658B2 (ja) 遊技機
JP5041785B2 (ja) 遊技機
JP5334717B2 (ja) 遊技機
JP5499009B2 (ja) 遊技機
JP5501997B2 (ja) 遊技機
JP6317211B2 (ja) 遊技機
JP5848657B2 (ja) 遊技機
JP5508315B2 (ja) 遊技機
JP6294274B2 (ja) 遊技機
JP6294275B2 (ja) 遊技機
JP6480842B2 (ja) 遊技機
JP6348472B2 (ja) 遊技機
JP5342348B2 (ja) 遊技機
JP6234341B2 (ja) 遊技機
JP5271833B2 (ja) 遊技機
JP5932112B1 (ja) 遊技機
JP4341806B2 (ja) 遊技機における装飾装置
JP2012110383A (ja) 遊技機
JP2015029851A (ja) 遊技機
JP2014236937A (ja) 遊技機
JP5411109B2 (ja) 遊技機
JP2008245963A (ja) 弾球遊技機

Legal Events

Date Code Title Description
A621 Written request for application examination

Free format text: JAPANESE INTERMEDIATE CODE: A621

Effective date: 20130328

A131 Notification of reasons for refusal

Free format text: JAPANESE INTERMEDIATE CODE: A131

Effective date: 20131217

A977 Report on retrieval

Free format text: JAPANESE INTERMEDIATE CODE: A971007

Effective date: 20131218

A521 Request for written amendment filed

Free format text: JAPANESE INTERMEDIATE CODE: A523

Effective date: 20140214

TRDD Decision of grant or rejection written
A01 Written decision to grant a patent or to grant a registration (utility model)

Free format text: JAPANESE INTERMEDIATE CODE: A01

Effective date: 20140304

A61 First payment of annual fees (during grant procedure)

Free format text: JAPANESE INTERMEDIATE CODE: A61

Effective date: 20140320

R150 Certificate of patent or registration of utility model

Ref document number: 5508317

Country of ref document: JP

Free format text: JAPANESE INTERMEDIATE CODE: R150

R250 Receipt of annual fees

Free format text: JAPANESE INTERMEDIATE CODE: R250

R250 Receipt of annual fees

Free format text: JAPANESE INTERMEDIATE CODE: R250

R250 Receipt of annual fees

Free format text: JAPANESE INTERMEDIATE CODE: R250