JP5487635B2 - 電気光学装置および電子機器 - Google Patents

電気光学装置および電子機器 Download PDF

Info

Publication number
JP5487635B2
JP5487635B2 JP2009029917A JP2009029917A JP5487635B2 JP 5487635 B2 JP5487635 B2 JP 5487635B2 JP 2009029917 A JP2009029917 A JP 2009029917A JP 2009029917 A JP2009029917 A JP 2009029917A JP 5487635 B2 JP5487635 B2 JP 5487635B2
Authority
JP
Japan
Prior art keywords
electro
backlight unit
liquid crystal
frame
panel
Prior art date
Legal status (The legal status is an assumption and is not a legal conclusion. Google has not performed a legal analysis and makes no representation as to the accuracy of the status listed.)
Expired - Fee Related
Application number
JP2009029917A
Other languages
English (en)
Other versions
JP2010186035A5 (ja
JP2010186035A (ja
Inventor
雅夫 齋藤
Current Assignee (The listed assignees may be inaccurate. Google has not performed a legal analysis and makes no representation or warranty as to the accuracy of the list.)
Seiko Epson Corp
Original Assignee
Seiko Epson Corp
Priority date (The priority date is an assumption and is not a legal conclusion. Google has not performed a legal analysis and makes no representation as to the accuracy of the date listed.)
Filing date
Publication date
Application filed by Seiko Epson Corp filed Critical Seiko Epson Corp
Priority to JP2009029917A priority Critical patent/JP5487635B2/ja
Publication of JP2010186035A publication Critical patent/JP2010186035A/ja
Publication of JP2010186035A5 publication Critical patent/JP2010186035A5/ja
Application granted granted Critical
Publication of JP5487635B2 publication Critical patent/JP5487635B2/ja
Expired - Fee Related legal-status Critical Current
Anticipated expiration legal-status Critical

Links

Images

Landscapes

  • Liquid Crystal (AREA)
  • Planar Illumination Modules (AREA)
  • Devices For Indicating Variable Information By Combining Individual Elements (AREA)

Description

本発明は、液晶装置等の電気光学装置およびそれを用いた電子機器に関する。更に詳しくは、液晶パネル等の電気光学パネルと、その電気光学パネルに光を照射するためのバックライトユニットとを備えた電気光学装置およびそれを用いた電子機器に関する。
従来、例えば液晶装置等の電気光学装置は、コンピュータや携帯電話その他各種電子機器の表示部などとして用いられ、特に液晶装置は軽量・薄型で消費電力も少ないことから各種電子機器の表示部として広く利用されている。また上記のような液晶装置等の電気光学装置においては、液晶パネル等の電気光学パネルの背面側に、いわゆるバックライトを備えたものが多く用いられている。
この種のバックライトは、照明用の光源と、その光源からの光を電気光学パネルに導くための導光板や光拡散板などを1つのユニットとして構成するのが一般的であり、そのようなユニット化したバックライトユニットを電気光学パネルの背面側に対向配置して該バックライトユニットからの光を上記パネルに背面側から照射することによって該パネルの正面側の画素領域に所望の画像等を表示するものである。
このようなバックライトユニットを備えた電気光学パネルを、1つの電気光学装置として構成する場合、もしくは各種の電子機器に実装する場合には、上記パネルとバックライトユニットとを実装ケース内に収容するのが一般的であり、例えば下記特許文献1には、光源45や光拡散板44等を上下ケース41・42間に配置してなるバックライトユニット(照明装置)40を、液晶パネル30及びその駆動用の回路基板50とともに、前面枠21とシールドカバー22とからなる実装ケース内に収容した構成が開示されている。
しかし、上記特許文献1のものは、液晶パネル30に接続したフレキシブルプリント配線基板31と、バックライトユニット40の光源45のリード線47とを互いに反対方向に引き出し、フレキシブルプリント配線基板31の他端を、実装ケース内に収容した回路基板50にコネクタ503を介して接続すると共に、その回路基板50の外部接続用コネクタ502に接続したフレキシブル接続線503を、実装ケースの背面側のシールドカバー22に形成した開口222から実装ケースの背面側に引き出した構成である。また上記リード線47は光拡散板44の周囲にコ字形に配置した光源45の両端部から下ケース42の背面側に導いた後、実装ケースのフレキシブルプリント配線基板31と反対側の側面に形成した孔から上記配線基板31と反対側に引き出した構成である。
そのため、上記の液晶装置を組立てる際には、液晶パネル30及びバックライトユニット40に接続される配線接続部材の引き回しや接続作業が煩雑かつ面倒で、それらの組み付け作業や接続作業に多大な労力と時間を要し、製造コストが増大するだけでなく、製造時の品質管理や製造後の保守点検およびメンテナンスがしずらく、またリワークやリペアも困難である等の不具合がある。
一方、下記特許文献2には、導光板とLEDパッケージ等からなるバックライトユニットを、液晶パネルの背面側に配置した状態で、実装ケースとしての略箱状の金属フレーム内に収容し、液晶パネルに接続したパネル駆動用のFPC(Flexible Printed Circuit)を金属フレーム内から外部に引き出すと共に、LEDパッケージの一対の電源端子を金属フレームに形成した開口部から外部に引き出し、その各電源端子の端部を金属フレームから引き出したFPC上の接続端子に半田付けして接続することが提案されている。
しかし、上記のようにLEDパッケージの電源端子を液晶パネル駆動用のFPCに接続するものは、例えば液晶パネルやLEDパッケージに電気的な故障や欠陥がある場合に、その発見が難しい。例えば通電時にバックライトが点灯しなかった場合、バックライトの故障か配線接続の不具合か即断できない場合がある。また液晶パネルまたはLEDパッケージのいずれかに故障や欠陥が見つかって、リワークやリペアを行う際には、電源端子とFPCとを分離するのが困難で無理に離すと、FPC上の配線が基板から剥離してしまう等のおそれがある。
特開2006−3500号公報 特開2005−99463号公報
本発明は上記の問題点に鑑みて提案されたもので、液晶パネル等の電気光学パネルと、バックライトユニットにそれぞれ接続したFPC等の可撓性基板の製造時の引き出しや組み付け作業、及び電気光学パネルやバックライトユニットの電気的な故障や欠陥の発見およびリワークやリペアが簡単で容易・安価に製造することのできる電気光学装置およびそれを用いた電子機器を提供することを目的とする。
本発明の一態様の電気光学装置は、電気光学パネルと、該電気光学パネルに対向して配置されたバックライトユニットとが実装ケースに収容された電気光学装置であって、前記電気光学パネルに電気的に接続された第1の可撓性基板と、前記バックライトユニットに電気的に接続された第2の可撓性基板とを備え、前記実装ケースは、前記電気光学パネル及び前記バックライトユニットを収容するフレームと、前記電気光学パネルの一方の面を覆い前記バックライトユニットと係合されるカバーと、を含み、前記フレームは、前記電気光学パネル及び前記バックライトユニットの側方に設けられた第1の側壁及び前記第1の側壁に対向するように配置された第2の側壁を有し、前記第1の側壁は、前記電気光学パネルの側方に形成された第1切欠部と、前記バックライトユニットの側方に形成された第2切欠部とを有し、前記第1の可撓性基板は、前記第1の側壁に形成された第1切欠部から引き出されており、前記第2の可撓性基板は、前記第1の側壁に形成された第2切欠部から前記第1の可撓性基板と同一方向に引き出され、前記カバーは、前記第1の側壁と前記第2の側壁との間に収まるように配置されることを特徴とする。
上記の本発明に係る電気光学装置およびそれを用いた電子機器は、以下の構成としたものである。すなわち、本発明による電気光学装置は、電気光学パネルと、該電気光学パネルに対向して配置されたバックライトユニットとが実装ケース収容された電気光学装置であって、前記電気光学パネルに電気的に接続された第1の可撓性基板と、前記バックライトユニットに電気的に接続された第2の可撓性基板とを備え、前記実装ケースは、前記電気光学パネル及び前記バックライトユニットの側方に設けられた側壁を有し、前記側壁は、前記電気光学パネルの側方に設けられた第1切欠部と、前記バックライトユニットの側方に設けられた第2切欠部とを有し、前記第1の可撓性基板は、前記側壁に設けられた第1切欠部から引き出されており、前記第2の可撓性基板は、前記側壁に設けられた第2切欠部から前記第1の可撓性基板と同一方向に引き出されることを特徴とする。
上記のように電気光学パネルに接続された第1の可撓性基板と、バックライトユニットに接続された第2の可撓性基板とを実装ケースからそれぞれ同一方向に引き出されるようにしたので、例えば上記電気光学装置を製造する際には、上記第1及び第2の可撓性基板をそれぞれ個別に引き出して接続したり、組付けることができる。また電気光学パネルやバックライトユニットの電気的な故障や欠陥の発見が容易であり、しかもリワークやリペアが簡単で容易・安価に製造することが可能となる。
上記第1及び第2の可撓性基板の実装ケースからの引き出し位置は適宜であるが、実装ケースの一側面から引き出されるようにするとよく、そのようにすると、製造時の可撓性基板の引き出し作業や検査や試験および電子機器への接続や組付け作業を実装ケースの一側面側のみで容易に行うことが可能となる。
上記実装ケースの構成も適宜であるが、電気光学パネルとバックライトユニットとを互いに対向配置させた状態で支持するためのフレームを備えるとよく、そのようなフレームを備えると、電気光学パネルとバックライトユニットとを互いに対向配置させた状態で良好に支持させることができる。
上記フレームは方形枠状に形成されたものが望ましく、このような方形枠状のフレームを用いると、その方形枠状のフレームの中央部分の開口部を介してバックライトユニットからの光を電気光学パネルに照射することができる。
また上記第1及び第2の可撓性基板の実装ケースからの引き出し長さは、そのいずれか一方が他方よりも長く形成されているのが望ましい。このようにいずれか一方の引き出し長さが他方よりも長く形成されていると、その第1の可撓性基板と第2の可撓性基板とを、外部の電源や制御回路等に接続する際に、各々別々に容易に接続できると共に、その接続時に上記両可撓性基板が互いに干渉したり、混線することなく、容易・迅速に、かつ良好に接続することが可能となる。
さらに、上記第1及び第2の可撓性基板の幅は、実装ケースの幅よりも狭く形成されているとよく、そのようにすると、例えば電気光学装置の製造時または検査時にトレー等に載置する際、もしくは製品を梱包する際に、嵩張ることがなく、多数の電気光学装置を整然と載置または梱包することができる。また第1及び第2の可撓性基板が実装ケースよりも幅方向外方に飛び出して他物と接触したり、それによって他物や可撓性基板上の配線が損傷もしくは断線するのを未然に防止することができる。
また本発明による電子機器は、上記のような電気光学装置を有することを特徴とする。上記のような電気光学装置を有することで、電子機器の構成が簡略化されると共に、部品点数および組立工数が削減され、容易・安価に製造することが可能となる。
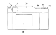
本発明による電気光学装置としての液晶装置の一実施形態を示す斜視図。 (a)は上記液晶装置の平面図、(b)はその側面図。 図1におけるA−A断面図。 図1におけるB−B断面図。 図1におけるC−C断面図。 (a)は上記液晶装置に用いる電気光学パネルとしての液晶パネルの具体的な構成の一例を示す平面図、(b)は(a)におけるb−b断面図。 (a)及び(b)は上記液晶装置を組み立てる際のプロセスの一例を示す側面側から見た説明図。 (a)及び(b)は上記液晶装置を組み立てる際のプロセスの一例を示す正面側から見た説明図。 本発明による電気光学装置としての液晶装置を用いた電子機器としてのデジタルカメラの背面図。
以下、本発明を液晶装置に適用した場合を例にして本発明による電気光学装置を、図に示す実施形態に基づいて具体的に説明する。図1は本発明による電気光学装置としての液晶装置の一実施形態を示す斜視図、図2(a)は上記液晶装置の一実施形態を示す平面図、同図(b)はその側面図、図3、図4及び図5はそれぞれ図2におけるA−A、B−B及びC−C断面図である。
本実施形態の液晶装置1は、図1〜図5に示すように電気光学パネルとしての液晶パネル2と、その液晶パネル2の背面側に配設されるバックライトユニット3とを、実装ケース内に収容するようにしたもので、その実装ケースは、本実施形態においては液晶パネル2とバックライトユニット3とを対向配置した状態で嵌合保持する保持部材であるフレーム4と、そのフレーム4に嵌合保持させた液晶パネル2の外面側(バックライトユニット3と反対側)を覆うようにして配設される遮光部材を兼ねるカバー5とよりなる。
上記フレーム4は、本実施形態においてはポリカーボネイト樹脂等の合成樹脂により図1〜図5に示すように全体的にやや扁平な直方体状で、周辺部に平面略方形枠状の側壁部41〜43を有し、その内方に、中央部に透光用の開口部44aを有する仕切板状の支持部44を一体に設けた断面略H字形に形成され、そのH字形フレーム4の一方の凹部(図の場合は上記支持部44よりも上側の凹部)40a内に液晶パネル2を、他方の凹部(図の場合は上記支持部44よりも下側の凹部)40b内にバックライトユニット3をそれぞれ嵌合保持させて収容するようにしたものである。
上記液晶パネル2及びバックライトユニット3は必要に応じて接着材や両面接着テープ等でフレーム4に固着してもよく、本実施形態においては液晶パネル2はフレーム4に接着材で固定されているが、図には省略した。また上記バックライトユニット3は、液晶パネル2に対して所定の領域以外に光が照射されるのを防ぐための遮光膜を兼ねる略方形枠状の両面接着テープ31を介してフレーム4の支持部44の一方の面(図の場合は下面)に固着した構成である。
カバー5は、本実施形態においてはステンレス等の金属板により、フレーム4内に収容した液晶パネル2の一方の面(図の場合は上面)を覆う平面部51と、その平面部51の幅方向(図4及び図5において左右方向)両端部に該平面部51と略直角に屈曲形成した対向面部52・52とからなる断面コ字形(チャンネル型)に形成され、上記平面部51で液晶パネル2のバックライトユニット3と反対側の面を覆い、上記対向面部52・52で、それぞれフレーム4の互いに対向する側壁部43・43の外面の一部を覆うように構成されている。上記各対向面部52・52は、側壁部43・43の外面に接するようにして配置され、平面部51の液晶パネル2の画素領域(表示領域)に対応する位置には、その部分を開口させて形成した表示窓5aが設けられている。
また上記実施形態においては、図3及び図5に示すように液晶パネル2とバックライトユニット3とをフレーム4に嵌合保持させた状態で液晶パネル2のバックライトユニット3と反対側の面をカバー5で覆い、そのカバー5の対向面部52・52をバックライトユニット3に係合させてカバー5とバックライトユニット3との間に液晶パネル2とフレーム4とを保持させる構成であり、上記カバー5の対向面部52・52をバックライトユニット3に係合させる手段として、図の場合は各対向面部52・52に係止孔5cを形成すると共に、その係止孔5cに係合する突起3cをバックライトユニット3の図5で左右両側の端部に、それと一体的に設けたものである。
さらに上記各側壁部43・43の外面側には、図2及び図4に示すように上記対向面部52よりも外側方に突出する張り出し部43aが上記各側壁部43と一体に設けられ、その張り出し部43aとの干渉を避けるようにして各対向面部52・52には、それぞれ切り欠き凹部52aが形成されている。また各対向面部52・52の切り欠き凹部52aの両側には、図2(b)に示すように下向きの舌状部52b・52bが一体に設けられ、その各舌状部52bに上記の係止孔5cが設けられている。その係止孔5cが係合する突起3cは、本実施形態においては上記各係止孔5cに対応してバックライトユニット3の図5で左右両側の端部にそれぞれ2つずつ設けられている。その突起3c及び係止孔5cの配置位置や個数は適宜変更可能である。
図2及び図5において、4cは上記各突起3cの近傍のフレーム4の側壁部43・43の外面にそれと一体に設けた案内突起で、その各案内突起4cのほぼ上半部には傾斜面4c1が設けられ、各係止孔5cをバックライトユニット3の突起3cに係合させる際に、舌状部52bの下端側を外方に押し開きながら案内突起4c及び突起3cを乗り越えさせることによって、舌状部52bに設けた係止孔5cに突起3cを係合させる構成である。
上記フレーム4の互いに対向する側壁部43・43と交差する方向において互いに対向する側壁部(図2及び図3において左右方向に対向する側壁部)41・42には、その対向する側と反対側(外側)の縁部外周に、それぞれフランジ状の突出部41a・42aが形成され、その両突出部41a・42a間に上記カバー5が配置されている。なお、上記各突出部41a・42aは、図2(b)及び図3に示すようにカバー5よりも外方(図で上方)に突出し、かつバックライトユニット3よりも外方(図で下方)に突出するように形成されている。
上記液晶パネル2の構成は適宜であるが、本実施形態は画素用のスイッチング素子として薄膜トランジスタを用いたアクティブマトリックス型の液晶パネルを使用したもので、その具体的な構成を図6に基づいて説明する。図6(a)は液晶パネル2の平面図、同図(b)は(a)におけるb−b断面図である。
上記液晶パネル2の薄膜トランジスタは、図6に示す石英やガラスもしくはシリコン等からなる素子基板(TFTアレイ基板)10上に設けられ、その素子基板10に対向してガラスや石英等からなる対向基板20が設けられている。その素子基板10と対向基板20とは、画素領域(画像表示領域)2aの周囲に設けたシール材24により相互に接着固定され、そのシール材24の内側の素子基板10と対向基板20との間に液晶を注入した液晶層25が設けられている。図6において、24aは上記シール材24の一部を欠落させて形成した液晶注入口、24bはその液晶注入口24aを塞ぐ封止材である。
上記シール材24の外側の領域、すなわち画素領域2aの外側の周辺領域には、不図示のデータ線に画像信号を所定のタイミングで供給することにより該データ線を駆動するデータ線駆動回路14及び外部回路接続端子15が素子基板10の一辺に沿って設けられている。また不図示の走査線に走査信号を所定のタイミングで供給することにより該走査線を駆動する走査線駆動回路16が、上記一辺に隣接する二辺と平行に且つシール材24の内側に設けた遮光膜26に対向する位置において素子基板10上に設けられている。さらに素子基板10の残る一辺には、上記二辺と平行に設けられた走査線駆動回路16の外部回路接続端子15側と反対側をつなぐための複数の配線17が設けられている。
上記シール材24の4つのコーナー部における素子基板10上には上下導通端子19が形成され、素子基板10と対向基板20相互間には、下端が上下導通端子19に接触し、上端が対向電極20に接触する上下導通材18が設けられており、その上下導通材18によって素子基板10と対向基板20との間で電気的な導通がとられている。素子基板10の内面側(液晶層25側)には画素を構成する画素電極12等が設けられ、その内側には配向膜13が設けられている。また対向基板20上には、その略全面にわたって対向電極22が設けられ、その内面側にも配向膜23が設けられている。その各配向膜13,23は、例えばポリイミド膜等の透明な有機膜で形成され、その表面にラビング処理等を施こすことによって、液晶層25内の液晶分子が所定の方向に配向されている。
上記図1〜図5に示す液晶装置1は、上記のように構成された液晶パネル2の素子基板10と対向基板20の外面側(液晶層25と反対側)に、それぞれ図6(b)のように偏光板11,21を配置した状態で、図3のように上下反転させてフレーム4内に収容配置した構成であり、その液晶パネル2に光を照射するバックライトユニット3は液晶パネル2の背面側(図3においては下側)に対向配置した状態でフレーム4内に収容配置されている。
なお、フレーム4内に収容配置する際の液晶パネル2やバックライトユニット3の向き及びフレーム4に対する嵌合構造等は適宜変更可能である。またバックライトユニット3は、LED等の光源からの光を導光体や光拡散板等を介して液晶パネル2の背面側に照射する構成であり、それらの構成部材をケーシング等で覆ってユニット化したものである。そのバックライトユニット3の構成部材や内部構造等は適宜変更可能であり、図示例においては構成部材や内部構造等は省略して全体的な外観形状のみを表したものである。
そして本発明は上記のように構成された電気光学装置としての液晶装置1における等電気光学パネルとしての液晶パネル2に電気的に接続された第1の可撓性基板29と、液晶パネル2に対向して配置されたバックライトユニット3に電気的に接続された第2の可撓性基板30とを備え、その第1と第2の可撓性基板29,30をそれぞれ実装ケースからそれぞれ同一方向に別々に引き出すようにしたものである。
上記第1の可撓性基板29および第2の可撓性基板30として、本実施形態においては液晶パネル2およびバックライトユニット3をそれぞれ外部の電源や信号入力源等に電気的に接続するための導電接続部材を兼ねるFPCを用いたもので、そのFPCの材質や構成は適宜であるが、例えばポリイミドフィルム等のベース材料上に圧延銅箔等による配線パターン(不図示)を形成し、その配線パターン上にカバー材料を被覆したもの等を用いることができる。
上記配線パターンは、一般に各可撓性基板29,30の長手方向と略平行に形成され、液晶パネル2に接続される第1の可撓性基板29にあっては、外部の電源や信号入力源等からの電力や信号を液晶パネル2に導くために多数の配線パターンが設けられている。また必要に応じてICチップ等が搭載される場合もある。一方、バックライトユニット3に接続される第2の可撓性基板30には、外部の電源からの電力をバックライトユニット3内の光源(不図示)に供給するための配線パターンが設けられ、必要に応じて上記光源の明るさ等を制御する信号入力用の配線パターン等が設けられる。
上記第1の可撓性基板29は、その一端29aを、図6(a)に示す液晶パネル2の素子基板10上の外部回路接続端子15に、図3に示すように異方性導電膜(ACF;Anisotoropic Conductive Film)28を介して接続し、他端29bを、フレーム4の側壁部41に形成した切欠凹部41bからフレーム4の外方(図の場合は図3において左方)に引き出した構成であり、また第2の可撓性基板30は、その一端30aをバックライトユニット3内の光源に適宜の手段で導電接続し、他端30bをフレーム4の側壁部41に形成した切欠凹部41cからフレーム4の外方(同上)に引き出した構成である。従って、上記第1の可撓性基板29と第2の可撓性基板30とは、実装ケースとしてのフレーム4から同一方向に引き出されている。
上記のように構成された液晶装置1を組み立てる際の手順等は適宜であるが、そのプロセスの一例を図7および図8に基づいて説明する。なお、図7は液晶装置1を側面側から見たもので、同図(a)は図2(a)のA−A線に沿う分解断面図、図7(b)は分解側面図である。また図8は液晶装置1を正面側から見たもので、同図(a)および(b)は図2(b)におけるC−C線に沿う断面図である。先ず、図7(a)および図8(a)に示すように液晶パネル2とバックライトユニット3とをフレーム4内に収容するもので、図の場合は液晶パネル2の対向基板20を下にして、該液晶パネル2を断面略H字形のフレーム4の上側の凹部40a内に挿入して嵌合保持させると共に、そのフレーム4の下側の凹部40b内にバックライトユニット3を挿入して嵌合保持させる構成である。その際、上記第1の可撓性基板29と第2の可撓性基板30は、図7に示すように、それぞれ液晶パネル2とバックライトユニット3から同方向(図の場合は左方)に引き出した状態でフレーム4の側壁部41に形成した切欠凹部41b,41cに係合させる。
次いで、図7(b)及び図8(b)のように上記フレーム4に嵌合保持させた液晶パネル2の外側(図の場合は上側)からカバー5を被せ、そのカバー5の対向面部52・52をフレーム4の側壁部43・43の外面に沿って下降移動させる。すると、図7(b)に示すカバー5の対向面部52・52に設けた舌状部52bの下端部が、図7(b)及び図8(b)に示す案内突起4cの傾斜面4c1に沿って外側方に押し開かれながら案内突起4c及び突起3cを乗り越えることによって、上記舌状部52bに設けた係止孔5cに突起3cが係合する。それによって上記カバー5がバックライトユニット3に連結される共に、そのカバー5とバックライトユニット3との間に液晶パネル2とフレーム4とが狭持された状態となり、それによって上記4つの部材2〜5が一体的に連結保持されるものである。
上記のように本発明による液晶装置等の電気光学装置は、液晶パネル2等の電気光学パネルと、該電気光学パネルの背面に配設されるバックライトユニット3とを、フレーム4やカバー5などからなる実装ケースに保持させるようにした電気光学装置において、電気光学パネルに電気的に接続された第1の可撓性基板29と、バックライトユニット3に電気的に接続された第2の可撓性基板30とを備え、その第1と第2の可撓性基板29,30をそれぞれ実装ケースからそれぞれ同一方向に別々に引き出すようにしたから、例えば電気光学装置を組み立てたり製造する際には、上記第1及び第2の可撓性基板29,30をそれぞれ別々に引き出して別々に組付けることができる。
また液晶パネル2やバックライトユニット3の検査や試験等を行う場合には、上記各可撓性基板29,30にテスターや検査機器を接続することによって、液晶パネル2やバックライトユニット3のそれぞれの電気的な故障や欠陥等を容易に発見することができる。またリワークやリペアを行う際には、第1の可撓性基板29と第2の可撓性基板30とが別々に設けられているので、従来のように分離する必要がなく、また無理に分離して配線が剥離する等の問題がないから極めて容易にリワークやリペアを行うことができる。
なお、上記第1及び第2の可撓性基板29,30の実装ケースからの引き出し位置は適宜であるが、前述のように実装ケースの一側面から引き出すようにするとよく、本実施形態においては実装ケースとしてのフレーム4の一側面、図の場合はフレーム4の側壁部41に形成した切欠凹部41b,41cから前方に引き出すようにしたものである。このように構成すると、製造時の可撓性基板の引き出し作業や検査や試験および電子機器への接続や組付け作業を実装ケースの一側面側のみで容易に行うことができる。
また上記実装ケースの構成も適宜であるが、前述のように電気光学パネルとバックライトユニットとを互いに対向配置させた状態で支持するためのフレーム、特に方形枠状のフレームを備えるとよく、本実施形態においては前述のように方形枠状のフレーム4に、電気光学パネルとしての液晶パネル2とバックライトユニット3とを互いに対向配置させた状態で嵌合保持させるようにしたものである。このように構成すると、液晶パネル2とバックライトユニット3とを互いに対向配置させた状態で簡単・確実に支持させることができると共に、フレーム4は方形枠状であるから、その中央部の開口部44aを介してバックライトユニット3からの光を液晶パネル2に良好に照射することができる。
また上記第1及び第2の可撓性基板29,30の実装ケースからの引き出し長さは、前述のように、そのいずれか一方が他方よりも長く形成されているのが望ましい。上記実施形態においては、液晶パネル2に接続した第1の可撓性基板29のフレーム4からの引き出し長さが、バックライトユニット3に接続した第2の可撓性基板30の引き出し長さよりも長くなるようにしたものであるが、上記第2の可撓性基板30の引き出し長さの方が第1の可撓性基板29よりも長くなるようにしてもよい。このようにいずれか一方の引き出し長さが他方よりも長くなるようにすると、その各可撓性基板29,30を、外部の電源や制御回路等に接続する際に、それぞれ別々に容易に接続することができると共に、その接続時に互いに干渉したり、混線することがなく、容易・迅速に接続作業を行うことができる。
さらに上記第1及び第2の可撓性基板29,30の幅(図2(a)で上下方向の寸法)は、前述のように実装ケースの幅よりも狭く形成されているのが望ましい。上記実施形態においては、第1の可撓性基板29の幅は、実装ケースとしてのフレーム4の幅(図2(a)における上下方向の寸法)よりも狭く形成され、第2の可撓性基板30の幅(同上)はフレーム4および第1の可撓性基板29の幅よりもかなり狭く形成されている。上記のように第1及び第2の可撓性基板29,30の幅を、フレーム4等の実装ケースの幅よりも狭く形成すると、液晶装置等の電気光学装置の製造時または検査時にトレー等に載置する際、もしくは製品を梱包する際に、嵩張ることがなく、多数の電気光学装置を整然と載置または梱包することができる。また第1及び第2の可撓性基板29,30がフレーム4等の実装ケースよりも幅方向外方に飛び出して他物と接触したり、それによって他物や可撓性基板上の配線が損傷もしくは断線するのを未然に防止することができるものである。
なお、上記実装ケースとしてのフレーム4から引き出された第1及び第2の可撓性基板29,30は、その厚さ方向(図2(b)で上下方向)において互いに重なるように配置するとよく、図の実施形態は、図1に示すように第1の可撓性基板29の幅方向一端側の縁部の下方の重なる位置に第2の可撓性基板30を配置した構成であるが、第1の可撓性基板29に対する第2の可撓性基板30の配置位置は適宜である。上記のように第1と第2の可撓性基板29,30が厚さ方向に互いに重なるように配置すると、上記可撓性基板29,30が幅方向に張り出しで嵩張ったり他物と接触するのを更に低減することが可能となる。
以上の実施形態は一例であり、例えば上記のようなフレーム4とカバー5とからなる実装ケースに限らず、その他各種の実装ケースにも適用することができる。また上記実施形態は、電気光学装置として液晶装置に適用し、電気光学パネルとしてアクティブマトリックス型の液晶パネルを用いた場合を例にして説明したが、パッシブマトリクス型の液晶パネルを用いてもよく、また液晶パネルに限らず、その他各種の電気光学パネルを用いて上記液晶装置と同様の構成の電気光学装置を得ることもできる。
さらに上記のように構成した電気光学装置を各種の電気機器の表示部や表示装置等として用いることができる。図9はその一例を示すもので、上記のように構成された電気光学装置として液晶装置1を、電子機器7としてのデジタルカメラ70におけるエレクトリカルビューファインダ(EVF)として用いたものである。図中71は画像表示モニタ、72はシャッタボタン、73はダイヤルスイッチ、74は電源ボタンである。
上記のように電気光学装置としての液晶装置1を、電子機器7としてのデジタルカメラ70におけるエレクトリカルビューファインダ(EVF)として用いた場合、電気光学パネルとして液晶パネル2に電気的に接続された第1の可撓性基板29と、その液晶パネル2に光を照射するためのバックライトユニット3に電気的に接続された第2の可撓性基板30とを上記フレーム4等の実装ケースからそれぞれ同一方向に別々に引き出したから、それらの可撓性基板29,30をデジタルカメラ70内の電源や信号入力源などに容易に接続することができる。また、その際の接続状況や液晶パネル2およびバックライトユニット3の動作状態その他各種の検査や試験を良好に行うことができると共に、リワークやリペアも容易に行うことができるものである。
また本発明による電気光学装置は、上記のようなデジタルカメラに限らず、その他各種の電気機器にも適用可能であり、例えば携帯電話機やPDA(Personal Digital Assistants)と呼ばれる携帯型情報機器、携帯型パーソナルコンピュータ、パーソナルコンピュータ、ワークステーション、デジタルスチルカメラ、車載用モニタ、デジタルビデオカメラ、液晶テレビ、ビューファインダ型、モニタ直視型のビデオテープレコーダ、カーナビゲーション装置、ページャ、電子手帳、電卓、ワードプロセッサ、ワークステーション、テレビ電話機、及びPOS端末機などの電子機器にも広く利用することができる。上記いずれの場合にも上記と同様の作用効果が得られる。
1…液晶装置(電気光学装置)、2…液晶パネル(電気光学パネル)、3…バックライトユニット、3c…突起、4…フレーム、4a…パネル側部分、4b…バックライト側部分、4c…突起、5…カバー、5a…表示窓、5c…係止孔、7…電子機器、10…素子基板、20…対向基板、11、21…偏光板、12…画素電極、22…対向電極、13、23…配向膜、24…シール材、25…液晶層、29…第1の可撓性基板、30…第2の可撓性基板、31…両面接着テープ、40a,40b…凹部、41〜43…側壁部、41a、42a…突出部、43a…張り出し部、44…支持部、44a…開口部、51…平面部、52…対向面部、61、62…被覆層、70…デジタルカメラ。

Claims (6)

  1. 電気光学パネルと、該電気光学パネルに対向して配置されたバックライトユニットとが実装ケースに収容された電気光学装置であって、
    前記電気光学パネルに電気的に接続された第1の可撓性基板と、前記バックライトユニットに電気的に接続された第2の可撓性基板とを備え、
    前記実装ケースは、前記電気光学パネル及び前記バックライトユニットを収容するフレームと、前記電気光学パネルの一方の面を覆い前記バックライトユニットと係合されるカバーと、を含み、
    前記フレームは、前記電気光学パネル及び前記バックライトユニットの側方に設けられた第1の側壁及び前記第1の側壁に対向するように配置された第2の側壁を有し、前記第1の側壁は、前記電気光学パネルの側方に形成された第1切欠部と、前記バックライトユニットの側方に形成された第2切欠部とを有し、
    前記第1の可撓性基板は、前記第1の側壁に形成された第1切欠部から引き出されており、前記第2の可撓性基板は、前記第1の側壁に形成された第2切欠部から前記第1の可撓性基板と同一方向に引き出され
    前記カバーは、前記第1の側壁と前記第2の側壁との間に収まるように配置されることを特徴とする電気光学装置。
  2. 前記実装ケースは、前記電気光学パネルと前記バックライトユニットとを互いに対向配置させた状態で支持するためのフレームを備えていることを特徴とする請求項1に記載の電気光学装置。
  3. 前記フレームは、方形枠状に形成されていることを特徴とする請求項2に記載の電気光学装置。
  4. 前記第1及び第2の可撓性基板の実装ケースからの引き出し長さは、そのいずれか一方が他方よりも長く形成されていることを特徴とする請求項1〜3のいずれかに記載の電気光学装置。
  5. 前記第1及び第2の可撓性基板の幅は、前記実装ケースの幅よりも狭く形成されていることを特徴とする請求項1〜4のいずれかに記載の電気光学装置。
  6. 請求項1〜5のいずれかに記載の電気光学装置を有することを特徴とする電子機器。
JP2009029917A 2009-02-12 2009-02-12 電気光学装置および電子機器 Expired - Fee Related JP5487635B2 (ja)

Priority Applications (1)

Application Number Priority Date Filing Date Title
JP2009029917A JP5487635B2 (ja) 2009-02-12 2009-02-12 電気光学装置および電子機器

Applications Claiming Priority (1)

Application Number Priority Date Filing Date Title
JP2009029917A JP5487635B2 (ja) 2009-02-12 2009-02-12 電気光学装置および電子機器

Related Child Applications (1)

Application Number Title Priority Date Filing Date
JP2013269348A Division JP5708783B2 (ja) 2013-12-26 2013-12-26 電気光学装置、電子機器、及び支持部材

Publications (3)

Publication Number Publication Date
JP2010186035A JP2010186035A (ja) 2010-08-26
JP2010186035A5 JP2010186035A5 (ja) 2012-02-16
JP5487635B2 true JP5487635B2 (ja) 2014-05-07

Family

ID=42766726

Family Applications (1)

Application Number Title Priority Date Filing Date
JP2009029917A Expired - Fee Related JP5487635B2 (ja) 2009-02-12 2009-02-12 電気光学装置および電子機器

Country Status (1)

Country Link
JP (1) JP5487635B2 (ja)

Family Cites Families (5)

* Cited by examiner, † Cited by third party
Publication number Priority date Publication date Assignee Title
JPH1164830A (ja) * 1997-08-21 1999-03-05 Citizen Watch Co Ltd 液晶表示装置
JP3436240B2 (ja) * 1999-07-14 2003-08-11 日本電気株式会社 フラットパネル型表示装置
JP2007233251A (ja) * 2006-03-03 2007-09-13 Mitsubishi Electric Corp 表示装置
JP3129206U (ja) * 2006-11-27 2007-02-08 船井電機株式会社 液晶モジュール
JP5076669B2 (ja) * 2007-06-20 2012-11-21 エプソンイメージングデバイス株式会社 電気光学装置、保持枠体及び電子機器

Also Published As

Publication number Publication date
JP2010186035A (ja) 2010-08-26

Similar Documents

Publication Publication Date Title
JP5386941B2 (ja) 電気光学装置及びその製造方法並びに電子機器
US8319109B2 (en) Electro-optical device and electronic apparatus
US7667798B2 (en) Liquid crystal display device
JP4244942B2 (ja) 液晶装置、照明装置、および電子機器
JP5257010B2 (ja) 電気光学装置及び電子機器
JP5458549B2 (ja) 電気光学装置及び電子機器
JP5262601B2 (ja) 電気光学装置および電子機器
CN107664863B (zh) 液晶显示装置
JP2010096801A (ja) 電気光学装置及び電子機器
JP2004341216A (ja) 電気光学装置用基板及びその製造方法、並びに該電気光学装置用基板を備えた電気光学装置及び電子機器
JP2009020272A (ja) 電気光学装置及び電子機器
US9069199B2 (en) Liquid crystal module and liquid crystal display device including the same
JP5487635B2 (ja) 電気光学装置および電子機器
JP5708783B2 (ja) 電気光学装置、電子機器、及び支持部材
JP7126844B2 (ja) 連結表示装置
JP5458550B2 (ja) 電気光学装置および電子機器
JP5257011B2 (ja) 電気光学装置および電子機器
JP2010073389A (ja) 面状光源装置及び液晶表示装置
JP5417808B2 (ja) 電気光学装置及び電子機器
KR101777127B1 (ko) 평판 표시장치 및 그 조립방법
KR20070056780A (ko) 액정표시장치
JP2007192853A (ja) 電気光学装置の製造方法
JP2005326473A (ja) 電気光学装置の製造方法、照明装置の製造方法、電気光学装置、照明装置及び電子機器
JPH08278511A (ja) 回路基板を有する装置および液晶表示装置
JP4857605B2 (ja) 電気光学装置、電気光学装置の製造方法及び電子機器

Legal Events

Date Code Title Description
A521 Request for written amendment filed

Free format text: JAPANESE INTERMEDIATE CODE: A523

Effective date: 20111221

A621 Written request for application examination

Free format text: JAPANESE INTERMEDIATE CODE: A621

Effective date: 20111221

A977 Report on retrieval

Free format text: JAPANESE INTERMEDIATE CODE: A971007

Effective date: 20121121

A131 Notification of reasons for refusal

Free format text: JAPANESE INTERMEDIATE CODE: A131

Effective date: 20121127

A02 Decision of refusal

Free format text: JAPANESE INTERMEDIATE CODE: A02

Effective date: 20131001

A521 Request for written amendment filed

Free format text: JAPANESE INTERMEDIATE CODE: A523

Effective date: 20131226

A911 Transfer to examiner for re-examination before appeal (zenchi)

Free format text: JAPANESE INTERMEDIATE CODE: A911

Effective date: 20140109

TRDD Decision of grant or rejection written
A01 Written decision to grant a patent or to grant a registration (utility model)

Free format text: JAPANESE INTERMEDIATE CODE: A01

Effective date: 20140128

A61 First payment of annual fees (during grant procedure)

Free format text: JAPANESE INTERMEDIATE CODE: A61

Effective date: 20140210

R150 Certificate of patent or registration of utility model

Ref document number: 5487635

Country of ref document: JP

Free format text: JAPANESE INTERMEDIATE CODE: R150

S531 Written request for registration of change of domicile

Free format text: JAPANESE INTERMEDIATE CODE: R313531

R350 Written notification of registration of transfer

Free format text: JAPANESE INTERMEDIATE CODE: R350

LAPS Cancellation because of no payment of annual fees