JP5392425B2 - 容器用プリフォーム及びその製造方法 - Google Patents

容器用プリフォーム及びその製造方法 Download PDF

Info

Publication number
JP5392425B2
JP5392425B2 JP2013013264A JP2013013264A JP5392425B2 JP 5392425 B2 JP5392425 B2 JP 5392425B2 JP 2013013264 A JP2013013264 A JP 2013013264A JP 2013013264 A JP2013013264 A JP 2013013264A JP 5392425 B2 JP5392425 B2 JP 5392425B2
Authority
JP
Japan
Prior art keywords
foamed
resin
foamable resin
preform
container
Prior art date
Legal status (The legal status is an assumption and is not a legal conclusion. Google has not performed a legal analysis and makes no representation as to the accuracy of the status listed.)
Active
Application number
JP2013013264A
Other languages
English (en)
Other versions
JP2013075531A (ja
Inventor
宣久 小磯
健太郎 市川
Current Assignee (The listed assignees may be inaccurate. Google has not performed a legal analysis and makes no representation or warranty as to the accuracy of the list.)
Toyo Seikan Group Holdings Ltd
Original Assignee
Toyo Seikan Kaisha Ltd
Priority date (The priority date is an assumption and is not a legal conclusion. Google has not performed a legal analysis and makes no representation as to the accuracy of the date listed.)
Filing date
Publication date
Application filed by Toyo Seikan Kaisha Ltd filed Critical Toyo Seikan Kaisha Ltd
Priority to JP2013013264A priority Critical patent/JP5392425B2/ja
Publication of JP2013075531A publication Critical patent/JP2013075531A/ja
Application granted granted Critical
Publication of JP5392425B2 publication Critical patent/JP5392425B2/ja
Active legal-status Critical Current
Anticipated expiration legal-status Critical

Links

Images

Landscapes

  • Blow-Moulding Or Thermoforming Of Plastics Or The Like (AREA)
  • Molding Of Porous Articles (AREA)
  • Processing And Handling Of Plastics And Other Materials For Molding In General (AREA)
  • Injection Moulding Of Plastics Or The Like (AREA)

Description

本発明は、発泡性樹脂層と非発泡性樹脂層とを有する共射出成形体より形成されている容器用プリフォームの製造方法及び該方法により得られる容器用プリフォームに関する。
現在、ポリエチレンテレフタレート(PET)に代表されるポリエステル容器は、透明性、耐熱性、ガス遮断性等の特性に優れており、種々の用途に広く使用されている。
一方、近年では、資源の再利用が強く求められ、上記のようなポリエステル容器に関しても、使用済みの容器を回収し、リサイクル樹脂として種々の用途への再利用が図られている。ところで、包装容器内に収容される内容物については、光により変質しやすいもの、例えばある種の飲料、医薬品、化粧品などは、顔料等の着色剤を樹脂に配合した樹脂組成物を用いて成形された不透明容器に収容されて提供される。しかるに、資源の再利用の点からは、着色剤の配合は望ましくなく(リサイクル樹脂に透明性を確保することが困難となってしまう)、このため、透明容器の使用が要求されているのが現状であり、従って、光変質性の内容物の収容に適した不透明性容器についてもリサイクル適性の改善が必要である。
着色剤を配合せずに遮光性(不透明性)を付与するためには、容器壁に気泡を存在させて発泡容器とすることが考えられ、このような発泡容器も種々提案されており、例えば、特許文献1には化学発泡剤を用いた発泡押出ブロー技術、特許文献2〜3には、樹脂に不活性ガスを含浸した後に加熱することにより発泡を行うマイクロセルラー技術を利用して得られる発泡成形品が提案されている。
特開2003−26137号 特開2005−246822号 特開2006−321887号
特許文献2〜3等で利用されているマイクロセルラー技術は、特許文献1で利用されている所謂化学発泡などと比較して極めて微細な発泡セルを形成することができるため、容器等の分野での実用化が期待されているものであるが、実用化にあたっては、未だ解決すべき課題が残されている。特許文献2で提案されている技術を延伸成形体に適用する場合には、得られた発泡成形品(プリフォーム)を延伸成形に供することとなるが、延伸成形体内部に微細なセルだけではなく大きなセルも多数形成されてしまうため、強度やガスバリア性の低下や十分な遮光性(光線透過率)を付与できない問題がある。また比重が1.35程度あって水に沈む性質を有するポリエチレンテレフタレートのように、リサイクル時に水に浮く性質を有するポリオレフィン系樹脂等と比重差を利用して分離されるような場合には、発泡セルが大きくなり過ぎて過度に軽量化(比重低下)してしまうと、比重分離が困難となってしまう問題がある。
また、特許文献3には、発泡樹脂層と発泡セルが分布していない非発泡樹脂により表皮層や芯層を形成した多層構造の部分発泡成形体が開示されており、このような部分発泡成形体では、非発泡樹脂層の形成により、発泡による各種特性の低下を回避できるのであるが、特性低下の回避には限界がある。即ち、特許文献3の部分発泡成形体は、発泡剤である不活性ガスを樹脂に含浸させた後、この不活性ガスの表面からの放出或いは発泡のための加熱条件の調整により非発泡樹脂層を形成することにより製造されるものであるため、非発泡樹脂層の厚み等が制限されてしまうからである。例えば非発泡樹脂層において、一定厚み以上の表皮層の形成は困難である。また、発泡樹脂層や非発泡樹脂層の数なども制限されてしまい、発泡による各種特性の低下という問題を解決するには至っていないのが現状である。
従って、本発明の目的は、微細かつ均一な大きさの発泡セルが分布している発泡樹脂層と共に、発泡セルが分布していない非発泡樹脂層とを有する多層構造を有しており、しかも非発泡樹脂層の厚み等の制限がなく、設計の自由度の高い部分発泡成形体が作成可能な容器用プリフォームを製造する方法及び該方法により得られる容器用プリフォームを提供することにある。
本発明の他の目的は、容器の形状に賦形するための延伸成形に供された場合にも、発泡セルが均一に分布している発泡樹脂層を有している部分発泡成形体が作成可能な容器用プリフォームの製造方法を提供することにある。
本発明によれば、
発泡剤が溶解した発泡性樹脂と発泡剤が溶解していない非発泡性樹脂とを用意する工程;
プリフォームの口部を非発泡性樹脂、胴部を発泡性樹脂及び非発泡性樹脂とし、
前記発泡性樹脂及び非発泡性樹脂を、少なくとも発泡性樹脂については、保圧をかけて発泡を抑制しながら、逐次または同時射出して冷却固化することにより、発泡性樹脂層と非発泡性樹脂層とを有する多層一次成形体を成形する共射出工程;
を含む容器用プリフォームの製造方法が提供される。
かかる製造方法で得られた容器用プリフォームは、次いで発泡工程及び延伸成形工程に供されて発泡容器とされる。
本発明によれば、また、口部が非発泡性樹脂から形成され、胴部が発泡性樹脂と非発泡性樹脂とから形成されている上記製造方法により得られた容器用プリフォームが提供される。
本発明の容器用プリフォームの製造方法においては、発泡剤が溶解した発泡性樹脂と発泡剤を用いていない非発泡性樹脂とを使用しての逐次または同時射出(以下、単に共射出と呼ぶことがある)により成形を行うため、形成される非発泡樹脂層の厚み等に制限がないばかりか、発泡樹脂層や非発泡樹脂層の数などの制限もなく、設計の自由度が極めて高く、目的とする特性に応じた層構造を採用することができる。
また、保圧をかけながら射出が行われるため、共射出時における発泡が有効に抑制されるため、得られる容器用プリフォームを次工程で発泡することにより形成される発泡樹脂層では、微細な発泡セルが均一に分布しており、例えば、平均セル径が5乃至50μmの範囲で且つその標準偏差は40μm以下であり、極めてシャープな粒度分布を有する。保圧をかけずに射出を行うと、射出によって発泡したプリフォームができ、該プリフォームを加熱する際セルが二次成長して大きくなってしまう。従って、本発明の容器用プリフォームを発泡後に延伸成形に付して得られる容器では、発泡樹脂層中の発泡セルの分布度合いや形状等が安定して一定であり、発泡樹脂層が分布している領域では、光透過率、気泡率、強度、ガス透過性などにバラツキがなく、安定した特性を示す。また、非発泡性樹脂層の厚みが目的に応じて設定されているため、例えば非発泡性樹脂層の厚みを厚くすることにより、発泡による軽量化を有効に低減し、使用済み容器の分別を効果的に行うことができ、さらに、発泡によるガスバリア性の低下を回避し、高いガスバリア性を確保することもできる。
本発明に従って製造される容器用プリフォームを発泡せしめた容器用発泡プリフォームの層構造の一例を示す図。 本発明に従って製造される容器用プリフォームを発泡せしめた容器用発泡プリフォームの層構造の他の例を示す図。 図1の容器用発泡プリフォームを延伸成形して得られる発泡延伸容器の層構造を示す図。
容器用プリフォームの製造及び発泡
本発明の容器用プリフォーム(多層一次成形体)の製造方法においては、先ず、発泡剤が溶解した発泡性樹脂と、発泡剤が溶解していない非発泡性樹脂とを用意する。
発泡性樹脂に用いる樹脂としては、不活性ガスの含浸が可能である限り特に制限されず、それ自体公知の熱可塑性樹脂を使用することができる。例えば、低密度ポリエチレン、高密度ポリエチレン、ポリプロピレン、ポリ1−ブテン、ポリ4−メチル−1−ペンテンあるいはエチレン、プロピレン、1−ブテン、4−メチル−1−ペンテン等のα−オレフィン同志のランダムあるいはブロック共重合体、環状オレフィン共重合体などのオレフィン系樹脂;エチレン・酢酸ビニル共重合体、エチレン・ビニルアルコール共重合体、エチレン・塩化ビニル共重合体等のエチレン・ビニル系共重合体;ポリスチレン、アクリロニトリル・スチレン共重合体、ABS、α−メチルスチレン・スチレン共重合体等のスチレン系樹脂;ポリ塩化ビニル、ポリ塩化ビニリデン、塩化ビニル・塩化ビニリデン共重合体、ポリアクリル酸メチル、ポリメタクリル酸メチル等のビニル系樹脂;ナイロン6、ナイロン6−6、ナイロン6−10、ナイロン11、ナイロン12等のポリアミド樹脂;ポリエチレンテレフタレート、ポリブチレンテレフタレート、ポリエチレンナフタレート、及びこれらの共重合ポリエステル等のポリエステル樹脂;ポリカーボネート樹脂;ポリフエニレンオキサイド樹脂;ポリ乳酸など生分解性樹脂;などを単独で或いは2種以上をブレンドして用いることができる。特に、この成形体を容器の成形に用いる場合には、オレフィン系樹脂やポリエステル樹脂が好適であり、中でもポリエステル樹脂は、本発明の利点を最大限に発揮させる上で最適である。
また、上記樹脂に溶解する発泡剤としては、炭酸ナトリウム等の化学発泡剤や不活性ガスなどを用いることができるが、特に微細で均一な発泡セルを生成させるという観点から不活性ガスが使用される。このような不活性ガスとしては、一般に、窒素ガスや炭酸ガスなどが使用される。
発泡剤の樹脂への溶解、例えば不活性ガスの溶解は、上述した樹脂の溶融物に不活性ガスを含浸させることにより行われるが、このような含浸は、射出成形機における樹脂混練部(或いは可塑化部)で加熱溶融状態に保持されている樹脂に所定圧力で不活性ガスを供給することにより行われる。このときのガスの含浸量を調節することにより、加熱により生成する発泡セルの個数等を調整することができる。例えば、ガス圧を高くし、ガス圧下での混練時間を長くするほど、ガスの含浸量を多くし、発泡セルの数を増大させることができる。
また、発泡剤が溶解していない非発泡性樹脂としては、通常、発泡性樹脂に用いたものと同種の樹脂が、発泡剤を溶解せずにそのまま使用されるが、目的に応じて、他の樹脂を使用することもできる。例えば、ガスバリア性を高めるために、エチレン−ビニルアルコール共重合体(エチレン−酢酸ビニル共重合体ケン化物)や芳香族ポリアミドなどのガスバリア性樹脂を用いることもできる。さらに、他の樹脂を用いるときには、発泡性樹脂層との接着性を高めるために、他の樹脂に発泡性樹脂をブレンドしたブレンド物や、無水マレイン酸等の不飽和カルボン酸でグラフト変性したオレフィン樹脂などの接着剤樹脂を、接着剤層形成のために使用することもできる。
このように、非発泡性樹脂としては、目的とする成形体の層構造に応じて、種々の樹脂を、発泡剤を溶解させずに使用することができる。
本発明において、上記の発泡性樹脂及び非発泡性樹脂は、形成すべき樹脂層の数の射出シリンダーを有するそれ自体公知の共射出成形機を用いて、射出金型内に逐次或いは同時射出して、該金型内に射出充填される。本発明では、この射出に際しては、少なくとも発泡性樹脂に関しては、該樹脂溶融物の射出を継続して行うことにより保圧が加えられる。この場合、他の樹脂溶融物(非発泡性樹脂の溶融物)の継続的な射出によって射出充填された発泡性樹脂に保圧が加えるようにすることも可能である。
保圧の程度(保圧圧力及び時間)は、発泡が効果的に抑制し得るように、不活性ガスの含浸量や樹脂温度等に応じて適宜設定されるが、一般的には、軽量化率が5%以下となるように設定すればよい。軽量化率は、下記式により実験的に求めることができる。
軽量化率=[(M−M)/M]×100
式中、Mは、不活性ガスを含浸させずにヒケ等の成形不良がないように条件設定して
射出することにより得られた成形体(例えばプリフォーム)の重量を示し、
は、不活性ガスを含浸させて得られたガス含浸プリフォームの重量を示す、
で表される。即ち、保圧圧力を大きくするほど軽量化率は低下し、また、保圧時間を長くするほど、軽量化率は低くなる。本発明において、最も好適には軽量化率が0%となるように、保圧条件を設定するのがよい。
また、射出に際しては、予め射出金型内に窒素ガス、炭酸ガス、エアー等を供給して金型内を、例えば1.0MPa以上の高圧に保持しておき、このように高圧に保持された金型内に発泡性樹脂及び非発泡性樹脂の溶融物を充填していくこともできる。このように高圧に保持された金型に射出充填することにより、発泡性樹脂の溶融物が流動していく際の破泡を有効に抑制することができ、スワールマークの発生を防止することができ、例えば、発泡性樹脂の層が表面に位置するような層構造においても、平滑度の高い表面を有する成形体を得ることができる。即ち、発泡性樹脂の溶融物が金型内を流動していくときに、発泡剤として溶解している不活性ガスの膨張により、破泡が生じ、これがスワールマークとなって成形体表面に現われ、表面平滑度が損なわれることがあるが、このような不都合は、高圧に保持された金型内に射出することにより、確実に回避することができる。
このように、本発明においては、保圧を加えての共射出成形により、発泡剤を含有する発泡性樹脂を使用していながら、発泡が有効に抑制された容器用プリフォーム(多層一次成形体)が得られる。また、発泡性樹脂が表面層を形成するような層構成においては、必要により高圧下に保持されている金型内に共射出を行うことにより、スワールマークが無く、高い表面平滑度を有している容器用プリフォームが得られる。例えば、この容器用プリフォームは、発泡が有効に抑制されているため、波長500nmの可視光線に対しての全光線透過率は75%以上であり、著しく透明性に優れている。また、表面に発泡性樹脂の層が形成される層構成においても、得られる容器用プリフォーム表面の最大高さPt(JIS B 0601)は10μm以下であり、著しく平滑性に優れている。
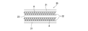
本発明においては、上記のようにして容器用プリフォームが得られ、これを加熱することにより、該プリフォーム中の発泡性樹脂の層中に発泡セルが生成し、発泡性樹脂の層は発泡セルが分布した発泡樹脂層となり、これにより、部分発泡した容器用発泡プリフォームが得られる。このような容器用発泡プリフォームの層構造の一例を図1及び図2に示した。
即ち、図1の例では、全体として20で示す容器用発泡プリフォームの壁部では、表面に非発泡樹脂からなる表皮層21,21が形成され、その間に発泡セルAが分布している発泡樹脂層22が形成されている。このような層構造では、表面に発泡樹脂層が露出していないため、極めて平滑性が高く、印刷適正も良好である。また、図2の例では、共射出成形体である容器用発泡プリフォームの壁部20には、表面に非発泡樹脂からなる表皮層21,21が形成され、中心部にも非発泡樹脂からなる芯層23が形成されており、表皮層21と芯層23との間に、発泡セルが分布している発泡樹脂層22が形成されている。このような層構造では、中心部に非発泡樹脂からなる芯層23が形成されているため、発泡樹脂層22(発泡セルA)の形成によるガスバリア性の低下を回避し、さらには強度低下を回避する上で好適である。
勿論、本発明において、このような容器用発泡プリフォーム壁部20の層構造は、発泡樹脂層と非発泡樹脂の層とが形成されている限り任意であり、例えば、一方の表面にのみ非発泡樹脂からなる表皮層21を形成することもできるし、このような表皮層21を全く形成しないこともでき、さらには、3層以上の発泡樹脂層22を形成することもできる。
また、一般的には、発泡樹脂層中の樹脂と非発泡樹脂層中の樹脂として、同一の樹脂(例えばポリエチレンテレフタレート等のポリエステル樹脂やポリエチレン等のポリオレフィン樹脂)が使用されていることが好適であるが、非発泡樹脂の層を異なる樹脂からなる複数の層とすることもできる。例えば、図2の芯層23の中心部を、ガスバリア性樹脂からなる層とし、ガスバリア性樹脂の層と発泡樹脂層22との間に接着剤樹脂からなる層とすることにより、ガスバリア性をさらに高めることもできる。
さらに、図1及び図2に示す層構造自体は、前述した特許文献3に示されており公知であるが、本発明では、このような層構造が共射出により形成されているため、層構造の自由度が高く、非発泡樹脂層の厚みに制限がなく、大きな厚みとすることもできるし、また、発泡樹脂層及び非発泡樹脂の層の位置や数も任意である。即ち、先行技術に示されている層構造は、壁部全体に発泡剤である不活性ガスが含浸されており、このガスの一部を放出したり、或いは加熱条件を調整し、壁部の厚みの一部分のみを発泡が生じるように加熱することにより形成されるため、非発泡樹脂層の厚みが制限され、その厚みには限界があり、発泡樹脂層及び非発泡樹脂の層の位置や数も制限を受ける。しかるに、本発明では、発泡剤が溶解した発泡性樹脂と発泡剤が含浸していない非発泡性樹脂との共射出により成形が行われるため、このような制限を全く受けず、目的とする特性に応じて任意の厚み及び層構造を採用することができる。
また、発泡セルが分布した発泡層22を形成するための加熱(即ち、非発泡の容器用プリフォームを部分発泡した容器用発泡プリフォームとするための加熱)は、発泡性樹脂に用いている樹脂のガラス転移点以上であり、このような加熱により、例えば樹脂中に溶解している不活性ガスの内部エネルギー(自由エネルギー)の急激な変化がもたらされ、相分離が引き起こされ、気泡として樹脂体と分離するため発泡が生じることとなる。尚、この加熱温度は、当然、成形体の変形を防止するために、発泡性樹脂及び非発泡性樹脂の融点以下、好ましくは200℃以下とするのがよい。この加熱温度が高すぎると、加熱後急激に発泡するためセル径の制御が難しくなり、外観も悪化し、さらには胴部の結晶化が進み二次成形性が低下する問題が発生する。
また、上記のような加熱は、例えば、オイルバスや赤外線ヒータなどを用いて容易に行うことができ、例えば、前述した特許文献3に示されているように選択的加熱を行うことにより、選択的に加熱された領域のみに発泡セルAを生成することができる。
本発明においては、ボトルを例にとると、最終的に得られるボトルの胴部(及び底部)を、前述した発泡性樹脂及び非発泡性樹脂を用いての共射出及び加熱により、胴部に相当する部分にのみ発泡セルが生成した発泡樹脂層22を形成し、口部に相当する部分を非発泡性樹脂で形成し、口部に相当する部分を非発泡性樹脂層になるように成形する。また、必要に応じて、胴部相当部分の一部のみを加熱して発泡セルが生成した発泡樹脂層22を形成することもできる。さらには、成形体或いは加熱手段を移動させながら加熱を行ったり、ヒータ等の加熱手段に温度分布を持たせることにより、発泡セルAの大きさが位置によって異なるような発泡樹脂層22を形成することも可能である。
さらに、口部に相当する部分を非発泡性樹脂で形成することにより、この部分を常法により選択的に加熱し、口部を熱結晶化させることができる。
ところで、図1及び図2に示されているように、発泡樹脂層22の内部に形成されている発泡セルA(以下、球状発泡セルと呼ぶことがある)は実質的に球形状であり、等方に分布している。特に、本発明では、前述した射出成形時の保圧によって成形時の発泡が抑制されているため、特に発泡セルAの径はかなり均一であり、著しくシャープな粒度分布を有するものとなる。
また、球状発泡セルAのセル密度(発泡樹脂層22での密度)は、前述した不活性ガスの溶解量に依存し、この溶解量が多いほど、セル密度を高くし、また球状発泡セルの径を小さくすることができ、溶解量が少ないほど、セル密度は小さく、発泡セルAの径は大きくなる。また、球状発泡セルAの径は、上記の加熱時間により調整することができ、例えば、発泡のための加熱時間が長いほど、球状発泡セルAの径は大きく、加熱時間が短いほど、球状発泡セルAは小径となる。本発明においては、上記の条件を調整し、例えば、発泡層22における球状発泡セルAのセル密度が10乃至1010cells/cm程度とし、平均径が3乃至50μm程度となるように設定することが、後述する延伸成形により、高い遮光性を付与する上で好適である。さらに、球状発泡セルAの平均径をこのような範囲に設定したとき、本発明では、射出成形時の保圧により成形時の発泡が防止されてシャープな粒度分布が確保されているため、その標準偏差は40μm以下、特に20μm以下である。
<延伸成形>
上記のようにして得られる部分発泡した容器用発泡プリフォームは、発泡による遮光性を有しており、延伸成形によって容器の形態の賦形することにより、その遮光性をさらに高めることができ、容器として使用される。
即ち、図1及び図2から理解されるように、上記で得られる発泡プリフォームでは、発泡樹脂層22中に生成している発泡セルAは、球形であるため、厚み方向での重なり度合いが低く、光の透過度合いが大きい。このために、延伸成形によって、発泡セルAを偏平形状とし、これにより、発泡領域での光の散乱・反射が多重に発生し、光透過率を低下させ、厚み当たりでさらに高い遮光性を付与することができるわけである。
延伸成形は、それ自体公知の方法で行われ、例えば、樹脂のガラス転移温度以上、融点未満の温度にプリフォームを加熱してのブロー成形或いはプラグアシスト成形に代表される真空成形などによって延伸され、これにより、偏平状の発泡セルが分布した発泡領域(例えば胴部)を有するボトルやカップ形状の容器が得られる。また、シート形状の発泡成形体を延伸成形して延伸フィルムを作製し、この延伸フィルムを用いて袋状容器を得ることもできる。
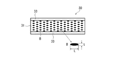
即ち、延伸成形体である発泡延伸容器の発泡領域における壁部の最大延伸方向に沿った断面を示す図3を参照されたい。この発泡延伸容器の壁部30には、図1の容器用発泡プリフォームに対応する層構造が形成されており、図1の発泡樹脂層22に対応して、偏平状発泡セルBが多数分布している発泡層31が形成され、その表面には、図1の表皮層21に対応して、適宜の厚みで発泡セルBが分布していない非発泡表皮層33が形成され、発泡セルBは、最大延伸方向に沿って引き伸ばされている。球形状発泡セルAを、延伸成形によって、このような偏平状の発泡セルBとすることにより、発泡領域の全体にわたって一定の重なり度合いを確保することができ、高い遮光性を発現させることができる。
例えばボトルのような容器においては、偏平状発泡セルBの平均長径L(最大延伸方向に沿った長さ)が400μm以下、特に200μm以下であり、且つ厚みtが50μm以下、特に30μm以下となるように、容器用発泡プリフォームに形成されている球形状発泡セルAの大きさに応じて、延伸倍率等の延伸条件を設定して延伸を行うことが好適である。即ち、偏平状発泡セルBの大きさを上記範囲内とすることにより、発泡層が存在する領域の全体にわたって高い遮光性を発現させ、且つ発泡による強度低下やガスバリア性の低下を有効に回避することができる。また、発泡による軽量化を低減させる上でも有利である。例えば、発泡成形体(プリフォーム)に形成されている球形状発泡セルAの大きさ等に応じて、軸方向(高さ方向)及び周方向の二軸方向に延伸されるブロー成形では、通常、この方向での延伸倍率が2乃至4倍程度となるように延伸され、軸方向のみについて一軸方向に延伸が行われるプラグアシスト成形などでは、この方向での延伸が最大延伸方向となり、上記と同様の延伸倍率で延伸を行って、上記のような大きさの偏平状発泡セルBが形成されるようにするのがよい。
また、表面に発泡樹脂層が露出した部分発泡の容器用発泡プリフォームを延伸成形するときには、特に表面側の発泡セルの平均長径Lが長く、内部に行くほど平均長径Lが短くなるような傾斜分布を示す傾向がある。この傾向は、延伸成形に際して、表面側では、金型との接触による冷却固化により発泡セルの成長が抑制されるが、内部では、温度の高い樹脂中に分布しているセルにブロー圧が加わるため、このブロー圧によってセルが押し潰されるために生じる。
尚、プラスチック成形品の分別回収では、比重差を利用してプラスチックの種類毎の分別が行われるが、軽量化率のコントロールができるため、容器用発泡プリフォームから得られる発泡延伸成形容器においても、発泡していない成形品と同様に比重差を利用して分別回収を行うことができるという利点がある。
また、上記の発泡延伸容器においては、層構造に応じて、前述したガス含浸量、発泡のための加熱条件及び射出成形後から加熱発泡するまでの時間などを調整し、壁部30の厚み方向に重なり合って存在している偏平状発泡セルBの個数を17個以上、好ましくは30個以上、最も好適には50個以上に設定するのがよく、これにより、光の散乱及び多重反射が増幅され、例えば波長500nmの可視光線に対しての全光線透過率が15%以下、特に10%以下、最も好適には5%以下となる。例えば、この全光線透過率が5%以下のときは、その遮光性は紙容器と同等のレベルとなり、特に容器の分野において、光により変質の生じやすい内容物を収容する上で極めて有利となる。
尚、上述した方法によって発泡延伸容器を製造するにあたっては、不活性ガスの溶解量が増大するにしたがい、樹脂のガラス転移点は直線的或いは指数関数的に減少する。また、ガスの溶解によって樹脂の粘弾性も変化し、例えばガス溶解量の増大によって樹脂の粘度が低下する。従って、このような不活性ガスの溶解量を考慮して、所定の個数で偏平状のセルBが厚み方向にオーバーラップするように各種条件を設定すべきである。
上述した本発明によれば、所定条件での共射出成形を採用することにより、発泡樹脂層及び非発泡樹脂層の厚みや数など、目的に応じた層構造を有する部分発泡の容器用発泡プリフォームを製造することができ、公知の技術に比して設計の自由度が高く、発泡による遮光性を確保しながら、発泡による強度低下やガスバリア性の低下などを有効に回避することができる。
21:表皮層(非発泡樹脂層)
22:発泡樹脂層
23:芯層(非発泡樹脂層)
A:球状発泡セル
B:偏平状発泡セル

Claims (4)

  1. 発泡剤が溶解した発泡性樹脂と発泡剤が溶解していない非発泡性樹脂とを用意する工程;
    プリフォームの口部を非発泡性樹脂、胴部を発泡性樹脂及び非発泡性樹脂とし、
    前記発泡性樹脂及び非発泡性樹脂を、少なくとも発泡性樹脂については、保圧をかけて発泡を抑制しながら、逐次または同時射出して冷却固化することにより、発泡性樹脂層と非発泡性樹脂層とを有する多層一次成形体を成形する共射出工程;
    を含む容器用プリフォームの製造方法。
  2. 前記共射出工程後に、口部を加熱して結晶化を行う請求項1に記載の製造方法。
  3. 口部が非発泡性樹脂から形成され、胴部が発泡性樹脂と非発泡性樹脂とから形成されている請求項1に記載の製造方法により得られた容器用プリフォーム。
  4. 口部が結晶化している請求項3に記載の容器用プリフォーム。
JP2013013264A 2013-01-28 2013-01-28 容器用プリフォーム及びその製造方法 Active JP5392425B2 (ja)

Priority Applications (1)

Application Number Priority Date Filing Date Title
JP2013013264A JP5392425B2 (ja) 2013-01-28 2013-01-28 容器用プリフォーム及びその製造方法

Applications Claiming Priority (1)

Application Number Priority Date Filing Date Title
JP2013013264A JP5392425B2 (ja) 2013-01-28 2013-01-28 容器用プリフォーム及びその製造方法

Related Parent Applications (1)

Application Number Title Priority Date Filing Date
JP2008112608A Division JP5239479B2 (ja) 2008-04-23 2008-04-23 部分発泡共射出成形体の製造方法及び部分発泡共射出成形体

Publications (2)

Publication Number Publication Date
JP2013075531A JP2013075531A (ja) 2013-04-25
JP5392425B2 true JP5392425B2 (ja) 2014-01-22

Family

ID=48479363

Family Applications (1)

Application Number Title Priority Date Filing Date
JP2013013264A Active JP5392425B2 (ja) 2013-01-28 2013-01-28 容器用プリフォーム及びその製造方法

Country Status (1)

Country Link
JP (1) JP5392425B2 (ja)

Family Cites Families (4)

* Cited by examiner, † Cited by third party
Publication number Priority date Publication date Assignee Title
CH566207A5 (ja) * 1972-12-07 1975-09-15 Siemag Siegener Masch Bau
MXPA06011806A (es) * 2004-04-16 2006-12-15 Advanced Plastics Technologies Articulos de mono y multiples capas y metodos de extrusion para producir los mismos.
JP4784149B2 (ja) * 2005-05-18 2011-10-05 東洋製罐株式会社 容器用プリフォーム及びプラスチック容器
JP4839708B2 (ja) * 2005-07-13 2011-12-21 東洋製罐株式会社 パール調外観を有するプラスチック容器

Also Published As

Publication number Publication date
JP2013075531A (ja) 2013-04-25

Similar Documents

Publication Publication Date Title
JP5018593B2 (ja) 発泡プラスチック容器
JP5414162B2 (ja) 遮光性プラスチック容器
JP5584987B2 (ja) 非発泡ガス含浸成形体及び発泡プラスチック容器
KR101233002B1 (ko) 진주와 같은 외관을 갖는 플라스틱 용기 및 그 제조 방법
WO2009119549A1 (ja) 延伸発泡プラスチック容器及びその製造方法
CN103958159B (zh) 发泡拉伸塑料容器及其制造方法
JP4839708B2 (ja) パール調外観を有するプラスチック容器
JP5929082B2 (ja) 発泡延伸プラスチック容器及びその製造方法
WO2013161813A1 (ja) 発泡延伸プラスチックボトル
JP5239479B2 (ja) 部分発泡共射出成形体の製造方法及び部分発泡共射出成形体
KR101731417B1 (ko) 올레핀계 수지제 발포 연신 성형체
JP5292593B2 (ja) 延伸発泡成形容器の製造方法及び該方法により製造される延伸発泡容器
JP5024166B2 (ja) 発泡プラスチック成形体及びその製造方法
JP5929101B2 (ja) 発泡樹脂成形品
JP4853110B2 (ja) 樹脂一体成形体の製造方法
JP5929085B2 (ja) 発泡延伸容器及びその製造方法
WO2014178346A1 (ja) 複合発泡容器
JP5392425B2 (ja) 容器用プリフォーム及びその製造方法
JP4784149B2 (ja) 容器用プリフォーム及びプラスチック容器
JP5954105B2 (ja) プロピレン系樹脂製発泡延伸成形体及びその製造方法
JP5195950B2 (ja) パール調外観を有するプラスチック容器の製造方法
JP5971131B2 (ja) ポリオレフィン樹脂製発泡延伸容器
JP6167638B2 (ja) 遮光性と鏡面光沢性とに優れた発泡延伸プラスチックボトル
JP6163850B2 (ja) 発泡延伸プラスチックボトル
JP5725124B2 (ja) 遮光性プラスチック容器の製造方法

Legal Events

Date Code Title Description
A621 Written request for application examination

Free format text: JAPANESE INTERMEDIATE CODE: A621

Effective date: 20130128

A711 Notification of change in applicant

Free format text: JAPANESE INTERMEDIATE CODE: A712

Effective date: 20130510

RD03 Notification of appointment of power of attorney

Free format text: JAPANESE INTERMEDIATE CODE: A7423

Effective date: 20130523

TRDD Decision of grant or rejection written
A01 Written decision to grant a patent or to grant a registration (utility model)

Free format text: JAPANESE INTERMEDIATE CODE: A01

Effective date: 20130917

A61 First payment of annual fees (during grant procedure)

Free format text: JAPANESE INTERMEDIATE CODE: A61

Effective date: 20130930

R150 Certificate of patent or registration of utility model

Ref document number: 5392425

Country of ref document: JP

Free format text: JAPANESE INTERMEDIATE CODE: R150

Free format text: JAPANESE INTERMEDIATE CODE: R150