JP5385168B2 - 通気見切材の端部部材及び建築物の外壁構造 - Google Patents

通気見切材の端部部材及び建築物の外壁構造 Download PDF

Info

Publication number
JP5385168B2
JP5385168B2 JP2010018239A JP2010018239A JP5385168B2 JP 5385168 B2 JP5385168 B2 JP 5385168B2 JP 2010018239 A JP2010018239 A JP 2010018239A JP 2010018239 A JP2010018239 A JP 2010018239A JP 5385168 B2 JP5385168 B2 JP 5385168B2
Authority
JP
Japan
Prior art keywords
ventilation
parting material
water
piece
wall
Prior art date
Legal status (The legal status is an assumption and is not a legal conclusion. Google has not performed a legal analysis and makes no representation as to the accuracy of the status listed.)
Active
Application number
JP2010018239A
Other languages
English (en)
Other versions
JP2011157697A (ja
Inventor
林  哲也
正美 藤戸
Current Assignee (The listed assignees may be inaccurate. Google has not performed a legal analysis and makes no representation or warranty as to the accuracy of the list.)
KMEW Co Ltd
Original Assignee
Kubota Matsushitadenko Exterior Works Ltd
KMEW Co Ltd
Priority date (The priority date is an assumption and is not a legal conclusion. Google has not performed a legal analysis and makes no representation as to the accuracy of the date listed.)
Filing date
Publication date
Application filed by Kubota Matsushitadenko Exterior Works Ltd, KMEW Co Ltd filed Critical Kubota Matsushitadenko Exterior Works Ltd
Priority to JP2010018239A priority Critical patent/JP5385168B2/ja
Publication of JP2011157697A publication Critical patent/JP2011157697A/ja
Application granted granted Critical
Publication of JP5385168B2 publication Critical patent/JP5385168B2/ja
Active legal-status Critical Current
Anticipated expiration legal-status Critical

Links

Images

Landscapes

  • Building Environments (AREA)

Description

本発明は、外壁材と壁下地との間の通気空間と屋外との間の通気性を確保する通気見切材の端部に取り付けて、通気見切材の端面を塞いだり、通気見切材同士を連結したりするために用いられる端部部材に関するものであり、またこの通気見切材と端部部材を設けた建築物の外壁構造に関するものである。
建築物の壁下地4に外壁材2を張って取り付ける場合、壁下地4と外壁材2との間に通気空間5を形成することがある。そしてこの通気空間5と屋外との間で通気性を確保することによって、壁下地4と外壁材2の間で湿気が上昇することを抑制し、外壁材2の内面や壁下地4にカビや腐食が発生することを防止することができるものである。
このように外壁材2の背面側に形成される通気空間5の上端は、例えば図10に示すように小屋裏48に連通されているのが一般的である。この場合、図10(a)の矢印のように通気空間5と小屋裏48との間で通気がなされ、通気空間5と屋外との通気性は小屋裏48と連通する換気棟等を介して確保される。
しかしこのように通気空間5と小屋裏48を連通させると、建築物の施工上の制約が大きくなってしまうという問題がある。また、既存の建築物の外壁を改装するために既存の外壁材を壁下地4として新たな外壁材2を取り付ける場合には、この新たな外壁材2と壁下地4の間に通気空間5を形成しても、この通気空間5を小屋裏48へ連通させることはできず、通気性を確保することができないという問題もある。
そこで、外壁材2の屋根3に臨む上端部に取り付けられる見切材1に、屋外と通気空間5との間の通気性を確保するための機能を付与することが行われている。図11に示す例では、外壁材2の上端部を覆う見切材1の内部に通気用の通路8を形成し、この見切材1に屋外側に連通する外開口6と、屋内側の通気空間5に連通する内開口7とを形成するようにしてある。このものでは図11(a)のa矢印に示すように、通気空間5と屋外との間の通気を内開口7と通気路8と外開口6を通して行なうことができるものであり、通気空間5と外気との通気性を見切材1によって確保することができるものである(特許文献1参照)。
この見切材1にあって、風が外開口6から見切材1内の通気路8に吹き込むと、風と共に雨水も通気路8内に侵入することになるが、通気空間5に臨んで開口する内開口7は外開口6よりも高い位置に形成されているので、内開口7から通気空間5へと雨水が浸入することを防ぐことができるようになっている。そして風と共に外開口6から通気路8に侵入した雨水は、通気路8内の傾斜面49によって外開口6の側へ流し戻され、外開口6から排水されるようになっている。
ここで、見切材1は、桁側の軒下に沿って水平に取り付けて使用する他、切妻屋根の妻側の壁面の軒下において、屋根3の傾斜に沿って斜めに取り付けて使用することもある。図9は妻壁に屋根3の傾斜に沿って見切材1を斜めに取り付けた状態を示すものである。また見切材1はジョイント37で長手方向に連結して使用されるものであり、見切材1の端部にはエンドキャップ52を取り付けて端面の開口を塞ぐようにしてある。
特開2002−317549号公報
上記のように見切材1の通気路8内に浸入した水は流し戻されて外開口6から排出されるが、上記の図9のように見切材1を屋根3の傾斜に沿って斜めに取り付けて使用する場合には、通気路8内に浸入した水が外開口6へと流し戻される間に、見切材1の傾斜に従って通気路8内を見切材1の長手方向に沿って流れることになる。そして見切材1の下側の端面の開口はジョイント37やエンドキャップ52で塞がれているので、見切材1内を長手方向に流れた水はジョイント37やエンドキャップ52で堰止められ、このジョイント37やエンドキャップ52の箇所に集められた状態で、外開口6から排出される。従って、見切材1内に浸入した水は、ジョイント37やエンドキャップ52で塞がれた端部に集中して多量の流れとして外開口6から排出されることになる。そして見切材1の外開口6は外壁材2の表面に近い位置にあるので、このように外開口6から水の流れとして排出された水は外壁材2の表面を流れることになり、水の流れで筋状の水垢の汚れが外壁材2に付着し易く、水垢による汚れが目だって発生するおそれがあるという問題を有するものであった。
本発明は上記の事由に鑑みてなされたものであり、通気路内に浸入した水を外壁材の表面に流して汚すようなことを効果的に抑制しつつ排水することができる通気見切材の端部部材を提供することを目的とするものであり、また通気見切材の通気路内に浸入した水が排水される際に、この水が外壁材の表面を流れて外壁材の表面を汚すようなことを効果的に抑制することができる建築物の外壁構造を提供することを目的とするものである。
本発明に係る通気見切材の端部部材は、外壁材2と壁下地4との間に形成される通気空間5と屋外との間の通気を確保する機能を有する見切材であって、外壁材2より屋外側において開口する外開口6と、通気空間5側に開口する内開口7と、外開口6と内開口7との間を連通する内部の通気路8とを備えて形成される通気見切材1において、通気見切材1の端部に取り付けられる端部部材Aであり、通気見切材1の端面を塞ぐ端部板29の屋外側端部に水止め片30を屋外側へ延出し、上記外開口6の直下に対応する位置において、水止め片30の通気見切材1側の面に、水止め片30の突出方向に沿って水ガイド片31を通気見切材1の側へ張り出して設けて成ることを特徴とするものである。
端部部材Aの端部板29にこのように水止め片30と水ガイド片31を設けることによって、通気見切材1内を横走りした水が端部部材Aでせき止められて、集められた状態で外開口6から排出されても、外開口6から排出された水はその直下に位置する端部部材Aの水ガイド片31で受けられ、水止め片30が突出する屋外方向へ水ガイド片31の上を流れた後に、外壁材2の表面から離れた位置で水ガイド片31の先端から流下されるものであり、この水が外壁材2の表面を流れることを効果的に防いで、水垢などが外壁材2に付着することを効果的に抑制することができるものである。
また本発明係る通気見切材の端部部材Aは、端部板29の片面に通気見切材1の端面と嵌合する嵌合片32を設けて形成され、この嵌合片32を通気見切材1の端部に嵌合させて通気見切材1の端面に取り付けることによって、エンドキャップ52として使用されるものであることを特徴とする。
エンドキャップ52は通気見切材1の端面を塞いで化粧を施すためのものであるが、通気見切材1内をその傾斜に沿って流れた水がこのエンドキャップ52で堰止められても、上記のように外開口6から排出された水を水止め片30と水ガイド片31で外壁材2の表面から離れた位置で流下させることができ、この水が外壁材2の表面を流れて水垢などが付着することを効果的に抑制することができるものである。
また本発明係る通気見切材の端部部材は、端部板29の両面にそれぞれ通気見切材1の端面と嵌合する嵌合片32を設けて形成され、端部板29の両側にそれぞれ配置された通気見切材1の端部に嵌合片32を嵌合させて、各通気見切材1の端面に取り付けることによって、一対の通気見切材1を連結するジョイント37として使用されるものであることを特徴とする。
ジョイント37は通気見切材1を連結するためのものであるが、通気見切材1内をその傾斜に沿って流れた水がこのジョイント37で堰止められても、上記のように外開口6から排出された水を水止め片30と水ガイド片31で外壁材2の表面から離れた位置で流下させることができ、この水が外壁材2の表面を流れて水垢などが付着することを効果的に抑制することができるものである。
本発明に係る建築物の外壁構造は、建築物の妻側の壁下地4の屋外側に外壁材2を取り付けると共に壁下地4と外壁材2との間に通気空間5を形成し、外壁材2の屋根3に臨む上端部に通気見切材1を配置すると共に通気見切材1を屋根3の勾配に沿って傾斜させた状態で取り付け、通気見切材1を、外壁材2より屋外側において開口する外開口6と、通気空間5側に開口する内開口7と、外開口6と内開口7との間を連通する内部の通気路8とを備えて形成し、端部板29の屋外側端部に水止め片30を屋外側へ延出すると共に水止め片30の延出方向に沿って水ガイド片31を水止め片30の少なくとも片面に張り出して設けて端部部材Aを形成し、通気見切材1の傾斜の下側の端面に端部部材Aを取り付けて端部板29で通気見切材1の端面を塞ぐと共に、端部部材Aの水ガイド片31を通気見切材1の外開口6の直下の位置に配置して成ることを特徴とするものである。
端部部材Aの端部板29にこのように水止め片30と水ガイド片31を設けることによって、通気見切材1内をその傾斜に沿って流れた水が端部部材Aでせき止められて、集められた状態で外開口6から排出されても、外開口6から排出された水はその直下に位置する端部部材Aの水ガイド片31で受けられ、水止め片30が突出する屋外方向へ水ガイド片30の上を流れた後に、外壁材2の表面から離れた位置で水ガイド片31の先端から流下されるものであり、この水が外壁材2の表面を流れることを効果的に防いで、水垢などが外壁材2に付着することを効果的に抑制することができるものである。
また本発明は、端部板29の片面に嵌合片32を設けると共に水止め片30の嵌合片32を設けた側と同じ側の片面に水ガイド片31を設けて、端部部材Aをエンドキャップ52として形成し、嵌合片32を通気見切材1の端部に嵌合することによって、エンドキャップ52を通気見切材1の端面に取り付けて成ることを特徴とするものである。
エンドキャップ52を通気見切材1の端部に取り付けて、通気見切材1の端面を塞いで化粧を施すにあたって、通気見切材1内をその傾斜に沿って流れた水がこのエンドキャップ52で堰止められても、上記のように外開口6から排出された水を水止め片30と水ガイド片31で外壁材2の表面から離れた位置で流下させることができ、この水が外壁材2の表面を流れて水垢などが付着することを効果的に抑制することができるものである。
また本発明は、端部板29の両面にそれぞれ嵌合片32を設けると共に水止め片30の少なくとも片面に水ガイド片31を設けて、端部部材Aをジョイント37として形成し、端部板29の両側にそれぞれ通気見切材1を配置すると共に端部板29の両側の各嵌合片32を各通気見切材1の端部に嵌合させることによって、ジョイント37で一対の通気見切材1を連結して成ることを特徴とするものである。
通気見切材1の端部にジョイント37を取り付けて通気見切材1を連結するにあたって、通気見切材1内をその傾斜に沿って流れた水がこのジョイント37で堰止められても、上記のように外開口6から排出された水を水止め片30と水ガイド片31で外壁材2の表面から離れた位置で流下させることができ、この水が外壁材2の表面を流れて水垢などが付着することを効果的に抑制することができるものである。
本発明によれば、端部部材Aの端部板29に上記のような水止め片30と水ガイド片31を設けることによって、通気見切材1内をその傾斜に沿って流れた水が端部部材Aでせき止められて、集められた状態で外開口6から排出されても、外開口6から排出された水はその直下に位置する端部部材Aの水ガイド片30で受けられ、水止め片30が突出する屋外方向へ水ガイド片30の上を流れた後に、外壁材2の表面から離れた位置で水ガイド片30の先端から流下されるものであり、この水が外壁材2の表面を流れることを効果的に防いで、水垢などが外壁材2に付着することを効果的に抑制することができるものである。
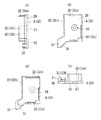
本発明の実施の形態の一例を示すものであり、(a)は一部破断した斜視図、(b)は通気水切材に端部部材としてエンドキャップを取り付けた状態の断面図、(c)は通気見切材に端部部材としてジョイントを取り付けた状態の断面図である。 本発明の実施の形態の一例の一部破断した断面図である。 本発明の実施の形態の一例の一部破断した正面図である。 本発明の実施の形態の一例におけるエンドキャップを示すものであり、(a)は正面図、(b)は側面図、(c)は平面図、(d)はパッキンを張った状態の側面図である。 本発明の実施の形態の一例におけるジョイントを示すものであり、(a)は正面図、(b)は側面図、(c)は平面図、(d)はパッキンを張った状態の側面図である。 本発明の実施の形態の一例における頂点カバーを示すものであり、(a)は側面図、(b)は正面図、(c)は底面図である。 本発明の実施の形態の一例における施工の手順を示すものであり、(a)乃至(d)はそれぞれ斜視図である。 本発明の実施の形態の一例における施工の手順を示すものであり、(a)乃至(d)はそれぞれ斜視図である。 妻壁への通気見切材の取り付け状態を示すものであり、(a)は家屋の全体を示す正面図、(b)は通気見切材の配置状態の正面図である。 従来技術の一例を示す図であり、(a)は概略断面図、(b)は破断した斜視図である。 従来技術の他例を示す図であり、(a)は概略断面図、(b)は破断した斜視図である。
以下、本発明を実施するための最良の形態について説明する。
通気見切材1は、アルミニウム押出成形品などで形成される二つの部材(基体12と仕切体17)の組み合わせで構成されているものであり、長尺の部材として形成されるものである。勿論、通気見切材1の構成はこのようなものに限定されるものではない。例えばアルミニウム押出成形などによって全体を一体成形品として形成するようにしてもよく、また金属製の板材に折り曲げ加工や打ち抜き加工等をして形成するようにしてもよい。
以下、通気見切材1が外壁材2の屋根3に臨む上端部に配置して取り付けられた状態を想定して、通気見切材1の構造を説明する。勿論、通気見切材1が取り付けられる位置はこのような位置に限定されるものではなく、例えば、一階と二階の境界付近で上下に位置する外壁材2、2間のように、壁面の途中において配置してもよい。通気見切材1は外壁材2の上端面の上方に配置される基体12と、基体12の内部に取り付けられる仕切体17とから形成されるものであり、基体12と仕切体17はいずれも長尺物である。
基体12は、上面板18と前面板20と背面板13から、下面開口の断面コ字形に形成されるものであり、その前面(屋外側の面)が前面板20となるものであって、この前面板20に縦断面波状の凹凸16が図3のように全長に亘って設けてある。基体12の前面板20にこのような凹凸16を形成することによって、通気見切材1の意匠性を向上し、通気見切材1が屋外に露出しても外壁の意匠性悪化を招かないようにすることができるものである。また凹凸16によって通気見切材1の強度を向上することができるものであり、さらに表面に雨水等の水が付着しても、この凹凸16によって表面の水切り性が高くなり、通気見切材1の表面に水滴が残留することを抑制できるものである。基体12の背面(屋内側の面)の背面板13は、下端が前面板20より下方へ延出されるように上下幅を広く形成してある。
仕切体17は背面が開口する断面略コ字形に形成されるものであり、上下の各背面側端部にはそれぞれ係合突部33aと引掛け突部33bが設けてある。一方、上記の基体12の背面板13に係合凹部27と引掛け受部28が設けてある。そして、仕切体17を基体12内に配置し、係合凹部27に係合突部33aを挿入係合させた状態で、この係合部33aを中心にして仕切体17を回動させて、引掛け受部28に引掛け突部33bを弾性的に引掛け係止させることによって、基体12内に仕切体17を固定することができ、通気見切材1を組み立てることができるものである。このように基体12内に仕切体17を取り付けることによって、通気見切材1内を通気路8と中空部15とに仕切ることができるものである。仕切体17には中空部15内において一対の固定具用凸部22が突設してあり、この固定具用凸部22で囲まれて、通気見切材1の長手方向両端部で開口する固定具用穴23が形成されるようにしてある。
上記のように基体12内に形成される通気路8は、基体12の屋外側下端部から上方へ向かう縦通気路8aと、この縦通気路8aと上下方向に連通し、且つこの縦通気路8aの上方から屋内側へ横方向に向かう横通気路8bから構成されている。仕切体17の前面の下部は傾斜しており、この傾斜によって、縦通気路8aの底部の内面に屋内側から屋外側へ向けて下り傾斜する外傾斜面9が形成されるようになっている。また仕切体17の上面は傾斜しており、この傾斜によって、横通気路8bの底部の内面に屋内側から縦通気路8aの上端へ向けて下り傾斜する内傾斜面11が形成されるようになっている。
通気見切材1の屋外側端部の下面には、通気見切材1の長手方向(横方向)に沿って長い外開口6が形成されている。この外開口6は、基体12の前面板20の下端と、仕切体17の前面の下端との間の隙間としてスリット状に形成されているものであり、通気路8の縦通気路8aの下端部はこの外開口6によって開口している。また基体12の背面板13の上端部に内開口7が形成してある。この内開口7は丸孔状、或いは通気見切材1の長手方向に沿って長い長孔状として形成してあり、通気見切材1の長手方向に沿って所定間隔で複数設けるようにしてある。この内開口7は通気路8の横通気路8bの屋内側端部において開口するものであり、これにより、外開口6と内開口7は通気路8を介して連通しているものである。ここで、内開口7は外開口6よりも上方に位置するものであり、内開口7と外開口6の高低差は適宜設定されるが、内開口7の下端と外開口6の上端との高低差が25〜70mmの範囲であることが好ましい。
ここで、基体12の前面板20の下端部を屋外側へ向けて斜め下方へ傾斜するように屈曲して傾斜部21aを形成すると共に、さらに傾斜部21aの下端を下方へ垂下するように屈曲して垂下部21bを形成し、傾斜部21aと垂下部1bとから構成される膨出部21が前面板20の下端部に形成されるようにしてある。傾斜部21aの傾斜角度は上記の外傾斜面9の傾斜角度とほぼ等しく形成してある。勿論、膨出部21の形状はこのような形状に限定されるものではなく、例えば、前面板20の下端を屋外側へ向けて水平に突出するものであってもよい。また仕切体17の屋外側端部の下面に下突片19が通気見切材1の長手方向全長に亘って突設してある。この下突片19は外開口6の屋内側の開口端縁に沿って配置されるものである。
また上記の通気路8内には、外傾斜面9の上方に、仕切体17から屋外側へ向けて突出する水返し10と、基体12の前面板20から屋内側へ向けて突出する水返し10とが、上下に並んで交互に複数設けられている。この複数の水返し10として、下方に位置するものから順に、第一の水返し10a、第二の水返し10b、第三の水返し10c、及び第四の水返し10dが設けられている。
最も下側に設けられている第一の水返し10aは、縦通気路8a内で仕切体17の外面から屋外側へ向けて突出している。この第一の水返し10aの位置は外傾斜面9の上方近傍であることが好ましく、例えば外傾斜面9の屋内側上端部と第一の水返し10aの縦通気路8aの内面からの突出位置との高低差が3〜10mmの範囲となるようにするのがよい。第二の水返し10bは、縦通気路8a内で前面板20の内面から屋内側へ向けて突出している。第三の水返し10cは、縦通気路8aの上端において仕切体17の外面から屋外側へ向けて突出している。この第三の水返し10cの上面は、上記の内傾斜面11の一部を構成している。第四の水返し10dは、縦通気路8aの上方の横通気路8b内で前面板20の内面から屋内側へ向けて突出している。これらの各水返し10は突出方向に向けて下り傾斜しているものであり、各水返し10の突出先端に下方へ水切片25を突設してある。また、最も下側に配置されている第一の水返し10aの先端の直下には外傾斜面9が位置し、それ以外の水返し10の先端の直下には、この水返し10の一つ下側の他の水返し10の上面が位置している。
上記のように形成される通気見切材1は、図1(a)及び図2に示すように、軒下の壁面において、外壁材2の屋根3に臨む上端部に取り付けて使用されるものである。すなわち、壁下地板や防水シート等で構成される壁下地4の屋外側外面に、上下方向の壁下構造材として縦胴縁46が壁下地4に沿って間隔をあけて複数本設けてあり、この縦胴縁46に外壁材2を固定することによって、外壁材2が壁面に張ってある。このため外壁材2と壁下地4との間に縦胴縁46が介在し、隣り合う縦胴縁46の間で、外壁材2と壁下地4との間に通気空間5が形成される。勿論、このように縦胴縁46によって通気空間5を形成するようにする他、一般的に通気金具と称される外壁材2の固定用金具を用いて通気空間5を形成するようにしてもよい。ここで壁下地4は、改装前の建築物における既存の外壁材であっても良く、この場合、壁下地4の屋外側に取り付けられる外壁材2は建築物の壁面の改装のための新たな外壁材2である。そしてこの外壁材2の屋根3に臨む上端部(軒天井材24と対向する端部)に配置して通気見切材1が取り付けられるものである。
通気見切材1は外壁材2の上端の上側に配置されるものであり、その背面板13の下端部を縦胴縁46に釘等の固定具45で固定すると、通気見切材1の取付け強度が高くなる。また通気見切材1の下面と外壁材2の上端面との間には屋内側にバックアップ材34を詰め、このバックアップ材34の屋内側にシーリング材35を充填することによって、防水処理が施してある。シーリング材35としては、例えば一般に湿式系と称される変性シリコン等から成るコーキング剤、乾式系と称される発泡樹脂や発泡ゴムなどからなるガスケットなどを使用することができる。バックアップ材34は樹脂等で形成されていてもよいが、板金等で形成された片ハット型のバックアップ材34を用いるようにしてもよい。また、通気見切材1の上面は軒天井材24に当接してあり、通気見切材1の前面板20の上端外面と軒天井材24の下面に三角シーリング材36を充填することによって、防水処理が施してある。
ここで、通気見切材1は、桁側の軒下に沿って水平に取り付けて使用することができるが、本発明では、切妻屋根の妻側の壁面の軒下において、屋根3の傾斜に沿って斜めに取り付けて使用するようにしてある。図9は妻壁に屋根3の傾斜に沿って斜めに取り付けた状態の通気見切材1を示すものであり、このとき、図1(a)に示すように、屋根の傾斜に合わせて斜めに切断した外壁材2の切断端面の上に通気見切材1を配置して取り付けることになる。
通気見切材1を上記のように妻壁に傾斜した状態で取り付けるにあたって、図9(b)のように通気見切材1を斜め上下方向に一直線にジョイント37で接続するようにしてあり、妻壁の頂部において頂点カバー50で両側の通気見切材1を接続するようにしてある。また端部に配置される通気見切材1の下側の端面には、エンドキャップ52を取り付けて、通気見切材1の端部の開口を塞ぐようにしてある。これらのエンドキャップ52とジョイント37は、いずれも通気見切材1の端部に取り付けられる端部部材Aであり、共通した構成を有する部材である。
次に、通気見切材1を妻壁に取り付ける施工の手順について説明する。まず端部に配置される通気見切材1にエンドキャップ52を取り付ける。図4にエンドキャップ52の一例を示す。このエンドキャップ52は、通気見切材1の端面の外形形状・寸法にほぼ合致する外形の端部板29の片面に嵌合片32を鍔状に突設して形成されるものである。この端部板29の屋外側の端部で且つ下端部の位置に、屋外側へ向けて斜め下方に水止め片30が一体に延設してあり、この水止め片30の下縁に沿って屋外側へ向けて斜め下方へ傾斜する水ガイド片31が突設してある。嵌合片32は端部板29の片面の3箇所に設けてあり、端部板29の上端縁に沿った嵌合片32aは、通気見切材1の基体12の上面板18と平行な形状に、端部板29の前端縁に沿った嵌合片32bは、通気見切材1の基体12の前面板20及びその膨出部21と平行な形状に、端部板29の後端縁から下端縁に沿った嵌合片32cは、通気見切材1の基体12の背面板20から仕切体17の下片と平行な形状に、それぞれ形成されるものである。端部板29の中央部には固定用孔57が穿設してある。尚、端部板29の嵌合片32を設けた側の面にはEPDM等のゴムなどのパッキン58を貼着するようにしてあり、パッキン58を貼着する範囲を図4(d)に示す。
そして図7(a)に示すように通気見切材1の端部にエンドキャップ52を配置し、図1(b)に示すように、嵌合片32aを通気見切材1の基体12の上面板18の下面に、嵌合片32bを通気見切材1の基体12の前面板20及びその膨出部21の外面に、嵌合片32cを通気見切材1の基体12の背面板20と仕切体17の下片の内面に、それぞれ差し込み嵌合することによって、通気見切材1の端部にエンドキャップ52を取り付けることができるものである。さらに固定用孔57を通したビス等の固定具60を仕切体17の固定具用穴23にねじ込むことによって、エンドキャップ52を通気見切材1の端部に固定することができるものであり、通気見切材1の端面の開口を端部板29で塞ぐことができるものである。このとき、エンドキャップ52に設けたパッキン58に通気見切材1の端面を圧接させることによって、防水性を確保できるようにしてある。そしてこのように通気見切材1の端部にエンドキャップ52を取り付けると、エンドキャップ52に設けた水ガイド片31の上端部に、通気見切材1の外開口6の端縁の下突片19の下端が当接乃至近接対向するようにしてある。従って、水ガイド片31は外開口6の直下に位置しているものである。尚、エンドキャップ52は通気見切材1の左側端部に取り付けるものと右側端部に取り付けるものの2種類が必要であるが、端部板29や水止め片30の左右いずれの片面に、嵌合片32や水ガイド片31、さらにパッキン58を設けるかの違いがあるだけであり、基本的な構成は同じである。
このようにエンドキャップ52を取り付けた通気見切材1を屋根3の傾斜に沿うように斜めに配置して、図7(b)のように、基体12の背面板13の下部を通してビス等の固定具45を縦胴縁46に打ち込むことによって、この通気見切材1を縦胴縁46に取り付けるものである。次に、この縦胴縁46に取り付けた通気見切材1に、他の通気見切材1を接続して連結する。
図5に、通気見切材1を連結するために用いられるジョイント37の一例を示す。このジョイント37は、通気見切材1の端面の外形形状・寸法にほぼ合致する外形の端部板29の両面に嵌合片32を突設して形成されるものである。この端部板29の屋外側の端部で且つ下端部の位置に、屋外側へ向けて斜め下方に水止め片30を一体に延設してあり、この水止め片30の両面にそれぞれ、その下縁に沿って屋外側へ向けて斜め下方へ傾斜する水ガイド片31が突設してある。上記の嵌合片32は端部板29の両面のそれぞれ3箇所に設けてあり、端部板29の上端縁に沿った嵌合片32aは、通気見切材1の基体12の上面板18と平行な形状に、端部板29の前端縁に沿った嵌合片32bは、通気見切材1の基体12の前面板20及びその膨出部21と平行な形状に、端部板29の後端縁から下端縁に沿った嵌合片32cは、通気見切材1の基体12の背面板20から仕切体17の下片と平行な形状に、それぞれ形成されるものである。端部板29の中央部には固定用孔57が穿設してある。尚、端部板29の両面にはそれぞれEPDM等のゴムなどのパッキン58を貼着するようにしてあり、パッキン58を貼着する範囲を図5(d)に示す。
そして図7(c)に示すように連結する側の通気見切材1の端部にジョイント37を配置し、図1(c)に示すように、端部板29の一方の面に設けた嵌合片32aを通気見切材1の基体12の上面板18の下面に、嵌合片32bを通気見切材1の基体12の前面板20及びその膨出部21の外面に、嵌合片32cを通気見切材1の基体12の背面板20と仕切体17の下片の内面に、それぞれ差し込み嵌合することによって、通気見切材1の端部にジョイント37を取り付けることができるものである。さらに固定用孔57を通したビス等の固定具60を仕切体17の固定具用穴23にねじ込むことによって、ジョイント37を通気見切材1の端部に固定することができるものであり、通気見切材1の端部の開口は端部板29で塞がれる。このとき、ジョイント37に設けたパッキン58に通気見切材1の端面を圧接させることによって、防水性を確保できるようにしてある。また、ジョイント37に設けた水ガイド片31の上端部に、通気見切材1の外開口6の端縁の下突片19の下端が当接乃至近接対向するようにしてある。従って、水ガイド片31は外開口6の直下に位置しているものである。尚、図5の実施の形態のように、水ガイド片31を水止め片30の両面に設けるようにすれば、左方向へ傾斜する通気見切材1を接続する場合にも、右方向へ傾斜する通気見切材1を接続する場合にも、同じジョイント37を共用することが可能になるものである。
このように連結する側の通気見切材1の端部にジョイント37を取り付けた後、上記のように縦胴縁46に取り付けた通気見切材1のエンドキャップ52を取り付けていない側の端部に、図7(d)の矢印のように、このジョイント37を接続する。ジョイント37の接続は、ジョイント37の突出する側の嵌合片32を上記と同様に通気見切材1の端部に差し込み嵌合することによって行なうことができる。このようにしてジョイント37を用いて一対の通気見切材1を一直線に連結することができるものであり、このとき図7(d)のように、通気見切材1を連結する箇所において縦胴縁46に防水テープ62を貼っておき、連結部の防水処理をするようにしてある。
上記のようにして妻壁の頂部を挟む両側にそれぞれ通気見切材1を取り付けた後、上側の通気見切材1の上端部間に頂点カバー50を取り付けて連結する。図6に頂点カバー50の一例を示す。頂点カバー50は、前片64の上端と下端に上片65と下片66を屈曲して設けることによって、背面側に開口する断面コ字形に形成されるものであり、下片66の後端に固定片67が下方へ垂下して設けてある。また頂点カバー50の左右両側端部において、前片64の下端部から下片65の前端部にかけて切り欠くことによって切欠部70が形成してある。さらに上片65を除いて、前片64から下片66、固定片67にかけて、通気見切材1の左右中央に切離し線68が切欠して設けてある。
そして図8(a)に示すように、切離し線68の部分において頂点カバー50の固定片67、下片66、前片64にかけて屋根勾配に合わせてカットし、上片65の中央部を逆V型に折り曲げることによって、図8(b)に示すように、屋根勾配に合うように屈曲した頂点カバー50に形成することができる。この頂点カバー50の両端部にはシーリング材69を施しておくのが好ましい。ここで、妻壁の頂部の部分において図8(c)のように通気見切材1は上端部同士を隙間を介して対向してあり、この通気見切材1の対向する端部の間に跨って頂点カバー50を配置し、頂点カバー50の左右両端部の前片64、上片65、下片66を通気見切材1の端部の外面に重ねることによって、図8(d)のように通気見切材1の対向する端部同士を連結することができるものである。そして、固定片67の重ね合わせた部分をビス等の固定具71で縦胴縁46に打ち付けることによって、頂点カバー50を固定することができるものである。このとき、通気見切材1の前面下端部の膨出部21は、頂点カバー50の切欠部70内に収められるようになっており、膨出部21が邪魔になるようなことなく、頂点カバー50を取り付けることができるようにしてある。また図8(c)のように通気見切材1の対向部分において縦胴縁46に防水テープ62が貼ってあり、頂点カバー50で通気見切材1を接続する部分の防水性を確保するようにしてある。
上記のようにして通気見切材1を備えて形成される建築物の外壁構造にあって、通気見切材1の外開口6が屋外に開口すると共に、内開口7が壁下地4と外壁材2との間の通気空間5に開口するので、外開口6、通気路8及び内開口7を通じて、通気空間5を屋外と連通させることができる。このように、通気空間5と外気との間の通気性を通気見切材1で確保することができるので、連通空間5内の空気は図1(a)のイ矢印のように、内開口7から通気見切材1内に流入し、通気路8を通過した後に、外開口6から排気される。従って、壁下地4と外壁材2との間の通気空間5内に湿気がこもったりして湿度が上昇することを抑制することができるものである。
また、風等により雨水等が外開口6から通気路8内に吹き込むなどして、図1(b)のロ矢印のように通気路8内に水が浸入しても、この水は外傾斜面9に誘導されて第一の水返し10aに遮られ、この第一の水返し10aから外傾斜面9へ落下し、この外傾斜面9の傾斜に沿って戻されて外開口6から屋外へ排出される。第一の水返し10aで遮られずに更に水が浸入しても、この水はまず縦通気路8aを進まなければならず、この縦通気路8aを登りきって水が屋内側へ浸入することは困難である。更に、外傾斜面9の上方には第一の水返し10aを含む複数の水返し10が屋内側と屋外側から交互に突出するように設けられているので、水の浸入は複数の水返し10によって遮られる。このとき、複数の水返し10を避けて水が浸入するための経路は上方に向かって蛇行する経路となり、このように経路が複雑化することにより、水の浸入が著しく困難になる。また、第一の水返し10aの上方の水返し10で遮られた水は、各水返し10の先端の水切片25から下方へ落下し、この水返し10の一つ下方の他の水返し10の上面で受け止められる。水返し10の上面の水はこの上面の傾斜によって水返し10の先端側へ誘導されて水切片25から下方へ落下し、最終的には外傾斜面9に達して外開口6から排出される。このため複数の水返し10で遮られた水は通気路8内に残留することなく外開口6へ効率良く送られて排出される。
また例え、水が横通気路8bまで浸入したとしても、縦通気路8aを通じて上方向に吹き上がった水が横通気路8bを横方向に移動して内開口7まで達するのは困難であり、この水は内開口7まで達することなく横通気路8bの底部に付着することになる。この横通気路8b内の底部に付着した水は内傾斜面11に沿って移動し、第三の水返し10cの先端から縦通気路8aへ落下して、水返し10で遮られた水と同様に外開口6から排出される。このため、横通気路8bまで浸入した水も通気路8内に残留することなく外開口6へ効率良く戻されて排出される。
ここで、通気路8内に浸入した水が排出される前に、強風時に気流が外開口6から通気路8内に勢いよく流れ込んで通気路8内の圧力が通気空間5内の圧力よりも高くなると、圧力差により通気路8から通気空間5へ向けて強い気流が発生して、この気流で通気路8内の水が内開口7から通気空間5側へ押し出されるおそれがある。しかしこの気流は水返し10によって効率よく遮蔽されるため、内開口7側の圧力の上昇は抑制される。このため、前記のような圧力差による水の浸入も効果的に防止されるものである。
このようにして、通気路8内に浸入した水が内開口7まで達することを効果的に防ぐことができるものであり、壁下地4と外壁材2との間の湿気の上昇を抑制することができるものである。また通気路8内の水は外開口6から効率良く排出されるため、通気路8内には水が残留し難くなるものであり、通気路8内で蒸発した水分が内開口7を介して通気空間5に流入することを防ぐことができ、壁下地4と外壁材2との間の湿気の上昇を更に有効に抑制することができるものである。尚、外壁材2は雄実と雌実の合いじゃくりで上下に接続されるが、この雄実や雌実の合いじゃくり面72を横走りする雨水は、図1(a)のハ矢印のようにシーリング材35で遮られて屋外面側へ排出され、防水性が確保されている。
ここで、横殴りの風が外壁材2に吹き当った場合、この風は図2のイ矢印のように、外壁材2の表面に沿って上昇することがある、このように外壁材2の表面に沿って上昇した風は通気見切材1の下面に当って屋外側へと向きを変え、通気見切材1の外開口6へと向かって進む。しかし外開口6の外壁材2側の端縁には下方へ突出する下突片16が設けてあるので、風はこの下突片16で遮られて図2のロ矢印のように下方へと向きを変えることになり、風が外開口6に流入することを防ぐことができるものである。従って、風と共に雨水が外開口6から浸入することを防ぐことができるものであり、通気見切材1の防水性を高いものとすることができ、通気空間5への雨水の浸入をより有効に防ぐことができるものである。
また、横殴りの風が通気見切材1に吹き当たった場合、図2のハ矢印のように、通気見切材1の前面板20に吹き当った風が前面板20の表面に沿って下降することがある。このように風が前面板20に沿って下降しても、図2のニ矢印のように、前面板20の膨出部21の傾斜部21aによって風の向きは屋外側へと変換される。このため、通気見切材1の下面にこの風が回り込むことを膨出部21で防ぐことができるものであり、風が下面の外開口6に流入することを防ぐことができるものである。従って、風と共に雨水が外開口6から浸入することを防ぐことができるものであり、通気見切材1の防水性を高いものとすることができ、通気空間5への雨水の浸入をより有効に防ぐことができるものである。また、前面板20に吹き当った風は、前面板20の全長に亘って上記のように設けた凹凸16によって、風向きがいくらか横方向に変換されるものであり、風が下面の外開口6に流入することをより効果的に防ぐことができるものである。
上記のように、外開口6から通気見切材1の通気路8内に浸入した雨水などの水は、通気路8内に残留することなく外開口6の側へ流し戻されて、外開口6から排出されるが、上記のように妻壁に取り付けられる通気見切材1は、屋根3の勾配に沿って長手方向に傾斜している。このため、通気路8内に浸入した水は、外開口6へと流し戻される間に、通気見切材1の傾斜に従って通気路8内を通気見切材1の長手方向に沿って流れることになる。そして通気見切材1の傾斜の下側の端部の開口はジョイント37やエンドキャップ52で塞がれているので、通気見切材1内を長手方向に流れた水はジョイント37やエンドキャップ52で堰止められ、このジョイント37やエンドキャップ52の箇所に集められた状態で、外開口6から排出される。
ここで、上記のようにジョイント37やエンドキャップ52には、端部板29に屋外側延出して水止め片30を設け、水止め片30に水ガイド片31を張り出して設けてあり、この水ガイド片31は通気見切材1の外開口6の直下に位置するようにしてある。従って、ジョイント37やエンドキャップ52で堰止められて集められた水が外開口6から排出されると、この水は直下に位置する水止め片30と水ガイド片31で受けられるものであり、図1(b)のイ矢印や、図1(b)の(ロ)矢印のように、水止め片30が突出する屋外方向へ水ガイド片31の上を流れた後に、外壁材2の表面から離れた位置で水ガイド片31の先端から流下される。このため、通気見切材1の外開口6から排出される水が外壁材2の表面を伝って流れるようなことを効果的に抑制しつつ、排水をすることができるものであり、外壁材2の表面に水の流れで水垢などが付着することを効果的に抑制することができるものである。
1 通気見切材
2 外壁材
3 屋根
4 壁下地
5 通気空間
6 外開口
7 内開口
8 通気路
29 端部板
30 水止め片
31 水ガイド片
32 嵌合片
37 ジョイント
52 エンドキャップ
B 端部部材

Claims (6)

  1. 外壁材と壁下地との間に形成される通気空間と屋外との間の通気を確保する機能を有する見切材であって、外壁材より屋外側において開口する外開口と、通気空間側に開口する内開口と、外開口と内開口との間を連通する内部の通気路とを備えて形成される通気見切材において、通気見切材の端部に取り付けられる端部部材であり、通気見切材の端面を塞ぐ端部板の屋外側端部に水止め片を屋外側へ延出し、上記外開口の直下に対応する位置において、水止め片の通気見切材側の面に、水止め片の突出方向に沿って水ガイド片を通気見切材の側へ張り出して設けて成ることを特徴とする通気見切材の端部部材。
  2. 端部板の片面に通気見切材の端面と嵌合する嵌合片を設けて形成され、この嵌合片を通気見切材の端部に嵌合させて通気見切材の端面に取り付けることによって、エンドキャップとして使用されるものであることを特徴とする請求項1に記載の通気見切材の端部部材。
  3. 端部板の両面にそれぞれ通気見切材の端面と嵌合する嵌合片を設けて形成され、端部板の両側にそれぞれ配置された通気見切材の端部に嵌合片を嵌合させて、各通気見切材の端面に取り付けることによって、一対の通気見切材を連結するジョイントとして使用されるものであることを特徴とする請求項1に記載の通気見切材の端部部材。
  4. 建築物の妻側の壁下地の屋外側に外壁材を取り付けると共に壁下地と外壁材との間に通気空間を形成し、外壁材の屋根に臨む上端部に通気見切材を配置すると共に通気見切材を屋根の勾配に沿って傾斜させた状態で取り付け、通気見切材を、外壁材より屋外側において開口する外開口と、通気空間側に開口する内開口と、外開口と内開口との間を連通する内部の通気路とを備えて形成し、端部板の屋外側端部に水止め片を屋外側へ延出すると共に水止め片の延出方向に沿って水ガイド片を水止め片の少なくとも片面に張り出して設けて端部部材を形成し、通気見切材の傾斜の下側の端面に端部部材を取り付けて端部板で通気見切材の端面を塞ぐと共に、端部部材の水ガイド片を通気見切材の外開口の直下の位置に配置して成ることを特徴とする建築物の外壁構造。
  5. 端部板の片面に嵌合片を設けると共に水止め片の嵌合片を設けた側と同じ側の片面に水ガイド片を設けて、端部部材をエンドキャップとして形成し、嵌合片を通気見切材の端部に嵌合することによって、エンドキャップを通気見切材の端面に取り付けて成ることを特徴とする請求項4に記載の建築物の外壁構造。
  6. 端部板の両面にそれぞれ嵌合片を設けると共に水止め片の少なくとも片面に水ガイド片を設けて、端部部材をジョイントとして形成し、端部板の両側にそれぞれ通気見切材を配置すると共に端部板の両側の各嵌合片を各通気見切材の端部に嵌合させることによって、ジョイントで一対の通気見切材を連結して成ることを特徴とする請求項4に記載の建築物の外壁構造。
JP2010018239A 2010-01-29 2010-01-29 通気見切材の端部部材及び建築物の外壁構造 Active JP5385168B2 (ja)

Priority Applications (1)

Application Number Priority Date Filing Date Title
JP2010018239A JP5385168B2 (ja) 2010-01-29 2010-01-29 通気見切材の端部部材及び建築物の外壁構造

Applications Claiming Priority (1)

Application Number Priority Date Filing Date Title
JP2010018239A JP5385168B2 (ja) 2010-01-29 2010-01-29 通気見切材の端部部材及び建築物の外壁構造

Publications (2)

Publication Number Publication Date
JP2011157697A JP2011157697A (ja) 2011-08-18
JP5385168B2 true JP5385168B2 (ja) 2014-01-08

Family

ID=44589875

Family Applications (1)

Application Number Title Priority Date Filing Date
JP2010018239A Active JP5385168B2 (ja) 2010-01-29 2010-01-29 通気見切材の端部部材及び建築物の外壁構造

Country Status (1)

Country Link
JP (1) JP5385168B2 (ja)

Families Citing this family (3)

* Cited by examiner, † Cited by third party
Publication number Priority date Publication date Assignee Title
JP5524988B2 (ja) * 2012-01-16 2014-06-18 積水化学工業株式会社 換気構造及び建物
JP5543986B2 (ja) * 2012-01-16 2014-07-09 積水化学工業株式会社 換気構造及び建物
JP5613346B2 (ja) * 2014-04-24 2014-10-22 積水化学工業株式会社 換気構造及び建物

Family Cites Families (2)

* Cited by examiner, † Cited by third party
Publication number Priority date Publication date Assignee Title
JPS5910408U (ja) * 1982-07-13 1984-01-23 ミサワホ−ム株式会社 小屋裏換気機能を有する化粧母屋
JP3542333B2 (ja) * 2001-03-23 2004-07-14 ニチハ株式会社 通気見切縁及びそれを使用した外壁施工構造

Also Published As

Publication number Publication date
JP2011157697A (ja) 2011-08-18

Similar Documents

Publication Publication Date Title
KR101575007B1 (ko) 담수레일 및 이를 포함하는 창호용 창틀
JP6205197B2 (ja) 建物の換気構造
JP2013129957A (ja) 建物の開口部構造
JP5379557B2 (ja) 通気見切材及び建築物の外壁構造
JP5457862B2 (ja) 通気見切材及び建築物の外壁構造
JP5385168B2 (ja) 通気見切材の端部部材及び建築物の外壁構造
JP6867110B2 (ja) 換気材及び換気構造
JP6803609B2 (ja) 換気構造体
JP6117546B2 (ja) ウェザストリップにおける水抜き構造
JP4928371B2 (ja) 建具周囲の排水構造
JP6882927B2 (ja) 通気部材のエンドキャップ及び外壁構造
KR101948734B1 (ko) 창호용 누수방지 부재
JP7752508B2 (ja) カーテンウォールユニット
JP6165010B2 (ja) 庇板および庇
JP5613346B2 (ja) 換気構造及び建物
JP5898414B2 (ja) 建物の外壁構造
JP5269264B1 (ja) 笠木下換気構造体
JP6270419B2 (ja) 外壁の排水通気構造
JP5269263B1 (ja) 笠木下換気構造体
JP6962542B2 (ja) 笠木構造体
JP2022089268A (ja) 外壁材上端換気装置
JP4969898B2 (ja) 建物用換気装置およびその取付方法
JP5237615B2 (ja) 棟換気用構造材
JP5877177B2 (ja) 外壁の止水構造および止水ユニット
JP7553933B2 (ja) 軒天換気材

Legal Events

Date Code Title Description
A621 Written request for application examination

Free format text: JAPANESE INTERMEDIATE CODE: A621

Effective date: 20121217

A977 Report on retrieval

Free format text: JAPANESE INTERMEDIATE CODE: A971007

Effective date: 20130726

TRDD Decision of grant or rejection written
A01 Written decision to grant a patent or to grant a registration (utility model)

Free format text: JAPANESE INTERMEDIATE CODE: A01

Effective date: 20130903

A61 First payment of annual fees (during grant procedure)

Free format text: JAPANESE INTERMEDIATE CODE: A61

Effective date: 20131003

R150 Certificate of patent or registration of utility model

Ref document number: 5385168

Country of ref document: JP

Free format text: JAPANESE INTERMEDIATE CODE: R150

Free format text: JAPANESE INTERMEDIATE CODE: R150