JP5374559B2 - 封止構造体 - Google Patents

封止構造体 Download PDF

Info

Publication number
JP5374559B2
JP5374559B2 JP2011205098A JP2011205098A JP5374559B2 JP 5374559 B2 JP5374559 B2 JP 5374559B2 JP 2011205098 A JP2011205098 A JP 2011205098A JP 2011205098 A JP2011205098 A JP 2011205098A JP 5374559 B2 JP5374559 B2 JP 5374559B2
Authority
JP
Japan
Prior art keywords
ring
cylindrical
cylindrical portion
axial direction
filling chamber
Prior art date
Legal status (The legal status is an assumption and is not a legal conclusion. Google has not performed a legal analysis and makes no representation as to the accuracy of the status listed.)
Active
Application number
JP2011205098A
Other languages
English (en)
Other versions
JP2013068232A (ja
Inventor
種昭 三浦
晃一 高久
航一 加藤
護人 朝野
浩靖 尾崎
Current Assignee (The listed assignees may be inaccurate. Google has not performed a legal analysis and makes no representation or warranty as to the accuracy of the list.)
Honda Motor Co Ltd
Original Assignee
Honda Motor Co Ltd
Priority date (The priority date is an assumption and is not a legal conclusion. Google has not performed a legal analysis and makes no representation as to the accuracy of the date listed.)
Filing date
Publication date
Application filed by Honda Motor Co Ltd filed Critical Honda Motor Co Ltd
Priority to JP2011205098A priority Critical patent/JP5374559B2/ja
Priority to CN201210352256.XA priority patent/CN103016739B/zh
Priority to US13/623,372 priority patent/US9845878B2/en
Priority to EP12185152.1A priority patent/EP2573433B1/en
Publication of JP2013068232A publication Critical patent/JP2013068232A/ja
Application granted granted Critical
Publication of JP5374559B2 publication Critical patent/JP5374559B2/ja
Active legal-status Critical Current
Anticipated expiration legal-status Critical

Links

Images

Classifications

    • FMECHANICAL ENGINEERING; LIGHTING; HEATING; WEAPONS; BLASTING
    • F16ENGINEERING ELEMENTS AND UNITS; GENERAL MEASURES FOR PRODUCING AND MAINTAINING EFFECTIVE FUNCTIONING OF MACHINES OR INSTALLATIONS; THERMAL INSULATION IN GENERAL
    • F16JPISTONS; CYLINDERS; SEALINGS
    • F16J15/00Sealings
    • F16J15/16Sealings between relatively-moving surfaces
    • F16J15/166Sealings between relatively-moving surfaces with means to prevent the extrusion of the packing

Landscapes

  • Engineering & Computer Science (AREA)
  • General Engineering & Computer Science (AREA)
  • Mechanical Engineering (AREA)
  • Gasket Seals (AREA)
  • Filling Or Discharging Of Gas Storage Vessels (AREA)
  • Pressure Vessels And Lids Thereof (AREA)

Description

本発明は、封止構造体に関する。
近年、燃料電池車等の開発が急速に進められ、その航続距離を延ばす一手法として、燃料電池に水素(燃料ガス、流体)を供給する水素タンク(ガスタンク)の高圧化が図られている。このような水素タンクは、その外形が円柱状を呈しており、アルミニウム合金等で形成され、内部に水素が充填される充填室(タンク室)を有する充填室体を備えている。
そして、充填室体の一端側には、充填室体と一体で、円筒状の口金部(円筒体)が形成され、この口金部に円柱状のバルブボディ(挿入部材)が挿入、螺合される。すなわち、バルブボディの外周面と、口金部の内周面には、ねじ部(雄ねじ部、雌ねじ部)がそれぞれ形成される。そして、口金部とバルブボディとの間には、水素の漏洩を防止するための環状のOリング(シールリング)が設けられる。なお、Oリングは一般にゴム製である。
ところが、充填室の圧力は水素の残量や温度に基づいて変動するため、Oリングが水素タンク(口金部)の軸方向において移動することになる。すなわち、水素の残量が多く充填室が高圧である場合、高圧の水素によってOリングは軸方向外向きに押圧されることなり、一方、水素の残量が少なく充填室が低圧である場合、低圧の水素によってOリングは軸方向内向きに吸引されることなる。なお、軸方向外向きは充填室から遠ざかる向きであり、軸方向内向きは充填室に近づく向きである。そして、このようにOリングに作用する圧力が高圧から低圧に変動し、作用する力の向きが交番となることから、この圧力は交番圧力と称される。
しかしながら、このようにOリングが軸方向に移動してしまうと、Oリングが本来存在すべきでない口金部とバルブボディとの間の極小隙間に食い込んで変形し、この変形によってOリングの外周面に傷等が形成されてしまい、Oリングのシール性が低下してしまう。
そこで、軸方向においてOリングの両側にバックアップリングをそれぞれ設け、この2つのバックアップリングによってOリングの軸方向における移動を規制し、Oリングの食い込み・変形に伴う損傷を防止する技術が提案されている(特許文献1〜2参照)。
特許第3543617号公報 特開2002−161983号公報
ここで、バックアップリング自体が充填室の圧力変動に伴って変形したのでは意味を成さないので、バックアップリングは、フッ素樹脂、ポリアミド樹脂、硬質ゴム、軽金属等の硬質材料で形成される。したがって、バックアップリング自体は殆ど伸びず変形しないので、無端(エンドレス)のバックアップリングを、例えばバルブボディの外周面に環状で形成された収容溝への装着することは、非常に困難となる。
そこで、バックアップリングの一部を切断して有端とすることで、バックアップリングの組み付け性を改善することが考えられる。ところが、高圧がOリングに作用すると、Oリングがバックアップリングの切断部分に食い込み、損傷してしまう虞がある。
そこで、本発明は、無端のバックアップリングを用いても容易に組み付け可能な封止構造体を提供することを課題とする。
前記課題を解決するための手段として、本発明は、内部に流体が充填される充填室を有する充填室体と、前記充填室体と一体で形成された円筒状の円筒体と、を有する充填室構造体と、前記円筒体に挿入され外形が円柱状の挿入部を有する挿入部材と、前記円筒体と前記挿入部との間に設けられ、流体をシールするOリングと、軸方向において前記Oリングの一方側に配置されると共に軸方向における前記Oリングの移動を規制する無端の第1バックアップリングと、を備え、前記円筒体の内周面には、径方向外向きに凹むことで、前記Oリング及び前記第1バックアップリングを収容する環状の収容溝が形成され、前記円筒体は、前記充填室体と一体である第1円筒部と、軸方向において前記第1円筒部と着脱可能である第2円筒部とを備え、前記第2円筒部が前記第1円筒部から脱離した場合、前記収容溝は軸方向において分割され外部に臨むことを特徴とする封止構造体である。
このような構成によれば、第2円筒部が第1円筒部から脱離している場合、収容溝が軸方向において分割され外部に臨む。これにより、無端の第1バックアップリングを拡径/縮径等の変形させずに、軸方向に移動させることで、収容溝に容易に収容できる。つまり、殆ど伸びない・変形しない硬質材料からなる無端の第1バックアップリングも、軸方向において分割され外部に臨んでいる収容溝に容易に組み付けできる。なお、Oリングと第1バックアップリングとの組み付け順は、適宜に変更してよい。
次いで、第2円筒部を第1円筒部に装着することで、円筒体及び収容溝が構成されると共に、この収容溝にOリング及び第1バックアップリングが収容された状態となり、軸方向においてOリング及び第1バックアップリングが収容溝の溝幅(軸方向における幅)で規制される。
次いで、この円筒体の中空部に挿入部材の挿入部を挿入することにより、Oリングが円筒体と挿入部との間に設けられた状態になると共に、封止構造体が構成される。
そして、このような封止構造体によれば、円筒体と挿入部との間に設けられたOリングが、流体を好適にシールする、つまり、充填室の流体が外部に漏れることはない。
また、充填室のおける流体の圧力変動により、Oリングが一方側に移動、つまり、一方側に寄ったとしても、Oリングは一方側に配置された第1バックアップリングに接触(当接)、つまり、バックアップ(規制)され、Oリングが円筒体と挿入部との隙間に食い込むことはない。これにより、Oリングが、大きく変形せず、また、その外周面が損傷することはなく、Oリングのシール性が低下することもない。
さらに、第1バックアップリングは無端であるので、Oリングがバックアップリングの切断部に食い込むこともなく、Oリングの外周面が損傷することもない。
また、前記封止構造体において、前記Oリングの他方側に配置されると共に軸方向における前記Oリングの移動を規制し、かつ、前記収容溝に収容される無端の第2バックアップリングを備えることが好ましい。
このような構成によれば、第2円筒部が第1円筒部から脱離している場合、第1バックアップリングと同様に、無端の第2バックアップリングを変形させずに、軸方向において外部に臨んでいる収容溝に容易に収容できる。
そして、各部品の組み付け後の封止構造体では、第2バックアップリングがOリングの他方側に配置された状態、つまり、軸方向において、Oリングが第1バックアップリングと第2バックアップリングとで挟まれた状態となる。
したがって、充填室のおける流体の圧力変動により、Oリングが他方側に移動、つまり、他方側に寄ったとしても、Oリングは他方側に配置された第2バックアップリングに接触(当接)、つまり、バックアップ(規制)され、Oリングが円筒体と挿入部との隙間に食い込むことはない。これにより、Oリングが、大きく変形せず、また、その外周面が損傷することはなく、Oリングのシール性が低下することもない。
すなわち、充填室のおける流体の圧力変動により、Oリングに交番圧力が作用したとしても、Oリングは、その両側に配置された第1バックアップリング及び第2バックアップリングによって、好適にバックアップ(規制)される。
また、第2バックアップリングは無端であるので、Oリングがバックアップリングの切断部に食い込むこともなく、Oリングの外周面が損傷することもない。
また、前記封止構造体において、前記第1円筒部は、前記挿入部の外径に対応した第1中空部と、前記第1中空部に連続すると共に前記第1中空部よりも大径で、前記第2円筒部の外径に対応した第2中空部と、を備え、前記第2中空部を囲む前記第1円筒部の内周面と前記第2円筒部の外周面とに、前記第1円筒部と前記第2円筒部とを螺合させるねじ部が形成されており、径方向において、前記ねじ部は前記収容溝よりも外側に配置されていることが好ましい。
このような構成によれば、第2中空部を囲む第1円筒部の内周面と第2円筒部の外周面とにそれぞれ形成され、第1円筒部と第2円筒部とを螺合させるねじ部によって、第1円筒部に対して第2円筒部を、容易に着脱(装着/脱離)できる。
そして、第2中空部は、第2円筒部の外径に対応すると共に、挿入部の外径に対応した第1中空部よりも大径であり、径方向において、ねじ部は収容溝よりも外側に配置されているので、ねじ部の周方向長さは、収容溝の周方向長さよりも長くなる。
これにより、第1円筒部に第2円筒部を螺合した場合において、軸方向において第1円筒部と第2円筒部とが離間せず、その螺合位置で保持する力、つまり、軸方向における第1円筒部と第2円筒部との組み付け強度は、径方向においてねじ部が収容溝よりも内側(中心軸側)に配置された構成に対して、大きくなる。すなわち、充填室の流体が大きく圧力変動したとしても、軸方向において第1円筒部と第2円筒部とが離間し難くなる。したがって、ねじ部の軸方向長さを短くでき、つまり、ねじ部におけるピッチ数を少なくすることもできる。また、ねじ部の軸方向長さを短くすれば、第1円筒部や第2円筒部の軸方向長さも短くできる。
本発明によれば、無端のバックアップリングを用いても容易に組み付け可能な封止構造体を提供できる。
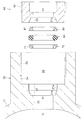
本実施形態に係る封止構造体の側断面図である。 本実施形態に係る封止構造体の側断面図であり、バルブボディ等を省略して記載している。 本実施形態に係る封止構造体の分解図である。 比較例に係る封止構造体の側断面図である。
本発明の一実施形態について、図1〜図3を参照して説明する。
ここでは、封止構造体を、水素(流体)が高圧で充填される水素タンクの口金部(ネック部)の構造に適用した場合を例示する。このような水素タンクは、例えば、燃料電池車に横置きで搭載され、燃料電池への水素供給源を構成する。ただし、使用形態はこれに限定されることはなく、例えば、定置型の燃料電池への水素供給源を構成する形態もある。
≪封止構造体の構成≫
図1に示すように、封止構造体1は、水素タンクの一部を構成すると共に、タンク本体10(充填室構造体)と、円柱状のバルブボディ50(挿入部材)と、Oリング60と、第1バックアップリング70と、第2バックアップリング80と、を備えている。
なお、水素タンクは、これらの他、タンク本体10の後記する充填室体11の外周面上に形成された補強層(図示しない)を備えている。補強層は、例えば、CFRP(Carbon Fiber Reinforced Plastics)等の繊維強化プラスチックで形成される。
<タンク本体>
タンク本体10は、例えばアルミニウム合金等の金属製であって、ライナーとも称される部品である。タンク本体10は、その外形が円柱状であって内部に充填室12(タンク室)を有する殻状の充填室体11と、充填室体11の一端部に充填室体11と一体で形成された円筒状の口金部20(円筒体)と、を備えている。
<タンク本体−口金部>
口金部20は、略円筒状を呈しており、充填室体11と一体で形成され充填室体11の一端部から軸方向外側に延びる円筒状の第1円筒部30と、軸方向において第1円筒部30と着脱可能である円筒状の第2円筒部40とを備えている。すなわち、口金部20は、軸方向において、分割面Dで第1円筒部30と第2円筒部40とに分割可能な分割構造となっている。
なお、軸方向は円柱状を呈する水素タンクの長手方向に、軸方向外側は外部側(図1の右側)に、軸方向内側は充填室12側(図1の左側)に、それぞれ対応している。
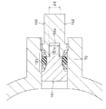
口金部20の内周面には、径方向外向きに凹んだ環状の収容溝21が形成されている(図2参照)。収容溝21は、Oリング60と、第1バックアップリング70と、第2バックアップリング80とを収容する溝である。
収容溝21は、軸方向において、分割面Dを跨ぐように、つまり、第1円筒部30と第2円筒部40とを跨ぐように配置されている。そして、第2円筒部40が第1円筒部30から脱離した場合、収容溝21も軸方向において第1半溝22と第2半溝23とに分割されるようになっている(図3参照)。第1半溝22は第1円筒部30に形成され、第2半溝23は第2円筒部40に形成されている。そして、第2円筒部40が取り外された状態において、第1半溝22は外部に臨むようになっている。
収容溝21の溝幅は、第1バックアップリング70の軸方向内側と、第2バックアップリング80の軸方向外側とに、それぞれ隙間が形成される程度に構成されている。
収容溝21の底面は、軸方向と平行な第1底面21aと、第1底面21aの軸方向内側に連続した第2底面21bと、第1底面21aの軸方向外側に連続した第3底面21cと、から構成されている(図2参照)。
第1底面21aは、Oリング60の外周面と密着する面である。
第2底面21bは、第1底面21aに向かうにつれて、溝深さが大きくなるように傾斜したテーパ面である。そして、第2底面21bには、第1バックアップリング70のテーパ状である外周面71(図3参照)が当接している。これにより、水素の放出により充填室12の圧力が低下し、Oリング60及び第1バックアップリング70に軸方向内向き(図1の左向き)の圧力が作用した場合、第1バックアップリング70が第2底面21bと後記する挿入部51の外周面54とで径方向において圧縮され、第2底面21b等とさらに密着することになる。したがって、Oリング60が、第1バックアップリング70と第2底面21b又は外周面54との隙間に食い込むことはない。
第3底面21cは、第1底面21aに向かうにつれて、溝深さが大きくなるように傾斜したテーパ面である。そして、第3底面21cには、第2バックアップリング80のテーパ状である外周面81(図3参照)が当接している。これにより、水素の充填により充填室12の圧力が上昇し、Oリング60及び第2バックアップリング80に軸方向外向き(図1の右向き)の圧力が作用した場合、第2バックアップリング80が第3底面21cと挿入部51の外周面54とで径方向において圧縮され、第3底面21c等とさらに密着することになる。したがって、Oリング60が、第2バックアップリング80と第3底面21c又は外周面54との隙間に食い込むことはない。
ここで、前記した分割面Dは、軸方向において、第1底面21aと第3底面21cとの境界位置に配置されている。そして、Oリング60から径方向外向きの力を受ける第1底面21aの径方向外側には、雄ねじ部42及び雌ねじ部35が配置されておらず、第1円筒部30の肉厚部分のみが存在している(図2参照)。これにより、Oリング60からの径方向外向きの力が、雄ねじ部42及び雌ねじ部35に作用することはない。よって、雄ねじ部42及び雌ねじ部35が変形し難くなり、第2円筒部40が装着不能/脱離不能となり難くなっている。
<タンク本体−口金部−第1円筒部>
第1円筒部30は、前記したように円筒状であって、充填室12に連通する第1中空部31と、第1中空部31の軸方向外側に連続し第1中空部31よりも大径の第2中空部32と、を備えている(図3参照)。すなわち、第1円筒部30の内周面は段違いとなっており、第1中空部31を囲む第1内周面33と、第2中空部32を囲む第2内周面34が形成されている。
第1中空部31は、バルブボディ50の後記する挿入部51の外径に対応しており、挿入部51が挿入されている。第2中空部32は、第2円筒部40の外径に対応している。
第1内周面33の軸方向外側には、第1半溝22が形成されている。
第2内周面34には、その途中から第1円筒部30の開口に向かって、雌ねじ部35が形成されている。雌ねじ部35は、第2円筒部40の雄ねじ部42と、バルブボディ50の雄ねじ部53と螺合する溝である(図1参照)。
<タンク本体−口金部−第2円筒部>
第2円筒部40は、第1円筒部30に装着されることで、口金部20の一部を構成する円筒状の部品である。
第2円筒部40の中空部41(図2参照)は、第1円筒部30の第1中空部31と同様に、バルブボディ50の後記する挿入部51の外径に対応しており、挿入部51が挿入されている。
第2円筒部40の外周面の軸方向外側には雄ねじ部42が形成されている。雄ねじ部42は第1円筒部30の雌ねじ部35と螺合しており、第2円筒部40は第1円筒部30に直接固定されている。
ここで、雄ねじ部42及び雌ねじ部35は、径方向において、収容溝21よりも外側に配置されており、第1円筒部30と第2円筒部40との組み付け径φ1は、図4に示す構造の組み付け径φ2よりも大きくなっている。
これにより、軸方向において、第1円筒部30と第2円筒部40との組み付け強度は、図4に示す挿入部151と基部152との組み付け強度よりも大きくなっている。したがって、例えば、水素の充填により充填室12が高圧になっても、雄ねじ部42及び雌ねじ部35が変形し難くなり、第2円筒部40が軸方向外側に移動し難くなる。よって、充填室12における最大充填圧力を高めることが可能となる。ゆえに、水素タンクが燃料電池車に搭載された構成である場合、燃料電池車の航続距離が長くなる。
なお、図4の構成は、全体太さが図1の挿入部51と同等であるバルブボディ150の外周面に、径方向内向きに凹む収容溝121を形成すると共に、バルブボディ150を挿入部151と基部152とに分割可能構成としたものである。挿入部151の軸方向外側端には外周面に雄ねじ部を有するねじ151aが形成されており、基部152の軸方向内側端には内周面に雌ねじ部を有し、ねじ151aと螺合するねじ穴152aが形成されている。そして、ねじ151aの外径及びねじ穴152aの内径が、組み付け径φ2に対応している。
<バルブボディ>
バルブボディ50は、概ね、段違いの外周面を有する円柱状を呈している。
ここでは、バルブボディ50は、簡単に説明するため、図1に示すように、中実である構成を例示しているが、実際には、バルブボディ50は、例えば、特開2011−149502号公報に記載されるように、開くことで充填室12の水素を外部(燃料電池等)に放出する電磁弁の一部を構成する。この場合、バルブボディ50内には、充填室12と外部とを連通し水素を放出するための放出流路が形成され、挿入部51の充填室12側に、前記放出流路の充填室12側開口を開閉する弁体、弁体を軸方向に往復運動させるプランジャ及びソレノイド等が配置される。
その他、バルブボディ50内に、水素を充填するための充填流路や、所定圧力以上となった場合に水素を外部に放出するためのリリーフ用流路が形成される場合もある。
このようなバルブボディ50は、小径の円柱状を呈する挿入部51と、挿入部51の軸方向外側に連続的に形成された基部52と、を備えている。
<バルブボディ−挿入部>
挿入部51は、第1円筒部30の第1中空部31と、第2円筒部40の中空部41とに挿入されている。
<バルブボディ−基部>
基部52は、挿入部51よりも大径の円柱状を呈しており、その外周面の充填室12側には、雄ねじ部53が形成されている。雄ねじ部53は、前記した第1円筒部30の雌ねじ部35に螺合している。
<Oリング>
Oリング60は、環状を呈しており、ゴム等の弾性材料から形成されている。
Oリング60は、口金部20(第1円筒部30)と挿入部51との間であって、収容溝21に収容されている。Oリング60は、径方向において、収容溝21の第1底面21aと挿入部51の外周面54とで圧縮され変形している。これにより、Oリング60のシール機能が良好に発揮され、水素が外部に漏れないようになっている。
<第1、第2バックアップリング>
第1バックアップリング70及び第2バックアップリング80は、口金部20と挿入部51との極小隙間へのOリング60の食い込みを防止するため、軸方向におけるOリング60の移動を規制するリングである。第1バックアップリング70及び第2バックアップリング80は、フッ素樹脂、ポリアミド樹脂、硬質ゴム、軽金属等の硬質材料で形成されており、充填室12の圧力が変動し交番圧力が作用したとしても、バックアップリング自体が変形しないようになっている。第1バックアップリング70及び第2バックアップリング80は、周方向において切断されておらず、無端(エンドレス)である。
第1バックアップリング70及び第2バックアップリング80は、収容溝21に収容されている。詳細には、第1バックアップリング70は、Oリング60の軸方向内側(一方側、図1の左側)に配置されており、第2バックアップリング80は、Oリング60の軸方向外側(他方側、図1の右側)に配置されている。すなわち、軸方向において、Oリング60は、第1バックアップリング70と第2バックアップリング80とで挟まれている。
これにより、水素の充填により充填室12の圧力が上昇したり、水素の放出により水素の圧力が低下したりして、Oリング60が、図1の左右に移動したとしても、つまり、Oリング60に交番圧力が作用したとしても、Oリング60が第1バックアップリング70又は第2バックアップリング80で移動規制されるようになっている。したがって、Oリング60が、前記した隙間に食い込むことはなく、Oリング60の外周面が損傷することもない。
また、第1バックアップリング70及び第2バックアップリング80は、前記したように無端(エンドレス)であり、周方向において切断部分を有さない。これにより、充填室12の圧力が変動し、Oリング60に交番圧力が作用したとしても、Oリング60が前記切断部分に食い込むことはなく、Oリング60の外周面が損傷することもない。
≪封止構造体の効果≫
このような封止構造体1によれば、第1バックアップリング70及び第2バックアップリング80が、無端(エンドレス)であり、周方向において切断部分を有さないので、Oリング60に交番圧力が作用したとしても、Oリング60が前記切断部分に食い込むことはなく、Oリング60の外周面が損傷することもない。これにより、Oリング60によって、水素を好適に封止(シール)できる。
≪封止構造体の組み付け≫
次に、封止構造体1の組み付け手順を説明する。
図3に示すように、第2円筒部40を第1円筒部30から取り外した状態では、収容溝21は軸方向において第1半溝22と第2半溝23とに分割され、第1円筒部30の第1半溝22は、軸方向において外部に臨んだ状態であり、軸方向において外部に開放している。
次いで、このように外部に臨む第1半溝22に、軸方向において充填室12側から、第1バックアップリング70、Oリング60、第2バックアップリング80を収容する。この場合において、第1半溝22は外部に臨んでいるので、硬質材料で形成された無端の第1バックアップリング70及び第2バックアップリング80を変形等させずに、第1半溝22に容易に収容できる。
なお、第2バックアップリング80等の径方向における位置ずれを防止するために、第1円筒部30の第1中空部31に挿入部51と同等の太さである円柱状のガイド体を挿入してもよい。この場合、ガイド体は第2円筒部40の装着後に取り外せばよい。
その他、第2バックアップリング80は、第1半溝22でなく、第2円筒部40の第2半溝23に収容する構成としてもよい。
次いで、雄ねじ部42を雌ねじ部35に合わせて、第2円筒部40を回転させ、第2円筒部40を第1円筒部30に螺合し、第2円筒部40を第1円筒部30に装着する。そうすると、第1半溝22と第2半溝23とが軸方向において合体し、収容溝21が構成される。これと同時に、この収容溝21に、Oリング60と、第1バックアップリング70及び第2バックアップリング80とが収容された状態となる。そして、軸方向において、第1円筒部30の第1中空部31、第1バックアップリング70の中空部、Oリング60の中空部、第2バックアップリング80の中空部、第2円筒部40の中空部41が、連続した状態となる。
次いで、バルブボディ50の挿入部51を第2円筒部40の中空部41等に挿入しながら、雄ねじ部53を雌ねじ部35に合わせて、バルブボディ50を回転させ、バルブボディ50を第1円筒部30に螺合し、バルブボディ50を第1円筒部30に装着する。
そうすると、各部品の組み付けは完了し、封止構造体1を得る。
≪変形例≫
以上、本発明の一実施形態について説明したが、本発明はこれに限定されず、例えば、次のように変更できる。
前記した実施形態では、第1バックアップリング70及び第2バックアップリング80の両方を備える構成を例示したが、その他に例えば、片方のみを備える構成としてもよい。
前記した実施形態では、第2円筒部40はその外周面に雄ねじ部42を備える構成を例示したが、その他に例えば、雄ねじ部42を備えない構成でもよい。このような構成としても、第2円筒部40は、第1円筒部30に螺合したバルブボディ50の基部52によって軸方向において規制される。
前記した実施形態では、充填される流体が水素(気体)である構成を例示したが、その他の種類の気体(CNGガス等)や、液体でもよい。
1 封止構造体
10 タンク本体(充填室構造体)
11 充填室体
12 充填室
20 口金部(円筒体)
21 収容溝
22 第1半溝
23 第2半溝
30 第1円筒部
31 第1中空部
32 第2中空部
35 雌ねじ部
40 第2円筒部
42 雄ねじ部
50 バルブボディ(挿入部材)
51 挿入部
53 雄ねじ部
60 Oリング
70 第1バックアップリング
80 第2バックアップリング
D 分割面

Claims (3)

  1. 内部に流体が充填される充填室を有する充填室体と、前記充填室体と一体で形成された円筒状の円筒体と、を有する充填室構造体と、
    前記円筒体に挿入され外形が円柱状の挿入部を有する挿入部材と、
    前記円筒体と前記挿入部との間に設けられ、流体をシールするOリングと、
    軸方向において前記Oリングの一方側に配置されると共に軸方向における前記Oリングの移動を規制する無端の第1バックアップリングと、
    を備え、
    前記円筒体の内周面には、径方向外向きに凹むことで、前記Oリング及び前記第1バックアップリングを収容する環状の収容溝が形成され、
    前記円筒体は、前記充填室体と一体である第1円筒部と、軸方向において前記第1円筒部と着脱可能である第2円筒部とを備え、
    前記第2円筒部が前記第1円筒部から脱離した場合、前記収容溝は軸方向において分割され外部に臨む
    ことを特徴とする封止構造体。
  2. 前記Oリングの他方側に配置されると共に軸方向における前記Oリングの移動を規制し、かつ、前記収容溝に収容される無端の第2バックアップリングを備える
    ことを特徴とする請求項1に記載の封止構造体。
  3. 前記第1円筒部は、前記挿入部の外径に対応した第1中空部と、前記第1中空部に連続すると共に前記第1中空部よりも大径で、前記第2円筒部の外径に対応した第2中空部と、を備え、
    前記第2中空部を囲む前記第1円筒部の内周面と前記第2円筒部の外周面とに、前記第1円筒部と前記第2円筒部とを螺合させるねじ部が形成されており、
    径方向において、前記ねじ部は前記収容溝よりも外側に配置されている
    ことを特徴とする請求項1又は請求項2に記載の封止構造体。
JP2011205098A 2011-09-20 2011-09-20 封止構造体 Active JP5374559B2 (ja)

Priority Applications (4)

Application Number Priority Date Filing Date Title
JP2011205098A JP5374559B2 (ja) 2011-09-20 2011-09-20 封止構造体
CN201210352256.XA CN103016739B (zh) 2011-09-20 2012-09-20 密封结构体
US13/623,372 US9845878B2 (en) 2011-09-20 2012-09-20 Sealing structure
EP12185152.1A EP2573433B1 (en) 2011-09-20 2012-09-20 Sealing structure

Applications Claiming Priority (1)

Application Number Priority Date Filing Date Title
JP2011205098A JP5374559B2 (ja) 2011-09-20 2011-09-20 封止構造体

Publications (2)

Publication Number Publication Date
JP2013068232A JP2013068232A (ja) 2013-04-18
JP5374559B2 true JP5374559B2 (ja) 2013-12-25

Family

ID=47008315

Family Applications (1)

Application Number Title Priority Date Filing Date
JP2011205098A Active JP5374559B2 (ja) 2011-09-20 2011-09-20 封止構造体

Country Status (4)

Country Link
US (1) US9845878B2 (ja)
EP (1) EP2573433B1 (ja)
JP (1) JP5374559B2 (ja)
CN (1) CN103016739B (ja)

Families Citing this family (9)

* Cited by examiner, † Cited by third party
Publication number Priority date Publication date Assignee Title
JP5458076B2 (ja) * 2011-09-20 2014-04-02 本田技研工業株式会社 封止構造体
JP5503704B2 (ja) * 2012-08-03 2014-05-28 本田技研工業株式会社 封止構造体
US9757804B2 (en) * 2013-08-08 2017-09-12 Kennametal Inc High pressure coolant tube and tool body-high pressure coolant tube assembly
JP6356172B2 (ja) * 2016-03-15 2018-07-11 本田技研工業株式会社 高圧タンク
JP6487478B2 (ja) 2017-03-15 2019-03-20 本田技研工業株式会社 高圧タンク
JP6830601B2 (ja) * 2017-04-13 2021-02-17 サムテック株式会社 高圧容器のシール構造
JP7243978B2 (ja) * 2019-01-23 2023-03-22 株式会社荒井製作所 密封装置
CN112576750B (zh) * 2019-09-29 2022-03-15 江苏久维压力容器制造有限公司 一种具有良好密封效果的压力容器
JP7677612B2 (ja) * 2021-03-04 2025-05-15 株式会社コーアツ 高圧容器

Family Cites Families (21)

* Cited by examiner, † Cited by third party
Publication number Priority date Publication date Assignee Title
US304783A (en) * 1884-09-09 Structural shape for beams
US2420104A (en) * 1943-07-22 1947-05-06 Maytag Co Seal guard ring
US2462586A (en) * 1946-01-02 1949-02-22 New York Air Brake Co Seal for resisting high pressures
US2799523A (en) * 1954-05-06 1957-07-16 Linear Inc Pressure-actuated seals
US3004783A (en) * 1957-08-12 1961-10-17 Houston Engineers Inc High pressure packing means
US3514132A (en) * 1968-06-10 1970-05-26 Perry Oceanographics Inc Pressure vessel connection
US3905608A (en) * 1973-12-26 1975-09-16 Flow Research Inc High pressure seal
US4556227A (en) * 1984-10-01 1985-12-03 Kabushiki Kaisha Suiken Universal pipe joint assembly
JPH045828Y2 (ja) * 1986-06-30 1992-02-18
JP3543617B2 (ja) 1998-04-30 2004-07-14 Nok株式会社 密封装置
JP2002161983A (ja) 2000-11-24 2002-06-07 Nok Corp 密封装置
JP4096832B2 (ja) * 2003-07-22 2008-06-04 株式会社デンソー 冷凍サイクル用配管継手
JP4030478B2 (ja) * 2003-07-29 2008-01-09 株式会社デンソー 冷凍サイクル用配管継手
JP2005114007A (ja) * 2003-10-07 2005-04-28 Nok Corp 密封装置
JP4805598B2 (ja) * 2005-04-15 2011-11-02 日東工器株式会社 雌雄部材組立体
JP2008215573A (ja) * 2007-03-07 2008-09-18 Toyota Motor Corp タンクの密封装置およびそのoリングの組付方法
DE202008000145U1 (de) * 2008-01-02 2009-05-20 Voss Automotive Gmbh Verbindungssystem für fluidführende Systeme
US7828301B2 (en) * 2008-01-25 2010-11-09 Intelliserv, Llc Self-energized backup ring for annular seals
CN201434071Y (zh) * 2009-06-09 2010-03-31 新疆石油管理局试油公司 高温密封装置
JP5388878B2 (ja) 2010-01-22 2014-01-15 本田技研工業株式会社 電磁弁
US8752634B2 (en) * 2011-10-26 2014-06-17 Vetco Gray Inc. Segmented seal ring and support of same

Also Published As

Publication number Publication date
CN103016739B (zh) 2016-01-06
CN103016739A (zh) 2013-04-03
EP2573433B1 (en) 2016-02-10
US20130069321A1 (en) 2013-03-21
JP2013068232A (ja) 2013-04-18
US9845878B2 (en) 2017-12-19
EP2573433A1 (en) 2013-03-27

Similar Documents

Publication Publication Date Title
JP5374559B2 (ja) 封止構造体
US8863973B2 (en) Sealing structure
JP5458076B2 (ja) 封止構造体
US9752682B2 (en) Compound back-up ring for O-ring/back-up ring sealing systems in 70 MPA hydrogen storage systems
US7556171B2 (en) Tank
KR102342755B1 (ko) 밸브 장치
TWI530635B (zh) Gas filling containers, gas filling containers, gaskets, and fittings
US9273655B2 (en) Sealing device
US20150035237A1 (en) Sealing structure
US20120085464A1 (en) Compressed gas system, manual valve assembly, and manual valve piston with isochoric thermal isolation zone
EP2879894B1 (en) Redundant lip seal for valve
JP5545420B1 (ja) シールリング
CN110392788B (zh) 储压器
JP6675169B2 (ja) 圧力容器の密封構造
JP2013178734A (ja) 減圧弁
TWI689672B (zh) 密封結構
US20210172526A1 (en) Seal ring
US20250012362A1 (en) Sealing structure
JP2010014205A (ja) 密封装置
WO2018003982A1 (ja) 逆止弁
CN118815940A (zh) 低温阀
EP3364079B1 (en) Seal ring
JP2009281410A (ja) バルブステムシール及びバルブステムシールシステム
JP2009066712A (ja) タンク用口金の組付方法、タンク用口金及びこれを備えたタンク

Legal Events

Date Code Title Description
TRDD Decision of grant or rejection written
A977 Report on retrieval

Free format text: JAPANESE INTERMEDIATE CODE: A971007

Effective date: 20130830

A01 Written decision to grant a patent or to grant a registration (utility model)

Free format text: JAPANESE INTERMEDIATE CODE: A01

Effective date: 20130903

A61 First payment of annual fees (during grant procedure)

Free format text: JAPANESE INTERMEDIATE CODE: A61

Effective date: 20130920

R150 Certificate of patent or registration of utility model

Ref document number: 5374559

Country of ref document: JP

Free format text: JAPANESE INTERMEDIATE CODE: R150

Free format text: JAPANESE INTERMEDIATE CODE: R150

R250 Receipt of annual fees

Free format text: JAPANESE INTERMEDIATE CODE: R250