JP5358402B2 - 積層材の製造方法 - Google Patents
積層材の製造方法 Download PDFInfo
- Publication number
- JP5358402B2 JP5358402B2 JP2009256996A JP2009256996A JP5358402B2 JP 5358402 B2 JP5358402 B2 JP 5358402B2 JP 2009256996 A JP2009256996 A JP 2009256996A JP 2009256996 A JP2009256996 A JP 2009256996A JP 5358402 B2 JP5358402 B2 JP 5358402B2
- Authority
- JP
- Japan
- Prior art keywords
- laminated
- laminate
- adhesive
- sheet
- layer
- Prior art date
- Legal status (The legal status is an assumption and is not a legal conclusion. Google has not performed a legal analysis and makes no representation as to the accuracy of the status listed.)
- Active
Links
Images
Landscapes
- Panels For Use In Building Construction (AREA)
- Laminated Bodies (AREA)
- Veneer Processing And Manufacture Of Plywood (AREA)
- Dry Formation Of Fiberboard And The Like (AREA)
Description
本発明の積層材の製造方法は、次の工程(a)〜(g)を含む。
(1) 工程(a)
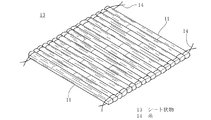
図1及び図4に示すように、本実施の形態の積層材10に用いられる材料は、表面にリグノセルロースを主体とする皮部11aと芯に多孔性の髄部11bを有する構造の植物茎11である。高りゃん、とうもろこし、砂糖きびなどの茎はその代表的なものである。これ以外に、葦、稲、むぎ等のごとき他のイネ科の植物の茎を使用することもできる。植物茎11は葉又は袴の部分を切除した直線部分を細片に切断せずに用いる。これにより細片に切断してボード状に成板した従来のバガスボードやストローボードに比べて、軽量でありながら極めて高い曲げ強度を有する積層材10が僅かな工数で得られる。接着剤を塗布する前に、植物茎11を繊維方向に切開かずにそのまま圧縮ローラ等により圧縮して皮部に割れ目11cを発生させておく(図5及び図6)。圧縮ローラ12,12を用いる場合には、ローラ12,12の外周面にローラの円周方向に延びる複数のリング状の溝(図示せず)を形成することにより、ローラ12,12の圧力で植物茎11の一部が溝に進入して皮部11aの割れ目11cを増やすことができる。この状態で複数の植物茎11を互いに平行に配列してシート状物13を形成する(図7)。シート状物13にするに際して、各植物茎11が分散しないように、配列した全ての茎の端部を糸14で結束するか、図示しないが粘着テープや再湿テープで仮止めするか、或いは糸状又は帯状に接着剤を塗布して全ての茎を結束する。
複数のシート状物13をシート状物を構成する植物茎11が互いに交差するように第1接着剤を介して積層して第1積層体21を形成する。具体的には、全ての方向に均一な曲げ強度をもたせ、積層材10の反りを防止するために、図8に示すように構成する植物茎11がシート状物13毎に交差するようにシート状物13を複数重ね合わせて第1積層体21を作製する。このとき複数のシート状物13を積層して得られた積層物の双方の面に薄いシート16をそれぞれ重ねる。これにより端部に位置するシート状物13のうねりを低減できる。なお、薄いシートをシート状物とシート状物の間に介在させてもよい。この場合、中間に位置するシート状物のうねりを低減できるとともに、第1接着剤を容易に塗布できる。
第1積層体21を熱圧成形して板状の第1積層成形体31(図10及び図11)を形成する。具体的には、図9に示すように、第1積層体21は必要に応じて仮圧締を施された後に、この第1積層体21の両面をホットプレス17の金属板17a,17aで挟み、50〜250℃の温度下で0.2〜3MPaの圧力をかけて成形する。成形時にスペーサ17b,17bを配置すれば、第1積層成形体31を所定の厚さにすることができる。なお、第1積層成形体31の厚さは10〜100mmの範囲に設定されることが好ましい。ここで、第1積層成形体31の成形時の温度を50〜250℃の範囲に限定したのは、50℃未満では接着剤の効果が極めて遅く生産性に支障をきたし、250℃を超えると表面が炭化してしまうからである。また第1積層成形体31の成形時の圧力を0.2〜3MPaの範囲に限定したのは、0.2MPa未満では表面の凹凸が大きくなり、3MPaを超えると第1積層成形体31に割れが生じてしまうからである。更に第1積層成形体31の厚さを10〜100mmの範囲に限定したのは、10mm未満ではスライス片18を基材19に配列する手間が多くなり、100mmを超えると熱圧時間が長くなり第1積層成形体31の生産性が低下してしまうからである。
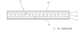
図12に示すように、第1積層成形体31をその積層面に垂直にかつその構成要素である植物茎11に平行に又は直交するように所定の幅でスライスして複数のスライス片18を得る。第1積層成形体31の構成要素である植物茎11は交互に直交するように積層されているため、スライス面は、ある植物茎11に対しては平行になるけれども、この植物茎11に隣接する植物茎11に対しては直交する。またスライス片18はジグソーやバンドソーなどにより幅が3〜10mmの範囲になるように切り出される。ここで、スライス片18の幅を3〜10mmの範囲に限定したのは、3mm未満ではスライス片18が折れ易くなってスライス片18の取扱いが不便であり、10mmを超えると接着強度が低下するとともにスライス片18を並べ難くなるからである。
平面状の基材19の両面に第2接着剤を塗布する。この実施の形態では、基材19として、スライスする前の第1積層成形体を用いる。この第1積層成形体からなる基材19の両面に第2接着剤を塗布する。第2接着剤を第1接着剤と同一とすれば、部品管理及び工程管理の上で好ましい。
第2接着剤が塗布された基材19の両面に複数のスライス片18をスライス面が接着面となるように配列して第1層41を形成することにより第2積層体22を得る。このときスライス面以外の面に第2接着剤を塗布しておく。これにより隣接するスライス片18を互いに第2接着剤により接着することができるので、積層材10の強度を向上できる。なお、平面状の基材の片面にのみ第1層を形成することにより第2積層体を作製するときには、平面状の基材の片面のみに第2接着剤を塗布する。
第2積層体22を冷圧成形又は熱圧成形して板状の第2積層成形体からなる積層材10を形成する(図1)。冷圧成形時の圧力は0.1〜2.0MPaの範囲に設定される。また熱圧成形時の圧力は冷圧成形時と同圧力の範囲に設定され、温度は50〜150℃の範囲に設定される。ここで、冷圧成形時又は熱圧成形時の圧力を0.1〜2.0MPaの範囲に限定したのは、0.1MPa未満では積層材10の表面に凹凸が発生し、2.0MPaを超えると積層材10の表面に割れが生じてしまうからである。また熱圧成形時の温度を50〜150℃の範囲に限定したのは、50℃未満では接着剤の硬化が遅くなり、150℃を超えるとパンク(水蒸気爆発)が発生するおそれがあるからである。
図2に示すように、形成した積層材10の片面又は両面に透明なフィルム51を貼合せる。透明なフィルム51は例えばPVCフィルム、オレフィン系フィルムであって、30〜120μmの厚さのものを用いる。厚さが下限値未満であると、薄過ぎて取扱いが煩雑となる、強度に劣る等の不具合が生じ、厚さが上限値を越えると、後に続く成形によってフィルム51の下層の第2積層成形体に凹みが形成されない、或いは凹みが形成されてもその凹みに倣った形状にならないため、フィルム51表層に十分な凹凸を付与することが難しくなる。また形状に追随しないと積層材10とフィルム51との間に空気が残り塗装と同等の効果が得られない。積層材10とフィルム51との貼合せでは、図示しないが、積層材10の貼合せ面にフィルム用接着剤を塗布しておく。フィルム用接着剤としては、エマルジョン系接着剤を好適に使用できる。
図13は本発明の第2の実施の形態を示す。この実施の形態では、植物茎11の皮部11aに割れ目11cを発生させた後に、植物茎11を色材により着色する。具体的には、植物茎11を一対の溝付きの圧縮ローラの間を通過させて圧縮することにより、植物茎11の皮部11aに複数の細かい割れ目11cを発生させた後に、割れ目11cが形成された植物茎11を所定の顔料水溶液61に浸漬する。そして顔料水溶液61が含浸された植物茎11を絞って余剰の顔料水溶液61を除去した後に、50〜150℃に0.5〜3.0時間保持して乾燥する。例えば、顔料水溶液として黒顔料『SD−9020』(DIC社製)の水溶液を用いる場合、植物茎を1〜10kPaの減圧下で10〜120分間黒顔料水溶液に浸漬する。ここで、植物茎の黒顔料水溶液への浸漬時の圧力を1〜10kPaの範囲に限定したのは、1kPa未満では減圧装置が高価となり、10kPaを超えると着色に時間がかかり過ぎるからである。また植物茎の黒顔料水溶液への浸漬時間を10〜120分間の範囲に限定したのは、10分間未満では十分に着色できず、120分間を超えると作業性が低下してしまうからである。また染料水溶液として赤染料『Sumifix Red B』(住友化学社製)を用いる場合、黒色顔料と同条件で着色できる。なお、色材としては、黒顔料や赤染料以外に、緑色、黄色、茶色等の色材を用いることができる。上記以外は第1の実施の形態と同一に構成される。このように植物茎11を所望の色材により着色したので、これを用いて製造された積層材は第1の実施の形態の積層材より植物茎の質感と意匠性に富んだものとなる。上記以外の作用及び効果は第1の実施の形態とほぼ同様であるので、繰返しの説明を省略する。
図14は本発明の第3の実施の形態を示す。図14において図5と同一符号は同一部品を示す。この実施の形態では、複数の植物茎11を互いに平行に配列してシート状物73を形成した後に、圧縮ローラ12,12等により圧縮して各植物茎11の皮部11aに割れ目11cを発生させる。この場合、圧縮ローラ12,12等の圧力で植物茎11の結束が解除されないように、伸縮可能な紐や粘着テープ等で結束することが好ましい。上記以外は第1の実施の形態と同一に構成される。このように製造された積層材では、植物茎11をシート状物73にした後にまとめて圧縮ローラ12,12等で圧縮できるので、第1の実施の形態より短時間で植物茎11の皮部11aに割れ目11cを発生させることができる。上記以外の作用及び効果は第1の実施の形態とほぼ同様であるので、繰返しの説明を省略する。
図15は本発明の第4の実施の形態を示す。図15において図1と同一符号は同一部品を示す。この実施の形態では、基材89が、第1積層成形体31をその積層面に垂直にかつその構成要素である植物茎11に平行に又は直交するように所定の幅でスライスして得られた複数のスライス片18をスライス面が露出するように配列して互いに接着された配列層である。この配列層からなる基材89の上面に第2接着剤を塗布した後に(工程(e))、配列層からなる基材89の上面に複数のスライス片18をスライス面が接着面となるように配列しかつ互いに第2接着剤により接着して第1層41を形成して第2積層体82を得る(工程(f))。更に工程(f)で得られた第2積層体82を冷圧成形又は熱圧成形して板状の第2積層成形体からなる積層材80を形成する(工程(g))。上記以外は第1の実施の形態と同一に構成される。このように製造された積層材80では、配列層からなる基材89が第1層41と同一に構成されているため、積層材80の表面に現れる模様がスライス片18の表面の模様のみとなり、間仕切りとして使用した場合、両面より植物茎の質感を得ることができるという効果を奏する。上記以外の作用及び効果は第1の実施の形態とほぼ同様であるので、繰返しの説明を省略する。
図16は本発明の第5の実施の形態を示す。図16において図1と同一符号は同一部品を示す。この実施の形態では、基材99としてポプラの単板が用いられる。この単板からなる基材99の上面に第2接着剤を塗布した後に(工程(e))、単板からなる基材99の上面に複数のスライス片18をスライス面が接着面となるように配列しかつ互いに第2接着剤により接着して第1層41を形成して第2積層体92を得る(工程(f))。更に工程(f)で得られた第2積層体92を冷圧成形又は熱圧成形して板状の第2積層成形体からなる積層材90を形成する(工程(g))。上記以外は第1の実施の形態と同一に構成される。このように製造された積層材90では、基材99が単板であるので、壁材として使用した場合、ベニヤ板より植物茎の質感と意匠性に富んだものとなる。上記以外の作用及び効果は第1の実施の形態とほぼ同様であるので、繰返しの説明を省略する。
図4〜図6に示すように、直径が6〜20mmであって長さを約30cmにカットした直線部分の高りゃん茎11をクリアランス(間隔)5mmの溝付きの圧縮ローラ12,12により圧縮し、茎11の皮部11aに複数の細かい割れ目11cを設けた(図5及び図6)。この高りゃん茎11を着色剤として黒顔料『SD−9020』(DIC社製)の2%水溶液61に3kPaの減圧下で10分間浸漬した(図13)。黒顔料水溶液は皮部11aは勿論、割れ目11cを介して髄部11bに浸透した。この高りゃん茎11をクリアランス(間隔)3mmの絞りロールに通して余剰の黒顔料水溶液61を除去した後に、120℃に1時間保持して乾燥し、黒色に着色した高りゃん茎11を得た。黒色に着色した高りゃん茎11を17本ずつ互いに平行にかつ密接に配列し、茎端部を糸14で結束して幅約30cmのシート状物13を3枚作製した(図7及び図8)。次に3枚のシート状物13と2枚のポプラのシート16(厚さ2.0mm)の片面に、イソシアネート系化合物MR−200(日本ポリウレタン工業社製)100質量部と、炭酸カルシウム100質量部と、ノニオン系界面活性剤2質量部と、可塑剤5質量部と、水5質量部とを配合した接着剤をゴムロールにより塗布した後、構成する高りゃん茎11がシート状物13毎に直交するように3枚のシート状物13を重ね、かつ2枚のポプラのシート16が両端に位置するように重ねて、5層からなる第1積層体21を作製した。次いで図9に示すように、この第1積層体21を厚さ15mmのスペーサ17b,17bを設置した温度150℃に維持したホットプレス17に入れ、第1積層体21の両面を金属板17a,17aで挾み、約2.0MPaの圧力で20分間熱圧成形して厚さ15mmの第1積層成形体31を得た。
高りゃん茎を着色剤として赤染料『Sumifix Red B』(住友化学社製)の3%水溶液に常圧でで30分間浸漬したこと以外は、実施例1と同様にして厚さ21mmの板状の積層材を作製した。この積層材を実施例2とした。
実施例1の第1積層成形体を2枚用意し、一方の第1積層成形体に第1接着剤を塗布して2層に積層した後に、熱圧成形することにより、厚さ30mmの板状の積層材を得た。この積層材を比較例1とした。
実施例1及び2の積層材と比較例1の積層材を室内に7日間放置した後、JIS A 5908に規定されたパーティクルボードの試験方法に準じて常態曲げ強さ、曲げヤング率、厚さ膨潤率等をそれぞれ測定した。その結果を表1に示す。
11 高りゃん茎(植物茎)
13,73 シート状物
16 薄いシート
18 スライス片
19,89,99 基材
21 第1積層体
22,82,92 第2積層体
31 第1積層成形体
41 第1層
51 フィルム
57a クッション材
Claims (7)
- (a) 複数の植物茎を互いに平行に配列してシート状物を形成する工程と、
(b) 複数のシート状物をシート状物を構成する植物茎が互いに交差するように第1接着剤を介して積層して第1積層体を形成する工程と、
(c) 前記第1積層体を熱圧成形して板状の第1積層成形体を形成する工程と、
(d) 前記第1積層成形体をその積層面に垂直にかつその構成要素である前記植物茎に平行に又は直交するように所定の幅でスライスして複数のスライス片を得る工程と、
(e) 平面状の基材の片面又は両面に第2接着剤を塗布する工程と、
(f) 前記第2接着剤が塗布された基材の片面又は両面に前記複数のスライス片をスライス面が接着面となるように配列しかつ互いに前記第2接着剤により接着して第1層を形成する工程と、
(g) 前記工程(f)で前記基材の片面又は両面に前記第1層を積層して得られた第2積層体を冷圧成形又は熱圧成形して板状の第2積層成形体からなる積層材を形成する工程と、
(h) 前記形成した積層材の片面又は両面に透明なフィルムを貼合せ、前記フィルムを有する積層材をクッション材を用いて冷圧成形することにより、前記フィルム表層に前記第2積層成形体の表層を構成する木質の硬さに応じた凹凸を付与する工程と
を含む積層材の製造方法。 - (A) 複数の植物茎を互いに平行に配列してシート状物を形成する工程と、
(B) 複数のシート状物をシート状物を構成する植物茎が互いに交差するように第1接着剤を介して積層して第1積層体を形成する工程と、
(C) 前記第1積層体を熱圧成形して板状の第1積層成形体を形成する工程と、
(D) 前記第1積層成形体をその積層面に垂直にかつその構成要素である前記植物茎に平行に又は直交するように所定の幅でスライスして複数のスライス片を得る工程と、
(E) 平面状の基材の片面又は両面に第2接着剤を塗布する工程と、
(F) 前記第2接着剤が塗布された基材の片面又は両面に前記複数のスライス片をスライス面が接着面となるように配列しかつ互いに前記第2接着剤により接着して平面状の第1層を形成する工程と、
(G) 前記平面状の第1層の表面に第3接着剤を塗布する工程と、
(H) 前記第3接着剤が塗布された第1層の表面に前記複数のスライス片をスライス面が接着面となりかつ前記第1層の配列方向と直交するように配列しかつ互いに前記第3接着剤により接着して第2層を形成する工程と、
(I) 前記工程(G)と前記工程(H)を1回ずつ行うか或いは2回以上繰返し行うことにより多重積層体を得る工程と、
(J) 前記多重積層体を冷圧成形又は熱圧成形して板状又は柱状の多重積層成形体からなる積層材を形成する工程と、
(K) 前記形成した積層材の片面又は両面に透明なフィルムを貼合せ、前記フィルムを有する積層材をクッション材を用いて冷圧成形することにより、前記フィルム表層に前記多重積層成形体の表層を構成する木質の硬さに応じた凹凸を付与する工程と
を含む積層材の製造方法。 - 前記基材が、前記第1積層成形体、単板、MDF、パーティクルボード、紙又は不織布である請求項1又は2記載の積層材の製造方法。
- 前記基材が、前記第1積層成形体をその積層面に垂直にかつその構成要素である前記植物茎に平行に又は直交するように所定の幅でスライスして得られた複数のスライス片をスライス面が露出するように配列して互いに接着された配列層である請求項1又は2記載の積層材の製造方法。
- 前記複数のシート状物を積層するときに、前記シート状物と前記シート状物の間に薄いシートを介在させるか、或いは前記複数のシート状物を積層して得られた積層物の一方の面又は双方の面に前記薄いシートを重ねて前記第1積層体を形成する請求項1又は2記載の積層材の製造方法。
- 前記複数の植物茎を色材により着色した後、前記シート状物を形成する請求項1又は2記載の積層材の製造方法。
- 前記クッション材として25%圧縮荷重が0.2MPa以下のものを用い、前記フィルムを有する積層材に対する前記クッション材を用いた冷圧成形の圧力が0.3〜2.0MPaで行われる請求項1又は2記載の積層材の製造方法。
Priority Applications (1)
| Application Number | Priority Date | Filing Date | Title |
|---|---|---|---|
| JP2009256996A JP5358402B2 (ja) | 2009-11-10 | 2009-11-10 | 積層材の製造方法 |
Applications Claiming Priority (1)
| Application Number | Priority Date | Filing Date | Title |
|---|---|---|---|
| JP2009256996A JP5358402B2 (ja) | 2009-11-10 | 2009-11-10 | 積層材の製造方法 |
Publications (2)
| Publication Number | Publication Date |
|---|---|
| JP2011101959A JP2011101959A (ja) | 2011-05-26 |
| JP5358402B2 true JP5358402B2 (ja) | 2013-12-04 |
Family
ID=44192533
Family Applications (1)
| Application Number | Title | Priority Date | Filing Date |
|---|---|---|---|
| JP2009256996A Active JP5358402B2 (ja) | 2009-11-10 | 2009-11-10 | 積層材の製造方法 |
Country Status (1)
| Country | Link |
|---|---|
| JP (1) | JP5358402B2 (ja) |
Families Citing this family (8)
| Publication number | Priority date | Publication date | Assignee | Title |
|---|---|---|---|---|
| CN102672786A (zh) * | 2012-05-21 | 2012-09-19 | 福建省永林竹业有限公司 | 一种大厚度竹重组材生产方法 |
| CN103991118B (zh) * | 2013-02-20 | 2016-08-31 | 天津华林沙柳科技有限公司 | 建筑节能窗专用木基复合型材冷压热固化的制造方法 |
| US9640492B1 (en) | 2015-12-17 | 2017-05-02 | International Business Machines Corporation | Laminate warpage control |
| US10224269B2 (en) | 2015-12-17 | 2019-03-05 | International Business Machines Corporation | Element place on laminates |
| US11084245B2 (en) * | 2019-01-09 | 2021-08-10 | Six Minutes LLC | Cross-laminated timber having a conduit therein |
| US12343973B2 (en) | 2019-11-21 | 2025-07-01 | Midori Auto Leather Co., Ltd. | Laminated molded body and method for manufacturing same |
| WO2024018519A1 (ja) * | 2022-07-19 | 2024-01-25 | 株式会社ダイセル | 積層材並びにその製造方法及び応用 |
| CN115637792B (zh) * | 2022-11-14 | 2024-08-02 | 昆明理工大学 | 一种带双层水分蒸发通道的竹木土混合墙体施工方法 |
Family Cites Families (7)
| Publication number | Priority date | Publication date | Assignee | Title |
|---|---|---|---|---|
| JPS6268701A (ja) * | 1985-09-21 | 1987-03-28 | 永大産業株式会社 | 化粧板の製造方法 |
| JPS63107505A (ja) * | 1986-06-11 | 1988-05-12 | Koyo Sangyo Kk | 積層材及びその製造方法 |
| JP2944792B2 (ja) * | 1990-08-16 | 1999-09-06 | 光洋産業株式会社 | 積層材の製造方法 |
| JP2763188B2 (ja) * | 1990-09-07 | 1998-06-11 | 朝日銘木株式会社 | 厚単板化粧板材の製造方法 |
| JP2848994B2 (ja) * | 1991-10-29 | 1999-01-20 | 光洋産業株式会社 | 積層材及びその製造方法 |
| JPH09164651A (ja) * | 1995-12-18 | 1997-06-24 | Taoka Chem Co Ltd | 透明樹脂被覆された木理化粧用シート、木理化粧ボード及びそれらの製造方法 |
| JP4871790B2 (ja) * | 2007-05-31 | 2012-02-08 | 光洋産業株式会社 | 積層材の製造方法 |
-
2009
- 2009-11-10 JP JP2009256996A patent/JP5358402B2/ja active Active
Also Published As
| Publication number | Publication date |
|---|---|
| JP2011101959A (ja) | 2011-05-26 |
Similar Documents
| Publication | Publication Date | Title |
|---|---|---|
| JP5358402B2 (ja) | 積層材の製造方法 | |
| CN101934538B (zh) | 一种无甲醛竹材集成材及其制造方法 | |
| JPH08197507A (ja) | 強力竹合板及びその製造方法 | |
| CN1490227A (zh) | 一种集装箱底板及其制造方法 | |
| EP3129228B1 (en) | Method of manufacturing a timber composite | |
| CN101672072B (zh) | 一种隔音复合板及制造方法 | |
| CN105863212A (zh) | 一种实木多层框架地板及其制造方法 | |
| TW508291B (en) | Method for laminating woody fiberboard | |
| JP5052435B2 (ja) | 積層材の製造方法 | |
| CN214498247U (zh) | 一种仿原木地板的三层无醛顺芯实木复合地板 | |
| CN111873112A (zh) | 一种竹复合材料板成型方法 | |
| CN103692534B (zh) | 一种刨切薄竹人工造型竹艺茶具胶合加工方法 | |
| JPH0716964A (ja) | 積層材及びその製造方法 | |
| CN107867025B (zh) | 电子线固化膜多层复合地板及其制造方法 | |
| JP2944792B2 (ja) | 積層材の製造方法 | |
| KR20090131431A (ko) | 내수성 도어 표면재 | |
| CN101791888A (zh) | 一种耐高温、超耐磨、不变形复合板的制作方法 | |
| WO2005021256A1 (en) | Laminated board and method of making laminated board | |
| CN104760110A (zh) | 一种薄竹贴面稻草板包装材料的制备方法与应用 | |
| CN202045694U (zh) | 一种表面为单板芯层为刨片的复合板 | |
| CN105799004A (zh) | 一种无甲醛重组集成材及其制造方法 | |
| CN205009344U (zh) | 一种高结构强度立体实木复合板 | |
| KR100545364B1 (ko) | 원목 판넬의 제조 방법 및 이 방법에 의해 제조되는 원목판넬 | |
| CN107020670A (zh) | 一种建筑用竹胶板的生产方法 | |
| CN105756313B (zh) | 一种棕榈藤藤片复合装饰板及其制作方法 |
Legal Events
| Date | Code | Title | Description |
|---|---|---|---|
| A621 | Written request for application examination |
Free format text: JAPANESE INTERMEDIATE CODE: A621 Effective date: 20121015 |
|
| A977 | Report on retrieval |
Free format text: JAPANESE INTERMEDIATE CODE: A971007 Effective date: 20130605 |
|
| A131 | Notification of reasons for refusal |
Free format text: JAPANESE INTERMEDIATE CODE: A131 Effective date: 20130611 |
|
| A521 | Request for written amendment filed |
Free format text: JAPANESE INTERMEDIATE CODE: A523 Effective date: 20130716 |
|
| TRDD | Decision of grant or rejection written | ||
| A01 | Written decision to grant a patent or to grant a registration (utility model) |
Free format text: JAPANESE INTERMEDIATE CODE: A01 Effective date: 20130820 |
|
| A61 | First payment of annual fees (during grant procedure) |
Free format text: JAPANESE INTERMEDIATE CODE: A61 Effective date: 20130902 |
|
| R150 | Certificate of patent or registration of utility model |
Free format text: JAPANESE INTERMEDIATE CODE: R150 Ref document number: 5358402 Country of ref document: JP Free format text: JAPANESE INTERMEDIATE CODE: R150 |
|
| R250 | Receipt of annual fees |
Free format text: JAPANESE INTERMEDIATE CODE: R250 |
|
| R250 | Receipt of annual fees |
Free format text: JAPANESE INTERMEDIATE CODE: R250 |
|
| R250 | Receipt of annual fees |
Free format text: JAPANESE INTERMEDIATE CODE: R250 |
|
| R250 | Receipt of annual fees |
Free format text: JAPANESE INTERMEDIATE CODE: R250 |
|
| R250 | Receipt of annual fees |
Free format text: JAPANESE INTERMEDIATE CODE: R250 |
|
| R250 | Receipt of annual fees |
Free format text: JAPANESE INTERMEDIATE CODE: R250 |
|
| R250 | Receipt of annual fees |
Free format text: JAPANESE INTERMEDIATE CODE: R250 |
|
| R250 | Receipt of annual fees |
Free format text: JAPANESE INTERMEDIATE CODE: R250 |
|
| R250 | Receipt of annual fees |
Free format text: JAPANESE INTERMEDIATE CODE: R250 |
|
| R250 | Receipt of annual fees |
Free format text: JAPANESE INTERMEDIATE CODE: R250 |
