JP5324924B2 - 触媒作用を付与した煤フィルターを備えてなる排気機構 - Google Patents

触媒作用を付与した煤フィルターを備えてなる排気機構 Download PDF

Info

Publication number
JP5324924B2
JP5324924B2 JP2008556857A JP2008556857A JP5324924B2 JP 5324924 B2 JP5324924 B2 JP 5324924B2 JP 2008556857 A JP2008556857 A JP 2008556857A JP 2008556857 A JP2008556857 A JP 2008556857A JP 5324924 B2 JP5324924 B2 JP 5324924B2
Authority
JP
Japan
Prior art keywords
csf
exhaust gas
catalytic action
exhaust mechanism
exhaust
Prior art date
Legal status (The legal status is an assumption and is not a legal conclusion. Google has not performed a legal analysis and makes no representation as to the accuracy of the status listed.)
Expired - Fee Related
Application number
JP2008556857A
Other languages
English (en)
Other versions
JP2009528476A (ja
Inventor
ポール、リチャード、フィリップス
マーティン、ビンセント、トゥイッグ
Current Assignee (The listed assignees may be inaccurate. Google has not performed a legal analysis and makes no representation or warranty as to the accuracy of the list.)
Johnson Matthey PLC
Original Assignee
Johnson Matthey PLC
Priority date (The priority date is an assumption and is not a legal conclusion. Google has not performed a legal analysis and makes no representation as to the accuracy of the date listed.)
Filing date
Publication date
Application filed by Johnson Matthey PLC filed Critical Johnson Matthey PLC
Publication of JP2009528476A publication Critical patent/JP2009528476A/ja
Application granted granted Critical
Publication of JP5324924B2 publication Critical patent/JP5324924B2/ja
Expired - Fee Related legal-status Critical Current
Anticipated expiration legal-status Critical

Links

Images

Classifications

    • FMECHANICAL ENGINEERING; LIGHTING; HEATING; WEAPONS; BLASTING
    • F01MACHINES OR ENGINES IN GENERAL; ENGINE PLANTS IN GENERAL; STEAM ENGINES
    • F01NGAS-FLOW SILENCERS OR EXHAUST APPARATUS FOR MACHINES OR ENGINES IN GENERAL; GAS-FLOW SILENCERS OR EXHAUST APPARATUS FOR INTERNAL-COMBUSTION ENGINES
    • F01N3/00Exhaust or silencing apparatus having means for purifying, rendering innocuous, or otherwise treating exhaust
    • F01N3/02Exhaust or silencing apparatus having means for purifying, rendering innocuous, or otherwise treating exhaust for cooling, or for removing solid constituents of, exhaust
    • F01N3/021Exhaust or silencing apparatus having means for purifying, rendering innocuous, or otherwise treating exhaust for cooling, or for removing solid constituents of, exhaust by means of filters
    • F01N3/033Exhaust or silencing apparatus having means for purifying, rendering innocuous, or otherwise treating exhaust for cooling, or for removing solid constituents of, exhaust by means of filters in combination with other devices
    • F01N3/035Exhaust or silencing apparatus having means for purifying, rendering innocuous, or otherwise treating exhaust for cooling, or for removing solid constituents of, exhaust by means of filters in combination with other devices with catalytic reactors
    • FMECHANICAL ENGINEERING; LIGHTING; HEATING; WEAPONS; BLASTING
    • F01MACHINES OR ENGINES IN GENERAL; ENGINE PLANTS IN GENERAL; STEAM ENGINES
    • F01NGAS-FLOW SILENCERS OR EXHAUST APPARATUS FOR MACHINES OR ENGINES IN GENERAL; GAS-FLOW SILENCERS OR EXHAUST APPARATUS FOR INTERNAL-COMBUSTION ENGINES
    • F01N3/00Exhaust or silencing apparatus having means for purifying, rendering innocuous, or otherwise treating exhaust
    • F01N3/02Exhaust or silencing apparatus having means for purifying, rendering innocuous, or otherwise treating exhaust for cooling, or for removing solid constituents of, exhaust
    • F01N3/021Exhaust or silencing apparatus having means for purifying, rendering innocuous, or otherwise treating exhaust for cooling, or for removing solid constituents of, exhaust by means of filters
    • F01N3/023Exhaust or silencing apparatus having means for purifying, rendering innocuous, or otherwise treating exhaust for cooling, or for removing solid constituents of, exhaust by means of filters using means for regenerating the filters, e.g. by burning trapped particles
    • FMECHANICAL ENGINEERING; LIGHTING; HEATING; WEAPONS; BLASTING
    • F01MACHINES OR ENGINES IN GENERAL; ENGINE PLANTS IN GENERAL; STEAM ENGINES
    • F01NGAS-FLOW SILENCERS OR EXHAUST APPARATUS FOR MACHINES OR ENGINES IN GENERAL; GAS-FLOW SILENCERS OR EXHAUST APPARATUS FOR INTERNAL-COMBUSTION ENGINES
    • F01N13/00Exhaust or silencing apparatus characterised by constructional features
    • F01N13/008Mounting or arrangement of exhaust sensors in or on exhaust apparatus
    • FMECHANICAL ENGINEERING; LIGHTING; HEATING; WEAPONS; BLASTING
    • F01MACHINES OR ENGINES IN GENERAL; ENGINE PLANTS IN GENERAL; STEAM ENGINES
    • F01NGAS-FLOW SILENCERS OR EXHAUST APPARATUS FOR MACHINES OR ENGINES IN GENERAL; GAS-FLOW SILENCERS OR EXHAUST APPARATUS FOR INTERNAL-COMBUSTION ENGINES
    • F01N13/00Exhaust or silencing apparatus characterised by constructional features
    • F01N13/009Exhaust or silencing apparatus characterised by constructional features having two or more separate purifying devices arranged in series
    • FMECHANICAL ENGINEERING; LIGHTING; HEATING; WEAPONS; BLASTING
    • F01MACHINES OR ENGINES IN GENERAL; ENGINE PLANTS IN GENERAL; STEAM ENGINES
    • F01NGAS-FLOW SILENCERS OR EXHAUST APPARATUS FOR MACHINES OR ENGINES IN GENERAL; GAS-FLOW SILENCERS OR EXHAUST APPARATUS FOR INTERNAL-COMBUSTION ENGINES
    • F01N3/00Exhaust or silencing apparatus having means for purifying, rendering innocuous, or otherwise treating exhaust
    • F01N3/02Exhaust or silencing apparatus having means for purifying, rendering innocuous, or otherwise treating exhaust for cooling, or for removing solid constituents of, exhaust
    • F01N3/021Exhaust or silencing apparatus having means for purifying, rendering innocuous, or otherwise treating exhaust for cooling, or for removing solid constituents of, exhaust by means of filters
    • F01N3/023Exhaust or silencing apparatus having means for purifying, rendering innocuous, or otherwise treating exhaust for cooling, or for removing solid constituents of, exhaust by means of filters using means for regenerating the filters, e.g. by burning trapped particles
    • F01N3/025Exhaust or silencing apparatus having means for purifying, rendering innocuous, or otherwise treating exhaust for cooling, or for removing solid constituents of, exhaust by means of filters using means for regenerating the filters, e.g. by burning trapped particles using fuel burner or by adding fuel to exhaust
    • FMECHANICAL ENGINEERING; LIGHTING; HEATING; WEAPONS; BLASTING
    • F01MACHINES OR ENGINES IN GENERAL; ENGINE PLANTS IN GENERAL; STEAM ENGINES
    • F01NGAS-FLOW SILENCERS OR EXHAUST APPARATUS FOR MACHINES OR ENGINES IN GENERAL; GAS-FLOW SILENCERS OR EXHAUST APPARATUS FOR INTERNAL-COMBUSTION ENGINES
    • F01N3/00Exhaust or silencing apparatus having means for purifying, rendering innocuous, or otherwise treating exhaust
    • F01N3/02Exhaust or silencing apparatus having means for purifying, rendering innocuous, or otherwise treating exhaust for cooling, or for removing solid constituents of, exhaust
    • F01N3/021Exhaust or silencing apparatus having means for purifying, rendering innocuous, or otherwise treating exhaust for cooling, or for removing solid constituents of, exhaust by means of filters
    • F01N3/023Exhaust or silencing apparatus having means for purifying, rendering innocuous, or otherwise treating exhaust for cooling, or for removing solid constituents of, exhaust by means of filters using means for regenerating the filters, e.g. by burning trapped particles
    • F01N3/025Exhaust or silencing apparatus having means for purifying, rendering innocuous, or otherwise treating exhaust for cooling, or for removing solid constituents of, exhaust by means of filters using means for regenerating the filters, e.g. by burning trapped particles using fuel burner or by adding fuel to exhaust
    • F01N3/0253Exhaust or silencing apparatus having means for purifying, rendering innocuous, or otherwise treating exhaust for cooling, or for removing solid constituents of, exhaust by means of filters using means for regenerating the filters, e.g. by burning trapped particles using fuel burner or by adding fuel to exhaust adding fuel to exhaust gases
    • FMECHANICAL ENGINEERING; LIGHTING; HEATING; WEAPONS; BLASTING
    • F01MACHINES OR ENGINES IN GENERAL; ENGINE PLANTS IN GENERAL; STEAM ENGINES
    • F01NGAS-FLOW SILENCERS OR EXHAUST APPARATUS FOR MACHINES OR ENGINES IN GENERAL; GAS-FLOW SILENCERS OR EXHAUST APPARATUS FOR INTERNAL-COMBUSTION ENGINES
    • F01N3/00Exhaust or silencing apparatus having means for purifying, rendering innocuous, or otherwise treating exhaust
    • F01N3/08Exhaust or silencing apparatus having means for purifying, rendering innocuous, or otherwise treating exhaust for rendering innocuous
    • F01N3/10Exhaust or silencing apparatus having means for purifying, rendering innocuous, or otherwise treating exhaust for rendering innocuous by thermal or catalytic conversion of noxious components of exhaust
    • F01N3/105General auxiliary catalysts, e.g. upstream or downstream of the main catalyst
    • F01N3/106Auxiliary oxidation catalysts
    • FMECHANICAL ENGINEERING; LIGHTING; HEATING; WEAPONS; BLASTING
    • F02COMBUSTION ENGINES; HOT-GAS OR COMBUSTION-PRODUCT ENGINE PLANTS
    • F02DCONTROLLING COMBUSTION ENGINES
    • F02D41/00Electrical control of supply of combustible mixture or its constituents
    • F02D41/02Circuit arrangements for generating control signals
    • F02D41/021Introducing corrections for particular conditions exterior to the engine
    • F02D41/0235Introducing corrections for particular conditions exterior to the engine in relation with the state of the exhaust gas treating apparatus
    • F02D41/027Introducing corrections for particular conditions exterior to the engine in relation with the state of the exhaust gas treating apparatus to purge or regenerate the exhaust gas treating apparatus
    • F02D41/029Introducing corrections for particular conditions exterior to the engine in relation with the state of the exhaust gas treating apparatus to purge or regenerate the exhaust gas treating apparatus the exhaust gas treating apparatus being a particulate filter
    • FMECHANICAL ENGINEERING; LIGHTING; HEATING; WEAPONS; BLASTING
    • F02COMBUSTION ENGINES; HOT-GAS OR COMBUSTION-PRODUCT ENGINE PLANTS
    • F02DCONTROLLING COMBUSTION ENGINES
    • F02D41/00Electrical control of supply of combustible mixture or its constituents
    • F02D41/02Circuit arrangements for generating control signals
    • F02D41/14Introducing closed-loop corrections
    • F02D41/1438Introducing closed-loop corrections using means for determining characteristics of the combustion gases; Sensors therefor
    • F02D41/1444Introducing closed-loop corrections using means for determining characteristics of the combustion gases; Sensors therefor characterised by the characteristics of the combustion gases
    • FMECHANICAL ENGINEERING; LIGHTING; HEATING; WEAPONS; BLASTING
    • F01MACHINES OR ENGINES IN GENERAL; ENGINE PLANTS IN GENERAL; STEAM ENGINES
    • F01NGAS-FLOW SILENCERS OR EXHAUST APPARATUS FOR MACHINES OR ENGINES IN GENERAL; GAS-FLOW SILENCERS OR EXHAUST APPARATUS FOR INTERNAL-COMBUSTION ENGINES
    • F01N2340/00Dimensional characteristics of the exhaust system, e.g. length, diameter or volume of the exhaust apparatus; Spatial arrangements of exhaust apparatuses
    • FMECHANICAL ENGINEERING; LIGHTING; HEATING; WEAPONS; BLASTING
    • F01MACHINES OR ENGINES IN GENERAL; ENGINE PLANTS IN GENERAL; STEAM ENGINES
    • F01NGAS-FLOW SILENCERS OR EXHAUST APPARATUS FOR MACHINES OR ENGINES IN GENERAL; GAS-FLOW SILENCERS OR EXHAUST APPARATUS FOR INTERNAL-COMBUSTION ENGINES
    • F01N2560/00Exhaust systems with means for detecting or measuring exhaust gas components or characteristics
    • FMECHANICAL ENGINEERING; LIGHTING; HEATING; WEAPONS; BLASTING
    • F01MACHINES OR ENGINES IN GENERAL; ENGINE PLANTS IN GENERAL; STEAM ENGINES
    • F01NGAS-FLOW SILENCERS OR EXHAUST APPARATUS FOR MACHINES OR ENGINES IN GENERAL; GAS-FLOW SILENCERS OR EXHAUST APPARATUS FOR INTERNAL-COMBUSTION ENGINES
    • F01N2560/00Exhaust systems with means for detecting or measuring exhaust gas components or characteristics
    • F01N2560/02Exhaust systems with means for detecting or measuring exhaust gas components or characteristics the means being an exhaust gas sensor
    • F01N2560/022Exhaust systems with means for detecting or measuring exhaust gas components or characteristics the means being an exhaust gas sensor for measuring or detecting CO or CO2
    • FMECHANICAL ENGINEERING; LIGHTING; HEATING; WEAPONS; BLASTING
    • F01MACHINES OR ENGINES IN GENERAL; ENGINE PLANTS IN GENERAL; STEAM ENGINES
    • F01NGAS-FLOW SILENCERS OR EXHAUST APPARATUS FOR MACHINES OR ENGINES IN GENERAL; GAS-FLOW SILENCERS OR EXHAUST APPARATUS FOR INTERNAL-COMBUSTION ENGINES
    • F01N2560/00Exhaust systems with means for detecting or measuring exhaust gas components or characteristics
    • F01N2560/02Exhaust systems with means for detecting or measuring exhaust gas components or characteristics the means being an exhaust gas sensor
    • F01N2560/023Exhaust systems with means for detecting or measuring exhaust gas components or characteristics the means being an exhaust gas sensor for measuring or detecting HC
    • FMECHANICAL ENGINEERING; LIGHTING; HEATING; WEAPONS; BLASTING
    • F02COMBUSTION ENGINES; HOT-GAS OR COMBUSTION-PRODUCT ENGINE PLANTS
    • F02DCONTROLLING COMBUSTION ENGINES
    • F02D2200/00Input parameters for engine control
    • F02D2200/02Input parameters for engine control the parameters being related to the engine
    • F02D2200/08Exhaust gas treatment apparatus parameters
    • F02D2200/0802Temperature of the exhaust gas treatment apparatus
    • F02D2200/0804Estimation of the temperature of the exhaust gas treatment apparatus
    • FMECHANICAL ENGINEERING; LIGHTING; HEATING; WEAPONS; BLASTING
    • F02COMBUSTION ENGINES; HOT-GAS OR COMBUSTION-PRODUCT ENGINE PLANTS
    • F02DCONTROLLING COMBUSTION ENGINES
    • F02D41/00Electrical control of supply of combustible mixture or its constituents
    • F02D41/02Circuit arrangements for generating control signals
    • F02D41/021Introducing corrections for particular conditions exterior to the engine
    • F02D41/0235Introducing corrections for particular conditions exterior to the engine in relation with the state of the exhaust gas treating apparatus
    • F02D41/024Introducing corrections for particular conditions exterior to the engine in relation with the state of the exhaust gas treating apparatus to increase temperature of the exhaust gas treating apparatus
    • F02D41/025Introducing corrections for particular conditions exterior to the engine in relation with the state of the exhaust gas treating apparatus to increase temperature of the exhaust gas treating apparatus by changing the composition of the exhaust gas, e.g. for exothermic reaction on exhaust gas treating apparatus

Landscapes

  • Engineering & Computer Science (AREA)
  • Chemical & Material Sciences (AREA)
  • Combustion & Propulsion (AREA)
  • Mechanical Engineering (AREA)
  • General Engineering & Computer Science (AREA)
  • Chemical Kinetics & Catalysis (AREA)
  • Materials Engineering (AREA)
  • Health & Medical Sciences (AREA)
  • Analytical Chemistry (AREA)
  • Toxicology (AREA)
  • Exhaust Gas After Treatment (AREA)
  • Electrical Control Of Air Or Fuel Supplied To Internal-Combustion Engine (AREA)
  • Processes For Solid Components From Exhaust (AREA)
  • Filtering Of Dispersed Particles In Gases (AREA)
  • Catalysts (AREA)
  • Combined Controls Of Internal Combustion Engines (AREA)

Description

本発明は、触媒作用を付与した煤フィルター(CSF)、制御装置、及び該制御装置により制御することができる、該CSF中に流れ込む排ガス中の燃焼可能な炭化水素(HC)及び/または一酸化炭素(CO)の含有量を増加させ、それによって、該CSF中でHC及び/またはCOを燃焼させ、該CSFの温度を増加させ、該CSF上に集められた粒子状物質(PM)を燃焼させる手段を備えてなる、リーンバーン内燃機関用の排気機構に関する。
CSFを使用し、軽負荷ディーゼル車両(関連する法律で制定されている)におけるPM、CO及びHCの排ガス放出物規制に適合させることは公知である。CSFの使用に関する公知の問題は、排ガス温度が比較的低い、例えば150〜200℃である時、例えば長時間のアイドリング及び/または低速度走行条件にある時、PMがCSF上に蓄積し得ることである。そのような状況下では、PMがCSF上に蓄積するにつれて、機構中の背圧が過度に増加することがある。典型的には、この問題は、CSFを能動的に再生する、即ちCSF中にエネルギーを能動的に導入し、PMを燃焼させる、手段を採用することにより、対処される。
そのような能動的な再生方法の一つでは、CSF中に流れ込む排ガス中の燃焼可能なHC(典型的にはエンジンに動力を与える燃料またはそこから誘導される生成物)及び/またはCOの含有量を増加させ、それによって、CSF中でHC及び/またはCOを燃焼させ、CSFの温度を増加させ、CSF上に蓄積したPMを燃焼させる。そのような能動的再生工程は、CSFの状態を示す好適な指標、例えば機構中の、予め決められた閾値を超えて増加する背圧、前回の再生から経過した、予め決められた時間、または前回の再生から車両が予め決められた距離を走行すること、により起動される。そのような工程は、典型的には、好適なセンサー入力を受ける好適なプログラム化されたエンジン管理装置(ECU)により管理される。
一般的に、排ガス中燃焼可能なHC及び/またはCOの含有量を増加させる2つの手段、即ち排気機構中を流れる排ガス中にHCを直接噴射すること、及び一個以上のエンジンシリンダー中へのHCの噴射を制御すること、が使用される。後者の手段は、相手先商標製品製造業者(OEM)用途にはより一般的であり、コモンレール噴射装置の使用により、噴射の量及びタイミングの融通性を高めることができる。例えば、膨脹行程の際に2回のコモンレール噴射、即ち
(i)排気バルブが開く直前(下死点)に行う後記後噴射(late post-injection)、及びさらに
(ii)上死点の直後に加える早期後噴射(後噴射と呼ばれる)
を行い、燃焼温度を増加し、排ガスのHC濃度を高くすることができる。
現在製造されている排気機構では、ディーゼル酸化触媒(DOC)はエンジンの全てのターボの下流に位置し、CSFはDOCの下流に配置されている。正常な運転の際、PMは、酸素またはNO(NOは、DOCまたはCSF上で排ガス中のNOを酸化することから発生する)中で受動的に燃焼する。CSFを能動的に再生することが望ましい場合、排ガス中のHCおよび/またはCO含有量を増加し、そのHCおよび/またはCOをCSFの上流にあるDOC上で燃焼させ、それによって増加した排ガス温度にCSFを露出し、CSF上でPMを燃焼させる。CSFの入口温度は、排ガス中に噴射されるHCおよび/またはCOの量を調整することにより、制御される。実際には、この制御は、熱電対を使用してCSF中に流れ込む(またはDOC後の)排ガスの温度を測定し、温度が低すぎる場合にはHC噴射を増加し、温度が高すぎる場合には、HC噴射を減少させることにより、行う。この配置は、いわゆるECUを使用する閉ループ制御の一例である。
DOCは、シリンダー内燃焼に続いて排ガス中に残留するCOおよび/またはHCの酸化を促進し、法律で制定されている放出物標準に適合させる目的で設計される。
本明細書で規定するように、「熱電対」は、2本の異なったワイヤをそれらの末端で接合してループを形成し、2個の接合部間の温度差が接触電位を不均衡にし、そのループを回るように電流を流す。一方の接合部における温度を一定に維持すると、その電流を測定することにより、他方の温度が示される。
法律及び車両製造業者は、排ガス処理用の触媒を包含する排気機構部品の、耐久性の増加を要求している。従って、CSFへのエネルギー入力を注意深く制御し、触媒および/またはフィルター基材の熱的損傷を避ける必要がある。従って、必要とされる能動的再生の制御レベルは、CSFの温度を、PMの燃焼を促進するには十分であるが、予め決められた最大入口温度を超えない、予め決められたレベルに増加し、それによって、PM酸化によるCSF中の温度増加が予め決められた設計公差の中に確実に収まるようにすることである。
排気機構が、PM、CO及びHCを処理するのにDOCとCSFの両方の存在を必要とせず、代わりに、CSF装置を、DOCとCSFの両方の機能を果たすことができる触媒で被覆し、単一の触媒装置を提供することができれば、好ましいであろう。実際、燃焼可能なHCおよび/またはCOをCSF自体の上で燃焼させることにより、CSFの温度を、PMを燃焼させるのに十分な程度に上昇させることは、無論、可能である。しかし、触媒被覆及びフィルター基材を、損傷を起こす程高い温度、例えば>650℃、に露出することは避けるが、CSF上でPMを燃焼させるのに十分なエネルギーをCSFに導入するために、CSFへのエネルギー入力を精確に制御する問題が残る。熱電対をCSF自体の中に配置して温度測定することができるが、そのような配置には多くの欠点がある。第一に、PMの燃焼から来る追加の熱を、排ガスから来るHCおよび/またはCOに由来する熱と区別することができず、従って、入口ガス状態を直接測定することは、困難、または現実的に不可能である。第二に、直径の小さな熱電対をCSFのセル構造中に配置することに関連する耐久性の問題がある、即ち熱電対またはフィルターが損傷を受けることがある。
ここで我々は、CSFの上流でHCおよび/またはCOを燃焼させるためのDOCを必要とせずに、CSFの能動的再生を制御する新規な方法を開発した。
米国特許第4,029,472号明細書は、排ガス、特に内燃機関排ガス中の残留燃焼可能物質を検出するためのセンサーを開示している。このセンサーは、一対の熱電対接合部を含んでなり、一方の接合部に触媒作用を付与してあり、接合部間の温度差が排ガス中の残留燃焼可能物質に比例する。この文書は、センサーをフロースルー触媒転化器から上流に配置し、排ガス流中の未燃焼HCおよび/またはCOの実際の残留量を検出できることを示唆している。あるいは、このセンサーを触媒転化器から下流に取り付けた場合、このセンサーは、触媒転化器の効率監視に使用することができる。
ヨーロッパ特許第1580411号明細書は、ディーゼルエンジン用の、酸化触媒と、それに続く粒子状物質フィルターを備えてなる排気機構を開示している。酸化触媒は、白金及びパラジウムを0.05≦(Pd/Pd+Pt)≦0.75の比で含んでなる。フィルター温度を増加させるには、燃料を酸化触媒中に供給する。
一態様で、本発明は、リーンバーン内燃機関用の排気機構であって、(a)触媒作用を付与したフィルター(CSF)、(b)制御装置、(c)該制御装置により制御可能な、該CSF中に流れ込む排ガス中の燃焼可能なHCおよび/またはCOの含有量を増加させ、それによって、該HCおよび/またはCOを該CSF中で燃焼させ、該CSFの温度を増加させ、該CSF上に集められたPMを燃焼させる手段、及び(d)エンジンマニホルドと該CSFとの間に配置された、該排気機構中を流れる排ガス中のCOおよび/またはHCを燃焼させ、該制御装置に、該排ガス中のHCおよび/またはCOの燃焼エンタルピーに相関するデータを入力する、触媒作用を付与したセンサー手段を備えてなり、該制御装置が、使用中に、燃焼可能なHCおよび/またはCOの導入手段を、該データに応答して制御し、それによって、該CSFを燃焼可能なHCおよび/またはCOに接触させる速度を制御する、排気機構を提供する。
センサー手段は、該制御装置中のプロセッサーに、該CSF中に流れ込む排ガス中に存在するHCおよび/またはCOの燃焼により起こる該CSFの発熱温度上昇を推定させることができる。
一実施態様では、触媒作用を付与したセンサー手段は、触媒作用を付与した熱電対接合部を備えてなる。特別な実施態様では、熱電対触媒は、CSF中に使用する触媒、例えばアルミナ上に担持された白金、を含んでなる。適切に校正された、触媒作用を付与した熱電対は、熱電対触媒が排ガス中のHCおよび/またはCOを燃焼させ、発熱により熱電対接合部を加熱するので、下流にあるCSFの温度との直接的な相関関係を与えることができる。このようにして発生した信号を使用し、閉ループフィードバックにより、HCおよび/またはCOの導入を制御し、それによって、CSFの温度を予め決められた範囲内に維持することができる。
別の実施態様では、触媒作用を付与したセンサー手段は、第一実施態様の触媒作用を付与した熱電対接合部を備えてなり、さらに、触媒作用を付与していない基準熱電対接合部を備えてなる。そのようなセンサーは、ここにその全文を参考として含める米国特許第4,092,472号明細書に記載されている。この2個の熱電対接合部の配置により、センサーが、CSF上のHCおよび/またはCOの燃焼に由来する熱、ならびにCSF前の排ガス温度を決定することができるので、制御装置にさらなるフィードバック制御を与えることができる。
CSF中の触媒は、典型的には少なくとも一種の白金族金属(PGM)を含んでなるが、特別な実施態様では、触媒はPtを単独で、または一種以上の他のPGMとの組合せで、例えばPtとPdの両方またはPtとRhの両方もしくはPt、Pd及びRhの3種類全部を含んでなり、好適な助触媒、例えばMg、Baまたは希土類金属、例えばCe、を包含する。フィルター基材モノリスを製造する元の材料が触媒を担持できるか、または触媒を、表面積を増加するウォッシュコート成分、例えば粒子状アルミナ、上に担持することができる。
特別な実施態様では、触媒作用を付与したセンサー手段が、排気機構中の、エンジンとCSFとの間に配置された唯一の触媒作用を付与した部品である。
一実施態様では、制御装置は、CSFの能動的再生の際にCSFの温度が650℃を超えるのを阻止(煤酸化から生じる熱を排除)し、それによって、CSF中の触媒が損傷を受ける可能性を下げるか、または防止するように設計される。
CSF中で所望の温度を達成し、再生を促進するために、一実施態様では、CSFの能動的再生の際にCSFが550℃以上に維持されるように、制御装置を設計する。
一実施態様では、排気機構が、排ガス中にある燃焼可能なHCおよび/またはCOの一部だけを燃焼させることにより発熱させるための、エンジンマニホルドと触媒作用を付与したセンサー手段との間に配置された酸化触媒を含んでなる。この酸化触媒は、排気機構を取り付けるべく設計されたエンジンの排気量の1/10〜1/3の体積を有する基材モノリスを含んでなることができる。
この実施態様における酸化触媒は、COおよびHCに関して法律で制定されている放出物標準に適合させることを意図していない点で、DOCとは完全に異なっている。その代わりに、この酸化触媒の任務は、CSFの温度を増加させるために排ガス中に導入された追加のHCおよび/またはCOの一部だけを燃焼させることである。
酸化触媒は、酸化触媒活性と基材モノリスの体積の組合せが、HC及びCOに関する関連する放出物標準に適合するには不十分であるように設計される。実際には、酸化触媒は、一種以上の白金族金属を含んでなることができる。一実施態様では、唯一のPGMが白金である。別の実施態様では、白金とパラジウムの両方を使用する。触媒中の総PGM装填量は、240 gft−3まででよい。
発熱性酸化触媒を含んでなる排気機構の一実施態様では、排気機構が、予め決められた作動条件の際に触媒をバイパスさせる手段を備えてなる。そのようなバイパス手段は、制御装置により制御できるバルブ配置により制御される導管を包含することができる。この実施態様により、当業者は、CSFへのエネルギー入力に関して、設計上、より広い選択の幅が得られる。
別の態様で、本発明は、内燃機関及び本発明の排気機構を提供する。エンジンは、ディーゼルエンジン、例えば軽負荷ディーゼルエンジン(関連する法制定による)、でよい。エンジンが自然吸気方式またはスーパーチャージ方式である場合、触媒作用を付与したセンサー手段は、エンジンマニホルドとCSFの間に配置することができる。あるいは、エンジンが過給機を備えている場合、触媒作用を付与したセンサー手段は、過給機出口とCSFの間に配置することができる。
一実施態様では、排ガス中にある燃焼可能なHCおよび/またはCOの含有量を増加させる手段が、エンジンのシリンダーにおける燃料噴射器を備えてなる。あるいは、またはそれに加えて、排ガス中にある燃焼可能なHCの含有量を増加させる手段が、エンジンの位置の下流にある排ガス中に燃焼可能なHCを噴射するための噴射器を備えてなることができる。排気機構が、上記のような酸化触媒を含んでなる場合、噴射器は酸化触媒の上流に配置する。
別の態様では、本発明は、内燃機関の排気機構で触媒作用を付与した煤フィルター(CSF)の能動的再生を制御する方法であって、
(i)該CSF中に流れ込む排ガス中にある燃焼可能な炭化水素(HC)および/または一酸化炭素(CO)の含有量を増加させ、それによって、該HCおよび/またはCOを該CSF中で燃焼させ、該CSFの温度を増加し、該CSF上に集められた粒子状物質を燃焼させる工程、
(ii)該CSFの上流にある排ガス中のHCおよび/またはCOを、触媒作用を付与したセンサー手段上で燃焼させ、該排ガス中のHCおよび/またはCOの濃度を示す信号を発生させる工程、
(iii)該信号を、該排ガス中のHCおよび/またはCOの燃焼エンタルピーに関する値と相関させる工程、及び
(iv)工程(iii)で決定した該エンタルピー値に応答して、工程(i)における該HCおよび/またはCO含有量を制御し、それによって、該CSFの温度を予め決められた範囲内に維持する工程
を含んでなる、方法を提供する。
本発明をより深く理解できるようにするために、添付の図面を参照しながら本発明の実施態様を説明する。
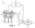
図1に関して、本発明の装置を番号10で示すが、その際、12は軽負荷ディーゼルエンジン本体であり、14はピストンであり、16は燃焼チャンバーであり、18はコモンレール燃料噴射器であり、20は吸気口であり、22は排気口であり、24は吸気バルブであり、26は排気バルブであり、28は排気マニホルドであり、30は排気管であり、32はCSFであり、34は、CSFを収容し、それを排気管と連絡させて保持する排ガスディフューザを備えてなる缶であり、36は、触媒作用を付与した熱電対接合部及び触媒作用を付与していない基準熱電対接合部の両方を備えてなるセンサーであり、38は、使用の際に、センサー36から来る検出入力に応答してCSFの能動的再生の際にコモンレール燃料噴射器を制御するようにプログラム化されたエンジン管理装置(ECU)である。
使用の際、ECU 38は、前回の能動的再生を行って以来の走行距離を測定する。走行距離が予め決められた量、例えば1000 km、を超える場合、ECUが噴射器18を制御し、一連の噴射を開始して温度を増加させ、所望により、CSFに入る排ガスのHCおよび/またはCOを増加させる。ECU 38は、センサー上でHCおよび/またはCOを燃焼させることによる局所的な温度増加に対する、CSFに入る燃焼可能なHCおよび/またはCOの相対的な量を決定するように校正される。一連のルック−アップテーブルまたはマップにより、ECU 38は、検出された量のHCおよび/またはCOの燃焼により引き起こされる、CSF 32で起こりそうな温度上昇を決定し、それに従って、噴射器18を経由する燃焼可能なHCおよび/またはCOの噴射を制御する。
ECU 38が、CSF 32に入る燃焼可能なHCおよび/またはCOの速度により、予め決められた最高温度、例えば約650℃、を超えるCSF 32の温度上昇を引き起こすと決定した場合、ECU 38は、噴射の速度および/または量を下げる、あるいは、計算された温度が、CSF 32の能動的再生を促進するのに望ましい予め決められた最低閾値、例えば約550℃、未満である場合、ECU 38は、噴射の速度および/または量を増加させる。無論、計算された温度が予め決められた温度範囲内にある場合、CSF温度に影響を及ぼす全てのファクター、例えば加速器の位置、空間速度、等、が実質的に等しいままである限り、噴射の速度および/または量を変化させる必要は無い。当業者は、ECU 38を適切にプログラム化し、所望の閉ループ制御を達成することができるので、これ以上の詳細な説明は行わない。
図2に関して、番号100は本発明の第二実施態様を表すが、その際、図1と類似の部品は同じ番号で示す。図2で、110は、短い、例えば長さ2インチ(5 cm)、直径5.6インチ(14.2 cm)の、例えばPt/アルミナの酸化触媒で被覆した基材モノリス(または「スライス」)、例えば400 cpsi(平方インチあたりのセル)(62セル cm−2)である。センサー136は、「スライス」110の直後に配置された触媒作用を付与した熱電対接合部を備えてなり、該センサーは、ECU 38と連絡している。
使用の際、ある量のHCおよび/またはCOが酸化触媒110の上で燃焼し、その排ガス中で発生した熱が、触媒作用を付与したセンサー自体の上におけるHCおよび/またはCOの燃焼により発生した熱に加えて、センサー136により検出される。排ガス中で検出された温度増加と、CSF中で予想される温度増加とを相関させることができる。
図1は、軽負荷ディーゼルエンジン及び本発明の第一実施態様を含んでなる排気機構を備えてなる装置を図式的に示す。 図2は、本発明の第二実施態様を示す。

Claims (11)

  1. リーンバーン内燃機関用の排気機構であって、
    (a)排ガス触媒作用を付与したフィルター(CSF)と、
    排ガスが前記機関の作動中に、前記CSF中に連続的に流れ込んでなるものであり、
    (b)制御装置と、
    (c)前記CSF中に流れ込む排ガス中の燃焼可能な炭化水素(HC)および/または一酸化炭素(CO)の含有量を増加させ、それによって、前記HCおよび/またはCOを前記CSF中で燃焼させ、前記CSFの温度を増加させ、及び前記CSF上に集められた粒子状物質を燃焼させるための、前記制御装置により制御可能な手段と、及び
    (d)前記機関マニホルドと前記CSFとの間に配置された、前記排気機構中を流れる排ガス中のCOおよび/またはHCを燃焼させ、前記制御装置に、前記排ガス中のHCおよび/またはCOの燃焼エンタルピーに相関するデータを入力する、触媒作用を付与したセンサー手段とを備えてなり、
    前記触媒作用を付与したセンサー手段が、前記機関と前記CSFとの間に配置された前記排気機構中における唯一の触媒作用を付与した部品であり、
    前記制御装置が、使用中に、燃焼可能なHCおよび/またはCOの導入手段を、前記データに応答して制御し、それによって、前記CSFを燃焼可能なHCおよび/またはCOに接触させる速度を制御する、排気機構。
  2. 前記触媒作用を付与したセンサー手段が、触媒作用を付与した熱電対接合部を備えてなる、請求項1に記載の排気機構。
  3. 前記触媒作用を付与したセンサー手段が、前記触媒作用を付与した熱電対接合部と、及び触媒作用を付与していない基準熱電対接合部を備えてなる、請求項2に記載の排気機構。
  4. 前記CSF中の前記触媒が、少なくとも一種の白金族金属、好ましくはPt、またはPtとPdの両方を含んでなる、請求項1〜3の何れか一項に記載の排気機構。
  5. 前記触媒作用を付与した熱電対が、前記CSFと同じ触媒を含んでなる、請求項2〜4の何れか一項に記載の排気機構。
  6. 前記CSFの能動的再生の際に、前記制御装置が前記CSFの温度が予め決められた温度を超えるのを阻止するように設計されてなる、請求項1〜5のいずれか一項に記載の排気機構。
  7. 前記CSFの能動的再生の際に、前記制御装置が前記CSFを予め決められた温度より高く維持するように設計されてなる、請求項1〜6のいずれか一項に記載の排気機構。
  8. 燃焼可能なHCを前記CSFの上流にある排ガス中に噴射する手段を備えてなる、請求項1〜7のいずれか一項に記載の排気機構。
  9. 内燃機関及び請求項1〜8のいずれか一項に記載の排気機構を備えてなる、装置。
  10. 前記排ガス中にある燃焼可能なHCおよび/またはCOの含有量を増加させる前記手段が、前記機関のシリンダーにおける燃料噴射器を備えてなる、請求項9に記載の装置。
  11. 内燃機関の排気機構で触媒作用を付与した煤フィルター(CSF)の能動的再生を制御する方法であって、
    排ガスが前記機関の作動中に、前記CSF中に連続的に流れ込んでなるものであり、
    (i)前記CSF中に流れ込む排ガス中にある燃焼可能な炭化水素(HC)および/または一酸化炭素(CO)の含有量を増加させ、それによって、前記HCおよび/またはCOを前記CSF中で燃焼させ、前記CSFの温度を増加し、前記CSF上に集められた粒子状物質を燃焼させることと、
    (ii)前記CSFの上流にある排ガス中のHCおよび/またはCOを、触媒作用を付与したセンサー手段上で燃焼させ、前記排ガス中のHCおよび/またはCOの濃度を示す信号を発生させることと、
    前記触媒作用を付与したセンサー手段が、前記機関と前記CSFとの間に配置された前記排気機構中における唯一の触媒作用を付与した部品であり、
    (iii)前記信号を、前記排ガス中のHCおよび/またはCOの燃焼エンタルピーに関する値と相関させることと、及び
    (iv)工程(iii)で決定した前記エンタルピー値に応答して、工程(i)における前記HCおよび/またはCO含有量を制御し、それによって、前記CSFの温度を予め決められた範囲内に維持することとを含んでなる、方法。
JP2008556857A 2006-02-28 2007-02-13 触媒作用を付与した煤フィルターを備えてなる排気機構 Expired - Fee Related JP5324924B2 (ja)

Applications Claiming Priority (3)

Application Number Priority Date Filing Date Title
GBGB0603898.8A GB0603898D0 (en) 2006-02-28 2006-02-28 Exhaust system comprising catalysed soot filter
GB0603898.8 2006-02-28
PCT/GB2007/050059 WO2007099363A1 (en) 2006-02-28 2007-02-13 Exhaust system comprising catalysed soot filter

Publications (2)

Publication Number Publication Date
JP2009528476A JP2009528476A (ja) 2009-08-06
JP5324924B2 true JP5324924B2 (ja) 2013-10-23

Family

ID=36178850

Family Applications (1)

Application Number Title Priority Date Filing Date
JP2008556857A Expired - Fee Related JP5324924B2 (ja) 2006-02-28 2007-02-13 触媒作用を付与した煤フィルターを備えてなる排気機構

Country Status (9)

Country Link
US (1) US8327632B2 (ja)
EP (1) EP1989409B1 (ja)
JP (1) JP5324924B2 (ja)
KR (1) KR20080114700A (ja)
CN (1) CN101395347B (ja)
AT (1) ATE530740T1 (ja)
GB (1) GB0603898D0 (ja)
RU (1) RU2427715C2 (ja)
WO (1) WO2007099363A1 (ja)

Families Citing this family (13)

* Cited by examiner, † Cited by third party
Publication number Priority date Publication date Assignee Title
EP2123345B1 (de) * 2008-05-23 2010-08-04 Umicore AG & Co. KG Vorrichtung zur Reinigung von Dieselabgasen
JP5062069B2 (ja) * 2008-07-04 2012-10-31 トヨタ自動車株式会社 内燃機関の排気浄化装置
US9169765B2 (en) * 2008-07-14 2015-10-27 Westport Power Inc. Method for regenerating a diesel particulate filter
JP5515553B2 (ja) * 2009-01-16 2014-06-11 トヨタ自動車株式会社 温度センサ及び内燃機関の排気浄化装置
KR20110024598A (ko) 2009-09-02 2011-03-09 현대자동차주식회사 디젤 자동차의 질소산화물 저감 장치
DE102009046433A1 (de) * 2009-11-05 2011-05-12 Robert Bosch Gmbh Verfahren und Vorrichtung zur Überwachung einer Abgasreinigungsanlage
WO2013084019A1 (en) * 2011-12-09 2013-06-13 Renault Trucks System for treating the exhaust gases of an internal combustion engine arrangement, and process for controlling an engine arrangement comprising such a system
FR2985770B1 (fr) * 2012-01-12 2014-03-07 Renault Sa Gestion optimisee d'un catalyseur scr par regenerations periodiques d'un filtre a particules
CN102841029B (zh) * 2012-09-20 2015-04-08 奇瑞汽车股份有限公司 憎水玻璃的耐久性测试装置
EP3058190B1 (en) 2013-10-15 2019-02-20 Johnson Matthey Public Limited Company An on-board diagnostics system for catalyzed substrate
CN103726907B (zh) * 2014-01-13 2015-10-28 东南大学 一种应用于南极科考支撑平台柴油发电机的烟气监控除尘系统
JP6567900B2 (ja) * 2015-07-02 2019-08-28 株式会社Soken 内燃機関の燃料噴射制御装置
US11492940B2 (en) 2018-04-27 2022-11-08 Carrier Corporation Exhaust back pressure and temperature monitoring transport refrigiration unit

Family Cites Families (40)

* Cited by examiner, † Cited by third party
Publication number Priority date Publication date Assignee Title
DE2202614A1 (de) * 1972-01-20 1973-08-02 Bosch Gmbh Robert Abgasnachverbrennungseinrichtung
DE2330749A1 (de) 1972-05-26 1975-01-09 Volkswagenwerk Ag Anordnung zur verringerung der schadstoffanteile in den abgasen einer brennkraftmaschine
US4029472A (en) 1976-04-05 1977-06-14 General Motors Corporation Thermoelectric exhaust gas sensor
DE2643739C2 (de) 1976-09-29 1986-03-13 Robert Bosch Gmbh, 7000 Stuttgart Verfahren zur Überwachung der Aktivität von Katalysatoren für die Abgasreinigung
DE4022546A1 (de) 1990-07-16 1992-01-23 Emitec Emissionstechnologie Messfuehler fuer ein abgassystem und verfahren zu seinem betrieb
US5363091A (en) 1991-08-07 1994-11-08 Ford Motor Company Catalyst monitoring using ego sensors
JPH0544434A (ja) * 1991-08-08 1993-02-23 Nissan Motor Co Ltd 内燃機関の排気処理装置
US6242263B1 (en) * 1996-12-20 2001-06-05 Corning Incorporated Automotive hydrocarbon sensor
US6037183A (en) 1996-12-20 2000-03-14 Corning Incorporated Automotive hydrocarbon sensor system
JPH10252450A (ja) * 1997-03-15 1998-09-22 Toyota Central Res & Dev Lab Inc 排気中の可燃成分検出装置および触媒活性能力判定装置
JP3876506B2 (ja) 1997-06-20 2007-01-31 株式会社デンソー ガス濃度の測定方法及び複合ガスセンサ
US5941918A (en) 1997-07-30 1999-08-24 Engelhard Corporation Automotive on-board monitoring system for catalytic converter evaluation
US6546721B2 (en) * 2000-04-18 2003-04-15 Toyota Jidosha Kabushiki Kaisha Exhaust gas purification device
US6826906B2 (en) * 2000-08-15 2004-12-07 Engelhard Corporation Exhaust system for enhanced reduction of nitrogen oxides and particulates from diesel engines
JP4161546B2 (ja) * 2001-06-26 2008-10-08 いすゞ自動車株式会社 連続再生型ディーゼルパティキュレートフィルタ装置の再生制御方法
JP3599012B2 (ja) * 2001-10-01 2004-12-08 トヨタ自動車株式会社 内燃機関の排気浄化装置
JP3835241B2 (ja) * 2001-10-15 2006-10-18 トヨタ自動車株式会社 内燃機関の排気浄化装置
FR2832183B1 (fr) * 2001-11-13 2005-10-28 Peugeot Citroen Automobiles Sa Systeme d'aide a la regeneration d'un filtre a particules catalyse dispose dans une ligne d'echappement de moteur diesel de vehicule automobile
US6915629B2 (en) * 2002-03-07 2005-07-12 General Motors Corporation After-treatment system and method for reducing emissions in diesel engine exhaust
US6810660B2 (en) 2002-04-08 2004-11-02 Ford Global Technologies, Llc System for minimizing the impact of poisoning of automotive exhaust aftertreatment systems
JP3757894B2 (ja) * 2002-04-15 2006-03-22 トヨタ自動車株式会社 内燃機関の排気浄化装置及び内燃機関の排気浄化方法
US6826905B2 (en) * 2002-06-04 2004-12-07 International Engine Intellectual Property Company, Llc Control strategy for regenerating a particulate filter in an exhaust system of an engine having a variable valve actuation mechanism
JP4045935B2 (ja) * 2002-11-25 2008-02-13 三菱ふそうトラック・バス株式会社 内燃機関の排気浄化装置
GB0304939D0 (en) 2003-03-05 2003-04-09 Johnson Matthey Plc Light-duty diesel engine and a particulate filter therefor
GB0305415D0 (en) * 2003-03-08 2003-04-16 Johnson Matthey Plc Exhaust system for lean burn IC engine including particulate filter and NOx absorbent
FR2854923B1 (fr) 2003-05-12 2006-06-23 Peugeot Citroen Automobiles Sa SYSTEME D'AIDE A LA REGENERATION D'UN PIEGE A NOx
JP4345359B2 (ja) * 2003-05-28 2009-10-14 いすゞ自動車株式会社 排気ガス浄化システム
JP4333289B2 (ja) * 2003-09-03 2009-09-16 いすゞ自動車株式会社 排気ガス浄化システム
DE602004004221T2 (de) * 2003-09-19 2007-05-03 Nissan Motor Co., Ltd., Yokohama Regenerationssteuerung eines Filters
US6978604B2 (en) * 2003-11-06 2005-12-27 International Engine Intellectual Property Company, Llc Soot burn-off control strategy for a catalyzed diesel particulate filter
JP2005248787A (ja) 2004-03-03 2005-09-15 Mitsubishi Fuso Truck & Bus Corp 排気浄化装置
JP4507697B2 (ja) * 2004-05-21 2010-07-21 トヨタ自動車株式会社 内燃機関の排気浄化システム
DE102004027907A1 (de) * 2004-06-09 2005-12-29 Emitec Gesellschaft Für Emissionstechnologie Mbh Regelsystem für eine mobile Verbrennungskraftmaschine
DE102004033412A1 (de) * 2004-07-10 2006-02-02 Robert Bosch Gmbh Verfahren zum Betreiben eines in einem Abgasbereich einer Brennkraftmaschine angeordneten Partikelfilters und Vorrichtung zur Durchführung des Verfahrens
DE102004046638A1 (de) * 2004-09-25 2006-03-30 Robert Bosch Gmbh Verfahren zum Betreiben einer im Abgasbereich einer Brennkraftmaschine angeordneten Partikelfilters und Vorrichtung zur Durchführung des Verfahrens
DE102004048336A1 (de) * 2004-10-01 2006-04-13 J. Eberspächer GmbH & Co. KG Abgasanlage für eine Brennkraftmaschine
GB2406803A (en) 2004-11-23 2005-04-13 Johnson Matthey Plc Exhaust system comprising exotherm-generating catalyst
US7533524B2 (en) * 2005-05-18 2009-05-19 Cummins Inc. Method and apparatus for soot filter catalyst temperature control with oxygen flow constraint
US7299626B2 (en) * 2005-09-01 2007-11-27 International Engine Intellectual Property Company, Llc DPF regeneration monitoring method
GB0716833D0 (en) 2007-08-31 2007-10-10 Nunn Andrew D On board diagnostic system

Also Published As

Publication number Publication date
WO2007099363A1 (en) 2007-09-07
EP1989409B1 (en) 2011-10-26
KR20080114700A (ko) 2008-12-31
EP1989409A1 (en) 2008-11-12
US20090071131A1 (en) 2009-03-19
JP2009528476A (ja) 2009-08-06
RU2427715C2 (ru) 2011-08-27
ATE530740T1 (de) 2011-11-15
US8327632B2 (en) 2012-12-11
GB0603898D0 (en) 2006-04-05
CN101395347B (zh) 2012-12-26
RU2008138547A (ru) 2010-04-10
CN101395347A (zh) 2009-03-25

Similar Documents

Publication Publication Date Title
JP5324924B2 (ja) 触媒作用を付与した煤フィルターを備えてなる排気機構
JP5383615B2 (ja) 後処理バーナシステムの暖機方法
CN102822481A (zh) 再生辅助校准
US20120144802A1 (en) Exhaust system having doc regeneration strategy
US9194272B2 (en) Power system
US20090000604A1 (en) Engine system having aftertreatment and an intake air heater
US7654079B2 (en) Diesel oxidation catalyst filter heating system
CN102803674A (zh) 内燃机
US9523974B2 (en) Method of controlling operation of an exhaust fluid treatment apparatus
US9260996B2 (en) Exhaust system and method for controlling an exhaust system
US8864875B2 (en) Regeneration of a particulate filter based on a particulate matter oxidation rate
JP5141824B2 (ja) 内燃機関の排気浄化装置
US8881503B2 (en) Method and device for preventing fuel freezing in a postprocessing burner system
JP2010285917A (ja) 粒子状物質検出装置、および排気ガス浄化装置の状態判定装置
US8584445B2 (en) Method and system for controlling an electrically heated particulate filter
Joshi et al. Development of an actively regenerating DPF system for retrofit applications
US7204082B1 (en) System for combustion of reformate in an engine exhaust stream
JP2009299617A (ja) 内燃機関の排気浄化装置
JP2008519194A (ja) 内燃エンジンに付属する排気路の触媒式コンバータの動作状態を制御するための装置およびその装置を具備するエンジン
KR20120036008A (ko) 자동차 배출가스 저감장치
KR102241485B1 (ko) 강제 재생 제어 시스템
EP2559871A1 (en) Combustion/temperature increase control method and device for after-treatment burner system
JP5387984B2 (ja) 内燃機関
JP2018048568A (ja) 内燃機関及び内燃機関の排気ガス昇温方法

Legal Events

Date Code Title Description
A621 Written request for application examination

Free format text: JAPANESE INTERMEDIATE CODE: A621

Effective date: 20100119

A977 Report on retrieval

Free format text: JAPANESE INTERMEDIATE CODE: A971007

Effective date: 20111025

A131 Notification of reasons for refusal

Free format text: JAPANESE INTERMEDIATE CODE: A131

Effective date: 20111104

A601 Written request for extension of time

Free format text: JAPANESE INTERMEDIATE CODE: A601

Effective date: 20120206

A602 Written permission of extension of time

Free format text: JAPANESE INTERMEDIATE CODE: A602

Effective date: 20120213

A601 Written request for extension of time

Free format text: JAPANESE INTERMEDIATE CODE: A601

Effective date: 20120305

A602 Written permission of extension of time

Free format text: JAPANESE INTERMEDIATE CODE: A602

Effective date: 20120312

A521 Request for written amendment filed

Free format text: JAPANESE INTERMEDIATE CODE: A523

Effective date: 20120404

A131 Notification of reasons for refusal

Free format text: JAPANESE INTERMEDIATE CODE: A131

Effective date: 20121026

RD03 Notification of appointment of power of attorney

Free format text: JAPANESE INTERMEDIATE CODE: A7423

Effective date: 20130125

RD04 Notification of resignation of power of attorney

Free format text: JAPANESE INTERMEDIATE CODE: A7424

Effective date: 20130214

TRDD Decision of grant or rejection written
A01 Written decision to grant a patent or to grant a registration (utility model)

Free format text: JAPANESE INTERMEDIATE CODE: A01

Effective date: 20130716

A61 First payment of annual fees (during grant procedure)

Free format text: JAPANESE INTERMEDIATE CODE: A61

Effective date: 20130719

R150 Certificate of patent or registration of utility model

Ref document number: 5324924

Country of ref document: JP

Free format text: JAPANESE INTERMEDIATE CODE: R150

Free format text: JAPANESE INTERMEDIATE CODE: R150

R250 Receipt of annual fees

Free format text: JAPANESE INTERMEDIATE CODE: R250

R250 Receipt of annual fees

Free format text: JAPANESE INTERMEDIATE CODE: R250

R250 Receipt of annual fees

Free format text: JAPANESE INTERMEDIATE CODE: R250

R250 Receipt of annual fees

Free format text: JAPANESE INTERMEDIATE CODE: R250

R250 Receipt of annual fees

Free format text: JAPANESE INTERMEDIATE CODE: R250

R250 Receipt of annual fees

Free format text: JAPANESE INTERMEDIATE CODE: R250

R250 Receipt of annual fees

Free format text: JAPANESE INTERMEDIATE CODE: R250

LAPS Cancellation because of no payment of annual fees