JP5259677B2 - バリアカフストリップを有する使い捨て吸収性物品 - Google Patents

バリアカフストリップを有する使い捨て吸収性物品 Download PDF

Info

Publication number
JP5259677B2
JP5259677B2 JP2010239784A JP2010239784A JP5259677B2 JP 5259677 B2 JP5259677 B2 JP 5259677B2 JP 2010239784 A JP2010239784 A JP 2010239784A JP 2010239784 A JP2010239784 A JP 2010239784A JP 5259677 B2 JP5259677 B2 JP 5259677B2
Authority
JP
Japan
Prior art keywords
barrier cuff
cover sheet
disposable diaper
absorbent core
lower cover
Prior art date
Legal status (The legal status is an assumption and is not a legal conclusion. Google has not performed a legal analysis and makes no representation as to the accuracy of the status listed.)
Expired - Fee Related
Application number
JP2010239784A
Other languages
English (en)
Other versions
JP2011056275A (ja
Inventor
ゲイリー、ディーン、ラボン
Current Assignee (The listed assignees may be inaccurate. Google has not performed a legal analysis and makes no representation or warranty as to the accuracy of the list.)
Procter and Gamble Co
Original Assignee
Procter and Gamble Co
Priority date (The priority date is an assumption and is not a legal conclusion. Google has not performed a legal analysis and makes no representation as to the accuracy of the date listed.)
Filing date
Publication date
Application filed by Procter and Gamble Co filed Critical Procter and Gamble Co
Publication of JP2011056275A publication Critical patent/JP2011056275A/ja
Application granted granted Critical
Publication of JP5259677B2 publication Critical patent/JP5259677B2/ja
Anticipated expiration legal-status Critical
Expired - Fee Related legal-status Critical Current

Links

Images

Classifications

    • AHUMAN NECESSITIES
    • A61MEDICAL OR VETERINARY SCIENCE; HYGIENE
    • A61FFILTERS IMPLANTABLE INTO BLOOD VESSELS; PROSTHESES; DEVICES PROVIDING PATENCY TO, OR PREVENTING COLLAPSING OF, TUBULAR STRUCTURES OF THE BODY, e.g. STENTS; ORTHOPAEDIC, NURSING OR CONTRACEPTIVE DEVICES; FOMENTATION; TREATMENT OR PROTECTION OF EYES OR EARS; BANDAGES, DRESSINGS OR ABSORBENT PADS; FIRST-AID KITS
    • A61F13/00Bandages or dressings; Absorbent pads
    • A61F13/15Absorbent pads, e.g. sanitary towels, swabs or tampons for external or internal application to the body; Supporting or fastening means therefor; Tampon applicators
    • A61F13/51Absorbent pads, e.g. sanitary towels, swabs or tampons for external or internal application to the body; Supporting or fastening means therefor; Tampon applicators characterised by the outer layers of the pads
    • A61F13/511Topsheet, i.e. the permeable cover or layer facing the skin
    • AHUMAN NECESSITIES
    • A61MEDICAL OR VETERINARY SCIENCE; HYGIENE
    • A61FFILTERS IMPLANTABLE INTO BLOOD VESSELS; PROSTHESES; DEVICES PROVIDING PATENCY TO, OR PREVENTING COLLAPSING OF, TUBULAR STRUCTURES OF THE BODY, e.g. STENTS; ORTHOPAEDIC, NURSING OR CONTRACEPTIVE DEVICES; FOMENTATION; TREATMENT OR PROTECTION OF EYES OR EARS; BANDAGES, DRESSINGS OR ABSORBENT PADS; FIRST-AID KITS
    • A61F13/00Bandages or dressings; Absorbent pads
    • A61F13/15Absorbent pads, e.g. sanitary towels, swabs or tampons for external or internal application to the body; Supporting or fastening means therefor; Tampon applicators
    • A61F13/45Absorbent pads, e.g. sanitary towels, swabs or tampons for external or internal application to the body; Supporting or fastening means therefor; Tampon applicators characterised by the shape
    • A61F13/49Absorbent pads, e.g. sanitary towels, swabs or tampons for external or internal application to the body; Supporting or fastening means therefor; Tampon applicators characterised by the shape specially adapted to be worn around the waist, e.g. diapers, nappies
    • A61F13/494Absorbent pads, e.g. sanitary towels, swabs or tampons for external or internal application to the body; Supporting or fastening means therefor; Tampon applicators characterised by the shape specially adapted to be worn around the waist, e.g. diapers, nappies characterised by edge leakage prevention means
    • A61F13/49406Absorbent pads, e.g. sanitary towels, swabs or tampons for external or internal application to the body; Supporting or fastening means therefor; Tampon applicators characterised by the shape specially adapted to be worn around the waist, e.g. diapers, nappies characterised by edge leakage prevention means the edge leakage prevention means being at the crotch region
    • A61F13/49413Absorbent pads, e.g. sanitary towels, swabs or tampons for external or internal application to the body; Supporting or fastening means therefor; Tampon applicators characterised by the shape specially adapted to be worn around the waist, e.g. diapers, nappies characterised by edge leakage prevention means the edge leakage prevention means being at the crotch region the edge leakage prevention means being an upstanding barrier
    • A61F13/4942Absorbent pads, e.g. sanitary towels, swabs or tampons for external or internal application to the body; Supporting or fastening means therefor; Tampon applicators characterised by the shape specially adapted to be worn around the waist, e.g. diapers, nappies characterised by edge leakage prevention means the edge leakage prevention means being at the crotch region the edge leakage prevention means being an upstanding barrier the barrier not being integral with the top- or back-sheet

Landscapes

  • Health & Medical Sciences (AREA)
  • Epidemiology (AREA)
  • Engineering & Computer Science (AREA)
  • Biomedical Technology (AREA)
  • Heart & Thoracic Surgery (AREA)
  • Vascular Medicine (AREA)
  • Life Sciences & Earth Sciences (AREA)
  • Animal Behavior & Ethology (AREA)
  • General Health & Medical Sciences (AREA)
  • Public Health (AREA)
  • Veterinary Medicine (AREA)
  • Absorbent Articles And Supports Therefor (AREA)
  • Orthopedics, Nursing, And Contraception (AREA)

Description

本発明は、使い捨ておむつ及び失禁症者に使用することを意図するその他の物品などの、使い捨て吸収性物品に関する。
使い捨て吸収性物品は、着用者の身体及び衣類、並びに寝具、又は着用者が接触するその他のものを汚すのを防ぐため、体外排泄物を吸収及び収容するように設計される。
使い捨て吸収性物品の使用法が拡大するにつれて、その性能及び外観を向上させる働きをする追加機能の導入に伴う複雑さが増した。複雑さが増すと共に、材料のコスト及び製造プロセスのコストも高まった。
結果として、これらの物品の販売価格は、世界中の多くの潜在的購入者が支払う余裕のないレベルまで上昇した。したがって、シンプルな使い捨て吸収性物品の必要性がある。
本発明は、横方向に対向する取り付け領域において吸収性組立体の内面に取り付けられた、2つの横方向に対向して長手方向に延びるバリアカフストリップを包含する使い捨て吸収性物品を提供する。各バリアカフストリップは、不透水性層を包含してもよく、伸張可能であってもよい。長手方向に延びる弾性ギャザー部材は、その近位縁に隣接して各バリアカフストリップに取り付けられる。物品を着用するとき、弾性ギャザー部材は、収縮してバリアカフストリップを持ち上げ、サイドバリアを形成する。吸収性組立体は、超吸収性粒子を収容してもよい吸収性コアを包含し、超吸収性粒子は、ポケットの内部に収容されてもよい。バリアカフストリップ取り付け領域間にある部分のような吸収性組立体の一部分は、伸張可能であってもよく、不透水性層を包含してもよい。横方向に対向する取付け領域は、液体体外排泄物の側方流動を防ぐ障壁としての作用してもよい。
着用者に向かって内側に面し、着用者に接するおむつ20の内部は、見る人に向いて示されており、その平坦な非収縮状態、即ち、伸縮部材によって生じる収縮のない状態で示されている、おむつ20の形態をとった代表的な使い捨て吸収性物品の平面図。 着用者から離れて外側に面するおむつ20の外部が、見る人に向いて示されている、その平坦な非収縮状態における図1のおむつ20の平面図。 着用者に向かって内側に面し、着用者に接するおむつ20の内部は、上方に向いて示されている、図1及び図2のおむつ20のそれぞれの切断線3−3で取った断面図。 着用者に向かって内側に面し、着用者に接するおむつ20の内部は、上方に向いて示されている、図1及び図2のおむつ20のそれぞれの切断線4−4で取った断面図。 着用者に向かって内側に面し、着用者に接するおむつ20の内部は、上方に向いて示されている、図1及び図2のおむつ20のそれぞれの切断線5−5で取った断面図。 着用者の胴体下部の周りに着用された、代表的なおむつ20の簡易側面図。 着用者の胴体下部の周りに着用された、図6のおむつ20の正面図。 着用者の胴体下部の周りに着用された、図6のおむつ20の背面図。 形成ウェブ材の代表的な断片の平面図。 着用者の胴体下部の周りに着用された、貼着性締結パッチを包含する代表的なおむつ20の簡易左側面図。 着用者の胴体下部の周りに着用された、貼着性締結パッチを包含する図10のおむつ20の簡易右側面図。 着用者に向かって内側に面し、着用者に接するおむつ20の内部は、見る人に向いて示されており、その平坦な非収縮状態、即ち、伸縮部材によって生じる収縮のない状態で、接着テープタブ114a及び114b並びに締結面116a及び116bを有して示されている、おむつ20の形態をとった代表的な使い捨て吸収性物品の簡易平面図。 着用者から離れて外側に面するおむつ20の外部は、見る人に向いて示されている、その平坦な非収縮状態における図12のおむつ20の簡易平面図。 着用者に向かって内側に面し、着用者に接するおむつ20の内部は、上方に向いて示されており、その弛緩した収縮状態、即ち、伸縮部材によって生じる収縮のある状態で示されている、代表的なおむつ20の斜視図。 吸収性組立体200は代表的なおむつ20の他の部分から切り離して示されており、吸収性組立体200の、着用者に向かって内側に面し着用者に接する内部は、見る人に向いて示されている、代表的な吸収性組立体200の平面図。 切断線16−16で取った、図15の吸収性組立体200の断面図。 切断線17−17で取った、図15の吸収性組立体200の断面図。 ポケットの内部に収容された超吸収性材料の粒子を有する代表的な吸収性コアの細部を示している、代表的な吸収性組立体200の断面図。 切断部が、図1における切断線4−4に一致する切断線で取られる、付加的な底部シート226を有する、代表的な吸収性組立体200の断面図。 その平坦な非収縮状態であると共に、その内側部分が見る人に向いた状態で示されている、おむつ20の形態をとった別の代表的な使い捨て吸収性物品の平面図。
本明細書において、次の用語は、次の意味を有する。
用語「吸収性物品」は、液体を吸収及び収容する装置を指し、より具体的には、着用者の身体に接触して又は近接して配置され、身体から排泄された様々な排出物を吸収及び収容する装置を指す。
用語「おむつ」は、一般に乳幼児及び失禁症者によって着用者の腰部及び脚を囲むように略胴体下部の周りに着用される吸収性物品、並びに特に尿及び糞便排泄物を受容及び収容するようになされている吸収性物品を指す。
用語「使い捨て」は、洗濯する、或いは吸収性物品として復元するか再利用されることを一般に意図しない吸収性物品、即ち、一回の使用後に廃棄する、好ましくはリサイクルする、堆肥化する、或いは環境に適合する方法で処理することを意図する吸収性物品の性質を指す。
用語「長手方向」は、物品の腰部縁から対向する腰部縁まで走り、且つ物品の最長直線の長さに対して略平行な方向を指す。長手方向の±45°以内の方向は、「長手方向」であると見なされる。
用語「横方向」は、物品の側縁から対向する側縁まで走り、且つ長手方向に対して略直角である方向を指す。横方向の±45°以内の方向は、「横方向」であると見なされる。
用語「配置された」は、ある要素が他の要素に対して単一構造体における特定の場所又は位置に取り付け及び配置されていることを指す。
用語「取り付けられた」は、要素を互いに及びその構成材料に取り付けるのに適したいずれかの方法による締結、接着、結合などによって、要素が連結又は合体されることを指す。接着剤結合、圧力接着、熱接着、機械的締結など、要素を互いに取り付けるための多くの好適な方法は周知である。かかる取り付け方法を使用して、要素を特定区域上に連続的に又は断続的に互いに取り付けてもよい。
用語「貼着性」は、一旦硬化すると、それ自体に膠着するが、他の材料には有意な程度に膠着しない材料の特性を指す。
用語「透水性」及び「不透水性」は、使い捨て吸収性物品の意図された使用法に関連した材料の浸透性を指す。具体的には、用語「透水性」は、強制圧力がなくても液体水がその厚みを通り抜けられるようにする孔、開口部、及び/又は互いに結合された空隙を有する層若しくは層状構造を指す。それとは逆に、用語「不透水性」は、強制圧力がない場合、液体水がその厚みを通り抜けることができない層又は層状構造を指す。この定義に従う不透水性の層又は層状構造は、水蒸気に対して透過性であってもよく、即ち、「水蒸気透過性」であってもよい。かかる水蒸気透過性の層又は層状構造は、一般に、当該技術分野において「通気性」として既知である。当該技術分野において周知であるように、一般に吸収性物品において使用される材料の水に対する浸透度を測定するための一般的な方法は、水圧試験であり、またの名を静水頭試験(hydrostatic head test)或いは単に「水頭(hydrohead)」試験という。水頭試験に好適な周知の簡潔な方法は、INDA(元国際不織布及び使い捨て用品協会(International Nonwovens and Disposables Association)、現在の不織布工業協会(Association of the Nonwoven Fabrics Industry))及びEDANA(欧州使い捨て用品及び不織布協会(European Disposables And Nonwovens Association))によって承認された。
用語「近位」及び「遠位」はそれぞれ、構造体の中央に比較的近い又は遠い要素の位置を指し、例えば、長手方向に延びる要素の近位縁は、同じ要素の遠位縁が同じ長手方向軸線に対して配置されているのに比べて、長手方向軸線にさらに近く位置されている。
用語「内部」及び「外部」はそれぞれ、吸収性物品が着用されるとき、着用者の身体に接して又は向かって配置されることを意図する要素の位置、並びに吸収性物品の上に着用されるいずれかの衣類に接して又は向かって配置されることを意図する要素の位置を指す。「内部」及び「外部」の類義語としては、それぞれ「内方」及び「外方」、並びに「内側」及び「外側」が挙げられる。また類義語としては、吸収性物品の内部が上方に面するように配向される場合、例えば、吸収性物品の上部に着用者を配置する準備をして吸収性物品を展開する場合、それぞれ「上方」及び「下方」、並びに「上部」及び「底部」が挙げられる。
代表的なおむつ実施形態の説明
添付図面の中で、同様の参照番号は構造的に対応する要素を同定し、これは図示された幾つかの代表的な実施形態において同一であってもよく、或いは同一でなくてもよい。一部の図は、他の要素をより簡潔に示すため、選択された要素を省略することで簡易化されてもよい。一部の図中のかかる要素の省略は、対応する明細書の中で明確に叙述されている場合を除き、代表的な実施形態のいずれかにおいて必ずしも特定要素の有無を暗示するものではない。
図面及び説明において、参照番号に付した小文字は略対称となる要素を示し、例えば、吸収性組立体200の左右側縁はそれぞれ、参照番号237a及び237bにより同定される。小文字を付していない参照番号は、特定の参照番号が当てはまるすべての要素を同定し、例えば、個々の左右部分から形成される構造要素は、その全体を参照番号Xにより同定されるが、左右部分は参照番号Xa及びXのそれぞれによって個々に同定され、故にXによって同定された構造に対する原文の参照番号としては、要素Xa、Xbなどを包含する。
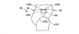
図1、図2、図3、図4、及び図5に示すように、代表的なおむつ20の一末端部分は前側腰部区域36として構成され、長手方向両側の末端部分は後側腰部区域38として構成され、中間部分は股部区域37として構成されている。
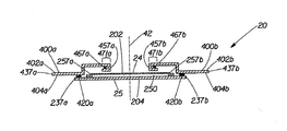
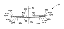
おむつ20の基本構造は、前縁236と、後縁238と、左側縁237aと、右側縁237bと、内側表面202と、外側表面204とを有する吸収性組立体200を包含する。長手方向軸線42は、前側腰部縁236及び後側腰部縁238の中心点を通って延び、横方向軸線44は、左側縁237a及び右側縁237bの中心点を通って延びる。
おむつ20の基本構造はまた、左バリアカフストリップ400a及び右バリアカフストリップ400bと称される、2つの横方向に対向して長手方向に延びるバリアカフストリップを包含する。バリアカフストリップは、それぞれの左前側腰部縁部436a及び右前側腰部縁部436b、左後側腰部縁部438a及び右後側腰部縁部438b、左ストリップ近位縁457a及び右ストリップ近位縁457b、左ストリップ遠位縁437a及び右ストリップ遠位縁437b、左内面402a及び右内面402b、左外面404a及び右外面404bを有する。バリアカフストリップ遠位縁437a及び437bは、おむつ20のそれぞれの側縁部137a及び137bを形成する。
図2、図3、図4、及び図5に示すように、吸収性組立体200のバリアカフストリップ400a及び400bと、下部カバーシート25は、代表的な取り付け領域420a及び420bなど、横方向に対向して長手方向に延びる取り付け領域において互いに取り付けられる。
図6、図7、及び図8に示すように、おむつ20が着用者の胴体下部に着用されると、バリアカフストリップの前側腰部縁436a及び436b、吸収性組立体の前側縁236、バリアカフストリップの後側腰部縁438a及び438b、及び吸収性組立体の後側縁238が着用者の腰部を包囲し、おむつの側縁137a及び137bが着用者の脚部を包囲し、股部区域37は略着用者の脚部の間に配置され、吸収性組立体200は前側腰部区域36から股部区域37を通って後側腰部区域38まで延びる。
各バリアカフストリップの一部分又は全体は、1つ又は複数の弾性的に伸張可能な材料で形成されてもよい。或いは、又は加えて、各バリアカフストリップの一部分又は全体は、バリアカフストリップが作製される1つ又は複数の材料の固有の伸張性より大きい程度まで伸張可能に作製されてもよい。同様に、吸収性組立体の一部分又は全体は、1つ又は複数の弾性的に伸張可能な材料で形成されてもよい。或いは、又は加えて、吸収性組立体の一部分又は全体は、吸収性組立体が作製される1つ又は複数の材料の固有の伸張性より大きい程度まで伸張可能に作製されてもよい。着用者が動いている間、おむつ20を着用者の身体にぴったり合わせるために、追加の伸張性が望ましいことがある。おむつのユーザーが前側腰部区域及び/又は後側腰部区域を延ばして着用者の腰部を囲うため、即ち、おむつの腰部サイズ及びフィットを個々の着用者に適合させるため、さらなる横方向の伸張性が特に望ましい場合がある。かかる腰部区域(単数又は複数)の横方向の伸張は、おむつが着用されたときに略砂時計の形状をおむつに与えてもよく、ぴったりと合った外観をおむつに付与してもよい。加えて、説明したように材料が伸張可能に作られる場合、比較的少ない量の材料が必要とされるので、おむつのコストを最小限にするためにさらなる伸張性が望ましい場合がある。
着用者の腰部に適合させるために、幾つかの実施形態では、吸収性組立体200におけるさらなる横方向の伸張性は、吸収性組立体全体にではなく、吸収性組立体200及びバリアカフストリップ400a及び400bが互いに取り付けられる、横方向に対向する取り付け領域420a及び420b間のみに付与される。
バリアカフストリップ及び/又は吸収性組立体におけるさらなる伸張性を、様々な方法で付与してもよい。例えば、バリアカフストリップ及び/又は吸収性組立体が作製される1つ又は複数の材料を、多くの既知の方法のいずれかによってプリーツ加工してもよい。或いは、バリアカフストリップ及び/又は吸収性組立体の全て又は一部分は、米国特許5,518,801号(チャッペル(Chappell)らの名前で1996年5月21日発行)に記載されているもののような、形成ウェブ材又はウェブ材の形成積層体から作製されてもよい。かかる形成ウェブ材305の代表的な断片300は、図9に示されている。この形成ウェブ材305は、横方向に延びる別個の領域310を包含しており、ここで元の材料は、エンボス加工又は別の変形方法によって変性されて、略長手方向に配向された互い違いの隆起部分312及び谷部分314のパターンを生み出す。形成ウェブ材305はまた、横方向に延びる変性領域310の間に位置した、横方向に延びる非変性領域316を包含する。
かかる形成ウェブ材305は、同じ材料を変形前程度に延ばすために必要な力よりも比較的弱い力を加えることによって、その元の寸法を超えて横方向に延びることができる。特に、隆起部分312及び谷部分314に対して略垂直に向けられた対向する分岐力を加えると、かかる形成ウェブ材は、該対向力同士の間の軸線に沿って延び、主に非変性領域316において抵抗する収縮力を生み出す。この抵抗力は、同じ程度に、少なくとも変性領域における隆起部分及び谷部分が平らになると共に、抵抗力の原因となり始める伸張度まで伸張される場合、非変性形態の同じ材料によって生み出される抵抗力よりも比較的弱い。このように、かかる形成ウェブ材は、吸収性物品において有用な伸張範囲の点で従来の弾性材に似た伸張性質を示すが、本質的に非弾性の比較的高価でない材料で作られてもよく、故にその使用は、吸収性物品の製造コストに関する利点を提供してもよい。
更に、バリアカフストリップ及び/又は吸収性組立体の異なる部分は、異なる範囲の伸張性を有するように、及び/又は所与のレベルの対向する引張り力を受けた時により大きな又はより小さな程度まで伸張可能であるように、即ち、比較的より簡単に伸張可能であるか、又はあまり簡単には伸張されないように形成されてもよい。かかる異なる伸張性は、例えば、腰部区域の一方又は両者を股部区域よりも比較的長く或いは比較的簡単に横方向に伸ばすために、望ましい場合がある。
バリアカフストリップの説明
おむつ20は、図1、図2、図3、図4、及び図5に示すように、左側バリアカフストリップ400a及び右側バリアカフストリップ400bとして示される2つの横方向に対向して長手方向に延びるバリアカフストリップを包含する。バリアカフストリップは、不織布材、例えばスパンボンドされた若しくはカードされたポリエチレン、ポリプロピレン、ポリエステル又はレーヨンなど合成不織布から形成されてもよい。
或いは又は加えて、各バリアカフストリップは、好適な材料、例えばポリエチレン又は別のポリオレフィンのフィルム、微小多孔性の通気性フィルム、疎水性不織布、又は共押出ポリオレフィン層から形成されるフィルムなど、から形成される不透水性層を包含してもよい。例えば、好適な共押出フィルムは、クロペイプラスチックプロダクツ社(Clopay Plastic Products Co.)(米国オハイオ州メーソン(Mason))からM18−327の名称で入手可能である。フィルム及び不織布の積層体など、多層バリアカフストリップも好適である場合があり、布様の最外層の感触及び外観を提供するために不織布を外部に配設して配向してもよく、フィルムを着用者の皮膚から隔てるために不織布を内部に配設して配向してもよく、或いは不織布を外部及び内部の両方に配設して配向してもよい。
バリアカフストリップは、吸収性コア250の上に重なってもよく、即ち、バリアカフストリップの近位縁457a及び457bは、吸収性コア250のそれぞれの左側縁257a及び右側縁257bの横方向に内側にあってもよい。あるいは、バリアカフストリップは、吸収性コアの上に重ならなくてもよい。バリアカフストリップは、少なくとも股部区域37において水蒸気透過性、即ち通気性であるのが好ましく、以下に詳細に説明するように、おむつを着用するときにバリアカフストリップはサイドバリアを形成する。
バリアカフストリップ400a及び400bの各々は、前縁236及び後縁238に位置した又は隣接した取り付け領域において、吸収性組立体200の内面202に取り付けられる。例えば、図1に示したおむつ20において、左バリアカフストリップ400aは、取付け領域451a及び451cにおいて吸収性組立体200の内面202に取り付けられる一方、右バリアカフストリップ400bは、取付け領域451b及び451dにおいて内面202に取り付けられる。取り付け領域は、等しい面積を有してもよく、或いは面積が等しくなくてもよい。
取り付け領域の間において、バリアカフストリップ400a及び400bの近位縁457a及び457bは、自由なままであり、即ち、吸収性組立体200の内面202に取り付けられていない。また、取付け領域の間において、各バリアカフストリップは、好ましくはバリアカフストリップの近位縁に隣接して取り付けられる長手方向に伸張可能なカフ伸縮部材を包含する。例えば、図1に示した代表的なおむつ20において、伸縮性ストランド467a及び467bは、バリアカフストリップのそれぞれの近位縁457a及び457bに隣接して取り付けられる。カフ伸縮部材は、図4に示されたヘム471a及び471bのような、折り返されたヘムの内方へ囲い込まれてもよい。あるいは、カフ伸縮部材は、バリアカフストリップの2つの層の間に挟まれてもよく、或いはバリアカフストリップの表面上に取り付けられて露出したままでもよい。
図1に示すように、カフ伸縮部材は、引き伸ばされたとき、バリアカフストリップの近位縁を吸収性組立体の平坦な収縮していない長さに伸張させる。カフ伸縮部材は、弛緩されると収縮して、カフ伸縮部材が取り付けられている近位縁の部分にギャザーを寄せる。例えば、図14に示すように、代表的なおむつ20が弛緩した状態にあるとき、伸縮性ストランド467a及び467bは収縮して、バリアカフストリップ400a及び400bの近位縁457a及び457bにギャザーを寄せる。伸縮性ストランドの収縮力は、前側腰部区域36及び後側腰部区域38を互いの方に引張り、それによって吸収性組立体200及びおむつ20全体を「U」字形に屈曲させ、ここで「U」字形の内部はおむつの内部によって形成される。近位縁は取り付け領域の間において自由なままであるため、伸縮性ストランドの収縮力は、バリアカフストリップ400a及び400bの近位縁457a及び457bを吸収性組立体の内面202から持ち上げて離間させ、これによってバリアカフストリップをサイドバリアとしての機能を果たす位置に立ち上げる。持ち上げられた近位縁の横方向の空隙部は、着用者の胴体下部からの体外排泄物の堆積物を、立ち上げられたバリアカフストリップの間の空間の中に入れるように選択される。バリアカフストリップ400a及び400bの各々の幅を選択して、持ち上げられた近位縁457a及び457bを着用者の身体の脚の折り目の中に適合させ、封止部を形成し、堆積した体外排泄物がおむつの中から漏れることを防止するのを助けることが好ましい。
前側腰部区域及び後側腰部区域は、多くの方法で互いに締結されて着用者の腰部及び脚を囲むことができる。例えば、この目的のために、安全ピン、別々なテープ、別々なタイストラップ(単数又は複数)、及び/又は別々なベルトなど、別々な締結具を使用することができる。或いは又は加えて、締結要素が使い捨て吸収性物品に組み込まれて、任意の分離締結装置なしに、又は同装置と共に、ユーザがおむつを着用者の身体にあてがうのを可能にすることができる。多くの好適な種類のかかる組み込まれた締結要素は周知であり、例えば、テープ、接着剤、接着テープタブ、タイ、ボタン、フック、ループ、スナップファスナ、他の形態の機械的締結具、貼着性パッチなどが挙げられる。幾つかの好適な機械的締結具は、おむつの不織布層と係合するように適合されてもよい。例えば、機械的締結具は、バリアカフストリップの不織布層と係合してもよい。
前側腰部区域と後側腰部区域との相互締結は、開放可能及び再締結可能であり、おむつを着用者に適合調節すること、並びにおむつを着用者から完全に取り外さずにおむつ内部を点検することを可能にしてもよい。或いは、締結は恒久的であってもよく、即ち、その開放はおむつの一部分の破壊、例えば、おむつの一部分の裂断又は融合されたサイドシームの破断を必要としてもよい。
貼着性締結パッチは、貼着性材料を基材の上に適用することによって形成されてもよい。貼着材は、例えば、連続フィルム、別個の点、縞、多角形など、並びに/又は格子を描く離間された及び相互結合された幾何学的要素のような、種々のパターンのいずれかで適用されてもよい。好適な合成貼着製品は、アンドーバーコーテッドプロダクツ社(Andover Coated Products, Incorporated)(米国マサチューセッツ州サリスベリー(Salisbury))から入手可能であり、米国特許第6,156,424号(テイラー(Taylor)の名前で2000年12月5日発行)に記載されている。
かかる貼着性締結パッチは、おむつ20の外側に配置されてもよい。例えば、図1、図2、図3、図5、図10、及び図11に示すように、貼着性締結パッチ110a及び110bは、前側腰部区域36において、バリアカフストリップ400a及び400bそれぞれの外面上に配設されてもよい。この代表的な実施形態では、機能的に相補的な貼着性締結パッチ120a及び120bは、後側腰部区域38において、バリアカフストリップ400a及び400bそれぞれの内面上に配設される。図10及び図11に示すようにおむつ20を着用するとき、内部上の貼着性締結パッチは、外部上の貼着性締結パッチと重なり合い、重なり合った貼着性締結パッチの粘着は、おむつ20の両側面において前側腰部区域36と後側腰部区域38とを互いに締結する。これらの図に示した構成は、後側上方(back-over-front)締結に構成されている。
或いは、構成を前側上方(front-over-back)締結に適合させるため、前側貼着性締結パッチはおむつ20の内部上に配置されてもよく、後側貼着性締結パッチはおむつ20の外部上に配置されてもよい。或いは、貼着性締結パッチは可逆的な構成で配置されてもよく、個人の好みにしたがって、おむつのユーザーに両方の締結オプション、即ち、後側上方又は前側上方のどちらかを提供するように適合される。例えば、おむつ20の外部及び内部の両者に配置された貼着性締結パッチにより、後側貼着性締結パッチは、前側貼着性締結パッチの上に重なること、或いは前側貼着性締結パッチは、後側貼着性締結パッチの上に重なることが可能となってもよい。
おむつの下敷部分が伸張可能である時、おむつの伸張可能な下敷部分が制約されないように、貼着性締結パッチも同様に伸張可能であるのが好ましい。
或いは、接着テープタブは、おむつ20に取り付けられ、後側腰部区域38と前側腰部区域36とを互いに締結させるべく使用されてもよい。例えば、図12及び図13に示すように、横方向に対向する接着テープタブ114a及び114bは、それらの遠位縁437a及び437bで、又はそれに隣接して、バリアカフストリップ400a及び400bそれぞれに取り付けられてもよい。好適な接着テープは、スリーエム社(3M Corporation)(米国ミネソタ州セントポール)からXMF99121の名称で、及びエイブリィデニソン社特殊テープ部門(Avery Dennison Corporation, Specialty Tape Division)(米国オハイオ州メントール)からF4416の名称で入手可能である。
任意に、締結シートはまた、おむつ20に取り付けられ、かかる接着テープタブと共に使用されてもよい。例えば、締結シート116a及び116bは、図12及び図13に示すように、それぞれのバリアカフストリップ400a及び400bの外面404a及び404b上に取り付けられてもよい。締結シートを設ける場合、接着テープタブは、締結シートに接着されて後側腰部区域38と前側腰部区域36とを互いに締結させてもよい。締結シートは、各々の接着テープタブによって伝えられる引張り力を接着テープタブの接着区域よりも広い区域上に分配させる働きをし、締結シート自体は引張り力の一部に耐え、それによって、バリアカフストリップなど、おむつの下敷部分上に加わる力の一部を和らげてもよい。故に、例えば、かかる締結シートを組み込むことにより、比較的安価で、比較的弱い材料をおむつの下敷部分に使用するのが可能となることがある。接着テープタブの代わりに機械的締結具を使用する場合、締結シートは、機械的締結具、例えば、ループと係合する表面及び/又は要素を有することができ、フックはループと係合してもよい。おむつの下敷部分が伸張可能である時、おむつの伸張可能な下敷部分が制約されないように、締結シートも同様に伸張可能であるのが好ましい。
吸収性組立体の説明
図1に示す代表的なおむつ20において、吸収性組立体200は、前側腰部縁436a及び436b及び後側腰部縁438a及び438b間のバリアカフストリップ400a及び400bの全長に亘って延びる。かかる全長構成は、特に、おむつ20を製造するために使用される方法が、連続ウェブ又は複数の連続ウェブの形態をとった吸収性組立体200用の材料(単数又は複数)を導入することを必要とする場合、廃材の量及びおむつ20の製造に伴う困難を最小限にするために望ましいことがある。或いは、吸収性組立体200はより短く、バリアカフストリップの全長に満たずに延びてもよい。かかるより短い構成は、使用される材料の総量及びおむつ20のコストを最小限にするために望ましいことがある。
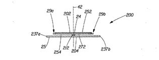
図15、図16、及び図17に示すように、吸収性組立体200は、液状体外排泄物を吸収及び保持する働きをする吸収性コア250を包含する。吸収性コア250は、前縁256と、後縁258と、左側縁257aと、右側縁257bと、内側表面252と、外側表面254とを有する。
吸収性組立体200は、吸収性コア250の内面252に向かい合わせの構成で配設された上部カバーシート、並びに、吸収性コア250の外面254及びそれぞれのバリアカフストリップ400a及び400bの内面402a及び402bに向い合わせの構成で配設された下部カバーシートを包含してもよい。両者が存在する場合、かかる上部カバーシート及び下部カバーシートは互いに取り付けられて、それらの間に吸収性コア250を収容し、それにより吸収性組立体200を形成してもよい。例えば、図15、図16、及び図17に示された代表的な吸収性組立体200において、上部カバーシート24及び下部カバーシート25は、取り付け領域29a及び29b内において、吸収性組立体200の側縁237a及び237bで又は隣接して、互いに取り付けられる。
上部カバーシートは、透水性であり、その厚さを通して液状体外排泄物を吸収性コアまで通過させる。上部カバーシートは、好ましくは着用者の皮膚を刺激しない柔らかい材料、例えば、スパンボンドされている若しくはカードされているポリエチレン、ポリプロピレン、ポリエステル、又はレーヨンなどの合成不織布で形成される。
下部カバーシートは、上部カバーシートと同じ材料などのいかなる好適な材料からなる透水性層を包含してもよい。上部カバーシート及び下部カバーシートのいずれか又は両者の一部分又は全体は、水蒸気透過性、即ち通気性であってもよい。
或いは又は加えて、下部カバーシートは、例えばポリエチレン若しくは別のポリオレフィンのフィルム、微小多孔性の通気性フィルム、疎水性不織布、又はポリプロピレン−ポリエチレン−ポリプロピレンの共押出層から形成されたフィルムなどの好適な材料から形成された不透水性層を包含してもよい。例えば、好適な共押出フィルムは、クロペイプラスチックプロダクツ社(Clopay Plastic Products Co.)(米国オハイオ州メーソン)からM18−327の名称で入手可能である。フィルム及び不織布の積層体などの多層下部カバーシートも好適である場合があり、布様の最外層の感触及び外観を提供するために不織布を外部に配置して配向してもよく、フィルムを着用者の皮膚から隔てるために不織布を内部の両者に配置して配向してもよく、或いは不織布を外部及び内部に配置して配向してもよい。
上部カバーシート及び下部カバーシートは、同じ幅及び同じ長さに延びてもよい。或いは、カバーシートの一方の縁部の1つ以上は、他方のカバーシートのそれぞれの縁部(単数又は複数)に対して遠位に横たわっていてもよい。例えば、上部カバーシートは、吸収性コアを覆うのに十分な程度だけ長手方向に延び、吸収性コアの前又は後縁のどちらかに隣接して下部カバーシートに取り付けられてもよく、一方、下部カバーシートは、上部カバーシートを長手方向に越えて、バリアカフストリップの隣接した腰部縁に向かって又は腰部縁に隣接して延びてもよい。同様に、上部カバーシートは、吸収性コアを覆うのに十分な程度だけ横方向に延び、吸収性コアの左または右側縁のどちらかに隣接して下部カバーシートに取り付けられてもよく、下部カバーシートは、上部カバーシートを横方向に越えて延びてもよい。例えば、図4に示された代表的な吸収性組立体200において、上部カバーシート24は、吸収性コア250の側縁257a及び257bを横方向に比較的短い距離だけ越えて延び、この区域において下部カバーシート25に取り付けられる。この代表的な吸収性組立体における下部カバーシート25は、上部カバーシート24を横方向に越えて延びると共に、バリアカフストリップ400a及び400bに取り付けられる。
吸収性組立体及びバリアカフストリップは、吸収性組立体の長さのいずれかの部分又は全体の上で互いに取り付けられてもよい。好ましくは、吸収性組立体はその内面上で、図2、図3、図4、図5、図13、図15、図16、図17、及び図19に示す代表的な取り付け領域420a及び420bなど、横方向に対向して長手方向に延びる取り付け領域においてバリアカフストリップに取り付けられる。かかる取り付けパターンの外側にあるバリアカフストリップの部分は、吸収性組立体に取り付けられることによる制限を受けず、したがって伸張可能なままである。例えば、左側取り付け領域420aなど、比較的狭い長手方向に延びる取り付け領域は、左側バリアカフストリップ400aの幅の大部分を自由に伸張可能なままにし、したがって左側バリアカフストリップ400aを横方向に伸張させる。
取り付け領域の範囲において、吸収性組立体は、バリアカフストリップに連続的に又は断続的に取り付けられてもよい。例えば、接着剤のフィルムは、取り付け領域の区域全体の上に連続的に適用されてもよく、次に、吸収性組立体をバリアカフストリップに連続的に取り付けるために使用されてもよい。代替例として、接着剤は、取り付け領域の境界で及び境界の内側で、例えば、点、縞、数珠球(beads)、螺旋などの形態をとって非連続的に適用されてもよく、次に、吸収性組立体とバリアカフストリップを互いに取り付けるために使用されてもよい。
幾つかの実施形態では、長手方向に延びる取付け領域420a及び420bの一方又は両方が、吸収性コアから離れる方向におむつの隣接側縁137a又は137bに向う液状体外排泄物の側方流動を防ぐ、障壁として作用してもよい。例えば、図4の代表的な実施形態のように、下部カバーシート25が上部カバーシート24を越えて横方向に延びる実施形態では、また上記のように、下部カバーシート25及び各々のバリアカフストリップ400a及び400bの両方が不透水性層を包含する実施形態では、障壁として作用しているかかる長手方向に延びる取付け領域は、下部カバーシート、バリアカフストリップ、及びおむつの着用者の身体の間の液状体外排泄物を効果的に捕捉し得る。
吸収性コアは、吸収性コアの区域のいずれかの部分又は全体に亘って下部カバーシートに取り付けられてもよい。好ましくは、吸収性コアは、十字形取り付けパターンで、即ち、十字若しくは「+」形状を形成する又は十字若しくは「+」形で配列される取り付けパターンで、その外側表面上で下部カバーシートに取り付けられる。十字形取り付けパターンは、連続的であってもよく、即ち、その部分の全ては間断のない連続でパターン全体にわたって触れているか又は連結していてもよく、或いはつながっていない部分を含むことによって連続性に欠けるが、それでもなおパターン全体の形状が十字形となるように構成されてもよい。代表的な連続する十字形の取り付けパターン210が、図15、図16、及び図17に示される。取り付けのために接着剤を使用する場合、十字形取り付けパターンにおいては、より広い取り付けパターンよりも少ない量が必要である場合がある。加えて、かかる十字形取り付けパターンの外側にある下部カバーシートの部分は、吸収性コアに取り付けられることによる制限を受けず、したがって伸張可能なままである。特に、図15及び図17に示されるような十字形取り付けパターン210の比較的狭い長手方向に延びる部分212は、前側腰部区域36及び後側腰部区域38における下部カバーシート25の幅の大部分を自由に伸張可能なままにし、したがってこれらの区域において下部カバーシート25を横方向に伸張させる。図15及び図16に示されるもののような十字形の取り付けパターン210の、横方向に伸びる比較的幅の広い部分214は、吸収性コア250が取り付けられた股部区域37における下部カバーシート25の部分が、その区域で吸収性コア250に関して移動するのを防ぐ。
十字形の取り付けパターンの範囲内において、吸収性コアは、下部カバーシートに連続的に取り付けられても又は断続的に取り付けられてもよい。例えば、接着剤のフィルムは、十字形取り付けパターンの区域全体の上に連続的に適用されてもよく、次に、吸収性コアを下部カバーシートに連続的に取り付けるために使用されてもよい。代替例として、接着剤は、十字形取り付けパターンの境界で及び境界の内側で、例えば、点、縞、数珠玉(beads)、螺旋などの形態をとって非連続的に適用されてもよく、次に、吸収性コアを下部カバーシートに取り付けるために使用されてもよい。
吸収性コア250は、液状体外排泄物を吸収及び保持する働きをする蓄積構成要素272を包含する。吸収性コア蓄積構成要素のための好適な既知の材料は、粉砕木材パルプの形態をとったセルロース繊維、通常は「エアフェルト」として知られている、天然又は合成繊維性材料(単数又は複数)の層又はシート、超吸収性ポリマー(単数又は複数)などを包含する。これらの吸収材料は、別々に又は組み合わせて使用されてもよい。多くの既知の吸収材料は、別個の形態、即ち、繊維類、顆粒類、粒子類、並びに同種のものの形態をとって使用されてもよい。かかる別個の形態の吸収材料は、別個の断片を互いに取り付けて粘着層を形成する接着剤、又は別個の断片を基材層に取り付ける接着剤、又は別個の断片を互いに且つ基材層に取り付ける接着剤によって不動化されてもよい。
吸収性コアは、1つ以上の蓄積構成要素に加えて、捕捉構成要素を包含してもよい。吸収性コア捕捉構成要素は、付着した液状体外排泄物を捕捉して、これを吸収性コア蓄積構成要素に移行させる働きをする。液状体外排泄物を吸収して蓄積構成要素(単数又は複数)に分配するいずれかの多孔性吸収材料を使用して、捕捉構成要素を形成してもよい。捕捉構成要素のための好ましい材料としては、合成繊維材料、開放気泡ポリマーフォーム材、繊維性不織布材、セルロース系不織布材、並びに様々な組み合わせの合成/セルロース系不織布材が挙げられる。例えば、捕捉構成要素は、ポリエステル、ポリプロピレン、及び/又はポリエチレンを包含する合成繊維類の不織布ウェブ(単数又は複数)、コットン及び/又はセルロースを包含する天然繊維類、かかる繊維類の混合物、或いはいずれかの同等の材料若しくは材料の組み合わせで形成されてもよい。かかる捕捉材料の例は、米国特許第4,950,264号(オズボーン(Osborn)、1990年8月21日発行)でさらに十分に説明されている。本発明の捕捉構成要素に適した嵩高不織布捕捉材料は、ポリマーグループ社(Polymer Group, Inc.)(PGI)(米国08326ニュージャージー州ランディスヴィルN.E.通り450)から、98920の材料コード名で入手できる。
図15、図16、及び図17において、かかる吸収性コア捕捉構成要素290は、吸収性コア蓄積構成要素272の上に横たわって示されている。例えばティッシュ又は不織布材料の分離シート292は、吸収性コア蓄積構成要素272と吸収性コア捕捉構成要素290との間に配置されて、超吸収性ポリマーによって形成されたゲルが、着用者の皮膚に全く到達しないよう確実にするのに役立ってもよい。この分離シート292は、吸収性コア250の側縁257a及び257bを横方向に越えて伸張してもよく、上部カバーシート24は分離シート292に取り付けられてもよい。この構成において、上部カバーシート24上に付着した液状体外排泄物質は、上部カバーシート24の厚さを通り抜けて吸収性コア捕捉構成要素290により吸収され、次にその一部又は全部は、分離シート292の厚さを通り抜けて、次に吸収性コア蓄積構成要素272により吸収及び保持されてもよい。
図18に示されるように、幾つかの代表的な実施形態において、吸収性コア蓄積構成要素272は、ホットメルト接着剤などの熱可塑性材料の層により形成されたポケットの中で不動化された、別個の形態の吸収材料を包含してもよく、熱可塑性材料の層は、基材シートに断続的に接触及び付着する一方、ポケットにおいて基材シートから離れて分岐する。かかる構造を有し、液状体外排泄物の蓄積に適する吸収性コア構成要素は、同一出願人による同時係属中の米国特許出願番号10/776,839及び10/776,851(共に、エーンスペーガー(Ehrnsperger)らの名前で2004年2月11日出願)に記載されている。かかる構造を有する代表的な吸収性コア蓄積構成要素272は、図18に示されている。この吸収性コア蓄積構成要素272において、超吸収性ポリマーの粒子270は、熱可塑性材料の層275により形成されたポケット280の内側に収容されている。吸収性コア蓄積構成要素は、超吸収性ポリマー及びエアフェルトの両者の粒子を包含してもよく、両者の材料は、熱可塑性材料の層により形成されたポケットの内側に収容されてもよい。或いは、図18に示すように、代表的な吸収性コア蓄積構成要素はエアフェルトを全く収容しなくてもよく、したがって、構成要素は、着用者の快適性のために比較的より薄くより可撓性に作ることができる。加えて、超吸収性ポリマーの粒子は、エアフェルトがなくても比較的より簡単に不動化することができる。図18に示すように、熱可塑性材料の層275は、取り付け区域282において、基材シート274に断続的に接触及び付着する。取り付け区域282の間において、層275は、基材シート274から離れて分岐してポケット280を形成する。層275は、熱可塑性材料の繊維のシートの形態をとってもよく、液状体外排泄物はここを通り抜けて、超吸収性ポリマーの粒子270により吸収されてもよい。
図18において、別々な熱可塑性層カバーシート276は、熱可塑性材料の層275の上に横たわって示されている。或いは、別々な熱可塑性層カバーシート276は、省略されてもよい。別の代替例として、2つの吸収性コア蓄積構成要素は、熱可塑性層カバーシート276が省略されていることを除いてそれぞれ図18に示されたものに似ており、1つの吸収性コア蓄積構成要素を反転させ、それぞれの基材シートを互いに遠位に対向させた状態で重ねられてもよい。かかる吸収性コア蓄積構成要素の組み合わせにおいて、遠位両側の基材シートの一方又は両者は、吸収性組立体のために、それぞれ上部カバーシート及び下部カバーシートの一方又は両者として働いてもよい。あるいは、吸収性組立体は、別々の下部カバーシート及び/又は別々の上部カバーシートを包含してもよい。
吸収性組立体は、フィルム又は他の不透水性材料の付加的な底部シートを包含して、漏れに対する防護を向上させてもよい。例えば、図19に示されるように、フィルム又は他の不透水性材料の追加の底部シート226は、吸収性組立体の内側で、下部カバーシート25と吸収性コア250との間に取り付けられてもよい。或いは、追加の底部シートは、下部カバーシートの外側で、吸収性組立体に取り付けられてもよい。この追加の底部シートは、図19に示されるように、吸収性組立体200の左側縁237a及び右側縁237bの一方又は両者よりも横方向に短くなるように延びてもよく、或いは吸収性組立体の側縁の一方又は両者と横方向に重なり合うように延びてもよい。
かかる追加の底部シートが、吸収性組立体の内側で、下部カバーシートと吸収性コアとの間に取り付けられるとき、その追加の底部シートは、図15に示すものと同様の十字形取り付けパターンで下部カバーシートに取り付けられてもよく、それによって十字形の取り付けパターンの外側にある下部カバーシートの部分は追加の底部シートへの取り付けによる制約を受けず、これらの部分が伸張可能のままとされる。例えば、かかる十字形の取り付けパターンの横方向に延びる部分214が図19に示されている。
或いは、又は加えて、かかる実施形態における追加の底部シートは、かかる十字形の取り付けパターンで吸収性コアに取り付けられてもよく、それによって、十字形の取り付けパターンの外側にある追加の底部シートの部分は吸収性コアへの取り付けによる制約を受けず、故にこれらの部分が伸張可能のままとされる。かかる実施形態において、追加の底部シートが十字形以外のパターンで下部カバーシートに取り付けられるとしても、下部カバーシートは、吸収性コアによって間接的に制約されず、故に伸張可能とされる。
物品の形状の説明
完成したおむつは、図1及び図2に示される代表的なおむつ20でのように、ほぼ矩形の形を有してもよい。そのようなほぼ矩形の形体は、廃棄物の量と、おむつ20の製造に関連する困難さとを最小にするために望ましいことがある。或いは、おむつは、まっすぐではないが、代わりに、湾曲した及び/又は切れ込みが入った側縁137a及び137bを有し、その結果、平面図が砂時計か又は「I」字形の全体的な形をおむつ20にもたらしてもよい。そのような矩形でない形体は、着用時にぴったり合った外観をおむつ20に付与するために望ましいことがある。そのような矩形でない形体はまた、おむつ20が着用者の脚の間で快適に適合する印象を付与するためにも望ましいことがある。
多くの周知の方法のいずれかが、おむつの矩形でない形体を形成するために使用されてもよい。例えば、横方向遠位部分が、おむつから取り外されて、横方向軸線44での及びそれに隣接するその横方向の長さを、前側腰部縁436での及びそれに隣接するその横方向の長さより短くし、また後側腰部縁438での及びそれに隣接するその横方向の長さより短くしても、すなわち、おむつを股部区域37で、腰部縁より狭くしてもよい。このようなおむつの矩形でない形体の代表的な形が、図20に示されている。この図に示したように、バリアカフストリップ400a及び400bの部分を取り除いて、横方向に対向する側方切欠き部111a及び111bを形成してもよい。
すべての特許、特許出願、及びそれに基づいて発行されたいかなる特許、並びに関連して発行されたいかなる外国特許出願、並びに本明細書において列挙及び/又は参照した全ての刊行物の開示内容も、その全体が参考として本明細書に組み込まれる。参考として本明細書に組み込まれた文献のいずれか又は文献のいかなる組み合わせも、本発明を教示又は開示するとは明らかに認められない。
本発明の特定の実施形態及び/又は個々の特徴について図示し説明したが、本発明の精神及び範囲から逸脱することなく、他の様々な変更及び修正を実施できることが当業者には明白であろう。さらに、かかる実施形態及び特徴のすべての組み合わせが可能であり、またこれにより本発明を好ましく実施できることも明らかである。したがって、本発明の範囲内にある全てのそのような変形及び変更が、次の特許請求の範囲内に包含されることを意図する。

Claims (19)

  1. 前側腰部区域、後側腰部区域、前記腰部区域間の股部区域、内面及び外面を有する使い捨ておむつであって、
    内面及び外面と、横方向に対向して長手方向に延びる側縁部とを有する吸収性組立体であって、前記吸収性組立体は吸収性コアを含み、前記吸収性コアは、長手方向に延びる側縁部と、前記吸収性コアの内部に配置された透水性の上部カバーシートと、前記吸収性コアの外部に配置された下部カバーシートとを有し、前記吸収性コアが前記上部カバーシートと前記下部カバーシートとの間に挟まれ、前記上部カバーシート及び前記下部カバーシートの各々は前記吸収性コアの前記側縁部を超えて横方向に延在し、前記下部カバーシートが外面の一部を形成する、前記吸収性組立体と、
    前記吸収性組立体の遠位縁に隣接する前記下部カバーシートの内面に取り付けられた、横方向に対向して長手方向に延びる二つのバリアカフストリップであって、各バリアカフストリップが内面、外面、長手方向に対向する末端部、長手方向に延在する遠位縁及び横方向に対向して長手方向に延在する近位縁を有し、各バリアカフストリップが末端部に隣接し、前記前側腰部区域と前記後側腰部区域内であって前記股部区域内ではない長手方向に延在する近位縁に直接隣接する点で、前記吸収性組立体の前記上部カバーシートに取り付けられ、各バリアカフストリップが近位縁に隣接して取り付けられて長手方向に延在する弾性ギャザー部材をさらに含み、各バリアカフストリップの遠位縁が前記側縁部の長手方向の範囲の全体を実質的に覆う前記吸収性組立体の各側縁部の外で横方向に配置され、各バリアカフストリップの内面がバリアカフストリップの近位縁から前記おむつの遠位縁までの前記使い捨ておむつの前記内面を形成する、バリアカフストリップと、
    を備え、
    各バリアカフストリップの前記近位縁は、前記吸収性コアの側縁部の内側で、横方向に配置され、
    各バリアカフストリップの前記遠位縁は、前記使い捨ておむつの平坦な非収縮状態において非直線になり、
    前記下部カバーシートの横方向外側に配置された前記バリアカフストリップの少なくとも一つの少なくとも一部分は、横方向に弾性的に伸縮可能となっていることを特徴とする使い捨ておむつ。
  2. 前記下部カバーシートは、少なくとも2つの別個の横方向に延びる変性領域を包含するウェブ材を含み、各変性領域が、前記ウェブ材の変形によって作られて略長手方向に配向された互い違いの隆起部分及び谷部分のパターンを含有すると共に、前記変性領域間に位置する非変性領域も包含し、これにより、前記変形したウェブ材が、変形前に同じウェブ材を所定の程度まで横方向に伸張させるのに必要とされる力に比べて小さい力を加えて、同じ所定の程度まで横方向に伸張可能となっている、請求項1に記載の使い捨ておむつ。
  3. 前記バリアカフストリップの間の前記吸収性組立体の少なくとも一部分が横方向に伸張可能となっている、請求項1に記載の使い捨ておむつ。
  4. 前記腰部区域の1つの少なくとも一部分が、前記股部区域の少なくとも一部分よりも大きい程度まで横方向に伸張可能である、請求項1に記載の使い捨ておむつ。
  5. 前記吸収性組立体は、吸収性コアと、少なくとも一部分が前記吸収性コアの外部に配置されている下部カバーシートとを含む、請求項1に記載の使い捨ておむつ。
  6. 前記下部カバーシートは不透水性である、請求項5に記載の使い捨ておむつ。
  7. 前記吸収性組立体は、少なくとも一部分が前記下部カバーシートと前記吸収性コアとの間に配置された不透水性の底部シートも含む、請求項5に記載の使い捨ておむつ。
  8. 前記バリアカフストリップが、横方向に対向して長手方向に延びる取り付け領域において前記吸収性組立体に取り付けられる、請求項1に記載の使い捨ておむつ。
  9. 長手方向に延びる前記取付け領域の少なくとも1つが、当該使い捨ておむつの隣接側縁部に向う方向への水の側方流動を防ぐ不透水性障壁として作用する、請求項8に記載の使い捨ておむつ。
  10. 前記吸収性組立体が吸収性コア蓄積構成要素を含む、請求項1に記載の使い捨ておむつ。
  11. 前記吸収性コア蓄積構成要素がエアフェルトを含有しない、請求項10に記載の使い捨ておむつ。
  12. 前記吸収性組立体が吸収性コア捕捉構成要素を含む、請求項10に記載の使い捨ておむつ。
  13. 前記前側腰部区域及び前記後側腰部区域を互いに締結して着用者の腰部及び脚部を囲うために適用される少なくとも1つの締結要素をさらに備えた、請求項1に記載の使い捨ておむつ。
  14. 当該使い捨ておむつの内面及び当該使い捨ておむつの外面の両方の上に配設された貼着性締結要素をさらに備え、これにより、前記前側腰部区域が前記後側腰部区域上に締結されるか、或いは前記後側腰部区域が前記前側腰部区域上に締結されて着用者の腰部及び脚部を包囲し得る、請求項1に記載の使い捨ておむつ。
  15. 前側腰部区域、後側腰部区域及び前記腰部区域間の股部区域を有する使い捨ておむつであって、
    内面及び外面と、横方向に対向して長手方向に延びる側縁部とを有する吸収性組立体であって、前記吸収性組立体は吸収性コアを含み、前記吸収性コアは、長手方向に延びる側縁部と、前記吸収性コアの内部に配置された透水性の上部カバーシートと、前記吸収性コアの外部に配置された下部カバーシートとを有し、前記吸収性コアが前記上部カバーシートと前記下部カバーシートとの間に挟まれ、前記上部カバーシート及び前記下部カバーシートの各々は前記吸収性コアの前記側縁部を超えて横方向に延在し、前記下部カバーシートが外面の一部を形成する、前記吸収性組立体と、
    前記吸収性組立体の遠位縁に隣接する前記下部カバーシートの内面に取り付けられた、横方向に対向して長手方向に延びる二つのバリアカフストリップであって、各バリアカフストリップが内面、外面、長手方向に対向する末端部、長手方向に延在する遠位縁及び横方向に対向して長手方向に延在する近位縁を有し、各バリアカフストリップが前記前側腰部区域と前記後側腰部区域内であって前記股部区域内ではない前記吸収性組立体の前記内面にその末端部に隣接して取り付けられ、近位縁に隣接して取り付けられて長手方向に延在する弾性ギャザー部材を有し、各バリアカフストリップの前記遠位縁のいずれの部分も前記吸収性組立体の各側縁部の横方向内部に配置されず、各バリアカフストリップの内面がバリアカフストリップの近位縁から前記おむつの遠位縁までの前記使い捨ておむつの内面を形成する、バリアカフストリップと、
    を備え、
    各バリアカフストリップの前記近位縁は、前記吸収性コアの側縁部の内側で、横方向に配置され、
    各バリアカフストリップの前記遠位縁は、前記使い捨ておむつの平坦な非収縮状態において非直線になり、
    前記下部カバーシートの横方向外側に配置された前記バリアカフストリップの少なくとも一つの少なくとも一部分は、横方向に弾性的に伸縮可能となっていることを特徴とする使い捨ておむつ。
  16. 前記前側腰部区域及び前記後側腰部区域を互いに締結して着用者の腰部及び脚部を囲うために適用される少なくとも1つの締結要素であって、接着テープタブを含む締結要素をさらに備えた、請求項15に記載の使い捨ておむつ。
  17. 前記前側腰部区域及び前記後側腰部区域を互いに締結して着用者の腰部及び脚部を囲うために適用される少なくとも1つの締結要素であって、貼着性締結要素を含む締結要素をさらに備えた、請求項15に記載の使い捨ておむつ。
  18. 前記前側腰部区域及び前記後側腰部区域を互いに締結して着用者の腰部及び脚部を囲うために適用される少なくとも1つの締結要素であって、不織布と係合するために適用される機械的締結具を含む締結要素をさらに備えた、請求項15に記載の使い捨ておむつ。
  19. 前側腰部区域、後側腰部区域及び前記腰部区域間の股部区域を有する使い捨ておむつであって、
    内面及び外面を有する吸収性組立体であって、前記吸収性組立体は吸収性コアを含み、前記吸収性コアは、長手方向に延びる側縁部と、前記吸収性コアの内部に配置された透水性の上部カバーシートと、前記吸収性コアの外部に配置された下部カバーシートとを有し、前記吸収性コアが前記上部カバーシートと前記下部カバーシートとの間に挟まれ、前記上部カバーシート及び前記下部カバーシートの各々は前記吸収性コアの前記側縁部を超えて横方向に延在し、前記下部カバーシートが外面の一部を形成する、前記吸収性組立体と、
    前記吸収性組立体の遠位縁に隣接する前記下部カバーシートの内面に取り付けられた、横方向に対向して長手方向に延びる二つのバリアカフストリップであって、各バリアカフストリップが内面、外面、長手方向に対向する末端部及び長手方向に延在する近位縁を有し、各バリアカフストリップが末端部に隣接し、前記前側腰部区域と前記後側腰部区域内であって前記股部区域内ではない長手方向に延在する近位縁に直接隣接する点で、前記吸収性組立体の前記内面に取り付けられ、各バリアカフストリップが近位縁に隣接して取り付けられて長手方向に延在する弾性ギャザー部材をさらに含み、各バリアカフストリップの内面がバリアカフストリップの近位縁から前記おむつの遠位縁までの前記使い捨ておむつの内面を形成する、バリアカフストリップと、
    前記バリアカフストリップの1つに配置され、前記前側腰部区域及び前記後側腰部区域を互いに締結して着用者の腰部及び脚部を囲うために適用される少なくとも1つの締結要素と、
    を備え、
    各バリアカフストリップの遠位縁は、前記使い捨ておむつの平坦な非収縮状態において非直線になり、
    前記下部カバーシートの横方向外側に配置された前記バリアカフストリップの少なくとも一つの少なくとも一部分は、横方向に弾性的に伸縮可能となっていることを特徴とする使い捨ておむつ。
JP2010239784A 2004-06-29 2010-10-26 バリアカフストリップを有する使い捨て吸収性物品 Expired - Fee Related JP5259677B2 (ja)

Applications Claiming Priority (2)

Application Number Priority Date Filing Date Title
US10/880,128 2004-06-29
US10/880,128 US8684988B2 (en) 2004-06-29 2004-06-29 Disposable absorbent article having barrier cuff strips

Related Parent Applications (1)

Application Number Title Priority Date Filing Date
JP2007519413A Division JP2008504894A (ja) 2004-06-29 2005-06-29 バリアカフストリップを有する使い捨て吸収性物品

Publications (2)

Publication Number Publication Date
JP2011056275A JP2011056275A (ja) 2011-03-24
JP5259677B2 true JP5259677B2 (ja) 2013-08-07

Family

ID=34981682

Family Applications (2)

Application Number Title Priority Date Filing Date
JP2007519413A Pending JP2008504894A (ja) 2004-06-29 2005-06-29 バリアカフストリップを有する使い捨て吸収性物品
JP2010239784A Expired - Fee Related JP5259677B2 (ja) 2004-06-29 2010-10-26 バリアカフストリップを有する使い捨て吸収性物品

Family Applications Before (1)

Application Number Title Priority Date Filing Date
JP2007519413A Pending JP2008504894A (ja) 2004-06-29 2005-06-29 バリアカフストリップを有する使い捨て吸収性物品

Country Status (9)

Country Link
US (1) US8684988B2 (ja)
EP (1) EP1761226A2 (ja)
JP (2) JP2008504894A (ja)
CN (1) CN100581515C (ja)
BR (1) BRPI0512664A (ja)
CA (1) CA2567787C (ja)
EG (1) EG24921A (ja)
WO (1) WO2006004873A2 (ja)
ZA (1) ZA200610462B (ja)

Families Citing this family (66)

* Cited by examiner, † Cited by third party
Publication number Priority date Publication date Assignee Title
US6559256B2 (en) * 1994-12-28 2003-05-06 Cambridge Display Technology Ltd. Polymers for use in optical devices
JP4113397B2 (ja) * 2002-08-30 2008-07-09 ユニ・チャーム株式会社 パンツ型の使い捨ておむつ
EP1911425B1 (en) 2003-02-12 2014-01-15 The Procter and Gamble Company Absorbent core for an absorbent article
ES2314137T3 (es) 2003-02-12 2009-03-16 THE PROCTER & GAMBLE COMPANY Pañal comodo.
US7736351B2 (en) 2004-02-02 2010-06-15 The Procter & Gamble Company Simple disposable absorbent article
US8684988B2 (en) 2004-06-29 2014-04-01 The Procter & Gamble Company Disposable absorbent article having barrier cuff strips
US6962578B1 (en) 2004-06-29 2005-11-08 The Procter & Gamble Company Disposable absorbent article having backsheet strips
US7763004B2 (en) 2005-05-18 2010-07-27 The Procter & Gamble Company Disposable absorbent article having layered containment pockets
US20060264861A1 (en) 2005-05-20 2006-11-23 Lavon Gary D Disposable absorbent article having breathable side flaps
US8187239B2 (en) 2005-05-31 2012-05-29 The Procter & Gamble Company Side notched folded diaper
US7695463B2 (en) 2005-06-22 2010-04-13 The Procter & Gamble Company Disposable absorbent article having dual layer barrier cuff strips
US7618404B2 (en) 2005-06-23 2009-11-17 The Procter & Gamble Company Disposable absorbent article having doubled side flaps and backsheet strips
US7931636B2 (en) 2005-08-04 2011-04-26 The Procter & Gamble Company Simple disposable absorbent article
US8684990B2 (en) * 2005-09-12 2014-04-01 The Procter & Gamble Company Simple disposable pant-like garment having breathable side barriers
US7320684B2 (en) 2005-09-21 2008-01-22 The Procter & Gamble Company Disposable absorbent article having deployable belt strips
US7737324B2 (en) 2005-11-23 2010-06-15 The Procter & Gamble Company Disposable absorbent article having deployable chassis ears
US8257335B2 (en) 2007-01-31 2012-09-04 The Procter & Gamble Company Diaper having hip stretch panels
US8585672B2 (en) 2007-02-28 2013-11-19 The Procter & Gamble Company Disposable absorbent article having deployable belt ears
US7857801B2 (en) 2007-03-23 2010-12-28 The Procter & Gamble Company Diaper having deployable chassis ears and stretch waistband
US20080255532A1 (en) * 2007-04-12 2008-10-16 Arquest, Inc. Multiple barrier leg cuff
DE112008000011B4 (de) 2007-06-18 2013-11-28 The Procter & Gamble Company Einwegabsorptionsartikel und dessen Verwendung
EP2478883B1 (en) 2007-06-18 2016-04-06 The Procter & Gamble Company Disposable absorbent article with substantially continuously distributed absorbent particulate polymer material and method
CA2722538C (en) 2008-04-29 2014-08-12 The Procter & Gamble Company Process for making an absorbent core with strain resistant core cover
US20090292270A1 (en) * 2008-05-23 2009-11-26 Showole Gbenga S Fastener Tab
US20100305542A1 (en) * 2009-05-28 2010-12-02 Stemple Gordon A Diaper or Diaper Like Undergarment and Separation Device for Undergarments
EP2329803B1 (en) 2009-12-02 2019-06-19 The Procter & Gamble Company Apparatus and method for transferring particulate material
US8940118B2 (en) * 2010-12-20 2015-01-27 The Procter & Gamble Company Belt attachment process for an absorbent article
BR112013025985A2 (pt) 2011-04-29 2016-12-20 Procter & Gamble artigo absorvente com braçadeira de vedação na perna
BR112013030593B1 (pt) 2011-06-10 2021-02-17 The Procter & Gamble Company estrutura absorvente para artigos absorventes
PH12013502578A1 (en) 2011-06-10 2014-02-10 Procter & Gamble Absorbent core for disposable absorbent articles
EP2532329B1 (en) 2011-06-10 2018-09-19 The Procter and Gamble Company Method and apparatus for making absorbent structures with absorbent material
CA2838951C (en) 2011-06-10 2019-07-16 The Procter & Gamble Company An absorbent core for disposable diapers comprising longitudinal channels
EP3266432B1 (en) 2011-06-10 2019-04-17 The Procter & Gamble Company Absorbent structure for absorbent articles
EP2532332B2 (en) 2011-06-10 2017-10-04 The Procter and Gamble Company Disposable diaper having reduced attachment between absorbent core and backsheet
ES2459724T3 (es) 2011-06-10 2014-05-12 The Procter & Gamble Company Método y aparato para hacer estructuras absorbentes con material absorbente
US9393342B2 (en) 2012-09-26 2016-07-19 The Procter & Gamble Company Liquid-activated formulation with surfactant
EP2919737B1 (en) 2012-11-13 2018-12-26 The Procter and Gamble Company Absorbent articles with channels and signals
US9216118B2 (en) 2012-12-10 2015-12-22 The Procter & Gamble Company Absorbent articles with channels and/or pockets
EP2740452B1 (en) 2012-12-10 2021-11-10 The Procter & Gamble Company Absorbent article with high absorbent material content
EP2740450A1 (en) 2012-12-10 2014-06-11 The Procter & Gamble Company Absorbent core with high superabsorbent material content
EP2740449B1 (en) 2012-12-10 2019-01-23 The Procter & Gamble Company Absorbent article with high absorbent material content
US9216116B2 (en) 2012-12-10 2015-12-22 The Procter & Gamble Company Absorbent articles with channels
US10639215B2 (en) 2012-12-10 2020-05-05 The Procter & Gamble Company Absorbent articles with channels and/or pockets
US8979815B2 (en) 2012-12-10 2015-03-17 The Procter & Gamble Company Absorbent articles with channels
DE202014011107U1 (de) 2013-06-14 2017-12-15 The Procter & Gamble Company Bei Nässe Kanäle bildender absorbierender Artikel und absorbierender Kern
US9987176B2 (en) 2013-08-27 2018-06-05 The Procter & Gamble Company Absorbent articles with channels
RU2649546C2 (ru) 2013-08-27 2018-04-03 Дзе Проктер Энд Гэмбл Компани Абсорбирующие изделия, содержащие каналы
US11207220B2 (en) 2013-09-16 2021-12-28 The Procter & Gamble Company Absorbent articles with channels and signals
CA2924828C (en) 2013-09-16 2017-07-18 The Procter & Gamble Company Absorbent articles with channels and signals
EP2851048B1 (en) 2013-09-19 2018-09-05 The Procter and Gamble Company Absorbent cores having material free areas
US9789009B2 (en) 2013-12-19 2017-10-17 The Procter & Gamble Company Absorbent articles having channel-forming areas and wetness indicator
CN105828769A (zh) * 2013-12-20 2016-08-03 宝洁公司 具有改善的箍和贴合性的尿布
EP3082692A1 (en) * 2013-12-20 2016-10-26 The Procter & Gamble Company Diaper with improved cuffs and fit
EP2905001B1 (en) 2014-02-11 2017-01-04 The Procter and Gamble Company Method and apparatus for making an absorbent structure comprising channels
EP2949300B1 (en) 2014-05-27 2017-08-02 The Procter and Gamble Company Absorbent core with absorbent material pattern
ES2643577T3 (es) 2014-05-27 2017-11-23 The Procter & Gamble Company Núcleo absorbente con diseño de material absorbente
CN107530119B (zh) 2015-02-19 2021-05-07 凯蒂森特生物医药公司 用于产生热量的医疗装置和使用它的治疗方法
US10507144B2 (en) 2015-03-16 2019-12-17 The Procter & Gamble Company Absorbent articles with improved strength
JP2018508292A (ja) 2015-03-16 2018-03-29 ザ プロクター アンド ギャンブル カンパニー 改善されたコアを有する吸収性物品
WO2016183304A1 (en) 2015-05-12 2016-11-17 The Procter & Gamble Company Absorbent article with improved core-to-backsheet adhesive
US10543129B2 (en) 2015-05-29 2020-01-28 The Procter & Gamble Company Absorbent articles having channels and wetness indicator
EP3167859B1 (en) 2015-11-16 2020-05-06 The Procter and Gamble Company Absorbent cores having material free areas
EP3238676B1 (en) 2016-04-29 2019-01-02 The Procter and Gamble Company Absorbent core with profiled distribution of absorbent material
EP3238678B1 (en) 2016-04-29 2019-02-27 The Procter and Gamble Company Absorbent core with transversal folding lines
US10925776B2 (en) 2016-12-22 2021-02-23 Dsg Technology Holdings Ltd. Disposable floating absorbent core and disposable absorbent assembly including same, and method of making same
JP2023509843A (ja) 2019-12-10 2023-03-10 キャンデサント・バイオメディカル・インコーポレイテッド 熱を発生させるためのメディカル・デバイスおよびそれを用いる処理方法

Family Cites Families (291)

* Cited by examiner, † Cited by third party
Publication number Priority date Publication date Assignee Title
US147890A (en) * 1874-02-24 Improvement in pump-pistons
US87139A (en) * 1869-02-23 Improved machine for preparing wood for the manufacture of paper-pulp
US1733997A (en) 1928-04-30 1929-10-29 Paul Molnar Catamenial bandage
US1734499A (en) 1928-12-04 1929-11-05 Marinsky Davis Sanitary napkin
US1989283A (en) * 1934-05-03 1935-01-29 Walter P Limacher Diaper
US2058509A (en) 1936-01-30 1936-10-27 Rose David Infant's undergarment
US2271676A (en) * 1939-11-24 1942-02-03 Bjornbak Elna Diaper
US2450789A (en) 1945-07-05 1948-10-05 Jacob G Frieman Sanitary garment
US2508811A (en) * 1947-07-15 1950-05-23 Edna E Best Diaper
US2583553A (en) * 1949-04-07 1952-01-29 Faureed Company Sanitary protector for bedridden patients
US2568910A (en) 1949-10-07 1951-09-25 Jessie C Condylis Fastening means for garments, and more particularly diapers
US2570963A (en) 1949-11-21 1951-10-09 John E Mesmer Infant's diaper
US2570796A (en) 1950-12-06 1951-10-09 Gross Rose Diaper
US2705957A (en) * 1953-07-08 1955-04-12 Mauro Virginia Sanitary panty
US2807263A (en) 1953-08-18 1957-09-24 Newton Jewel Mae Ladies' sanitary garment
US2830589A (en) * 1953-12-07 1958-04-15 Joseph B Doner Diapers
US2890700A (en) 1954-02-18 1959-06-16 Ethel C Lonberg-Holm Disposable diaper
US2890701A (en) 1954-10-06 1959-06-16 Weinman Mary Support for a sanitary napkin
US2788786A (en) * 1955-09-23 1957-04-16 Fred F Dexter Disposable diaper
US2798489A (en) 1955-10-20 1957-07-09 Behrman Mayes Protective garment
US2898912A (en) 1956-02-09 1959-08-11 Adams Jane Infant's diaper
US2977957A (en) * 1957-08-28 1961-04-04 Napette Sanitary Napkin Holder Sanitary napkin holders and holder units
US2931361A (en) * 1957-12-18 1960-04-05 Sostrin Alice Self-fastening infant's diaper
US3207158A (en) 1961-08-17 1965-09-21 Yoshitake Kazuko Sanitary napkin supporting panty
US3386442A (en) 1965-03-29 1968-06-04 Sabee Reinhardt Disposable diaper
US3572342A (en) * 1968-01-19 1971-03-23 Johnson & Johnson Diaper
US3578155A (en) * 1969-02-24 1971-05-11 Paper Converting Machine Co Disposable product
US3592194A (en) 1969-03-05 1971-07-13 Procter & Gamble Diaper having improved wicking and dryness
US3610244A (en) 1969-10-20 1971-10-05 Jones Sr John L Integral diaper waistband fasteners
US3847702A (en) 1969-10-20 1974-11-12 J Jones Process for manufacture of integral diaper waist band fastener
US3618608A (en) 1970-02-16 1971-11-09 Mary E Brink Diaper with fastener
US3840418A (en) 1970-03-09 1974-10-08 R Sabee Method of manufacture of a sanitary article and ply having selectively thickened areas
US3653381A (en) * 1970-03-23 1972-04-04 Crystal E Warnken Belted diapers
FR2082803A5 (ja) 1970-03-26 1971-12-10 Consortium General Textile
US3667468A (en) 1970-04-28 1972-06-06 Paper Converting Machine Co Sanitary napkin and method and means of producing
US3642001A (en) * 1970-07-27 1972-02-15 Reinhardt N Sabee Disposable diaper or the like
FR2110515A5 (ja) 1970-10-20 1972-06-02 Beghin
US3710797A (en) * 1971-02-26 1973-01-16 Procter & Gamble Disposable diaper
US3776233A (en) 1971-05-17 1973-12-04 Colgate Palmolive Co Edge contourable diaper
US3731688A (en) * 1971-06-30 1973-05-08 Techmation Corp Disposable diaper
US3882870A (en) * 1971-07-09 1975-05-13 Lucille Hathaway Diaper
US3774241A (en) 1972-02-16 1973-11-27 J Zerkle Loincloth and spreader therefor
US3924626A (en) 1972-12-08 1975-12-09 Int Paper Co Rectangular disposable diaper having a contoured absorbent pad
US3863637A (en) 1972-12-08 1975-02-04 Int Paper Co Folded disposable diaper
SE370313B (ja) 1973-02-09 1974-10-14 O Heurlen
US3848595A (en) 1973-04-26 1974-11-19 Kimberly Clark Co Prefolded diaper with improved leg fit
US3848597A (en) 1973-07-05 1974-11-19 Kimberly Clark Co Prefolded disposable diaper
US3884234A (en) * 1973-10-18 1975-05-20 Colgate Palmolive Co Disposable diaper
US3860003B2 (en) * 1973-11-21 1990-06-19 Contractable side portions for disposable diaper
US3929134A (en) 1974-08-29 1975-12-30 Colgate Palmolive Co Absorbent article and method
US3978861A (en) 1974-05-23 1976-09-07 Colgate-Palmolive Company Disposable diaper with end flap means and method
US3930501A (en) * 1974-05-23 1976-01-06 Colgate-Palmolive Company Disposable diaper with end flap means and method
US3926189A (en) 1974-08-05 1975-12-16 Colgate Palmolive Co Selectively positionable diaper assembly
US3920017A (en) 1974-09-27 1975-11-18 Colgate Palmolive Co Crotch-shaped diaper and method
US3938523A (en) * 1974-10-17 1976-02-17 Scott Paper Company Prefolded and packaged disposable diaper
US4014338A (en) * 1974-10-31 1977-03-29 Colgate-Palmolive Company Diaper with elastic means
US3987794A (en) 1974-10-31 1976-10-26 Colgate-Palmolive Company Diaper with elastic crotch means
US3995637A (en) 1974-10-31 1976-12-07 Colgate-Palmolive Company Diaper with waist means
US3929135A (en) 1974-12-20 1975-12-30 Procter & Gamble Absorptive structure having tapered capillaries
US4084592A (en) * 1975-01-08 1978-04-18 Johnson & Johnson Disposable prefolded diaper with permanently attached adhesive closure system
US3968799A (en) 1975-04-04 1976-07-13 Kimberly-Clark Corporation Prefolded disposable diaper
GB1513055A (en) 1975-07-02 1978-06-07 Mccullins J Disposable diapers
US4100922A (en) 1975-07-09 1978-07-18 Colgate-Palmolive Company Disposable diaper
US3981306A (en) 1975-08-11 1976-09-21 Scott Paper Company Multilayer one-piece disposable diapers
US3999547A (en) 1975-12-29 1976-12-28 Colgate-Palmolive Company Disposable diaper having front side edge sealing means
US3995640A (en) 1976-01-05 1976-12-07 Colgate-Palmolive Company Diaper with elastic means
US4034760A (en) 1976-03-18 1977-07-12 Filitsa Amirsakis Self contained disposable diaper
US4074508A (en) * 1976-12-21 1978-02-21 Riegel Textile Corporation Apparatus for compressing and banding a predetermined number of articles
US4388075A (en) 1977-12-20 1983-06-14 Johnson & Johnson Baby Products Company Disposable diaper with wide elastic gathering means for improved comfort
US4257418A (en) * 1979-01-22 1981-03-24 Mo Och Domsjo Aktiebolag Device for absorbing urine with incontinent persons
US4342314A (en) 1979-03-05 1982-08-03 The Procter & Gamble Company Resilient plastic web exhibiting fiber-like properties
US4296750A (en) 1979-06-22 1981-10-27 Kimberly-Clark Corporation Refastenable pressure-sensitive tape closure system for disposable diapers and method for its manufacture
US4315508A (en) * 1980-03-31 1982-02-16 Kimberly-Clark Corporation Self-centering multiple use garment suspension system
US4324246A (en) * 1980-05-12 1982-04-13 The Procter & Gamble Company Disposable absorbent article having a stain resistant topsheet
US4463045A (en) 1981-03-02 1984-07-31 The Procter & Gamble Company Macroscopically expanded three-dimensional plastic web exhibiting non-glossy visible surface and cloth-like tactile impression
NZ200464A (en) 1981-05-18 1984-10-19 Colgate Palmolive Co Box-pleated diaper with cushioned elastic members
US4909803A (en) * 1983-06-30 1990-03-20 The Procter And Gamble Company Disposable absorbent article having elasticized flaps provided with leakage resistant portions
US4461621A (en) 1981-10-19 1984-07-24 Colgate-Palmolive Company Disposable diaper with polymer coating
US4475912A (en) 1981-10-26 1984-10-09 Coates Fredrica V Adjustable diapers with fastening means
SE446055B (sv) 1982-07-01 1986-08-11 Landstingens Inkopscentral Ikontinensskydd eller bloja med vesentligen rektanguler form
US5085654A (en) * 1982-11-15 1992-02-04 The Procter & Gamble Company Disposable garment with breathable leg cuffs
US4636207A (en) * 1982-11-15 1987-01-13 The Procter & Gamble Company Disposable garment with breathable leg cuffs
US4610678A (en) 1983-06-24 1986-09-09 Weisman Paul T High-density absorbent structures
FR2543430B1 (fr) * 1983-03-29 1986-11-14 Beghin Say Sa Couche a jeter, notamment pour adulte incontinent
US4670011A (en) 1983-12-01 1987-06-02 Personal Products Company Disposable diaper with folded absorbent batt
US4681581A (en) 1983-12-05 1987-07-21 Coates Fredrica V Adjustable size diaper and folding method therefor
GB8332828D0 (en) 1983-12-08 1984-01-18 Procter & Gamble Diaper with fold points
US4731066A (en) * 1984-03-30 1988-03-15 Personal Products Company Elastic disposable diaper
FR2566631B1 (fr) 1984-06-28 1988-08-05 Boussac Saint Freres Bsf Couche-culotte a ceinture elastique et procede de fabrication d'une telle couche-culotte
CA1341430C (en) 1984-07-02 2003-06-03 Kenneth Maynard Enloe Diapers with elasticized side pockets
CA1259151A (en) 1985-02-01 1989-09-12 Kenneth B. Buell Disposable waste containment garment
US4585450A (en) * 1985-04-29 1986-04-29 Kimberly-Clark Corporation Refastenable tape system for disposable diapers and similar garments
FR2583621B1 (fr) 1985-06-19 1990-10-05 Boussac Saint Freres Bsf Couche-culotte a jeter munie d'une ceinture elastique
US4695278A (en) 1985-10-11 1987-09-22 The Procter & Gamble Company Absorbent article having dual cuffs
US4680030A (en) 1985-11-13 1987-07-14 Coates Fredrica V Garment having improved, self closing, filamentary fasteners
PH26871A (en) * 1986-03-31 1992-11-16 Uni Charm Corp Disposable diaper
IL82511A (en) 1986-05-28 1992-09-06 Procter & Gamble Apparatus for and methods of airlaying fibrous webs having discrete particles therein
US4690680A (en) 1986-06-27 1987-09-01 The Procter & Gamble Company Adhesive attachment means for absorbent articles
GB2193625B (en) 1986-07-04 1990-11-28 Uni Charm Corp Disposable diaper
SE453720B (sv) * 1986-07-17 1988-02-29 Moelnlycke Ab Sett att i samband med framstellningen vika en absorberande engangsartikel, t ex en bloja, till forpackningstillstand
US4834735A (en) * 1986-07-18 1989-05-30 The Proctor & Gamble Company High density absorbent members having lower density and lower basis weight acquisition zones
US4834742A (en) * 1986-09-03 1989-05-30 Kimberly-Clark Corporation Fastening system for a disposable absorbent garment
CA1290501C (en) * 1986-10-10 1991-10-15 Jerry Layne Dragoo Absorbent article having leakage resistant dual cuffs
CA1305952C (en) * 1986-10-24 1992-08-04 Migaku Suzuki Method for making wearable articles
US4808176A (en) * 1986-12-31 1989-02-28 Kimberly-Clark Corporation Elasticized waist integration member for disposable absorbent garments
US4940463A (en) 1987-02-17 1990-07-10 Sherman Leathers Disposable combined panty with sanitary napkin
US4838886A (en) 1987-03-09 1989-06-13 Kent Gail H Pad holder
US5549593A (en) 1987-03-24 1996-08-27 Molnlycke Ab Device for the support of an absorbent article
FR2612770B1 (fr) 1987-03-26 1995-06-30 Celatose Sa Change pour incontinents
US4904251A (en) * 1987-03-30 1990-02-27 Uni-Charm Corporation Disposable diaper
US4747846A (en) * 1987-04-03 1988-05-31 Kimberly-Clark Corporation Stretchable disposable absorbent undergarment
US4909802A (en) * 1987-04-16 1990-03-20 The Procter & Gamble Company Absorbent garment having a waist belt attachment system
US4968313A (en) 1987-04-27 1990-11-06 Sabee Reinhardt N Diaper with waist band elastic
US4861652A (en) 1987-10-13 1989-08-29 Kimberly-Clark Corporation Diaper article with elasticized waist panel
US4846825A (en) 1987-10-30 1989-07-11 Kimberly-Clark Corporation Diapers with elasticized side pockets
US4940464A (en) 1987-12-16 1990-07-10 Kimberly-Clark Corporation Disposable incontinence garment or training pant
CA1298818C (en) 1987-12-16 1992-04-14 Paul Theodore Van Gompel Method and apparatus for making a disposable incontinence garment or training pant
US4963140A (en) 1987-12-17 1990-10-16 The Procter & Gamble Company Mechanical fastening systems with disposal means for disposable absorbent articles
US4950264A (en) 1988-03-31 1990-08-21 The Procter & Gamble Company Thin, flexible sanitary napkin
US5006394A (en) * 1988-06-23 1991-04-09 The Procter & Gamble Company Multilayer polymeric film
US4990147A (en) * 1988-09-02 1991-02-05 The Procter & Gamble Company Absorbent article with elastic liner for waste material isolation
US4892536A (en) * 1988-09-02 1990-01-09 The Procter & Gamble Company Absorbent article having elastic strands
US5797894A (en) 1988-09-12 1998-08-25 Johnson & Johnson, Inc. Unitized sanitary napkin
US5312386A (en) * 1989-02-15 1994-05-17 Johnson & Johnson Disposable sanitary pad
US5037416A (en) 1989-03-09 1991-08-06 The Procter & Gamble Company Disposable absorbent article having elastically extensible topsheet
JPH0622344Y2 (ja) 1989-05-29 1994-06-15 ユニ・チャーム株式会社 使い捨てオムツ
US5246432A (en) 1989-07-17 1993-09-21 Uni-Charm Corporation Disposable absorbent articles
US5071414A (en) 1989-11-27 1991-12-10 Elliott Donald P Packaging pocket for disposable diaper
CN1024746C (zh) * 1989-12-20 1994-06-01 李清祈 具热能调节作用构件的煮器
JP2664501B2 (ja) * 1989-12-22 1997-10-15 ユニ・チャーム株式会社 使い捨て着用物品
US5584829A (en) 1991-05-21 1996-12-17 The Procter & Gamble Company Absorbent articles having panty covering components that naturally wrap the sides of panties
US5246431A (en) 1990-01-31 1993-09-21 Pope & Talbot Company Diaper with source reduction overlay and having improved fecal containment characteristics
USD329697S (en) 1990-04-02 1992-09-22 Kimberly-Clark Corporation Belted diaper
CA2023043A1 (en) 1990-04-02 1991-10-03 Anne M. Fahrenkrug Diaper having disposable chassis assembly and reusable elasticized belt removably retained by said chassis assembly
US5204997A (en) * 1990-05-24 1993-04-27 Uni-Charm Corporation Disposable garments of pants type
US5824004A (en) 1990-06-18 1998-10-20 The Procter & Gamble Company Stretchable absorbent articles
JP3009482B2 (ja) * 1990-12-27 2000-02-14 大王製紙株式会社 紙おむつ
US5221274A (en) 1991-06-13 1993-06-22 The Procter & Gamble Company Absorbent article with dynamic elastic waist feature having a predisposed resilient flexural hinge
US5151092A (en) 1991-06-13 1992-09-29 The Procter & Gamble Company Absorbent article with dynamic elastic waist feature having a predisposed resilient flexural hinge
US5190606A (en) * 1991-06-14 1993-03-02 Paper Converting Machine Company Method for producing raised leg cuff for diapers including two folding boards
US5260345A (en) 1991-08-12 1993-11-09 The Procter & Gamble Company Absorbent foam materials for aqueous body fluids and absorbent articles containing such materials
US5246433A (en) 1991-11-21 1993-09-21 The Procter & Gamble Company Elasticized disposable training pant and method of making the same
JP2823402B2 (ja) * 1991-12-04 1998-11-11 ユニ・チャーム株式会社 体液吸収性物品
SE9103851L (sv) 1991-12-30 1993-07-01 Moelnlycke Ab Absorberande alster
US5235515A (en) 1992-02-07 1993-08-10 Kimberly-Clark Corporation Method and apparatus for controlling the cutting and placement of components on a moving substrate
JP3563417B2 (ja) 1992-06-01 2004-09-08 株式会社日本吸収体技術研究所 ポケット構造をもつオムツおよびその製造法
US5269775A (en) 1992-06-12 1993-12-14 The Procter & Gamble Company Trisection topsheets for disposable absorbent articles and disposable absorbent articles having such trisection topsheets
US5366782A (en) 1992-08-25 1994-11-22 The Procter & Gamble Company Polymeric web having deformed sections which provide a substantially increased elasticity to the web
SE508450C2 (sv) 1992-11-11 1998-10-05 Sca Hygiene Prod Ab Absorberande artikel jämte sätt för framställning härav
JPH06254119A (ja) * 1993-02-24 1994-09-13 Procter & Gamble Far East Inc 改良された脚まわり漏れ防止構造を備える使い捨てパンツ型おむつ
US5358500A (en) 1993-06-03 1994-10-25 The Procter & Gamble Company Absorbent articles providing sustained dynamic fit
US5540671A (en) 1993-06-10 1996-07-30 The Procter & Gamble Company Absorbent article having a pocket cuff with an apex
US5397316A (en) * 1993-06-25 1995-03-14 The Procter & Gamble Company Slitted absorbent members for aqueous body fluids formed of expandable absorbent materials
FR2707159B1 (fr) 1993-07-09 1995-09-08 Peaudouce Article d'hygiène absorbant jetable.
US5891544A (en) * 1993-08-03 1999-04-06 The Procter & Gamble Company Web materials exhibiting elastic-like behavior
US5518801A (en) * 1993-08-03 1996-05-21 The Procter & Gamble Company Web materials exhibiting elastic-like behavior
US5968029A (en) 1993-08-03 1999-10-19 The Procter & Gamble Company Web materials exhibiting elastic-like behavior
AU685833B2 (en) * 1993-10-15 1998-01-29 Uni-Charm Corporation Disposable absorbent pad
JPH07142627A (ja) 1993-11-18 1995-06-02 Fujitsu Ltd 半導体装置及びその製造方法
BR9408105A (pt) 1993-11-19 1997-08-05 Procter & Gamble Artigo absorvente
DE69420148T2 (de) * 1993-11-19 2000-04-20 The Procter & Gamble Co. Absorbierender gegenstand mit einem gürtel aus einem strukturellen elastischartigem film
US5643588A (en) 1994-11-28 1997-07-01 The Procter & Gamble Company Diaper having a lotioned topsheet
US5476458A (en) 1993-12-22 1995-12-19 Kimberly-Clark Corporation Liquid-retaining absorbent garment and method of manufacture
WO1995019753A1 (en) 1994-01-19 1995-07-27 The Procter & Gamble Company Convertible belted diaper
US5624424A (en) * 1994-02-25 1997-04-29 New Oji Paper Co., Ltd. Disposable diaper
US5554145A (en) * 1994-02-28 1996-09-10 The Procter & Gamble Company Absorbent article with multiple zone structural elastic-like film web extensible waist feature
JPH09512594A (ja) 1994-04-29 1997-12-16 ザ、プロクター、エンド、ギャンブル、カンパニー 伸張自在の胴バンドを有する使い捨てプルオン式パンツ用閉鎖システム
JPH07299093A (ja) 1994-05-10 1995-11-14 Uni Charm Corp 体液吸収性着用物品
US5643243A (en) 1994-09-26 1997-07-01 Drypers Corporation Disposable diaper with cuff
EP0793469B9 (en) 1994-11-23 2002-12-11 Kimberly-Clark Worldwide, Inc. Absorbent article having a composite absorbent core
US5635191A (en) 1994-11-28 1997-06-03 The Procter & Gamble Company Diaper having a lotioned topsheet containing a polysiloxane emollient
US5772825A (en) 1994-12-22 1998-06-30 The Procter & Gamble Company Method for making an undergarment having side seams
US5779831A (en) 1994-12-24 1998-07-14 The Procter & Gamble Company Method and apparatus for making an undergarment having overlapping or butt-type side seams
US5580411A (en) 1995-02-10 1996-12-03 The Procter & Gamble Company Zero scrap method for manufacturing side panels for absorbent articles
US6110157A (en) 1995-02-24 2000-08-29 Kimberly-Clark Worldwide, Inc. Disposable absorbent article having an integrated fastening system
DE29505496U1 (de) * 1995-03-31 1995-06-01 Ipsen Industries International GmbH, 47533 Kleve Vorrichtung zur Wärmebehandlung metallischer Werkstücke unter Vakuum
US5549592A (en) 1995-04-03 1996-08-27 Kimberly-Clark Corporation Absorbent article with a laminated tape
AU701286B2 (en) * 1995-04-03 1999-01-21 Mcneil-Ppc, Inc. Multiple folded side barriers for improved leakage protection
US5569234A (en) 1995-04-03 1996-10-29 The Procter & Gamble Company Disposable pull-on pant
US5575785A (en) 1995-06-07 1996-11-19 Kimberly-Clark Corporation Absorbent article including liquid containment beams and leakage barriers
US5607760A (en) * 1995-08-03 1997-03-04 The Procter & Gamble Company Disposable absorbent article having a lotioned topsheet containing an emollient and a polyol polyester immobilizing agent
US5609587A (en) * 1995-08-03 1997-03-11 The Procter & Gamble Company Diaper having a lotioned topsheet comprising a liquid polyol polyester emollient and an immobilizing agent
US6120866A (en) 1995-08-07 2000-09-19 Nitto Denko Corporation Re-peeling pressure-sensitive adhesive tape or pressure-sensitive adhesive, and fastening system using the same
MY117986A (en) 1995-08-25 2004-08-30 Uni Charm Corp Disposable absorbent undergarment
US5571096A (en) 1995-09-19 1996-11-05 The Procter & Gamble Company Absorbent article having breathable side panels
US5622222A (en) * 1995-09-26 1997-04-22 Mobil Oil Corporation Scavenger system and electrical submersible pumps (ESP's)
DE69618170T2 (de) 1995-10-05 2002-07-04 Kao Corp., Tokio/Tokyo Wegwerfwindel
US5607537A (en) 1995-10-10 1997-03-04 The Procter & Gamble Company Method for making a flangeless seam for use in disposable articles
US5662638A (en) 1995-10-10 1997-09-02 The Procter & Gamble Company Flangeless seam for use in disposable articles
US5622589A (en) * 1995-10-10 1997-04-22 The Procter & Gamble Company Method for making a flangeless seam for use in disposable articles
US6120489A (en) 1995-10-10 2000-09-19 The Procter & Gamble Company Flangeless seam for use in disposable articles
US5626571A (en) * 1995-11-30 1997-05-06 The Procter & Gamble Company Absorbent articles having soft, strong nonwoven component
US6117121A (en) 1995-12-11 2000-09-12 Kimberly-Clark Worldwide, Inc. Absorbent article using extensible leg cuffs
US5846232A (en) 1995-12-20 1998-12-08 Kimberly-Clark Worldwide, Inc. Absorbent article containing extensible zones
WO1997025892A1 (en) 1996-01-16 1997-07-24 Avery Dennison Corporation Stretchable mechanical/adhesive closure for a disposable diaper
BR9706989A (pt) * 1996-01-16 2001-08-28 Avery Dennison Corp Aperfeiçoamentos nos sistemas de fecho em fraldas
US5685874A (en) 1996-02-22 1997-11-11 The Procter & Gamble Company Disposable pull-on pant
EP0883394B1 (en) 1996-02-29 2002-05-02 Kimberly-Clark Worldwide, Inc. Dual elastic, liquid barrier containment flaps for a disposable absorbent article
SE504624C2 (sv) 1996-03-13 1997-03-17 Moelnlycke Ab Midjebälte för absorberande alster samt förfarande för tillverkning av detta
US5897545A (en) 1996-04-02 1999-04-27 The Procter & Gamble Company Elastomeric side panel for use with convertible absorbent articles
US6120487A (en) 1996-04-03 2000-09-19 The Procter & Gamble Company Disposable pull-on pant
US5865823A (en) * 1996-11-06 1999-02-02 The Procter & Gamble Company Absorbent article having a breathable, fluid impervious backsheet
US5810800A (en) 1996-06-27 1998-09-22 The Procter & Gamble Company Absorbent article having flexure resistant elasticized cuffs
JP3434649B2 (ja) * 1996-08-07 2003-08-11 ユニ・チャーム株式会社 使い捨ておむつ
EP0957868B1 (en) 1996-10-15 2003-02-05 The Procter & Gamble Company Disposable absorbent garment and method of constructing the same
US6585713B1 (en) 1996-11-14 2003-07-01 Kimberly-Clark Worldwide, Inc. Absorbent article providing a dynamic fit
US6102892A (en) 1996-12-23 2000-08-15 Kimberly-Clark Worldwide, Inc. Diaper with pleats for containment of liquid and solid waste
SE513075C2 (sv) * 1996-12-27 2000-07-03 Sca Hygiene Prod Ab Fastsättningsanordning för absorberande plagg
US6648869B1 (en) * 1996-12-30 2003-11-18 Kimberly-Clark Worldwide, Inc. Vertically pleated diaper liner
SE512761C2 (sv) * 1997-02-28 2000-05-08 Sca Hygiene Prod Ab Blöja, innefattande ett midjebälte och en absorberand enhet
US6042673A (en) * 1997-05-15 2000-03-28 The Procter & Gamble Company Method for making a flangeless seam for use in disposable articles
ATE222082T1 (de) * 1997-05-22 2002-08-15 Bba Nonwovens Simpsonville Inc Textilverbundstoff für deckungsschichten mit flüssigkeitsundurchlässigen zonen und flüssigkeitsdurchlässigen zonen
JPH1142252A (ja) 1997-07-25 1999-02-16 Ykk Corp 使い捨ておむつ
US6402731B1 (en) 1997-08-08 2002-06-11 Kimberly-Clark Worldwide, Inc. Multi-functional fastener for disposable absorbent articles
US6432098B1 (en) 1997-09-04 2002-08-13 The Procter & Gamble Company Absorbent article fastening device
US6107537A (en) 1997-09-10 2000-08-22 The Procter & Gamble Company Disposable absorbent articles providing a skin condition benefit
EP1014909A4 (en) 1997-09-16 2005-03-30 Paragon Trade Brands Inc DISTRIBUTION HOSES WITH ELASTIFIED SIDE PARTS
SE514291C2 (sv) * 1997-09-30 2001-02-05 Sca Hygiene Prod Ab Absorberande engångsalster med hög uppsamlingsförmåga
JP3385188B2 (ja) * 1997-09-30 2003-03-10 ユニ・チャーム株式会社 使い捨ておむつ
US6156424A (en) 1997-10-31 2000-12-05 Andover Coated Products, Inc. Cohesive products
FR2770395B1 (fr) 1997-11-04 2000-02-18 Proteco Article d'hygiene a panneaux respirables en non-tisse
AU5585798A (en) * 1997-11-10 1999-05-31 Procter & Gamble Company, The Disposable absorbent article having improved soft barrier cuff
US6410820B1 (en) 1997-11-14 2002-06-25 The Procter & Gamble Company Method of making a slitted or particulate absorbent material and structures formed thereby
US6129720A (en) 1997-12-31 2000-10-10 Kimberly-Clark Worldwide, Inc. Extensible absorbent article including an extensible absorbent pad layer
JP4028632B2 (ja) * 1998-03-04 2007-12-26 株式会社リブドゥコーポレーション 使い捨ておむつ
US6440117B1 (en) 1998-04-02 2002-08-27 Kao Corporation Disposable diaper having upstanding walls for improving leakage prevention
JP3330076B2 (ja) * 1998-04-20 2002-09-30 ユニ・チャーム株式会社 使い捨ておむつ
US6840930B1 (en) * 1998-04-23 2005-01-11 The Procter & Gamble Company Disposable absorbent article having reinforced ear panels
JP3398047B2 (ja) 1998-04-24 2003-04-21 ユニ・チャーム株式会社 使い捨てのパンツ型おむつ
US5873868A (en) * 1998-06-05 1999-02-23 The Procter & Gamble Company Absorbent article having a topsheet that includes selectively openable and closable openings
US7037299B2 (en) * 1998-06-12 2006-05-02 First Quality Products, Inc. Disposable elastic absorbent article having retaining enclosures
US6413249B1 (en) 1998-06-12 2002-07-02 First Quality Enterprises, Inc. Disposable absorbent article having elastically contractible waist and sides
US6022431A (en) * 1998-06-19 2000-02-08 Kimberly-Clark Worldwide, Inc. Method of making prefastened absorbent articles having a stretch band
US6322552B1 (en) 1998-06-19 2001-11-27 Kimberly-Clark Worldwide, Inc. Absorbent articles having belt loops and an adjustable belt
US6022430A (en) * 1998-06-19 2000-02-08 Kimberly-Clark Worldwide, Inc. Method of making absorbent articles having an adjustable belt
JP3411224B2 (ja) 1998-09-14 2003-05-26 ユニ・チャーム株式会社 使い捨ておむつ
US6520947B1 (en) * 1998-10-16 2003-02-18 The Procter & Gamble Company Disposable absorbent article having reusable fastening means
JP3908403B2 (ja) * 1999-02-22 2007-04-25 株式会社リブドゥコーポレーション 使い捨て製品の吸収用積層体
JP3510150B2 (ja) 1999-05-12 2004-03-22 ユニ・チャーム株式会社 使い捨ての体液処理物品
AR024567A1 (es) * 1999-06-14 2002-10-16 Bki Holding Corp Una estructura absorbente y producto absorbente que utiliza dicha estructura.
US6177607B1 (en) * 1999-06-25 2001-01-23 Kimberly-Clark Worldwide, Inc. Absorbent product with nonwoven dampness inhibitor
US7247152B2 (en) 1999-10-15 2007-07-24 Associated Hygienic Products Llc Disposable absorbent article with containment structure
JP3595471B2 (ja) * 1999-11-19 2004-12-02 ユニ・チャーム株式会社 使い捨ての尿とりパッド
JP3515932B2 (ja) 1999-11-30 2004-04-05 ユニ・チャーム株式会社 使い捨ての着用物品
US6494873B2 (en) 2000-03-31 2002-12-17 Sca Hygiene Products Absorbent article provided with a belt
US6821915B2 (en) * 2000-05-03 2004-11-23 Kimberly-Clark Worldwide, Inc. Film having high breathability induced by low cross-directional stretch
US6846374B2 (en) 2000-05-16 2005-01-25 Kimberly-Clark Worldwide Method and apparatus for making prefastened and refastenable pant with desired waist and hip fit
US6572595B1 (en) 2000-05-30 2003-06-03 Associated Hygienic Products Disposable absorbent garment such as a diaper or training pants and a process of making the same
FR2810234B1 (fr) 2000-06-14 2004-11-19 Proteco Couche culotte a usage unique prepositionnable
US6520627B2 (en) * 2000-06-26 2003-02-18 Hewlett-Packard Company Direct imaging polymer fluid jet orifice
US6689115B1 (en) * 2000-08-15 2004-02-10 Kimberly-Clark Worldwide, Inc. Absorbent garment with asymmetrical leg elastic spacing
US6648871B2 (en) * 2000-09-18 2003-11-18 Sca Hygiene Products Ab Absorbent article and a method for its manufacture
JP3810999B2 (ja) 2000-11-24 2006-08-16 ユニ・チャーム株式会社 使い捨て着用物品
JP2002165832A (ja) * 2000-11-30 2002-06-11 Daio Paper Corp 紙おむつ
JP2001198157A (ja) * 2000-12-07 2001-07-24 Kao Corp 使い捨ておむつ
US6716205B2 (en) 2000-12-28 2004-04-06 Kimberly-Clark Worldwide, Inc. Pant-like absorbent garment having tailored flap and leg elastic
JP3703723B2 (ja) 2001-01-19 2005-10-05 ユニ・チャーム株式会社 使い捨て下着
JP3964624B2 (ja) 2001-01-23 2007-08-22 ユニ・チャーム株式会社 使い捨ておむつ
JP3748813B2 (ja) * 2001-01-29 2006-02-22 花王株式会社 吸収性物品
US20030088223A1 (en) * 2001-04-13 2003-05-08 Kimberly-Clark Worldwide, Inc. Passive bonds for personal care article
US6972010B2 (en) * 2001-04-17 2005-12-06 The Procter & Gamble Company Absorbent article comprising an agent able to convey a perception to the wearer, without the need to create the external condition perceived
JP3734720B2 (ja) * 2001-05-18 2006-01-11 ユニ・チャーム株式会社 パンツ型の使い捨て着用物品
US6605070B2 (en) 2001-06-29 2003-08-12 The Procter & Gamble Company Absorbent article having selectively changeable size adjustment
MXPA03011679A (es) 2001-07-02 2004-03-19 Procter & Gamble Articulo absorbente con extensibilidad en el panel de cintura.
TW552196B (en) 2001-07-20 2003-09-11 Clopay Corp Laminated sheet and method of making same
US7815620B2 (en) 2001-07-25 2010-10-19 Coates Fredrica V Protective absorbent article with attached adjustable belt with button fasteners
US7572250B2 (en) * 2001-11-30 2009-08-11 Sca Hygiene Products Ab Absorbent article
JP3919638B2 (ja) * 2001-12-20 2007-05-30 花王株式会社 吸収性物品
PL370626A1 (en) * 2001-12-21 2005-05-30 The Procter & Gamble Company Disposable absorbent article having barrier leg cuff and elasticized outer leg cuff
JP3934943B2 (ja) * 2002-01-11 2007-06-20 ユニ・チャーム株式会社 使い捨て排泄処理物品
JP4051208B2 (ja) * 2002-01-31 2008-02-20 ユニ・チャーム株式会社 パンツ型の使い捨て着用物品
WO2003065955A2 (en) 2002-02-05 2003-08-14 Tredegar Film Products Corporation Absorbent composition and method of assembling
US6880211B2 (en) * 2002-06-13 2005-04-19 3M Innovative Properties Company Macro closure device for disposable articles
US20030233082A1 (en) 2002-06-13 2003-12-18 The Procter & Gamble Company Highly flexible and low deformation fastening device
US7219403B2 (en) * 2002-07-23 2007-05-22 The Procter & Gamble Company Fastening member comprising shaped tab
MXPA02012811A (es) 2002-12-19 2004-09-03 Grupo P I Mabe Sa De C V Panal desechable con cinturon de sujecion.
US7727217B2 (en) 2002-12-20 2010-06-01 Kimberly-Clark Worldwide, Inc Absorbent article with unitary elastomeric waistband with multiple extension zones
ES2314137T3 (es) 2003-02-12 2009-03-16 THE PROCTER & GAMBLE COMPANY Pañal comodo.
EP1911425B1 (en) 2003-02-12 2014-01-15 The Procter and Gamble Company Absorbent core for an absorbent article
US8118799B2 (en) 2003-05-05 2012-02-21 Kimberly-Clark Worldwide, Inc. Disposable garment having first and second attachment members
US8333749B2 (en) * 2003-05-20 2012-12-18 Dsg Technology Holdings Ltd. Disposable absorbent article with regions of varying elasticity
JP4421222B2 (ja) 2003-06-09 2010-02-24 ユニ・チャーム株式会社 吸収性物品
US7435244B2 (en) * 2003-07-01 2008-10-14 Arquest, Inc. Diaper design having zones of reduced stiffness and continuous breathability
JP3822869B2 (ja) * 2003-08-14 2006-09-20 ユニ・チャーム株式会社 使い捨ておむつ
US7160281B2 (en) * 2003-10-21 2007-01-09 Kimberly-Clark Worldwide, Inc. Absorbent article having an absorbent structure secured to a stretchable component of the article
US7736351B2 (en) 2004-02-02 2010-06-15 The Procter & Gamble Company Simple disposable absorbent article
US7318820B2 (en) * 2004-03-12 2008-01-15 The Procter & Gamble Company Simple disposable absorbent article having breathable side barriers
JP4532940B2 (ja) 2004-03-12 2010-08-25 ユニ・チャーム株式会社 使い捨ての着用物品
US6962578B1 (en) * 2004-06-29 2005-11-08 The Procter & Gamble Company Disposable absorbent article having backsheet strips
US8684988B2 (en) 2004-06-29 2014-04-01 The Procter & Gamble Company Disposable absorbent article having barrier cuff strips
DE102005030182A1 (de) 2005-06-29 2007-01-04 Paul Hartmann Ag Wegwerfbarer absorbierender Hygieneartikel in Pantform

Also Published As

Publication number Publication date
WO2006004873A3 (en) 2006-07-13
US8684988B2 (en) 2014-04-01
EG24921A (en) 2010-12-22
CA2567787A1 (en) 2006-01-12
US20050288646A1 (en) 2005-12-29
WO2006004873A2 (en) 2006-01-12
ZA200610462B (en) 2008-08-27
BRPI0512664A (pt) 2008-04-01
JP2008504894A (ja) 2008-02-21
CN1714772A (zh) 2006-01-04
CA2567787C (en) 2013-02-12
CN100581515C (zh) 2010-01-20
EP1761226A2 (en) 2007-03-14
JP2011056275A (ja) 2011-03-24

Similar Documents

Publication Publication Date Title
JP5259677B2 (ja) バリアカフストリップを有する使い捨て吸収性物品
US7695463B2 (en) Disposable absorbent article having dual layer barrier cuff strips
JP2008504106A (ja) バックシートストリップを有する使い捨て吸収性物品
US7318820B2 (en) Simple disposable absorbent article having breathable side barriers
US10039676B2 (en) Disposable absorbent article comprising pockets
US8187239B2 (en) Side notched folded diaper
US20090247975A1 (en) Disposable absorbent article having doubled side flaps and backsheet strips
JP2007519499A (ja) 簡単な使い捨て吸収性物品
MXPA06014527A (en) Disposable absorbent article having barrier cuff strips
MXPA06014528A (en) Disposable absorbent article having backsheet strips

Legal Events

Date Code Title Description
A977 Report on retrieval

Free format text: JAPANESE INTERMEDIATE CODE: A971007

Effective date: 20120621

A131 Notification of reasons for refusal

Free format text: JAPANESE INTERMEDIATE CODE: A131

Effective date: 20120626

A601 Written request for extension of time

Free format text: JAPANESE INTERMEDIATE CODE: A601

Effective date: 20120926

A602 Written permission of extension of time

Free format text: JAPANESE INTERMEDIATE CODE: A602

Effective date: 20121001

A601 Written request for extension of time

Free format text: JAPANESE INTERMEDIATE CODE: A601

Effective date: 20121026

A602 Written permission of extension of time

Free format text: JAPANESE INTERMEDIATE CODE: A602

Effective date: 20121031

A521 Written amendment

Free format text: JAPANESE INTERMEDIATE CODE: A523

Effective date: 20121102

TRDD Decision of grant or rejection written
A01 Written decision to grant a patent or to grant a registration (utility model)

Free format text: JAPANESE INTERMEDIATE CODE: A01

Effective date: 20130326

A61 First payment of annual fees (during grant procedure)

Free format text: JAPANESE INTERMEDIATE CODE: A61

Effective date: 20130424

FPAY Renewal fee payment (event date is renewal date of database)

Free format text: PAYMENT UNTIL: 20160502

Year of fee payment: 3

R150 Certificate of patent or registration of utility model

Free format text: JAPANESE INTERMEDIATE CODE: R150

LAPS Cancellation because of no payment of annual fees