JP5259145B2 - レンズ枠形状測定装置 - Google Patents

レンズ枠形状測定装置 Download PDF

Info

Publication number
JP5259145B2
JP5259145B2 JP2007236033A JP2007236033A JP5259145B2 JP 5259145 B2 JP5259145 B2 JP 5259145B2 JP 2007236033 A JP2007236033 A JP 2007236033A JP 2007236033 A JP2007236033 A JP 2007236033A JP 5259145 B2 JP5259145 B2 JP 5259145B2
Authority
JP
Japan
Prior art keywords
slider
lens
frame
lens frame
clamp
Prior art date
Legal status (The legal status is an assumption and is not a legal conclusion. Google has not performed a legal analysis and makes no representation as to the accuracy of the status listed.)
Active
Application number
JP2007236033A
Other languages
English (en)
Other versions
JP2009068926A (ja
JP2009068926A5 (ja
Inventor
善則 松山
Current Assignee (The listed assignees may be inaccurate. Google has not performed a legal analysis and makes no representation or warranty as to the accuracy of the list.)
Nidek Co Ltd
Original Assignee
Nidek Co Ltd
Priority date (The priority date is an assumption and is not a legal conclusion. Google has not performed a legal analysis and makes no representation as to the accuracy of the date listed.)
Filing date
Publication date
Application filed by Nidek Co Ltd filed Critical Nidek Co Ltd
Priority to JP2007236033A priority Critical patent/JP5259145B2/ja
Priority to KR1020080089410A priority patent/KR101523097B1/ko
Priority to DE602008001641T priority patent/DE602008001641D1/de
Priority to ES08015964T priority patent/ES2345955T3/es
Priority to EP08015964A priority patent/EP2037209B1/en
Publication of JP2009068926A publication Critical patent/JP2009068926A/ja
Publication of JP2009068926A5 publication Critical patent/JP2009068926A5/ja
Application granted granted Critical
Publication of JP5259145B2 publication Critical patent/JP5259145B2/ja
Active legal-status Critical Current
Anticipated expiration legal-status Critical

Links

Images

Classifications

    • GPHYSICS
    • G01MEASURING; TESTING
    • G01BMEASURING LENGTH, THICKNESS OR SIMILAR LINEAR DIMENSIONS; MEASURING ANGLES; MEASURING AREAS; MEASURING IRREGULARITIES OF SURFACES OR CONTOURS
    • G01B21/00Measuring arrangements or details thereof, where the measuring technique is not covered by the other groups of this subclass, unspecified or not relevant
    • G01B21/20Measuring arrangements or details thereof, where the measuring technique is not covered by the other groups of this subclass, unspecified or not relevant for measuring contours or curvatures, e.g. determining profile
    • GPHYSICS
    • G01MEASURING; TESTING
    • G01BMEASURING LENGTH, THICKNESS OR SIMILAR LINEAR DIMENSIONS; MEASURING ANGLES; MEASURING AREAS; MEASURING IRREGULARITIES OF SURFACES OR CONTOURS
    • G01B5/00Measuring arrangements characterised by the use of mechanical techniques
    • G01B5/0002Arrangements for supporting, fixing or guiding the measuring instrument or the object to be measured
    • G01B5/0004Supports
    • GPHYSICS
    • G01MEASURING; TESTING
    • G01BMEASURING LENGTH, THICKNESS OR SIMILAR LINEAR DIMENSIONS; MEASURING ANGLES; MEASURING AREAS; MEASURING IRREGULARITIES OF SURFACES OR CONTOURS
    • G01B5/00Measuring arrangements characterised by the use of mechanical techniques
    • G01B5/20Measuring arrangements characterised by the use of mechanical techniques for measuring contours or curvatures
    • GPHYSICS
    • G02OPTICS
    • G02CSPECTACLES; SUNGLASSES OR GOGGLES INSOFAR AS THEY HAVE THE SAME FEATURES AS SPECTACLES; CONTACT LENSES
    • G02C13/00Assembling; Repairing; Cleaning

Landscapes

  • Physics & Mathematics (AREA)
  • General Physics & Mathematics (AREA)
  • Health & Medical Sciences (AREA)
  • Ophthalmology & Optometry (AREA)
  • Optics & Photonics (AREA)
  • Eyeglasses (AREA)
  • A Measuring Device Byusing Mechanical Method (AREA)
  • Grinding And Polishing Of Tertiary Curved Surfaces And Surfaces With Complex Shapes (AREA)

Description

本発明は、眼鏡フレームのレンズ枠の形状(玉型)を測定するレンズ枠形状測定装置に関する。
フレーム保持機構により所定の測定状態に保持された眼鏡フレームのレンズ枠の溝に測定子を挿入し、測定子の移動を検知することによりレンズ枠(玉型)の三次元形状を測定するレンズ枠形状測定装置が知られている(例えば、特許文献1、2参照)。この装置に使用されるフレーム保持機構としては、眼鏡フレームの上下方向(眼鏡フレーム装用状態の上下方向をいう)に対向して開閉される一対の上側スライダー及び下側スライダーを有し、左右レンズ枠のそれぞれの上側枠及び下側枠をレンズ枠の厚み方向からクランプする一対の開閉可能なクランプピンが上側スライダー及び下側スライダーに設けられた構成等、各種のものが提案されている(例えば、特許文献3、4、5参照)。
特開2000−314617号公報 特開2001−174252号公報 特開平4−93163号公報 特開平10−151553号公報 特開平11−129149号公報
しかし、従来のフレーム保持機構においては、さらなる改善が望まれる。従来のフレーム保持機構においては、操作者側から見て装置の手前に配置された下側スライダー及び装置の奥側(後方)に配置された上側スライダーはそれぞれ一体的に構成され、左右方向の中心部もクランプピンが位置するスライダー上面とほぼ同じ高さで構成されていた。このため、背の低い(視点の低い)作業者の場合、クランプピンによるレンズ枠のクランプ状態をスライダー越しに確認しなければならず、十分に確認することが容易でなかった。さらに、デモレンズ又は型板の玉型を測定する際に使用されるレンズ保持治具の取付部が装置手前の下スライダーの中央部に設けられていたため、この取付部により更にクランプピンの視認性を損なう構造となっていた。クランプピンにレンズ枠がクランプされないまま測定が行われると、測定誤差や測定エラーとなる。
また、従来のフレーム保持機構における上側スライダー及び下側スライダーは、直動機構によって対向して開閉される構造であった。この直動機構は、隙間無く十分にカバー部材により保護することが容易でなく、埃が直動機構に入りやすいために信頼性が低下する問題、操作者から機構部が見えてしまう品質面の問題があった。
本発明は、上記従来装置の問題点に鑑み、クランプピンによるレンズ枠のクランプ状態を確認する際の視認性の向上を図ることができ、また、装置の信頼性の向上、品質面の向上を図ることができるレンズ枠形状測定装置を提供することを技術課題とする。
上記課題を解決するために、本発明は以下のような構成を備えることを特徴とする。
(1) 眼鏡フレームの上下方向から押圧し、左右のレンズ枠の上下方向の位置を決めるために対向して開閉される上側スライダー及び下側スライダーを有すると共に、左右のレンズ枠のそれぞれの下側枠及び上側枠をクランプする一対のクランプピンを開閉する開閉機構が前記上側スライダー及び下側スライダーに設けられたフレーム保持機構と、フレーム保持機構に保持されたレンズ枠の溝に挿入される測定子を有し、該測定子の移動を検出することによりレンズ枠の形状を測定する測定ユニットと、を備えるレンズ枠形状測定装置において、
前記上側スライダー及び下側スライダーの内で少なくとも操作者側に配置されたスライダーは、前記左レンズ枠用クランプユニットが設けられた左スライダーと右レンズ枠用クランプユニットが設けられた右スライダーとに分離されているか、又は前記左スライダーと前記右スライダーの連結部分の高さが、少なくともレンズ枠の前側に位置するクランプピンの当接面より低くされており、前記右スライダー及び左スライダーが対向するそれぞれの側面は、前記クランプピンの近傍に形成され、前記クランプピンによるレンズ枠のクランプ状態を確認するために設定された所定距離の空間を前記右スライダーの側面と前記左スライダーの側面との間に設けたことを特徴とする。
(2) (1)のレンズ枠形状測定装置において、前記右スライダーの前記クランプピンが位置する周辺の高さは右スライダーの右端側より低く形成され、前記左スライダーの前記クランプピンが位置する周辺の高さは左スライダーの左端側より低く形成されていることを特徴とする。
(3) (1)のレンズ枠形状測定装置において、デモレンズ又は型板の玉型を測定する際に使用されるレンズ保持治具を取り付けるための取付部であって、操作者から見て奥側に位置する前記スライダーよりもさらに奥側に配置された取付部を備えることを特徴とするレンズ枠形状測定装置。

本発明によれば、クランプピンによるレンズ枠のクランプ状態を確認する際の視認性の向上を図ることができる。また、装置の信頼性の向上、品質面の向上を図ることができる。
以下、本発明の実施の形態を図面に基づいて説明する。図1(a)は、眼鏡枠(レンズ枠)形状測定装置の外観略図である。眼鏡枠形状測定装置1は、眼鏡フレームを所期する状態に保持するフレーム保持機構部100と、フレーム保持機構部100に保持された眼鏡フレームのレンズ枠の溝に測定子を挿入し、測定子の移動を検知することによりレンズ枠(玉型)の三次元形状を測定する測定機構部200(図9参照)とを備える。測定機構部200はフレーム保持機構部100の下に配置されている。装置の奥側(フレーム保持機構部100の後方)には、型板及びデモレンズを保持する保持治具であるレンズホルダ310(型板ホルダ)を取り付けるための取付部300が配置されている。
測定装置1の筐体の前側には測定開始用のスイッチ等を持つスイッチ部4が配置されている。測定装置1の筐体の後側には、タッチパネル式のディスプレイを持つパネル部3が配置されており、レンズの周縁加工に際して、玉型データに対するレンズのレイアウトデータ、レンズの加工条件等が入力できる。測定装置1で得られたレンズ枠の三次元形状データ及びパネル部3で入力されたデータは、眼鏡レンズ周縁加工装置に送信される。
なお、測定装置1は、特開2000−314617号公報等と同じく、眼鏡レンズ周縁加工装置に組み込まれる構成としてもよい。図1(b)は、測定装置1が眼鏡レンズ周縁加工装置20に一体的に組み込まれた構成例である。眼鏡レンズ周縁加工装置20の内部には、特開2000−314617号公報等で示されたレンズ周縁加工機構が配置されている。フレーム保持機構部100及び測定機構部200を備える測定装置21は、加工装置20の筐体の上面の左奥側に配置されている。また、加工装置20の筐体の上面で、フレーム保持機構部100の配置位置の前側には、測定開始用のスイッチ等を持つスイッチ部22、玉型データやレンズの加工条件等が表示されるディスプレイ24、加工条件等の入力用のスイッチ25が配置されている。
<フレーム保持機構部>
フレーム保持機構部100の構成を図2〜4により説明する。図2はフレーム保持機構部100の機構を説明する斜視図であり、図3はフレーム保持機構部100を装置の上方向から見た図である。図4は眼鏡フレームを挟持するクランプ機構を説明する斜視図である。
保持部ベース101上には、眼鏡フレームFの上下方向(図2及び図3上のY方向:眼鏡装用時の上下方向をいう)に位置し、左右方向(X方向)の中心基準線X01を中心にして対向して開閉される一対の上側スライダー103と下側スライダー102が配置されている。下側スライダー102は装置の手前側(操作者側)に配置され、上側スライダー103は装置の奥側(後方)に配置されている。また、この実施形態では、下側スライダー102は下側右スライダー102Rと下側左スライダー102Lにより構成され、上側スライダー103は上側右スライダー103R及び上側左スライダー103Lにより構成されている。各スライダーはY方向の中心基準線Y01側を先端側とされる。各スライダーの先端側には、眼鏡フレームFを測定基準平面に保持するために、測定基準平面に垂直なZ方向(レンズ枠の厚み方向)から左右のレンズ枠の上側枠及び下側枠をそれぞれクランプする一対の開閉可能なクランプピン150(レンズ後面側クランプピン150a,レンズ前面側クランプピン150b)が配置されている。そして、下側右スライダー102R、下側左スライダー102L、上側右スライダー103R及び上側左スライダー103Lは、それぞれの後端側に配置された回転軸104R、104L、105R及び105Lを中心にして、XY平面に平行な方向に回転可能に保持されている。回転軸104R、104L、105R及び105Lは、それぞれ回転軸受け106(図4参照)により回転可能に保持部ベース101に保持されている。
一対の下側右スライダー102Rと上側右スライダー103Rは、左右方向の基準線X01を中心にして対向して開閉される。同様に、一対の下側左スライダー102Lと上側左スライダー103Lは、基準線X01を中心にして対向して開閉される。そして、スライダー102R,102L,103R,103Lの何れか一つが操作者により回転されると、他のスライダーも連動して回転される回転伝達機構が設けられている。この回転伝達機構は以下のように構成されている。
下側右スライダー102Rには、回転軸104Rを中心にして扇形の大径ギヤ110Rが固定されている。上側右スライダー103Rには、回転軸105Rを中心にして扇形の大径ギヤ112Rが固定されている。大径ギヤ110Rと大径ギヤ112Rは、両者のギヤ部分が噛み合わされている。同様に、下側左スライダー102Lには、回転軸104Lを中心にして扇形の大径ギヤ110Lが固定されている。上側左スライダー103Lには、回転軸105Lを中心にして扇形の大径ギヤ112Rが固定されている。大径ギヤ110Lと大径ギヤ112Lは、両者のギヤ部分が噛み合わされている。
また、スライダー103Rが持つ回転軸105Rの上端及び上側左スライダー103Lが持つ回転軸105Lの上端には、それぞれプーリー114R,114Lが固定されている。ベース101の後方の右側には、上下方向に延びる回転軸116Rにプーリー118Rが固定されている。プーリー114Rとプーリー118Rとの間には、タイミングベルト120Rが掛け渡されている。同様に、ベース101の後方の左側には、上下方向に延びる回転軸116Lにプーリー118Lが固定されている。プーリー114Lとプーリー118Lとの間には、タイミングベルト120Lが掛け渡されている。
ベース101の後方の中央部に回転可能に保持された回転軸122R,122Lには、それぞれギヤ124R,124Lが固定されている。そして、ギヤ124Rとギヤ124Lとは噛み合わされている(図では、点線の円とした)。また、ギヤ124R,124Lの上には、それより小径のプーリー126R,126Lがそれぞれ固定されている。プーリー126Rとプーリー118Rとの間にタイミングベルト128Rが掛け渡されている。プーリー126Lとプーリー118Lとの間にタイミングベルト128Lが掛け渡されている。なお、図2では、説明の簡便のため、タイミングベルト(128R等)、大径ギヤ(110R等)は図示を略した。
また、下側右スライダー102Rと上側右スライダー203Rとの間には、引っ張りバネ130Rが配置され、同様に、下側左スライダー102Lと上側左スライダー103Lとの間には引っ張りバネ130Lが配置されている。これにより、前後一対の右側のスライダー102R,203R及び前後一対の左側のスライダー102L,203Lは、両者の中心(基準線X01)方向に向かって閉じるように付勢されている。
なお、各スライダー102R,102L,103R,103Lの回転機構を構成する回転軸104R,104L,105R,105Lの上部は、各スライダーと一体となったカバーにより覆われ、また、大径ギヤ110R,112R,110L,112Lの上部もカバーで覆われている。
上記の回転伝達機構により、例えば、操作者が下側右スライダー102Rを開く方向に、回転軸104Rを中心に回転させると、その回転は大径ギヤ110Rにより大径ギヤ112Rに伝達され、上側右スライダー103Rが開く方向に回転される。また、上側右スライダー103Rの回転は、タイミングベルト120R、タイミングベルト128R等の部材を介してギヤ124Rに伝達される。ギヤ124Rに噛み合わされたギヤ124Lは、ギヤ124Rに対して逆に回転され、その回転はタイミングベルト128LR、タイミングベルト120L等の部材を介して回転軸105Lに伝達され、上側左スライダー103Lが回転軸105Lを中心にして開く方向に回転される。さらに、回転軸105Lの回転は、大径ギヤ112Lと大径ギヤ110Rを介して回転軸104Lに伝達され、下側左スライダー102Lが回転軸104Lを中心にして開く方向に回転される。
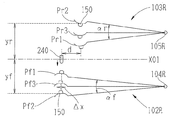
ここで、図5に示すように、下側右スライダー102Rの回転中心(回転軸104Rの中心)は下側右スライダー102Rが開閉移動される範囲のY方向の略中心に配置されている。図5において、Pf1,Pf2及びPf3は、開閉移動される下側右スライダー102Rのクランプピン150による眼鏡フレームFの保持位置であり、Pr1,Pr2及びPr3は、開閉移動される上側右スライダー103Rのクランプピン150による眼鏡フレームFの保持位置である。Pf1、Pr1は、上下幅(眼鏡フレームの装用状態の上下方向の幅を言う)の狭い眼鏡フレームFを保持するときの右スライダー102R,103Rの位置であり、Pf2、Pr2は、上下幅が広い眼鏡フレームFを保持するときの位置、Pf3、Pr3は、Pf1とPf2(Pr1とPr2)の前後方向の中間位置である。以下、Pf1、Pf2、Pf3を中心に説明する。下側右スライダー102Rの回転中心は、位置Pf3を通り、且つ左右方向の基準線X01に平行なライン上に位置されている。下側右スライダー102Rのクランプピン150により保持されるレンズ枠の位置は、測定開始時に測定子240がレンズ枠の枠溝に挿入される初期位置である。例えば、測定開始時には、位置Pf3を基準に測定子240がレンズ枠の溝に挿入される。下側右スライダー102Rは回転軸104Rを中心に回転されるため、クランプピン150による保持位置(Pf1、Pf2、Pf3)は左右方向に多少偏位するが、上記のような回転軸104Rの中心の配置により、その偏位Δxをできるだけ小さくでき、測定子240が挿入時にレンズ枠の溝から外れてしまうことを防止できる。
下側左スライダー102Lの回転中心(回転軸104Lの中心)も、下側左スライダー102Lが開閉移動される範囲の前後方向の略中心に配置されている。なお、上側右スライダー103R及び上側左スライダー103Lの回転中心も同様な配置とされている。
また、下側右スライダー102Rに配置されたクランプピン150と上側右スライダー103Rに配置されたクランプピン150の左右方向の位置は同一でなく、図5においては、上側右スライダー103R側のクランプピン150の方が回転軸105R寄りに配置されている。下側右スライダー102R及び上側右スライダー103Rの両者のクランプピン150が同一位置に配置されていると、上下幅の狭い眼鏡フレームF(例えば、上下幅が18mmのレンズ枠を持つフレーム)を保持するときには、その間隔が極めて狭くなり、測定子240を下側右スライダー102L側のクランプピン150に保持されたレンズ枠に入れるために、図5の基準位置に位置させたとき、上側右スライダー103R側のクランプピン150に干渉してしまう。この干渉を避ける距離d分だけ、上側右スライダー103R側のクランプピン150が右よりに配置されている。
このようなクランプピン150の配置において、下側右スライダー102R及び上側右スライダー103Rの両者をそれぞれ回転軸104R及び105Rを中心に同一角度で開くように回転される構成であると、基準線X01に対するそれぞれのクランプピン150の距離yf及びyrが異なることになる。距離yf及びyrが大きく異なると、レンズ枠の前後方向の中心位置も異なることになり、玉型の測定時に誤差が発生しやすくなる。
そこで、下側右スライダー102R及上側右スライダー103Rが連動して回転される構成においても、距離yf及びyrが常に略同一(略対称)となる動きをするように、下側右スライダー102R及上側右スライダー103Rの間の回転伝達機構が構成されている。これを実現するために、大径ギヤ110R、112Rのギヤ比が変えられている。すなわち、それぞれの回転中心からクランプピン150までの距離に応じて、距離yf及びyrが常に略一定となるように、下側右スライダー102Rの回転角αf及び及上側右スライダー103Rの回転角αrが計算され、それを実現するように、回転角調整伝達部材としての大径ギヤ110R、112Rのギヤ比が設計されている。本装置においては、大径ギヤ110R、112Rのギヤ比が、それぞれ51対45.5となるように作製されている。なお、回転角調整伝達部材は、上下のスライダーにそれぞれ配置されたクランプピンが、基準線X01に対してそれぞれ略等距離となるように、上下のスライダーが開閉される構成であればよく、プ−リーとワイヤー、ベルトを用いた構成や、クランク機構を用いた構成であってもよい。
図3において、下側右スライダー102Rの右側には、遮光板132が固定されている。一方、保持部ベース101には、フォトセンサ134が固定されている。下側右スライダー102Rが開く方向の移動限界まで回転されると、遮光板132がフォトセンサ134により検知される。これにより、各スライダー102R,102L,103R,103Lが開放状態になったことが制御部に検知される。下側右スライダー102Rが開いた状態で、型板又はデモレンズの測定が開始されると、図示を略すロック機構により、各スライダーの開放状態が固定される。
以上のように、4つのスライダー102R,102L,103R,103Lが回転機構により開閉される構成としたので、従来のように直動機構タイプに比べて、簡単な構成で、スペースの小さなカバーにより覆うことができ、埃が入りにくくなる。これにより、長期間の使用においても、開閉移動がスムーズに行え、眼鏡フレームFが安定して保持される。さらに、直動機構タイプに比べ、簡単な構成で操作者から機構部が見え難くくすることができる。
次に、各スライダー102R,102L,103R,103Lの先端側に配置されたクランプピン150の開閉機構を、図4を使用して説明する。図4は上側右スライダー103Rの内部に配置された開閉機構の概略構成図である。
クランプピン150は、図2のように水平状態にされた眼鏡フレームFのレンズ枠を厚み方向(測定基準平面に垂直なZ方向)からクランプするためのレンズ後面側の第1クランプピン150a及びレンズ前面側の第2クランプピン150bとで構成される。第1クランプピン150aは、くの字(ヘの字)形状のピンホルダ160aの先端に回転可能に保持されている。上側右スライダー103Rの内部にはベース板161が配置され、ピンホルダ160aの中心部は、ベース板161に対して回転軸162aにより回転可能に保持されている。第2クランプピン150bは、ピンホルダ160bの先端に回転可能に保持されている。ピンホルダ160bの中心部はベース板161に対して回転軸162bにより回転可能に保持されている。ピンホルダ160a及び160bにおけるクランプピン150寄りには、圧縮バネ163が取り付けられ、2つのクランプピン150a及び150bの間隔が常に開く方向に付勢されている。また、ピンホルダ160aの中心部には、回転軸162aと中心を同じにしたギヤ164aが形成されている。同様に、ピンホルダ160bの中心部には、回転軸162bと中心を同じにしたギヤ164bが形成され、ギヤ164bはギヤ164aと噛み合わされている。
ピンホルダ160aの後端には、バネ165が取り付けられたワイヤー166が固定されており、ワイヤー166はベース板161に回転可能に取り付けられたプ−リー167を介し、回転軸105Rに形成された中空部を通って、シャフト140R(図3参照)に固定されている。シャフト140Rが回転されると、ワイヤー166がシャフト140Rに巻き取られ、ワイヤー166が引っ張られることにより、ピンホルダ160aは回転軸162aを中心にして反時計回りに回転される。このとき、ギヤ164aとギヤ164bが噛み合わされていることにより、ピンホルダ160bは回転軸162bを中心にして時計回りに回転される。これにより、2つのクランプピン150a及び150bが連動して閉じられ(間隔が狭められる)、レンズ枠が2つのクランプピン150a及び150bによりクランプされる。なお、ワイヤー166はシャフト140Rの回転により一定量だけ巻き取られるが、バネ165が伸ばされるため、厚みのあるレンズ枠がクランプピン150a及び150bに挟まれた際のクランプ力が強固になり過ぎないように、ほぼ一定のクランプ力とされる。これによりレンズ枠の変形が抑えられる。
なお、シャフト140Rは、図3に示されるクランプ用モータ142Rにより回転される。図3において、保持部ベース101の裏側にモータ142Rが取り付けられている。モータ142Rの回転軸にはウォームギア143Rが取り付けられており、保持部ベース101に回転可能に取り付けられたシャフト140Rの一端にあるギヤ144Rと噛み合うことにより、モータ142Rの回転がシャフト140Rの回転に変換される。
他のスライダー102R,102L及び103Lの先端側に配置されたクランプピン150の開閉機構についても、基本的に図4と同様に構成される。下側右スライダー102Rに配置される2つのクランプピン150を閉じるためのワイヤーは、上側右スライダー103Rと同じシャフト140Rに巻き取られる。図3において、保持部ベース101の左側には、スライダー102L及び103Lのクランプピン150を閉じるためのワイヤーを巻き取るシャフト140Lが回転可能に保持されている。そして、右側のシャフト140Rと同種のモータ142L、ウォームギア143L、ギヤ144Lにより構成される回転機構により、シャフト140Lが回転される。図1のスイッチ部4に配置されたトレーススイッチ4aからの信号により、モータ142R及び142Lが同期して回転され、各スライダー102R,102L,103R,103Lに配置されたクランプピン150が同時に閉じられる。
なお、2つのクランプピン150a及び150bの中心は、4つのスライダー102R,102L,103R,103Lがそれぞれ持つクランプピン150a及び150bの構成において同一高さにあり、各スライダー102R,102L,103R,103Lのクランプピン150が同時に閉じられることにより、眼鏡フレームFが基準平面S01(図6参照)で保持される。
クランプピン150a,150bの構成と、レンズ枠をクランプするときの特徴的な構成を、図4、図6により説明する。図6(a)は、クランプピン150を中心として縦断面図であり、図6(b)は、上側右スライダー103Rに配置されたクランプピン150周辺の拡大上面図、図6(c)、(d)は、上側右スライダー103Rが持つクランプピン150を正面から見た図である。なお、図6(d)は、クランプピン150a、150bを外した場合の正面図である。
レンズ後面側に当接されるクランプピン150aは、その内部の中心に回転軸151aが固定されている。回転軸151aは、回転軸受け152aを介して回転可能にピンホルダ160aに保持されている。レンズ前面側に当接されるクランプピン150bも、その内部の中心に回転軸151bが固定されている。回転軸151bは、回転軸受け152bを介して回転可能にピンホルダ160bに保持されている。また、クランプピン150aの基部は円柱状であるが、その先端がレンズ枠に当接する側(レンズ後面側)には平面部153aが形成されている。同様に、クランプピン150bの先端がレンズ枠に当接する側(レンズ前面側)に平面部153bが形成されている。眼鏡フレームのレンズ枠は、クランプピン150aの平面部153a及びクランプピン150bの平面部153bによりクランプされる。なお、クランプピン150aにおける平面部153aと反対側、及びクランプピン150bにおける平面部153bと反対側にも平面部が形成されているが、これはクランプピン150a及び150bの構造を同一にするためであり、無くても良い。
また、クランプピン150a,150bは、それぞれの回転を制限する機構(回転制限機構)が設けられている。図4及び図6(b)において、クランプピン150aの内部に固定された回転軸の鍔部分には切り欠き155aが形成されている。ピンホルダ160aには、切り欠き155aに当接される突起168aが形成されている。突起168aに切り欠き155aが当たることにより、クランプピン150aの回転は、平面部153aが水平状態にあるときを基準にして所定角度±αP(例えば、±30度)の範囲で規制される。クランプピン150bにおいても、その基部の円周部に切り欠き155bが形成されている。ピンホルダ160aに形成された突起168bに切り欠き155bが当たることにより、クランプピン150aの回転は、平面部153bが水平状態にあるときを基準にして所定角度±αPの範囲で規制される。
このようなクランプピン150の構成により、セルフレーム等の強度の高くないレンズ枠をクランプピン150により保持する際にレンズ枠の変形を抑え、また、レンズ面方向の幅が小さいレンズ枠の測定の際にレンズ枠の横滑りを抑えることができる。以下に図7、図8を用いて、その作用を説明する。
ここでは、高カーブフレーム(カーブ値が8カーブのように、反り角度(傾斜)がきついフレーム)を例に挙げ、レンズ枠のクランプを説明する。図7は、従来のクランプピン900a,900bによる眼鏡フレームF(レンズ枠)の保持を説明する図である。図8は、本装置のクランプピン150a,150bによる眼鏡フレームFの保持を説明する図である。図7(a)及び図8(a)はクランプピンが開かれている状態を示し、図7(b)及び図8(b)はクランプピンが閉じられ、フレームFのレンズ枠がクランプされた状態を示す。各図において、一点鎖線OLは2つのクランプピンの中心を結ぶ中心線を示す。
従来のレンズ後面側に当接するクランプピン900a及びレンズ前面側に当接するクランプピン900bの断面は、それぞれ円形とされていた。このため、傾斜を持つフレームFのレンズ枠が2つのクランプピン900a及び900bによりクランプされたとき、図7(b)に示すように、クランプピン900a及び900bによる当接部分Ta及びTbは、共にほぼ点となり、当接部分TaとTbは線状となる(図では、点状)。このため、レンズ枠とそれぞれのクランプピン900a、900bの摩擦力は線状の当接部部分Ta及びTbにしか生じず、後述する測定子240がレンズ枠の溝に挿入される圧力によって、レンズ枠が横滑りする場合があった。これを抑えるために、クランプピンのクランプ力を強くすると、レンズ枠が変形してしまい、測定精度の低下となりやすい。
また、当接部分TaとTbは、中心線OLから反対後方にずれており、当接部分TaとTbのずれは、フレームFのカーブ(反り角度)がきつくなるにつれて大きくなる。この場合、レンズ枠に掛かるクランプ力が当接部分TaとTbで互いに異なる方向になるため、フレームFのレンズ枠が変形されやすい。レンズ枠が変形されると、玉型も変化し、精度の良い測定結果が得られにくくなる。これを抑えるために、クランプピンのクランプ力を弱くすると、レンズ枠の固定が十分でなくなり、やはり測定精度の低下となりやすい。
これに対して、図6のように構成されたクランプピン150a,150bにより、これらの諸問題を低減させることができる。クランプピン150aがフレームFの保持方向(図8上の下方向)に移動されると、その平面部153aの端がレンズ枠に当接された後、平面部153aがフレームFの傾斜に沿うように、クランプピン150aが回転される。同じく、クランプピン150bがフレームFの保持方向(図8上の上方向)に移動されると、その平面部153bの端がフレームFに当接された後、平面部153bがフレームFの傾斜に沿うように、クランプピン150bが回転される。平面部153a及ぶ153bがフレームFの傾斜に沿って当接されることにより、その当接部分Ta及びTbは共に面当たり又は線当たりとされる。このため、従来装置の図7(b)の当接部分Ta及びTbがほぼ点として当接されるのに対して、本装置の図8(b)では、当接部分Ta及びTbは共に面当たり又は線当たりとされるので、当接部分Ta及びTbの摩擦力が向上される。また、クランプ力が分散され、フレームFのレンズ枠を曲げようとする力は分散される。また、当接部分Ta及びTbが面当たり又は線当たりとされ、互いに力が働く方向に重なり部分TCを有するようになるため、力の働く部分の偏りが少なくなる。
クランプピンをこのような構成にすることにより、以下に挙げるフレームにおいて、次のような効果がある。当接部部分Ta及びTbの面積が増加され、摩擦力が増加されることにより、レンズ枠のレンズ面方向の幅が小さいメタルフレーム等の測定時における横滑りが抑えられる。また、クランプ力が分散されることにより、セルフレーム等の強度の高くないレンズ枠のクランプ時に、レンズ枠の変形が抑えられる。また、クランプ時に互いに力が働く方向に重なり部分TCがあるため、力の働く部分の偏りが少なり、高カーブフレーム等の反り角度のきつい(傾斜を持つ)レンズ枠の変形が抑えられる。さらにまた、クランプ力を分散し、当接部分Ta及びTbの摩擦力を向上させたことにより、クランプピン150のクランプ力を小さくしても、上記のようなクランプが可能となる。このため、クランプ用モータ142R及び142Lのパワーを小さくすることができ、装置本体を小さくすることができる。
なお、クランプピン150a,150bの回転制限機構は、平面部153a及び153bから外れた円形部分にて、フレームFのレンズ枠がクランプされることを防止するために設けられたものである。
上記のクランプピン150a,150bは弾性体のゴムで形成されており、力が掛かったときに多少の変形を伴う。このため、フレームFのレンズ枠と当接される平面部153a,153bは曲率半径の大きい曲面等の略平面形状であってもよい。さらに、平面部153a、153bは、フレームFのレンズ枠との当接面積が広がる形状であればよい。
次に、クランプピン150a,150bの長さLPを長くしなくても、多様なフレームFを測定基準平面S01で保持するための保持機構を説明する。図3、6において、スライダー103Rの先端側に配置されたクランプピン150a,150bの左右両側の近傍には、フレームF(レンズ枠)の周縁に当接する当接部180を持ち、左右の周辺よりレンズ枠側に突き出た突起カバー182が設けられている。突起カバー182をZ方向(装置の鉛直方向)から見た形状は、当接部180から裾野が広がるような円弧形状として左右対称に形成されている。
なお、突起カバー182が持つ当接部180は、図3、図6(b)の形状に限られず、クランプピン150aの平面部153aとクランプピン150bの平面部153bとが開閉される可動範囲で、クランプピン150a,150bに近接して左右の少なくとも一方に形成されていれば良い(詳細は後述する)。また、クランプピン150a,150bが回転されない構成においては、当接部180の配置位置はクランプピン150a,150bの左右両側でなくても可能である。例えば、クランプピン150a,150bの中心にそれぞれ縦スリット(Z方向に延びるスリット)が形成され、その縦スリットの間に縦に延びる当接部180が配置された構成で実現できる。
また、当接部180をクランプピン150の左右の一方に設ける場合、図14のように、クランプピン150によりクランプされる左右のレンズ枠のそれぞれ耳側に位置する側で、クランプピン150に近接する位置に設けることが好ましい。図14では、右側のスライダー102R,103Rのクランプピン150にクランプされる右レンズ枠の状態のみ示されており、左レンズ枠部分は略している。図14の例の当接部180は、スライダー102R,103Rの対向する側の面からそれぞれ突き出るように固定された板状部材190の先に形成されている。板状部材190の当接部180は、クランプピン150a及び150bが開く範囲以上の高さ幅(クランプ方向の幅を言う)で形成されている。
また、図14にはクランプピン150近傍の鼻側にも、仮に板状部材190と同じ形状の部材を配置する場合の位置が、点線190xで示されている。図では、フレームの左右幅が小さい子供用等の眼鏡フレームのレンズ枠Faが、スライダー102R及び103Rが持つ板状部材190の当接部180に当接され、それぞれのクランプピン150にてクランプされている。
ここで、仮に、点線190xの位置に当接部が設けられていると、レンズ枠Faは鼻側の当接部にて当接されるため、クランプピン150の先端付近でクランプされることとなり、クランプの安定性が乏しくなる。特に、レンズ枠Faのような耳側付近がクランプされるフレームでは、クランプ位置が曲率の高い耳側に近くなるため、クランプできなくなる場合がある。これに対して、レンズ枠Faの耳側が位置する側にのみ当接部180を設けることにより、図14のレンズ枠Faのような耳側付近がクランプ位置となるフレームでもクランプできる。さらに、当接部180があるため、前述した耳側の上下幅が広いレンズ枠を持つフレームもクランプできる。なお、クランプピンの左右に設けられる当接部は、耳側が鼻側に比べて突き出ている構成であればよい。
図3及び図6(c)に示される上側右スライダー103Rにおいて、突起カバー182の当接部180から後方(フレームFの下側方向)に位置してフレームFに対向するカバー面103Raは、レンズ枠ができるだけ当接されない逃げの距離LCだけ離されて形成されている。この距離LCは、フレームFのレンズ枠の上下幅が耳側に行くほど広くなったタイプのフレームにおいても、クランプピン150にてクランプされたときに、レンズ枠がカバー面103Raに当接されることをできるだけ軽減する距離として設計され、少なくともクランプピン150のピン長さLP(当接部180からレンズ枠側に突き出た長さ)よりも長くされている。なお、カバー面103Raの逃げの距離については、突起カバー182の根元から徐々に長くなるように形成されていても良い。本実施形態では、距離LCは7mm以上確保されるように設計されている。
他のスライダー102R,102L及び103Lについても、それぞれクランプピン150の近傍に当接部180を持つ突起カバー182が形成されている。そして、フレームFに対向するカバー面102Ra,102La及び103Laは、フレームFのレンズ枠が当たらない逃げの距離LCが確保されるように形成されている。
なお、当接部180からクランプピン150a(150b)の先端までのピン長さLP(図6(a)参照)は、できるだけ短いことが好ましく、本装置では3mm程とされている。フレームFのレンズ枠が当接部180に当接されていれば、クランプピン150a(150b)の長さLPが3mmであっても、フレームFを安定して測定基準平面S01で保持できる。長さLPが従来に比べて短くされたことにより、測定子240の挿入部分の長さも短くできる。これにより、測定子240とクランプピン150の干渉を避けつつ、測定可能なフレームFの上下幅を短くできる。
また、上記のように4箇所にそれぞれ設けられた2つのクランプピン150a,150bによりフレームFをレンズ枠の厚み方向からクランプする構成においては、各箇所の2つのクランプピン150a,150bの間にフレームFのレンズ枠が確実に保持されていることが重要である。このため、操作者は、各箇所の2つのクランプピン150a,150bの間にフレームFのレンズ枠が入っているか確認する。
このとき、図2及び図3において、装置1(装置21)の手前側に配置された下側右スライダー102Rの先端側の左側面102Rbと下側左スライダー102Lの先端側の右側面102Lbとの間に、空間Wfが確保されている。下側右スライダー102Rに配置されたクランプピン150と下側左スライダー102Lに配置されたクランプピン150との間隔は、右レンズ枠の右端と左レンズ枠の左端の距離が比較的狭いものも保持可能な距離として設定されている。そして、空間Wfをできるだけ広く確保するために、左側面102Rb及び右側面102Lbは、左側面102Rb及び右側面102Lbは、クランプピン150の開閉機構が内部に入る状態で、クランプピン150の近傍に位置される。本実施形態では、空間Wfは50mm程確保されている。
また、クランプピン150aが最も開かれたときの高さ(Z方向の位置)に対して、クランプピン150の根元部分のカバー上面102Rc(下側右スライダー102Rの先端部分の上面)及び102Lc(下側左スライダー102Lの先端部分の上面)の高さは、できるだけ低くし、クランプピン150aの近傍位置とされている。そして、下側右スライダー102Rの先端側のカバー上面102Rcは、その後端側(回転軸104R側)の本体カバー上面102Rdの高さより低くさ形成れている。同様に、左右対称な下側左スライダー102Lの先端側のカバー上面102Lcは、その後端側(回転軸104L側)の本体カバー上面102Ldの高さより低く形成されている。
このように、空間Wfが形成され、また、先端側のカバー上面102Rc,102Lcが低くされていることにより、レンズ枠を一対のクランプピン150でクランプするときの視認性が向上される。
装置の奥側に配置された上側右スライダー103R及び上側左スライダー103Lに形成されたカバーも、スライダー102R,102Lと同様な構成とされている。しかし、奥側のスライダー103R,103Lのクランプピン150によるレンズ枠のクランプ状態について、前側と違って、操作者はスライダー越しに見るわけでないので、必ずしも同じ構成でなくても良い。
またさらに、図1に図示されたように、レンズホルダ310を取り付けるための取付部300が装置の奥側(操作者から見て、奥側に位置するスライダー103R,103Lよりさらに後方で、左右方向の略中央部)に配置されている。取付部300が手前側に位置しないため、スライダー102R,102Lのクランプピン150によるレンズ枠のクランプ状態の視認性がより一層向上される。
なお、レンズ枠のクランプ状態の視認性を向上する点に関しては、上側スライダー103及び下側スライダー102の開閉が直動機構で行われるタイプであっても良い。さらに、上記では各スライダー102R,102L,103R,103Lがそれぞれ分離されていることにより、手前側のスライダー102R,102Lの対向する側面の間に空間Wfが形成されるようにしたが、スライダー102R及び102Lの保持ベース101側の部分が一体的に連結されている構成であっても良い。この場合、スライダー102R及び102Lの連結部分の高さが、少なくともレンズ前面側のクランプピン150bの当接面より低くされていれば良い。言い換えれば、手前側のスライダー102R,102Lが対向するそれぞれの側面であって、少なくともそれぞれクランプピン150が配置された高さ以上の側面の間に空間Wfが形成されていれば良い。
次に、レンズホルダ310と取付部300の構成を説明する。図11は、取付部3000の構成を説明する図であり、図11(a)は、レンズホルダ310の斜視図、図11(b)は取付部300の斜視図である。取付部300は、フレーム保持機構部100の後方で装置の上部に固定されたブロック303と、ブロック303からZ方向上部に延びる2本の支柱304と、支柱304に通された水平軸を中心として回転可能に配置されたプレート305と、により構成される。プレート305の上面には、レンズホルダ310を磁力により保持するためのマグネット301と、レンズホルダ310の位置決めをするための穴302が設けられている。また、プレート305は支柱304に設けられた規制部材により回転範囲が制限されており、手前に倒されたときに水平状態になる位置で回転が制限される。
レンズホルダ310の構成は、特開2000−317795等に記載された周知のものを使用できる。レンズホルダ310は、本体ブロック311の先端側に型板固定部330とデモレンズ固定部320を備え、本体ブロック311の後端にプレート305へ取り付けられる装着部340を備える。型板固定部330とデモレンズ固定部320は反転して使用される。図では、デモレンズDLがデモレンズ固定部320に固定される。装着部340の表面及び裏面にはそれぞれ鉄板が固定されている。また、装着部340の表面及び裏面にはプレート305の2つの穴302に挿入される2つのピン342がそれぞれ固定されている。2つの穴302にそれぞれピン342が挿入されることにより、レンズホルダ310が取付部300のプレート305の所定位置に位置決めされ、装着部340の鉄板がマグネット301に引き付けられることにより、レンズホルダ310が取付部300に固定される。そして、プレート305がZ方向(測定基準平面に対する鉛直方向)に回転可能とされているため、測定時、レンズホルダ310も図1(a)上の矢印方向HA方向に回転される。その回転は、型板固定部330又はデモレンズ固定部320が水平状態(測定基準平面と平行)となるように、規制部材により制限される。そして、レンズホルダ310に取り付けられた型板又はデモレンズは、測定機構部200の所定の測定位置へと置かれる。型板及びデモレンズの測定が不要なときには、矢印HAと反対方向にプレート305が回転されることにより、図1(a)のように、レンズホルダ310がフレーム保持機構部100の上から外された退避位置に置かれる。このため、レンズホルダ310を取付部300にセットしたまま、フレームFをフレーム保持機構部100に保持させてその測定が可能とされる。従来のように、レンズホルダ310を取付部300に取付け/取外しを都度行わなくて良いため、その手間が軽減され、使い勝手が向上される。
以上のように、装置の手前側のスライダー102Lとスライダー102Rとの間に空間Wfが形成され、また、先端側のカバー上面102Rc,102Lcが低くされていることに加えて、取付部300が装置の奥側に配置されているため、スライダー102R,102Lのクランプピン150によるレンズ枠のクランプ状態の視認性がより一層向上される。なお、レンズホルダは、測定基準平面に対して平行に移動する構成であってもよい。
<測定機構部>
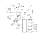
図9は測定機構部200の概略構成図である。測定機構部200は、パルスモータ221により水平方向に回転される回転ベース222と、回転ベース222に固定された固定ブロック225と、固定ブロック225により横方向に移動可能に保持された横移動支基227と、横移動支基227によりZ方向に移動可能に保持されたZ移動支基229と、Z移動支基229に鉛直軸(Z軸)の軸回りに回転自在に設けられた測定子軸131と、測定子軸131の上端に取り付けられ,その先端が測定子軸231上の軸心上にある測定子240と、測定子軸231と共にZ移動支基229をZ方向に移動させるモータ235と、Z移動支基229の移動量を検出するエンコーダ236と、横移動支基227を横方向に移動させるモータ238と、横移動支基227の移動量を検出するエンコーダ239とを備える。各モータ及びエンコーダは、制御部50に接続されている。また、フレームFの左右のレンズ枠を測定するために、測定機構部200を左右方向(X方向)に移動させる移動機構210が設けられている。この測定機構部200の構成は、特開2000−314617号公報に記載された従来のものが使用できるので、その詳細な構成は省略する。また、制御部50には、スイッチ部4、パネル部3、クランプ用モータ142R,142L、フォトセンサ134等が接続されている。
図10は、測定機構部200の他の例となる測定機構部201であり、高カーブフレームのレンズ枠の測定に好ましい例である。図10において、図9の測定機構部200と同一の要素に同一の符号が付されている。測定機構部201は、パルスモータ221により水平方向に回転される回転ベース222と、回転ベース222に固定された固定ブロック225と、固定ブロック225により横方向に移動可能に保持された横移動支基227と、横移動支基227を横方向に移動させるモータ238と、横移動支基227の移動量を検出するエンコーダ239と、横移動支基227上に設けられた支点252を中心にZ方向に回転可能(鉛直軸に対して傾斜可能)に保持されたアーム250と、アーム250の先端側に取り付けられた測定子240Aと、支点252を中心としたアーム250の回転を、ギヤ254を介して検出するエンコーダ256と、アーム250を回転させるモータ(図示を略す)と、を備える。アーム250は屈曲した形状とされている。レンズ枠の溝に挿入される測定子240Aは、この例では針状とされ、アーム250の先端の基部250Aに取り付けられている。
次に、以上のようの構成を持つ装置において、その動作を説明する。操作者の操作により、4つのスライダー102R,102L,103R,103Lの何れか一つが開く方向に移動されると、例えば、下側左スライダー102Lを開く方向に、回転軸104Lを中心に回転されると、回転伝達機構により他のスライダー102R,103R,103Lもそれぞれの回転軸を中心にして開く方向に回転される。操作者は、上側スライダー103R,103Lと下側スライダー102R,102Lとの間隔が開いた状態で、フレームFの左右のレンズ枠をそれぞれスライダーが持つ一対のクランプピン150の間に位置させ、各スライダーを閉じる方向に戻す。対向するスライダー102Rとスライダー103R、スライダー102Lとスライダー103Lは、それぞれバネ130R及び130Lにより、基準線X01に向かう求心的な力が働いているので、それぞれのスライダーの間隔が狭められ、フレームFが基準線X01を中心にして保持される。このとき、前述のように、装置の手前側のスライダー102L,102Rとの間に空間Wfが形成され、また、先端側のカバー上面102Rc,102Lcが低くされていることに加えて、取付部300が装置の奥側に配置されているため、手前側にあるスライダー102R,102Lのクランプピン150によるレンズ枠のクランプ状態の適否を容易に確認できる。特に、図1(b)のように、測定装置21が加工装置20の筐体の上面に配置されている構成においては、背の低い操作者は装置の手前の斜め上からクランプ状態を確認するようになるが、上記の構成により容易にレンズ枠のクランプ状態を確認し易い。
フレームFの左右のレンズ枠がそれぞれ各クランプピン150の間にセットされた後、スイッチ部4のトレーススイッチ4aが押されると、スイッチ信号はクランプ開始信号として入力され、制御部50はクランプ用のモータ142L,142Rを同時に駆動させる。これにより、4箇所の一対のクランプピン150が同時に閉じられ、フレームFの左右のレンズ枠は測定基準平面で保持される。
続いて、制御部50は測定機構部200を作動させる。始めに、右レンズ枠が測定される。制御部50は、測定機構部200のモータ235,238を駆動させて測定子240の先端を測定基準平面S01上の高さに移動させた後、フレーム保持機構部100に保持されたレンズ枠の溝に挿入させる。測定開始時に測定子240がレンズ枠の溝に挿入さる位置は、例えば、下側右スライダー102Rの先端に配置されたクランプピン150によるクランプ位置とされる。続いて、制御部50は、パルスモータ221を予め定めた単位回転パルス数ごとに回転させる。パルスモータ221により回転ベース222が回転され、測定子240と共に横移動支基227がレンズ枠の動径に従って横方向に移動され、その移動がエンコーダ239により検出される。また、測定子240と共にZ移動支基229がレンズ枠の反りにしたがってZ方向に移動され、その移動がエンコーダ236により検出される。パルスモータ221による回転ベース222の回転角(動径角)θ、エンコーダ239により検出される動径長r、及びエンコーダ136により検出されるZ方向の移動量zから、レンズ枠(玉型)の3次元形状が(rn ,θn ,zn )(n =1,2,…,N)として計測される。
右レンズ枠の測定が終了すると、測定子240はレンズ枠から外される。移動機構210により左レンズ枠の測定位置に測定機構部200が移動され、同様な動作により、左レンズ枠の形状が測定される。制御部50はレンズ枠の左右を計測することにより、左右のレンズ枠の幾何中心間距離FPDを得る。
また、レンズホルダ310を使用した型板又はデモレンズの玉型測定時には、それらの周縁に当接される測定ピンが横移動支基227に立てられる。測定ピンによる測定動作は、基本的に測定子による測定と同様である。測定ピンが型板又はデモレンズの周縁に押し当てられながら回転ベース222が回転されることにより、回転ベース222の回転角(動径角)θ、エンコーダ239により検出される動径長rに基づいて玉型形状が得られる。
また、図10に示される測定機構部201にレンズ枠の測定に際しては、測定子240Aの先端が測定基準平面S01に位置するレンズ枠の溝に挿入される。回転ベース222により、測定子240Aと共に横移動支基227がレンズ枠の動径に従って横方向に移動され、その移動がエンコーダ239により検出される。また、図10上の点線で示されるように、レンズ枠の反りにしたがって測定子240Aと共にアーム250が支点252を中心に回転され、その回転角がエンコーダ256により検出される。アーム250の回転角と横移動支基227の移動位置からレンズ枠のZ方向の位置が演算され、回転ベース222の回転角(動径角)θ、エンコーダ239により検出される動径長rにより、レンズ枠(玉型)の3次元形状が(rn ,θn ,zn )(n =1,2,…,N)として計測される。この3次元形状の演算については、例えば、特開2001−174252号公報に記載された測定技術を利用できる。
上記のようなフレーム保持機構部100において、本装置の各スライダー102R,102L,103R,103Lにおいては、クランプピン150の近傍にのみにレンズ枠の周縁が当接するように、突起カバー182の当接部180が形成され、レンズ枠に対向するカバー面102Ra,102La,103Ra,103Laはレンズ枠が当接されない逃げの距離LCだけ離されて形成されている。これにより、クランプピン150の長さを短くしつつ、フレームFを安定して保持でき、測定可能なレンズ枠の上下幅FWを狭くできる。
図12(a)は、従来のフレーム保持機構部のスライダーを示す図である。従来のフレーム保持機構部においては、フレームFを測定基準平面に保持するために、対向して開閉される上側スライダー902及び下側スライダー904からそれぞれ突き出した形で開閉可能な一対のクランプピン900が設けられている。レンズ枠の周縁を当接させるために、上側スライダー902及び下側スライダー904のそれぞれの対向面902a及び904aは広い範囲にわたって平面形状とされている。すなわち、従来のフレーム保持機構部においては、レンズ枠の最上端が上側スライダー902の対向面902aに当接され、レンズ枠の最下端が下側スライダー904の対向面904aに当接されるようにして、フレームFが保持される。上側スライダー及び下側スライダーのそれぞれの対向面902a,904aは、様々な形状のレンズ枠の周縁を当接させるために、広い範囲にわたって平面形状とされている。また、様々な形状のレンズ枠をクランプするために、特に、クランプピン900の位置に対して耳側の上下幅が広いレンズ枠の保持を可能にするために、クランプピン900のピン長さLP(スライダーの対向面から突き出た長さ)は、長くされている必要があった(例えば、7mm以上)。
しかし、ピン長さLPが長いと、測定可能なレンズ枠の上下幅FWを狭くできない。すなわち、測定開始時に測定子240がレンズ枠の溝に挿入さる位置は、図12(b)のように、測定基準平面に置かれるクランプピン900の保持位置とされている。測定子240とクランプピン900との干渉を避けて測定するために、測定可能なレンズ枠の上下幅FWは、ピン長さLPに測定子240の先端長さLSを合計した長さと、これに余裕長さΔLを加えた長さまでに限られる。例えば、LPが7mm、LSが8mm、ΔLが3mmの場合、測定可能なレンズ枠の上下幅FWは18mmとされる。最近のレンズ枠の上下幅は、これよりも狭くされたものがあり、その測定に対応できない。
また、クランプピンのピン長さLPが長いと、図12(c)のように、クランプピン900が延びる方向に対して測定子240Aが斜めに入る測定機構においては、測定中に測定子240Aはその基部250Aがクランプピン900に干渉してしまう。この干渉の問題は、図9のように、測定子240を持つ測定子軸131が鉛直軸(Z軸)の軸回りに回転自在に構成された測定機構では発生し難い。しかし、高カーブフレームF4のレンズ枠形状を測定するために、測定機構部201(又は特開平2001−174252号公報)のように、測定子240Aが先端に取り付けられたアーム250が鉛直方向(測定基準平面に対する鉛直方向)に対して傾斜される測定機構では、測定子240Aの延びる方向が回転中心OC(回転ベース222の回転中心)の経線方向に位置する構成とされるので、干渉の問題が発生しやすい。
これに対して、本装置の各スライダー102R,102L,103R,103Lにおいては、クランプピン150の近傍にのみにレンズ枠の周縁が当接するように、突起カバー182の当接部180が形成され、レンズ枠に対向するカバー面102Ra,102La,103Ra,103Laはレンズ枠が当接されない逃げの距離LCだけ離されて形成されている。このため、図13(a)のように、クランプピン150のピン長さLPを従来のものより短くしても、クランプピン150の位置に対して耳側の上下幅が広いレンズ枠を安定して保持できる。そして、ピン長さLPを従来のものより短くできるので、図13(b)のように、測定可能なレンズ枠の上下幅FWを狭くできる。このとき、フレームF3は、フレームF2よりも上下幅が狭い。例えば、LPが3mm、LSが8mm、ΔLが3mmの場合、測定可能なレンズ枠の上下幅FWは14mmとされ、従来のものよりピン長さLPを短くした分、上下幅FWの狭いレンズ枠を測定できる。
また、ピン長さLPを短くしたことにより、図13(c)のように、クランプピン150が延びる方向に対して、測定子240Aが斜めに入いる測定箇所であっても、測定子240A又はその基部250Aとクランプピン150との干渉を軽減することがでる。このため、図9に示された測定機構部200や特開平2001−174252号公報に記載された測定機構を使用して、高カーブフレームを測定しやすくできる。
フレーム保持機構部100を備える眼鏡枠形状測定装置1及び眼鏡レンズ周縁加工装置20の外観略図である。 フレーム保持機構部100の斜視図である。 フレーム保持機構部100の俯瞰図である。 クランプ機構を説明する斜視図である。 フレーム保持機構部100の開閉について説明する図である。 クランプピン150a、150bの機構を説明する図である。 従来のクランプピン900a、900bによる眼鏡フレームFのクランプを説明する図である。 クランプピン150a、150bによる眼鏡フレームFのクランプを説明する図である。 測定機構部200の概略構成図である。 変容例である測定機構部201の概略構成図である。 取付部300とレンズホルダ310を説明する図である。 従来のスライダー902、904でのレンズ枠の保持を説明する図である。 スライダー103R、103L、102R、102Lでのレンズ枠の保持を説明する図である。 当接部180の変容例を説明する図である。
符号の説明
1 眼鏡枠形状測定装置
20 眼鏡レンズ周縁加工装置
50 制御部
100 フレーム保持機構部
102R,102L、904 下側スライダー
103R,103L、902 上側スライダー
150、150a、150b、900 クランプピン
180 当接部
200、201 測定機構部
240 測定子
300 取付部
310 レンズホルダ

Claims (3)

  1. 眼鏡フレームの上下方向から押圧し、左右のレンズ枠の上下方向の位置を決めるために対向して開閉される上側スライダー及び下側スライダーを有すると共に、左右のレンズ枠のそれぞれの下側枠及び上側枠をクランプする一対のクランプピンを開閉する開閉機構が前記上側スライダー及び下側スライダーに設けられたフレーム保持機構と、フレーム保持機構に保持されたレンズ枠の溝に挿入される測定子を有し、該測定子の移動を検出することによりレンズ枠の形状を測定する測定ユニットと、を備えるレンズ枠形状測定装置において、
    前記上側スライダー及び下側スライダーの内で少なくとも操作者側に配置されたスライダーは、前記左レンズ枠用クランプユニットが設けられた左スライダーと右レンズ枠用クランプユニットが設けられた右スライダーとに分離されているか、又は前記左スライダーと前記右スライダーの連結部分の高さが、少なくともレンズ枠の前側に位置するクランプピンの当接面より低くされており、前記右スライダー及び左スライダーが対向するそれぞれの側面は、前記クランプピンの近傍に形成され、前記クランプピンによるレンズ枠のクランプ状態を確認するために設定された所定距離の空間を前記右スライダーの側面と前記左スライダーの側面との間に設けたことを特徴とするレンズ枠形状測定装置。
  2. 請求項1のレンズ枠形状測定装置において、前記右スライダーの前記クランプピンが位置する周辺の高さは右スライダーの右端側より低く形成され、前記左スライダーの前記クランプピンが位置する周辺の高さは左スライダーの左端側より低く形成されていることを特徴とするレンズ枠形状測定装置。
  3. 請求項1のレンズ枠形状測定装置において、デモレンズ又は型板の玉型を測定する際に使用されるレンズ保持治具を取り付けるための取付部であって、操作者から見て奥側に位置する前記スライダーよりもさらに奥側に配置された取付部を備えることを特徴とするレンズ枠形状測定装置。
JP2007236033A 2007-09-11 2007-09-11 レンズ枠形状測定装置 Active JP5259145B2 (ja)

Priority Applications (5)

Application Number Priority Date Filing Date Title
JP2007236033A JP5259145B2 (ja) 2007-09-11 2007-09-11 レンズ枠形状測定装置
KR1020080089410A KR101523097B1 (ko) 2007-09-11 2008-09-10 안경 프레임 형상 측정 장치
DE602008001641T DE602008001641D1 (de) 2007-09-11 2008-09-10 Vorrichtung zum Messen von Brillenrahmen
ES08015964T ES2345955T3 (es) 2007-09-11 2008-09-10 Aparato para medir monturas de gafas.
EP08015964A EP2037209B1 (en) 2007-09-11 2008-09-10 Eyeglass frame measurement apparatus

Applications Claiming Priority (1)

Application Number Priority Date Filing Date Title
JP2007236033A JP5259145B2 (ja) 2007-09-11 2007-09-11 レンズ枠形状測定装置

Publications (3)

Publication Number Publication Date
JP2009068926A JP2009068926A (ja) 2009-04-02
JP2009068926A5 JP2009068926A5 (ja) 2010-10-28
JP5259145B2 true JP5259145B2 (ja) 2013-08-07

Family

ID=39952363

Family Applications (1)

Application Number Title Priority Date Filing Date
JP2007236033A Active JP5259145B2 (ja) 2007-09-11 2007-09-11 レンズ枠形状測定装置

Country Status (5)

Country Link
EP (1) EP2037209B1 (ja)
JP (1) JP5259145B2 (ja)
KR (1) KR101523097B1 (ja)
DE (1) DE602008001641D1 (ja)
ES (1) ES2345955T3 (ja)

Families Citing this family (8)

* Cited by examiner, † Cited by third party
Publication number Priority date Publication date Assignee Title
JP5586930B2 (ja) * 2009-12-09 2014-09-10 株式会社ニデック 眼鏡枠形状測定装置
JP5562624B2 (ja) * 2009-12-09 2014-07-30 株式会社ニデック 眼鏡枠形状測定装置
KR101952447B1 (ko) * 2011-09-21 2019-02-26 가부시키가이샤 니데크 안경테 형상 측정 장치
JP6080002B2 (ja) * 2012-03-09 2017-02-15 株式会社ニデック 眼鏡レンズ加工装置
KR101580177B1 (ko) * 2014-08-21 2015-12-24 (주)월드옵텍 측정 정밀성이 향상된 렌즈 검사 장치
CN104180742B (zh) * 2014-09-13 2017-11-03 安徽鑫龙电器股份有限公司 一种断路器保持扣板检测装置及其检测方法
CN107860297A (zh) * 2017-10-31 2018-03-30 奇瑞汽车股份有限公司 一种轿车车门b柱盖板匹配间隙的检测辅具及检测方法
WO2025028490A1 (ja) * 2023-08-01 2025-02-06 株式会社ニデック 眼鏡レンズ加工用装置および眼鏡レンズ加工用装置に装着される載置ユニット

Family Cites Families (13)

* Cited by examiner, † Cited by third party
Publication number Priority date Publication date Assignee Title
JPH06100457B2 (ja) * 1986-03-18 1994-12-12 株式会社ニコン 眼鏡フレ−ムのレンズ玉型形状測定装置
JP2925685B2 (ja) 1990-08-02 1999-07-28 株式会社ニデック フレーム形状測定装置
JP2526584Y2 (ja) * 1991-12-25 1997-02-19 ホーヤ株式会社 フレーム形状測定装置
JPH0815706B2 (ja) * 1992-07-27 1996-02-21 株式会社トプコン レンズ枠形状測定装置
US5515612A (en) 1993-01-08 1996-05-14 Hoya Corporation Apparatus for measuring the shape of a frame of spectacles
JP3819091B2 (ja) 1996-11-22 2006-09-06 株式会社トプコン 眼鏡フレームの玉型形状測定装置
JPH11129149A (ja) * 1997-10-31 1999-05-18 Topcon Corp 眼鏡フレームの玉型形状測定装置
JP3695988B2 (ja) 1999-04-30 2005-09-14 株式会社ニデック 眼鏡枠形状測定装置
JP2000314647A (ja) 1999-05-07 2000-11-14 Hitachi Ltd 空気流量測定装置
JP4588828B2 (ja) 1999-12-22 2010-12-01 株式会社トプコン 眼鏡の玉型形状測定装置
JP4566372B2 (ja) 2000-07-19 2010-10-20 株式会社トプコン レンズ枠形状測定装置
JP2003172618A (ja) * 2001-12-06 2003-06-20 Topcon Corp レンズ枠形状測定装置
JP3990266B2 (ja) * 2002-04-08 2007-10-10 Hoya株式会社 保持ホルダーおよび眼鏡枠形状測定装置

Also Published As

Publication number Publication date
JP2009068926A (ja) 2009-04-02
KR101523097B1 (ko) 2015-06-25
DE602008001641D1 (de) 2010-08-12
KR20090027172A (ko) 2009-03-16
EP2037209A1 (en) 2009-03-18
ES2345955T3 (es) 2010-10-06
EP2037209B1 (en) 2010-06-30

Similar Documents

Publication Publication Date Title
JP5259144B2 (ja) レンズ枠形状測定装置
JP5259145B2 (ja) レンズ枠形状測定装置
KR101419550B1 (ko) 안경 프레임 형상 측정 장치
JP5586930B2 (ja) 眼鏡枠形状測定装置
JP2011122898A (ja) 眼鏡枠形状測定装置
JP6080002B2 (ja) 眼鏡レンズ加工装置
US9535269B2 (en) Eyeglass frame shape measuring apparatus
KR20130031785A (ko) 안경 프레임 형상 측정 장치
JP5198978B2 (ja) 眼鏡枠形状測定装置
JP4699243B2 (ja) 眼鏡レンズ周縁加工のためのレイアウト設定装置及び眼鏡レンズ周縁加工システム
JP2013079951A (ja) 眼鏡枠形状測定装置
JP7187799B2 (ja) 眼鏡レンズ周縁加工情報取得装置および眼鏡レンズ周縁加工情報取得プログラム
CN115218783B (zh) 尺寸检测方法及尺寸检测装置
JP2013068439A (ja) 眼鏡枠形状測定装置
JP4699157B2 (ja) レンズメータ
JP7143652B2 (ja) 眼鏡測定システム及び眼鏡測定プログラム
JP7084062B1 (ja) 眼鏡フレーム形状測定装置
JP4593648B2 (ja) レンズ形状データ処理装置
JP2001121215A (ja) 曲げ加工機における曲げ角度検出方法およびその装置
KR102426577B1 (ko) 부등상시 검사장치
JP4688827B2 (ja) ヤゲンのチルト操作方法及びその装置
JP7243706B2 (ja) 玉型形状取得装置
JP2018072186A (ja) 眼鏡枠形状測定装置
JP2514999Y2 (ja) フレーム形状測定装置
JPH1142572A (ja) 罫書き装置及び罫書き装置の取付台

Legal Events

Date Code Title Description
A521 Request for written amendment filed

Free format text: JAPANESE INTERMEDIATE CODE: A523

Effective date: 20100908

A621 Written request for application examination

Free format text: JAPANESE INTERMEDIATE CODE: A621

Effective date: 20100908

A977 Report on retrieval

Free format text: JAPANESE INTERMEDIATE CODE: A971007

Effective date: 20120413

A131 Notification of reasons for refusal

Free format text: JAPANESE INTERMEDIATE CODE: A131

Effective date: 20120509

A521 Request for written amendment filed

Free format text: JAPANESE INTERMEDIATE CODE: A523

Effective date: 20120709

A131 Notification of reasons for refusal

Free format text: JAPANESE INTERMEDIATE CODE: A131

Effective date: 20121225

A521 Request for written amendment filed

Free format text: JAPANESE INTERMEDIATE CODE: A523

Effective date: 20130225

TRDD Decision of grant or rejection written
A01 Written decision to grant a patent or to grant a registration (utility model)

Free format text: JAPANESE INTERMEDIATE CODE: A01

Effective date: 20130326

A61 First payment of annual fees (during grant procedure)

Free format text: JAPANESE INTERMEDIATE CODE: A61

Effective date: 20130424

FPAY Renewal fee payment (event date is renewal date of database)

Free format text: PAYMENT UNTIL: 20160502

Year of fee payment: 3

R150 Certificate of patent or registration of utility model

Free format text: JAPANESE INTERMEDIATE CODE: R150

Ref document number: 5259145

Country of ref document: JP

Free format text: JAPANESE INTERMEDIATE CODE: R150

R250 Receipt of annual fees

Free format text: JAPANESE INTERMEDIATE CODE: R250

R250 Receipt of annual fees

Free format text: JAPANESE INTERMEDIATE CODE: R250

R250 Receipt of annual fees

Free format text: JAPANESE INTERMEDIATE CODE: R250

R250 Receipt of annual fees

Free format text: JAPANESE INTERMEDIATE CODE: R250

R250 Receipt of annual fees

Free format text: JAPANESE INTERMEDIATE CODE: R250

R250 Receipt of annual fees

Free format text: JAPANESE INTERMEDIATE CODE: R250

R250 Receipt of annual fees

Free format text: JAPANESE INTERMEDIATE CODE: R250

R250 Receipt of annual fees

Free format text: JAPANESE INTERMEDIATE CODE: R250

R250 Receipt of annual fees

Free format text: JAPANESE INTERMEDIATE CODE: R250